Разработка эвакуатора для станции технического обслуживания легковых автомобилей
МИНИСТЕРСТВО ОБРАЗОВАНИЯ И НАУКИ
РЕСПУБЛИКИ КАЗАХСТАН
Костанайский социально-технический
университет имени академика Зулхарнай Алдамжар
Кафедра "Организация перевозок и
транспорт"
ДИПЛОМНЫЙ ПРОЕКТ
на тему: Разработка эвакуатора для
станции технического обслуживания легковых автомобилей
Специальность 050713 "Транспорт,
транспортная техника и технологии "
Выполнил Горбенко Е.П.
Научный руководитель Павлоцкая Н.П.
Костанай 2009
Содержание
Введение
1. Проектные расчеты механизмов
1.1 Расчет механизма подъема
1.2 Расчет механизма поворота
1.3 Расчет секций телескопической стрелы
1.4 Расчет механизма изменения длины стрелы
1.5 Расчет механизма изменения вылета
2. Прочностные расчеты
2.1 Расчет барабана на прочность
2.2 Расчет вала барабана
3. Эксплуатационная часть
4. Охрана труда
5. Экономическая часть
Заключение
Список литературы
Введение
Без использования спецтехники не обходится ни одна отрасль
человеческой деятельности, не говоря уже о таких творениях как кран
манипулятор. И даже обычный грузовой автомобиль после установки на шасси крана
манипулятора позволяет существенно расширить возможности машины, которая сможет
не только перевозить грузы, но и самостоятельно их загружать/выгружать.
Кран-манипулятор и его функциональные возможности необходимы
на строительных площадках для разгрузки и погрузки строительных материалов,
вывоза мусора, поднятия ЖБИ на высоту, монтаже металлических конструкций и
прокладке коммуникационных сооружений. Кран манипулятор обладает, чуть ли не
мощностью автокрана и имеет малые габариты, что обеспечивает большую
манёвренность и лёгкость передвижения по городу. Поэтому манипулятор часто
используется на небольших городских стройках. Благодаря своим техническим
возможностям манипуляторы на базе автомобиля КАМАЗ позволяют существенно
экономить бюджет на наёмных автокранах, грузчиках и сокращают сроки проведения
строительно-ремонтных работ. Манипулятор является незаменимым помощником
коммунальных служб во время работы с телефонными проводами, линиями
электроснабжения и т.п. В лесном хозяйстве, учитывая ограничения площади при
манёврах, удобно использовать гидроманипулятор для перевозки и погрузки
подготовленных брёвен. Также манипулятор широко применяется для транспортировки
бытовок, оконных рам, стекла инструментов.
Всем известно, что в большинстве городов запрещается
передвижение крупного грузового транспорта, однако без его использования
достаточно сложно обойтись и тут на помощь приходит кран манипулятор, способный
осуществлять грузовые перевозки (Москва и другие города) не нарушая
установленные правила.
В случае возникновения ДТП для транспортировки повреждённого
автомобиля будет очень кстати кран манипулятор. Благодаря своим небольшим
размерам манипулятор быстро прибывает к месту аварии и, не создавая заторов,
выполняет свою работу. Гидроманипулятор на автомобильном шасси сможет быстро
зацепить автомобиль, загрузить его в кузов и транспортировать к месту
назначения. Помимо этого автосалоны, закупив технику для её доставки, также
используют манипулятор.
Целью дипломной работы является разработка автомобиля
технической помощи совмещающего в себе функции эвакуатора.
Классификация кранов-манипуляторов практически ничем не
отличается от самоходных стреловых кранов.
Краны - манипуляторы делятся по типу транспортного средства и
виду стрелового оборудования.
По типу транспортного средства различают:
автомобильные;
рельсовые;
переставные;
гусеничные;
прицепные;
пневмоколесные;
железнодорожные;
самоустанавливающиеся манипуляторы, а также манипуляторы с
короткой базой или на специальном шасси;
на шасси колесного и гусеничного тракторов.
Также имеются краны манипуляторы, которые само
устанавливаются на фундаменте.
По видам стрелового оборудование краны - манипуляторы бывают:
с канатной или гибкой подвеской;
шарнирной подвеской;
жесткой подвеской грузозахватного органа.
При этом грузозахватный орган у манипуляторов с жесткой или
шарнирной подвеской закреплен на оголовке стрелы. А у манипуляторов с гибкой и
канатной подвеской грузозахватный орган оснащен грузовой лебедкой.
В дипломном проекте в качестве стрелового оборудования
выбирается трехсекционная стрела, для выдвижения секций которой используются
индивидуальные гидроцилиндры. В качестве механизма поворота наиболее компактным
будет применение гидроцилиндров. При использовании гидроцилиндров будет
сводится к нулю боковая нагрузка на колонну и уменьшается вдвое нагрузка на зуб
колеса. В качестве механизма подъема груза выбирается схема с
аксиально-поршневым гидромотором, крутящий момент барабану будет передаваться
за счет зубчатой муфты встроенной в барабан. Гидрооборудование крана
манипулятора фирмы Rexroth как наиболее надежное и сравнительно недорогое.
Технические характеристики автомобиля КамАЗ 6540
Весовые параметры и нагрузки, а/м
Снаряженная масса а/м, кг 12350
Снаряженная масса а/м, нагрузка на первую и вторую оси, кг
7000
Снаряженная масса а/м, нагрузка на заднюю тележку, кг 5350
Грузоподъемность а/м, кг 18500
Полная масса, кг 31000
Полная масса а/м, нагрузка на первую и вторую оси, кг 12200
Полная масса а/м, нагрузка на заднюю тележку, кг 18800
Двигатель
Модель 740.51-260 (Евро-2)
Типдизельный с турбонаддувом, с
промежуточным охлаждением наддувочного воздуха
Номинальная мощность, нетто, кВт (л. с.)
/ при частоте вращения коленчатого вала, об/мин 180 (245)
/2200
Номинальная мощность, брутто, кВт (л. с.)
/ при частоте вращения коленчатого вала, об/мин 191 (260)
/2200
Максимальный крутящий момент, нетто, Н·м (кгс·м)
/ при частоте вращения коленчатого вала, об/мин 1059 (108)
/1200-1400
Расположение и число цилиндров V-образное, 8
Рабочий объём, л 10,85
Диаметр цилиндра и ход поршня, мм 120/120
Степерь сжатия 16,5
Система питания
Вместимость топливного бака, л 210+210
Коробка передач
Тип - механическая, десятиступенчатая
Управление - механическое, дистанционное
Передаточные числа на передачах 1 - 7,82 - 6,38/2 - 4,03 -
3,29/3 - 2,50 - 2,04/4 - 1,53 - 1,25/5 - 1,00 - 0,815/3Х - 7,38 - 6,02
Колеса и шины
Тип колес - дисковые
Тип шин - пневматические, камерные
Размер обода 7.5-20 (190-508)
Размер шин 11.00 R20 (300 R508)
Общие характеристики
Максимальная скорость, не менее, км/ч 85
Угол преодол. подъема, не менее, % 25
Внешний габаритный радиус поворота, м 10,5
1. Проектные
расчеты механизмов
1.1 Расчет
механизма подъема
Исходные данные
Грузоподъемность, m, т 3
Высота подъема, h, м 9,8
Скорость подъема, v, м/мин 15
Группа режима работы, ПВ, % 25
В качестве гибкого органа для подвешивания грузов в
подавляющем большинстве случаев используется стальной проволочный канат.
Согласно /14/, стальные канаты подбираются по разрывному
усилию
, (1.1)
Где zp - минимальный коэффициент использования
каната (коэффициент запаса прочности), определяемый по /14/; zp = 5,6;
Smax - максимальное натяжение каната,
определяется по формуле
; (1.2)
Где a - число ветвей каната, навиваемых на
барабан, a = 1;
- КПД блока,
= 0,96 - на подшипниках качения;
n - количество направляющих блоков, n = 2
- кратность полиспаста,
= 2.
По известным данным и формулам (1.1) и (1.2)
кН;
кН.
По разрывному усилию выбирается канат двойной свивки типа ЛК-Р,
конструкции 6×19
(1+6+6/6) +1 о. с., ГОСТ 2688-80, имеющий следующие характеристики
Диаметр каната, мм 11
Площадь поперечного сечения проволок, мм2 47, 19
Масса погонного метра смазанного каната, кг 0,461
Суммарное разрывное усилие, кН (не менее) 87,85
Маркировочная группа, Н/мм2 (кгс/мм2) 1860
(190)
По выбранному канату выбирается крюковая подвеска 2-5-336 [1, стр.279].
mкр = 61,3 кг.
С учетом массы крюковой подвески грузоподъемность крана будет
составлять Q = (mгр+mкр) · g = (3+0,0613) ·
9,81 = 30,03 кН.
В качестве грузоподъемного барабана выбирается гладкий с
ребордами. Диаметр барабана, замеренный по центрам сечения витка каната
определяется по формуле
. (1.3)
Где
dк - диаметр каната, dк = 11 мм
h1 - коэффициент выбора диаметра барабана, по /14/ h1 = 20
мм.
Диаметр блоков определяется аналогичным способом по формуле (1.3),
где h2 = 22,4 - коэффициент выбора диаметра блока
мм.
Из стандартного ряда /5/ выбирается барабан с диметром 250 мм и
блоки с диаметрами по 250 мм.
Длина гладкого барабана определяется по формуле
, (1.4)
где γ -
коэффициент неравномерности укладки каната, принимается равным 1,05
dк - диаметр каната, мм
n - количество витков, уложенных по всей длине, определяется по
формуле
, (1.4.1)
где z - число слоев навивки, принимается равным
1
.
Длина барабана в этом случае
мм.
Крутящий момент на барабане определяется по формуле
, (1.5)
Где ηп - КПД полиспаста, принимается равным 0,97
кН·м
Рабочий объём гидромотора вычисляется по формуле
, (1.6)
где Мdyn -
динамический момент на валу гидромотора (Мdyn = Тб = 1935 Н·м);
Δp - рабочее давление в гидросистеме,
определяется из рабочего давления автомобиля КамАЗ, создаваемого шестеренчатым
насосом (Δp = 12,5
МПа);
- гидромеханический КПД (
= 0,98);
По известным данным
см3.
Опираясь на полученные значения объёма, в качестве рабочего
гидродвигателя принимается радиально-поршневой гидромотор Denison MRV1100,
который имеет следующие параметры:
рабочий объём, cм3
максимальный 1125,8
минимальный 508,3
давление, МПа
номинальное 12,5
максимальное 15
пиковое 20
частота вращения, об/мин
номинальная 100
максимальная при объёме:
максимальном 580
минимальном 330
крутящий момент, Н м 1820
мощность при объёме, кВт
максимальном 77
минимальном 45
КПД объёмный 0,98
Полный 0,96
масса, кг 430
Определяется расход рабочей жидкости при номинальном режиме
расхода
, (1.7)
где
- обороты вала при номинальном режиме работы (
= 250 об/мин)
.
Полученный расход гидронасоса меньше установленного на автомобиле,
следовательно, расчет проходит.
Привод предназначен для работы на открытом воздухе при
температурном режиме окружающей среды
. Учитывается также немалый расход рабочей жидкости на питание
гидромоторов и связанные с ним повышенные скорости потока в трубопроводе. В
качестве рабочей по /9/ принимается синтетическое масло с повышенной вязкостью MOBIL DTE OIL 18M, имеющее следующие характеристики:
плотность при температуре t = 15°С, кг/м3 887
вязкость при температуре t = 40°С,
мм2/с 100
вязкость при температуре t =
100°С, мм2/с 8,1
Расчет диаметров трубопроводов опирается на предварительно
выбранные скорости потока. Из конструктивных соображений задаётся скорость
потока в напорной гидролинии
, в целях облегчения монтажно-сборочных работ и упрощения
расчетов, диаметры напорной и сливной гидролиний принимаются равными, поэтому
скорости потоков в этих гидролиниях будут одинаковыми.
В качестве трубопроводов выбирается рукава высокого давления.
Выбор рукавов осуществляется по /9/.
Техническая характеристика выбранных РВД.
Резиновые рукава высокого давления оплеточной конструкции с
металлическими оплетками применяют в качестве гибких трубопроводов для подачи
под высоким давлением жидкостей, работоспособных в районах с умеренным и
тропическим климатом, при температуре окружающего воздуха от - 50 до +70°С.
По /9/ выбирается рукав типа 1, изготовленного с применением
латунированной проволоки, с внутренним диаметром 10 мм, рабочим (максимальным)
давлением 15 МПа, работоспособного в районах с умеренным климатом:
Рукав I
Л-10-15-У ГОСТ 6286-73
Длины трубопроводов принимаются из конструктивных соображений
от гидронасоса до гидрораспределителя, м 0,25
от гидрораспределителя до гидромотора, м 0,5
от бака до основного насоса, м 0,25.
Согласно международному справочнику на позицию за гидронасосом
выбирается гидрораспределитель Vickers
F3-DG5V-10-H-R-B-2A-H-X-2-T-V-M-S3-U-PA-J-D2-C-P10-10, имеющий электрогидравлическое управление, и
следующие технические характеристики:
диаметр условного прохода, мм 32
расход рабочей жидкости, л/мин
минимальный 100
максимальный 650
давление на входе, МПа
рабочее 12,5
максимальное 15
максимальные утечки из рабочих полостей, см3/мин 50
потери давления, МПа 0,32
масса (вместе с пилотом), кг 62
В качестве предохранительного клапана принимается клапан непрямого
действия марки Rexroth DBW 30 AG1N-5X/350, со следующими техническими характеристиками:
диаметр условного прохода, мм 30
расход, л/мин 650
давление настройки, МПа 1
42
потери давления (не более), МПа 0,5
масса, кг 30
Из конструктивно-технических соображений данный клапан
настраивается на величину давления 31,5 МПа.
Устройством призванным регулировать подачу между гидромоторами
принимается синхронизатор потока, данное устройство представляет собой
делитель/сумматор потока с более развитыми функциями управления. С более
подробным описанием можно ознакомиться в сети Internet.
Так как в проекте в качестве трубопроводов используются РВД, то
гидравлическими сопротивлениями, ввиду отсутствия колен и тройников, так как
габаритные размеры системы малы, можно пренебречь.
1.2 Расчет
механизма поворота
Исходные данные
Расчет ОПУ в целом представляет собой
специальную задачу, решаемую в зависимости от применяемых материалов, требуемой
долговечности и др. Обычно, так же как и для всех подшипников качения,
изготовителями приводятся значения допускаемых нагрузок - вертикальных,
горизонтальных и моментных - для ОПУ конкретного типоразмера /7/, которыми
руководствуются при разработке конструкции крана.
Для проектируемого крана-манипулятора
решено применить ОПУ с размещением опор в вертикальной плоскости (рисунок 1.1).
Корпус 1 крепится к основанию, в нем размещена колонна 2, опирающаяся на
подшипники 3 и 4. Последний одновременно является и подпятником. На колонне
закреплено зубчатое колесо 5, с которым взаимодействуют зубчатые рейки 6,
выполненные заодно со штоками гидроцилиндров 7. При использовании двух
гидротолкателей сводится к нулю боковая нагрузка на колонну и уменьшается вдвое
нагрузка на зуб колеса. Жидкость подается одновременно в диагонально
расположенные полости цилиндров.
В этих устройствах применяют опоры как
скольжения, так и качения, преимущества которых состоят в пониженных потерях на
трение и в простоте обслуживания.
Сводя все нагрузки к двум силам -
вертикальной Р и горизонтальной W, составляем для
определения опорных реакций А, В и С три уравнения
(рисунок 1.1):
;
;
.
Из этих уравнений следует
;
В = Р;
.
Где Р и W - вертикальная
и горизонтальная нагрузки, действующие на ОПУ, кН
R и H - плечи сил относительно оси вращения
поворотной части крана, м;
h - расстояние между опорами, м
Рисунок 1.1 - Опорно-поворотные устройства
колонного типа с приводом от гидроцилиндров:
а - общий вид; б и в - устройство ОПУ; г -
расчетная схема
Размеры опор скольжения определяются по
допустимому давлению р (Па). При бронзовых втулках принимают р =
8.12 МПа; подшипники и подпятники качения подбирают, исходя из их долговечности
(Т > 2500 ч).
Концевую опору выполняют стальной кованой,
реже литой и приваривают к металлической конструкции колонны.
Диаметр нижней цапфы подшипника рисунок 1.1 получаем расчетом
на изгиб:
, (1.8)
Где H - горизонтальная реакция нижней опоры,
определяется из условия равновесия крана;
h - расстояние между верхней и нижней цапфами, h=0,5 м;
[σи] - допускаемое напряжение изгиба колонны
- сталь Ст.4; [σи] = 80 МПа;
Условие равновесия
,
, (1.9)
Где mk - предварительная масса крана, кг
mг - масса
груза на максимальном вылете, кг, mг=1150 кг,
g = 9,8 м/с2 - ускорение свободного падения,
а - расстояние от вертикальной оси вращения до центра тяжести
поворотной части, а=2 м.
L - максимальный вылет стрелы, L=7 м,
h - расстояние между опорами, h=0,5 м
Предварительная масса крана определяется по /4/
, (1.10)
Где Q - грузоподъемность крана при минимальном
вылете, т
L - вылет стрелы, м
кг
,
Принимаем равным 320 мм.
Так как на опору действует пара сил Н, то диаметр верхней цапфы
приравнивается к диаметру нижней цапфы
Определение момента сопротивления вращению:
, (1.11)
Где Т1, Т2 - моменты сил трения,
соответственно в верхней и нижней опорах воспринимающих горизонтальные
нагрузки;
Т3 - момент силы трения в опоре воспринимающей
вертикальные нагрузки;
, (1.12)
где d1, d2 - диаметр верхней и нижней цапф воспринимающих горизонтальные
нагрузки; d1=320 мм, d2=320 мм
μ1, μ2 - коэффициенты трения скольжения в
подшипниках скольжения верхней и нижней опорах, воспринимающих горизонтальную
нагрузку; μ1=0,01, μ2=0,09;
При приработавшейся кольцевой пяте скольжения
, (1.13)
где μ3 - коэффициент трения скольжения в
подшипнике скольжения верхней опоры воспринимающего вертикальную нагрузку; μ3=0,06;
dн. п. - наружный
диаметр пяты; dн. п. = 60 мм;
dв. п. - внутренний
диаметр пяты; dв. п. = 25 мм;
V - вертикальная реакция верхней опоры, определяется из условия
равновесия крана;
, (1.14)
где mг - масса груза на максимальном вылете, кг mг=1150 кг,
g = 9,8 м/с2 - ускорение свободного падения,
а - расстояние от вертикальной оси вращения до центра тяжести
поворотной части, а=2 м.
L - максимальный вылет стрелы, L=7,8 м,
l - расстояние от верхней опоры до центра тяжести поворотной части,
l=2 м.
h - расстояние между опорами; h=0,5 м
Момент сопротивления вращению от давления ветра на груз Рв.
г. и поворотную часть крана Рв. к. при φ=90о
, (1.15)
где Рв. г. - сила ветра действующая на подветренную
площадь подвешенного рабочего груза; Рв. г. =500 Н,
Рв. к. - сила ветра, действующая на подветренную
площадь крана, параллельна плоскости, на которой установлен кран;,
L - вылет стрелы, L =7,8 м
а - расстояние от вертикальной оси вращения до центра тяжести
поворотной части, а=2 м.
, (1.16)
где
- статическая составляющая ветровой
нагрузки;
- динамическая составляющая ветровой нагрузки,
Момент сопротивления вращению от давления ветра на груз Рв.
г. и поворотную часть крана Рв. к. при φ=60о
(1.17)
Момент сопротивления вращению от наклона крана на угол θ.
, (1.18)
где Мк - суммарный опрокидывающий момент действующих на
кран вертикальных сил Gi,
расположенных на расстоянии ri от
оси вращения крана;
, (1.19)
где mп. ч. - масса поворотной части крана;
g = 9,8 м/с2 - ускорение свободного падения;
а - расстояние от вертикальной оси вращения до центра тяжести
поворотной части, а=2 м;
L - максимальный вылет стрелы, L=7,8 м;
, (1.20)
Расчеты деталей опор
Расчету подлежат следующие детали опор: подшипники верхней опоры,
колона крана, траверса опоры.
Проверка кольцевого подпятника верхней опоры на износостойкость ведется
по формуле:
(1.21)
где dн. п. - наружный диаметр пяты; dн. п. =60 мм;
dв. п. - внутренний
диаметр пяты; dв. п. =25 мм;
V - вертикальная реакция верхней опоры, определяется из условия
равновесия крана; V=102671,5 Н;
[P] - допускаемое удельное давление; для
бронзовых втулок: [P] =10 МПа;
- условие выполняется
Подшипник скольжения верхней опоры рассчитывается на
износостойкость по удельному давлению:
,
где d1 - диаметр верхней цапфы, d1=320 мм;
H - горизонтальная реакция нижней опоры, Н=523501 Н;
l - длина подшипника, l=60 мм;
- условие выполняется
Привод механизма вращения - это 2 гидроцилиндра двустороннего
действия. Для преобразования прямолинейного движения выходного звена
гидроцилиндра 1 в поворотное исполнительного механизма 2 применяем
речно-шестеренный механизм рисунок 1.2.
Рисунок 1.2 - Реечно-шестеренный механизм
Для расчета реечно-шестеренного механизма принимаем частоту
вращения поворотной части n=6 об/мин. Зная
частоту вращения, находят скорость вращения поворотной части:
, (1.22)
где Dз - делительный диаметр зубчатого колеса поворотной части;
Dз=0,320 м
Принимаем передаточное число U=1, т.к. скорость вращения поворотной части равно скорости
возвратно-поступательного движения рейки,
Длина рейки равна длине окружности делительного диаметра:
Число зубьев на зубчатом колесе находим, конструктивно задаваясь
модулем m:
m = 6;
zp - число зубьев рейки
1.3 Расчет
секций телескопической стрелы
Исходные данные
Грузоподъемность, m, т:
при минимальном вылете3
при максимальном вылете1,15
Скорость подъема стрелы, vc, м/мин11
Угол наклона стрелы к горизонту, αmin (αmax), град23 (80)
По аналогии с существующими конструктивными решениями
крановых стрел можно принять исходные значения поперечных сечений стрелы:
толщину металлических листов, из которых сварены секции, и марку стали (Сталь -
10ХСНД, допускаемое напряжение [σи] =260 МПа).
Верхняя секция:
Наибольший изгибающий момент, действующий в сечении - рисунок
1.3
Рисунок 1.3 Расчетная схема стрелы
, (1.23)
где Q - грузоподъемность при максимальном
вылете, Q=11281,5 Н;
l1 - длина
верхней секции, l1=1,5 м; α=45о;
Наибольшая сжимающая сила:
(1.24)
Площадь поперечного сечения:
, (1.25)
где
- высота поперечного сечения, м;
- ширина поперечного сечения, м;
δ1 - толщина листа, δ1=0,005 м;
Момент сопротивления изгибу:
Наибольшее суммарное напряжение:
(1.26),
Средняя секция: длина 2,5 м
- высота поперечного сечения, м
- ширина поперечного сечения, м
δ2 - толщина листа, δ2=0,005 м
- длина средней секции,
=2,5 м
Наибольший изгибающий момент, действующий в сечении
Площадь поперечного сечения:
Момент сопротивления изгибу:
Наибольшее суммарное напряжение:
Нижняя секция:
- высота поперечного сечения, м;
- ширина поперечного сечения, м;
δ3 - толщина листа, δ3=0,005 м;
- длина средней секции,
=3 м;
Наибольший изгибающий момент, действующий в сечении:
Площадь поперечного сечения:
Момент сопротивления изгибу:
Наибольшее суммарное напряжение:
1.4 Расчет
механизма изменения длины стрелы
Суммарная сжимающая сила действующая на шток гидроцилиндра:
, (1.27)
Где G1 - вес верхней секции стрелы, м;
G2 - вес
средней секции стрелы, м;
Q - грузоподъемность, кг;
α=45о;
Находим вес верхней секции стрелы
, (1.28)
где F1 - площадь поперечного сечения, F1=0,0015 м2
l1 - длина
верхней секции, l1=1,5 м
ρ - плотность, плотность стали ρ=7700 кг/м3
g - ускорение свободного падения, g=9,8 м/с2
Находим вес средней секции стрелы
, (1.29)
Где
F2 -
площадь поперечного сечения, F2=0,0024 м2
l2 - длина
верхней секции, l2=2,5 м
ρ - плотность, плотность стали ρ=7700 кг/м3
g - ускорение свободного падения, g=9,8 м/с2
Усилие, действующее в канате, выдвигающем верхнюю секцию:
, (1.30)
где η - КПД,
учитывающий потери на трение в роликах верхней секции и на перегибы каната, η=0,85;
Q - грузоподъемность, кг;
G1 - вес
верхней секции стрелы, м;
α=45о
Канат подбирают по разрывному усилию:
, (1.31)
где
kз -
коэффициент запаса прочности каната, для среднего режима работы kз=5,5
По полученному разрывному усилию подбираем канат:
ЛК - Р 6×19+1 о.
с.
dk = 9,6 мм
Sр = 68,25
кН
Поперечное сечение штока гидроцилиндра проверяется на сжатие с
учетом продольного изгиба:
, (1.32)
где
- допускаемое напряжение на изгиб, для
стали Ст.4 -
= 140 МПа;
φ - коэффициент снижения допускаемого
напряжения при продольном изгибе, зависящий от материала штока и его гибкости;
Гибкость штока:
, (1.33)
где lp - расчетная длина штока, при обоих
заделанных концах штока lp=
0,5lд
Минимальный радиус сечения инерции:
, (1.34)
где
- момент инерции сечения, см4;
- площадь поперечного сечения, см2
d - диаметр штока, d=16 мм
По найденному значению λ определяется значение коэффициента φ для материала из которого изготовлен шток
(Сталь 45), φ=0,92
- условие выполняется
1.5 Расчет
механизма изменения вылета
Изменение вылета обеспечивается одним гидроцилиндром.
Необходимое усилие Рц рисунок 1.3 определяется уравнением:
, (1.35)
Где G1 - вес верхней секции стрелы, G1=170 Н;
G2 - вес
средней секции стрелы, G2=453 Н;
G3 - вес
нижней секции стрелы,
;
- проекция верхней секции на горизонтальную плоскость;
- проекция средней секции на горизонтальную плоскость;
- проекция нижней секции на горизонтальную плоскость;
Q - грузоподъемность, Q=5000кг;
Зная давление в гидроцилиндре р (р=20 МПа), находят внутренний
диаметр цилиндра:
(1.36)
Принимаем
Толщина стенки гидроцилиндра:
, (1.37)
где
- допускаемое напряжение на растяжение,
для стали -
=40 МПа
Поперечное сечение штока гидроцилиндра проверяют на сжатие с
учетом продольного изгиба. Диаметры осей крепления штока и цилиндра, а также
оси крепления стрелы получают расчетом на изгиб:
, (1.38)
где
- наибольший изгибающий момент
, (1.39)
где Р - нагрузка на ось, Р=35124 Н
- длина оси,
=0,1 м
- равномерно распределенная нагрузка по длине оси;
Wи - момент
сопротивления поперечного сечения
,
где
- диаметр оси, м
- допускаемое напряжение на изгиб, для стали Сталь 45 -
=190 МПа
Прочность оси проверяют расчетом на срез:
, (1.40)
где n - число плоскостей среза, обычно n=2;
- площадь поперечного сечения оси,
- допускаемое напряжение на срез, для стали Сталь 45 -
=300 МПа;
- условие выполняется
2.
Прочностные расчеты
При расчете на прочность пользуются наиболее распространенным
расчетным случаем нагружения элементов механизма, учитывающего действие
номинального груза, весовых нагрузок, а так же динамических нагрузок,
возникающих в периоды пуска и остановки механизма. Детали не участвующие во
вращательном движении, рассчитываются только на прочность, а участвующие -
(валы, зубчатые колеса, подшипники и т.д.) на выносливость.
Расчет на прочность может быть проверочным и проектным.
Проектный расчет заключается в определении основных расчетных размеров детали
при известных нагрузках и механических характеристиках материала детали. При
проверочном расчете определяются напряжения (запасы прочности) в детали,
которые сравниваются с допускаемыми напряжениями.
2.1 Расчет
барабана на прочность
Расчетным расчетом барабана на прочность является расчет его
стенки на сжатие. Полученная при этом толщина стенки проверяется на изгиб и
сжатие.
Толщина стенки барабана определяется по эмпирической формуле:
, (2.1)
где
- диаметр барабана,
= 250 мм
,
а затем проверяется на сжатие:
, (2.2)
где
- максимальное натяжение каната,
= 15480 Н,
- диаметр каната,
= 11 мм,
- допускаемое напряжение сжатия, для стали Ст.4 -
=260 МПа
- условие выполняется
Проверка стенки барабана на изгиб и кручение ведется по условию:
(2.3)
где
- приведенный момент в расчетном сечении
барабана;
α=0,75;
- момент сопротивления сечения;
(2.4)
60МПа - условие выполняется
2.2 Расчет
вала барабана
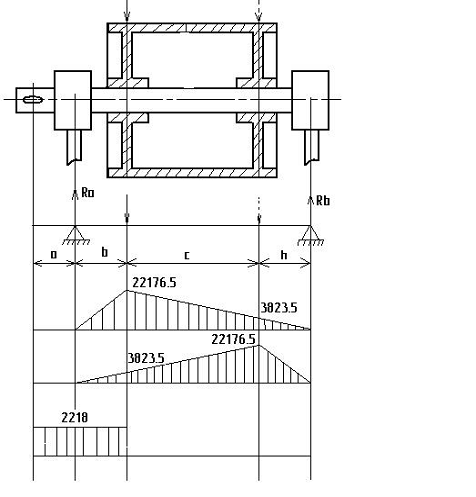
Составляем расчётную схему узла барабана - рисунок 2.1.
Рисунок 1.4 Схема к расчёту вала барабана
При работе барабана с одинарным полиспастом рассматривается
положение каната поочередно над каждой ступицей, так как при навивке на барабан
канат перемещается по длине барабана.
ПОЛОЖЕНИЕ. Канат находится над левой ступицей барабана. Длины
участков принимаем конструктивно, ориентируясь на длину барабана.
åМВ=0, 
.
Изгибающий момент в сечении под левой ступицей:
ПОЛОЖЕНИЕ. Канат находится над правой ступицей барабана.
åМВ=0, 
Изгибающий момент под правой ступицей:
Для расчета вала необходимо найти момент кручения Мкр
После того как в расчетном сечении установили значение изгибающих
и крутящих моментов, подсчитывается приведенный момент:
Определяется диаметр вала
, (2.5)
где [σ] и - допускаемое напряжение изгиба, для стали
Ст.45 - [σ] и=65МПа;
Допускаемое напряжение изгиба при симметричном цикле определяют по
формуле:
(2.6)
Где s-1 - предел
выносливости материала оси, МПа;
k0 -
коэффициент, учитывающий конструкцию детали, для валов и осей принимается 2¸2,8;
[n] - допускаемый
коэффициент запаса прочности, для группы режима работы механизма 4м принимается
[n] = 1,6.
Материал сталь 45 с
,
Принимаем k0 =2,8.
.
Опасным сечением средний участок вала (между ступицами), диаметр
которого принимаем: d = 70 мм;
Запас прочности по сопротивлению усталости в рассматриваемом
сечении:
, (2.7)
где s-1 - предел
выносливости материала оси при симметричных циклах изгиба, МПа;
Кб - эффективный коэффициент концентрации напряжений при изгибе;
b - коэффициент, учитывающий влияние шероховатости поверхности;
Es - масштабный фактор нормальных напряжений;
sа - амплитуда циклов нормальных напряжений, МПа.
В качестве материала вала барабана ранее была сталь 45, имеющая sв = 600 МПа.
Для углеродистой стали предел выносливости:
.
Значение Кs = 2,13 для
стальных валов с галтелями [6,
табл.11.2]; масштабный фактор Е = 0,6 [6, табл.11.6] для углеродистой стали и диаметре вала d = 70 мм.
Амплитуда циклов нормальных напряжений
(2.8)
Прочность в рассматриваемом сечении обеспечена, так как наименьший
допустимый запас прочности для вала [S]=1,6.
эвакуатор автомобиль кран манипулятор
3.
Эксплуатационная часть
Обязанности оператора перед пуском крана в работу
Произвести ежесменное техническое обслуживание (ЕО) крана
перед выездом на линию согласно инструкции по эксплуатации завода-изготовителя.
Оператор должен:
осмотреть механизмы крана, в доступных местах
металлоконструкцию стрелы, состояние канатов и их крепление на барабане,
стреле, крюк и его крепление в обойме.
проверить смазку трущихся частей канатов, уровень масла в
баке. При низких температурах наружного воздуха гидросистему следует прогреть.
Для этого необходимо поработать вхолостую при минимальных оборотах двигателя и
минимальном давлении 5-10 мин.
проверить исправность выносных опор, наличие и исправность
приборов безопасности.
Площадка, предназначенная для работы крана, должна
удовлетворять следующим требованиям:
уклон площадки не должен превышать 3 градуса;
не иметь ям, канав и других неровностей, т.е. спланирована;
должна выдерживать нагрузку от колес и выносных опор;
должна иметь естественное или искусственное освещение не
менее 10 лк, а при выполнении монтажных работ не менее 30 лк;
При установке крана у объекта работ рекомендуется подъезжать
к объекту задним ходом, либо установить манипулятор с правой или левой стороны
по ходу движения автомобиля.
Раздвинуть и выпустить выносные опоры так, чтобы колеса
автомобиля поднялись над уровнем земли примерно на 2-5 см. Проводя вывешивание,
контролировать горизонтальность установки крана по креномеру.
Для приведения крана в рабочее положение необходимо:
ослабить трос лебедки, отсоединить крюк с транспортного
приспособления;
поднять стрелу с транспортной стойки;
повернуть стрелу и установить над грузом.
Оператор совместно со стропальщиком обязан проверить
исправность ОГНП и наличие на них клейм или бирок с указанием грузоподъемности,
даты испытания и номера.
Перед пуском крана в работу, оператор, убедившись в
соблюдении необходимых габаритов приближения, обязан опробовать механизмы крана
на холостом ходу и проверить при этом исправность действия.
Механизмов крана.
Приборов и устройств безопасности.
Тормозов.
Гидросистемы.
При обнаружении во время осмотра и опробования крана
неисправностей, или недостатков, препятствующих безопасной работе, и
невозможности их устранения своими силами оператор, не приступая к работе
докладывает об этом лицу, ответственному за содержание крана в исправном
состоянии, и ставит в известность лицо, ответственное за безопасное
производство работ по перемещению грузов кранами.
Оператор не должен приступать к работе на кране при наличии
следующих неисправностей:
трещин или деформаций в металлоконструкциях крана.
трещин в элементах подвески стрелы (серьгах, тягах и других),
а также при отсутствии шплинтов и зажимов в местах крепления канатов или
ослабления их крепления.
Грузовой канат имеет число обрывов проволок или поверхностный
инос, превышающие установленные Правилами нормы, оборванную прядь или местное
повреждение.
Механизмы подъема груза или стрелы имеют дефекты
(неисправности), угрожающие безопасности при работе крана.
Детали тормоза механизма подъема груза или стрелы имеют
повреждения.
Крюк имеет износ в зеве, превышающий 10 % первоначальной
высоты сечения, неисправен предохранительный замок крюка, предотвращающий
самопроизвольное выпадение СГП, нарушено его крепление в обойме.
Неисправны или отсутствуют приборы и устройства безопасности,
предусмотренные паспортом и инструкцией по эксплуатации крана
завода-изготовителя.
Повреждены или неукомплектованы выносные опоры.
Имеется течь масла через соединения или уплотнения. Особое
внимание обращать на крепление всасывающего шланга во избежание подсоса
воздуха.
При наличии признаков эмульсирования масла воздухом к работе
не приступать.
До начала работы оператор обязан убедиться в достаточной
освещенности рабочей зоны и при недостаточном освещении к работе не приступать.
После осмотра и проверки крана оператор должен сделать
соответствующую запись в вахтенный журнал и после получения задания от лица,
ответственного за безопасное производство работ по перемещению грузов кранами,
приступить к работе согласно полученного наряда.
Обязанности оператора после окончания работы крана
Провести ежесменное техническое обслуживание, в частности:
Очистить и вымыть кран (мойка производится при
необходимости).
Осмотреть шасси крана в соответствии с руководством по уходу
и эксплуатации трактора.
Проверить состояние грузового каната и его заделку (при необходимости
смазать).
Проверить состояние элементов стрелы, крюковой обоймы и крюка
(обломы ручьев блоков, вмятины, изгибы металлоконструкций не допускаются. Крюк
должен свободно вращаться и качаться в траверсе).
Проверить состояние гидроцилиндров подъема стрелы, выдвижения
секций стрелы, их крепление.
Проверить отсутствие механических повреждений трубопроводов,
гидрооборудования, утечек через соединения гидросистемы.
При работе крана в несколько смен оператор, сдающий смену
должен сообщить своему сменщику о всех неполадках в работе крана и сдать смену,
сделав в вахтенном сменном журнале соответствующую запись.
О всех недостатках доложить руководителю работ, а в
установленных случаях и механику.
Обслуживание крана.
Ежесменное техническое обслуживание (ЕО) проводится
оператором крана перед выездом из парка, перед началом работы с грузом и по
окончании работы в соответствии с указаниями, изложенными в инструкции по
эксплуатации завода-изготовителя.
При этом оператор обязан:
содержать механизмы и оборудование крана в исправности и
чистоте.
своевременно производить смазку всех механизмов крана и
канатов.
смазочные и обтирочные материалы хранить в закрытой
металлической таре. Использованный обтирочный материал необходимо убирать с
крана в установленные места его нахождения и утилизации.
Знать сроки и результаты проведения слесарями и
электромонтерами профилактических периодических осмотров (ТО) крана с записью в
журнале профилактических осмотров.
Периодическое техническое обслуживание крана производится
через каждые 240 часов работы персоналом, назначенным приказом руководителя
предприятия.
Слесари, электромонтеры, ответственные за исправное
содержание крана в исправном состоянии должны проходить обучение и аттестацию в
соответствии с Правилами устройства и безопасной эксплуатации грузоподъемных
кранов.
Устранение неисправностей, возникших во время работы крана,
производится по заявке оператора. Другие виды ремонта крана осуществляются в
установленном собственником крана сроки.
Виды работ при ТО-1:
|
Содержание
работ
|
Технические
требования
|
|
Крепление
грузовой лебедки, карданного вала, привода насоса нижней рамы, осей стрелы и
гидроцилиндров подъема стрелы и выносных опор, Состояние крюковой обоймы и
крюка, Состояние каната и заделка его на барабан Провести смазку согласно
карте смазки.
|
Соединения
должны быть затянуты и застопорены от самоотвинчивания Трещины на щеках
крюковой обоймы, облом реборд блоков не допускаются Работа на кране при
поврежденном канате не допускается, Конец каната должен выступать над
поверхностью барабана на 10-20 мм.
|
Виды работ при ТО-2:
|
Содержание
работ
|
Технические
требования
|
|
Состояние
металлоконструкции крана, рамы, выносных опор, поворотной стрелы Регулировка
управления двигателем. Состояние, износ тормозных накладок, и регулировку
тормозов грузоподъемного механизма и механизма вращения. Крепление
гидроаппаратуры и трубопроводов гидросистемы. Проверка состояния и крепления
контактных колец, щеток, исправность щеткодержателей.
|
Трещины в
основном металле и сварных швах не допускаются При вылете стрелы 6,5 м
стрелка должна быть против риски А. Не допускаются в накладке трещины, а
также касание заклепок тормозной поверхности шкива. Резьбовые крепления
должны быть подтянуты и застопорены. Подгар и загрязнения на контактных
кольцах не допускаются.
|
Перечень работ сезонного технического обслуживания.
|
Содержание
работ
|
Технические
требования
|
|
Замена рабочей
жидкости на соответствующий сорт, предварительно промыв гидробак. Замена
масла в картерах редукторов механизма поворота и механизма подъема на соответствующую.
Проверка работы от питательной установки. Снятие лишней смазки с грузового
каната, блоков, и барабана при подготовке к осеннее-зимнему периоду работы.
|
Согласно карты
смазки. Согласно карты смазки. Процесс работы должен быть устойчивым без лишнего
шума и дымления.
|
Таблица смазки крановой установки.
|
Наименование
позиции
|
Наименование
смазочных материалов
|
Периодичность
проверки
|
|
Шарниры тяг и
рычагов управления операциями. Шарниры тяг и рычагов управления двигателем.
Шарниры тяг и рычагов управления насосов. Канат управления двигателем
Шарнирные соединения выдвижения секций стрелы. Игольчаты подшипники
крестовины карданного вала. Шарнирные соединения механизма блокировки.
Шарнирные подшипники цилиндра подъема Шлицы фланца коробки отбора мощности.
Втулки опорных катков. Подшипники блоков стрелы. Ось крепления стрелы.
Подшипник направляющего ролика. Шарниры тяги указателя грузоподъемности.
Упорный подшипник и траверса крюковой обоймы. Канат подъема и опускания.
Масляный бак и гидросистема. Внутренняя поверхность ОПУ Рабочие поверхности
ОПЧ. Картер редуктора механизма подъема. Муфта механизма подъема. Шарниры
тормоза. Подшипник стойки. Картер редуктора механизма поворота. Шарнирные
соединения тормоза. Шасси автомобиля.
|
Пресс-солидол С
ГОСТ 4366-76 Пресс-солидол С Пресс-солидол С. Смазка индустриальная 39У
Пресс-солидол С. Смазка №158 или литол-24. Пресс-солидол С. Пресс-солидол
С. Пресс-солидол С. Пресс-солидол С. Пресс-солидол С. Пресс-солидол С.
Пресс-солидол С. Пресс-солидол С. Пресс-солидол С. Смазка индустриальная
39У И-30А ВМГЗ, Литол-24 Пресс-солидол С. Тап-15В, Тап-10ОГП Пресс-солидол С.
Пресс-солидол С. Пресс-солидол С. Тап-15В, Тап-10ОГП Пресс-солидол С. По
инструкции ГАЗ
|
ТО-2 ТО-2
ТО-2 ТО-2 ТО-2 ТО-2 ТО-1 ТО-1 ТО-1 ТО-1 ТО-2 ТО-2 ТО-2 ТО-1 ТО-2 ТО-2
ТО-2 ТО-2 ТО-2 Через одно ТО-2 СО При тек. Рем. ТО-2 ТО-2 Через одно ТО-2 СО
ТО-2 ТО-2
|
Характерные неисправности и методы их устранения
|
Наименование
неисправности
|
Вероятная
причина
|
Метод
устранения
|
|
В системе
падает давление Колеблется давление в системе Наружная течь масла по
стыкам
|
Засорено
отверстие демпфера. Неплотное прилегание запорного элемента к седлу
Загрязнено масло Износ рабочей поверхности седла вспомогательного клапана
Загрязнено масло Плохо затянуты винты крепления Изношены прокладки и
уплотнительные кольца
|
Максимально
отвернуть регулирующий винт, что даст возможность потоку масла удалить
засорение, или разобрать клапан, прочистить каналы и вновь собрать Сменить
масло и промыть клапан Удалить риски и царапины на рабочей поверхности седла
Сменить масло и промыть клапан Затянуть винты крепления Сменить
прокладки и уплотнительные кольца.
|
Характерные неисправности гидрораспределителей и методы их
устранения
|
Наименование
неисправности
|
Вероятная
причина
|
Метод
устранения
|
|
Повышенная течь
масла по толкателю Течь масла по стыку между корпусом гидрораспределителя с
крышкой Увеличение усилия на рукоятке Течь масла по стыку между корпусом
и панелью.
|
Износ
уплотнительного кольца. Повышенное давление на сливе Повреждение
уплотнительного кольца. Недостаточно затянуты винты крепления Наличие
механических примесей в рабочей жидкости больше допустимого Повреждение
уплотнительного кольца. Недостаточно затянуты болты крепления Монтажная
поверхность имеет раковины, глубокие риски или другие дефекты
|
Заменить кольца
(натяг по толкателю 0,2-0,4 мм). Давление на сливе не должно превышать 70
кгс/см2 Заменить уплотнительное кольцо. Проверить крепление крышки
к корпусу Промыть детали гидрораспределителя бензином или уайт-спиритом
Заменить уплотнительное кольцо Проверить крепление гидрораспределителя на
панели Проверить монтажную поверхность, устранить дефекты.
|
4. Охрана
труда
На фоне внедрения новой техники, которая характеризуется
высокой энергонасыщенностью, производительностью, высокими скоростями и так
далее, создание безопасных условий труда, обеспечивающих оптимальные
санитарно-гигиенические условия и исключающие травматизм и профессиональные
заболевания, является высшей государственной задачей.
Данные проблемы нашли свое отражение в Конституции республики
Казахстан. Так же существует трудовое законодательство, регламентирующее
продолжительность трудового дня, взаимоотношения между трудящимися и
администрацией и охрану труда женщин и подростков.
Кроме конституционного и трудового закона законодательными
документами в области охраны труда являются государственные стандарты, нормы и
правила, в которых содержатся конкретные требования по безопасности труда.
Закон об охране труда направлен на обеспечения права работника
на охрану труда, устанавливает основные принципы национальной политики в этой
области в целях предупреждения несчастных случаев и повреждения здоровья на
производстве, сведение к минимуму опасных производственных факторов,
распространяется на все виды хозяйственной деятельности и предприятий
независимо от форм собственности.
Охрана труда представляет собой действующую на основании
соответствующих законодательных и иных нормативных актов систему
социально-экономических, организационных, технических, санитарно-гигиенических
и лечебно - профилактических мероприятий и средств, обеспечивающих безопасность
человека в процессе труда.
Все работники, состоящие в трудовых отношениях с
предприятиями, учреждениями, кооперативами и т.д., имеют право на охрану труда.
Национальная политика в области охраны труда основывается на
следующих принципах:
приоритета жизни и здоровья работника по отношению к
результатам производственной деятельности предприятия;
комплексного решения задач охраны труда на базе
государственных программ с другими направлениями экономической и социальной
политики;
установление единых требований в области охраны труда для
всех предприятий, независимо от форм собственности и хозяйствования;
широкого использования достижений науки, техники и передового
зарубежного и национального опыта по охране труда;
участие государства в финансировании охраны труда;
обеспечение работников специальной одеждой и обувью, СИЗ,
лечебно - профилактическим питанием за счет средств работодателя;
обязательности расследования каждого профессионально
заболевания, обеспечение информативности работников об уровне производственного
травматизма, профессиональной заболеваемости и о мерах по улучшению труда;
подготовка специалистов по охране труда в высших и средних
специальных заведениях и так далее.
Специальный автомобиль на базе КамАЗ 6540 имеет возможность
производить: монтаж, демонтаж, погрузочно-разгрузочные, ремонтные работы,
эвакуацию автотранспорта. Работа может происходить в жестких климатических
условиях: при температуре - 30 до +40оС. Следует учесть, что работы
могут производиться как днем так ночью. Кран имеет гидравлический привод от
двигателя автомобиля.
Исходя из вышеперечисленного, нужно предусмотреть следующие
меры:
снабдить подъемник автомобиля приборами безопасности в
соответствии с требованиями;
принять меры по соблюдению пожарной безопасности;
обеспечить безопасность персонала при проведению работ с
подъемником.
Инструкция по безопасному проведению работ для операторов
подъемников
Общие положения.
Настоящая инструкция разработана на основе действующих
нормативных актов РК об охране труда.
Устанавливает порядок безопасного производства работ по
перемещению грузов с использованием подъемника, определяет общие права и
обязанности водителей-машинистов (в дальнейшем - оператора) этих подъемников.
Распространяется на собственников подъемников и ИТР,
осуществляющих организацию и руководство работами.
Подъемник установлен на базе автомобиля КамАЗ 6540 и
предназначен для производства погрузочно-разгрузочных работ, строительно-монтажных
и транспортных работ в различных отраслях народного хозяйства.
Подъемник помимо стрелового оборудования комплектуется:
опорами, которые предназначены для вывешивания автомобиля в
рабочее положение.
К работе в качестве оператора подъемника допускаются лица не
моложе 18 лет, имеющие удостоверение на право управления трактором, а также
подъемником данного типа. Перед назначением на работу они должны пройти
медицинское освидетельствование для определения соответствия их физического
состояния требованиям, предъявляемым к этим профессиям.
Допуск к работе операторов оформляется приказом по
предприятию, с соблюдением требований инструкции № - --.
Допуск операторов к обслуживанию и ремонту
электрооборудования подъемника может осуществляться лишь с разрешения гл.
энергетика предприятия в порядке, установленном Правилами технической
эксплуатации электроустановок.
Повторная проверка знаний операторов проводится постоянно
действующей комиссией, назначенной приказом руководителя предприятия, в
следующих случаях:
при переходе с одного предприятия на другое - перед допуском
к работе с выдачей им под роспись Производственной инструкции.
периодически, не реже одного раза в 12 месяцев.
после перерыва в работе по специальности более 6 месяцев
при удовлетворительных результатах допускаются к стажировке
для восстановления необходимых навыков.
По требованию инспектора ЧС или инженерно-технического
работника по надзору за кранами (далее - ИТР по надзору).
Во время работы оператор должен иметь при себе удостоверение
на право управления подъемника, предъявляя его по первому требованию лицам,
осуществляющим надзорные функции.
Оператор обязан:
Знать и выполнять требования настоящей производственной
инструкции, а также инструкции по эксплуатации завода-изготовителя.
Обеспечить содержание и работу подъемника в соответствии с
требованиями инструкции по эксплуатации завода-изготовителя.
Знать схемы безопасной строповки, обвязки или зацепки грузов.
Знать рекомендуемый порядок обмена сигналами от стоповщика
или сигнальщика.
Знать ассортимент и назначение смазочных материалов,
применяемых для смазки трущихся частей.
Уметь определять пригодность к работе канатов, съемных
грузозахватных приспособлений (СГП) и тары.
Знать приемы освобождения от действия электрического тока
лиц, попавших под напряжение, и способы оказания им первой помощи, а также
иметь группу по электробезопасности не ниже 2 допуска.
Оператор контролирует работу стропальщика, за нарушение
указаний по управлению и обслуживанию подъемника, изложенных в настоящей
инструкции по эксплуатации завода-изготовителя.
Оператору запрещается выводить из действия приборы
безопасности (концевые выключатели, реле давления, сигнализатор опасного
напряжения А2 и другие), а также работать подъемником при их неисправности.
При передвижении подъемника следует руководствоваться
Правилами дорожного движения, а также указаниями, изложенными в руководстве по
эксплуатации автомобиля ГАЗ-33104.
Обязанности оператора во время работы подъемника
Оператор перед началом работы должен проверить наличие удостоверения
на право производства работ у стропальщика, если стропальщик впервые приступает
к работе с ним.
Во время работы механизмов оператор не должен отвлекаться от
своих прямых обязанностей, а также производить чистку. смазку и ремонт
механизмов.
Установка подъемника для выполнения работ должна
производиться в соответствии с документацией на производство работ (проект
производства работ, технологическая карта и др.) а при ее отсутствии - по
указанию руководителя работ.
Установка и работа подъемника должна производиться в
присутствии и под непосредственным руководством лица, ответственного за
безопасное производство работ по перемещению грузов кранами, в следующих
случаях:
При работе вблизи ВЛ (ближе 30 м от крайнего провода, если ее
напряжение выше 42 В).
При подъеме груза, на который не разработаны схемы строповки
(а должны быть разработаны).
При подъеме и перемещении груза оператор должен
руководствоваться следующими требованиями:
Выполнять работу подъемником только по сигналу стропальщика
или сигнальщика. Если сигнал подается с нарушением требований безопасности, то
оператор не должен его выполнять. За повреждения или несчастные случаи,
причиненные действием подъемника, в следствии неправильно поданного сигнала,
несут ответственность как оператор, так и стропальщик, подавший неправильный
сигнал. Сигнал "Стоп" оператор обязан выполнять независимо от того,
кем он подан.
Определять по указателю грузоподъемности грузоподъемность для
каждого вылета стрелы с тем, чтобы не допустить перегрузки подъемника.
Перед подъемом груза предупредить стропальщика и всех
находящихся около подъемника лиц о необходимости покинуть зону подъема груза. а
также зону возможного опускания стрелы.
перемещение груза можно производить только при отсутствии
людей в зоне работы подъемника (в опасной зоне перемещения груза).
При погрузке и разгрузке машин и прицепов к ним работа
подъемника разрешается только при отсутствии людей в транспортных средствах, в
чем оператор должен предварительно убедиться.
Устанавливать крюк подъемного механизма над грузом так, чтобы
при подъеме исключалось косое натяжение грузового каната.
При подъеме груза необходимо предварительно поднять его на
высоту 0,1 - 0,2 м для проверки устойчивости подъемника, правильности строповки
и надежности действия тормозов.
При подъеме груза расстояние между обоймой крюка и блоками на
стреле должно быть не менее 0,5 м.
Перемещаемые в горизонтальном направлении грузы следует
предварительно поднять на высоту не менее 0,5 м выше встречающихся на пути
препятствий (части зданий, штабеля грузов и другое).
При подъеме стрелы следует следить, чтобы она не поднималась
выше положения, соответствующего наименьшему рабочему вылету.
При подъеме, опускании или перемещении груза, находящегося
вблизи стены, колонны, штабеля, автомашины, станка или другого оборудования,
предварительно убедиться в отсутствии стропальщика и других людей между грузом
и указанными частями здания, транспортными средствами и другое, а также в
невозможности задевания стрелой или перемещаемым грузом за препятствия.
Подъем и перемещение мелкоштучных грузов производить в
специально предназначенной для этого таре, при этом должна исключаться
возможность самопроизвольного выпадения отдельных грузов. Подъем кирпича на
поддонах без ограждения разрешается при погрузке и разгрузке (на землю)
автомашин, их прицепов, а также при условии удаления людей из зоны перемещения
груза.
Перед подъемом груза из колодца, траншеи, котлована, а также
перед опусканием в них груза предварительно убедиться опусканием порожнего
(ненагруженного) крюка в том, что при его низшем положении на барабане лебедки
остается не менее 1,5 витка каната, не считая витков, находящихся под зажимным
устройством.
Внимательно следить за канатами, в случае спадания их с
барабана или блока, образования петель, обнаружении повреждения каната
необходимо приостановить работу подъемника.
Работа подъемника вблизи ВЛ (ближе 30 м от крайнего провода)
допускается только при наличии у оператора наряда-допуска, подписанного
руководящим лицом предприятия. При работе в охранной зоне ВЛ - необходимо
разрешение организации, эксплуатирующей ВЛ.
При работе должны быть обеспечены безопасные расстояния
приближения к проводам ВЛ стрелой подъемника, грузовыми канатами или перемещаемым
грузом. При невозможности обеспечить безопасные габариты - напряжение с ВЛ
должно быть снято.
Перемещаемый подъемником груз, не имеющий специальных
устройств (петель, рымов, цапф и других) должен быть застроплен (обвязан) в
соответствии с разработанными предприятием способами безопасной строповки
(обвязки) грузов. Для грузов, у которых имеющиеся петли, цапфы, рамы
предназначены для подъема груза в различных положениях, должны быть разработаны
схемы строповки.
Укладка и разборка груза должны производиться равномерно, без
нарушения установленных для складирования грузов габаритов и без загромождения
проходов.
Перед выполнением рабочей операции необходимо дать
предупредительный сигнал.
При передвижении подъемника к строительной площадке без груза
стрела должна быть установлена по оси автомобиля назад и оперта на стойку.
Снимать подъемник с опор, при не установленной в горизонтальное положение
стреле запрещен.
При подъеме и перемещении груза оператору запрещается:
допускать к строповке, зацепке или обвязке груза лиц, не
имеющих удостоверения стропальщика, а также применять ОГП, не имеющие клейм или
бирок с указанием номера, грузоподъемности и даты испытания.
поднимать или кантовать груз, масса которого превышает
грузоподъемность подъемника для данного вылета стрелы.
опускать стрелу с грузом до вылета, при котором
грузоподъемность подъемника будет меньше массы поднимаемого груза.
производить резкое торможение при выполнении рабочих
операций.
подтаскивать груз по земле, рельсам крюком подъемника при
косом натяжении канатов, а также передвигать транспортные средства при помощи
крюка.
отрывать крюком подъемника груз, засыпанный землей или
примерзший к земле, заложенный другими грузами, укрепленный болтами или залитый
бетоном, а также освобождать защемленный грузом СГП.
поднимать железобетонные и бетонные изделий массой более 500
кг, не имеющие маркировки и указания о фактической массе.
поднимать:
а) железобетонные и бетонные изделия с поврежденными петлями;
б) груз, строповка (обвязка, зацепка) которого не соответствует
схемам безопасных методов строповки;
в) груз, находящийся в неустойчивом положении;
г) груз, в переполненной выше бортов таре.
укладывать груз на электрические кабели и трубопроводы, на
край откоса земляной выемки, а также в другие места, не предназначенные для
этой цели.
поднимать груз с находящимися на нем людьми, а также груз,
выравниваемый массой людей или поддерживаемый руками.
передавать управление подъемником лицам, не имеющим прав на
это, а также допускать к самостоятельному управлению учеников и стажеров без
наблюдения за ними.
производить погрузку и разгрузку автомашин при нахождении
шофера или других людей в кабине.
поднимать баллоны со сжатым или сжиженным газом, не укладывая
в специальные контейнеры.
Оператор обязан опустить груз, прекратить работу подъемника и
сообщить об этом лицу, ответственному за безопасное производство работ по
перемещению грузов кранами, в случае возникновения неисправностей, указанных в
инструкции также:
При приближении грозы, сильном ветре (более 15 м/с, а при
подъеме панельных конструкций - более 10 м/с), недостаточной освещенности.
При температуре воздуха ниже допустимой минусовой, указанной
в паспорте подъемника.
При закручивании канатов грузового полиспаста.
Если во время работы подъемника произойдет авария или несчастный
случай, то оператор обязан поставить в известность об этом лицо, ответственное
за безопасное производство работ по перемещению грузов кранами, а также лицо,
ответственное за содержание подъемника в исправном состоянии.
При возникновении на подъемнике пожара оператор обязан
немедленно приступить к его тушению, вызвав одновременно через членов
обслуживающей подъемник бригады пожарную охрану, предварительно сняв напряжение
с электрооборудования и остановив двигатель.
Для тушения пожара применять только углекислотные
огнетушители.
Сигнализатор угла наклона
Сигнализатор угла наклона крана состоит из основания,
имеющего конусную поверхность, по которой свободно перемещается стальной шарик;
крышки с резиновой прокладкой; контактной шайбы, прикрепленной через
изоляционную прокладку к крышке; контактного винта и защитного колпачка.
Установка сигнализатора производится с помощью уровня по
контрольным площадкам и продольной и поперечной осям при горизонтальном
положении поворотной рамы. Регулировка положения производится с помощью
регулировочной гайки.
При наклоне крана в любую сторону шарик перемещается по
конусной поверхности основания, приближаясь к луженой фаске контактной шайбы.
При предельном наклоне крана шарик соприкасается с
поверхностью контактной шайбы, замыкая при этом контакт, включающий красный
сигнальный фонарь, расположенный на пульте управления, который и предупреждает
крановщика об опасном наклоне крана.
Ограничитель вылета
Ограничитель вылета представляет собой металлический корпус,
внутри которого установлены два микро выключателя. Вал ограничителя, на котором
закреплены кулачки, связан рычажным приводом с корневой секцией стрелы.
Конструкция рычажной системы позволяет беспрепятственно
опускать стрелу вниз для осмотра, смазки и регулировки.
На наружной части корпуса установлена шкала с указателем
вылета в метрах и величины предельно допустимого груза на указанном вылете в
тоннах.
5.
Экономическая часть
Техническая характеристика крана-манипулятора представлена в
таблице 5.1
Таблица 5.1 - Техническая характеристика подъемника
|
Наименование
показателей
|
Обозначение
|
Ед. измерения
|
Наименование
оборудования
|
|
1)
Грузоподъемность
|
Q
|
т
|
3
|
|
2) Высота
подъема
|
H
|
м
|
9,8
|
|
3) Скорость
подъема груза
|
Vп
|
м/мин
|
15
|
|
6) Группа
режима работы
|
|
средний
|
4М
|
|
7) Масса подъемника
|
m
|
т
|
7,5
|
|
8)
Установленная мощность двигателя
|
Σ N
|
кВт
|
87
|
|
9) Нормативный
срок службы
|
Тсл
|
лет
|
15
|
|
10) Категория
ремонтной сложности
|
|
|
16
|
Продолжительность технологического цикла оборудования Тц для
крана определяется по формуле:
, (5.1)
Где tм - продолжительность всех операций, выполняемых машиной (секунд);
tр - время,
затрачиваемое на выполнение ручных операций (секунд);
, (5.2)
где
- время вертикального перемещения крюка;
Нп и υ1 - длина пути крюка и скорость при подъеме,
Но и υ2 - при опускании, м и м/мин;
Нп=3 м; υ1=12м/мин
Но=4 м; υ2 =12м/мин
, (5.3)
Где
α - угол поворота в одну сторону, град; α =180 град.
n - частота вращения поворотной части; n=6 об/мин.
,
tр - время,
затрачиваемое на выполнение ручных операций, с, tр = 10 с
В таблице 5.2 представлена продолжительность технологического
цикла крана.
Таблица 5.2 - Продолжительность технологического цикла крана
|
Наименование
показателей
|
Обозначение
|
Ед. измерения
|
Наименование
оборудования
|
|
1) Время
закрепления груза
|
t1
|
секунд
|
10
|
|
2) Время
подъема груза
|
t2
|
секунд
|
15
|
|
3) Время
перемещения крана
|
t3
|
секунд
|
10
|
|
4) Высота
подъема груза
|
H
|
м
|
7
|
|
6) Скорость
подъема
|
Vn
|
м/мин
|
12
|
|
8) Время
технологического цикла
|
Тц
|
секунд
|
55
|
Эффективный (действительный) фонд времени работы крана
Эффективный (действительный) фонд времени работы
оборудования определяется по формуле
для прерывного графика работы
, (5.4)
где
Дк - календарный фонд времени, дни;
Р - процент потерь времени из-за простоя оборудования в
ремонте
ДВ - выходные дни;
Дп - праздничные дни;
Тсм - продолжительность смены, час;
Ксм - количество смен.
В таблице 5.3 представлен эффективный фонд работы оборудования
Таблица 5.3 - Эффективный фонд работы оборудования
|
Наименование
показателей
|
Обозначение
|
Ед. измерения
|
Наименование
оборудования
|
|
|
|
прерывный 8
часов
|
|
Число
календарных дней в году
|
Дк
|
дни
|
365
|
|
Число
праздничных дней
|
Дп
|
дни
|
8
|
|
Число выходных
дней
|
Дв
|
дни
|
102
|
|
Номинальный
фонд работы крана
|
Дн
|
дни
|
255
|
|
Процент потерь
времени из-за простоя
|
Р
|
%
|
6
|
|
Количество смен
работы крана в сутки
|
Ксм
|
смен
|
1
|
|
Продолжительность
рабочей смены
|
Тсм
|
час
|
8
|
|
Эффективный
фонд работы крана
|
Fэф
|
дни смены час
|
240 236 1888
|
На основании расчета Тц и Fэф определяем
производительность подъемника
, (5.5)
где
Q - грузоподъемность, т.
В таблице 5.4 представлен расчет производительности крана в год
Таблица 5.4 - Расчет производительности крана в год
|
Наименование
показателей
|
Обозначение
|
Ед. измерения
|
Наименование
оборудования
|
|
1) Эффективный
фонд времени работы крана
|
Fэф
|
час
|
236
|
|
2)
Грузоподъемность
|
Q
|
т
|
3
|
|
3) Время
технологического цикла
|
Тц
|
секунд
|
55
|
|
4)
Производительность крана
|
В
|
тонн/год
|
785
|
Расчет стоимости оборудования
Расчет первоначальной стоимости определяется по формуле
, (5.6)
где Ц - цена приобретения оборудования;
Зм - затраты на монтаж оборудования;
Зтр - затраты на транспортировку оборудования;
Зскл - складские расходы.
Затраты на монтаж, транспортировку и складские затраты -
сопутствующие капитальные затраты, которые определяются на основании
составленных смет, либо в процентах от цены приобретения: Зм - (4-5%);
Зт - (6-7%); Зскл - (2-3%).
Расчет первоначальной стоимости оборудования представлен в таблице
5.5.
Таблица 5.5 - Расчет первоначальной стоимости оборудования
|
Наименование
показателей
|
обозначение
|
Ед. измерения
|
Наименование
оборудования
|
|
Цена
приобретения
|
Ц
|
тыс. тенге
|
3567300
|
|
Затраты на
транспортировку (6% от Ц)
|
Зтр
|
тыс. тенге
|
214038
|
|
Затраты на
складирование (2% от Ц)
|
Зскл
|
тыс. тенге
|
71346
|
|
Затраты на
монтаж (4% от Ц)
|
Зм
|
тыс. тенге
|
142692
|
|
Полная
первоначальная стоимость
|
Кб
|
тыс. тенге
|
3995376
|
Расчет сметы годовых затрат на содержание и эксплуатацию
оборудования
Расчет сметы годовых затрат на содержание и эксплуатацию
оборудования рассчитывается
, (5.7)
где Са - годовые затраты на амортизацию, тыс. тенге;
Ср - текущие затраты на ремонт оборудования в год;
Сз/п - годовые затраты на заработную плату работников,
занятых эксплуатацией оборудования с отчислениями в частные пенсионные фонды,
социальный налог и социальные отчисления;
Сэ - энергозатраты;
Св - затраты на вспомогательные материалы.
Расчет годовых затрат на амортизацию оборудования
Амортизационный фонд определяется по формуле
, (5.8)
где На - норматив амортизационных отчислений в % и не
превышает предельных норм амортизации;
Кб - полная первоначальная стоимость крана;
, (5.9)
где Тсл - нормативный срок службы оборудования.
Расчет амортизационных отчислений крана представлен в таблице 5.6.
Таблица 5.6 - Расчет амортизационных отчислений крана
|
Наименование
показателей
|
Обозначение
|
Ед. изм.
|
Наименование
оборудования
|
|
Полная
первоначальная стоимость крана
|
Кб
|
тыс. тенге
|
3995376
|
|
Срок службы
|
Тсл
|
лет
|
15
|
|
Норма
амортизации
|
На
|
%
|
7
|
|
Амортизационные
отчисления
|
Са
|
тыс. тенге
|
279376
|
Расчет годовых затрат на текущий ремонт крана
Расчет показателей системы технического обслуживания и
ремонтов оборудования.
Структура ремонтного цикла, трудоёмкость ремонтных работ,
категория ремонтной сложности определяется по справочнику ТО и Р.
Показатели системы ТО и Р оборудования представлены в таблице
5.7.
Таблица 5.7 - Показатели системы ТО и Р оборудования
|
Наименование
показателей
|
Обозначение
|
Ед. измерения
|
Значение
|
|
1) Категория
ремонтной сложности
|
-
|
-
|
16
|
|
2) Структура
ремонтного хозяйства 2.1 текущий ремонт № 1 2.2 текущий ремонт № 2 2.3
капитальный ремонт
|
Т1
Т2 К
|
ед. ед. ед.
|
80 15 1
|
|
Итого
|
Р
|
ед.
|
96
|
|
3) Трудоёмкость
ремонтов 3.1 Т1 3.2 Т2 3.3 К
|
t1 t2 tк
|
час. час. час.
|
2 8 24
|
|
Итого
|
|
час.
|
34
|
Длительность межремонтного цикла (то есть промежуток времени
между вводом в эксплуатацию оборудования до 1-го капитального ремонта или между
двумя капитальными ремонтами)
, (5.10)
где Тн - нормативный ремонтный цикл, час;
Тн=9000 часов
k - поправочный климатический коэффициент,
k=1
Длительность межремонтного периода (то есть период времени между
двумя любыми видами ремонтов) рассчитывается по формуле
, (5.11)
где Т1, Т2, К - количество ремонтов.
В таблице 5.8 представлен расчет продолжительности межремонтного
периода.
Таблица 5.8 - Расчет продолжительности межремонтного периода
|
Наименование
показателей
|
Обозначение
|
Ед. измерения
|
Наименование
оборудования
|
|
поправочный
климатический коэффициент
|
k
|
|
1
|
|
Межремонтный
цикл
|
Тмц
|
часы
|
9000
|
|
Количество
ремонтов
|
Р
|
ед.
|
96
|
|
Межремонтный
период
|
ТМР=
Тн
|
94
|
На основании показателей ТО и Р составляется график ремонтов
оборудования на год (таблица 5.9).
Таблица 5.9 - График планово-предупредительных работ
|
Месяцы
|
Количество
ремонтов
|
|
Т1
|
Т2
|
|
дата последнего
ремонта
|
29.12.07
|
|
|
январь
|
2
|
-
|
|
февраль
|
2
|
-
|
|
март
|
1
|
1
|
|
апрель
|
2
|
-
|
|
май
|
2
|
-
|
|
июнь
|
1
|
1
|
|
июль
|
2
|
-
|
|
август
|
2
|
-
|
|
сентябрь
|
1
|
1
|
|
октябрь
|
2
|
-
|
|
ноябрь
|
2
|
-
|
|
декабрь
|
1
|
1
|
|
итого
|
20
|
4
|
Годовые затраты на ремонт могут быть определены двумя
способами:
а) составление сметы расходов на каждый вид ремонта (текущий,
капитальный);
б) аналитическо-статистическим способом по формуле:
, (5.12)
где ЗЗ/П - затраты на заработную плату работников,
занятых ремонтом оборудования.
, (5.13)
где ТРР - трудоёмкость ремонтных работ, час.
, (5.14)
Где
T1t1, T2t2, KtK - трудоёмкость ремонтов;
ТСР - среднечасовая заработная плата ремонтных рабочих,
тенге/час;
kП - коэффициент,
учитывающий долю премии в заработной плате или прочие затраты;
kД -
коэффициент, учитывающий дополнительную заработную плату;
kСС -
коэффициент, учитывающий затраты на социальной страхование;
ЗИ - затраты на инструмент, материалы, оснастку;
ЗН - накладные расходы.
Расчет затрат на текущий ремонт крана доставлен в таблице 5.9.
Таблица 5.9 - Расчет затрат на текущий ремонт подъемника
|
Наименование
показателей
|
обозначение
|
Ед. измер.
|
Наименование
оборудования
|
|
1) Трудоёмкость
ремонтных работ
|
ТРР
|
час
|
60,8
|
|
2) Средний
разряд ремонтных работ
|
|
|
4
|
|
3) Часовая
тарифная ставка среднего разряда ремонтных рабочих
|
СР
|
тенге
|
94,7
|
|
4) Затраты на
заработную плату 4.1 по тарифу 4.2 прочие (10% от 4.1) 4.3 дополнительная
заработная плата (4.1 + 4.2) *0,2
|
ЗЗ/П ЗТ
ЗПР ЗД
|
тенге тенге
тенге тенге
|
20199,8 16667,2
166 3366,6
|
|
5) Начисления
на заработную плату (4*0,9*0,2)
|
ЗСС
|
тенге
|
3635,9
|
|
6) Затраты на
материалы (стр.4 *0,01)
|
ЗМ
|
тенге
|
201,9
|
|
7) Итого затрат
на текущий ремонт (стр.4 + стр.5 + стр.6)
|
СР
|
тенге
|
24037,6
|
Расчет годовых энергозатрат
Расходы на энергию складываются из расходов на энергию машин
с тепловым двигателем СТЭН
, (5.15)
где ЦТ - цена за 1 л/кг топлива для дизельных
двигателей;
kВ -
удельный расход топлива в кг на единицу мощности для работы двигателей
внутреннего сгорания; kВ =0,09
NМ -
мощность двигателя машины.
Расчет затрат на энергию представлен в таблице 5.10.
Таблица 5.10 - Расчет затрат на энергию
|
Наименование
показателей
|
Обозначение
|
Ед. измерения
|
базовая модель
|
|
1) цена за 1
л/кг топлива для дизельных двигателей
|
ЦТ
|
тенге
|
54
|
|
2) Эффективный
фонд работы крана
|
Fэф
|
час
|
236
|
|
3) мощность
двигателя машины
|
Nу
|
кВт
|
87
|
|
13) Всего
затрат на топлива для дизельных двигателей
|
тенге99785,5
|
|
|
Расчет годовых затрат на заработную плату работников, занятых
эксплуатацией оборудования
Расчет баланса рабочего времени 1 рабочего представлен в
таблице 5.11.
Таблица 5.11 - Расчет баланса рабочего времени 1 рабочего
|
Показатели
|
Обозначение
|
Режим работы
прерывный
|
|
|
8 час.
|
|
1) Календарное
время
|
Дк
|
365
|
|
2) Праздничные
дни
|
Дп
|
10
|
|
3) Выходные дни
|
Дв
|
105
|
|
4) Номинальный
фонд рабочего времени
|
Дн
|
251
|
|
5) Невыходы 5.1
отпуск 5.2 болезни 5.3 прочие
|
О Б П
|
31 25 4 2
|
|
6) Эффективный
фонд рабочего времени
|
Fэф
|
219
|
|
7) Количество
смен
|
Тсм
|
1
|
|
8) Коэффициент
списочного состава Дн/Fэф
|
kсс
|
1,14
|
Расчет численности рабочих представлен в таблице 5.12.
Таблица 5.12 - Расчет численности рабочих
|
Профессия
|
Кол-во
оборудования, единиц
|
Норма
обслуживания, чел.
|
Кол-во смен в
сутки
|
Явочная
численность
|
КСС
|
Списочная
численность
|
|
1) Базовый
вариант оператор стропальщик
|
1 1
|
1 1
|
1 1
|
1 1
|
1,14 1,14
|
1 1
|
|
Итого
|
|
2
|
|
2
|
|
2
|
Расчет фонда заработной платы рабочих, обслуживающих кран,
представлен в таблице 5.13
Таблица 5.13. Расчет заработной платы
|
№ п/п
|
показатели
|
Ед. изм
|
Базовый
|
|
|
|
крановщик
|
стропальщик
|
|
1
|
Разряд
|
|
4
|
3
|
|
2
|
Сменная тарифная
ставка
|
Тен
|
1140,8
|
908,8
|
|
3
|
Эффективный
фонд рабочего времени
|
Чел/ Дн
|
224
|
224
|
|
4
|
Всего
|
Чел/ Дн
|
224
|
224
|
|
5
|
Численность
явочная коэффициент списочного состава Списочная
|
Чел Чел
|
1 1,14 1
|
1 1,14 1
|
|
6
|
Основная
з/плата Всего
|
тен
|
331288,8
|
263915,5
|
|
- тариф
|
тен
|
301171,2
|
239923,2
|
|
- прочие
|
тен
|
30117,6
|
23992,3
|
|
8
|
Доп. з/плата
всего
|
тен
|
66257,8
|
52783,1
|
|
- отпуск
|
тен
|
66257,8
|
52783,1
|
|
9
|
Всего годовой
фонд оплаты труда
|
тен
|
397546,6
|
316698,6
|
|
10
|
Среднемесячная
заработная плата 1го рабочего
|
тен
|
33128,9
|
26391,6
|
Расчет годовых затрат на вспомогательные материалы и охрану
труда
Расход на смазочные, обтирочные и другие вспомогательные
материалы необходимые для эксплуатации подъемно-транспортного оборудования СВ
рассчитываются исходя из нор расхода либо в процентах.
Расчет затрат на вспомогательные материалы и охрану труда
представлен в таблице 5.14.
Таблица 5.14 - Расчет затрат на вспомогательные материалы и
охрану труда
|
Наименование
показателей
|
Обозначение
|
Ед. измерения
|
базовая модель
|
|
2) Норма
отчислений
|
|
%
|
12
|
|
3) Расходы на
вспомогательные материалы (стр.1*стр.2: 100)
|
|
тенге
|
11974,3
|
|
4) Фонд
заработной платы рабочих
|
Сз/п
|
тыс. тенге
|
714245,2
|
|
5) Норматив
отчислений
|
|
%
|
2
|
|
6) Расход на
охрану труда (стр.4*стр.5: 100)
|
тенге
|
|
14284,9
|
Смета затрат на содержание и эксплуатацию крана представлена
в таблице 5.15.
Таблица 5.15 - Смета затрат на содержание и эксплуатацию
крана
|
Наименование
показателей
|
базовая модель
|
|
1) Амортизация
|
279376
|
|
2) Текущий
ремонт
|
24037,6
|
|
3) затраты на
топливо
|
99785,5
|
|
4) Заработная
плата рабочих
|
714245,2
|
|
5) Начисления
на заработную плату (стр.4 *0,9*0,2)
|
128564,2
|
|
6)
Вспомогательные материалы
|
11974,3
|
|
7) Охрана труда
|
14284,9
|
|
8) Итого
|
1272267,7
|
Расчет экономической эффективности нового конструкторского
решения
При оценке эффективности мероприятия рассчитывается
показатель срока окупаемости капитальных вложений
, (5.16)
где
К - капитальные вложения;
П - прибыль от внедрения мероприятия
Расчет экономической эффективности модернизации крана, связанной с
увеличением его производительности представлен в таблице 5.18.
Таблица 5.18 - Расчет экономической эффективности
модернизации крана, связанной с увеличением его производительности
|
Показатели
|
Обозначение
|
Ед. измер.
|
базовая модель
|
|
1
|
2
|
3
|
4
|
|
1) Производительность
крана
|
В
|
тыс. тонн
|
1287,3
|
|
2) Капитальное
вложение
|
Кб
|
тенге
|
3995376
|
|
3) Численность
рабочих
|
Ч
|
чел
|
2
|
|
4) Фонд
заработной платы
|
ФЗП
|
тенге
|
714245,2
|
|
5) Смета затрат
на обслуживание крана
|
С
|
тенге
|
1272267,7
|
|
6) Затраты на 1
тонну груза (стр.5: стр.1)
|
|
тенге
|
988,3
|
|
7) Прибыль от
внедрения мероприятия
|
П
|
тенге
|
2450319,7
|
|
8) Срок
окупаемости капитальных вложений Т=Кб/П
|
Ток
|
лет
|
1,6
|
Технико-экономические показатели работы крана представлены в
таблице 5.19
Таблица
5.19 - Технико-экономические показатели работы крана
|
Показатели
|
Обознач.
|
Ед. измер.
|
базовая модель
|
|
Грузоподъемность
крана
|
Q
|
т
|
3
|
|
Производительность
крана в год
|
B
|
т/год
|
785
|
|
Мощность
двигателя
|
Ny
|
кВт
|
87
|
|
Капитальные
вложения
|
Кб
|
тенге
|
3995376
|
А
|
лет
|
15
|
|
Категория
ремонтной сложности
|
Тц
|
-
|
16
|
|
Технологический
цикл
|
|
мин
|
0,9
|
|
Межремонтный
цикл
|
Тмц
|
час
|
9000
|
|
Межремонтный
период
|
Тмр
|
час
|
94
|
|
Трудоемкость
ремонтных работ
|
Трр
|
час
|
60,8
|
|
Численность
рабочих
|
Ч
|
чел
|
2
|
|
Фонд заработной
платы
|
ФЗП
|
тыс. тенге
|
714245,2
|
|
Среднемесячная
заработная плата 1 рабочего
|
Ср. з/п
|
тыс. тенге
|
33128,9
|
|
Затраты на
обслуживание и содержание крана
|
С
|
тыс. тенге
|
1272267,7
|
|
Затраты по
обслуживанию крана на 1 тонну груза
|
|
тенге
|
988,3
|
|
Прибыль от
внедрения мероприятия
|
П
|
тенге
|
2450319,
|
|
Срок
окупаемости капитальных вложений
|
Ток
|
лет
|
1,6
|
Заключение
В дипломном проекте выполнено техническое предложение по
разработке крана-манипулятора на базе автомобиля КамАЗ 6540.
Рассчитаны основные механизмы крана-манипулятора. Освещены
вопросы эксплуатации и охраны труда.
Кран манипулятор может эффективно использоваться в
малоэтажном строительстве. Совмещение автокрана-погрузчика и грузовика
позволяет сэкономить средства за счет уменьшения стоимости услуг. Грузовые
перевозки - тут нельзя обойтись без погрузчиков. Для любых работ, связанных с
погрузкой тяжелых, крупногабаритных предметов необходим отдельно работающий
кран + грузовой автомобиль. Манипуляторы являются одним из наиболее передовых
технических решений в области грузовых перевозок, погрузочно-разгрузочных
работ, ведения складского хозяйства и, конечно же, осуществления функций
автомобиля технической помощи для современных станций техобслуживания. Основное
отличие при грузовых перевозках гидроманипуляторами - то, что они сами грузят,
сами перевозят, сами монтируют.
Список
литературы
1. Справочник
по кранам. Т.1. / В.И. Брауде, М.М. Гохберг, И.Е. Звягин, и др. Под ред. М.М.
Гохберга. М.: Машиностроение, 1988 - 536 с.: ил.
2. Справочник
по кранам. Т.2. / В.И. Брауде, М.М. Гохберг, И.Е. Звягин, и др. Под ред. М.М.
Гохберга. М.: Машиностроение, 1988 - 536 с.: ил.
. Шнейдер
В.Г. Расчёт механизмов поворотных стреловых кранов. Саратов, 1987. - 50 с.
. Епифанов
С.П., Поляков В.И. Краны стреловые пневмоколёсные и гусеничные. М.: Высшая
школа, 1975 - 344 с.: ил
. Руденко
Н.Ф. и др. Курсовое проектирование грузоподъёмных машин. / Н.Ф. Руденко, М.П.
Александров, А.Г. Лысяков - М.: Машгиз, 1963. - 304с.: ил.
. Петухов
П.З. и др. Специальные краны. / П.З. Петухов, Г.П. Ксюнин, Л.Г. Серлин М.:
машиностроение, 1985. - 248с.: ил.
. Александров
М.П. Подъёмно - транспортные машины. - М: Высшая школа, 1985. 520 с.: ил.
. Курсовое
проектирование деталей машин. / С.А. Чернавский, К.Н. Боков, И.М. Чершин и др.
Под ред. С.А. Чернавского - 2-е изд., перераб. и доп. - М.: Машиностроение,
1987 - 416 с.: ил.
. Анурьев
В.И. Справочник конструктора-машиностроителя.2-е изд., перераб. и доп. М.:
Машиностроение, 1982 - 576 с.: ил.
. Бейзельман
Р.Д. Подшипники качения. Справочник. / Р.Д. Бейзельман, Б.В. Цыпкин, Л.Я.
Перель. 6-е изд., перераб. и доп. М.: Машиностроение, 1975. - 572 с.: ил.
. Савицкий
В.П. ГПМ. Курсовое проектирование. Учебное пособие для вузов. Минск. Высшая
школа, 1981 - 160 с.: ил.
. Вайнсон
А.А. Крановые грузозахватные устройства: справочник. М., Машиностроение, 1982.
- 304 с.: ил.
. Асинхронные
двигатели серии 4А, справочник. Кравчик А. Э, Шлаф М. М, Афонин В. И,
Соболенская Е.А. М. Энергоиздат, 1982г - 472 c.: ил.
. Правила
устройства и безопасной эксплуатации грузоподъемных кранов. Алма-Ата 1994, -
198с.
. Поляков
В.С. и др. Справочник по муфтам. / В.С. Поляков, И.Д. Барбаш, О.А. Ряховский -
2-е изд., перераб. и доп.М. Машиностроение, 1979. - 343 с.: ил.
. Покрас
Ю.П. Слесарь - монтажник по строительным машинам. М.: изд. литературы по
строительству, 1965 - 332с.: ил.
. Ходов
М.П. Справочник молодого машиниста автомобильных пневмоколёсных и гусеничных
кранов. 2-е изд. перераб. и доп. М.: Высшая школа, 1975 - 272 с.: ил.
. Юдин
Е.А. и др. Охрана труда в машиностроении. / Е.А. Юдин, С.В. Белов, С.К.
Баранцев.2-е изд. перераб. и доп. - М. Машиностроение, 1983-378 с.: ил.