Разработка конструкции электрофлотатора

  • Вид работы:
    Курсовая работа (т)
  • Предмет:
    Экология
  • Язык:
    Русский
    ,
    Формат файла:
    MS Word
    579,56 Кб
  • Опубликовано:
    2015-04-17
Вы можете узнать стоимость помощи в написании студенческой работы.
Помощь в написании работы, которую точно примут!

Разработка конструкции электрофлотатора

Министерство образования и науки Российской Федерации

Казанский национальный исследовательский технический университет им. А.Н.Туполева-КАИ (КНИТУ-КАИ)

Кафедра общей химии и экологии






КУРСОВОЙ ПРОЕКТ

по дисциплине

«Процессы и аппараты защиты окружающей среды»

на тему

«Электрофлотатор»


Выполнила студентка

группы 3572

Яруллина Г.Ф.

Научный руководитель:

доцент, к.х.н. Гоголь Э.В.

Рецензент:

асс. Гумерова Г.И.


Казань-2014

Введение

В ряду экологических проблем вопросы сохранности водных ресурсов имеют первостепенное значение. Сброс неочищенных и недостаточно очищенных вод в поверхностные водные объекты ухудшают их состояние. Образование загрязненных сточных вод происходит на всех стадиях производственного цикла от добычи полезных ископаемых, их обогащения, переработки, промышленного до депонирования отходов.

Сегодня по-прежнему актуальны задачи, связанные с водоотведением: очистка сточных вод до предельно допустимых концентраций; рациональное водопотребление и организация водооборота; сокращение твердых отходов и их централизованная утилизация; регенерация технологических растворов и их повторное использование; утилизация ценных компонентов из сточных вод и отработанных технологических растворов. Решение этого комплекса проблем позволяет реально экономить средства предприятий.

Традиционные системы реагентной и механической очистки часто оказываются недостаточно эффективными или не могут быть использованы из-за дефицита производственных площадей, поэтому усилия специалистов направлены на разработку компактного, высокоэффективного и экологически безопасного оборудования для очистки загрязнённых стоков до установленных нормативов.

Целью данной курсовой работы является выбор оборудования для очистки медьсодержащих сточных вод.

Предпочтение отдается внедрению электрохимических способов, как наиболее соответствующих комплексным требованиям водоочистки. Эти способы позволяют очищать стоки от загрязнений до предельно допустимых концентраций, корректировать физико-химические свойства обрабатываемой воды, концентрировать и извлекать из нее ценные химические продукты и металлы, упростить технологические схемы и эксплуатацию производственных установок, обеспечить простоту автоматизации их работы, сократить производственные площади, необходимые для размещения очистного оборудования, уменьшить количество образующихся осадков. Во многих случаях электрохимические способы являются экологически чистыми, исключающими «вторичное» загрязнение воды анионными и катионными остатками, характерными для реагентных способов.

1. Гальванические производства

Сточные воды гальванических производств являются наиболее опасными с точки зрения токсичности, так как в своем составе содержат высокотоксичные ингредиенты в виде тяжелых металлов. Поэтому в промышленности функционирует множество технологических схем очистки сточных вод, базирующихся на различных методах.

Сточные воды гальванических производств подразделяются на следующие основные категории:- чистые, от охлаждения технологического оборудования (50- SO % обшего количества);-загрязненные механическими примесями и маслами (10-15 %);- загрязненные кислотами, щелочами, солями, соединениями хрома, цинка, мели, никеля, пиана и другими химическими веществами (50-S0 %);- отработанные смазочно-охлаждающие жидкости (СОЖ) или эмульсии (1-2 %);- загрязненные пылью вентиляционных систем и горелой землей литейных цехов (10-20 %);- поверхностные воды (дождевые, талые, поливочно-моечные).

Соединения тяжелых металлов могут находиться в сточных водах практически всех категорий, но наибольшее их количество наблюдается в волах III и IV категорий. Тяжелые металлы могут попадать в сточные воды из технологических растворов, как продукты деструкции обрабатываемых деталей и инструмента, при промывке оборудования и изделий.

Сточные воды III категории образуются в процессе химической и электрохимической обработки изделий. Они содержат тяжелые ме­таллы преимущественно в виде химических соединений, как правило, растворимых.

Сточные воды IV категории образуются при механической обработке изделий. Основная масса тяжелых металлов находится в них в виде мелкодисперсных взвесей, но часть может находиться в виде ра­створимых соединений.

По объему, составу загрязнений третья категория сточных вод является преобладающей. По существующей классификации, сточные воды этой категории делят на следующие группы: кисло-щелочные, хромсодержащие, циансодержащие, фторсодержащие.

Химические и электрохимические процессы обработки изделий являются основными источниками загрязнений сточных вод гальванических производств. Вода загрязняется в процессе охлаждения и мойки оборудования и тары, на основных и вспомогательных технологических операциях. Расход сточных вод достигает 500 м3/сут с 1000м; производственных площадей. Сточные воды, как правило, разделяются на промывные волы и отработанные концентрированные растворы. Их характеристики приведены в таблице.

Таблица 1.1. Характеристика сточных вод цехов гальванопокрытий

Показатели

Промынные воды

Отработанные растворы


рН

3-11

3-11


Механические примеси. г/л

До 0,05

До 0,3


Нефтепродукты, г/л

До 0,002

До 0,05


Общее солесодержание. г/л

0,5-1

10-300


Железо, г/л

0,02-0,2

40-86


Хром шестивалентный, г/л

0,01--0,08

50-250


Цианиды, г/л

0,01-0,06

10-150


Медь, г/л

0,01-0.05

10-150


Никель, г/л

0.01-0,05

50-200


Цинк, г/л

0.01-0,06

10-100


Кадмий. г/л

0.005-0.03

5-50



В связи с многообразием загрязняющих веществ в сточных водах гальванических производств очистку этих вод осуществляют различными методами, В таблице 1.2 приведены рекомендации по методам очистки сточных вод от отдельных технологических операций. [6]

Таблица 1.2. Методы очистки сточных вод в отдельных технологических операциях

Категории сточных вод

Основной загрязняющий компонент

Методы обработки


Никельсодержащие

Никелирование

NiSO4·7, NiCl2·6 Н2О, Na.SО4·10Н2О, H3BO3, NaCl, NaF.

Ионный обмен, обратный осмос, электродиализ, дистилляция, экстракция. электрохимические, реагентный; комбинированные: магнитное ожижение ионитов. ионный обмен в магнитной поле, ионный обмен - электрохимические, электроанализ - ионный обмен, реагентный - электрохимические


Медьсодержа-шие

Меднение

CuS04·5H2SО4, Cu(ВF4)2, CuCl2·2H2О, HBF4, H3BO3, Органические добавки

Реагентный, цементация (для отработанных растворов), электродиализ, экстракция, флотация, электрохимические; комбинированные; ионный обмен - электрохимические.


Хромсодержа- щие

Пассивирование, хромирование

CrO3, Cr2(SО4). K2Cr2О7, HF, NH4F, H2S04, Na2S04.

Peaгентный, обратный осмос, электроанализ, экстракция, электрохимические; комбинированные: ионный обмен - электрохимические, реагентный - электрохимические


Цииксодержа-шие

Цинкование

ZnSО4·7H2О, ZnCl2, Zn(BF4)2, Al2(SO4)3·18H2О, Na2S04·10H2О,. KCI, NH4B4, H3BO3, декстрин, тиомочевина, блескообразователь БЦУ, блескообразователь-закрепитель У-2, ОС-20,ЛимслаНЦ-10, Лимеда НЦ-20

Реагентный, выпаривание, экстракция, обратный осмос; комбинированные: ионный обмен - электрохимические


Кадмий содержашне

Кадмированис

CdS04·8/3H2О, CdO. CdCl2, H2SO4·7H2О, H3BO3, (NН4)2SO4,  KH4Cl, синтаиол ДС-10, лимеда БК-10, клей мездровый, тиомочевина

Реагентный, выпаривание, экстракция, электрохимические, образный осмос, комбинированные: ионный обмен - электрохимические


Стоки операций обезжиривания (водно-щелочные)

Обезжиривание

NaOH. Na2CO, Na3P04·12H2О, Na2O·SiO2 , ОП-7, ОП-10, синтанол ДС-10, сульфанол НП-3, консервационные смазки

Реагентный, процеживание, фильтрование, отстаивание, центрифугирование, разделение в гидроцнклонах, флотация, сорбция, ультразвуковая коагуляция, электрическое деэмульгированне, обратный осмос, ультрафильтрация


Стоки операций травления и активации

Травление, активация

H2SO4, HCl, HNO3, H3PO4, KJ, NaOH, NaCl, NaNO3, уротропин, катапин, Fe2+, Cu2+, Zn2+.

1.Отработанные травильные растворы: а) методы, позволяющие извлечь из ОТР загрязняющие компоненты: реагентный, электрохимические, кристаллизация, высаливание, сорбция, экстракция примесей; б) методы, позволяющие выделить травильный раствор или его компоненты: выпаривание, отгонка, экстракция кислот, мембранные. 2. Промывные воды: реагентный, электрокоагуляция, ионный обмен, обратный осмос



.1 Медьсодержащие сточные воды

Ионы меди могут загрязнять гидросферу, поступая из различных источников. Для меди ПДКв (по иону меди) установлена 1 мг/дм3 (лимитирующий показатель вредности - органолептический), ПДКвр - 0,001 мг/дм3 (лимитирующий показатель вредности - токсикологический).

В технологических процессах источником сточных вод являются:

) воды, образующиеся при протекании химических реакций (они загрязнены исходными веществами и продуктами реакций);

) воды, находящиеся в виде свободной и связанной влаги в сырье и исходных продуктах и выделяющиеся в процессах переработки;

) промывные воды после промывки сырья, продуктов и оборудования;

) маточные водные растворы;

) водные экстракты и абсорбенты;

) воды охлаждения;

) другие сточные воды; воды с вакуум-насосов, конденсаторов смещения, систем гидрозолоудаления, после мытья тары, оборудования и помещений.


В зависимости от количества примесей производственные сточные воды подразделяют на загрязнённые, подвергаемые перед выпуском в водоём (или перед повторным использованием) предварительной очистке, и условно чистые (слабо загрязнённые), выпускаемые в водоём (или вторично используемые в производстве) без обработки. Количество и состав сточных вод зависит от вида производства.

Промышленные сточные воды, содержащие ионы меди, образуются в самых разных отраслях производства. Наиболее интенсивно воду потребляют и сбрасывают в загрязненном или недостаточно очищенном виде металлургическая, гальваническая, машиностроительная, химическая промышленности, шахтное производство. [3]

2. Теоретические основы флотации

К физико-химическим методам очистки сточных вод относят коагуляцию, флотацию, адсорбцию, ионный обмен, экстракцию, ректификацию, выпаривание, дистилляцию, обратный осмос и ультрафильтрацию, кристаллизацию, десорбцию и др. Эти методы используют для удаления из сточных вод тонкодисперсных взвешенных твердых и жидких частиц, растворимых газов, минеральных и органических веществ. Использование физико-химических методов для очистки сточных вод по сравнению с биохимическим имеет ряд преимуществ:

)        возможность удаления из сточных вод токсичных, биохимически неокисляемых органических загрязнений;

)        достижение более глубокой и стабильной степени очистки;

)        меньшие размеры сооружений;

)        меньшая чувствительность к изменениям нагрузок;

)        возможность полной автоматизации;

)        более глубокая изученность кинетики некоторых процессов, а также вопросов моделирования, математического описания и оптимизации, что важно для правильного выбора и расчета аппаратуры;

)        методы не связаны с контролем за деятельностью живых организмов;

)        возможность рекуперации различных веществ.

Выбор того или иного метода очистки (или нескольких методов) производят с учетом санитарных и технологических требований, предъявляемых к очищенным производственным сточным водам с целью дальнейшего их использования, а также с учетом количества сточных вод и концентрации загрязнений в них. [2]

Флотационные установки надлежит применять для удаления из воды взвешенных веществ, ПАВ, нефтепродуктов, жиров, масел, смол и других веществ, осаждение которых малоэффективно.

Флотационные установки также допускается применять:

         для удаления загрязняющих веществ из сточных вод перед биологической очисткой;

         для отделения активного ила во вторичных отстойниках;

         для глубокой очистки биологически очищенных сточных вод;

         при физико-химической очистке с применением коагулянтов и флокулянтов;

         в схемах повторного использования очищенных вод.

Различают следующие способы флотационной обработки сточных вод:

с выделением воздуха из растворов;

с механическим диспергированием воздуха;

с подачей воздуха через пористые материалы;

электрофлотацию;

химическую флотацию.

Напорные, вакуумные, безнапорные, электрофлотационные установки надлежит применять при очистке сточных вод с содержанием взвешенных веществ свыше 100-150 мг/л (с учетом твердой фазы, образующейся при добавлении коагулянтов). При меньшем содержании взвесей для фракционирования в пену ПАВ, нефтепродуктов и др. и для пенной сепарации могут применяться установки импеллерные, пневматические и с диспергированием воздуха через пористые материалы.

Для осуществления процесса разделения фаз допускается применять прямоугольные (с горизонтальным и вертикальным движением воды) и круглые (с радиальным и вертикальным движением воды) флотокамеры. Объем флотокамер складывается из объемов рабочей зоны (глубина 1,0-3,0 м), зоны формирования и накопления пены (глубина 0,2-1,0 м), зоны осадка (глубина 0,5-1,0 м). Гидравлическая нагрузка - 3-6 м3/(м2×ч). Число флотокамер должно быть не менее двух, все камеры рабочие.

Для повышения степени задержания взвешенных веществ допускается использовать коагулянты и флокулянты. Вид реагента и его доза зависят от физико-химических свойств обрабатываемой воды и требований к качеству очистки.

= 1,5Cen,

где Cen      исходная концентрация нерастворенных примесей, г/л.

При проектировании установок импеллерных, пневматических и с диспергированием воздуха через пористые материалы необходимо принимать:

продолжительность флотации - 20-30 мин;

расход воздуха при работе в режиме флотации - 0,1-0,5м3/м3;

расход воздуха при работе в режиме пенной сепарации - 3-4 м3/м3 (50-200 л на 1 г извлекаемых ПАВ) или 30-50 м3/(м2×ч);

глубину воды в камере флотации - 1,5-3 м;

окружную скорость импеллера - 10-15 м/с;

камеру для импеллерной флотации - квадратную со стороной, равной 6D (D -диаметр импеллера 200-750 мм);

скорость выхода воздуха из сопел при пневматической флотации - 100-200 м/с;

диаметр сопел - 1-1,2 мм;

диаметр отверстий пористых пластин - 4-20 мкм;

давление воздуха под пластинами - 0,1-0,2 МПа (1-2 кгс/см2 ) .

При проектировании напорных флотационных установок следует принимать:

продолжительность флотации - 20-30 мин;

количество подаваемого воздуха, л на 1кг извлекаемых загрязняющих веществ: 40 - при исходной их концентрации Cen<200 мг/л, 28 - при Cen = 500, 20 - при Cen = 1000 мг/л, 15- при Cen = 3-4 г/л;

схему флотации - с рабочей жидкостью, если прямая флотация не обеспечивает подачу воздуха в нужном количестве;

флотокамеры с горизонтальным движением воды при производительности до 100 м3/ч, с вертикальным - до 200, с радиальным - до 1000 м3/ч;

горизонтальную скорость движения воды в прямоугольных и радиальных флотокамерах - не более 5 мм/с;

подачу воздуха через эжектор во всасывающий патрубок насоса - при небольшой высоте всасывания (до 2 м) и незначительных колебаниях уровня воды в приемном резервуаре (0,5-1,0 м), компрессором в напорный бак - в остальных случаях.

Напорные флотационные установки имеют большее распространение, чем вакуумные. Они просты и надежны в эксплуатации. Напорная флотация позволяет очищать сточные воды с концентрацией взвесей до 4…5 г/л. Для увеличения степени очистки в воду добавляются коагулянты. Аппараты напорной флотации обеспечивают по сравнению с нефтеловушками в 5…10 раз меньше остаточное содержание загрязнений и имеют в 5…10 раз меньшие габариты. Процесс осуществляется в две стадии:

) насыщение воды воздухом под давлением;

) выделение растворенного газа под атмосферным давлением.

Рис.1.1. Схема напорной флотации:

- емкость; 2 - насос; 3 - напорный бак; 4 - флотатор.

Напорные флотационные установки имеют производительность от 5…10 до 1000…2000 м3/ч. Они работают при давлении в напорной емкости 0,17…0,39 МПа, время пребывания в ней 14 минут, а во флотационной камере (емкости) 10…20 минут. Объем засасывания воздуха составляет 1,5…5% от объема очищаемой воды. В случае необходимости одновременного окисления загрязнений воду насыщают воздухом, обогащенным кислородом или азотом. Для устранения процесса окисления вместо воздуха на флотацию подают инертные газы.

Эрлифтные установки применяют для очистки сточных вод в химической промышленности. Они просты по устройству, затрата энергии на проведение процесса в них в 2…4 раза меньше, чем в напорных установках. Недостаток этих установок - необходимость размещения флотационных камер на большой высоте:

Рис. 1.2. Схема эрлифтной флотации:

- емкость; 2 - трубопровод; 3 - аэратор; 4 - труба эрлифта; 5 - флотатор.

Флотация с механическим диспергированием воздуха. Механическое диспергирование воздуха во флотационных машинах обеспечивается турбинками насосного типа - импеллерами, представляющими собой диск с радиальными, обращенными вверх, лопатками. Такие установки применяются для очистки сточных вод с высоким содержанием взвешенных частиц (более 2 г/л). Степень измельчения вихревых газовых потоков на пузырьки и эффективность очистки зависят от скорости вращения импеллера: чем больше скорость, тем меньше пузырек и тем больше эффективность процесса.

Пневматические установки применяют для очистки сточных вод, содержащих растворенные примеси, агрессивные к движущимся механизмам. Измельчение пузырьков воздуха достигается при пропускании его через специальные сопла с отверстиями диаметром 1…1,2 мм, с давлением перед ними 0,3…0,5 МПа. Скорость струи воздуха на выходе из сопла 100-200 м/с. Продолжительность флотации - в пределах 15…20 мин.

Флотация при помощи пористых пластин. При пропускании воздуха через керамические пористые пластины или колпачки получаются мелкие пузырьки, размер которых равен:

п = 6(rо2.σ)1/4,

где Rп, rо - радиусы пузырьков и отверстий; σ - поверхностное натяжение воды.

Давление, необходимое для преодоления сил поверхностного натяжения, определяется по формуле Лапласа:

Δр = 4σ/rо.

Этот метод имеет следующие преимущества: простая конструкция флотационной камеры; меньшие затраты энергии из-за отсутствия насосов, импеллеров. Недостатки способа: частое засорение и зарастание отверстий пористого материала; неоднородность размеров отверстий пористого материалы.

Эффект флотации этим способом зависит от величины отверстий материала, давления воздуха, расхода воздуха, продолжительности флотации, уровня воды во флотаторе. Размер отверстий должен быть 4…20 мкм, давление воздуха 0,1…0,2 МПа, расход воздуха 40…70 м3/(м2.ч), продолжительность флотации 20…30 мин, уровень воды в камере до флотации 1,5…2м.[4]

.1 Кинетика флотации

Элементарный акт флотации заключается в следующем: при сближении поднимающегося в воде пузырька воздуха с твердой гидрофобной частицей разделяющая их прослойка воды прорывается при некоторой критической толщине и происходит слипание пузырька с частицей. Затем комплекс “пузырек-частица” поднимается на поверхность воды, где пузырьки собираются и возникает пенный слой с более высокой концентрацией частиц, чем в исходной сточной воде.

При закреплении пузырька образуется трехфазный периметр-линия, ограничивающий площадь прилипания пузырька и являющийся границей трех фаз - твердой, жидкой и газообразной.

Касательная к поверхности пузырька в точке трехфазного периметра и поверхность твердого тела образуют обращенный в воду угол θ, называемый

краевым углом смачивания.

Вероятность прилипания зависит от смачиваемости частицы, которая характеризуется величиной краевого угла θ. Чем больше краевой угол смачивания, тем больше вероятность прилипания и прочность удерживания пузырька на поверхности частицы. На величину смачиваемости поверхности взвешенных частиц влияют адсорбционные явления и присутствие в воде примесей ПАВ, электролитов и др.

Энергия образования комплекса “пузырек-частица” равна:

А = σ (1- cos θ),

где σ - поверхностное натяжение воды на границе с воздухом.

Для частиц, хорошо смачиваемых водой, θ → 0, а cos θ → 1, следовательно, прочность прилипания минимальна, а для несмачиваемых частиц -максимальна.

Эффект разделения флотацией зависит от размера и количества пузырьков воздуха. Оптимальный размер пузырьков равен 15…30 мкм. При этом необходима высокая степень насыщения воды пузырьками, или большое газосодержание. Повышение концентрации примесей увеличивает вероятность столкновения и прилипания частиц к пузырькам. Для стабилизации размеров пузырьков в процессе флотации вводят различные пенообразователи, которые уменьшают поверхностную энергию раздела фаз: сосновое масло, крезол, фенолы, алкилсульфат натрия, обладающие собирательными и пенообразующими свойствами.

Вес флотируемой частицы не должен превышать силы прилипания ее к пузырьку и подъемной силы пузырьков. Размер частиц, которые хорошо флотируются, зависит от плотности материала частиц и равен 0,2…1,5 мм.

Флотация может быть использована при сочетании с флокуляцией. Вероятность образования комплекса “пузырек-частица” может быть определена по формуле:

ω = [n 4/3 π(Rп + rч)3 - n 4/3 π Rп 3]/V = Cг[(1 + rч/Rп)3 - 1],

где n - число пузырьков радиуса Rп в объеме V жидкости; rч - радиус частицы; Сг = n 4/3 π Rп3/V - объемная концентрация газовой фазы.

Плотность флотационной среды, состоящей из воды, пузырьков воздуха и твердых частиц, равна:

ρс = ρж(1- Сч - Сг) + ρчСч + ρг Сг,

где ρж, ρч, ρг - плотность жидкости, частиц и газа; Сч, Сг - объемная концентрация частиц и газа в воде.

Скорость движения частиц wч и пузырьков vп относительно среды определяется по формулам:

ч = -2/9(g r2/μc ρж)[(1- Сч)(ρч/ρж - 1) + Сг];п = 1/9(g R2/μс ρж)[1+Сч(ρч/ρж -1) - Сг],

где g - ускорение свободного падения (силы тяжести); μс - динамическая вязкость флотационной среды.

Скорость процесса выделения частиц флотацией описывается уравнением реакции первого порядка:

ч/dτ = - kф Cч,

где kф - коэффициент скорости флотации, зависящий от динамических и конструктивных параметров.

Наилучшие условия разделения достигаются при соотношении между твердой и газообразной фазами Gг/Gч = 0,01…0,1. Это соотношение определяется по формуле:

г/Gч = 1,3 b(ƒ P - 1)Q1/(Cч.Q),

где Gг, Gч - масса воздуха и твердых частиц, г; b - растворимость воздуха в воде при атмосферном давлении и данной температуре, см3/л; ƒ - степень насыщения (обычно ƒ = 0,5…0,8); Р - абсолютное давление, при котором вода насыщается воздухом; Q1 - количество воды, насыщенной воздухом, м³/ч; Q - расход сточной воды, м³/ч. [7]

3. Электрофлотационная очистка

.1 Электрофлотация

Способ электрофлотационной очистки основан на переносе загрязняющих частиц из объема жидкости на ее поверхность пузырьками газов, образующихся при электролизе сточных вод. Устройства, в которых производят этот процесс, называют электрофлотаторами. Образование газов происходит таким образом:

в кислых растворах

. Н3О+ + е - → Надс + Н2О

. Надс + Надс → Н2 ↑

На первой стадии восстановления происходит разряд катиона с потерей гидратной оболочки и адсорбция на поверхности электрода. Вторая стадия заключается в образовании молекул Н2 путем рекомбинации ионов Надс.

в щелочных растворах,

где концентрация Н3О+ ничтожно мала, разряд происходит непосредственно из молекул воды в соответствии со следующими уравнениями:

. Н2О + е -→→ Надс + ОН-

. Надс + Надс → Н2 ↑

В обоих случаях наиболее медленными являются первые стадии процесса восстановления, которые и определяют общую скорость процесса выделения водорода.

) разложение воды (электрохимическое выделение кислорода):

в щелочной среде

ОН - ↔ О2 ↑ + 2Н2О + 4е-

в кислой среде

Н2О ↔ О2 ↑ + 4Н+ + 4е-

Следует отметить, что в последнем случае, так как концентрация анионов гидроксила мала, разряду непосредственно подвергается молекула воды.

Как следует из указанных уравнений, на катоде выделяется водород, а на аноде - кислород. Основные флотационные процессы протекают с участием водорода.

Обычно в установках для электрофлотации используют растворимые электроды (железные и алюминиевые). При их растворении протекают реакции, описанные уравнениями:

- 2e → Fe2+ φo = - 0.44 B- 3e → Al3+ φ =1.66 B

Fe + 2ОН- - 2e → Fe(OH)2 φo = - 0.877 B

Al + 3 ОН- - 3e →Al(OH)3 φo = -2.31 B

Fe(OH)2 + ОН- - e → Fe(OH) 3 φo = - 056 B

В результате в воду переходят катионы железа и алюминия и образуют гидроксиды. Эти флотационные процессы очистки наиболее эффективны при очистке сточных вод, что обеспечивается одновременным воздействием на загрязнения коагулянтов (гидроксидов железа и алюминия) и пузырьков газа. Такие установки называют электрокоагуляционно-флотационными.

Существуют однокамерные и двухкамерные электрофлотационные установки, горизонтального или вертикального типа. При пропускной способности до 10-15 м3/ч используют однокамерные установки.

Рис. 2.3. Горизонтальный флотатор:

- выпускная камера; 2 - решетка-успокоитель; 3 - электродная система; 4 - механизм для сгребания пены; 5 - пеносборник; 6, 7 - отвод соответственно обработанной сточной воды и пенного шлама; 8 - опорожнение электрофлотатора и выпуск осадка.

Расчета установок для электрофлотации или электрофлотокоагуляции производится согласно методике С.В. Яковлева.

Вначале определяют общий объем установки Wy , объемы электродного отделения Wэ и камеры флотации Wф . все объемы указаны в кубических метрах. Следовательно,

= Wэ + Wф

Объем электродного отделения зависит от размеров электродной системы. Если рассчитывается горизонтальная установка, то ширина секции принимается в зависимости от производительности Q :

если Q < 90 м3/ч, то В = 2м.

если Q = 90 - 180 м3/ч, то В = 2,5 - 3м.

Число электродов, размещаемое в установке, составляет:

э = (B - 2a1 + a2)/(δ + a2),

где a1 - величина зазора между крайними пластинами и стенками камеры, равная 100мм, a2 - величина зазора между пластинками, равная 15-12мм, δ - толщина пластин, равная 6-10 мм.

Тогда необходимая площадь пластин электродов ƒэ, м2 , определяется по следующей формуле:

ƒ3 = ƒа.э./(nэ - 1),

где ƒа.э. - активная поверхность электрода, м2 , определяемая из следующего выражения:

ƒа.э. = EQ/i,

где E - удельное количество электричества, Ач/м3; Q - расчетный расход сточных вод, м3/ч; i - плотность тока на электродах, А/м2.

Параметры E и i определяют экспериментальным путем. Обычно их значения лежат в следующих пределах: = 100 ÷ 600 Ач/м3, i = 50 ÷ 200 А/м2, напряжение постоянного тока 5÷30 В. Обычно высота пластин h, составляет 1÷15м. длину пластин находят из следующего выражения:

lэ = ƒэ / hэ,

а длину электродной камеры Lэ (м) по формуле:

э = lэ + 2а1.

Объем электродной камеры Wэ (м3) находят из выражения:

э = BHэLэ.

В этом выражении Hэ - это рабочая высота электродной камеры (м), равная:

э = h1 + h2 + h3 ,

Где h1 - высота осветленного слоя, равная 1 - 1,5м , h2 - высота защитного слоя, равная 0,3 - 0,5м, h3 - высота слоя шлама, равная 0,4 - 0,5м.

Объем флотационной камеры составляет:

ф = Qtф ,

где tф - продолжительность флотации, определяемая экспериментально (лежит в пределах 0,3-0,75ч).

Длину Lф и высоту Hф флотационной камеры рассчитывают исходя из ее объема Wф и ширины B.

Количество металла электродов, переходящее в раствор, рассчитывают по формуле:

э = kтЭE,

где mэ - количество металла, переходящего в 1 м3 раствора, г; kт - коэффициент выхода по току, равный 0,5 ÷ 0,95 (определяется экспериментально), Э - электрохимический эквивалент, г/Ач, равный для Fe2+, Fe3+, Al3+ соответственно 1,042, 0,695 и 0,336.

Срок службы электродной системы Т, сут,

Т = М * 1000/ mэQсут,

где М - количество металла электродов, которое растворяется при электролизе, кг;

М = γkэƒэδnэ ,

где γ - плотность металла электродов, кг/ м3; kэ -коэффициент использования материала электродов, равный 0,8 ÷ 0,9, Qсут - суточный расход сточных вод, м3/сут.

При эксплуатации электрофлотационных установок следует учитывать существенное количество водорода и кислорода, выделяющихся при протекании процесса, и принимать соответствующие меры безопасноти.

Электрофлотационная (и электрофлотокоагуляционная) технология применима для очистки медьсодержащих сточных вод промышленных предприятий и объектов бытового обслуживания.

Технология хорошо сочетается с методами предварительной очистки (реагентный, коагулянтный) как метод глубокой очистки до ПДК, а так же с методами мембранного обессоливания (фильтрование, ионообмен) как метод предварительного удаления нефтепродуктов, взвешенных веществ, катионов кальция, магния, железа, ионов тяжелых металлов (ИТМ), что позволяет использовать его в общей схеме водоочистки медьсодержащих стоков. [6]

3.2 Электроды

Электроды являются важнейшими элементами любой конструкции электролизера, определяющими эффективность процесса окислении или востановления.

Электроды подразделяют по следующим признакам:

по конструкции - плоские, сплошные, сетчатые, перфорированные, объемно-насыпные, неподвижные, вращающиеся, пссадоожижеииые;

по материалу - растворимые, нерастворимые, малоизнашиваемые;

по пространственной ориентации относительно друг друга - вертикальные, горизонтальные, наклонные;

по соединению - монополярные, биполярные и комбинированные;

по конфигурации - плоские, цилиндрические, сферические, игольчатые,

Катоды изготовляют из графита, стали, никеля, платины и других материалов;

аноды - из платины, никеля, нержавеющей стали, а также из титана, покрытого оксидами металлов.

К конструкции электродов предъявляются следующие требования:

         обеспечение максимально надежного контакта двух или трех фаз исходного твердого или жидкого вещества, исходного газообразного вещества и электрода;

         обеспечение максимально высокой производительности электролизера, т. е. максимального количества продукта, получаемого с единицы площади, занимаемой электролизером;

         стабильность характеристик электрода в течение длительного периода его эксплуатации;

         надежный подвод тока, обеспечивающий равномерность его распределения по поверхности электрода;

         свободный отвод жидких и газообразных продуктов электролиза.

Конструкция электрода во многом определяется способом его включения в электрическую цепь. При монополярном включении электродов все катоды присоединены к отрицательной, а все аноды к положительной шинам источника постоянного тока. В этом случае обе стороны электрода поляризованы либо катодно, либо анодно. Общее напряжение на таком электролизе­ре равно напряжению между одной парой электродов, а общая сила тока равняется силе тока, проходящей через пару электродов, умноженной на число таких пар в электролизере.

При биполярном включении электродов постоянный ток подводится лишь к крайним электродам, которые являются монополярными.

Остальные электроды, расположенные между крайними электродами, являются биполярными. Одна сторона таких электродов поляризована анодно, а другая катодно. В этом случае общее напряжение на электролизере равняется произведению напряжения между одной парой электродов и общим количеством пар, а общая сила тока, равняется си­ле тока, проходящей через пару электродов.

Плоские электроды выпускаются в виде плит или металлических листов (рис. 3.1.). В некоторых случаях плоские электроды изготовляются из отдельных элементов, например, стержней. Для облегчения отвода газообразных продуктов электролиза электродные листы или плиты перфорируются . Перфорация может быть различной формы.

Рис .3.1. Конструкция плоских электродов:

а - из круглых стержней,

б - из четырехугольных стержней,

в - из листа с просечной перфорацией,

г - из листа с перфорацией круглыми отверстиями.

Отверстия и просечки в перфорированных электродных листах и плитах могут быть круглыми, квадратными, щелевиднымн и т.д.

С целью повышения производительности электролизеров прибегают к развитию поверхности электродов. Одни из приемов развития поверхностных катодов представлен на рис. 3.2. Катод, изготовленный из плетеной сетки, натянут на металлический каркас и образует сложную рельефную поверхность в виде гребенки, между зубьями которой помешают аноды.

Рис .3.2. Конструкция гребенчатых катодов:

а - двухрядная,

б - двухрядная со сдвинутыми пальцами,

в - четырехрядная,

г - однорядная.

В последнее время уделяется большое внимание повышению эффективности процесса электролиза за счет увеличения электродных плотностей тока. В процессах, скорость которых контролируется доставкой вещества к поверхности электрода, существенное значение имеет перемешивание Сточной воды, подвергаемой электролизу. Известны различные способы создания в электролизере турбулентного режима, обеспечивающего высокую скорость подачи сточной воды и удаления продуктов электролиза с поверхности электрода.

Уменьшение диффузионных ограничений скорости электрохимической реакции дает возможность повысить электродную плотность тока, а следовательно, и производительность электролизера.

Можно выделить два пути интенсификации процесса электролиза за счет перемешивания сточной воды: создание электролизеров с вращающимися электродами и проведение процесса при интенсивной прокачке сточной воды через электролизер. [5]

.3 Разработка конструкции электрофлотатора

сточный очистка электрофлотатор

Прототипом электрофлотационной очистки был выбран патент номер RU 02122525 Cl, «способ очистки сточных вод от цветных и тяжелых металлов». Патентообладателем является Российский химико-технологический университет им. Д.И.Менделеева, разработали технологии и образцы оборудования на основе электрохимических методов, которые являются высокоэффективными и экологически безопасными и позволяют решать не только экологические задачи, но и организовать водооборот, извлекать ценные компоненты.

Перспективность использования электрофлотации для водообработки связанна с образованием при электролизе раствора высокодисперсных пузырьков газа (водорода и кислорода), равномерно распределяемых в объеме обрабатываемой жидкости. Газовые пузырьки, поднимаясь вверх, сталкиваются с частицами загрязнений и флотируют их на поверхность жидкости, образуя устойчивый пенный слой - флотошлам.

Высокая степень дисперсности пузырьков, сопоставимая с размером извлекаемых частиц загрязнений; возможность одновременного извлечения загрязнений, имеющих различный фазово-дисперсный состав; высокая скорость процесса очистки; возможность плавного регулирования скорости процесса путем изменения степени насыщения жидкости пузырьками газа - все это придает электрофлотационному методу значительные преимущества по сравнению с отстойными и флотационными системами.

Для глубокой очистки сточных вод от ионов тяжелых металлов с исходной концентрацией до 100 мг/л в диапазоне значений pH 6,0 - 10,5 и предназначен электрофлотатор который работает следующим образом.


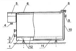
Сточную воду через патрубок 2 подают в нижнюю часть камеры предварительной очистки 1. Оттуда вода переливается через вертикальную перегородку 7 в камеру доочистки 11. В результате электролиза воды в камерах предварительной очистки и доочистки на поверхности электродов 12 идет выделение газовых пузырьков (водорода и кислорода), которые, поднимаясь вверх, взаимодействуют с частицами загрязнений и выносят их на поверхность воды, образуя флотошлам. В камере доочистки обеспечивается нисходящее движение жидкости с отводом ее через отверстия в нижней части в водосборник 10. При этом наблюдается дополнительный эффект очистки, связанный с фильтрацией воды через плотный слой электролитических пузырьков. Очищенная вода через патрубок 9 вытекает из аппарата. Мотор-редуктор 8 обеспечивает движение скребкового механизма 6, который сдвигает флотошлам с поверхности жидкости в камеру 5. Удаление флотошлама из установки происходит через патрубок 4.

С целью повышения степени очистки и снижения содержания солей жесткости в очищаемую воду вводят раствор щелочного реагента, содержащий фосфат-ионы, что приводит к образованию нерастворимых соединений гидроскифосфатов металлов, растворимость которых меньше, чем растворимость соответствующих гидроксидов металлов. Ввод рабочего раствора реагента осуществляется непосредственно в электрофлотатор через патрубок 3. Фосфатированием достигается также большая стабилизация воды, снижение ее коррозионного действия на металлические трубопроводы. Глубокая очистка позволяет в некоторых случаях не прибегать к ионообменному умягчению.

Применение электрофлотатора позволяет снизить жесткость воды до 0,05 - 0,1 мг-экв/л, содержание тяжелых металлов до 0,05-0,1 мг/л. Очищенная вода может использоваться для охлаждения оборудования и в системах оборотного водоснабжения.

Оптимальные параметры очистки: анодная плотность тока в камере предварительной очистки - 1 А/дм2, доочистки - 0,5 А/дм2; напряжение - 8 - 10 и 6 - 8 В. Удельные энергозатраты составляют 0,2 - 0,5 кВт∙ч/м3. Габаритные размеры 2100х1115х1500 мм.

Флотошлам - пенный продукт, удаляемый с поверхности электрохимических установок в зависимости от состава сточных вод, - представляет собой индивидуальные гидроксиды металлов или их смесь. Также в состав флотошлама входят карбонаты, фосфаты, сульфиды и органические примеси.

В отличие от осадков влажностью 99,9%, образующихся в отстойниках, флотошлам менее влажный (92-95%) и обладает хорошими фильтрующими свойствами; его удельное сопротивление фильтрованию составляет (8 - 190)∙10-11 см/г, фильтруемость (масса твердой фазы, составляющей на фильтровальной перегородке при получении единицы объема фильтрата) в 4 - 5 раз выше, чем у осадков отстойника, и составляет 4,6 - 4,8 кг/(м3∙ч).

Для механического обезвоживания флотошлама применяют фильтр-прессы, вакуум-фильтры и другое оборудование.

После обезвоживания содержания твердой фазы в шламе увеличивается до 25 - 30%.

Дальнейшее размещение обезвоженного шлама осуществляется захоронением на специально организованных полигонах.

Электрохимическое оборудование может быть обвязано в технологической схеме и смонтировано стационарно или в виде мобильного комплекса, когда установка, насос, источник тока и пульт управления процессом монтируются на передвижной платформе. Так, для очистки сточных вод и регенерации технологических растворов совместно с компанией Trionetic Inc разработана конструкция передвижной мобильной установки производительностью 10 м3/ч. Процесс очистки полностью автоматизирован. Система автоматизации предусматривает автоматическое измерение, регулирование и сигнализацию основных параметров технологического процесса: значения pH, расхода и уровней жидкости, степени очистки, значений тока и напряжения.

Похожие работы на - Разработка конструкции электрофлотатора

 

Не нашли материал для своей работы?
Поможем написать уникальную работу
Без плагиата!
Без нейросетей!