Модернизация крышки бункера комбайна КЗС-1218
АННОТАЦИЯ
Данный дипломный проект посвящен модернизации крышки бункера комбайна
КЗС-1218. Целью проекта является увеличение объёма.
В ходе выполнения проекта проведен анализ существующих конструкций
бункеров на основании которого принята схема усовершенствованной конструкции
открытия и закрытия крыши бункера и намечены технические решения по
модернизации, кинематический и энергетический расчеты, прочностной расчет вала.
Разработаны рекомендации по ТО, эксплуатации и ремонту, а также по охране
труда, технике безопасности.
ВВЕДЕНИЕ
На современном этапе развития сельскохозяйственного
машиностроения перед сельскохозяйственной техникой стоит задача разработки и
выпуска машин, позволяющих обеспечить максимальное сбережение сырьевых,
топливных и энергетических ресурсов на этапах производства, переработки и
использования сельскохозяйственной продукции.
В условиях современного производства растет
производительность, экономичность и надежность сельскохозяйственной техники,
снижается их масса на единицу мощности, повышается точность изготовления
изделий. Современные машиностроительные предприятия выпускают изделия с
высокими эксплуатационными качествами при минимальных затратах общественного
труда.
Машиностроение имеет первостепенное значение для
технического перевооружения всего народного хозяйства в целом и сельского
хозяйства в частности. В связи с оттоком рабочей силы из сельской местности в
города, важное значение имеет комплексная механизация и автоматизация сельского
хозяйства.
Технический уровень машиностроения определяет и
технический уровень решающих отраслей народного хозяйства. Очень важно при
проектировании сельскохозяйственных машин учесть такие факторы как их
надежность, долговечность и низкую себестоимость. На эти стороны производства в
настоящее время обращается особое внимание. Достижение поставленных задач
происходит на этапах проектирования, производства и эксплуатации
сельскохозяйственной техники.
Важнейшими задачами повышения эффективности
сельскохозяйственного производства является увеличение производства зерна,
коренное улучшение кормопроизводства и развитие на этой основе животноводства,
осуществление мер на увеличение сельскохозяйственной продукции, повышение ее
качества. В результате последовательного осуществления аграрной политики
сельское хозяйство планомерно оснащается современными средствами механизации,
растет его технический потенциал, что позволяет колхозам и совхозам, фермерским
хозяйствам значительно повысить производительность труда, улучшает качество
продукции, сокращает сроки проведения полевых работ.
В тоже время в сельском хозяйстве наметилась тенденция к унификации
техники и снижению затрат при проведении сельскохозяйственных работ. Не менее
важной задачей является сохранение и повышение плодородия почвы. Более
целесообразным будет сохранение имеющихся потенциалов почвы, путем разумного
ведения сельского хозяйства. Что касается сельскохозяйственной техники, то в ее
конструкции должны найти отражение следующие тенденции:
1. Выполнение нескольких операций за один проход
агрегата по полю.
. Повышение надежности, снижение металлоемкости
сельскохозяйственных машин и улучшение их качественных и эксплуатационных
показателей.
. Повышение роли гидравлических и электрических
приводов в сельскохозяйственных машинах; внедрение средств автоматизации в
управление машинами.
. Повышение производительности машинно-тракторных
агрегатов на базе внедрения скоростных энергонасыщенных тракторов,
широкозахватных и скоростных сельскохозяйственных машин.
Важным направлением, активно реализуемым в мировом сельскохозяйственном
машиностроении, является расширение универсальности машин путем создания
специализированных агрегатов и сменных адаптеров и более длительного
использования энергетической установки и ходовой системы базовой машины
комплекса, которая является универсальной для выполнения различных видов работ.
По этому направлению развиваются универсальные сельскохозяйственные трактора,
оснащаемые широким шлейфом навесных и прицепных машин различного назначения,
что позволяет достигать их годовой загрузки свыше 1200 часов. В последние
десятилетия на рынке появляется ряд универсальных энергонасыщенных самоходных
энергосредств и высвобождаемых шасси с приводной, а не тяговой, как у
тракторов, концепцией, с набором сменных машин для выполнения различных сельскохозяйственных
работ, с рабочими органами, приводимыми от энергосредства.
Современное направление в развитии
сельскохозяйственной техники принимает следующий вид:
1. Создание принципиально новых средств механизации,
учитывающих прогрессивную технологию возделывания и особенности произрастания
сельскохозяйственных культур, а также создание машин для специфических условий
работы: для обработки почвы, подверженных водной и ветровой эрозии, каменистых
почв, солончаков и др.
. Увеличение энергонасыщенности и повышение мощности
тракторов, позволяющих значительно повысить производительность машин путем
увеличения ширины захвата, скорости движения и пропускной способности. Создание
широкозахватных и многорядных агрегатов, работающих на повышенных скоростях,
является одной из первоочередных задач в развитии конструкций
сельскохозяйственных машин.
. Универсализация машин, выполняющих несколько
сельскохозяйственных операций в различные календарные сроки.
4. Создание комбинированных машин и агрегатов для одновременного выполнения
нескольких операций.
5. Создание и внедрение средств автоматизации
управления, регулирования и контроля над работой отдельных элементов,
механизмов и машины в целом с целью облегчения труда человека, повышения
производительности и качества выполняемых работ.
1. АГРОТЕХНИЧЕСКИЕ ТРЕБОВАНИЯ, ПРЕДЪЯВЛЯЕМЫЕ К ЗЕРНОУБОРОЧНЫМ МАШИНАМ
Нормальная высота среза зерновых культур 15…18 см, для высокостебельных и
густых хлебов - 18…25 см. При уборке полеглых хлебов высоту среза уменьшают до
10…12 см. Для хлебов с нормальной высотой и густотой стеблей, но имеющих подсев
многолетних трав, высота среза соответствует высоте подсева. Отклонение высоты
среза от заданной нормы не более + 1 см.
Потери зерна за жаткой (свободным зерном и в колосе) на скашивании хлебов
не должны превышать 1%, а при скашивании полеглых хлебов - не более 1,5%.
Потери зерна за подборщиком не более 0,5%, а за молотилкой не более 1,5%.
Чистота зерна в бункере должна быть не менее 96%, дробление семенного зерна не
более 2%. Потери соломы при уборке не более 5%, загрязнение соломы землей не
более 2%.
Для получения высокого урожая зерна пшеницы хорошего качества важное
значение имеют сроки уборки. Оптимальное сочетание всех показателей качества
пшеницы наблюдается между серединой и концом восковой спелости (при влажности
зерна 30…20%).
Уборку начинают с обкашивания полей до 25…30 м от края и разбивки его на
загоны. С полей одного и того же хозяйства, отделения или бригады зерно
получается с различными качественными показателями, поэтому необходимо обеспечивать
правильное размещение, своевременную доработку и отлежку высококачественного
зерна. Подработка пшеницы на зерноочистительных машинах ускоряет процессы
дозревания, повышает натуру.
Организация поточной уборки обеспечивается созданием уборочно-транспортных
комплексов или отрядов.
Комплексы формируют как временные трудовые, выполняющие уборочные работы.
Для этого в составе комплекса формируют: основные технологические звенья,
выполняющие уборку, обмолот и транспортировку зерна, уборку незерновой части
урожая и первичную обработку почвы; вспомогательные звенья, обеспечивающие
техническую готовность уборочных агрегатов и работоспособность механизаторов и
водителей.
Перед началом массовой уборки устанавливают маршруты движения агрегатов и
обслуживания техники, исключая их пересечения с маршрутами автотранспорта.
Обеспечивают комплекс средствами радиосвязи.
Правильный выбор начала уборки зерновых во всех зонах обосновывают с двух
точек зрения: биологической и хозяйственной.
С биологической точки зрения уборку необходимо начинать в момент
достижения максимального биологического урожая и заканчивать в очень сжатые
сроки во избежание потерь зерна от самоосыпания и снижения его качества при
перестое на корню.
С хозяйственной точки зрения начало срока, продолжительность его и способ
уборки зависят главным образом от наличия соответствующей уборочной техники и
ее качества.
Процесс созревания зерна колосовых культур условно делят на три фазы
спелости: молочную или зеленую; восковую, или желтую и полную или твердую.
В зависимости от погоды и других факторов молочная спелость наступает
через 8-10 дней после цветения. Зерно имеет зеленую окраску. При надавливании
на него выделяется довольно густая молочного цвета жидкость, белая окраска
которой обусловлена содержанием крахмала. Подсушенное зерно имеет морщинистый и
щуплый вид, натура и вес 1000 зерен незначительны. Поэтому в фазе молочной
спелости хлеба убирать нецелесообразно. Растения в целом сохраняют зеленую
окраску, но начинают появляться признаки отмирания отдельных органов. Стебель
снизу желтеет. Самые низкие листья отмирают и желтеют. Средние листья также
начинают желтеть. Листовые узлы стебля по всей его длине еще сохраняют зеленый
цвет, так как они утолщены и сочны.
Наступает через 8-12 дней после молочной. Зерно желтого цвета кроме
стенок бороздки. Зерно легко подрезается ногтем. Стебли, листья и колосья
приобретают желтый цвет. Узлы стебля в нижней части желтые и сухие, сверху
немного зеленоватые. Стебли сохраняют эластичность, но некоторые листья становятся
хрупкими. Конец восковой спелости соответствует понятию начала полной
биологической спелости.
Зерно твердое, не режется ногтем. От восковой спелости к полной переход
совершается в зависимости от культуры, сорта, погоды и других внешних факторов
через 2-12 дней. В этой фазе оно приобретает нормальный объем и соответственную
зрелому зерну окраску. Зерно легко отделяется от цветочных чешуек и у некоторых
сортов самопроизвольно выпадает из колоса. Все без исключения листовые узлы
теряют зеленую окраску и становятся сухими по всей длине стебля.
Приблизительно через 7-12 дней после наступления полной спелости, в
зависимости от почвенно-климатических условий зоны, особенностей культуры и
сорта, а также метеорологических условий, наступает период перезрелости зерна,
или перестой хлебостоя на корню. В этот период зерно снижает свои
биологические, мукомольные, биологические и физико-механические качества, легко
самоосыпается, а при дождливой погоде начинает прорастать в колосе. Солома под
действием лучей солнца белеет, а при избытке влаги чернеет и подпревает снизу,
особенно при продолжительной ненастной погоде.
Таким образом, наивысший биологический урожай зерна отмечается в конце
восковой и начале полной фазы спелости. В этот короткий период наиболее
выгодно, с точки зрения сбора наибольшего урожая высококачественного зерна,
проводить уборку хлебов. Отсюда следует вывод о важности правильного
установления фазы спелости зерна для определения оптимального срока уборки
хлеба и его продолжительности.
Начало массовой уборки полевых культур следует устанавливать, исходя из
следующих основных условий: налив зерна окончен полностью, что обеспечивает
получение наивысшего биологического урожая; зерно обладает высокими
хлебопекарными, биохимическими качествами и отвечает требованиям семенного
материала, то есть обладает хорошими посевными и физико-механическими
качествами; зерно имеет полную спелость, позволяющую хранить его
продолжительное время; оно имеет оптимальную уборочную влажность; у стеблей
растений влажность достаточно низкая, позволяющая уборочным машинам работать
без нарушения технологического процесса.
Чрезмерная ранняя уборка приводит к значительным количественным и
качественным потерям урожая, так как в это время не закончен процесс накопления
сухих веществ в зерне, оно является биологически недозрелым. Запаздывание с
уборкой приводит к еще большим потерям урожая от осыпания зерна и, особенно от
ухудшения его биологических и хлебопекарных качеств.
В засушливые годы происходит значительная потеря накопленных сухих веществ.
Во влажные годы у перестоявшего хлебостоя зерно темнеет, легко поражается
различными грибковыми и бактериальными болезнями, прорастает частично в колосе
и теряет свою всхожесть. При длительном стоянии созревшего хлеба на корню
увеличивается пониклость и полеглость стеблестоя, что ухудшает условия работы
зерноуборочных машин и приводит к увеличению потерь зерна в процессе самой
уборки. Если при составлении графика уборочных работ будет установлено, что
уборка уложится в сжатые сроки, целесообразно передвинуть уборку на ранние
сроки, т. е. на восковую спелость хлеба, применив двухразовый раздельный
способ.
Такая передвижка имеет особенно большое значение для тех зон страны, в
которых в уборочный период стоит высокая температура при низкой относительной влажности
воздуха и хлеб, достигнув начала фазы восковой спелости, очень скоро переходит
в фазу полной спелости, быстро пересыхает и начинает осыпаться. Чтобы избежать
больших потерь от затягивания уборочных работ, необходимо правильно сочетать
прямое комбайнирование с двухфазным раздельным способом уборки, применяя
последний в ранние сроки уборки и используя весь период восковой спелости.
Рациональное сочетание этих способов позволяет ликвидировать одну из главных
причин возникновения очень больших потерь зерна - несвоевременное проведение
уборочных работ и значительно растянутые сроки их выполнения.
Прохождение фазы восковой спелости в умеренно теплую влажную погоду
протекает медленно, в жаркую и сухую, наоборот, заканчивается намного раньше
обычного. Хлебостой созревает на всех полях далеко не одновременно. Более того,
бывают случаи, когда хлеб на одной части поля уже поспел, а на другой - еще
зеленый. Поэтому широко применяется выборочная уборка хлебов, не дожидаясь
созревания их на больших массивах. В первую очередь убирают легко осыпающиеся
культуры, например из озимых - рожь, а из яровых - овес. Их зерна далеко
выступают из пленок наружу и поэтому плохо держатся.
В ненастье устанавливают несколько иную очередность. Зерна ржи в
дождливое время легко набухают, но могут очень быстро высохнуть. Зерна же овса,
ячменя, пшеницы заключены в пленки и в связи с этим набухают и высыхают
медленно. Поэтому, если перепадают небольшие дожди, овес, пшеницу, ячмень
убирают в первую очередь. Во время затяжных дождей сильно набухают все хлеба,
наиболее же быстро из них высыхает рожь. В этом случае ее и следует убирать
раньше других культур.
Потери зерна в период перестоя хлебов происходят в результате уменьшения
абсолютного веса и натуры зерна и из-за резкого возрастания его естественного
самоосыпания. Для различных культур механические и биологические потери в
зависимости от срока уборки происходят в неодинаковой степени. У яровой пшеницы
по сравнению с другими культурами резко выражены биологические потери, а у
ярового ячменя - механические.
Растягивание уборки озимой ржи после наступления полной спелости более
чем на пять дней вызывает резкое возрастание механических потерь.
Поэтому уборке озимой ржи следует уделять особое внимание по сравнению с
уборкой других культур. Оптимальная продолжительность прямого комбайнирования
озимой ржи, исходя из суммарных механических и биологических потерь, составляет
5-7 рабочих дней.
Потери от самоосыпания на корню колеблются в очень широких пределах в
зависимости от культуры, сорта, погодных условий, срока и способа уборки.
Принято считать, что они составляют 1-3%. Однако при затягивании сроков уборки
и неблагоприятных метеорологических условиях они могут иногда достигать 20-30%
выращенного урожая. Самоосыпанию зерна способствует: неравномерное созревание
хлебостоя, невыравненность стеблей по высоте, слабые колосковые чешуйки и
цветочные пленки, открытое положение зерна и его влажность, ветер, дожди,
суточная перемена температуры, перестой хлебостоя. В тоже время самоосыпанию
препятствуют: округлая форма зерна, повышенная влажность колосковых чешуй,
ости, глубокая и широкая бороздка зерна, закрытое положение зерен в цветочных
пленках.
Потери урожая от самоосыпания могут быть свободным зерном, отдельными
колосками и целыми колосьями. Наибольшие потери возникают при самоосыпании
целыми колосьями.
Все факторы, действующие в той или иной мере на самоосыпание, делят на
внешние и внутренние. Внешние: ветер, дождь или другие механические
воздействия, приводящие в движение колос и зерно, а также температура,
влажность, рельеф местности. Внутренние факторы: равномерность созревания,
выравненность стеблестоя, крупность зерна, его форма, анатомическое строение
колосковых и цветочных чешуй, упругость.
К внешним факторам, способствующим в наибольшей степени самоосыпанию,
относят ветры и периодические дожди в момент полной спелости зерна. Эти факторы
оказывают особенно сильное влияние в нечерноземной зоне страны. При наступлении
фазы полной спелости зерна, когда в растении прекращается движение питательных
веществ, и оно практически превращается в мертвый организм, периодически
выпадающие дожди, чередуясь с жаркими солнечными днями, приводят к большим
изменениям механических свойств соломы и колосьев. Солома и колосковые чешуйки
теряют свою упругость, становятся хрупкими. Повышенная влажность колоса
понижает осыпание от ударного воздействия на колосья мотовила и других рабочих
органов уборочных машин. Это объясняется возрастанием прочности колосковых
чешуек при увеличении влажности. Поэтому для уменьшения потерь зерна
перестоявший хлебостой целесообразно убирать утром и вечером. Самоосыпание
зерна наблюдается уже в фазе восковой спелости в результате созревания
хлебостоя.
Чем неравномернее созревает хлебостой, тем больше происходит самоосыпание
зерном, колосом и колосками. В полевых условиях наибольшее осыпание зерна
происходит у ржи, ячменя, овса, мягкой и твердой пшеницы.
Яровые пшеницы практически не дают естественного осыпания во все сроки
уборки. При благоприятном сочетании внешних условий естественное осыпание зерна
даже у легко осыпающихся сортов может быть невысоким или даже совсем не
проявиться.
Борьба с самоосыпанием хлебов является одним из важнейших источников
повышения валовых сборов зерна, а создание устойчивых к осыпанию сортов служит
предпосылкой высокоэффективного и производственного использования уборочной
техники. Не осыпающиеся сорта дают возможность несколько расширить сроки
уборки, обеспечивая тем самым равномерную сезонную загрузку зерноуборочных
машин.
Таким образом, длительный перестой созревшего хлеба на корню приводит к
значительному недобору биологического урожая.
Чтобы избежать больших биологических и механических потерь в
предуборочный момент и особенно в период перестоя хлебов, необходимо проводить
уборку в конце восковой и начале полной спелости зерна, несмотря на то, что
часть зерна в этот период имеет молочную и начало восковой спелости. Однако
снижение урожая из-за небольшой части не созревших зерен будет гораздо меньше,
чем при перестое хлеба на корню, если определить правильно момент начала уборки
хлебов и выбирать ее рациональный способ.
По подборе валков направление движения комбайна должно совпадать с
направлением движения жатки при скашивании. Если валок был сформирован за два и
более проходов, то комбайн должен двигаться по следу первого прохода жатки. Для
подбора валков можно использовать самоходные комбайны с любым подборщиком.
Исключение составляют только валки, образованные при скашивании (укладке) в два
рядка. В этом случае для подбора валков необходимо использовать специальные
копирующие подборщики (устанавливаются вместо жатки) или такие подборщики,
захват которых равен захвату жатки.
При подборе валков загрузку молотилки комбайна можно регулировать только
скоростью движения, но увеличение ее выше 8 км/ч не рекомендуется.
Чтобы правильно выбрать обороты подборщика для определения скорости
движения комбайна, необходимо ориентироваться по внешним признакам процесса
подбора.
Если обороты подборщика завышены, то будет происходить растягивание
хлебной массы, вырыв порций массы из валка, отбрасывание перебитых или
отломившихся колосьев.
При низком расположении подборщика его пальцы могут зарываться в землю.
Это не только перегружает грабельный механизм, но, и главное, приводит к
повышенным потерям зерна, так как при выходе из земли подпружиненные пальцы со
значительной силой наносят удар по колосьям, расположенным в нижней части
валка, вымолачивая часть зерна.
При подборе валков подборщиками возникают потери, которые зависят от
качества уложенного на стерне валка, метеорологических условий, режимов
эксплуатации подборщика, состояния культуры на корню в период скашивания.
Опыт работы научно-исследовательских институтов, механизаторов сельского
хозяйства позволяет дать рекомендации по снижению потерь.
В щели между скатами попадает солома, которая наматывается на пружинные
пальцы и несущие их валики. В результате пальцы подборщика гнутся, привод
пробуксовывает, что приводит к трудозатратам по его очистке, снижению сменной
производительности и снижению коэффициента надежности технологического
процесса.
Для частичного устранения наматывания на внутренний механизм подборщика
уменьшают зазор между скатами. С этой целью отгибают бортики каждого ската,
оставляя зазор между бортиками и пружинным пальцем не менее 1-1,5 мм и соблюдая
прямолинейность пальцев.
зерноуборочный
комбайн кормодробилка бункер
2. АНАЛИЗ СУЩЕСТВУЮЩИХ КОНСТРУКЦИЙ
2.1 Комбайн Дон-1500
Знаменитое предприятие «Ростсельмаш» выпускало эту колесную самоходную
машину в течение двадцати лет, в 2006 году перейдя на более новые модели
(Vector и Acros). В свое время Дон-1500 (рисунок 2.1) считался самым популярным
агрегатом для уборки зерна на всех обширных просторах полей СНГ. Классическая
бильная схема обмолота, один барабан, соломотряс с пятью клавишами, большой
бункер для зерна и мощный двигатель - вот отличительные черты данного комбайна.
Отметим еще быстрый выгрузной механизм и упрочненный ведущий мост. В комплекте
идет жатка длиной 6, 7 или 8,6 метра. Также возможна комплектация
измельчителем, капотом, копнителем. Сфера использования Если поле имеет уклон
не более восьми градусов, то Дон-1500 легко пройдет по нему, убрав колосья
пшеницы, ржи, овса или другой зерновой культуры. При условии изменения режима
механизма обмолота комбайном возможно пользоваться для обработки кукурузных и
соевых полей, сбора семенников трав и крупяных культур. Для этого применяются
дополнительные приспособления. Применять агрегат можно в любых климатических
поясах. Оборудованный копнителем, он способен собирать с поля солому, а также
полову. Если же вместо этого оснастить его измельчительным устройством, то
можно загружать полученную массу в тележку, прицепленную к машине. Затем ее
разбрасывают по поверхности поля. Плюсы и минусы Преимущества: Колеса оснащены
шинами низкого давления с высокими грунтозацепами.
Они позволяют машине не застревать даже во влажной и вязкой земле.
Сильный и экономичный мотор, а также солидный диаметр молотильного барабана
(самый большой в мире) дают возможность прекрасно работать даже с влажными
колосьями большой длины. Чтобы молотильный механизм не забивался, продумана
система значительного опускания подбарабанья и его скоростного сброса.
Возможность установки одного из трех размеров жатки, продуманная конструкция
которой позволяет точно копировать небольшие неровности почвы. Саму жатку
менять очень быстро и просто. Большая и удобная кабина оператора, герметичная и
защищенная от шума. В ней есть кондиционер. Бункер, в который ссыпается зерно,
имеет увеличенный размер. Это весьма удобно - не нужно часто гонять транспорт
для перевозки урожая. Машина разработана для отечественных полей, и она, как
правило, на них оказывается эффективнее, производительнее и дешевле в
эксплуатации, чем зарубежные комбайны.
Отличный сервис «Ростсельмаша», невысокая стоимость запасных частей. Их
легко достать. Механизаторы хорошо знают Дон-1500 и могут сами произвести
небольшой ремонт. Недостатки: Силовая часть находится близ кабины, из-за чего
оператора обдувает горячий воздух. Импортные комбайны всё же более надежны,
комфортны и имеют больше удобных дополнительных функций (однако они стоят
значительно дороже).
На комбайнах «Дон-1500» и «Дон-1200» установлен бункер вместимостью 6 м3,
рассчитанный на выгрузку зерна различных культур с производительностью до 3 т в
минуту.
Бункер образован сварным корпусом 4 и сборно-разборным верхним строением,
включающим поворотные боковины 5 и 12, вставные секторы 8 и 10 и секции 6 и 11
трансформируемой крыши. Бункер оснащен наклонным (загрузочным) шнеком 3,
горизонтальным шнеком 20, вибропобудителем и выгрузным поворотным шнеком 18.
Выгрузные шнеки приводятся в действие через контрпривод 1 при включении
гидроцилиндра из кабины. С помощью последнего натягивают ремень поворотом
рычага контрпривода относительно правого корпуса подшипника горизонтального
шнека бункера.
Рисунок Бункер: а - рабочее положение; б - положение при погрузке
комбайна на железнодорожную платформу; в - транспортное положение поворотного
выгрузного шнека; 1 - контрпривод; 2 - редуктор; 3 - наклонный (загрузочный) шнек;
4 -корпус; 5 и 12 - поворотные боковины; 6 и 11 -секции крыши; 7 -
сигнализатор; 8 и 10 - вставные секторы; 9 - смотровое окно; 13 - горловина
бункера; - гидроцилиндр; 15 -лоток; 16-захват на боковине молотилки; 17 -
карданная передача; 18 - выгрузной поворотный шнек; 19 - щиток; 20 -
горизонтальный шнек
При полностью выдвинутом штоке ремни отходят от шкивов, выключая передачу
мощности. На передней боковине корпуса бункера расположено смотровое окно 9 для
наблюдения из кабими наполнением бункера. Кроме того, в бункере находятся три
сигнализатора 7, включающие фару-мигалку (при заполнении 3/4 объема бункера) и
сигналы в кабине о необходимости остановки комбайна (при полной загрузке).
Скорость выгрузки регулируют перестановкой щитков 19, уменьшающих или увеличивающих
входную щель в горизонтальный шнек 20.
В процессе загрузки наклонный шнек образует купол из зерна, который
распределяется под воздействием случайных толчков и колебаний при работе
комбайна, заполняя бункер. Горизонтальный шнек монтируют в поперечном
углублении днища бункера и прикрывают сверху заостренным кожухом 3, который
образует на скатах днища две щели для прохода зерна в шнек. Перемещением щитков
2 регулируют щель со стороны более пологого ската днища. При появлении
признаков перегрузки привода шнека (нагрев и подгорание ремней) необходимо
опускать щитки 2 до устранения пробуксовки ременной передачи в процессе
выгрузка зерна. Горизонтальный шнек вращается в шарикоподшипниках 4 и 9,
находящихся в опоре 5 и горловине 8 и закрепленных на корпусе бункера с помощью
болтовых соединений. На цапфах шнека размещены на шпонках приводная звездочка 7
и вилка карданной передачи для передачи вращения наклонному выгрузному шнеку.
Рисунок Горизонтальный шнек бункера: 1 - шнек; 2 - щиток; 3 - кожух; 4 и
9 - подшипники; 5 - опора; 6 - контрпривод; 7 - звездочка; 8 горловина; 10 -
корпус подшипника
Наклонный выгрузной шнек установлен на фланце горловины и может
поворачиваться на 90° без нарушения герметичности кольцевого шарнира. По
параметрам транспортирующей навивки горизонтальный и наклонный шнеки однотипны
(диаметр шнека и шаг винтовой линии 250 мм). В целях исключения забиваний
частота вращения шнека увеличена до 667 мин-1.
Конструкция горловины и приемной камеры 3 наклонного выгрузного шнека
позволяет подавать зерно с помощью горизонтального шнека в наклонный. В
результате этого производительность выгрузки зерна комбайнов «Дон» возросла по
сравнению с комбайнами «Нива» в 2...3 раза при одинаковых размерах шнеков. Вал наклонного
шнека 13 вращается в шарикоподшипниках, закрепленных на торцах кожуха 5.
Вращение наклонному шнеку передается от левой цапфы горизонтального шнека
последовательно через телескопическую, карданную передачу, промежуточный вал 4
и цепь 10 в верхней части шнека.
Натяжение цепи регулируют изменением межцентрового расстояния между валом
шнека и промежуточным валом болтами 15. Зерно выгружают в транспортные емкости
через выходное окно по направляющему прорезиненному лотку 7, закрепленному на
кожухе шнека болтами. Шнек поворачивается за счет включения поршневого
гидроцилиндра. В транспортном положении шнек опирается кронштейном 18 на захват
16. Не допускается длительная работа комбайна с откинутым в сторону выгрузным
шнеком.
Рисунок Наклонный выгрузной шнек: 1 - корпус подшипника; 2, 14 и 16 -
подшипники; 3 - приемная камера; 4 - промежуточный вал; 5 - кожух; 6 и 17 -
защитные кожухи; 7 - лоток; 8 - стопор; 9 и 11- звездочки; 10 цепь; 12 -
шпонка; 13 - шнек; 15 - регулировочный болт; 18 - опорный кронштейн
Вибропобудатель выгрузки бункера. Гидравлические вибраторы 2,
установленные на опорах, связаны с вибролистом 5соединительными звеньями 3.
Просветы между вибролистом и корпусом бункера закрыты уплотнителями 1.
Вибратор 2 сообщает вибролисту 5 колебания с высокой частотой. От последнего
эти колебания передаются лежащему на нем слою зерна, резко снижая коэффициент
трения и создавая тем самым условия для активной передачи зерна любой влажности
к горизонтальному выгрузному шнеку.
Стойки вибролиста в бункере комбайна «Дон» не крепят болтами к днищу. Для
работы во влажных условиях Нечерноземной зоны в бункере устанавливают
дополнительный вибропобудитель на переднем скате днища, аналогичный по
конструкции описанному вибропобудителю базовой модели.
Рисунок Вибропобудитель выгрузки бункера: 1 - уплотнителя; 2 -
гидравлический вибратор; 3 - соединительные звенья; 4 - резиновая стойка; 5 -
вибролист; 6 - шнек.
2.2 Комбайн Нива СК 5
Зерноуборочный
комбайн Нива СК- 5 - это самоходный комбайн производительностью 5 кг/с,
выпускавшийся в СССР c 1970-го года заводом «Ростсельмаш». Когда-то комбайн
«Нива» СК-5 был из популярнейших в СССР и являлся своеобразной «визиткой»
советского сельскохозяйственного машиностроения. Сейчас на смену ему пришли
более современные такие как комбайн Акрос 530
<#"881201.files/image005.gif">
Рисунок
Бункер комбайна СК-5: Муфта фрикционная; 2 - Вибратор; 3 площадка
колебательная; 4 - элеватор зерновой; 5 - корпус бункера; 6 - растяжка; 7 -
тяга; 8 - труба выгрузная; 9 - лоток; 10 - шнек выгрузной; 11 - виток шнека; 12
- патрубок; 13 - шнек распределительный; 14 - кожух; 15 - заслонка; 16 - шнек
бункера; 17 - тяга; 18 - рычаг; 19 - звёздочка; 20 - муфта кулачковая
В
бункере комбайна СК-5 в левой и правой стенках имеются застекленные смотровые
лючки, которые позволяют контролировать заполнение бункера зерном. В нижней
части бункера установлен горизонтальный шнек 16, который закрыт кожухом 14. К
кожуху шарнирно прикреплены заслонки 15, обеспечивающие регулировку доступа
зерна к шнеку в зависимости от вида и состояния убираемой культуры. Во время
выгрузки зерна из бункера заднюю заслонку рекомендуется открывать на 30-40 мм
больше, чем переднюю.
В
верхней части бункера установлен распределительный шнек 13, который получает
привод от верхнего вала зернового элеватора 4. Над шнеком расположен люк с
крышкой.
Горизонтальный
шнек 16 получает движение от приводной звездочки 19 через кулачковую муфту 20.
2.3 ЕНИСЕЙ-1200-НМ Зерноуборочный комбайн
Красноярский
завод комбайнов.
Зерноуборочный
комбайн Енисей-1200-НМ
Енисей-1200-НМ
мощный и современный комбайн 4 класса, предназначенный для полей средней и
высокой урожайности. По производительности и мощности он превосходит все
прежние модели комбайнов красноярского завода. На комбайне Енисей-1200-НМ
применена гидравлическая трансмиссия, новый усиленный мост ведущих колес.
Комбайн
Енисей-1200-НМ оборудуется мощным дизелем и усовершенствованным бункером
повышенного объема. Двухбарабанный молотильный аппарат с увеличенной площадью
активной сепарации дает комбайну Енисей-1200-НМ значительную пропускную
способность и производительность, что дает большое приемущество данного комбайна
перед остальными.
Таблица
2.1 Технические характеристики комбайна Енисей-1200-НМ
|
Тип комбайна
|
самоходный, колесный
|
|
Производительность за час основного времени, т/ч
|
9-10
|
|
Пропускная способность, кг/с
|
6.5
|
|
Ширина захвата жатки, м
|
5; 6; 7;
|
|
Ширина захвата подборщика, м
|
3.0
|
|
Молотильно-сепарирующее устройство:
|
|
Количество и тип молотильных барабанов
|
2 бильных
|
|
Ширина молотилки, мм
|
1200
|
|
Диаметр барабанов, мм
|
550
|
|
Cоломотряс:
|
|
Тип
|
четырехклавишный, двухвальный
|
|
Длина клавиш, мм
|
2820
|
|
Площадь, м2
|
3.5
|
|
Решеты:
|
|
Тип
|
жалюзийные, регулируемые
|
|
Площадь очистки, м2
|
3.16
|
|
Вместимость бункера для зерна, л
|
4500
|
|
Производительность выгрузного устройства, т/мин
|
1.5 - 2.0
|
|
Количество и тип вентиляторов
|
Два осевых
|
|
Диапазон регулирования частоты вращения, об/мин
|
634-1852
|
|
Моторная установка и ходовая часть
|
|
Марка двигателя
|
Д-442-50/51; Д-442-57И; ЯМЗ-236ДК2;
|
|
Мощность номинальная, кВт (л.с.)
|
106.5 (145); 125 (170); 136 (185);
|
|
Емкость топливного бака, л
|
300
|
|
Мост ведущих колес
|
МВГ - 12
|
|
Привод трансмиссии
|
гидропривод
|
|
Габаритные размеры и масса с жаткой 5 м
|
|
Длина, м
|
10.49
|
|
Ширина, м
|
5.34
|
|
Высота, м
|
3.95
|
|
Масса, кг
|
10813
|
|
|
|
На сегодняшний день двухбарабанный комбайн Енисей-1200НМ является базовой
моделью на Красноярском заводе комбайнов, заменяя собой прежнюю - Енисей
1200-1НМ.
2.4 Патентный поиск
Результаты патентного поиска по бункеру зерноуборочного комбайна
приведена в таблице 2.2
Таблица 2.2
Патентная документация по бункеру зерноуборочного комбайна
|
Страна проведенного поиска
|
Номер и год журнала
|
Номер патента
|
Выявленные аналоги
|
|
Беларусь
|
2006.08.30
|
Заявка 3016
|
Бункер зерноуборочного комбайна
|
|
Россия
|
2006.08.24
|
Заявка 2279793
|
Бункер зерноуборочного комбайна
|
|
Россия
|
2004.12.22
|
Заявка 82-037-04
|
Бункер зерноуборочного комбайна
|
Формула полезной модели. Патент 3016.
Бункер зерноуборочного комбайна, содержащий наклонное плоское днище, шнек
загрузки зерна в бункер, горизонтальный питающий шнек, расположенный в нижней
части днища, наклонный шнековый транспортер с загрузочным окном, выполненным в
нижней части его корпуса, перегрузочную камеру, выполненную и установленную с
возможностью подачи зерна от горизонтального питающего шнека в загрузочное окно
наклонного шнекового транспортера, и поворотный выгрузной шнек, установленный
на выгрузной горловине наклонного шнекового транспортера, отличающийся тем, что
загрузочное окно выполнено в нижней части корпуса наклонного шнекового
транспортера со стороны, противоположной направлению его наклона.
Рисунок Бункер: 1 - плоское днище; 2 - шнек загрузки; 3 - горизонтальный
шнек; 4 - наклонный шнек; 5 - загрузочное окно; 6 - перегрузочная камера; 7 -
поворотно-выгрузной шнек; 9 - зерновой элевотор.
Полезная модель относится к сельскохозяйственному машиностроению, а
именно к уборочным машинам, где необходимо собрать мелкие растительные части -
продукты обмолота.
Известен бункер зерноуборочного комбайна, содержащий наклонное плоское
днище, шнек загрузки зерна в бункер, горизонтальный питающий шнек,
расположенный в нижней части днища, и поворотный выгрузной шнек.
В данном бункере зерно подается к поворотному выгрузному шнеку
непосредственно от горизонтального питающего шнека. Отсутствие в данном бункере
дополнительного транспортирующего устройства, установленного между
горизонтальным питающим шнеком и поворотным выгрузным шнеком, не позволяет
осуществить подъем зерна на достаточную высоту при загрузке в кузов
транспортного средства с высокими бортами. Данный недостаток не позволяет
использовать в качестве транспортных средств автомобили большой вместимости с
высокими бортами, что в конечном итоге снижает сменную производительность
зерноуборочного комбайна.
Наиболее близким техническим решением к предложенному является бункер
зерноуборочного комбайна, содержащий наклонное плоское днище, шнек загрузки
зерна в бункер, горизонтальный питающий шнек, расположенный в нижней части
днища, наклонный шнековый транспортер с загрузочным окном, выполненным в нижней
части его корпуса, перегрузочную камеру, выполненную и установленную с
возможностью подачи зерна от горизонтального питающего шнека в загрузочное окно
наклонного шнекового транспортера, и поворотный выгрузной шнек, установленный
на выгрузной горловине наклонного шнекового транспортера.
В данном бункере загрузочное окно выполнено в нижней части корпуса наклонного
шнекового транспортера со стороны направления его наклона. Данное расположение
загрузочного окна снижает скорость выгрузки зерна из бункера, так как зерно
подается к наклонному шнековому транспортеру снизу вверх и до момента захвата
его шнеком наклонного шнекового транспортера будет стремиться выйти из
загрузочного окна. Таким образом, основным недостатком является низкая скорость
выгрузки зерна из бункера и соответственно низкая сменная производительность
зерноуборочного комбайна.
Техническая задача, решаемая полезной моделью, - повышение сменной
производительности.
Поставленная задача достигается тем, что в бункере зерноуборочного
комбайна, содержащем наклонное плоское днище, шнек загрузки зерна в бункер,
горизонтальный питающий шнек, расположенный в нижней части днища, наклонный
шнековый транспортер с загрузочным окном, выполненным в нижней части его
корпуса, перегрузочную камеру, выполненную и установленную с возможностью
подачи зерна от горизонтального питающего шнека в загрузочное окно наклонного
шнекового транспортера, и поворотный выгрузной шнек, установленный на выгрузной
горловине наклонного шнекового транспортера, загрузочное окно выполнено в
нижней части корпуса наклонного шнекового транспортера со стороны,
противоположной направлению его наклона.
Совокупность отличительных признаков заявляемого технического решения
позволяет получить ранее неизвестный эффект, выражающийся в том, что выполнение
в бункере зерноуборочного комбайна загрузочного окна в нижней части корпуса
наклонного шнекового транспортера со стороны, противоположной направлению его
наклона, повышает сменную производительность комбайна, что для специалиста
явным образом не следует из уровня техники.
Изложенная сущность полезной модели поясняется чертежом, на котором
представлен общий вид бункера зерноуборочного комбайна.
Бункер зерноуборочного комбайна содержит наклонное плоское днище 1, шнек
2 за-грузки зерна в бункер, горизонтальный питающий шнек 3, наклонный шнековый
транс-портер 4 с загрузочным окном 5, перегрузочную камеру 6 и поворотный
выгрузной шнек 7.
Горизонтальный питающий шнек 3 расположен в нижней части днища 1.
Загрузочное окно 5 выполнено в нижней части корпуса наклонного шнекового
транспортера 4 со стороны, противоположной направлению его наклона.
Перегрузочная камера 6 выполнена и установлена с возможностью подачи зерна от
горизонтального питающего шнека 3 в загрузочное окно 5 наклонного шнекового
транспортера 4. Поворотный выгрузной шнек 7 установлен на выгрузной горловине 8
наклонного шнекового транспортера 4. Подача зерна к шнеку 2 осуществляется
зерновым элеватором 9.
Бункер зерноуборочного комбайна работает следующим образом.
При выполнении зерноуборочным комбайном технологического процесса зерно
зерновым элеватором 9 подается к шнеку 2, который перемещает его в верхнюю
среднюю часть бункера. Из выгрузной горловины (на фигуре не обозначена) шнека 2
зерно ссыпается на наклонное плоское днище 1 и по нему к горизонтальному
питающему шнеку 3. По мере работы комбайна происходит полное заполнение бункера
зерном. Для выгрузки зерна из бункера в транспортное средство поворотный
выгрузной шнек 7 переводится в необходимое положение, включается привод
горизонтального питающего шнека 3, наклонного шнекового транспортера 4 и
поворотного выгрузного шнека 7. При этом зерно горизонтальным питающим шнеком 3
подается через перегрузочную камеру 6 в загрузочное окно 5 наклонного шнекового
транспортера 4. Шнек транспортера 4 перемещает зерно к выгрузной горловине 8 и
далее поворотным выгрузным шнеком 7 зерно подается в кузов транспортного
средства. Выполнение загрузочного окна 5 в нижней части корпуса наклонного
шнекового транспортера 4 со стороны, противоположной направлению его наклона,
обеспечивает беспрепятственную подачу зерна шнеком 3 к наклонному шнековому
транспортеру 4, что снижает время выгрузки зерна из бункера.
Заявляемое техническое решение осуществлено в опытном образце
высокопроизводительного самоходного зерноуборочного комбайна, разработанном
РКУП "ГСКБ по зерноуборочной и кормоуборочной технике". В настоящее
время РУП "Гомсельмаш" ведет подготовку производства для серийного
производства данных комбайнов.
Таким образом, заявляемое техническое решение соответствует критерию
"промышленно применимое".
Формула изобретения. Патент 2279793.
. Бункер зерноуборочного комбайна, включающий загрузочное и выгрузное
устройства, корпус бункера, состоящий из верхней и нижней частей, причем
верхняя часть содержит переднюю, заднюю, наклонные боковые стенки и откидные
крышки, отличающийся тем, что наклонные боковые стенки выполнены с возможностью
поворота, шарнирно закреплены у основания и снабжены двумя фигурными секторами,
имеющими отбортовки с отверстиями по всему контуру, причем на каждом секторе
две отбортовки выполнены по форме контура наклонных боковых стенок, при этом
откидные крышки выполнены из двух половинок, соединенных между собой шарнирно,
причем половинки крышек, сопряженные с передней и задней стенками, имеют по два
шарнирно прикрепленных треугольных сектора с отбортовками, одна из которых
снабжена отверстиями для жесткого соединения с отбортовкой фигурного сектора
при раскрытом положении откидных крышек и наклонных боковых стенок, а
загрузочное устройство выполнено с возможностью увеличения его длины при
раскрытом положении откидных крышек и наклонных боковых стенок.
. Бункер зерноуборочного комбайна по п.1, отличающийся тем, что кожух и
шнек загрузочного устройства в верхней части снабжены съемными элементами в
виде надставки трубы кожуха и надставки шнека.
. Бункер зерноуборочного комбайна по п.1 или 2, отличающийся тем, что съемная
надставка трубы кожуха загрузочного устройства содержит отрезок трубы с фланцем
на конце, три стойки, жестко прикрепленные к отрезку трубы, и фланец для
крепления корпуса подшипника.
. Бункер зерноуборочного комбайна по п.1 или 2, отличающийся тем, что
съемная надставка шнека загрузочного устройства выполнена в виде отрезка трубы
малого диаметра, на конце которого жестко прикреплена цапфа, а на наружной
поверхности прикреплен отрезок винтовой ленты.
Патент 82-037-04.
Результат внедрения изобретения.
На рисунке изображен зерноуборочный комбайн с предлагаемым бункером,
продольный разрез; бункер комбайна; на рисунке 2.12 - крепление верхнего конца
гибкой перегородки бункера; на рисунке 2.13 - разъемно-шарнирное соединение для
крепления нижнего конца перегородки.
Зерноуборочный комбайн содержит жатку с эксцентриковым мотовилом 1,
режущим аппаратом 2 и шнеком 3. наклонную камеру 4, транспортер 5 биологически
ценного зерна, транспортер 6 товарного зерна и бункер 7.
Рисунок 2.10 Зерноуборочный комбайн с реконструированным бункером: 1 -
мотовило; 2 - режущий аппарат; 3 - шнек; 4 - наклонная камера; 5 - транспортёр;
6 - транспортёр; 7 - бункер; 8 - перегородка; 11 - поперечная планка; 12 - вал;
24 - ленточный транспортёр; 25 - роликовый транспортёр
Бункер 7 посредством перегородки 8 разделен на секцию 9 для биологически
ценного зерна и секцию 10 для товарного зерна. Перегородка 8 выполнена из
гибкого материала и снабжена поперечными планками 11. причем поперечные планки
11 выполнены на перегородке 8 начиная от ее конца на длине, равной высоте
бункера 7. Верхний участок перегородки 8 намотан на вал 12, который выполнен
полым и смонтирован на крышке 13 бункера 7 посредством упругого элемента
кручения, выполненного в виде двух пружин 14, размещенных на конечных участках
оси 15, который расположен внутри полого вала 12. Один конец каждой пружины 14
прикреплен к оси 15, а другой конец - к валу 12. Концы оси 15 выполнены
прямоугольного сечения под соответствующие пары опорных крышек 16,
установленные на крыше 13. В крыше 13 выполнена щель 17 для перегородки 8. В
щели 17 предусмотрено увеличение ее проходного сечения (не показано) для
прохода планок 11 при монтаже и демонтаже перегородки 8. При монтаже
перегородки 8 ось 15 вручную вращают для раскручивания пружины 14 в
направлении, противоположном разматыванию перегородки 8 с вала 12. Бункер 7
имеет также первый и второй 19 выгрузные транспортеры, установленные
соответственно в секциях 9 и 10. Нижний конец перегородки 8 закреплен на днище
бункера 7 посредством разъемного шарнирного соединения, который имеет трубу 20
и размещена в ней ось 21 с рукояткой 22. К трубе 20 приварена пластина 23 с
квадратными отверстиями под болты для крепления перегородки 8. Ось 21
установлена в боковинах бункера 7 е использованием уплотнительного элемента. В
наклонной камере 4 комбайна установлен ленточный 24 и роликовый 25
транспортеры.
Бункер работает следующим образом. В секцию 9 поступает биологически
ценное зерно, выделенное из хлебной массы между транспортерами 24 и 25, а в
секции 10 - товарное зерно, выделенное в молотилке. В зависимости от
соотношения количеств того или иного вида поступающего в бункер 7 зерна,
перегородка 8 при помощи шарнирного соединения и за счет своей гибкости
смещается в бункер 7 в сторону объема с меньшей подачей в данный момент
времени. При этом перегородка 8 удлиняется за счет разматывания с вала 12 и
занимает положение внутри объема бункера 7, соответствующее текущему
соотношению биологически ценного и товарного зерна. Обе секции 9 и 10 бункера 7
заполняются одновременно и комбайн может встать на параллельную выгрузку зерна
из обеих секций. При попадании зерна в бункер 7 во влажном виде может произойти
слеживание зерна или образоваться своды по мере наполнения объемов в секциях 9
и 10. При выгрузке зерна перегородка 8 за счет пружины 14 кручения
автоматически наматывается на вал 12. Так как перегородка 8 снабжена
поперечными планками 11, то эти планки при наматывании перегородки 8 на вал 12
" расшевеливают" (ворошат) слежавшееся зерно и разрушают
образовавшиеся своды. Это исключает дополнительное время на разрушение сводов,
что облегчает разгрузку зерна и уменьшает затраты времени на выгрузку.
Рисунок 2.11 Бункер комбайна: 7 - бункер; 8 - перегородка; 9 - секция; 10
- секция; 11 - поперечная планка; 12 - вал; 13 - крышка бункера; 18,19 -
выгрузной транспортёр; 20 - труба
Рисунок Крепление верхнего конца гибкой перегородки бункера: 8
перегородка; 14 - пружина; 15 - ось; 16 - крышка опорная
Рисунок Разъемно-шарнирное соединение для крепления нижнего конца
перегородки: 20 - труба; 21 - ось; 22 - рукоятка; 23 - пластина
Преимущества перед известными аналогами - ворошение слежавшегося зерна в
бенкере, разрушение сводов.
Стадия освоения - внедрено в производство.
Результаты испытаний - технология обеспечивает получение стабильных
результатов.
Технико-экономический эффект - повышение производительности при выгрузке
зерна в 1,3 раза.
3. ИССЛЕДОВАТЕЛЬСКИЙ РАЗДЕЛ
Целью выполнения исследовательского раздела является изучение научных
работ, посвященных вопросам кормоуборки, совершенствования процессов обработки
корма, энергосбережения при работе сельскохозяйственных машин.
3.1 Оптимизация энергозатрат процесса
измельчения зернового сырья путем совершенствования конструкций рабочих органов
В работе рассматривается вопрос о снижении энергозатрат путем
совершенствования конструкции рабочих органов ножей и кормодробилки.
На основе проведенных исследований сформирована конструкция и рабочие
органы, обосновывающие процесс удара и резания со скольжением, что привело к
снижению энергозатрат, как показано на графических зависимостях.
Расход энергии на измельчение сырья зависит от многих параметров,
важнейшими из которых являются: производительность, степень измельчения,
структурно -механические свойства перерабатываемого материала, его влажность и
другие, а также потребляемая мощность на измельчение продукта. Энергоемкость
процесса чаще всего определяют по известной формуле:
где
- мощность электродвигателя дробилки при рабочей
нагрузке, кВт;
-
производительность дробилки, т/ч.
Энергоемкость
процесса измельчения в дробилке может быть определена по следующему выражению:
где
- мощность дробилки на холостом ходу, кВт.
При
выполнении экспериментальных исследований главное место отводится вопросам
определения полезной мощности, потребляемой установкой при измельчении. Большое
многообразие применяемого оборудования даст возможность сравнить полученные
результаты.
Расчет
мощности, расходуемой экспериментальной установкой выполняли с учетом
коэффициента полезного действия электродвигателей и их приводов.
Рисунок
Влияние угла заточки ножа на энергоемкость
Расчет
расхода энергии дробилки выполняли по следующей формуле:
,
где
- мощность, потребляемая при измельчении, кВт;
-
средняя мощность, потребляемая измельчением под нагрузкой, кВт;
- КПД
электродвигателя при работе под нагрузкой (
).
Определяем
мощность холостого хода
по формуле:
,
где
- мощность, потребляемая при работе в холостую, кВт;
- КПД
электродвигателя при нагрузке холостого хода (0,9).
Удельный
расход энергии:
где
- производительность дробилки, т/ч.
Изучив
теорию резания, были проведены исследования предложенных ножей и кормодробилки.
Для эксперимента использовалась лабораторная установка, которая описывается
выше и ножи с разным углами заточки: без заточки, угол заточки равен 60
градусам и 45 градусам. С помощью измерительных приборов, таких как ваттметр,
амперметр и вольтметр снимались данные по потребной мощности вращения ротора на
холостом ходу измельчителя и с нагрузкой по величине потребной мощности из
сети. Опыт проводили несколько этапов: подача зерна имела разную навеску и
разный вид культуры; разные диаметры сита Ø 4;3;2;1,2 мм, для определения равномерности
гранулометрического состава.
Полученные
данные записывали в сводную таблицу и графически сделали сравнительную
характеристику двух культур на заточку ножа с целью выявления энергоемкости
рисунок.
На
рисунке представлены зависимости влияния угла заточки ножа на энергоемкость, от
подачи материала и потребляемой мощности дробилки. Проведя исследования на
лабораторной установки, пришли к выводу, что измельчитель зерна, работающий по
принципу резания со скольжением, обеспечивает снижение энергозатрат за счет
минимального угла заточки ножа, который составляет 45 градусов. Причем такой
вид ножа обеспечивает малый износ рабочих органов и дает выход зерна с
равномерным гранулометрическим составом.
3.2 О критической скорости соударения вальца с
кукурузной массой
В
работе рассмотрена теория удара твердых тел, которая получила развитие в трудах
многих русских и зарубежных ученых.
При
описании движения стеблей под действием известных ударных сил можно
пользоваться уравнением Лагранжа, П. Аппель, М.Е. Жуковский, С.А. Чаплыгин и
другие занимались определением закономерности вращательного движения твердого
тела вокруг неподвижной оси под действием ударных сил. Г.К. Суслов рассматривал
соударение двух тел с учетом шероховатостей их поверхностей.
При
обмолоте зерновых культур молотильно -сепарирующими устройствами ударно
-вибрационного воздействия со стороны ребер рабочих вальцов барабана и
подбарабанья на обмолачиваемый материал действуют ударные силы. Если эти силы
превышают определенную величину, то они вызывают дробление или обрушивание
зерна. При конструктивном, кинематическом и динамическом расчетах
экспериментальных молотильно -сепарирующих устройств (МСУ) очень важно знать
характер зависимости между скоростью соударения рабочих органов с зерновкой
риса и значением критической силы обрушивания и разрушения зерновки. Значения
скорости соударения рабочего органа МСУ с обмолачиваемым материалом обычно
ограничены с обеих сторон, (
). Если
скорость соударения по различным причинам будет меньше нижней границы, то
процент недомолота увеличивается и может превысить допустимые агротехнические
нормы, а если рабочая скорость будет выше верхнего предела, то недопустимо
возрастает процент дробления и обрушивания зерна. Исследованиями зависимости
критической скорости удара от различных кинематических, динамических и конструктивных
параметров молотильно -сепарирующих устройств различных сельскохозяйственных
машин занимались многие поколения ученых -исследователей. Так как деформация
вальца при ударе о зерновку значительно меньше деформации зерновки, то с
большей точностью и с меньшими затратами труда можно определить деформацию
зерновки. Получим значения критической скорости соударения вальцов молотильного
аппарата в зависимости от деформации зерновки риса. По Ньютону, такой вариант
решения задачи правомерен вполне.
Допустим:
где
х - деформация зерновки.
Движение
зерновки риса за время удара можно определить следующим дифференциальным
уравнением:
Проинтегрируем
левую и правую части дифференциального уравнения. При интегрировании левой
части примем пределы интегрирования по скорости от 0 до
, что соответствует критической скорости разрушения
зерновки риса:
,
А
правую часть дифференциального уравнения проинтегрируем по х в пределах от 0 до
:
где
- критическая деформация разрушения зерновки риса.
Полагая
приближенно, что
, найдем значение критической силы разрушения
зерновки. Подставим значение
и
проинтегрируем выражение:
Приравнивая
правые части выражений, получим:
Из
выражения получим значение критической скорости разрушения зерновки риса:
где
- критическая сила, разрушающая зерно;
С
- коэффициент жесткости зерновки риса.
На
основании анализа работ, посвящённых определению критической скорости
соударения рабочего органа с обмолачиваемым материалом, можно сделать следующие
заключения о преимуществах и недостатках методов решения этого вопроса
различными авторами.
Авторы,
рассматривая закономерности вращательного движения молотильного барабана под
действием рассредоточенных и непрерывных ударных импульсов, получили новые
формы дифференциального уравнения вращательного движения вокруг неподвижной
оси. Они обосновали значение необходимого импульсивного момента, действующего
на барабан, при котором обеспечивается необходимый интервал изменения
коэффициента неравномерности вращения барабана без учета значения критической
скорости.
Авторы
определили зависимость критической скорости соударения рабочего органа с
обмолачиваемым материалом для различных рабочих органов сельскохозяйственных
машин. Однако значение времени удара было принято ими условно, без
теоретического или экспериментального обоснования.
Авторы
при разработке новых молотильно -сепарирующих устройств получили зависимость
значения ударного импульса от скорости рабочего органа. При этом в уравнение
вошли два неизвестных - время удара и значение скорости зерна после удара. Оба
неизвестных имеют сопоставимые сложности, как для теоретического, так и для
экспериментального их определения. Использование полученного уравнения требует
составления дополнительного уравнения или дополнительных экспериментальных
исследований, так как уравнение статически неопределенно. Автор данной статьи,
желая получить значения времени удара теоретическим путем предложил физическую
модель соударения двух тел, и на основе этой модели получил функциональную
зависимость времени удара от значения статического прогиба материала рабочего
органа.
Из
практики известно, что экспериментальное определение значения статического
прогиба материала вальца и времени удара сопоставимо по сложности и материальным
затратам. С другой стороны, значение статического прогиба пропорционально массе
зерна, но не критической силе разрушения зерна. Это вызвало необходимость
определения критической скорости удара в зависимости от силы разрушения зерна.
Энергетический метод имеет несомненные преимущества, так как связывает значения
скорости соударения рабочего органа и зерна с критической силой разрушения
зерна. С другой стороны, определение значения критической силы разрушения зерна
значительно точнее и проще, т.к. все измерения идут напрямую. Из всех
перечисленных методов только этот метод позволяет учитывать физико-механические
свойства обмолачиваемого материала.
4.
ОБОСНОВАНИЕ КОНСТРУКЦИИ
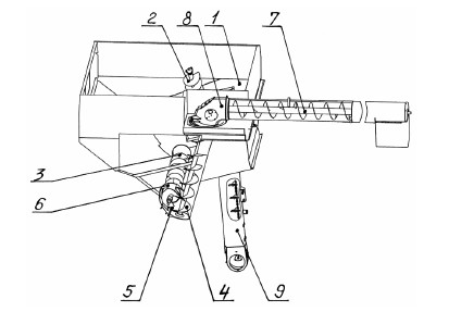
Бункер зерновой и выгрузное устройство.
Бункер зерновой предназначен для сбора зерна во время работы комбайна.
Для удобства наблюдения за заполнением и выгрузкой зерна из бункера на передней
боковине корпуса размещено смотровое окно 12. Для взятия пробы зерна из бункера
в процессе работы комбайна предназначено окно пробоотборника 11. На передней
боковине в бункере расположены датчики АСК для звуковой и световой сигнализации
о заполнении бункера зерна на 70 и 100%. Крышка 1 закрывает лаз бункер. Крыша
бункера 2 предназначена для защиты от атмосферных осадков и увеличения объема
бункера за счет ее трансформации.
Выгрузное устройство предназначено для выгрузки зерна из бункера в
транспортное средство. Шнек поворотный выгрузной 5 может быть установлен при
помощи гидроцилиндра в рабочее и транспортное положение, управление
осуществляется из кабины комбайна. В транспортном положении выгрузной шнек
поддерживается опорой. Для осуществления выгрузки зерна устройство снабжено
приводом шнека с механизмом включения.
Для обеспечения конкурентоспособности комбайна КЗС-1218 а также для
снижения издержек при производстве провели модернизацию крышки бункера с целью
снижения металлоёмкость, повышения надёжности техники и удобство эксплуатации.
Повысили объём бункера, что положительно повлияло на
конкурентоспособность комбайна.
Рисунок 4.1 - Бункер зерновой: 1 - крышка; 2 - крыша бункера; 3 - бункер;
4 - шнек загрузной; 5 - шнек поворотный выгрузной; 6 - отвод с редуктором; 7 -
настил; 8 - шнек наклонный выгрузной; 9 - цепная передача привода шнека
горизонтального; 10 - редуктор; 11 - окно пробоотборника; 12 - смотровое окно.
5. ТЕХНОЛОГИЧЕСКИЙ, КИНЕМАТИЧЕСКИЙ И ЭНЕРГЕТИЧЕСКИЙ РАСЧЕТ.
5.1 Кинематический и энергетический расчёт
Исходные данные к расчету:
-
частота вращения вала двигателя
;
потребляемая
мощность шнека горизонтального 3 кВт.
В
кинематическом расчете определим частоты вращения всех валов участвующих в
приводе шнека горизонтального выгрузного КЗС-1218.
Частота
вращения ДВС:
Определим
передаточное число вала 1-2 по формуле:
Из
кинематической схемы известно диаметры :
,
.
Подставим
данные в формулу и получим:
Частота
вращения вала 2 определяем по формуле:
Определим
передаточное число вала 2-26 по формуле:
Из
кинематической схемы известны диаметры шкивов:
,
.
Подставим
данные в формулу и получим:
.
Частота
вращения вала 26 определяется по формуле:
.
Определим
передаточное число вала 26-7 по формуле:
Из
кинематической схемы известны количество зубъев:
,
Подставим
данные в формулу и получим:
Частота
вращения шнека горизонтального определяется по формуле:
.
Выполним
проверку, определив частоту вращения шнека горизонтального через общее
передаточное отношение по формуле:
.
Общее передаточное отношение определяется по формуле:
.
Подставим
данные в формулу и получим:
Частоты
вращения на шнек горизонтальный различными способами сошлись, следовательно
кинематический расчет выполнен верно.
В
энергетическом расчете определим мощности и моменты на каждом валу привода
шнека горизонтального «КЗС-1218»
Определим
момент
на валу по формуле:
Момент
определяется по формуле:
КПД
ременной передачи составляет
Подставим
значение в формулу и получим:
Определим
мощность
по формуле:
Момент
определяется по формуле:
Подставим
значение в формулу и получим:
Определим
мощность
по формуле:
Момент
определяется по формуле:
Подставим
значение в формулу и получим:
Определим
мощность
по формуле:
Результаты
кинематического и энергетического расчета сводим в таблицу 5.1.
Таблица
5.1. Результаты расчетов
|
Номер вала
|
Передаточные числа передач
|
Частота вращения , Момент , Мощность ,
|
|
|
|
1
|
|
2000
|
14,3
|
3
|
|
2
|
|
1
|
790,51
|
34
|
2,814
|
|
26
|
1,7
|
|
790,51
|
31,96
|
2,65
|
|
7
|
|
|
468,59
|
52,7
|
2,59
|
5.2 Технологический расчет
Расчет основных параметров транспортировки зернового вороха.
5.2.1 Расчет шнека
Параметры шнека находятся в следующих пределах: наружный диаметр спирали
D=460 - 525 мм, шаг спирали S=445 - 500 мм, окружная скорость витка 4,8 - 5,75
м/с, осевая скорость витков 1,1 - 1,65 м/с.
Если учесть, что за один оборот шека материал перемещается на велечину
шага S, то выбранные параметры при заданной производительности можно проверить
по формуле
где q - подача хлебной массы в молотилку, кг/с; - коэффициент заполнения
(для хлебной массы до обмолота равен 0,3); ρ - плотность перемещаемого материала;
c - коэффициент снижения производительности в зависимости от угла наклона шнека
(если угол наклона равен 0 , то c=1); n - частота вращения шнека, об/мин.
Диаметр трубы шнека определяется с таким условием, чтобы на нее не
наматывались стебли:
где L=0,8 м - средняя длина стебля; Δ=0,13 - расстояние на трубе между
основанием стебля и его вершиной (колосом).
Мощность для горизонтальных и наклонных до 20 шнеков
где Q - производительность, кг/ч; - горизонтальная проекция пути
перемещения материала, м; Н - высота подъема материала, м; 
опытный коэффициент.
5.2.2 Расчет элеватора
Производительность скребкового элеватора определяют по формуле
,
где с - коэффициент, учитывающий влияние скорости движения элеватора
(равен 0,75 - 0,97), с увеличением скорости он уменьшается; ψ - некоторый коэффициент ,который
берется по таблицам; ρ - плотность зерна (колоса) г/ ; b - высота скребка,
см; s - длина скребка, см; - скорость движения цепи элеватора, см/с.
Шаг скребков выбирается по таблицам в зависимости от ψ.
Длина выгрузного окна элеватора определяется следующим образом. Выделим
некоторый элемент (зерно), расположенный у основания скребка высотою b. На
зерно действуют силы: mg - вес зерна; N - нормальная реакция поверхности; F -
сила трения. Тогда дифферинцальное уравнение движения будет иметь вид
Первый интеграл уравнения движения
второй интеграл уравнения движения


При t=0, 
=0, x=0, 
=0, =0.
Обозначим через 
время прохождения зерном (материалом) пути, равного высоте
скребка. Тогда
откуда
За время 
скребок переместится на велечину
Длина выгрузного окна L > l.
6. Прочностной расчет
.1 Расчет цепной передачи
Определяем крутящий момент:
Н·мм.
Принимаем
диаметр звёздочки 
Скорость
цепи:
м/с.
Окружная
сила:
Н
Вычислим
усилие действующее на вал со стороны цепи:
Н.
6.2 Расчет вала
В
расчете определим изгибающие моменты и силы действующие на вал.
Расчет
моментов кручения.
Крутящие
моменты на привод шнека горизонтального:
Н·м.
Строим
эпюру крутящих моментов:
Н·м,
Н·м,
Н·м,
Расчет
изгибающих моментов, действующих в плоскости XOZ.
Распределенная
нагрузка
:
Н.
Рисунок
Схема нагружения вала
Определим
реакции сил в плоскости XOZ.
;
;
;
;

;
;
;
Проверка:
;
.
Проверка
выполнена.
Строим
эпюру изгибающих моментов сил, действующих в плоскости XOZ:
Н·мм,
Н·мм,
Н·мм,

Н·мм,
Н·мм.
Расчет
изгибающих моментов, действующих в плоскости YOZ.
Определим
реакции сил в плоскости YOZ. В плоскости YOZ сила от цепной передачи будет
равняться нулю, а следовательно и изгибающие моменты в данной плоскости равны
нулю.
Механические
характеристики материала:
МПа;
МПа;
МПа;
Определим
допускаемые напряжения, имея ввиду, что вал будет гладкий. Пологая поверхности
вала чисто обточенными ,принимаем
.
Допускаемые
напряжения на изгиб вычисляются по формуле:
где
:
- коэффициент качества поверхности,
= 0,9;
-
коэффициент концентрации напряжений при изгибе
= 3,2;
-
допускаемый коэффициент запаса прочности,
= 2.
МПа.
Допускаемые
напряжения на кручение при
для
легированных сталей равны
МПа.
Принимаем
МПа. Вычислим диаметр в сечении Д
В
сечении Д действуют приведенные моменты
Нм.
В
случае изгиба с кручением для сечения В пользуемся зависимостью:
,
откуда:
,
.
мм.
Принимаем
мм исходя из конструкции вала
Выполняем
проверочный расчет вала на прочность.
Условие
прочности имеет следующий вид:
.
Как
видно из эпюр, наиболее опасными являются сечения С. Произведем его прочностной
расчет.
Расчет
на прочность сечения С:
Материал
вала - Сталь 45Х. Диаметр участка вала
мм.
Механические
характеристики материала:
МПа;
МПа;
МПа;
Моменты
в сечении:
;
.
Эффективные
коэффициенты концентрации напряжений, влияния абсолютных размеров поперечного
сечения, влияния шероховатости поверхности, влияния упрочнения:
;
;
;
;
.
Коэффициенты,
характеризующие чувствительность материала к асимметрии цикла напряжений:
;
.
Осевой
и полярный моменты сопротивления сечения вала:
,
.
Амплитуды
напряжений цикла:
,
,
.
Суммарные
коэффициенты, учитывающие для данного сечения вала влияние всех факторов на
сопротивление усталости соответственно при изгибе и кручении:
,
.
Коэффициенты запаса по нормальным и касательным напряжениям:
,
.
Коэффициент
запаса прочности по усталости:
Условие
прочности выполняется.
7. ОПИСАНИЕ МОДЕРНИЗИРОВАННОЙ КОНСТРУКЦИИ. ТЕХНИЧЕСКИЕ ХАРАКТЕРИСТИКИ
7.1 Зерноуборочный комбайн
КЗС-1218, назначение и область применения
Комбайн предназначен для прямой и раздельной уборки зерновых колосовых
культур, а с применением специальных приспособлений, для уборки зерновой части
кукурузы, подсолнечника, зернобобовых, крупяных культур, семенников трав и
рапса на равнинных полях с уклоном до 80.
Комбайн производит скашивание, обмолот, сепарацию, очистку зерна,
накопление зерна в бункере с последующей выгрузкой в транспортное средство, а
также обеспечивает уборку незерновой части урожая по следующим технологическим
схемам:
укладка соломы в валок;
измельчение и разбрасывание соломы по полю.
Комбайн применяется во всех почвенно-климатических зонах, кроме горных
районов.
Комбаин с копнителем предназначен для прямой и раздельной уборки зерновых
колосовых, крупяных культур и рапса на равнинных полях с уклоном до 8. Комбайн
производит срез убираемой культуры, ее обмолот, сепарацию и очистку зерна,
накопление зерна в зерновом бункере с последующей выгрузкой, а также обеспечивает
формирование и выгрузку на поле незерновой части урожая в виде копен.
Состав комбайна. Комбайн в основной комплектации состоит из жатки для
зерновых культур 1 и молотилки самоходной 2 (рисунок).
В состав комбайна при раздельном способе уборки может входить подборщик,
зерновой (поставляется по отдельному заказу за отдельную плату).
Рисунок Габаритные размеры комбайна
Рисунок Габаритные размеры жатки на транспортной тележке
По отдельному заказу за отдельную плату поставляется комплект
оборудования для уборки кукурузы на зерно КОК-6-2.
Для уменьшения частоты вращения молотильного барабана при уборке
легкотравмируемых культур (кукуруза, подсолнечник и др.) на комбайне устанавливается
понижающий редуктор, поставляемый по отдельному заказу за отдельную плату.
Для обеспечения повышенной проходимости молотилка самоходная оборудована
двумя ведущими мостами.
Технологический процесс уборки урожая
Технологический процесс прямого способа уборки урожая комбайном
осуществляется следующим образом.
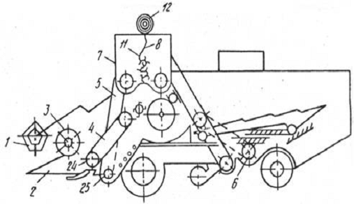
При движении комбайна планки мотовила 22 (рисунок 7.4) жатки для зерновых
культур захватывают и подводят порции стеблей к режущему аппарату 21, а затем
подают срезанные стебли к шнеку 20. Пальчиковый механизм шнека захватывает их и
направляет в окно жатки, из которого масса отбирается к транспортеру наклонной
камеры 19, который подает поток хлебной массы в молотильный аппарат к
барабану-ускорителю 18, а затем к молотильному барабану 16. В процессе обмолота
зерно, полова и мелкий соломистый ворох просыпаются через решетку подбарабанья
17 на стрясную доску 14, остальной ворох отбрасывается отбойным битером 15 на
соломотряс 4, на клавишах которого происходит дальнейшее выделение зерна из
соломистого вороха.
Зерновой ворох, попавший после обмолота на стрясную доску 14,
транспортируется к верхнему решетному стану 7. В процессе транспортирования
вороха происходит предварительное разделение на фракции. Зерно перемещается
вниз, а сбои наверх. В зоне перепада между пальцевой решеткой стрясной доски 14
и дополнительным и верхним решетами верхнего решетного стана 7 происходит его
продувка вентилятором 13. Слой зерновой смеси, проваливающийся через пальцевую
решетку стрясной доски несколько разрыхляется благодаря чему зерно и тяжелые
примеси под действием воздушной струи вентилятора 13 и колебательного движения
решет легче проваливаются вниз, а полова и другие легкие примеси выдуваются из
молотилки.
Провалившись через решета верхнего 7 и нижнего 8 решетных станов, зерно
попадает по зерновому поддону на зерновой шнек 11. Далее шнеком зерно
транспортируется в зерновой элеватор 3, который перемещает его к загрузному
шнеку 2 бункера.
Недомолоченные колоски, проваливаясь через верхнее решето и удлинитель
верхнего решетного стана 7 на решето нижнего решетного стана 8,
транспортируется в колосовой шнек 10 и колосовой элеватор 9, который
транспортирует полученный ворох в домолачивающее устройство 12. В
домолачивающем устройстве происходит повторный обмолот, после которого обмолоченный
ворох распределительным шнеком равномерно распределяется по ширине стрясной
доски 14.
Солома транспортируется клавишами соломотряса к заднему капоту с которого
в зависимости от настройки соломоизмельчителя 6 формируется в валок или
измельчается ротором соломоизмельчителя 6 и через дефлектор 5 разбрасывается по
полю.
Полова и легкие примеси воздушным потоком вентилятора 13 выдуваются из
очистки на поле.
После заполнения бункера зерна выгружается в транспортное средство шнеком
выгрузным 23.
Процесс раздельного способа уборки урожая отличается от прямого тем, что
стебельную массу убираемой культуры сначала скашивают в валки, а затем с
помощью навешиваемого на комбайн подборщика валки подбирают и обмолачивают
таким же образом, как описано выше.
Рисунок 7.4 - Схема технологического процесса работы комбайна: 1 - шнек
горизонтальный; 2- шнек загрузной зерновой; 3 - элеватор зерновой; 4
соломотряс; 5 - дефлектор; 6 - соломоизмельчитель; 7 - верхний решетный стан; 8
- нижний решетный стан; 9 - элеватор колосовой; 10 - шнек колосовой; 11 - шнек
зерновой; 12 - домолачивающее устройство; 13 - вентилятор; 14 - стрясная доска;
15 - отбойный битер; 16 - барабан молотильный; 17 - подбарабанье; 18 -
барабан-ускоритель; 19 - транспортер наклонной камеры; 20 - шнек; 21 - режущий
аппарат; 22 - мотовило; 23 - шнек выгрузной
7.2 Технические характерики
Таблица7.1 - Основные параметры и технические характеристики комбайна
|
Параметр
|
Значение
|
|
Рабочая скорость движения, км/ч
|
8
|
|
Транспортная скорость движения, км/ч
|
20
|
|
Скорость движения по передачам, км/ч: - I - II - III - IV
|
5,3 / 4,5* 8,8 / 6,8* 11,9 / 8,5* 19,8 / 11,9*
|
|
Габаритные размеры комбайна в основной рабочей
ком-плектации, мм:
|
|
а) в рабочем положении:
|
|
- длина
|
11200
|
|
- ширина
|
7600
|
|
- высота с откинутыми клапанами
|
4650
|
|
б) в транспортном положении:
|
|
- длина
|
18100
|
|
- ширина
|
3900
|
|
- высота
|
4000
|
|
Масса комбайна конструкционная (сухая) в основной рабочей
комплектации (без транспортной тележки), кг
|
18570+500
|
|
Двигатель
|
|
Марка
|
ЯМЗ-238ДЕ-22
|
International DTA 530E (I-308)
|
|
Номинальная мощность двигателя, кВт
|
243
|
246
|
|
Объем топливного бака, л
|
600
|
|
Молотильный аппарат
|
|
Тип молотильного аппарата
|
бильный с бичами левого и правого направления рифов
|
|
Конструктивная ширина молотилки, мм
|
1500
|
|
Частота вращения вала молотильного барабана, с-1
|
от 7,36 до 14,6
|
|
Диаметр молотильного барабана, мм
|
800
|
|
Диаметр барабана ускоряющего, мм
|
600
|
|
Примечание - * C включенным УВМ (допускается отклонение ±10
% от приведенных значений).
|
|
Способ регулирования частоты вращения молотильного
бара-бана
|
клиноременным вариатором с гидроуправлением
|
|
Частота вращения вала барабана ускоряющего, с-1
|
80% от окружной скорости молотильного барабана
|
|
Способ регулирования частоты вращения ускоряющего барабана
|
от молотильного барабана, ременной передачей
|
|
Подбарабанье
|
решетчатое прутково-планчатое с регулировкой
электроприводом
|
|
Площадь сепарации подбарабанья, м2
|
2,39
|
|
Отбойный битер
|
|
Диаметр, мм
|
398
|
|
Частота вращения, с-1
|
12,9
|
|
Параметр
|
Значение
|
|
Соломотряс
|
|
Площадь сепарации, м2
|
6,15
|
|
Число клавиш, шт
|
5
|
|
Рабочая поверхность клавиш
|
жалюзийная с каскадами
|
|
Очистка
|
|
Площадь решет, м2
|
5,0
|
|
Число каскадов, шт
|
3
|
|
Частота вращения вала вентилятора, с-1
|
от 5,3 до 16
|
|
Способ регулирования частоты вращения вентилятора
|
клиноременным вариатором, с электроприводом, управляемым из
кабины
|
|
Бункер зерновой
|
|
Тип бункера
|
трансформируемый, с автоматической сигнализацией
заполнения, с принудительной выгрузкой
|
|
Объем бункера, м3
|
8
|
|
Длина вылета выгрузного шнека, мм
|
3300
|
|
Угол поворота выгрузного шнека, град.
|
101
|
|
Ходовая часть
|
|
Шины колес:
|
|
- управляемых ведущих
|
600/65R28
|
|
- ведущих
|
800/65R32
|
|
Давление в шинах при эксплуатации, МПа
|
|
- управляемых ведущих колес
|
0,18
|
|
- ведущих колес
|
0,20
|
|
Размер колеи, мм
|
|
- управляемых ведущих колес
|
3270
|
|
- ведущих
|
2920
|
|
База, мм
|
4040
|
|
Дорожный просвет, мм, не менее
|
330
|
|
Соломоизмельчитель
|
|
Диаметр барабана, мм
|
523
|
|
Частота вращения барабана, с-1
|
46,6
|
|
Шаг расположения опор ножей, мм
|
140
|
|
Жатка для зерновых культур
|
|
Конструктивная ширина захвата жатки, м
|
7
|
6
|
|
Диапазон высоты среза, мм:
|
|
- при копировании рельефа поля
|
55+15; 90+15; 120+15; 160+15; 195+15
|
|
- без копирования рельефа поля
|
от 50 до 800
|
|
Величина копирования, мм: - в продольном направлении по
режущему аппарату
|
+110 -90
|
|
- в поперечном направлении по боковинам жатки
|
+210
|
+200
|
|
Пределы регулирования частоты вращения мотовила, с-1
(об/мин.)
|
0,27...0,75 (16...45)
|
|
Величина вертикального перемещения мотовила относительно
режущего аппарата, мм
|
+ 540 - 30
|
|
Величина горизонтального перемещения (выноса) мотовила относительно
режущего аппарата, мм
|
160…420
|
|
Габаритные размеры жатки в рабочем положении с прутковым
делителем (без тележки), мм, не более: - длина - ширина - высота
|
3000 7500 2400
|
3000 6500 2400
|
|
Габаритные размеры жатки в транспортном положении (на
те-лежке), мм - длина - ширина - высота
|
10700 3000 2500
|
10200 3000 2500
|
|
Габаритные размеры тележки, мм, не более: - длина - ширина
- высота
|
10500 2500 1100
|
9800 2500 1100
|
|
Масса жатки, кг
|
2150
|
1900
|
|
Масса транспортной тележки, кг
|
730
|
700
|
|
Колея тележки (по задним колесам), мм
|
2200+50
|
|
Давление воздуха в шинах колес тележки, МПа
|
0,36
|
|
Давление в пневмосистеме, МПа
|
от 0,60 до 0,82
|
|
Электрооборудование
|
|
Номинальное напряжение системы электрооборудования, В:
|
24
|
|
Номинальная емкость одной аккумуляторной батареи, А/ч
|
190
|
|
Количество батарей, шт
|
2
|
|
Гидравлическая система
|
|
Привода ходовой части
|
Гидростатическая трансмиссия
|
|
Рулевого управления
|
Гидрообъемная передача
|
|
Количество гидроцилиндров на управляемом мосту
|
2
|
16
|
|
Давление настройки предохранительного клапана в
гидроси-стеме привода ходовой части, МПа
|
42
|
|
Давление настройки предохранительного клапана в
гидроси-стеме рулевого управления, МПа
|
16
|
|
|
|
|
|
|
|
8. РАЗРАБОТКА МЕРОПРИЯТИЙ ПО ЭКСЛУАТАЦИИ, ТЕХНИЧЕСКОМУ ОБСЛУЖИВАНИЮ И
ТЕХНИКИ БЕЗОПАСНОСТИ
8.1 Требования Безопасности
К проведению приемо-сдаточных и периодических испытаний комбайна
допускаются лица, имеющие удостоверение тракториста-машиниста, прошедшие специальную
подготовку и инструктаж по технике безопасности, изучившие соответствующий
раздел в инструкции по эксплуатации комбайна КЗС-12 и его модификаций,
изучившие руководство по эксплуатации на двигатель, климатическую установку и
программы и методики КЗК 0000000 ПМ1, КЗК 0000000 ПМ2, КЗК 0600000 ПМ, КЗК
0000000 ПМ1.
Перед установкой демонтированных и сменных частей необходимо визуально
проверить их состояние и исправность.
Не допускается проводить испытания комбайна с открытыми кожухами,
предназначенными для ограждения механических передач.
При опробовании не допускается запускать двигатель в закрытом помещении с
плохой вентиляцией во избежание отравления угарным газом.
Перед запуском двигателя необходимо отключить лениксные натяжные ременные
передачи (главного контрприводного вала, привод наклонной камеры, выгрузного
шнека, вибродна, соломоизмельчителя), рычаг переключения коробки диапазонов
должен быть установлен в нейтральное положение.
Перед запуском двигателя, включением рабочих органов или началом движения
необходимо предупредить окружающих людей подачей звукового сигнала. Осмотр
рабочих органов комбайна допускается производить только при заглушённом
двигателе и полностью остановленных рабочих органах.
Не допускается влезать и находиться в бункере при работающем двигателе.
8.2 Использование по назначению
Эксплуатационные ограничения.
В зависимости от убираемой культуры, перед началом работы комбайн должен
быть специально подготовлен и агрегатирован с соответствующим адаптером,
комплектом оборудования или приспособлением:
для прямой уборки зерновых колосовых культур - жатка для зерновых
культур;
для раздельной уборки зерновых колосовых культур - подборщик;
для уборки сои - жатка для сои;
для уборки рапса - приспособление для уборки рапса;
Запуск двигателя возможен только при нейтральном положении рукоятки
управления скоростью движения, наклоненной в сторону оператора и выключенной
передаче. Начинать движение рекомендуется при частоте вращения коленчатого вала
двигателя - не менее 1500 об/мин.
Стартер всегда включайте max на 10-15 сек. После запуска ключ зажигания
сразу же отпускайте. При необходимости повторения процесса запуска ключ
зажигания вернуть в положение «0» и сделать короткий перерыв. Затем повторить
процесс запуска.
При транспортировании комбайна по дорогам общей сети:
крышка лаза в бункер должна быть закрыта;
бункер должен быть опорожнен;
Копнитель должен быть опорожнен;
жатка должна быть установлена и зафиксирована на транспортной тележке и
подсоединена к молотилке при помощи тягового устройства;
мотовило жатки должно быть полностью опущено вниз и максимально
придвинуто к шнеку;
светосигнальное оборудование транспортной тележки должно быть подключено;
проблесковый маяк включен.
ЗАПРЕЩАЮТСЯ транспортные переезды комбайна с заполненным соломой копнителем.
ЗАПРЕЩАЕТСЯ остановка или движение комбайна задним ходом во время сброса
копны.
ЗАПРЕЩАЕТСЯ сброс копны на повороте.
ПРЕДОСТЕРЕЖЕНИЕ Во избежание поломок моста управляемых колес ЗАПРЕЩАЕТСЯ
транспортирование комбайна с жаткой в транспортном положении при наличии зерна
в бункере!
При транспортных переездах комбайна на короткие расстояния с навешенной
жаткой штоки гидроцилиндров подъема и горизонтального перемещения мотовила
должны быть полностью втянуты, жатка должна быть поднята в верхнее положение и
зафиксирована на наклонной камере.
На комбайне функцию рабочих тормозов обеспечивает конструкция
гидропривода ведущих колес. Плавное снижение скорости обеспечивается за счет
медленного перемещения рукоятки управления скоростью движения в нейтральное
положение. В случае необходимости экстренной остановки комбайна торможение
должно производиться путем быстрого перемещения рукоятки управления скоростью
движения в нейтральное положение с одновременным (при необходимости) нажатием
на тормозные педали.
В процессе эксплуатации комбайна следует применять наиболее выгодные
приемы работы, производить оптимальные регулировки в зависимости от условий и
вида убираемых культур.
Определить высоту среза, отрегулировать подбарабанье молотильного
аппарата, установить раствор жалюзийных решет очистки. Ориентировочно
определить и установить частоту вращения молотильного барабана, вентилятора
очистки, мотовила жатки. Обороты зтих органов в дальнейшем корректируются в
процессе работы.
Для повышения качества уборки и производительности комбайна направление
движения следует выбирать таким образом, чтобы нескошенное поле оставалось
справа, а общее направление полеглости находилось примерно под углом 45° к
направлению движения комбайна.
При некачественной вспашке поля, а также при сильном попутном ветре
следует выбирать направление движения комбайна такое, чтобы не работать
продолжительное время по направлению полеглости хлеба, поперек склона, поперек
борозд
Скорость движения нужно выбирать так, чтобы обеспечивалась максимальная
производительность комбайна при высоком качестве уборки.
При уборке полеглого и спутанного хлеба скорость движения комбайна должна
быть уменьшена независимо от его загрузки.
Качество вымолота и потери за жаткой и молотилкой следует периодически
проверять.
Во избежание потерь несрезанным колосом при уборке короткостебельного
хлеба или хлебов на плохо вспаханном поле, а также при подборе валков на
повышенной скорости направление передвижения комбайна должно быть
преимущественно вдоль борозд. Потери несрезанным колосом могут быть также при
поворотах и, особенно, на острых углах. Следует аккуратно выполнять повороты и
избегать острых углов.
При работе на культурах с повышенной влажностью и засоренностью, а также
при уборке на влажной почве следует:
периодически проверять и очищать от налипшей массы молотильный барабан,
подбарабанье, жалюзийные решета решетных станов очистки, гребенки стрясной
доски и поддоны очистки, клавиши соломотряса;
периодически не реже двух раз в смену осматривать и при необходимости
очищать от намотанных и скопившихся пожнивных остатков трубчатые кожуха
верхнего вала и барабан нижнего вала наклонной камеры. Не выполнение этого
требования приведет к разрыву трубчатых кожухов, деформации верхнего вала,
разрыву или растяжению цепей транспортера наклонной камеры;
проверять влажность зерна, рекомендуется производить уборку с влажностью
зерна не более 25%.
ПРЕДОСТЕРЕЖЕНИЕ: При выгрузке зерна из бункера влажностью более 25%
частота вращения коленчатого вала двигателя не должна превышать 1200 об/мин!
При неполном выделении зерна из колосьев (недомолоте) убедитесь:
в отсутствии залипания отверстий подбарабанья;
в отсутствии повреждений и износа бичей молотильного барабана и
подбарабанья;
установите:
оптимальные зазоры между бичами молотильного барабана и подбарабаньем;
оптимальную частоту вращения молотильного барабана.
И только после выполнения перечисленных действий постепенно увеличивайте
зазоры в жалюзи удлинителя, проверяя при этом через лючок в кожухе колосового
элеватора количество вороха на лопатках цепи. На любой лопатке его объем не
должен превышать 200 см3.
ПРЕДОСТЕРЕЖЕНИЕ: Во избежание поломок системы домолота, забивания
колосового шнека и колосового элеватора не перегружайте ее!
В зависимости от убираемой культуры, ее влажности, засоренности и отношения
зерна к соломе боковые 3 (рисунок) и средние 2 рыхлители, установленные на
клавишах 1 соломотряса для повышения его активности, могут быть либо
демонтированы, либо переустановлены с каскада на каскад.
Рисунок - Установка рыхлителей на клавиши соломотряса:1 - клавиша; 2 -
средний рыхлитель; 3 - боковой рыхлитель
Во избежание поломок транспортирующих органов выгрузки зерна из бункера и
их приводов строго соблюдайте следующую последовательность включения и выключения
выгрузного шнека:
) полностью переведите выгрузной шнек из транспортного положения в
рабочее;
установите частоту вращения коленчатого вала двигателя 900-1000 об/мин;
для полного включения/выключения привода необходимо клавишу переключателя
на пульте управления удерживать не менее 4...6 секунд;
после начала выгрузки зерна в транспортное средство постепенно (в течение
3-4 секунд) доведите частоту вращения коленчатого вала двигателя до
максимальной;
перед отключением привода установите частоту вращения коленчатого вала
двигателя 900 -1000 об/мин;
перевод выгрузного шнека из рабочего в транспортное положение
осуществляйте только после полного отключения привода выгрузного шнека.
8.3 Техническое обслуживание и регулировка
Отклонение ремня 15 (рисунок 8.2) от плоскости симметрии канавок шкивов
8, 19 должно быть не более 3 мм. Регулировку производите перестановкой шайб 23,
29, 30, 35.
Допуск параллельности оси вращения натяжного ролика 13 и оси вращения
ролика 17 относительно вала 34 контрпривода Ø1/500 мм. Регулировку параллельности
осей, а также равномерное прилегание ремня 15 по поверхности натяжного ролика
13 и поверхности ролика 17 обеспечьте перемещением опор 3 гайками.
Зазор Е=4…8 мм отрегулируйте в натянутом положении ремня 15 (ролик 13
опущен на ремень, шток гидроцилиндра 4 выдвинут). Регулировку производите
перемещением щитка 20 по овалу Г и по втулке 18, а также перемещением щитка 11
по овалу В и по втулке 12, предварительно ослабив болты 24, 26 и гайку и
установкой шайб 22 между щитком 20 и направляющей 16.
Зазор Ж=4…8 мм отрегулируйте в натянутом положении ремня 15 (рисунок
2.30) (ролик 13 опущен на ремень, шток гидроцилиндра 4 выдвинут). Регулировку
производите перемещением щитка 20 по овалам К, Л предварительно ослабив болт.
Зазор Д=4…6 мм отрегулируйте в натянутом положении ремня 15 (ролик 13
опущен на ремень, шток гидроцилиндра 4 выдвинут). Регулировку производите
перемещением щитка 11 по втулке 10 предварительно ослабив болты 26. Допуск
плоскостности торцев щитка 11 и шкива
8 и зазоры между стенкой ремня и канавки шкива 3 min обеспечьте установкой шайб
22, 27 между кронштейнами 21 и 25, переходниками и щитками 11, 20.
Момент затяжки гаек 1, 2 от 45 до 50 Н.м после обеспечения размеров
55+1,5 мм 195+1,5 мм.
ВНИМАНИЕ: Вибродно включайте только в конечной стадии выгрузки с целью
исключения выхода из строя ременной передачи привода вибродна!
ЗАПРЕЩАЕТСЯ выполнение технологического процесса работы комбайном в
загонке в момент выгрузки зерна из бункера.
ВНИМАНИЕ: Наличие зерна в бункере после окончания работы комбайна в поле
и при транспортных переездах не допускается!
ВНИМАНИЕ: При выгрузке зерна из бункера запрещается проталкивание его
руками, ногой, лопатой или другими предметами!
ЗАПРЕЩАЕТСЯ выгрузка комбайна под линиями электропередач.
ЗАПРЕЩАЕТСЯ пользование пробоотборником на ходу и при включенном главном
контрприводе.
Включение и выключение главного контрпривода, привода наклонной камеры и
жатки, привода выгрузного шнека, привода вибродна производите при частоте
вращения коленчатого вала двигателя 900... 1000 об/мин. Это обеспечит
долговечность ремней. Для полного включения или выключения приводов необходимо
кнопку управления удерживать не менее 4...6 секунд (в соответствии с надписью
на пульте управления).
ВНИМАНИЕ: Во избежание самопроизвольного отключения привода главного
контрпривода крышка лаза в бункер при работе комбайна должна быть надежно
зафиксирована специальными винтами!
Перед остановкой двигателя выключайте главный контрпривод, привод
наклонной камеры и жатки, привод выгрузного шнека и вибородна.
ВНИМАНИЕ: Во избежание выхода из строя моторедуктора вариатора
вентилятора очистки, запрещается пользоваться переключателем изменения оборотов
вентилятора очистки при отключенном главном контрприводе!
После дождя при подготовке комбайна к работе включите вентилятор и
продуйте очистку.
ВНИМАНИЕ: С целью исключения повышенного износа шин направление рисунка
протектора управляемых колес должно быть направлено в противоположную сторону
рисунка протектора ведущих колес!
ЗАПРЕЩАЕТСЯ движение комбайна задним ходо!^^пуи5нно^а землю жаткой.
ЗАПРЕЩАЕТСЯ при эксплуатации гидропривода ходовой части:
Буксировать комбайн с включенной передачей. Буксировку производить с
включенной нейтральной передачей коробки диапазонов.
Запускать двигатель с буксира.
Эксплуатировать гидропривод не рекомендуемых маслах.
Эксплуатировать гидропривод с неисправным вакуумметром.
Буксировать комбайн с неисправным гидроприводом при работающем двигателе,
что может привести к полному выходу из строя гидронасоса ГСТ.
9. МЕРОПРИЯТИЯ ПО ЭНЕРГОСБЕРЕЖЕНИЮ
Целью данного раздела является изучение вопросов и разработка мероприятий
по энергосбережению и ресурсосбережению в сельском хозяйстве и на промышленных
предприятиях.
9.1 Энергосбережение
Важнейшим приоритетом государственной энергетической политики в
Республике Беларусь наряду с устойчивым обеспечением страны энергоносителями
является создание условий для функционирования и развития экономики при
максимально эффективном использовании топливно -энергетических ресурсов (ТЭР).
Республика Беларусь не располагает значительными собственными запасами
ископаемых ТЭР и вынуждена до 85 процентов ТЭР импортировать из -за рубежа.
Республиканским органом государственного управления, уполномоченным
Правительством Республики Беларусь для проведения государственной политики в
сфере энергосбережения, является Комитет по энергоэффективности при Совете
Министров Республики Беларусь. Основными задачами Комитета по
энергоэффективности при Совете Министров Республики Беларусь являются:
проведение государственной политики в сфере энергосбережения;
осуществление государственного надзора за рациональным использованием
топлива, электрической и тепловой энергии.
Стратегической целью деятельности в области энергосбережения является
снижение энергоемкости внутреннего валового продукта (ВВП) и, как следствие,
снижение зависимости республики от импорта ТЭР, что может быть достигнуто за
счет:
повышения эффективности использования энергоносителей в результате
внедрения новых энергосберегающих технологий, оборудования, приборов и
материалов, утилизации вторичных энергоресурсов и др.;
структурной перестройки отраслей экономики и промышленности;
оптимизации топливного баланса республики с увеличением доли местных
видов топлива, нетрадиционных и возобновляемых источников энергии.
Основными принципами государственного управления в сфере энергосбережения
являются:
осуществление государственного надзора за рациональным использованием
топливно-энергетических ресурсов;
разработка государственных и межгосударственных научно -технических,
республиканских, отраслевых и региональных программ энергосбережения и их
финансирование;
международное сотрудничество в сфере энергосбережения;
приведение нормативных документов в соответствие с требованием снижения
энергоемкости материального производства, сферы услуг и быта;
создание системы финансово -экономических механизмов, обеспечивающих
экономическую заинтересованность производителей и пользователей в эффективном
использовании топливно-энергетических ресурсов, вовлечении в
топливно-энергетический баланс нетрадиционных и возобновляемых источников
энергии, а также в инвестировании средств в энергосберегающие мероприятия;
повышение уровня самообеспечения республики местными топливно
-энергетическими ресурсами;
осуществление государственной экспертизы энергетической эффективности
проектных решений;
создание и широкое распространение экологически чистых и безопасных
энергетических технологий, обеспечение безопасного для населения состояния
окружающей среды в процессе использования топливно -энергетических ресурсов;
реализация демонстрационных проектов высокой энергетической
эффективности;
информационное обеспечение деятельности по энергосбережению и пропаганда
передового отечественного и зарубежного опыта в этой области, включающие
проведение выставок, конгрессов, конференций и семинаров;
обучение производственного персонала и населения методам экономии топлива
и энергии, подготовка кадров;
создание других экономических, информационных, организационных условий
для реализации принципов энергосбережения.
Примечательно также, что на международном уровне в 1997 г. был принят
стандарт ИСО 13600, в котором энергоресурс прямо назван товаром, потребляемым в
техносфере, связанной с другими сферами жизни. Международный стандарт ИСО 13600
был подготовлен Техническим комитетом ИСО/ТК 203 «Технические энергетические
системы». Знаменательно, что в отечественных документах энергию, топливо также
называют продукцией, а в статье электроэнергия прямо названа «товаром номер
один». «Энерготовар», «энергоресурс» - таковы современные ключевые понятия.
Следует, однако, отметить, что в отечественных нормативных правовых актах
пока отсутствуют термины «техносфера», «биосфера», хотя они уже установлены в
ИСО 13600 применительно к функционированию технических энергетических систем. В
многочисленных отечественных статьях проблемы энергосбережения рассматриваются
также совместно с проблемами охраны окружающей среды.
Кроме того, традиционно при установлении требований к уровню
экономичности продукции стремятся обеспечить минимум расходования всех видов
материальных, трудовых и финансовых ресурсов, т.е. наряду с собственно
техническими (технологическими) и экологическими проблемами в комплексе
рассматривают также социальные вопросы затрат труда и ресурсные вопросы затрат
материалов, топлива и энергии.
Настоящий стандарт применяют для определения, описания, анализа и
сравнения технологической энергоемкости при производстве продукции и оказании
услуг в технологических энергетических системах в целях обеспечения единой
методической основы энергетического выбора при принятии хозяйственных решений
любого уровня.
Номенклатуру и значения показателей технологической энергоемкости
производства продукции (веществ, материалов, комплектующих изделий,
оборудования) выбирают и устанавливают в удельной форме, как правило, в
стандартах предприятия и в документации на конкретные технологические процессы.
Показатели технологической энергоемкости оказания материальных услуг
устанавливают в удельной форме в договорах, контрактах и другой документации на
услуги.
Удельный показатель технологической энергоемкости производства продукции
и оказания услуги формируется, как правило, под воздействием
ресурсно-экономических, технологических, экологических и социальных аспектов
деятельности с учетом значений показателей, выраженных, например, в денежном
эквиваленте, включая затраты на:
а) используемые топливно -энергетические ресурсы;
б) технологические процессы преобразования сырья, веществ, материалов,
комплектующих изделий в конечную продукцию;
в) мероприятия по охране окружающей среды и экологическому управлению;
г) обучение и повышение квалификации кадров, от которых зависят затраты
на мероприятия по энергосбережению на рабочих местах и обеспечение безопасности
труда.
Технология, обеспечивающая наименьшую полную энергоемкость конечных видов
продукции и услуг при нормированных удельных энерго -затратах на производство
продукции, является более энергоэффективной.
9.2 Ресурсосбережение
Центральное место в товарообороте занимают производственные предприятия,
так как именно они изготавливают материальные ценности. Поэтому для производств
резко встает вопрос о снижении себестоимости товара. Финансовая политика
предприятия напрямую воздействует на его состояние, как в настоящий момент
времени, так и в будущем. От ресурсов зависит экономическое развитие и
загруженность производственных мощностей предприятия. Крайне остро данный
вопрос для российских предприятий встал в начале девяностых годов, так как
именно тогда все отечественные предприятий столкнулись с проблемой нехватки
ресурсов и не могли обеспечить нормальную, бесперебойную работу.
Именно в тех непростых условиях становления рыночной экономики новой
России повысился интерес к проблемам эффективного и разумного использования
ресурсов. Выбор наиболее выгодной стратегии зависит от настоящих экономических
условий, которые требовали незамедлительного изменения сложившейся на тот
момент практики управления для скорейшей нормализации производственного
процессе. Успех предприятия и даже его выживание зависели от того, какая была
выбрана программа энергосбережения и ресурсосбережения. Многие производства на
данном этапе прекратили свое существование. Но не стоит думать, что успешно
преодолевшие тот период предприятия не сталкиваются с данной проблемой в
настоящий момент, т.к. существует масса причин, которые заставляют заниматься
изучением ресурсосбережения сейчас. Они различны, однако, в целом их можно
разделить на несколько видов:
улучшение финансового положения;
повышение производительности и наращивание производства.
Мероприятия по ресурсосбережению в свою очередь делятся на
производственно-технические и организационно-экономические.
Производственно-технические мероприятия используют изменение самой продукции с
целью снижения материалоемкости для ее производства без ущерба для качества.
Одним из наиболее перспективных направлений в данной области является
использование при изготовлении новых материалов синтетических, композитных и
т.д. Организационно-экономические мероприятия направлены на улучшение учета
материальных ресурсов, повышение культуры производства и кадров,
задействованных в процессе производства, углубление специализации каждого
работника и повышении его профессионализма, а так же его личную
заинтересованность в экономии ресурсов. Сюда же относится и вторичное использование
отходов собственного производства.
В результате выполнения раздела по энергосбережению были изучены и
разработаны мероприятия по энергосбережению и ресурсосбережению в сельском
хозяйстве и на промышленных предприятиях.
10. РАСЧЕТ ЭКОНОМИЧЕСКОЙ ЭФФЕКТИВНОСТИ МОДЕРНИЗИРОВАННИзм.
Расчет экономической эффективности модернизированной конструкции
10.1 Исходные данные
В связи с изменением конструкции, добавлением дополнительных узлов и
механизмов в проектном варианте, цена модернизированного комбайна уменьшается
от исходной.
Таблица 10.1 - Исходные данные
|
Наименование показателя
|
Единицы измерения
|
Значение показателя
|
|
|
КЗС - 1218 Базовый
|
КЗС - 1218 Проектный
|
|
Технологический процесс - Заготовка зерна(пшеница)
|
|
Цена:
|
Долл.США
|
105000
|
103400
|
|
Производительность за час: Сменного и эксплуатационного
|
Тонн
|
7
|
7
|
|
Удельный расход топлива
|
Кг/Га
|
6
|
6
|
|
Норматив годовой загрузки:
|
час
|
130
|
130
|
|
Нормативный коэффициент отчислений: -на текущий ремонт и
ПТО
|
%
|
0,098
|
0,098
|
|
Коэффициент перевода цены в балансовую стоимость
|
|
1,02
|
1,02
|
|
Нормативный коэффициент эффективности капитальных вложений
|
|
0,15
|
0,15
|
|
Количество обслуживающего персонала
|
чел.
|
1
|
1
|
|
Разряд выполняемых работ
|
|
6
|
6
|
|
Срок службы:
|
лет
|
10
|
10
|
|
Цена одной тонны пшеницы
|
тыс.руб/т
|
2000000
|
2000000
|
10.2. Расчет экономических
показателей эксплуатации сельскохозяйственной техники
Приведенные затраты на единицу наработки в рублях определяют по формуле:
где:
-
прямые эксплуатационные затраты на единицу наработки,
тыс.руб./ед.наработки;
К
- коэффициент эффективности капитальных вложений;
Ккап.вл
-капитальные вложения на единицу наработки, тыс.руб./ед.наработки.
Прямые
эксплутационные затраты на единицу наработки в рублях определяются по формуле:
где:
-
- затраты на оплату труда обслуживающего персонала,
тыс.руб./ед.наработки;
-
затраты на горюче -смазочные материалы и электроэнергию, тыс.руб./ед.наработки;
-
затраты на техническое обслуживание, текущий и капитальный ремонт,
тыс.руб./ед.наработки;
- прочие
прямые затраты на основные и вспомогательные материалы (смена, удобрения,
проволоку и т.д.), тыс.руб./ед.наработки.
Расходы
на оплату труда согласно законодательству Республики Беларусь включают в себя
затраты на основную и дополнительную заработную плату (ФОТ). Фонд оплаты труда:
где:
-
- основная заработная плата, тыс.руб.;
-
дополнительная заработная плата, тыс.руб.Дополнительная заработная плата
составляет 10…20% Зосн.
Отчисления.
Отчисления
на социальные нужды. В соответствии с Законом Республики Беларусь № 6368 - 3 от
31.01.2000 «О внесении дополнений в некоторые законодательные акты» отчисления
в Фонд социальной защиты осуществляются в размере 35 % от расходов на оплату
труда (ФОТ).
Чрезвычайный налог.
Чрезвычайный налог согласно законодательству Республики Беларусь
составляет 3 % от фонда заработной платы.
Отчисления в фонд содействия занятости.
Отчисления в фонд содействия занятости согласно законодательству
Республики Беларусь составляет 1 % от фонда заработной платы. Согласно
законодательству Республики Беларусь чрезвычайный налог и отчисления в фонд
содействия занятости выплачиваются единым платежом в размере 4 % от фонда
заработной платы.
Затраты на оплату труда обслуживающего персонала в рублях на единицу
наработки определяется по следующей формуле:
где:
-
- производительность агрегата или рабочего за 1 час
сменного времени, т/час;
количество
j -того производственного персонала, чел;
-
часовая тарифная ставка оплаты труда обслуживающего персонала поэтому разряду
выполняемых работ, тыс. руб./чел. -час определяется по формуле:
где:
-
- тарифная ставка первого разряда в месяц (С1р=
298000 руб.);
рабочий
фонд времени в 2016 году (согласно производственному календарю на 20163 год
);
-
тарифный коэффициент по единой тарифной сетке для рабочих, работающих в
нормальных производственных условиях по пятому разряду выполняемых работ.
тыс.руб./час
где:
-
- коэффициент, учитывающий доплаты по расчету за
продукцию, премии, надбавки за классность и стаж работы, квалификацию, оплату
отпусков и начисления по социальному страхованию:
где:
-
- повышающий коэффициент, составляет 2,28 от
основного заработка;
-
корректирующий коэффициент, составляет 1,19 от основного заработка;
- за
стаж работы, составляет 0,2 от основного заработка;
- за
классность, составляет 0,15 от основного заработка;
- за
профессиональное мастерство, составляет 0,24 от основного заработка;
Кроме
того, в коэффициент доплат включают следующие коэффициенты, согласно
законодательству РБ:
-
отчисления на социальное страхование, составляют 0,35 от фонда оплаты труда;
-
отчисления в фонд занятости, составляют 0,01 от фонда оплаты труда и
чрезвычайный налог, составляют 0,03 от фонда оплаты труда, являются единым
платежом.
Для
базового и проектного вариантов относительная величина коэффициента доплат
равна:
- разряд
выполняемых работ по ЕСТ.
Согласно
исходным данным производительность агрегата за 1 час сменного времени:
для
базового варианта:
Га/час;
для
проектного варианта:
Га/час;
Затраты
на оплату труда обслуживающего персонала на единицу наработки:
тыс.
руб.
Затраты
на горюче - смазочные материалы в рублях на единицу наработки определяют по
формуле:
,
где:
-
- расход горюче -смазочных материалов, кг/га;
- цена
(без НДС) 1 кг топлива (включая стоимость смазочных материалов), руб./кг.
Согласно
исходным данным расход ГСМ равен:
для
базового варианта:
кг/га;
для
проектного варианта:
кг/га.
Произведем
расчет цены 1 кг топлива (без НДС): плотность дизельного топлива составляет
. Согласно данным ОАО «Беларуснефть» на 01.05.2016
цена 1 литра дизельного топлива с НДС равна 12300 рублей, следовательно цена 1
кг топлива =
руб. Согласно законодательству РБ ставка налога на
добавленную стоимость составляет 18%.
Цена
1 кг дизельного топлива без НДС равна:
тыс.руб./кг
Затраты
на ГСМ (в тыс. руб./га):
тыс.
руб./га
Для
перевода затрат на ГСМ из тыс.руб/Га в тыс.руб/т используем урожайность на 2015
год, которая, согласно данным Министерства статистики и анализа Республики
Беларусь составила 3,65 т/Га. Таким образом, затраты на ГСМ (в тыс.руб/т) для
базового и проектного варианта:
тыс.
руб./т
Затраты
на техническое обслуживание, текущий и капитальный ремонты по нормативам
отчислений от балансовой цены машины определяют по следующей формуле:
где:
-
- балансовая стоимость рассматриваемой техники, тыс.
руб.;
-
коэффициент отчислений на ТО и ТР;
Коэффициент
отчислений на ТО и ТР согласно исходным данным:
для
базового:
для
проектного:
-
коэффициент отчислений на капитальный ремонт;
Коэффициент
отчислений на капитальный ремонт равен
, так как
данная техника является новой.
-
производительность агрегата за 1 час эксплуатационного времени, ед.
наработки/час;
Согласно
исходным данным производительность агрегата за 1 час эксплуатационного времени:
для
базового вариантов:Wэ = 7 т/час;
для
проектного вариантов:Wэ = 7 т/час;
Тз
- нормативная годовая загрузка, час.
Зональная
годовая загрузка согласно исходным данным:
для
базового и проектного вариантов:
час.
Балансовая
стоимость:
где
- цена приобретения без уплаты налогов;
-
коэффициент перевода цены в балансовую стоимость.
Цена
приобретения без НДС рассчитывается по формуле :
.
Цена
приобретения рассчитывается по формуле:
где Ц - цена в долларах США;
Кusd - курс доллара США.
Согласно
исходным данным
.Согласно курсу валют Национального банка Республики
Беларусь на 01.05.2016 стоимость 1 доллара США составляет 19200 руб.
Цена
и балансовая стоимость:
для
базового варианта:
Цпр
=
тыс.руб.
тыс.руб.
Бс
=
тыс.руб.
для
проектного варианта:
Цпр
=
тыс.руб.
тыс.руб.
Бс
=
тыс.руб.
Затраты
на техническое обслуживание, текущий и капитальный ремонты по нормативам
отчислений от балансовой цены машины:
для
базового вариант:
тыс.руб./т
для
проектного варианта:
тыс.руб./т
Затраты
на реновацию машины в рублях на единицу наработки определяют по формуле:
где:
- коэффициент отчислений на реновацию машины:
где:
- срок службы, лет
Согласно
исходным данным для проектного и базового вариантов срок службы равен:
лет.
Коэффициент
отчислений на реновацию машины для базового и проектного варианта равен:
Затраты
на реновацию:
для
базового вариант:
тыс.руб./т
для
проектного варианта:
тыс.руб./т
Прочие
прямые затраты в связи с технологическим процессом не предусматриваются:
тыс.руб.
Капитальные
вложения по машине в рублях на единицу наработки определяют по следующей
формуле:
,
для
базового варианта:
измельчитель:
тыс.руб./т
для
проектного варианта:
тыс.руб./т
Прямые
эксплуатационные затраты на единицу наработки:
для
базового варианта:
тыс.руб./т
для
проектного варианта:
тыс.руб./т
Коэффициент
эффективности капитальных вложений принимают равным:
.
Определяем
приведенные затраты на единицу наработки:
для
базового варианта:
тыс.руб./т
для
проектного варианта:
тыс.руб./т
Затраты
труда в человеко - часах на единицу наработки при выполнении машиной или
рабочим производственного процесса определяют по формуле:
где:
-
- количество производственного персонала, чел.
-
производительность агрегата за 1 час сменного времени для базовогоWс=7 т/час,
проектного варианта
т/час.
Тогда
затраты труда на единицу наработки равны:
чел.
-час/т
Зональная
годовая наработка для машины определяется по формуле:
Определяем
зональную годовую наработку:
т.
Результаты
расчетов сводим в итоговую таблицу экономических показателей.
Таблица
10.2 Экономические показатели
|
Наименование показателей
|
Единицы измерения
|
Значение показателя
|
|
|
Базовый вариант
|
Проектный вариант
|
|
1. Балансовая стоимость
|
тыс. руб.
|
1742645
|
1716090
|
|
2. Затраты труда
|
чел.-час/т
|
0,143
|
|
3. Прямые удельные эксплутационные затраты:
|
тыс.руб./т
|
|
|
|
3.1 на оплату труда……………..
|
|
2,119
|
2,119
|
|
3.2 на ГСМ……………………… 3.3 на ремонт и плановое ТО….
|
|
19,56 187,7
|
19,56 182,9
|
|
3.4 на реновацию……………….
|
|
191,5
|
188,6
|
|
Итого……………………………
|
|
400,9
|
393,2
|
|
4. Удельные капиталовложения
|
тыс.руб./т
|
1915
|
1885,8
|
|
5. Приведенные затраты
|
тыс.руб./т
|
688,15
|
676
|
10.3 Расчет итоговых показателей экономической
оценки
К итоговым показателям экономической оценки относятся следующие
экономические показатели:
. годовой экономический эффект от изменения приведенных затрат и
сокращения потерь при эксплуатации проектного варианта сельскохозяйственной
техники;
. экономический эффект от производства и использования за срокслужбы
агрегата;
. лимитная цена модернизированного агрегата.
Годовой экономический эффект характеризует годовой прирост прибыли при
данном использовании модернизированного агрегата в сравнении с базовой моделью
и определяется по формуле:
Годовой
экономический эффект от изменения приведенных затрат характеризует годовой
прирост прибыли в зависимости от приведенных затрат в модернизированный агрегат
в сравнении с базовой моделью и определяется по формуле:
Годовой
экономический эффект от изменения приведенных затрат:
тыс.руб.
Годовой
экономический эффект характеризует годовой прирост прибыли при данном
использовании модернизированного агрегата в сравнении с базовым вариантом и
равен:
Подставляя
значения получим:
тыс. руб.
Экономический
эффект, от производства и использования за срок службы агрегата, характеризует
прирост прибыли, получаемый за время всего срока эксплуатации и определяется по
формуле:
Подставляя
значения получим:
тыс. руб.
Лимитнаяценахарактеризуетпредельнуюценумодернизированногоагрегата
с учетом коэффициента гарантии потребителю и определяется по формуле:
где:
-
-коэффициент гарантии потребителю экономического
эффекта от использования новой машины.
Коэффициент
гарантии, обеспечивающий потребителю экономический эффект от использования
новой машины, принимают
.
Подставляя
значения получим:
тыс.
руб.
Результаты
расчета итоговых показателей экономической оценки сводим в таблицу10.3.
Таблица10.3
Итоговые показатели экономической оценки
|
Наименование показателя
|
Ед. измерений
|
Значение показателя
|
|
1. Годовой экономический эффект в том числе: - от изменения
приведенных затрат
|
тыс. руб.
|
11056,5
|
|
2. Экономический эффект от производства и использования за
срок службы агрегата
|
тыс. руб.
|
44226
|
|
3. Лимитная цена
|
тыс. руб.
|
1408252,8
|
10.4 Технико-экономический анализ результатов разработки
Технико-экономический анализ результатов разработки проводим при помощи
показателей приведенных в таблице 10.4
Таблица10.4 Технико-экономические показатели
|
Наименование показателя
|
Единицы измерения
|
Значение показателя
|
|
|
КСК -600 Базовый
|
КСК -600 Проектный
|
|
Технологический процесс - кошение кукурузы
|
|
Цена:
|
Долл.США
|
105000
|
103400
|
|
Производительность за час: Сменного и эксплуатационного
|
Тонн
|
7
|
7
|
|
Удельный расход топлива
|
кг/Га
|
6
|
6
|
|
Норматив годовой загрузки:
|
час
|
130
|
130
|
|
1. Годовой экономический эффект в том числе:- от изменения
приведенных затрат
|
тыс. руб.
|
11056,5
|
|
2. Экономический эффект от производства и использования за
срок службы агрегата
|
тыс. руб.
|
44226
|
|
3. Лимитная цена
|
тыс. руб.
|
1408252,8
|
Вывод: балансовая стоимость после внедрения уменьшилась.
По расчетам были получены следующие данные: годовой экономический эффект
от реализации внедрения ожидается в размере 11056,5 тыс. белорусских рублей.
Экономический эффект от производства и использования за весь срок службы
составит 44226 тыс. Белорусских рублей. Лимитная цена 1408252,8 тыс.
белорусских рублей. Таким образом экономический эффект за срок службы
положителен т.к. балансовая стоимость уменьшилась. Данная модернизация более
выгодна производителю, она позволяет повысить конкурентоспособность комбайна.
Соответственно, можно сделать вывод о целесообразности модернизации.
ЗАКЛЮЧЕНИЕ
Данный дипломный проект посвящен модернизации крышки бункера комбайна
КЗС-1218 с целью увеличения объёма.
В ходе выполнения проекта произведены кинематический, энергетический и
прочностной расчеты.
По полученным результатам можно утверждать, что объём модернизированного
бункера увеличился. Кроме того все разработанные мероприятия увеличивают
пропускную способность бункера и повышают надежность.
В результате выполнения дипломного проекта годовой экономический эффект
составил за весь срок службы 44226 тыс. руб. Лимитная цена 1408252,8 тыс.
белорусских рублей. Можно сделать вывод о целесообразности модернизации.
ЛИТЕРАТУРА
1. Анурьев В.
И. ,,Справочник конструктора машиностроителя’’, в 3 -х томах, М.,
,,Машиностроение’’, 1975 г
. Аванесов
Ю.Б., Бессарабов В.И., Русанов И.И. Свеклоуборочные машины. М.:Колос, 1979.
-351с.
. Босой Е.
С., Верняев О. В. и др. ,,Теория, конструкция и расчет сельскохозяйственных
машин’’, 2 -ое издание, М. Машиностроение 1978 г.
. Волков Ю.
И. ,,Справочник конструктора сельскохозяйственной техники’’, в 2 -х томах, М.,
,,Машиностроение’’, 1962 г
. Дарков А.
В., Шпиро Г. С. ,,Сопротивление материалов’’, М., ,,Высшая школа’’,1989 г Изм.
6. Ефаменко
В. И. ,,Эффективность комплексной механизации и автоматизации’’, М.,
,,Экономика’’, 1983 г.
. Иванов В.
Н., Иванов М. Н. ,,Детали машин’’, Учебное пособие для машиностроительных
специальностей, М., ,,Высшая школа’’, 1975 г.
8. Карпенко A.M., Халанский В.М. Сельскохозяйственные машины: М.,
«Колос», 1983.
9.
Комплексная механизация производства сахарной свеклы/ А.А.Василенко, П.Т Бабий,
П.В. Савич и др. -К.: УСХА, 1962. -235с.
. Кузьмин А.
В., Чернин И. М. ,,Расчеты деталей машин’’, Мн., ,,Высшая школа’’,1986 г.
. Машанин А.
А. ,,Технология машиностроения’’, М., ,,Высшая школа’’,1985г
12. Карпенко A.M., Халанский В.М. Сельскохозяйственные машины: М.,
«Колос», 1983.
. Теория, конструкция и расчет сельскохозяйственных машин под редакцией
Е.С.Босого, М., «Машиностроение», 1978.
14. М/У N
1654 ,,Методическое пособие по расчету экономической эффективности
проектирования, изготовления и внедрения металлорежущих станков для студентов
машиностроительных специальностей’’.
15. Справочник конструктора сельскохозяйственных машин, т.З, под ред.
Клёцкина М.И., М., «Машиностроение», 1968.
16. Решетов
Д. Н. ,,Детали машин’’, М., ,,Высшая школа’’,1989 г
. Полтеев М.
Н. ,,Охрана труда в машиностроении’’, Мн., ,,Высшая школа’’,1980 г.
18. Руководство по эксплуатации зерноуборочного комбайна КЗС-812.
19. Турбин Б.
Г., Лурьев А. Б., Григорьев С. М. ,,Сельскохозяйственные машины. Теория и
технологический расчет’’, 2 -ое издание, М. Машиностроение, 1967 г
. Шкред В.
А., Горбацевич А. Ф. ,,Курсовое проектирование по технологии машиностроения’’,
Мн., ,,Высшая школа’’,1983 г.