Проблемы очистки сточных вод и новые решения бурения на суше и на море

  • Вид работы:
    Курсовая работа (т)
  • Предмет:
    Экология
  • Язык:
    Русский
    ,
    Формат файла:
    MS Word
    957,43 Кб
  • Опубликовано:
    2015-10-05
Вы можете узнать стоимость помощи в написании студенческой работы.
Помощь в написании работы, которую точно примут!

Проблемы очистки сточных вод и новые решения бурения на суше и на море

ФЕДЕРАЛЬНОЕ АГЕНТСТВО ПО ОБРАЗОВАНИЮ

Российский государственный университет нефти и газа

ИМЕНИ И.М. ГУБКИНА










Курсовая работа

Проблемы очистки сточных вод и новые решения бурения на суше и на море

Выполнила:

Аврора В.Б.






Москва

Содержание

Введение

.        Литературный обзор

.1      Бурение на суше и море

.2      Водопользование при бурении. Оборотное водоснабжение

.3      Буровые сточные воды

.4      Методы очистки буровых сточных вод

.        Расчётная часть

Заключение

Список литературы

Введение

При нынешних темпах развития производственных сил и освоения углеводородных ресурсов вопросы охраны окружающей среды приобретают особую остроту и социальную значимость. Отличительная особенность воздействия процессов бурения - высокая интенсивность и кратковременность формирования значительных техногенных нагрузок на объекты гидро-, лито- и биосферы, которые нередко превышают пороговые нагрузки и тем самым приводят к негативным последствиям. Причём такой характер техногенного воздействия создаёт реальную угрозу экологического стресса в районах массового бурения.

Увеличение объёмов бурения и переработки также требует увеличения водоснабжения, а значит и водоочистки. Данная работа посвящена проблеме эффективной очистке буровых сточных вод.

Цель работы: проанализировать проблемы бурения, негативное влияние буровых сточных вод на окружающую среду, технологии очистки.

1. Литературный обзор

1.1    Бурение на суше и море

Бурение скважин - сложный технологический процесс строительства ствола буровых скважин, состоящий из следующих основных операций:

.        углубление скважин посредством разрушения горных пород буровым инструментом;

.        удаление выбуренной породы из скважины;

.        крепление ствола скважины в процессе ее углубления обсадными колоннами;

.        проведение комплекса геолого-геофизических работ по исследованию горных пород и выявлению продуктивных горизонтов;

.        спуск на проектную глубину и цементирование последней (эксплуатационной) колонны.

При бурении порода разрушается буровыми долотами, а забой скважин обычно очищается от выбуренной породы потоками непрерывно циркулирующей промывочной жидкости (бурового раствора), реже производится продувка забоя газообразным рабочим агентом.

Скважины углубляют, разрушая забой по всей площади (без отбора керна) или периферийной части (с отбором керна). В последнем случае в центре скважины остается колонка породы (керн), которую периодически поднимают на поверхность для изучения пройденного разреза пород.

Цели и назначение буровых скважин различные. Эксплуатационные скважины закладывают на полностью разведанном и подготовленном к разработке месторождении. В категорию эксплуатационных входят не только скважины, с помощью которых добывают нефть и газ (добывающие скважины), но и скважины, позволяющие организовать эффективную разработку месторождения (оценочные, нагнетательные, наблюдательные скважины). [1]

Рис. 1.1.Общая схема буровой установки

- буровое долото; 2 - УБТ; утяжелённые бурильные трубы; 3 - бурильные трубы; 4 - кондуктор; одна из разновидностей станочных приспособлений, применяемая при обработке отверстий на сверлильном станке; 5 - устьевая шахта; 6 - противовыбросовое устройства; 7 - пол буровой установки; 8 - буровой ротор; механизм, являющийся многофункциональным оборудованием буровой установки, который предназначен для вращения бурильных труб и поддержания колонны бурильных или обсадных труб при свинчивании и развинчивании в процессе спускоподъемных операций, при поисковом бурении и капитальном ремонте скважин. Привод - цепной или карданный. 9 - ведущая бурильная труба; 10 - буровой стояк; 11 - вертлюг; важный элемент буровой установки, который обеспечивает возможность свободного вращения долота с одновременным подводом промывочной жидкости в буровую колонну. Вертлюг устанавливается между талевой системой и буровым инструментом, предотвращая скручивание каната. 12 - крюк; 13 - талевый блок; алевая (полиспастовая) система или оснастка буровых установок предназначена для преобразования вращательного движения барабана лебёдки в поступательное (вертикальное) перемещение крюка, к которому крепится бурильная колонна, и уменьшения нагрузки на ветви каната; 14 - балкон верхового рабочего; 15 - кронблок; 16 - талевый канат; 17 - шланг ведущей бурильной трубы; 18 - индикатор нагрузки на долото; 19 - буровая лебёдка;20 - буровой насос; 21 - вибрационное сито для бурового раствора; 22 - выкидная линия бурового раствора.[2]

бурение очистка сточный вода

Геологи исследуют как сушу, так и акватории морей и океанов. Если месторождение находят близко к берегу - в прибрежной зоне, то с суши в сторону моря строят наклонные разведочные скважины. Месторождения, которые находятся дальше от берега, относятся уже к зоне шельфа. Для таких месторождений используют плавучие платформы и буровые установки, а если глубина небольшая - просто высокие сваи, с которых ведется бурение.[3]

Бурение скважин на море труднее и дороже, чем на суше. Обусловлено это наличием над придонным устьем скважины водного пространства, необходимостью применять специальные морские основания для размещения на них бурового оборудования и выполнения с них комплекса работ, связанных с проводкой скважины, сложными гидрологическими и метеорологическими условиями работы на акваториях (ветры и волнения, приливы, отливы и течения, туманы, морось, снег и горизонтальная видимость, ледовый режим, температура воздуха и воды) и т.д.

Ветры, волнения и течения водного пространства, находящегося над придонным устьем скважины, вызывают качку плавучей буровой установки, перемещение оборудования и инструментов по ее палубе, дрейф и снос установки в направлении ветра или течения. Качка оказывает неблагоприятное физиологическое воздействие на людей, работающих на буровой установке. Волнение моря вредно и при бурении со стационарных (неподвижных) установок, так как волны, обрушивающиеся на основание буровой, могут повредить его или полностью разрушить.

Рыхлые породы морского дна обычно сильно обводнены. При бурении в таких породах для обеспечения сохранности керна и устойчивости стенок скважин приходится использовать специальные технические средства и осуществлять технологические мероприятия, требующие дополнительных материальных затрат и удовлетворяющие жестким требованиям охраны окружающей среды от загрязнения.

Специфические гидрологические и метеорологические условия моря, ограничивают возможности и снижают эффективность применения способов, технических средств и технологий бурения, используемых на суше. Поэтому проблема повышения эффективности бурения скважин на море до сих пор является одной из самых важных в процессе вовлечения в производство минеральных ресурсов подводных месторождений.

Для бурения и последующей эксплуатации таких скважин экономически оправданным является создание дорогостоящих массивных стационарных, полустационарных и погружных конструкций оснований, которые позволяют размещать на них традиционную буровую технику и использовать хорошо отработанные на суше технологии бурения, добычи, сбора и подготовки нефти и газа к транспортированию.

Бурение разведочных скважин на море требует принципиально новых конструкций бурового оборудования и технологий, которые гарантировали бы проходку скважин с соблюдением требований безопасности, экологичности и обеспечивали бы высокое качество работ при наименьших затратах. Для создания таких технологий и техники необходимо обобщить и оценить имеющийся опыт применения современных технических средств и технологий бурения на море, научно обосновать рациональные пути их дальнейшего развития.[1]

Бурение морских разведочных скважин на незамерзающем шельфе проводится почти исключительно с буровых установок погружного, полупогружного, самоподъёмного типов и буровых судов. Бурение эксплуатационных скважин ведётся со стационарных буровых платформ одним или двумя буровыми станками. Куст морских скважин на стационарной платформе может содержать от 12 до 96 скважин. Наметилась тенденция к росту числа эксплуатационных скважин с подводным закачиванием устья, бурение которых ведётся с самоподъёмных или полупогружных платформ.[4]

Рис. 1.2. Буровая платформа[15]

. Трубопровод (экспорт);2. Бетонная подложка; 3. Окаймляющая свая; 4. Сваи; 5. Анод; 6. Проводники; 7. Экспортный элемент; 8. Опорная стойка каркаса

Рис. 1.3. Буровая платформа.[15]

. Бампер платформы; 10. Место пришвартовки лодок; 11. Ограждения для свай; 12. Центр устройства управления двигателем и здание контроля за распределительным устройством; 13. Аварийно-спасательная капсула; 14. Место проживание рабочих; 15. Посадочная площадка для вертолетов; 16. Оптовые хранилища; 17. Насос бурового раствора; 18. Кран; 19. Факел; 20. Газовый компрессор

Рис. 1.4. Производственная палуба.[15]

21. Насос для нагнетания воды в пласт; 22. Генератор; 23. Деаэратор; 24. Утилизатор отходящего тепла; 25. Брандмауэр; 26. Хранилище дизельного топлива; 27. Устья скважин; 28. Блок дозирования химических реагентов; 29. Производственный коллектор; 30. Производственный сепаратор; 31. Нагреватель сырой нефти; 32. Измерительный и чистящий сепаратор; 33. компрессор газа

Рис. 1.5.Палуба переработки.[15]

34. Пригодное для питья хранилище воды; 35. Главный генератор; 36. Водный насос; 37. Фильтр грубой очистки; 38. Охлаждающая вода; 39. Воздушный компрессор; 40. Насосы морской воды; 41. Газовый лифт и форсунка для впрыска воды; 42. Насос «противопожарной воды»; 43. Холодильник сырой нефти; 44. Насос трубопровода сырой нефти; 45. Сепаратор; 46. Вход в сепаратор; 47. Регенератор гликоля; 48. Шлам уловитель; 49. Покрытая металлом палуба; 50. Факел

1.2    Водопользование при бурении. Оборотное водоснабжение

Основным направлением природоохранных работ в рамках отраслевой стратегии создания экологически безопасной малоотходной ресурсо- и природосберегающей технологии строительства скважин является максимальная утилизация образующихся отходов бурения. Решение этого вопроса невозможно без перехода на замкнутый цикл водообеспечения буровой. Процесс бурения - водопотребный технологический цикл. Поэтому одним из основных требований к технологии бурения должно быть обязательное введение оборотного водоснабжения буровой с ориентацией на использование БСВ для различных технических целей бурения.

Водопотребление - это расход воды по целевому назначению на различные технологические нужды процесса бурения. Соответственно основным функциям воды в технологическом процессе бурения формируются и требования к ее качеству. Ввиду многообразия природно-климатических условий и особенностей технологии проводки скважин нет единых и универсальных требований к замкнутым и бессточным системам водообеспечения буровой. Можно лишь сформулировать наиболее общие признаки, характерные для бурения. При проектировании системы оборотного водоснабжения необходимо осуществлять водоподготовку в тесной увязке с основной технологией. Для этого следует иметь:

рациональную научно обоснованную схему использования технической воды в водопотребных точках буровой с учетом требований к качеству воды во всех технологических операциях и многократного повторно-последовательного ее применения;

рациональную систему канализации БСВ;

локально-замкнутую систему технического водоснабжения буровой;

рациональную технологию очистки и доочистки БСВ с учетом возможности безопасного сброса в объекты природной среды, откачки в нефтепромысловый коллектор для использования в системе поддержания пластового давления или закачки в поглощающие горизонты на захоронение.

При разработке схем водопотребления и водоотведения необходимо производить оценку качества БСВ как по концентрационному признаку, так и по характеру загрязнения для обоснованного выбора необходимого метода и технологии очистки и доочистки сточных вод с учетом утилизации или сброса очищенных вод в объекты природной среды. Причем очистке и утилизации должен подвергаться такой объем стоков, при котором остаточная загрязняющая нагрузка, отводимая с очищенными сточными водами при их сбросе в объекты лито- и гидросферы, не превышала пороговой ассимилирующей способности природной среды в районе ведения буровых работ.

При переходе на замкнутую систему оборотного водоснабжения буровой необходимо учитывать возможные негативные последствия перехода на полностью или частично замкнутый цикл (ухудшение качества технологических операций, усиление коррозии, биообрастание и т.д.). Основными технологическими точками использования БСВ в системе оборотного водоснабжения буровой являются:

обмыв механизмов системы очистки и регенерации буровых растворов;

обмыв бурильного инструмента при проведении спускоподъемных операций;

обмыв оборудования и рабочих площадок вышечного, насосного и силового блоков, а также желобной системы;

охлаждение штоков буровых насосов;

приготовление химреагентов и бурового раствора;

приготовление тампонажных растворов и буферных жидкостей при цементировании скважин;

опрессовка обсадных труб.[5]

Источниками образования и загрязнения буровых сточных вод являются: насосная группа, дизельный блок, рабочая площадка буровой вышки, блок очистки буровых растворов, циркуляционная система, блок химреагентов, блок емкостей с запасным буровым раствором. Как свидетельствует промысловый опыт, наибольший объём буровых сточных вод образуется при охлаждении штоков шламовых насосов, мытье рабочей площадки буровой вышки, очистке буровых растворов от выбуренной породы на очистных сооружениях и зачистке емкостей циркуляционной системы от осадка бурового раствора.

Объём образующихся буровых сточных вод определяется множеством факторов. Из них наибольшее значение имеют глубина скважин, продолжительность бурения и удельный вес затрат времени на ликвидацию осложнений и аварий. В среднем суточные объёмы образующихся буровых сточных вод могут составлять 20 - 40 м3 на одну скважину (куст). Значительное влияние на объёмы оказывает также и система водоснабжения. Чем больше используется оборотной воды на технологические нужды, тем меньше объёмы сточных вод; но в то же время степень загрязненности их выше.

В процессе бурения скважин формирующиеся сточные воды загрязняются буровым раствором и его компонентами, выбуренной породой, химреагентами, нефтью и нефтепродуктами, в том числе и горюче-смазочными материалами (которые попадают в БСВ в местах, где производятся технологические операции с этими компонентами и где возможны их потери).

Вследствие многообразия природно-климатических условий и особенностей технологии проводки скважин единых и универсальных правил разработки замкнутых и бессточных систем водообеспечения буровой не имеется. Можно лишь сформулировать наиболее общие правила, являющиеся характерными для бурения .

Образующиеся при очистке буровых сточных вод осадки следует максимально утилизировать или обезвреживать. Принципиальная схема водообеспечения должна в общем случае предусматривать следующие блоки:

инженерную систему канализации стоков и их в места организованного сбора;

блок очистки буровых сточных вод;

блок накопления очищенных стоков;

водораспределительную ёмкость для направления технической воды на точки водоиспользования с целью вовлечения её в водооборот. [6]

1.3    Буровые сточные воды

Буровые сточные воды представляют собой агрегативно-устойчивую коллоидно-дисперсную систему, стабилизированную химреагентами, используемыми для обработки буровых растворов. В своем составе они содержат различные минеральные и органические вещества, представленные глиной, утяжелителем ( баритом, гематитом), нефтью и нефтепродуктами, химическими реагентами различной природы, растворимыми солями и другими соединениями. Они находятся в коллоидно-дисперсном и растворенном состояниях. Дисперсный состав обусловливается в основном минеральной составляющей буровых сточных вод.

Таблица 1.1. Дисперсный состав буровых сточных вод

Размер фракций, мкм

Содержание фракций, %


Данные ВНИИКРнефти

Данные ВНИИВОДГЕО

10

12.0

10.0

10-20

79.0

81.0

20-30

8.0

8.7

30-40

0.6

0.3

> 40

0.4

-


Буровые сточные воды вследствие их высокой подвижности и аккумулирующей способности к загрязнителям являются значительным и самым опасным отходом при бурении, способным загрязнить обширные зоны гидро - и литосферы. Они образуются при различных технологических операциях. Химические реагенты ( основные загрязнители) попадают в них в процессе приготовления бурового раствора, хранения и приготовления химических реагентов, из емкостей для запаса бурового раствора.

Физико-химический состав буровых сточных вод изменяется в широких пределах.

Таблица 1.2. Физико-химический состав буровых сточных вод

Наименование показателя

Единица измерения

Количество

рН

б/р

7-10

Плотность

г/см3

1,0-1,2

Механические примеси

мг/л

180-13000

Нефтепродукты

мг/л

10-5300

Сухой остаток

мг/л

2880-12030

ХПК

мгО2/л

100-9300

БПК

мгО2/л

7-520

Общая минерализация

мг/л

1300-22600


По условиям образования БСВ можно разделить на три категории: производственные сточные воды, хозяйственно-бытовые и атмосферные.

Производственные сточные воды формируются в процессе выполнения различных технологических операций, работы механизмов, оборудования и устройств.

Хозяйственно-бытовые сточные воды на буровых предприятиях образуются в результате деятельности пунктов питания, объектов культурно-бытового и санитарно-гигиенического назначения.

Атмосферные сточные воды, образующиеся в результате выпадения атмосферных осадков, подразделяют на дождевые и талые (таяние снега и льда).

Буровые сточные воды характеризуются довольно высоким уровнем загрязненности и содержат в своем составе широкий спектр загрязнителей различной природы, представляющих опасность для объектов окружающей среды. Кроме того, по многим параметрам они не удовлетворяют не только требованиям их использования для различных технологических целей бурения, но и требованиям безопасного сброса в объекты природной среды. В то же время основным направлением природоохранных работ в рамках отраслевой стратегии создания экологически безопасной малоотходной ресурсе - и природосберегающей технологии строительства скважин является максимальная утилизация образующихся отходов бурения. Без этого не может быть решена также и проблема своевременной и качественной ликвидации шламовых амбаров как главного источника загрязнения природной среды в районах ведения буровых работ.

Взвешенные вещества в составе буровых сточных вод представлены глиной, частицами утяжелителя, высокомолекулярными соединениями, трудно- и не растворимыми минеральными солями, а также мелкодисперсными частицами выбуренной породы различного генезиса.

Нефть и нефтепродукты содержатся в буровых сточных водах в растворённом, эмульгированнном и плёночном состоянии. При этом наиболее трудноудаляемой является растворённая и эмульгированная нефть и её производные.

Наиболее трудноудаляемым загрязняющим компонентом буровых сточных вод является органика, представленная широкой гаммой химических реагентов, используемых в бурении. Количественное содержание оценивается по ХПК.

Растворимые примеси представлены преимущественно минеральными солями и некоторыми органическими соединениями. В сточных водах содержатся, как правило, хлориды, сульфаты, гидрокарбонаты натрия, калия, кальция, магния. Содержание на практике оценивается по показателю "сухой остаток" или удельной электропроводимостью.

Состав и свойства БСВ изменяются в значительных пределах как на разных буровых, так и при бурении одной и той же скважины, а также при проведении отдельных технологических операций.

Таблица 1.3. Требования, предъявляемые к водам для технических нужд бурения

Содержание взвешенных веществ, мг/л

Не более 250

Содержание нефти и нефтепродуктов, мг/л

Не более 25

Содержание ХПК, мг/л

Не более 400

Биохимическая потребность кислорода (БПК5) , мг/л

Не более 50

Жесткость, мг-экв/л

До 10

Сухой остаток, мг/л

Не более 10000

рН

6-8

При использовании воды такого качества на буровых не возникают осложнения в технологических операциях процесса бурения. Такие характеристики подходят для обмыва оборудования, отдельных механизмов.[6]

Однако для буровых растворов воду очищать нужно в иных пределах, т.к. при высоком содержании в её составе загрязнителей, ухудшаются фильтрационные показатели:

Таблица 1.4. Требования к водам, используемым в буровых растворах

Содержание взвешенных веществ, мг/л

Не более 1500

Содержание нефти и нефтепродуктов, мг/л

Не более 50

Содержание ХПК, мг/л

Не более 750

Сухой остаток для пресных растворов, мг/л

Не более 4500

Сухой остаток для минерализованных растворов , мг/л

Не более 8000

рН

6-10


1.4    Методы очистки буровых сточных вод

Выбор метода очистки буровых сточных вод зависит в основном от степени дисперсности частиц, физико-химических свойств и концентрации примесей, а также требований, обусловленных направлением утилизации очищенной воды.

Основным принципом выбора метода очистки является состав сточной воды. Среди многообразия подходов в настоящее время наиболее удачным и общепринятым считается подход, предложенный Л.А.Кульским (Табл. 1.5.). Его основу составляет классификация примесей по признаку фазового дисперсного состояния веществ в растворах. Согласно нему, все примеси, содержащиеся воде, делятся на четыре группы:

.Взвеси в виде тонкодисперсных суспензий и эмульсий.

.Коллоидный и высокомолекулярные соединения.

.Растворимые органические вещества и газы.

.Растворимые минеральные соли.

Загрязнители БСВ, относящиеся к первым двум группам, представляют собой итерогенные системы со специфической кинетической и агрегативной устойчивостью. Они как правило являются термодинамическими неустойчивыми системами. Загрязнители третьей и четвёртой групп относятся к гомогенным системам и являются термодинамическими неустойчивыми, обратимыми системами.[6]

Табл. 1.5. Классификация сточных вод по Л.А.Кульскому[7]

Характеристика системы

Размер частиц, м

Показатели системы

Методы очистки сточной воды

Дисперсные системы

1. Взвеси, суспензии, эмульсии

10-3-10-5

Мутность

Отстаивание, центрифугирование, фильтрование

2.Коллоиды, растворы высокомолекулярных соединений

10-5-10-8

Окисляемость и цветность

Флотация, коагуляция, флокуляция, биологическая очистка

Растворы

3. Молекулярные растворы, органические вещества, газы

10-9

Запахи и привкусы

Химические методы, нейтрализация, окисление, экстракция, биологическая очистка

4. Ионные растворы - электролиты, соли кислоты , основания

10-10

Минерализация

Сорбционные, термические методы, обратный осмос


Для очистки воды от веществ первой группы наиболее эффективны методы, основанные на использовании естественных и многократно усиленных сил гравитации, а также сил адгезии. Характерной особенностью загрязнителей второй группы является их способность к образованию устойчивой коллоидно-дисперсной системы. Для очистки воды от таких загрязнителей целесообразно применять коагуляционные методы, основанные на использовании веществ, изменяющих состав и концентрацию дисперсной фазы. Загрязнители третьей группы наиболее эффективно удаляются из воды методами физико-химического окисления, адсорбции и аэрирования. Удаление растворимых веществ (четвертая группа) из воды осуществляется путем их перевода в малорастворимые соединения, методом ионного обмена, а также мембранными методами.

Такой подход позволяет выбрать наилучший способ очистки воды разного состава. Учитывая, что буровые сточные воды по своему генезису являются гетерогенными коллоидно-дисперсными системами с высокой агрегативной устойчивостью, содержащими к тому же и растворимые примеси, то для очистки можно использовать практически все известные методы. Однако из-за преимущественного содержания в них веществ, находящихся в коллоидно-дисперсном состоянии, предпочтение в любом случае следует отдавать коагуляционным методам.

Поскольку в составе БСВ присутствуют примеси, относящиеся ко всем четырем группам, то следует оценить эффективность каждого из известных методов. Перечисленные методы существенно отличаются друг от друга принципом и характером заложенных в них физико-химических процессов, а также технико-технологическим оформлением. К ним относятся механические, физико-химические и биологические методы.

Сравнительная оценка эффективности методов очистки буровых сточных вод представлена на рисунке 1.6

Рис.1.6 Сравнительная оценка эффективности методов очистки буровых сточных вод.

Методы и техника доочистки буровых сточных вод.

Доочистка сточных вод предусматривает удаление из их состава растворимых минеральных солей. Основными методами деминерализации природных и сточных вод являются: физические (термический, гидротехнический), физико-химические (обратный осмос, электроосмос и электродиализ, ультрафильтрация) и химические (ионный обмен).

Из физических методов наибольшее распространение получил термический метод - термическая дистилляция (при высоких температурах) [8]. Сущность термической дистилляции заключается в выпаривании сточной или природной воды с последующим сбором дистиллята. Сущность вымораживания заключается в воздействии на воду низких отрицательных температур с последующим оттаиванием такой массы и сбором талых вод. Метод термической очистки оказывается весьма эффективным при исходной минерализации вод до 1,5%, а метод вымораживания - при минерализации до 0,7 % [9]. В результате очистки данными методами получают обессоленную воду с общей минерализацией до 50 мг/л и концентрированный раствор солей (рассол). Термические методы наиболее целесообразны в тех случаях, когда деминерализации подлежит небольшое количество сточных вод и другие методы их обработки оказываются не только экономически нецелесообразными, но и практически трудноосуществимыми.

Гидротехнический метод основан как на разбавлении солесодержащих природных и сточных вод чистой водой до удовлетворяющего заданным нормативам качества стоков уровня, так и на естественном испарении с последующим сбором конденсата. Применение такого метода наиболее целесообразно для вод с минерализацией до 1,2 %. При большем содержании солей в составе сточных вод данный метод требует значительного расхода пресной природной воды.

Используются в практике водоочистки и физико- химические методы [10]. Целесообразной областью применения этих методов является опреснение солоноватых сточных вод с содержанием минеральных солей до 3000 - 5000 мг/л [11].

Электродиализ - это процесс удаления (сепарации) ионов из сточных вод при их электролизе с использованием ионообменных (ионитовых) мембран. Ионнообменные (ионитовые) мембраны представляют собой гибкие тонкие ленты, изготовленные на основе катионообменной смолы (мембраны марки MK-4Q) и на основе анионообменной смолы (мембраны марки МА-40 и МА-41). Энергозатраты на осуществление процесса очистки не превышают, как правило, 3,5 (кВтч)/м3. Глубина очистки сточных вод с помощью электродиализа достигает 500 мг/л; более глубокая очистка нецелесообразна с экономической точки зрения.

Эффективным методом деминерализации сточных вод является метод обратного осмоса [12]. Обратный осмос, или гиперфильтраци - это процесс разделения растворов фильтрованием через полупроницаемые мембраны под давлением, превышающим осмотическое. Полупроницаемые мембраны пропускают молекулы воды, но не пропускают гидратированные ионы солей или молекулы недиссоциированных соединений. Таким образом, при гиперфильтрации получают чистую воду, которую можно сбрасывать в объекты природной среды или направлять в систему оборотного водоснабжения, и концентрированный раствор, который направляется либо на утилизацию, либо на захоронение. Гиперфильтрацию целесообразно применять для опреснения высококонцентрированных растворов солей, имеющих повышенное осмотическое давление (с концентрацией свыше 5000 мг/л). Основным рабочим элементом аппаратов для обратного осмоса является полупроницаемая мембрана, которая изготовляется либо из ацетатцеллюлозы, либо из полых волокон органоминеральной природы. Достоинством этого метода является его относительная невосприимчивость к составу минеральных солей и их концентрации. Использование метода обратного осмоса позволяет получать воду с содержанием солей менее 20 мг/л, а при применении селективных мембран - воду с заранее фиксированным содержанием солевого компонента, что важно для ряда отраслей промышленности. К недостаткам следует отнести необходимость создания и поддержания в системе высокого давления (до 10 МПа и более), а также малый срок службы полупроницаемых мембран. Удельная производительность процесса такой водоочистки (производительность, отнесенная к единичной мощности используемых при этом технических средств) несколько ниже электродиализа и дистилляции [10].

Разновидностью гиперфильтрации является метод отделения воды из растворов высокомолекулярных соединений [12].

Более экономичным методом является химическая доочистка, реализуемая с помощью ионообменных смол [10]. С помощью ионитов успешно решаются вопросы как частичной деминерализации, так и глубокой очистки вод различного происхождения. Иониты представляют собой практически нерастворимые в воде полимерные вещества, имеющие подвижный ион (катион или анион), способный в определенных условиях вступать в реакцию обмена с ионами того же знака, находящимися в растворе.

Технологические схемы очистки буровых сточных вод.

Рис. 1.7 Принципиальная технологическая схема сбора, очистки и повторного использования буровых сточных вод.

Технологическая схема сбора , очистки и повторного использования буровых сточных вод.

БСВ по коммуникациям 1, установленным под настилом платформ или приэстакадных площадок, направляются в специальный блок сбора БСВ 2, откуда песковым насосом подаются в блок очистки 4, где при помощи гидроциклонов отделившаяся твердая фаза сбрасывается в контейнер или специальный блок 5. Очищенная БСВ поступает в блок доочистки и хранения 6, где посредством фильтров тонкой очистки отделяется от илистых частиц и с помощью аппарата электрокоагуляции очищается от нефтяной плёнки. Насосом 7 полностью очищенная сточная вода подаётся в общую систему водоснабжения буровой установки. Вода, нефть, масло в сточной воде отделяются в блоке доочистки и хранения 6 и сливаются в приёмную ёмкость буровых насосов 8 и используются для обработки бурового раствора.

Комплексная установка, предназначенная для очистки сточных буровых вод методом коагуляции и напорной флотации.

В амбаре-усреднителе смешиваются БСВ и оседают крупные взвешенные частицы. Отстой насосом перекачивается в смеситель 1, в который дозаторным насосом подаётся 10%-ный раствор коагулянта - сернокислого алюминия. Одновременно в верхнюю часть смесителя самотёком поступает нейтрализатор - известковое молоко. После интенсивного перемешивания смесь поступает в водоворотную камеру 2, где коагулированные хлопья образуются, укрупняются и оседают. Более мелкие примеси всплывают и удаляются скребковым механизмом в карман для пены.

Рис. 1.8.Принципиальная технологическая схема буровых сточных вод на установке УКОС.

Из коагулятора предварительно очищенная вода поступает в двухкамерный флотатор 3, куда при помощи насосно-эжекторной обвязки 4 и напорного бака 5 подаётся воздушная смесь. Образовавшиеся при этом осадок и пену направляют в бак приёма осадка 6, откуда давлением воздуха они передавливаются в отстойник осадка 8, где осадок обезвоживается до 95%.

Отстой спускают в сборник 8 и используют для приготовления промывочной жидкости. Очищенная вода из кармана флотатора поступает в сборник 9 для повторного использования. Наличие в установке КИП и А позволяет эффективно контролировать процесс очистки БСВ.[14]

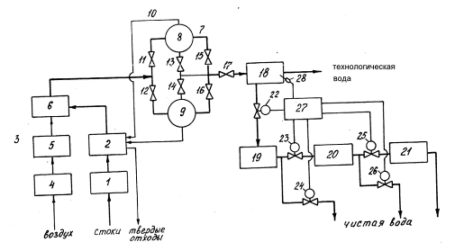
Система очистки буровых сточных вод

Система очистки буровых сточных вод, содержащая последовательно соединенные узел сбора сточных вод, блок отделения твердой фазы, блок очистки, блок сбора и обработки осадка, емкость для очищенной технологической воды, отличающаяся тем, что блок очистки состоит из сообщенных между собой блока воздухоподготовки, генератора озона и контактной камеры, соединенной с блоком отделения твердой фазы и блоком сбора и обработки осадка, выполненным в виде двух фильтров, имеющих систему промывки, соединенную с блоком отделения твердой фазы, кроме того, после емкости для очищенной технологической воды дополнительно установлены по меньшей мере три электродиализатора с электроуправляемыми задвижками, связанными через блок управления с датчиком степени засоленности, установленным в емкости для очищенной технологической воды.

Буровые сточные воды, образующиеся в ходе выполнения различных технологических операций, работы механизмов и устройств, собираются в узле 1 сбора сточных вод, затем направляются в блок 2 отделения твердой фазы, где твердые обезвоженные отходы выводятся, а фугат вода из блока 2 поступает в контактную камеру 6, где перемешивается с озоновоздушной смесью, подаваемой от генератора 5 озона, где идет процесс электросинтеза озона. В результате окисления примесей, содержащихся в фугате озоновоздушной смесью образуется хлопьевидный осадок, сорбирующий на своей поверхности окислы металлов, а непрореагировавший озон удаляется в верхней части камеры 6. Затем обработанный озоновоздушной смесью фугат поступает поочередно на один из фильтров 8 и 9 блока 7 сбора и обработки осадка, в процессе фильтрования происходит удаление из жидкости хлопьевидного осадка, образующийся внутри фильтра концентрат периодически смывается очищенной технологической водой. Например, открыта задвижка 11, задвижка 12 находится в закрытом положении, обработанная вода поступает на фильтр 8, отфильтровывается, задвижка 13 закрыта, задвижки 15, 17 открыты отфильтрованная вода поступает в емкость 18 для очищенной технологической воды, если задвижки 15, 17 закрыты, а открыты задвижки 13, 14, то отфильтрованная вода поступает на промывку фильтра 9, смывает образовавшийся там концентрат и поступает в блок 2 отделения твердой фазы. В режиме работы фильтра 9 открыты задвижки 12, 16, 17, а задвижки 11, 13, 14 закрыты вода поступает в емкость 18. Для промывки фильтра 8 при работе фильтра 9 открываются задвижки 12 14, а закрываются 11, 15, 16, 17.

Из емкости 18 для очищенной технологической воды вода поступает на технологические нужды: для приготовления бурового раствора, для потребления вспомогательными и подсобными производствами, на промывку производственных площадок и оборудования и так далее. Для дальнейшей очистки технологическая вода поступает в электродиализатор 19 и в зависимости от величины степени засоленности измеряемой датчиком 28, установленным в емкости 18, сигнал через блок 27 управления подается на электроуправляемые задвижки 23, 25 они открываются и вода поступает на электродиализаторы 20 и 21 для дальнейшего обессоливания.

Самый эффективный электродиализатор за один проход засоленной воды через него снижает степень засоленности воды примерно на 50 г/л, поэтому при фиксации датчиком 28 степени засоленности не более 50 г/л работает один электродиализатор 19 и открываются только задвижки 22 и 23. Если степень засоленности превышает 50 г/л, открываются задвижки 22,23, 26 и работают электродиализаторы 19, 20. При степени засоленности превышающей 100 г/л открываются задвижки 22,23,25 и работает три электродиализатора 19 21. На выходе получают воду (ГОСТ 2877-82 "Вода питьевая").[13]

Рис. 1.9 Схема системы очистки буровых сточных вод.

2. Расчётная часть

Исходные данные :

Предприятие, организация, учреждение : ОАО Неванефтепром

Выпуск сточных вод : 1

Наименование водного объекта, принимающего сточные воды : Нева

Категория водопользования (норматив качества воды) : Рыбохозяйственная (высшая категория)

Фактический расход сточных вод для установления ПДС (м.куб/час) : 21.96

Фактический расход сточных вод для установления ПДС (м.куб/сут) : 175.7

Фактический расход сточных вод для установления ПДС (тыс.м.куб/год): 64.12

Утвержденный расход сточных вод для установления ПДС (м.куб/час): 21.96

Утвержденный расход сточных вод для установления ПДС (м.куб/сут): 175.7

Утвержденный расход сточных вод для установления ПДС (тыс.м.куб/год):64.12

Характеристики выпуска :

Тип выпуска : Сосредоточенный

Расчетный расход сточных вод Qст(м.куб/с) : 0.00610

Скорость истечения сточных вод (м/с) : 2.00

Средний диаметр выпускного отверстия(м) : 0.200

Расстояние от места выпуска до берега(м) : 0

Расстояние выпускного отверстия до поверхности водного объекта(м) : 0

Расстояние от места выпуска до контрольного створа водопользования(м):500.0

Гидрологические характеристики участка водного объекта в месте сброса :

Водный объект, приемник сточных вод : Нева

Тип водного объекта : РЕКА

Средняя глубина на рассматриваемом участке Hcp(м) : 15.00

Расчетная скорость течения V(м/c) : 2.00

Расчетный расход воды Qр(м.куб/с) : 2500.0

Средняя ширина участка реки B(м) : 356.0

Коэффициент извилистости участка реки Fi(м) : 1.20

Коэфф. шероховатости ложа водного объекта : 0.0500

Уклон водной поверхности %. : 0.0300

Средний диаметр донных отложений D(мм) : 0.500

блица 2.1. Состав и качество сточных вод

№п/п

Показатели состава сточных вод

Единицы измерения

Значение

1

Взвешенные вещества

мг/дм3

235.1

2

Нефтепродукты

мг/дм3

0.0700

3

Железо общее

мг/дм3

7.82

4

Азот аммонийный

мг/дм3

15.40

5

СПАВ

мг/дм3

0.560

6

Хлориды

мг/дм3

235.0

7

Сухой остаток

мг/дм3

350.0

8

Сульфаты

мг/дм3

43.21

9

БПК полн.

мгО2/дм3

7.40

блица 2.2. Фоновые характеристики качества воды

№п/п

Контролируемые показатели

Единицы измерения

Значение

ПДК

1

Взвешенные вещества

мг/дм3

22.00

+0.250

2

Нефтепродукты

мг/дм3

0

0.0500

3

Железо общее

мг/дм3

4.25

0.100

4

Азот аммонийный

мг/дм3

1.20

0.390

5

СПАВ

мг/дм3

0.420

0.100

6

Хлориды

мг/дм3

230.0

300.0

7

Сухой остаток

мг/дм3

321.0

8

Сульфаты

мг/дм3

31.20

100.0

9

БПК полн.

мгО2/дм3

6.10

3.00


Нормативные требования, предъявляемые к расчету ПДС :

Расчет ПДС проводился применяя нормативные требования к составу и качеству сточных вод к самим сточным водам.

Расчет максимально-допустимой концентрации взвешенных веществ проводился c учетом кратности разбавления сточных вод.

РАСЧЕТ КРАТНОСТИ РАЗБАВЛЕНИЯ

Метод расчета кратности разбавления :

Расчет кратности разбавления сточных вод для водотоков проводился по детальному методу Караушева (ГГИ).

РЕЗУЛЬТАТЫ РАСЧЕТА КРАТНОСТИ РАЗБАВЛЕНИЯ:

РЕЗУЛЬТАТЫ КРАТНОСТИ РАЗБАВЛЕНИЯ ДЛЯ ВОТОКОВ МЕТОДОМ КАРАУШЕВА.

Расчет коэффициента турбулентной диффузии

Расчет коэффициента Шези "С"

При наличии данных о коэффициенте шероховатости ложа водного объекта "nш" для определения коэффициента Шези "С" используетcя формула Павловского, где y = 1/6; С = Power(Hcp,y)/nш = 31.41

При наличии данных об уклоне водной поверхности, где i - уклон водной поверхности (%.) Коэффициент Шези находится по формуле С = Vcp/sqrt(Hcp*i) = 94.28

При наличии данных о гранулометрическом составе донных отложений, применяется формула Штриклера-Маннинга : X = Hcp/Dэ = 30.00 y = 1/6 = 0.167 C = 33*Power(x,y) = 58.17, где dэ - эффективный диаметр донных отложений, определяемый по гранулометрической кривой.

Для водотоков и водоемов коэффициент турбулентной диффузии рассчитывается по формуле Караушева, Diff = g*Hcp*Vcp/M/C = 0.108 в которой Hср - средняя глубина на рассматриваемом участке, Vр - средняя скорость течения на рассматриваемом участке, C - коэффициент Шези, M - параметр, зависящий от C и равный M=0.7C+6 ,g - ускорение свободного падения.

По модели Караушева вся расчетная область потока делится плоскостями, параллельными координатным, на расчетные клетки.

Расчетный размер клетки по длине потока: Dx = Vcp*Dz*Dz/2.0/D = 1.1703 м.

где D - коэффициент турбулентной диффузии.

Расчетный размер клетки по ширине потока Dz = 0.356 м.

Количество расчетных клеток по ширине потока = 1000

Количество шагов расчета = 428

В результате расчетов, выполняемых от поперечника к поперечнику, получают поле концентраций на участке ниже места сброса загрязняющих веществ. Кратность основного разбавления определяется по формуле N1=1/Smax = 13.014

Кратность основного разбавления определяется по формуле N2=N0*N1 = 13.014

РЕЗУЛЬТАТЫ РАСЧЕТА ПДС

Таблица 2.3. ЛПВ : Нет

Наименование вещества

Ед. измерения

Sфакт

Sфон

Sнорм

Sфакт/ Sнорм

Sпдс/ Sнорм

Sпдс

ПДС (г/час)

ПДС (т/год)

Sкс

Взвешенные вещества

мг/дм3

235.1

22.00

+0.250

9.309600

1.0

25.25

554.5

1.62

22.25

БПК полн.

мгО2/ м3

7.40

6.10

3.00

2.466666

1.0

3.00

65.88

0.192

5.86


Расчетные установки для данной группы веществ:

Группа ЛПВ: Нет

Нормативные требования предъявляются: к самим сточным водам

Расчет кратности разбавления: выполняется

Расчет проводится: без учета ЛПВ

При выполнении расчета учитывается требование, если фактическая концентрация вещества больше расчетной, то за расчетную принимается фактическая концентрация.

Таблица 2.4. ЛПВ : Токсикологический

Наименование вещества

Ед. измер.

Sфакт

Sфон

Sнорм

Sфакт/ Sнорм

Sпдс/ Sнорм

Sпдс

ПДС (г/час)

ПДС (т/год)

Sкс

Железо общее

мг/дм3

7.82

4.25

0.100

78.19999

0.33333

0.033

0.731

0.00214

3.93

Азот аммонийный

мг/дм3

15.40

1.20

0.390

39.48717

0.33333

0.130

2.85

0.00834

1.12

Сульфаты

мг/дм3

43.21

31.20

100.0

0.432100

0.33333

33.33

731.9

2.14

31.36


Расчетные установки для данной группы веществ:

Группа ЛПВ: Токсикологический

Нормативные требования предъявляются: к самим сточным водам

Расчет кратности разбавления: выполняется

Расчет проводится: c учетом ЛПВ

Так как при данных фоновых концентрациях веществ этой группы ЛПВ нормативные требования не выполняются, то исходя из положения "соблюдения условия сохранения (не ухудшения) состава и свойств воды в контрольном створе водопользования" расчетная концентрация вещества принимается равной его нормативному значению.

При выполнении расчета учитывается требование, если фактическая концентрация вещества больше расчетной, то за расчетную принимается фактическая концентрация.

Таблица 2.5. ЛПВ : Санитарно-токсикологический

Наименование вещества

Ед. измерения

Sфакт

Sфон

Sнорм

Sфакт/ Sнорм

Sпдс/ Sнорм

Sпдс

ПДС (г/час)

ПДС (т/год)

Sкс

СПАВ

мг/дм3

0.560

0.420

0.100

5.59999

0.5000

0.0500

1.10

0.00321

0.392

Хлориды

мг/дм3

235.0

230.0

300.0

0.78333

0.5000

150.0

3294.0

9.62

223.9


Расчетные установки для данной группы веществ:

Группа ЛПВ: Санитарно-токсикологический

Нормативные требования предъявляются: к самим сточным водам

Расчет кратности разбавления: выполняется

Расчет проводится: c учетом ЛПВ

Так как при данных фоновых концентрациях веществ этой группы ЛПВ нормативные требования не выполняются, то исходя из положения "соблюдения условия сохранения (не ухудшения) состава и свойств воды в контрольном створе водопользования" расчетная концентрация вещества принимается равной его нормативному значению.

При выполнении расчета учитывается требование, если фактическая концентрация вещества больше расчетной, то за расчетную принимается фактическая концентрация.

Таблица 2.6. ЛПВ : Рыбохозяйственный

Наименование вещества

Ед. измерения

Sфакт

Sфон

Sнорм

Sфакт/ Sнорм

Sпдс/ Sнорм

Sпдс

ПДС (г/час)

ПДС (т/год)

Sкс

Нефтепродукты

мг/дм3

0.0700

0

0.0500

1.40000

1.00000

0.0500

1.10

0.00321

0.00384


Расчетные установки для данной группы веществ:

Группа ЛПВ: Рыбохозяйственный

Нормативные требования предъявляются: к самим сточным водам

Расчет кратности разбавления: выполняется

Расчет проводится: c учетом ЛПВ

При выполнении расчета учитывается требование, если фактическая концентрация вещества больше расчетной, то за расчетную принимается фактическая концентрация.

Таблица 2.7. ЛПВ : Общесанитарный

Наименование вещества

Ед. измерения

Sфакт

Sфон

Sнорм

Sфакт/ Sнорм

Sпдс/ Sнорм

Sпдс

ПДС (г/час)

ПДС (т/год)

Sкс

Сухой остаток

мг/дм3

350.0

321.0

1000

0.3500

0.3500

350.0

7686

22.44

323.2


Расчетные установки для данной группы веществ:

Группа ЛПВ: Общесанитарный

Нормативные требования предъявляются: к самим сточным водам

Расчет кратности разбавления: выполняется

Расчет проводится: c учетом ЛПВ

При выполнении расчета учитывается требование, если фактическая концентрация вещества больше расчетной, то за расчетную принимается фактическая концентрация.

Пояснения к таблицам расчета ПДС:факт - фактическая концентрация вещества в сточных водахфон - фоновая концентрация вещества в водном объекте-приемнике сточных воднорм - нормативное значение вещества (по умолчанию равно предельно-допустимой концентрации вещества (ПДК) для данной категории водопользования приемника сточных вод)факт/Sнорм - отношение фактической концентрации вещества в сточных водах к его нормативному значениюпдс/Sнорм - отношение расчетной (предельно-допустимой) концентрации вещества в сточных водах к его нормативному значениюпдс - расчетная (предельно-допустимая) концентрация вещества в сточных водах

ПДС(г/час) - предельно-допустимый сброс вещества (грамм в час), определяемый по формуле: [ПДС = QпдсSпдс], где Qпдс - утвержденный часовой расход сточных вод

ПДС(т/год) - предельно-допустимый сброс вещества (тонн в год), определяемый по формуле: [ПДС = QпдсSпдс], где Qпдс - утвержденный годовой расход сточных водкс - расчетная концентрация вещества в контрольном створе водного объекта вычисляемая по формуле: Sкс= (Sпдс - Sфон)n+ Sфон, где n - кратность разбавления сточных вод.

аблица 2.8. Утвержденный предельно-допустимый сброс и состав сточных вод (сброс веществ, не указанных ниже, запрещен)

Показатели состава сточных вод

Фактическая концентрация

Фактический сброс

Допустимая концентрация

Утвержденный сброс

Утвержденный сброс


мг/дм3

г/час

мг/дм3

г/час

т/год

Взвеш. вещества

235.1

5162.8

25.25

554.5

1.62

Нефтепродукты

0.0700

1.54

0.0500

1.10

0.00321

Железо общее

7.82

171.7

0.0333

0.731

0.00214

Азот аммонийный

15.40

338.2

0.130

2.85

0.00834

СПАВ

0.560

12.30

0.0500

1.10

0.00321

Хлориды

235.0

5160.6

150.0

3294.0

9.62

Сухой остаток

350.0

7686.0

350.0

7686.0

22.44

Сульфаты

43.21

948.9

33.33

731.9

2.14

БПК полн.

7.40

162.5

3.00

65.88

0.192


Утверждаемые свойства сточных вод

(Санитарные правила и нормы СанПиН 2.1.5.980-00 «2.1.5. Водоотведение населенных мест, санитарная охрана водных объектов. Гигиенические требования к охране поверхностных вод")

Показатель

Характеристика

1

Плавающие примеси

На поверхности воды не должны обнаруживаться пленки нефтепродуктов, масел, жиров и скопление других примесей

2

Окраска

Не должна обнаруживаться в столбике 20 см

3

Запахи

Вода не должна приобретать запахи интенсивностью более2 баллов, обнаруживаемые непосредственно или при последующем хлорировании или других способах обработки

4

 Температура

Летняя температура воды в результате сброса сточных вод не должна повышаться более чем на 3°С по сравнению со среднемесячной температурой воды самого жаркого месяца года за последние 10 лет

5

Водородный показатель (pH)

Не должен выходить за пределы 6,5 - 8,5

6

Минерализация воды

Не более 1000 мг/дм3, в т.ч.: хлоридов - 350; сульфатов - 500 мг/дм3

7

Растворенный кислород

Не должен быть менее 4 мг/дм3 в любой период года, пробе, отобранной до 12 часов дня.

8

Биохимическое потребление кислорода (БПК5)

Не должно превышать при температуре 20°С2 мг 02/дм

9

Химическое потребление кислорода (бихроматная окисляемость) ХПК

Не должно превышать15 мг О2/дм3

10

Возбудители кишечных инфекций

Вода не должна содержать возбудителей кишечных инфекций

11

Жизнеспособные яйца гельминтов (аскарид, власоглав, токсокар, фасциол), онкосферы тениид и жизнеспособные цисты патогенных кишечных простейших

Не должны содержаться в 25 л воды

12

Термотолерантные колиформные бактерии

Не более 100 КОЕ/100 мл**

13

Общие колиформные бактерии**

Не более1000 KOE/100 мл**

14

Колифаги**

Не более10 БОЕ/100 мл**

15

Суммарная объемная активность радио-нуклидов при совместном присутствии***

Сумма (Ai / YBi) <= 1

Примечания.

* Содержание в воде взвешенных веществ неприродного происхождения (хлопья гидроксидов металлов, образующихся при обработке сточных вод, частички асбеста, стекловолокна, базальта, капрона, лавсана и т.д.) не допускается.

** Для централизованного водоснабжения; при нецентрализованном питьевом водоснабжении вода подлежит обеззараживанию.

*** В случае превышения указанных уровней радиоактивного загрязнения контролируемой воды проводится дополнительный контроль радионуклидного загрязнения в соответствии с действующими нормами радиационной безопасности;- удельная активность i-го радионуклида в воде;- соответствующий уровень вмешательства для i-го радионуклида (приложение П-2 НРБ-99).

Выводы.

Фактические концентрации всех веществ в сточных водах, кроме сухого остатка, превышают расчетные (предельно-допустимые) концентрации этих веществ в сточных водах.

Для снижения фактической концентрации можно применить обратный осмос, окисление, флокуляцию и сорбцию сточных вод.


Очистка буровых сточных вод от выбуренной породы, нефти, солей, химических реагентов позволяет предотвратить загрязнение окрестных поверхностных и грунтовых вод.

В результате попадания сточных вод в грунт при переливах и выбросах из скважин может произойти еще и загрязнение почвенного слоя пахотных земель, а дальнейшая фильтрация в грунтовые воды приведет уже к отравлению всего пласта подземных вод. При этом ухудшаются их естественные свойства, изменяются физико-химические показатели. Процесс восстановления естественных условий может длиться десятки и даже сотни лет. Вода становится непригодной для использования надолго.

В данной работе были проанализированы проблемы бурения, негативное влияние буровых сточных вод на окружающую среду, технологии очистки.

Список литературы

1.      Электронный ресурс http://neft-gazedu.ru/

.        Электронный ресурс http://miningwiki.ru/- Свободная шахтёрская энциклопедия

.        Электронный ресурс http://www.gazprominfo.ru/articles/sea-production/

.        Электронный ресурс http://www.mining-enc.ru/ - Горная энциклопедия

.        Булатов А.И., Волощенко Е.Ю., Кусов Г.В., Савенок О.В. Экология при строительстве и эксплуатации нефтяных и газовых скважин

.        Булатов А.И., Макаренко П.П., Шеметов В.Ю., Охрана окружающей среды в нефтегазовой промышленности. - М.: Недра, 1997

.        Мазлова Е.А. Курс лекций по предмету «Техника защиты окружающей среды». РГУ нефти и газа им. И. М. Губкина. Москва. 2011.

.        Линский В.К., Тихонов Е.Г. Безнапорные гидроциклоны для сбора » нефтяных загрязнений с поверхности воды//Охрана окружающей среды: Респ. межвед. сб. - Минск, 1982. - С. 10-12.

.        Кульский Л.А. Теоретические основы и технология кондиционирования воды. - Киев: Наукова думка, 1980. - 168 с.

.        Тебенихин Е.Ф. Безреагентные методы обработки воды в энергоустановках. - М.: Энергия, 1987. - 174 с.

.        Жуков А.И., Монгайт М.Л., Родзиллер ИД. Методы очистки производственных сточных вод. - М.: Стройиздат, 1987. - 214 с.

.        Дытнерский Ю.И. Обратный осмос и ультрафильтрация. - М.: Химия, 1978. - 352 с.

.        Патент RU 2100566

.        Кесельман Г.С., Махмудбеков Э.А. Защита окружающей среды при добыче, транспорте и хранении нефти и газа, 1981, Недра

.        Журнал - OilandGasJournal. March 30. 2001.

Похожие работы на - Проблемы очистки сточных вод и новые решения бурения на суше и на море

 

Не нашли материал для своей работы?
Поможем написать уникальную работу
Без плагиата!
Без нейросетей!