Составление бизнес-плана развития снижения себестоимости стали к кислородно-конвертерном производстве

  • Вид работы:
    Курсовая работа (т)
  • Предмет:
    Другое
  • Язык:
    Русский
    ,
    Формат файла:
    MS Word
    575,4 Кб
  • Опубликовано:
    2015-08-02
Вы можете узнать стоимость помощи в написании студенческой работы.
Помощь в написании работы, которую точно примут!

Составление бизнес-плана развития снижения себестоимости стали к кислородно-конвертерном производстве

Содержание

Введение

. Бизнес-планирование

.1 Понятие, особенности, назначение и классификация бизнес-плана

.2 Типы бизнес-планов

.3 Структура бизнес-плана

. Бизнес-план развития снижения себестоимости стали с помощью внедрения вращающейся печи в кислородно-конвертерное производство

.1 Производственная стратегия

.2 Оценка рынка сбыта и маркетинговая стратегия

.3 Финансовый план

Заключение

Список использованных источников

Приложение А

Введение

В последние годы все большее внимание привлекают проблемы использования вторичных энергетических ресурсов (ВЭР) для нужд энергоснабжения различных сельскохозяйственных, промышленных объектов. Актуальность и перспективность данного направления энергетики обусловлена двумя основными факторами: катастрофически тяжелым положением экологии и необходимостью поиска новых видов энергии. Традиционные топливно-энергетические ресурсы (уголь, нефть, газ и т.д.) при существующих темпах развития научно-технического прогресса, по оценкам ученых, иссякнут в ближайшие 100-150 лет.

В последнее время первоочередное значение приобретают проблемы возникновения стойкой тенденции к росту стоимости энергии, а также огромная доля давления на окружающую среду, приходящаяся на энергоснабжение теперь нарушает природные процессы уже в широком масштабе.

Как известно, в металлургическом производстве потребляется значительное количество извести. В настоящее время она используется для агломерационной шихты, в доменном производстве, в кислородно-конверторном производстве. В кислородно-конверторном производстве потребляется наибольшее количество извести.

Требуемый расход извести при кислородно-конверторном процессе составляет около 80-85 кг на тонну стали. Эту известь получают обжигом известняка природным газом при температуре 1250 С. Данное тепло теряется при транспортировке и хранении готовой извести в бункерах.

Пути решения: возможность получения положительного эффекта обжига извести может быть получена непосредственно на комбинате за счет высокотемпературных уходящих конверторных газов. Температура газов, выходящих из конвертора от 1250 С до 1700 С. Следовательно, теоретически вполне осуществим подогрев извести перед засыпкой.

В настоящее время конверторный газ никак не используется, он идет на свечу. Обжиг известняка конверторным газом в свою очередь сократит расход природного газа. Исходя из этого, можно оценить суммарный эффект от обжига известняка конверторным газом в непосредственной близости от кислородно-конверторного производства.

Предмет исследования: обжиг извести конвертерным газом.

Цель курсовой работы: составление бизнес-плана развития снижения себестоимости стали к кислородно-конвертерном производстве

Задачи курсовой работы:

изучение понятия бизнес- планирования;

разработка бизнес- плана;

составить финансовый план;

рассчитать эффективность предлагаемых мероприятий.

Источники исследования: проблемой обжига извести конвертерными газами занимались многие известные научные деятели. Исследование Монастырева А.В. «Производство извести» приобрело всемирную известность, также известны труды: «Производство извести» Табунщикова Н.П, Уфимцева В.М. «Получение технологической извести на базе известняковых отсевов» Розенгарта Ю.И. «Использование конвертерного газа для обжига известняка по замкнутой технологической схеме».

.       
Бизнес-планирование

.1 Понятие, особенности, назначение и классификация бизнес-плана

бизнес план финансовый сталь

Бизнес-план - план, программа осуществления бизнес-операций, действий фирмы, содержащая сведения о фирме, товаре, его производстве, рынках сбыта, маркетинге, организации операций и их эффективности.

Понятие бизнес-плана: бизнес-план - краткое, точное, доступное и понятное описание предполагаемого бизнеса, важнейший инструмент при рассмотрении большого количества различных ситуаций, позволяющий выбрать наиболее перспективные решения и определить средства для их достижения. Бизнес-план является документом, позволяющим управлять бизнесом, поэтому его можно представить как неотъемлемый элемент стратегического планирования и как руководство для исполнения и контроля. Важно рассматривать бизнес-план как сам процесс планирования и инструмент внутрифирменного управления.

Структура бизнес плана: общая структура бизнес-плана, в соответствии со стандартами UNIDO, должна придерживаться следующих параметров:

) Резюме

) Идея (сущность) предлагаемого проекта

·        Общие исходные данные и условия;

·        Описание образца нового товара;

·    Оценка опыта предпринимательской деятельности.

3) Оценка рынка сбыта

·        Описание потребителей нового товара;

·        Оценка конкурентов;

·        Оценка собственных сильных и слабых сторон относительно конкурентов.

) План маркетинга

·        Цели маркетинга;

·        Стратегия маркетинга;

·        Финансовое обеспечение плана маркетинга.

) План производства

·        Изготовитель нового товара;

·        Наличие и требуемые мощности производства;

·        Материальные факторы производства;

·        Описание производственного процесса.

) Организационный план

·        Организационно-правовая форма собственности фирмы;

·        Организационная структура фирмы;

·        Распределение обязанностей;

·        Сведения о партнерах;

·        Описание внешней среды бизнеса;

·        Трудовые ресурсы фирмы;

·        Сведения о членах руководящего состава.

) Финансовый план.

·        План доходов и расходов;

·        План денежных поступлений и выплат;

·        Сводный баланс активов и пассивов фирмы;

·        График достижения безубыточности;

·        Стратегия финансирования (источники поступления средств и их использование);

·    Оценка риска и страхование.

При разработке бизнес- плана необходимо тщательно спланировать его организацию. В условиях рынка подобные планы необходимы всем желающим, которые хотят оценить свои перспективы и задачи. Собственно говоря, без бизнес-плана вообще нельзя браться за коммерческую деятельность, так как возможность неудачи будет слишком велика.

Каждое предприятие, начиная свою деятельность, обязано четко представить потребность на перспективу в финансовых, материальных, трудовых и интеллектуальных ресурсах, источники их получения, а также уметь точно рассчитывать эффективность использования имеющихся средств в процессе работы фирмы. В рыночной экономике разработчики бизнес-плана не могут добиться стабильного успеха, если не будут четко и эффективно планировать свою деятельность, постоянно собирать и аккумулировать информацию как о состоянии целевых рынков, положении на них конкурентов, так и о собственных перспективах и возможностях.

При всем многообразии форм бизнес- планирования существуют ключевые положения, применимые практически во всех областях коммерческой деятельности и для разных фирм, необходимые для того, чтобы своевременно подготовиться, обойти потенциальные трудности и опасности, тем самым уменьшить риск в достижении поставленных целей. Разработка стратегии и тактики производственно-хозяйственной деятельности фирмы является важнейшей задачей для любого предприятия [1, С. 25].

Бизнес-план - программный продукт, вырабатываемый в ходе бизнес-планирования [2, С. 76].

В настоящее время в России бурно протекает процесс формирования и совершенствования работы действующих предприятий различных форм собственности. Важной задачей является привлечение инвестиций, в том числе и зарубежных. Для этого необходимо аргументированное, тщательно обоснованное оформление предложений, требующих капиталовложений. Успешное формирование нового бизнеса также не может обойтись без четкого и объективного планового проекта. Статистические данные о неудачах новых предприятий указывают на то, что риск достаточно велик. Для предвидения и возможного предотвращения этих проблем и используется планирование бизнеса.

В рыночной экономике бизнес-план является рабочим инструментом и для действующих предприятий, используемым во всех сферах предпринимательства. Бизнес-план побуждает человека тщательно изучить каждый элемент предполагаемого рискового рыночного занятия. Наверняка в этом процессе обнаружится множество слабых мест и пробелов, устранению которых придется уделить существенное внимание. Там же, где с такого рода проблемами справиться невозможно, сам факт их выявления позволит принять решение об отказе от предприятия еще до того, как в него будут вкладываться средства.

Бизнес-план, как правило, систематически обновляется, в него вносятся изменения, связанные как с переменами, происходящими внутри фирмы, так и с изменениями на рынке, где действует предприятие, и в экономике в целом. Таким образом, бизнес-план помогает разработчику оценивать прогресс своего дела на основе внутрипроизводственного и макроэкономического анализа и контролировать текущие операции [1, С. 39].

Бизнес-план поможет предупредить и достойно встретить многие неизбежные проблемы в развитии бизнеса. Конечно, он не может исключить всех ошибок, он дает возможность продумать свои действия. Он является инструментом, с помощью которого возможен контроль и управление производством. Бизнес-план позволяет управлять по предварительному плану, а не просто реагировать на события.

Бизнес-план позволяет показать выгодность предполагаемого проекта и привлечь возможных контрагентов, потенциальных финансовых партнеров. Он может убедить инвесторов, в том, что вы нашли привлекательные возможности развития производства, позволяющие успешно осуществлять намеченное, и предприятие имеет эффективную, реалистичную и последовательную программу осуществления целей и задач проекта. Инвестор вложит свои средства лишь в тот проект, который с достаточной вероятностью гарантирует ему получение максимальной прибыли.

Бизнес-план, описывая все основные аспекты будущего предприятия, анализируя проблемы, с которыми оно может столкнуться, и определяя способы решения этих проблем, должен ответить на вопрос: «Стоит ли вообще вкладывать средства в этот проект и принесет ли он доход, который окупит все затраты?» [4, С. 67].

При подготовке, бизнес-плана необходимо решить какую цель (цели) вы преследуете этой разработкой, постараться ее сформулировать в письменной форме [5, С. 32].

Цели разработки бизнес-плана, как указано в [6, С.7], могут быть, например, такими:

уяснить себе степень реальности достижения обозначенных результатов в завершенном проекте или техническом решении;

убедить коллег в реальности достижения определенных качественных или количественных показателей предлагаемого бизнес- проекта;

подготовить общественное мнение к акционированию предприятия по предлагаемой схеме, которую автор считает оптимальной;

доказать определенному кругу лиц целесообразность перестройки работы и организации существующего или создания нового предприятия;

для привлечения внимания и усиления заинтересованности потенциального инвестора.

В бизнес-плане решаются следующие конкретные задачи:

уточняются правовые аспекты, нормативы, ограничения, требования муниципальных органов;

приводится анализ исходных материалов: ситуационного плана, показателей технического состояния предприятия;

рассматриваются размеры возможных потерь, связанных с организацией и развитием данного нововведения, компенсационными выплатами, а также упущенной выгодой (например, при досрочном прекращении аренды муниципальных объектов коммерческими структурами);

формируется инвестиционная программа проектного предложения нового предприятия с анализом возможных вариантов;

определяются формы и условия реализации проектного предложения;

прогнозируются условия производства продукции (услуг) предприятиями, формируемыми на данной территории, получения ими прибыли, а также финансовых поступлений в бюджет (налоги, сборы, выплаты и др.);

определяются показатели экономической, коммерческой и бюджетной эффективности проектного предложения, а также его социальной и экологической результативности;

разрабатывается стратегия маркетинга;

формируется план финансирования и организации функционирования объекта;

определяются условия, формы, сроки развития нововведения;

уточняются типы коммерческих рисков и условия страхования;

подготавливается резюме, в концентрированном виде излагаются основные характеристики, параметры и показатели проектного предложения, его преимущества, получаемые доходы, инвестиционные и эксплуатационные затраты, их структура по источникам финансирования, размеры и сроки финансовых поступлений в городской бюджет и внебюджетные фонды.

Составление бизнес-плана имеет свою специфику (например, бизнес-план в строительстве отличается от бизнес-плана в транспорте или торговле), но их структура не будет существенно различаться. Исключением будут некоторые дополнения, например: планирование использования мощностей (вместимости гостиницы, стадиона, зрительного зала), оборудования (прачечной, химчистки), выпуска продукции (багетной или переплетной мастерской, изготовления визитных карточек, буклетов) и т.п.

Бизнес-план разрабатывается в соответствии с заданием на его составление, выдаваемым заказчиком (или по его поручению - проектной организацией, автором проектного предложения) с учетом результатов маркетинговых исследований, проводимых разработчиком бизнес-плана.

Расчет основных натуральных и стоимостных показателей бизнес-плана включает следующие процедуры (операции):

определяются (устанавливаются) основные натуральные параметры (единицы продаж, количества услуг, общей площади объекта, территории и отдельных участков, протяженности инженерных сетей и т.д.);

производится распределение указанных параметров в соответствии с очередностью развития предприятия (например, размещения акций или освоения территории по отраслям и объектам);

то же, по формам собственности и видам работ;

с помощью базовых удельных показателей (БУП) определяются размеры единовременных (инвестиционных) и текущих (эксплуатационных) затрат и объемов выпуска продукции (услуг);

производится распределение указанных затрат и доходов по отраслям, видам товаров и услуг, объектам, очередям и годам;

то же, по формам собственности.

В аналогичной последовательности осуществляется определение и распределение доходов. Результаты расчетов приводятся в составе соответствующих глав (разделов, блоков) бизнес-плана.

Бизнес-план, как правило, разрабатывается в три этапа.

На первом этапе осуществляется сбор и анализ исходной информации, формируется стратегия маркетинга, а также прорабатываются альтернативные варианты проектных решений.-

На втором этапе формируется инвестиционная программа, в составе которой производятся расчеты единовременных и текущих затрат и доходов с распределением их по формам собственности, очередям развития и реализации с последующим дисконтированием.

На третьем этапе на основании собранной информации рассматриваются показатели эффективности проектного предложения по данному предприятию. Бизнес-планы оформляются в виде текстового, табличного и графического материала[6, С.25].

По сравнению с другими видами планов бизнес-план обладает двумя специфическими особенностями. Во-первых, для доказательства выгодности того или иного проекта он должен быть привлекательным, наглядно демонстрировать всем заинтересованным лицам преимущества, которые они могут получить, приняв участие в его реализации.

Во-вторых, бизнес-план составляется в нескольких вариантах. Главный и наиболее полный предназначен для внутреннего пользования (внутренний или рабочий), а на его основании уже разрабатываются варианты с учетом различных видов пользователей (внешний или официальный). Это вполне понятно, ибо каждого из них интересуют только те моменты, которые создают гарантии соблюдения его интересов [7, С.102].

Бизнес-планы <#"878865.files/image001.gif">

Рисунок 2.1 Производство извести в Российской Федерации

Наибольшее количество извести производится в Центральном федеральном округе России.

Применение извести в металлургической отрасли: это основные потребители негашеной извести. Данные предприятия, как правило, обеспечивают себя известью самостоятельно в силу особенностей технологического процесса (см. рисунок 2.2). В металлургии предъявляются очень высокие требования к качеству извести. Несколько дней хранения обожженного продукта могут снизить активность извести ниже уровня, необходимого при выплавке стали.

Рисунок 2.2 - Потребление извести в РФ в зимний период за 2010-2011 гг.

Прослеживается тенденция увеличения потребления извести в России.

Известь в сталеплавильном производстве: известь используется в кислородно-конвертерном производстве (см. рисунок 2.3). Там она способствует образованию шлака. Добывают известняк на известково-доломитовом производстве в с. Агаповка на расстоянии 6 км. от ОАО «ММК».

Рисунок 2.3 - Состав конвертерной плавки

В современном устройстве конвертера можно увидеть образующие конвертерной плавки. В ее состав входит известь.

Устройство кислородного конвертера: Кислородный конвертер представляет собой поворачивающийся на цапфах сосуд грушевидной формы, футерованный изнутри и снабженный леткой для выпуска стали и отверстием сверху для ввода в полость конвертера кислородной фурмы, отвода газов, заливки чугуна, загрузки лома и шлакообразующих и слива шлака. Емкость существующих конвертеров составляет 10-450 т. Форма конвертера: в конфигурации кожуха и внутреннего рабочего объема конвертера можно выделить три части: суживающуюся верхнюю часть (горловину), цилиндрическую часть и днище, которое может быть либо сферическим, либо иметь суживающуюся часть, к которой примыкает днище.Размеры конвертера: Они влияют на многие показатели процесса и должны, прежде всего, обеспечивать продувку без выбросов металла через горловину, поскольку выбросы уменьшают выход годной стали и требуют периодических остановок конвертера для удаления настыла металла с горловины и входной части котла-утилизатора. Устройство кислородного конвертера можно увидеть на рисунке 2.3.

Устройство вращающейся печи для обжига извести: Вращающаяся печь представляет собой футерованный изнутри вращающийся стальной цилиндрический барабан, установленный наклонно (3-4%) на роликовых опорах.

Вращающаяся печь с теплообменными устройствами внутри корпуса состоит из следующих основных конструктивных элементов: корпуса с внутренними теплообменными устройствами, роликовых опор, привода, головки и пылеоседательной камеры.

Корпус печи представляет собой сваренный из секций полый стальной барабан диаметром от 2,2 до 7 м и толщиной до 30 м. На корпусе закреплены бандажи, опирающиеся на роликовые опоры. Корпус печи фиксируется в определенном положении на роликовых опорах системой гидравлических упорных роликов.

Для повышения жесткости корпуса его толщину под бандажами и приводной шестерней увеличивают в 2-3 раза. Применявшиеся с этой целью прежде кольца жесткости не оправдали себя на практике и в печах последних конструкций отсутствуют.

Корпус печи имеет наклон 3-4% к горизонту и вращается со скоростью 0,5-1,5 об/мин от электродвигателя, соединенного с корпусом через редуктор, подвенцовую и венцовую шестерни. С увеличением диаметра корпуса увеличивается радиальное усилие, передаваемое подвенцовой шестерней. Поэтому печи большой мощности снабжены двусторонним приводом с одной венцовой и двумя подвенцовыми шестернями.

Остановка печи в любом положении осуществляется электромагнитным фрикционным тормозом, зажимающим приводной вал при срабатывании электромагнита.

Печь снабжена резервным (вспомогательным) приводом небольшой мощности, позволяющим вращать её корпус со скоростью 4 об/мин в период пуска и при ремонтных работах.

Концевая обечайка разгрузочной части корпуса современных мощных печей охлаждается холодным воздухом, нагнетаемым вентилятором между ней и дополнительной конической обечайкой.

Корпус печи оборудован люками для производства ремонтных работ и пробоотборниками.

Корпус печи загрузочным концом входит в пылеоседательную камеру, разгрузочным - в откатную или стационарную головку.

Описание готового продукта: Готовым продуктом в нашем случае является конвертерная сталь. На ее качество внедрение новой установки практически не повлияло. В нашем случае первоочередной задачей является снижение себестоимости стали.

Сталь - это сплав железа с углеродом и другими химическими элементами. В этом сплаве железо является основой (растворителем), а другие элементы - примесями, растворенными в железе. Примеси могут оказывать на свойства стали как положительное, так и отрицательное влияние, поэтому их делят на: полезные и вредные. Полезные примеси в основном влияют на свойства кристаллов (зерен), а вредные примеси ухудшают межкристаллические (межзеренные) связи. В сталях большинства марок главной полезной примесью является углерод. Такие стали называют углеродистыми. Содержание углерода в углеродистых сталях чаще всего составляет 0,05-0,50%, но может достигать 1% (теоретически до 2,14%). В углеродистых сталях в качестве полезной примеси также могут содержаться марганец (0,3-0,6%) и кремний (0,15-0,3%). Содержание вредных примесей, которыми обычно являются сера, фосфор, кислород и азот, ограничивают сотыми и тысячными долями процента.

Технологические условия процессов выплавки стали оказывают значительное влияние на содержание в ней вредных примесей (серы, фосфора, азота, водорода и неметаллических включений), которые наряду с главными элементами (углерода, марганца, кремния, легирующими добавками) влияют на свойства готового металла.

В кислородно-конвертерной стали вредных примесей содержится примерно столько же, сколько и в мартеновской, а при определенных условиях даже меньше. В бессемеровской и томасовской стали концентрация вредных примесей значительно выше, чем в кислородно-конвертерной, особенно велико содержание азота. Оно в три-шесть раз больше, чем в мартеновской и кислородно-конвертерной, так как при донной продувке чугуна воздухом металл поглощает много азота.

2.2 Производственная стратегия

Особенности производства горячей извести для нужд кислородно-конвертерного производства: особенности производства конвертерной стали

Источниками получения стали могут служить:

кислородно-конвертерное производство;

электросталеплавильное производство;

мартеновское производство.

Работа кислородного конвертера осуществляется в периодическом режиме. Процесс начинается с завалки стального лома в наклоненный конвертер. Далее заливают жидкий чугун, конвертер устанавливают в вертикальное положение, вводят в него фурму и включают подачу кислорода чистотой ≥ 99,5%. Одновременно с началом продувки загружают первую порцию флюсов и железной руды. Остальную часть этих материалов подают в процессе продувки одной или несколькими порциями.

Процессы окисления и шлакообразования в кислородном конвертере идут очень интенсивно, чему способствуют высокие температуры, которые в реакционной зоне достигают 2500 ºС и хорошая циркуляция металла и его перемешивание со шлаком. Окисление примесей чугуна осуществляется в основном через шлаковую фазу. Сначала по закону действия масс окисляется железо, присутствующее в расплаве в наибольшем количестве, по реакции

Fe + О2 = 2FeО + 539800 кДж

Образующийся по этой реакции FeО в результате интенсивного массообмена в расплаве переносится в шлаковую фазу и является основным окислителем примесей. Процесс окисления примесей протекает на границе раздела металл - шлак по реакциям:

Si + 2FeO = SiO2 + Fe;+ FeO = MnO + Fe;

Р + 5FeO = Р2О5 + 5Fe;

С + FeO = СО + Fe.

На участках, где скорости движения газа-окислителя незначительны и массообмен ослаблен, возможно прямое окисление углерода и примесей кислородом дутья, например, по реакции2С + О2 = 2СО. Выделение СО при окислении углерода во всех случаях способствует лучшему смешению металлической и шлаковой фаз.

Окисление всех примесей чугуна протекает по экзотермическим реакциям с самого начала продувки. Наиболее интенсивно в начале продувки окисляются кремний и марганец, что объясняется их высоким сродством к кислороду при сравнительно низких температурах. Удалению фосфора способствует высокая концентрация в расплаве FeO. Кроме того, быстрое окисление фосфора, а также кремния объясняется связыванием их оксидов известью по реакциям:

+ 2СаО = 2СаО • SiO 2,

Р2О5 + 4СаО = 4СаО • Р2О5.

По мере протекания процесса конвертирования чугуна основность шлака непрерывно увеличивается и во второй половине продувки достигает величины >2,5 когда создаются благоприятные условия для удаления из металлического расплава серы. Удаление серы, содержащейся в чугуне и стали, протекает по суммарной реакции

+ S + СаО = FeO + CaS.

В качестве флюсующих добавок в кислородно- конвертерном процессе используют известь, расход которой составляет 5-6% от массы плавки, боксит (0.5-2%) и плавиковый шпат (0,15-2%). Состав конечного шлака в основном зависит от состава чугуна и содержания углерода в готовой стали. Содержание отдельных компонентов в шлаке кислородно- конвертерного процесса колеблется в следующих пределах, % FeO 6-12; SiO2 14-22; CaO 43-50; MnO 4-8; MgO 4-8; P2O5 2,5-4,0.

О ходе удаления примесей чугуна в процессе конвертирования судят по результатам экспресс-анализов отбираемых периодически через горловину проб расплавов. В готовой стали кислородно-конвертерного процесса содержания фосфора не превышает 0,02%, а остаточное содержание серы составляет 0,02-0,04%.Однако такая сталь характеризуется повышенным содержанием остаточного марганца (0,25-0,6%). Это связано с тем, что часть марганца во второй половине продувки вследствие высоких температур, увеличения основности шлака и снижения степени его окисления, может вновь восстанавливаться до металла.

Весь технологический цикл в кислородном конвертере занимает 50 -60 мин, в том числе продувка кислородом 18-30 мин. По достижении заданного содержания углерода в стали дутье отключают, фурму подымают, конвертер наклоняют и металл через специальную летку выливают в ковш. После слива стали из конвертера через горловину сливают шлак. Полученный в кислородном конвертере металл содержит повышенное количество кислорода, что обусловливает необходимость его обязательного раскисления. Раскисление проводят добавкой более активных металлов с повышенным сродством кислороду в разливочный ковш или желоб, транспортирующий металл в него из конвертера. Важнейшим преимуществом кислородно - конвертерного процесса, выражающиеся в бурном кипение расплава при продувке, высокой температуре расплавов и возможности быстрого ее регулирования, позволяют использовать его для получения легированных сталей. Основной трудностью при этом является введением легкоокисляющихся элементов во время продувки (Cr, Mn, Si). Введение элементов, обладающих меньшим сродством к кислороду (Ni, Cu, Mo)? Можно проводить в любое время плавки. Добавку легко окисляющихся легирующих элементов проводят часто вместе с раскислителем в сталеразливочный ковш после их предварительного расплавления в специальной печи в форме ферросплавов (твердых).

Во время продувки чугуна в конвертере образуется большое количество раскаленных отходящих газов с достаточно высокой степенью запыленности. Большое пылеобразование обусловлено интенсивным окислением железа и его испарением: угар железа составляет 6-7 %. Для использования физической теплоты газов и очистки их от пыли за конвертерами устанавливают котлы-утилизаторы и пылеулавливающие установки.

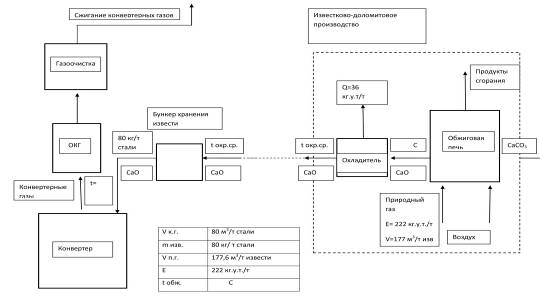
Особенности базового производственного процесса: схема производственного процесса до внедрения вращающейся печи на ККЦ ОАО «ММК» (см. рисунок 2.4).

В настоящее время обжиг извести для нужд кислородно-конвертерного процесса происходит на известково-доломитовом производстве в п. Агаповка на расстоянии 8 км. от ММК. Обжиг происходит природным газом. Добыча известняка происходит непосредственно там же. После обжига на известково - доломитовом предприятии известь с температурой 1200 °С охлаждают и транспортируют в открытых тележках в кислородно - конвертерный цех. Сюда она поступает с температурой 0 °С, с которой ее забрасывают в горячий конвертер, не подогревая.

На процесс обжига извести тратится большое количество дорогостоящего топлива - природного газа. По пути на кислородно-конвертерное производство известь теряет свои свойства, что отражается на качестве получаемой стали.

Рисунок 2.4 - Схема производственного процесса до внедрения вращающейся печи на ККЦ

Особенности предлагаемого процесса: в бизнес-плане развития предлагается заменить традиционный обжиг извести природным газом на обжиг конвертерным газом. Так будет выглядеть усовершенствованная схема обжига извести конвертерным газом (см. рисунок 2.5). Добыча извести будем также производиться на ИДП. В таком виде известняк будет поступать на ККЦ ОАО «ММК», забрасываться во вращающуюся печь, которая в свою очередь будет работать на конвертерном газе. Обжиг извести конвертерным газом практически не отличается от обжига природным газом.

2.3 Оценка рынка сбыта и маркетинговая стратегия

Рынки сбыта: сталь, которую производит кислородно-конвертерное производство, будет выпускаться в таком же объеме. Возможно удастся заключить более выгодное сотрудничество, так как конвертерная сталь, полученная новым способом, обладает высоким качеством. Дело в том, что известь, загружаемая в конвертер, подается в горячем виде, что положительно сказывается на процесс плавки.

Рисунок 2.5 - Модернизированная схема производства обжига извести

Данный способ предлагает экономию природного газа, улучшение свойств извести обожженной, улучшение качества стали.

Основная цель бизнес-плана - это экономия природного газа. Приведенный способ производства стали не содержит использования природного газа, что говорит о 100% экономии его на обжиг извести. Следовательно, природный газ, который раньше применялся непосредственно на нужды кислородно-конвертерного производства, можно направить на другие цели.

В настоящее время известь имеет широкое применение в строительстве, например, для производства цемента. Цемент обладает высоким спросом и цены на него растут. Таким образом, известь, обожженная природным газом, сбывается на цементный завод. Комбинат получает прибыль на сэкономленном природном газе.

Итак, себестоимость стали снижается и находится новый источник получения прибыли.

Для обжига извести природным газом необходимо затратить 1080 кДж на подогрев 1 килограмма извести.

Переведем значения в условное топливо, так как знаем, что 222 кг.у.т./тонну тратится природного газа.

Чтобы перевести, нужно теплоту разделить на 29,309 МДж/кг, получаем 0,0368487 кг.у.т./кг, на тонну получаем 36,8 кг.у.т./т.

Н/29,309=1080/29,309=36,8 кг.у.т. на тонну.

Для получения горячей извести мы затрачиваем:

=222+36 кг.у.т./тонну

Таким образом переводя, получаем 25,8 кг.у.т/тонну

Переведем в тонну условного топлива - 0,025 т.у.т

Оценим экономию топлива для производства извести в 4513000 т/год

,025*4513000=112825 т.у.т/год

План маркетинга:

)        Отказ от «платного» топлива (природный газ)

Установка вращающейся печи в кислородно- конвертерном цехе позволяет получать горячую известь за счет бесплатного альтернативного источника энергии - конвертерного газа.

)        Возможность использования автономно

Область примененияизвестиобширна, начиная со строительства и заканчивая производством стали.

)        Простота эксплуатации

Устройство вращающейся печи надежно и практично. По заявлению производителей, реальный срок их службы составляет 25-30 лет, а по данным некоторых производителей и более 30-ти лет.

Сильной стороной конкурентов является традиционность продаваемого оборудования данного направления.

Слабой стороной конкурентов является то, что тепловое оборудование использует традиционные источники топлива, стоимость которых растет с каждым годом.

Маркетинговая стратегия: энергия конвертерного газа во всем мире используется очень широко, у нас о ней почти не вспоминают. Техника использования конвертерных газов не развивается, несмотря на то, что их количество у нас не ниже, чем в других странах.

Энергия конвертерных газов с каждым годом используется всё активнее и высокая стоимость природного газа лишь в некоторой степени способствует этому, потому что единовременные затраты, связанные с установкой вращающейся печи, окупаются в короткие сроки.

Интенсивность выделения газов из конвертера периодически меняется от нуля в межплавильный период до максимума примерно в середине периода продувки. Если принять, что промежуток времени от выпуска до выпуска 35 мин (т. е. примерно 40 плавок в сутки), а продолжительность интенсивного окисления углерода 10 мин, то из 1440 мин суточного времени лишь 10 • 40 = 400 мин в сутки конвертер покидают газы, являющиеся ВЭР.

Основным поставщиком вращающихся печей в нашем регионе является Remiz. Ближайший филиал оптовых продаж компании находится в г. Челябинск.

.3 Финансовый план

Использование природного газа - повышение его стоимости, повышение интенсивности конвертерных, способствуют увеличению популярности вращающихся печей, широкому применению вращающихся печей и других устройств и технологий вторичной энергетики- устройств использующих вторичные энергетические ресурсы. Использование конвертерных газов при помощи специальных устройств, позволяет сократить себестоимость стали, за счет энергосбережения.

Такое оборудование как вращающиеся печи могут существенно уменьшить затраты на производство стали.

Смета капитальных вложений: в целях экономии природного газа предлагается установка вращающейся печи для удовлетворения нужд кислородно- конвертерного производства в горячей извести. Работа вращающейся печи будет покрывать нужды в горячей извести.

Общая характеристика объекта управления, классификация переменных величин

Вращающиеся печи для производства извести обладают рядом преимуществ по сравнению с шахтными: высокая механизация и управляемость процесса, равномерность обжига извести при высокой степени диссоциации карбонатов, возможность обжига мелких фракций сырья, простота организации сжигания газообразного и жидкого топлива.

Основными недостатками вращающихся печей являются: повышенный удельный расход топлива на обжиг, большие капиталовложения на оборудование и сооружения, значительная металлоемкость.

Вращающаяся печь представляет собой футерованный изнутри вращающийся стальной цилиндрический барабан, установленный наклонно (3-4%) на роликовых опорах.

Различают длинные вращающиеся печи с отношением длинны барабана L к диаметру D (в свету) в пределах 35-40 и короткие с запеченными теплообменниками (отношение L|D=14-20).

Вращающаяся печь с теплообменными устройствами внутри корпуса состоит из следующих основных конструктивных элементов: корпуса с внутренними теплообменными устройствами, роликовых опор, привода, головки и пылеоседательной камеры.

Корпус печи представляет собой сваренный из секций полый стальной барабан диаметром от 2,2 до 7м и толщиной до 30м. На корпусе закреплены бандажи, опирающиеся на роликовые опоры. Корпус печи фиксируется в определенном положении на роликовых опорах системой гидравлических упорных роликов.

Для повышения жесткости корпуса его толщину под бандажами и приводной шестерней увеличивают в 2-3 раза. Применявшиеся с этой целью прежде кольца жесткости не оправдали себя на практике и в печах последних конструкций отсутствуют.

Корпус печи имеет наклон 3-4% к горизонту и вращается со скоростью 0,5-1,5 об/мин от электродвигателя, соединенного с корпусом через редуктор, подвенцовую и венцовую шестерни. С увеличением диаметра корпуса увеличивается радиальное усилие, передаваемое подвенцовой шестерней. Поэтому печи большой мощности снабжены двусторонним приводом с одной венцовой и двумя подвенцовыми шестернями.

Остановка печи в любом положении осуществляется электромагнитным фрикционным тормозом, зажимающим приводной вал при срабатывании электромагнита.

Печь снабжена резервным (вспомогательным) приводом небольшой мощности, позволяющим вращать её корпус со скоростью 4 об/мин в период пуска и при ремонтных работах.

Концевая обечайка разгрузочной части корпуса современных мощных печей охлаждается холодным воздухом, нагнетаемым вентилятором между ней и дополнительной конической обечайкой.

Корпус печи оборудован люками для производства ремонтных работ и пробоотборниками.

Корпус печи загрузочным концом входит в пылеоседательную камеру, разгрузочным - в отканую или стационарную головку.

Пылеоседательная камера и разгрузочная головка представляют собой стационарную металлическую конструкцию, сваренную из листовой стали и футерованную из нутрии огнеупором. С помощью переходной вставки разгрузочная головка соединена с приемной частью однобарабанного или колосникового холодильника. На передней части головки смонтирована дверь, в которой имеются отверстия для установки газовых или мазутных горелок, расположены два смотровых и один ремонтный люк. Пылеоседательная камера смонтирована на строительной конструкции. Со стороны передней стенки снабжена одним или двумя предохранительными взрывными клапанами и ремонтным люком. Нижняя часть камеры выполнена в виде бункера - пылесборника. В верхней части камеры расположен фланец, к которому крепится течка сырья. Места входа корпуса печи в пылеоседательную камеру и горячую головку уплотнены.

Температура корпуса печи не должна превышать 3000С, так как это приведет к его деформации. Для защиты стального корпуса от перегрева его футеруют огнеупорным кирпичом и теплоизоляцией. При нагревании футеровки она расширяется и в ней возникают напряжение, величина которых пропорциональна температуре.

Неравномерность нагрева по толщине футеровки вращающейся печи сопровождается повышенным напряжением в её внутреннем слое, что приводит к скалыванию поверхности футеровки при значительных колебаниях температуры её внутренних слоев. Поэтому для зоны обжига печи следует применять огнеупоры, предел прочности на сжатие которых в холодном состоянии не ниже 200 кгс/см в квадрате.

Для улучшения теплообмена между газовым потоком и материалом в холодной части длинных печей размещают внутренние теплообменные устройства. Для известеобжегательных печей применяют цепные и ячейковые теплообменники.

Во вращающейся печи различают три основные зоны, отличающиеся режимными параметрами термообработки материала и физико-химическими процессами, происходящими в нем.

Зона подогрева расположена в холодном конце печи, начиная от места поступления в неё сырья, и занимает до 70% общей длины корпуса длинной печи и 20-30%короткой с запеченным подогревателем сырья.

Поступающий в зону подогрева длинной печи материал проходит последовательно сушку (t до 120 градусов) и нагрев (t-850-900 С). В конце зоны подогрева, в температурном интервале 700-900 С, полностью разлагается содержащийся в сырье углекислый магний и частично углекислый кальций.

Выходящие из зоны обжига с температурой 1100-1250 С печные газы отдают тепло материалу, и их температура снижается до 600-800 С. Температура печных газов на выходе из печи в значительной мере зависит от влажности сырья, от организации теплообмена с сырьем в зоне подогрева и от длины зоны подогрева.

При отсутствии в зоне подогрева теплообменных устройств материал в результате незначительной поверхности теплообмена забирает меньше тепла, чем он мог бы теоретически принять от газов, и температура газов на выходе из печи с соотношением L|Д=25-30 (длина к диаметру) остается высокой (500-600 С) даже при обжиге влажного мела. При известняке, влажностью 2-4% температура отходящих газов из барабана печи составляет 700-800 С.

В печах с отношением L|Д=35-40 (длина к диаметру) температура газов на выходе из зоны подогрева значительно ниже (400-450 С). Но так как снижение температуры газов происходит в основном за счет потери тепла корпусом печи в окружающую среду, то удельный расход топлива на обжиг остается высоким.

Применение внутренних теплообменников позволяет интенсифицировать конвективный теплообмен в зоне подогрева, и температура отходящих газов снижается до 350-4000 С. Температура материала по длине печи растет при этом значительно быстрее, и длина зоны подогрева сокращается, а длина зоны обжига увеличивается. Поэтому применение внутренних теплообменных устройств позволяет на 10-15% увеличить производительность печи при одновременном снижении удельного расхода топлива на 20-25% за счет лучшего использования тепла печных газов.

Значительный эффект достигается при установке за короткой вращающейся печью запечного теплообменника, например конвейерной решетки. При этом сушка и подогрев материала до температуры 700-7500 С происходит на конвейерной решетке, куда печные газы поступают с температурой 900-1000 градусов, а после двойного просасывания через слой выходят с температурой 350-4000 С.

Из-за подсосов холодного воздуха в теплообменнике температура газов обычно равна 200-2500 С. Дальнейшее нагревание сырья до температуры 9000 С происходит на коротком участке зоны подогрева печи.

Выходящие из зоны подогрева длинной печи газы при правильной организации процесса обжига содержат 22-24% углекислого газы и 2-2,5% кислорода. Отходящие из подогревателя сырья газы вследствие меньшего удельного расхода топлива на обжиг в коротких вращающихся печах с запечными теплообменниками содержат 26-28% углекислого газа и 1,5-2% кислорода.

Зона обжига длинной вращающейся печи занимает 25-30%, а короткой 50-70% общей длины корпуса печи. В зоне обжига происходит сгорание топлива, и завершаются основные физико-химические реакции разложения карбонатного сырья.

Ввиду малого времени пребывания материала в зоне обжига (30-45 мин) его нагревают до температуры 1200 С, при которой реакция разложения карбоната кальция происходит достаточно быстро. В результате сырьё успевает почти полностью диссоциировать и содержание активных CaO+MgO в воздушной извести обычно составляет 90-94%.

Для обеспечения быстрого нагрева материала максимальную температуру газов поддерживают на 250-3000С выше температуры материала. Передача тепла материалу происходит от факела и поверхности футеровки печи. От факела тепло подается материалу лучеиспусканием и конвекцией, от футеровки - преимущественно теплопроводностью.

В конце зоны обжига расположен порог высотой 200-500 мм, иногда на расстоянии 16-18 м от него устраивают второй порог. Применение кольцевых порогов (местных сужений внутреннего диаметра печи) улучшает характеристики процесса обжига за счет увеличения времени пребывания материала в зоне высоких температур и уменьшения потерь тепла излучением факела в холодный конец печи. В итоге устройство двух - трех порогов в печи позволяет на 5-10%повысить её производительность и несколько снизить удельный расход топлива на обжиг.

Длину и расположение зоны обжига регулируют длиной и формой факела. Сжигание топлива в факеле организуют при общем коэффициенте избытка воздуха альфа от 1,05 до 1,15. Смещение зоны обжига к холодному концу печи увеличивает потери тепла с отходящими газами, а смещение её к горячему концу приводит к уменьшению длины зоны обжига и появлению в связи с этим «недожога» в извести.

Зона предварительного охлаждения занимает 5% длины печи и расположена непосредственно за зоной обжига. Ввиду незначительной длины зоны материал на выходе из неё имеет температуру 900-10000 С и физическое тепло отдает вторичному воздуху в основном в рекуператорном или барабанном холодильнике.

Воздух нагревается в зоне предварительного охлаждения до температуры 600-7000С, что способствует повышению температуры факела и лучшего использования тепла в целом.

В холодильнике печи известь охлаждается до температуры 150-2000 С (рекуператорный холодильник), 120-1500 С (барабанный холодильник), 40-800 С (колосниковый холодильник).

Остальное оборудование системы обычно включает

система трубопроводов;

насос (для перекачивания воды через теплообменник);

манометр (измерение давления в системе);

клапан давления (для автоматического сброса давления в аварийном режиме);

вентили;

соединители;

вентиль безопасности на 6 атм.

Согласно списку необходимого оборудования составим смету единовременных вложений на приобретение вращающейся печи и монтажных, комплектующих частей. Так же в затраты необходимо внести стоимость монтажных работ сторонней организацией.

В таблице 2.2 представлена стоимость оборудования комплекта оборудования и его монтаж.

Монтаж оборудования включает в себя оплату труда рабочим, которые непосредственно занимаются монтажом.

Таблица 2.2 - Затраты на закупку и монтаж оборудования вращающейся печи

Наименование оборудования

Стоимость руб.

Вращающаяся печь (1 шт.)

49545

Корпус с внутренними теплообменными устройствами, d=2,2 м(1 шт.)

7000

Роликовая опора

1085

Привод (1 шт.)

2800

Головка (2 шт.)

1200

Пылеоседательная камера (1 шт.)

900

Зажимающий приводной вал (3 шт.)

3490

Электромагнитный фрикционный тормоз

570

Резервный привод (1 шт.)

2500

Стоимость монтажа

5000

Итого

55445


Всего капитальные затраты на установку вращающейся печи составили 112030 рублей.

Установка вращающейся печи требует человеческих ресурсов. На кислородно-конвертерное производство набирается определенный состав сотрудников соответствующей квалификации.

Для них разрабатывается график работы, определяется ставка заработной платы.

Обоснование штата и системы оплаты труда персонала: Планирование численности персонала и уровней управления

Эксплуатационный персонал вращающейся печи

1)      Расстановочная сменная численность эксплуатационного персонала для данной печи принимаем:

Чяв=Нобс*n=2*1=2, (2.1)

где Нобс - норматив рабочих по обслуживанию одной печи;- количество печей.

) Списочный суточный состав эксплуатационного персонала составит:

Чсут=2*4=8 (2.2)

Рабочие, выполняющие планово-предупредительные ремонты.

) Явочная численность рабочих, занятых планово-предупредительным ремонтом:

, (2.3)

где ТКР - норма трудоёмкости при капитальном ремонте, для вращающейся печи, Ткр=750 чел-ч.,

Ттр - норма трудоёмкости при текущем ремонте, для вращающейся печи, Ттр=700 чел-ч. квн- коэффициент выполнения норм, квн=1,15-1,18

) Списочный состав рабочих, занятых планово-предупредительным ремонтом:

, (2.4)

где n - количество смен;

к - коэффициент использования рабочего времени

Общая численность рабочих

 (2.5)

Ч= 8+3=11 чел.

Количество линейных руководителей

1)      Численность мастеров:

, (2.6)

Рмо=11/12=1 чел.

где Мн - норма управления для мастеров (принята равной 12 рабочих на мастера).

2)      Численность начальников участка:

, (2.7)

Руо=1/4=1 чел

где Му - норма управления для начальника участка (принята равной 4 мастера на начальника участка).

3)      Итого, численность промышленно-производственного персонала:

 (2.8)

Рппп=11+1+1=13 чел

В таблице 2.3 при разработке данного производственного проекта конкретного изменения численности не наблюдается, так как у нас было одна печь и стало одна печь, но более усовершенствованных

Таблица 2.3- Изменение численности персонала по проекту за 2013 год.

Наименование показателя

Условное обозначениение

Отчетный год

Отклонение

%



фактич. чески

проект



Всего ППП, в т.ч.

Чппп

13

 13

 0

 0

1.Рабочие

Чр

11

 11

 0

 0

2. Служащие

РРСиС

 -

 -



2.1.Руководящие работники t

Чрр

1

1

0

0

2.2.Специалисты (мастера)

Чспец

1

1

0

0

2.3.Служащие

Чслуж

-

-

Среднемесячное количество рабочих часов в 2013 г. соответствует значению 164,16 ч. (1970 часов в год: 12 месяцев = 164,16 часа). Плановая норма рабочего времени приведена в таблице 2.4.

Таблица 2.4 - Плановая норма рабочего времени в 2013 году

Период времени

Количество дней

Рабочее время, часы


календарных

рабочих

нерабочих


Январь

 31

 17

 14

 136

Февраль

 28

 20

 8

 159

Март

 31

 20

 11

 159

 I

 90

 57

 33

 454

Апрель

 30

 22

 8

 175

Май

 31

 18

 13

 143

Июнь

 30

 19

 11

 151

 II

 91

 59

 32

 469

Июль

 31

 23

 8

 184

Август

 31

 22

 9

 176

Сентябрь

 30

 21

 19

 168

 III

 92

 66

 26

 528

Октябрь

 31

 23

 8

 184

Ноябрь

 30

 20

 10

 160

Декабрь

 31

 22

 19

 175

 IV

 92

 65

 27

 519

Календарный

 365

 247

 118

 1970


Нерабочими праздничными днями в Российской Федерации являются: новогодние каникулы - 1, 2, 3, 4, 5 января; Рождество Христово - 7 января; День защитника Отечества - 23 февраля; Международный женский день - 8 Марта; Праздник Весны и Труда - 1 мая; День Победы - 9 мая; День России - 12 июня; День народного единства - 4 ноября.

Для непрерывного трехсменного 4-х бригадного графика среднегодовое количество человеко-часов работы (То) рабочего составит:

То == (365дн*3см/4бр*8ч*24чел) = 2190 ч в год, (2.9)

где С - число смен работы;

- количество бригад; - продолжительность смены.

Система оплаты труда повременно-премиальная, используется 20 разрядная тарифная сетка № 2 для вспомогательных производств (таблица 2.5).

Тарифная сетка № 2 применяется для оплаты труда руководителей, специалистов, служащих и производственно-технического персонала (рабочих) вспомогательных производств предприятия черной металлургии.

Таблица 2.5 - Тарифная сетка №2 для вспомогательных цехов на примере ОАО «ММК»

Разряды оплаты труда

1

2

3

4

5

6

7

Часовая тарифная ставка, руб. /час.

21,97

27,46

34,49

43,50

54,71

66,13

78,21

Тарифные коэффициенты

1,00

1,25

1,57

1,98

2,49

3,01

3,56

Разряды оплаты труда

8

9

10

11

12

13

14

Часовая тарифная ставка, руб. /час.

84,80

91,40

98,65

108,53

119,52

133,80 01

148,08 01

Тарифные коэффициенты

3, 86

4,16

4,49

4,9 4

5,44

6, 09

6,74

Разряды оплаты труда

15

16

17

18

19

20


Часовая тарифная ставка, руб. /час.

164,99

183,01

201,46

221,68

243,43 14

267,37


Тарифные коэффициенты

7,51

8,33

9,17

10,09

11,08

12,17



Оплата по тарифу, определяется исходя из отработанных часов (То) и тарифной ставки (ТС):

Зт = ТС*То = 66,13руб./ч * 2190 ч в год = 144824,70 руб./год или 12068,73 руб./мес. (2.10)

Доплата за работу в ночное время(с 22.00 до 06.00 часов, т.е. 8 часов в сутки или 8/24 = 1/3) устанавливается в размере не менее 40% часовой тарифной ставки (оклада (должностного оклада), рассчитанного за час работы) за каждый час работы в ночное время.

При работе по непрерывному графику количество ночных часов составляет 1/3 общего количества человеко-часов работы.

Тн = То/3 = 2190/3 = 730 ч. (2.11)

Во всех остальных случаях количество ночных часов рассчитывается исходя из численности работающих, занятых на работе в ночное время, и количества отработанных или ночных смен.

Доплата за работу в ночное время определяется:

Зн = ТС*Тн*40% = 66,13руб./ч * 730 ч в год*0,4 = 19309,96 руб./год или 1609,16 руб./мес.

Доплата за работу в вечернее время (с 18.00 до 22.00 часов, т.е. 4 часа в сутки или 4/24= 1/6)) устанавливается в размере не менее 20% часовой тарифной ставки (оклада (должностного оклада), рассчитанного за час работы) за каждый час работы в вечернее время.

При работе по непрерывному графику количество ночных часов составляет 1/6 общего количества человеко-часов работы.

Тн = То/3 = 2190/6 = 365 ч. (2.12)

Доплата за работу в вечернее время определяется:

Зв = ТС*Тв*20% = 66,13руб./ч * 365 ч в год*0,2 = 4827,49 руб./год или 402,29 руб./мес.

Размер производственной премии составляет 30%. Премия рассчитывается на тариф и все доплаты.

Зп=(Зт + Зн + Зв)*30% = (144824,70 + 19309,96 + 4827,49)*0,3 = 50688,65 руб./год или 4224,05 руб./мес.

Доплата по районному коэффициенту составляет 15%. Доплата по районному коэффициенту рассчитывается на все виды оплат:

Зрк=(Зт + Зн + Зв + Зп)*15% = (144824,70 + 19309,96 + 4827,49 + 50688,65)*0,15 = 32947,62 руб./год или 2745,64 руб./мес.

Основная заработная плата включает все виды оплат:

ОЗП= 144824,70 + 19309,96 + 4827,49 + +50688,65 +32947,62 = 252598,42 руб./год или 21049,86 руб./мес.

Дополнительная заработная плата составляет 10% от основной заработной платы.

ДЗП= (144824,70 + 19309,96 + 4827,49+ +50688,65+32947,62)*0,10= 25259,84 руб./год или 2104,99 руб./мес.

Всего заработная плата:

ФЗП = ОЗП+ДЗП = 252598,42 +25259,84 =277858,26 руб./год или 23154,86 руб./мес.

Таким образом, среднемесячная заработная плата рабочего составит 23155 руб. в месяц

Расчет ФЗП всех остальных профессий представим в таблице 2.6.

Таблица 2.6 - Расчет годового фонда оплаты труда работников кислородно-конвертерном цехе

Показатель

Наименование профессий


Оператор ККЦ котельной

Рабочий- ремонтник слесарь-ремонтник

Мастер цеха смены

Начальник цеха участка

1.Разряд работы или оклад

6

5

9

13

2.Тарифная сетка

№2

№2

3.Тарифная ставка, руб. /час.

66,13

54,71

91,40

133,80

4.Система оплаты труда

ПП

ПП

ПП

ПП

5.График работы

3-Н

5-Б

6.Количество работающих (с подменой) согласно штатному расписанию

2

8

3

1

7.Планируемое выполнение норм выработки, %

0

0

0

0

8.Фонд рабочего времени, чел-ч

2190

2190

2190

1970

9.1.Работа в ночное время, чел-ч

730

730

730

0

9.2.Работа в вечернее время, чел-ч

365

365

365

0

10.Основная зар. лата, руб./год. {10.1}+{10.2}+...+{10.8}

252598,42

21097,95


515310,63

10.1.Оплата по тарифу руб./год. ={4}*{9}

144824,70

119814,90

200166,00

263586,00

10.2.Доплата за работу в ночное время, руб./год. =Тст*{9.1}*0.4(40%)

19309,96

16267,32

26688,80

0


Заработанная плата производственных рабочих и ремонтного персонала составит:

ФЗПраб=ФЗПпр*Чпр +ФЗПрп*Чрп= 277858,26*24 +230475,12*7 = 6668598,24+1613325,84 = 8281924,08 руб./ год = 8281,9 тыс.руб.,

где ФЗПпр, ФЗПрп - средний годовой фонд заработной платы одного производственного рабочего и одного работника ремонтно-эксплуатационного персонала соответственно;

Чпр, Чрп численность производственных рабочих и работников ремонтно-эксплуатационного персонала соответственно.

Среднемесячная заработная плата машиниста котельной составит: ФЗПпр=23155 руб./мес.,

Среднемесячная заработная плата слесаря-ремонтника составит: ФЗПрп=19206 руб./мес.

Заработная плата руководства цеха составит:

ФЗПррсис=ФЗПмс*Чмс+ФЗПну*Чну= (384035,15)*3+(566841,69)*1=1152105,44+566841,69= 1718947,13 руб. = 1718,9 тыс. руб. (2.13)

где ФЗПмс, ФЗПну - средний годовой фонд заработной платы одного мастера смены и одного начальника участка соответственно;

Чпр, Чрп численность мастеров смены и начальников участка соответственно;

Среднемесячная заработная плата мастера смены составит:

Фм=28810,70 руб, Фн=47236,80 руб. (2.14)

Среднемесячная заработная плата начальника участка составит:

Фн=47236,80 руб./мес. (2.15)

Итого фонд заработной платы

ФЗП=ФЗП раб.+ФЗПррсис=8281,9 +1718,9 =10000,8 тыс. руб (2.16)

Определили размеры заработных плат для сотрудников, размеры премий, доплата за часы в ночное время, в праздничные дни.

Оценка денежных потоков инвестиционного проекта:

В таблице 2.7 найден эффект операционного рычага.

Таблица 2.7- Расчет эффекта операционного рычага

ТЭП

Условное обозначение

Формула расчета

Проект

Уд. вес, %






1. Выручка от реализации (ВРП), тыс. руб.

ВРП

Ц*Q

1 000 000

100%

- цена продукции, руб./т

Ц


200


-выручка от реализации, тыс.т в год

Q


5 000


2. Прямые переменные затраты (ПЗ), тыс. руб. всего:

ПЗ

ПЗ= СиМ+ОЗП

770 000

77%

- на сырье и материалы

СиМ


650 000

65%

- на оплату труда

ОЗП


120 000

12%

3. Валовая маржа,тыс. руб.

СП

СП=ВРП-ПЗ

230 000

23%

- доли

СПд

СПд=СП/ВРП

0,23


4. Постоянные затраты (УПР), тыс. руб.

УПР


150 000

15%

5. Порог рентабельности (ПгР), тыс. руб.

ПгР

ПгР = УПР / СПд

652 174

65%

- порог рентабельности, доли

%ПгР

%ПгР = ПгР/ВРП

65%


6. Пороговое количество товара (ПКТ), тыс.т

ПКТ

ПКТ = ПгР / Ц

3 261


7. Запас финансовой прочности (ЗФП), тыс. руб.

ЗФП

ЗФП = ВРП - ПгР

347 826

35%

в долях к выручке от реализации продукции, %

%ЗФП

% ЗФП = ЗФП /ВРП

35%


8.Финансовый результат (ВРП-ПЗ-УПР), тыс.руб.

Пр

Пр = (ВРП-ПЗ-УПР)

80 000

9. Ставка налого-обложения прибыли (Нпр), %

Нпр


20%



Эффект операционного рычага равен 4%.

Для расчета себестоимости 1 т. стали используем калькуляцию до и после реализации бизнес-плана (приложение А).

В таблице 2.8 представлена себестоимость стали, которая получена двумя способами:

при использовании без установки вращающейся печи;

при использовании установки вращающейся печи.

Таблица 2.8 - Себестоимость стали без установки вращающейся печи и с установкой

Наименование статьи расхода

Без печи

С печью

Изменение, руб.


Количество

Цена, руб.

Сумма, руб.

Количество

Цена, руб.

Сумма, руб.


Природный газ

400

200

80000

0,00

-

0,00

-

Текущий ремонт, руб.



5000



5000

-

Электрическая энергия



-

10000

2,00

20000

20000

Амортизация



1200



800

400

Обслуживание, руб.



20000



5000

15000

Итого



106200



30800

46200

Себестоимость 1 т стали.



106200



60000

46200


Согласно, полученным данным, себестоимость стали полученной с помощью печи ниже, чем себестоимость стали полученной без нее. Это объясняется тем, что: расход газа на обжиг извести при использовании печи равен нулю.

В таблице 2.9 представленные данные показателя NPV при ставке дисконтирования СД=15%, показывают то что имеют положительное значение в пятом году эксплуатации. Показателя NPV при ставке дисконтирования СД=30% положительные значения имеют место в шестом году эксплуатации.

Сравнивая расчетные (фактические) показатели эффективности инвестиционного проекта с требуемыми значениями принимается решение:

либо к внедрению данного проекта - в случае соблюдения всех четырех критериев;

либо отказ от его реализации ввиду убыточности проекта.

Таблица 2.9 - Основные критерии оценки эффективности инвестиционного проекта

Наименование показателя-критерия

Обозначение

Требование к критер

Чистая текущая стоимость проекта

NPV

≥ 0

Период возврата капиталовложений в проект (срок окупаемости инвестиций), лет

T (time)

T<Тжп (период жизни проекта)

Внутренняя норма доходности, %

IRR

IRR > СД (ставка дисконта)

Индекс рентабельности, доли

IP (index profit)

IP ≥ 1


Данные представленные в таблице 2.10, показывают то что NPV≥ 0. Данный показатель говорит о том, что проект эффективен по первому критерию.

Положительное значение NPV получено к пятому году эксплуатации, что меньше жизни проекта (который составляет 25 лет).

Длительность жизни проекта ограничивается сроком его физической и моральной годности, т.е. исходя из минимальной нормы амортизации вводимого оборудования:

(2.17)

где  = 25 - срок эксплуатации оборудования;

Рисунок 2.4 - Динамика чистой текущей стоимости проекта

Критерий внутренней нормы доходности определяется по двум значениям показателя NPV (при СД1 и СД2). Для определения показателя IRR построим данный график

Рисунок 2.5 - График внутренней нормы доходности

По представленному определим значение внутренней нормы, которое будет равным 37% при NPV=0. Так же, данное значение может быть рассчитано с помощью формулы:

,

,

Полученное значение IRR ≥ СД: 37%> 15%, требуемое условие выполняется, т.е. и по третьему критерию проект эффективный.

Индекс рентабельности (IP) определяется по формуле (2.19):

,

Можно сказать, что индекс рентабельности к 10 году эксплуатации равен 256,77 что больше 1. Это значит, что проект эффективен по четвертому критерию.

По проделанному расчету можно сделать вывод: данный проект удовлетворяет условиям четырех критериев. И как следствие проект рекомендуется к внедрению.

Проект к пятому году эксплуатации окупит единовременные вложения.

Заключение

В последнее время первоочередное значение приобретают проблемы возникновения стойкой тенденции к росту стоимости энергии, а также огромная доля давления на окружающую среду, приходящаяся на энергоснабжение теперь нарушает природные процессы уже в широком масштабе.

В настоящее время конвертерный газ кислородно-конвертерного производства никак не используется, он идет на свечу. Обжиг известняка конвертерным газом в свою очередь сократит расход природного газа.

Найдено узкое место в цепочке производства стали ОАО «ММК». Для того, чтобы его убрать предлагается установка вращающейся печи для обжига известняка на кислородно-конвертерном производстве.

Для реализации проекта потребуются капитальные вложения в размере 55,445тыс. рублей. Период окупаемости данного проекта составляет 5 лет.

В данной работе: определена смета капитальных затрат, приведено обоснование штата, распланирована численность персонала и уровни управления для обеспечения функционирования вращающейся печи на кислородно-конвертерном производстве ОАО «ММК», составлен фонд оплаты труда, с уточнением смен ночных, праздничных, определена тарифная сетка начисления заработной платы.

Рассчитан эффект операционного рычага. Чистая прибыль составила: 798912 тыс. руб.

Найдена себестоимость стали без установки вращающейся печи и с установкой. Найдена разница.

Приведены притоки и оттоки денежных средств инвестиционного проекта и расчет показателя NRV, а также сроки окупаемости проекта.

Построены графики: Динамика чистой текущей стоимости проекта и Ставка дисконтирования.

По проделанному расчету можно сделать вывод: данный бизнес-план удовлетворяет условиям четырех критериев. И как следствие проект рекомендуется к внедрению.

Итак, установка вращающейся печи позволяет существенно экономить природный газ, а также улучшить качество извести, подаваемой в конвертер, что положительно влияет на качество получаемой стали.

Решается ряд экологических проблем: сокращение выбросов углекислого газа, угарного газа.

Список использованных источников

1.      Бизнес-план. Как развернуть собственное дело: Учебное пособие/ Под ред. доц. Иванченко Е.К., доц. Кривоедов К.Л. - М.: Издательство ВЭГУ, 2008г.

2.         Райзберг Б.А., Лозовский Л.Ш., Стародубцева Е.Б. Современный экономический словарь. 5-е изд., перераб. и доп.- М.: ИНФРА-М, 2007. - 495 с.

3.      Словарь Борисов А.Б. Большой экономический словарь. - М.: Книжный мир, 2003. - 895 с.

.        Бизнес-план или как организовать собственные бизнес. / под ред. А.С. Пелих, Т.Г. Кизилова, А.Г. Пронченко - 2-е изд., перераб. и доп. - М.: «Ось-89», 2008. - 96 с.

.        Финансовый бизнес-план: Учеб. пособие / Под ред. действ. члена Акад. инвестиций РФ, д-ра экон. Наук, проф. В.М. Попова. - М.: Финансы и статистика, 2009. - 480 с.

.        Бизнес-планирование. Учебно-практическое пособие / Под ред. Черняк В.З., Черняк А.В., Довдиенко И.В. - М.: Издательство РДЛ, 2010. - 272 с.

.        Веснин В.Р. Менеджмент: учеб. - 3-е изд., перераб. и доп. - М.: ТК Велби, Изд-во проспект, 2009. - 504 с.

.        Воскобойников В.Г., Кудрин В.А., ЯкушевА.М. Общая металлургия: учебник для вузов / Воскобойников В.Г., Кудрин В.А., Якушев А.М. - 6-изд., перераб и доп. - М.: ИКЦ «Академкнига», 2005 - 768 с.

.        Бигеев А.М. Металлургия стали. Теория и технология плавки стали. Бигеев А.М., Бигеев В.А. Учебник для вузов, 3-е изд. переработ. и доп. Магнитогорск: МГТУ, 2000. - 544 с.

.        Аксенова С.С., Петин С.Н., Картавцев С.В. Выбор направления эффективного использования конверторного газа// Энерго- и ресурсосбережение. Нетрадиционные и возобновляемые источники энергии, Екатеринбург 2003. - с.15-18.

.        Лемешко С.Н., Картавцев С.В. Исследование термодинамики процесса обжига извести//Молодежь. Наука. Будущее: сборник научных трудов студентов, выпуск 2/МГТУ. - Магнитогорск, 2004, - с.183-186.

.        Лемешко С.Н.. Энергетика и теплофизика обжига извести// энергетика: экология, надежность, безопасность. Труды 6 Всероссийского студенческого научно-технического семинара/МГТУ. - Магнитогорск. - С. 173

.        Устимов К.В., Картавцев С.В.Возможный эффект от использования тепла уходящих конверторных газов для подогрева извести в кислородно-конверторном процессе //Энергетики и металлурги настоящему и будущему России: Материалы 11-й всерос. науч. - прак. конф. студ., асп. и спец.(20-22 мая)/МГТУ. - Магнитогорск, 2010. - с. 133

14.       Бабошин В.М, Кричевцов Е.А., Абзалов В.М, Щелоков Я.М. Теплофизические свойства топлив и шихтовых материалов черной металлургии, справочник. - М.: Металлургия, 1982 г. - с. 150

.           Исаченко В.П., Осипова В.А., Сукомел А.С. Теплопередача. - М.: Энергоатомиздат, 1981. - 416 с.

Приложение А

Калькуляция себестоимости стали

Статьи калькуляции

Ед. изм.

На всю продукцию



кол-во

цена, руб./единицу

сумма

1. ХВО

т. воды

292134

120, 00.

35056144.

2. Техническая вода

т. воды

5842690

0,03.

175281

3. Топливо (природный газ)

м3 газа

59609

900,00 P-

71531566

4. Электроэнергия

кВт-ч

744600

1,60

1191360^

5. Заработная плата

руб/год



8650000

6. Отчисления в социальный фонд (30%)

руб/год



2595000.

7. Ремонт и содержание оборудования

руб./год



819000

8. Амортизация зданий, оборудования и трубопроводов

руб./год



1638000р.

9. Прочие расходы

руб./год



400000.

10.Общепроизводственные расходы

руб./год



 250000.

Итого, производственная себестоимость




121135000


Тариф на тепловую энергию: 478,22 руб./Гкал.

Похожие работы на - Составление бизнес-плана развития снижения себестоимости стали к кислородно-конвертерном производстве

 

Не нашли материал для своей работы?
Поможем написать уникальную работу
Без плагиата!
Без нейросетей!