Расчет конструкторских и технологических параметров сепаратора ОМЕ

  • Вид работы:
    Курсовая работа (т)
  • Предмет:
    Другое
  • Язык:
    Русский
    ,
    Формат файла:
    MS Word
    666 Кб
  • Опубликовано:
    2016-01-24
Вы можете узнать стоимость помощи в написании студенческой работы.
Помощь в написании работы, которую точно примут!

Расчет конструкторских и технологических параметров сепаратора ОМЕ

Расчет конструкторских и технологических параметров сепаратора ОМЕ

Реферат

 

Анализ, сепаратор, устройство, барабан, приемно-отводящее устройство, межтарельчатое пространство, расчет, радиус частиц, фактор разделения, мощность, напряжения, толщина.

Объектом разработки является сепаратор ОМЕ.

Цель работы - расчет конструкторских и технологических параметров сепаратора ОМЕ.

В процессе работы использовались аналитический и расчетный методы исследования.

В результате выполнения проекта определены основные конструкторские и технологические параметры сепаратора ОМЕ.

Степень внедрения - рассматривается возможность внедрения рассчитанных технологических параметров на предприятиях, занимающихся разработкой и производством оборудования для пищевой промышленности.

Разработанная конструкция рекомендуется к внедрению на всех предприятиях, занимающихся разработкой и производством оборудования для пищевой промышленности.

Эффективность разработанных параметров сепарации определяется ее улучшенными технологическими показателями, экономией производственных материалов.

Содержание

Введение

. Устройство и принцип работы

. Патентный анализ

. Конструкторская часть

.1 Данные для расчета

.2 Технологический расчет

.3 Энергетический расчет

.4 Механический расчет

. Монтаж, ремонт, эксплуатация сепаратора

.1 Установка и выверка сепараторов

.2 Сборка сепаратора

.3 Пуск сепаратора

.4 Работа сепаратора

.5 Остановка и разборка

.6 Мойка сепаратора

.7 Смазка сепараторов

Заключение

Список использованных источников

         Введение


Пищевая промышленность России - одна из ведущих отраслей экономики страны. Развитие пищевой промышленности требует дальнейшей интенсификации технологических процессов, уменьшение расхода топлива, электроэнергии на их осуществление, затрат металлов и других конструкционных материалов на изготовление машин и аппаратов.

Техническая база предприятий пищевой промышленности за последние годы интенсивно обновляется. Наряду с оборудованием, смонтированным в предыдущие годы, появились образцы оборудования, изготовленные российскими машиностроительными заводами, поставленные зарубежными фирмами, совместными предприятиями. В процессе модернизации оборудования наибольший экономический эффект дают те решения, которые направлены на рациональное использование сырья и материалов, внедрение материалосберегающей техники и технологии.

Пищевая промышленность является важной отраслью народного хозяйства страны, суть которой заключается в своевременной переработке растительного и животного сырья и обеспечении массового производства продуктов питания. Она включает также производство продуктов в расфасованном и упакованном виде, что обеспечивает совершенствование системы торговли и снижения затрат на товарооборот.

Сепараторы молочной промышленности относятся к основному оборудованию, применяемому при переработке молока, их используют для очистки молока от примесей, для получения сливок, нормализации и гомогенизации молока, отделения белка и жира от сыворотки при выработке молочного сахара, отделение белка при выработке сыра кисломолочного и в других технологических операциях.

Сепараторы можно классифицировать по производственному назначению, конструктивным особенностям приемно-отводящих устройств, способом удаления осадка из барабана.

В молочной промышленности сепараторы разделяют на сепараторы с ручной и автоматизированной выгрузкой осадка. Сепараторы с автоматизированной выгрузкой осадка называются саморазгружающимися. В свою очередь, саморазгружающиеся сепараторы бывают с непрерывной и с пульсирующей (периодической) выгрузкой осадка.

До саморазгружающихся сепараторов с непрерывной выгрузкой осадка относятся, в частности, бактофуги и сепараторы для отделения белкового сгустка, а с пульсирующей выгрузкой осадка - сливкоотделители и молокоочистители.

В сепараторах с непрерывной выгрузкой осадка разгрузка барабана происходит через сопла в стенках барабана.

В сепараторах с пульсирующей выгрузкой осадка разгрузка барабана осуществляется в результате периодического перемещения подвижного днища вниз на некоторое время под действием гидростатического давления продукта. Осадок, накопившийся у стенки барабана, выбрасывается через кольцевую щель, которая образуется в результате опускания подвижного днища барабана. После разгрузки осадка днище снова поднимается вверх при помощи гидравлической системы и удерживается в этом положении до следующей разгрузки. Существуют также другие конструкции устройств для периодической разгрузки осадка.

        

         1. Устройство и принцип работы


Сепаратор ОМЕ - очиститель тарельчатого типа с ручной периодической выгрузкой осадка из барабана. Изготавливается в полузакрытом исполнении.

Сепаратор предназначен для непрерывной очистки молока от посторонних примесей, микрофлоры и белкового слизи. Продолжительность непрерывной работы его составляет 2 часа.

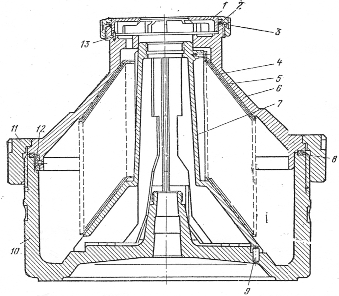
В состав сепаратора входят следующие основные узлы: станина с приводным механизмом, барабан, приемно-отводящее устройство.

Станина сепаратора состоит из двух частей: чаши 6 (см. рисунок 1) и корпуса 7, в котором размещен приводной механизм. Внутренняя часть корпуса является масляной ванной для смазки частей механизма с указателем уровня масла 11 и пробками для отверстий заливки 14 и слива 10 масла. В чаше станины размещены барабаны 3, два тормоза 4, два винта 15 с прижимными планками 16.

Приводной механизм состоит из вертикального вала 8 с нижней опорой 9 и верхней опорой 5, горизонтального вала 12. Барабан вверху закрыт колпаком 2, на котором закреплено приемно-отводящее устройство 1. Для контроля частоты вращения барабана в крышке станины установлен тахометр 13, который получает вращение от горизонтального вала.

Два тормоза 4, служащие для остановки барабана, установленные в чаше станины. Нижняя опора веретена 9 состоит из радиально-опорного шарикоподшипника и пружины. Для регулировки положения барабана по высоте предусмотрены регулировочные шайбы. Верхний конец веретена содержится в упругой плавающей опоре горлового подшипника с помощью шести цилиндрических винтовых пружин, расположенных симметрично и радиально в гнездах корпуса - главной детали горловой опоры. В верхней части станины (чаши) вставлен барабан.

Рисунок 1 - Общий вид сепаратора ОМЕ

Барабан (рисунок 2) сепаратора ОМЕ имеет 60 тарелок с расстоянием между ними 1,5 мм. Объем о пространства 14300 см 3. По устройству он сходен с барабаном сепаратора ОМА-ЗМ. Детали барабана между собой строго зафиксированы. Основа барабана 10 с тарелкодержателем 7 зафиксирована штифтом 9. Тарелки 5 пакета укладываются в определенном положении по ребрам тарелкодержателя. Крышка барабана устанавливается в основу на шпонку 12. Верхняя крышка 1 зафиксирована штифтом 13. Герметичное соединение деталей барабана достигается уплотнительными кольцами 3 и 8 при креплении крышек гайками 2 и 11, которые завинчиваются в установочные знаки.

Рисунок 2 - Барабан сепаратора ОМЕ

Рисунок 3 - Приемно-отводящее устройство сепаратора ОМЕ

Приемно-отводящее устройство (рисунок 3) состоит из трубки 7, на который надет диск напора 11, приемник молока 6 и фланец 9. Все эти части закреплены гайкой 2 и специальной гайкой 1. Уплотнения между ними достигается сжатием уплотнительных прокладок 5 и 8. До патрубка приемника молока присоединен манометр 12 и тройник 13 с краником 19 для отбора проб.

В тройнике смонтирован регулирующий вентиль, который состоит из поршня 14, шпинделя 15, резьбовой втулки 17, закрепленной в тройнике гайкой 16. При вращении шпинделя 15 за рукоятку 18 шпиндель перемещается в резьбовой втулке и увлекает за собой поршень, закрывая или открывая проходное отверстие для молока. Уплотнение между поршнем и тройником обеспечивается уплотнительными кольцами 20.

Процесс очистки молока в молокоочистителе с ручной выгрузкой осадка основан на принципе тонкослойной сепарации под действием силы.

Молоко подается в барабан по центральной трубке, проходящей по каналам тарелкодержателя в отверстие пакета тарелок, и распределяется тонкими слоями между тарелками. В межтарелчатом пространстве барабана плазма, посторонние примеси, как более тяжелая часть молока, движется к периферии, находясь в центробежном поле, молоко под действием центростремительного ускорения движутся к оси вращения.

Очищенное молоко на внешней поверхности тарелок движется по тарелкам к центру барабана. В результате постоянного притока молока и действия центробежной силы потоки очищенного молока движутся непрерывно, поднимаясь к верхней части барабана, и выходят из него через отводные устройства и непрерывно отводятся. А плазма, грязь, посторонние примеси удаляются с периферии при разборе сепаратора.

        

         2. Патентный анализ


Сравним сепаратор-молокоочиститель ОМЕ с ручной выгрузкой осадка с сепаратором-молокоочистителем ОМЕ-С с центробежной автоматической периодической выгрузкой осадка.

Сепаратор-молокоочиститель ОМЕ (рисунок 4) предназначен для очистки молока от посторонних примесей, микрофлоры и белкового слизи.

В состав сепаратора входят следующие основные узлы: станина с приводным механизмом, барабан, приемно-отводящее устройство.

Процесс очистки молока в молокоочистителе с ручной выгрузкой осадка основан на принципе тонкослойной сепарации под действием силы.

Молоко подается в барабан по центральной трубке, проходящей по каналам тарелкодержателя в отверстие пакета тарелок, и распределяется тонкими слоями между тарелками. В межтарелчатом пространстве барабана плазма, посторонние примеси, как более тяжелая часть молока, движется к периферии, находясь в центробежном поле, молоко под действием центростремительного ускорения движутся к оси вращения.

Очищенное молоко на внешней поверхности тарелок движется по тарелкам к центру барабана. В результате постоянного притока молока и действия центробежной силы потоки очищенного молока движутся непрерывно, поднимаясь к верхней части барабана, и выходят из него через отводные устройства и непрерывно отводятся. А плазма, грязь, посторонние примеси удаляются с периферии при разборе сепаратора.

Сепаратор-молокоочиститель ОМЕ-С (рисунок 5) предназначен для очистки молока от загрязнений и механических примесей. Работает в линии с пастеризационной установкой производительностью не менее 15000 дм 3/час.

Рисунок 4 - Сепаратор-молокоочиститель ОМЕ: 1 - приемно-отводящее устройство; 2 - колпак; 3 - барабан; 4 - тормоз; 5 - верхняя опора веретена; 6 - чаша; 7 - корпус станины; 8 - вертикальный вал; 9 - нижняя опора веретена; 10 - пробка отверстия для спуска масла; 11 - указатель уровня масла; 12 - горизонтальный вал; 13 - тахометр; 14 - пробка отверстия для заливки масла; 15 - стопорный винт; 16 - прижимной планка.

Рисунок 4 - Сепаратор-молокоочиститель ОМЕ-С: 1 - приемно-отводящее устройство; 2 - фланец; 3 - барабан; 4 - крышка; 5 - гайка веретена; 6 - приемщик осадка; 7 - штуцер подвода воды для размыва осадка; 8 - кожух горловой муфты; 9 - вертикальный вал, 10 - станина с приводом; 11 - пробка отверстия для слива масла; 12 - показатель уровня масла; 13 - тормоз; 14 - тахометр; 15 - пробка-отверстие для заливки масла; 16 - прижим.

Техническая характеристика сепаратора ОМЕ:

Производительность, л / ч

Частота вращения барабана, об/мин

5580

Количество тарелок в барабане, шт

60

Продолжительность непрерывной работы, ч

2,5

Межтарельчатый зазор, мм

1,5

Мощность электродвигателя, кВт

13

Масса сепаратора, кг

778

Габаритные размеры, мм:


- длина

1030

- ширина

720

- высота

1450


Техническая характеристика сепаратора ОМЕ-С:

Производительность, л / ч15000


Частота вращения барабана, об/мин

5000

Количество тарелок в барабане, шт

70

Максимальный диаметр барабана, мм

610

Межтарельчатый зазор, мм

0,7

Мощность электродвигателя, кВт

13

Масса сепаратора, кг

1465

Габаритные размеры, мм:


- длина

1450

- ширина

1040

- высота

1580


При использовании сепаратора ОМЕ-С можно осуществлять безразборную циркуляционную мойку.

В состав сепаратора входят следующие основные узлы: станина с приводным механизмом, барабан, приемно-отводящее устройство, приемник осадка, гидроузел, пульт управления.

Сепаратор ОМЕ отличается от сепаратора ОМЕ-С строением и устройством барабана, приемно-отводящим устройством, а также общим строением сепаратора. В сепаратор ОМЕ-С входит гидросистема, состоящая из гидроузла смонтированного на чаше станины, и гидроузла внешних соединений. Гидросистема обеспечивает подачу буферной воды в барабан для его разгрузки и в приемник осадка для его размыва, как в автоматическом, так и в ручном управлении циклом разгрузки барабана.

        

         3. Конструкторская часть

        

         3.1 Данные для расчета


Производительность, л / ч

14000

Частота вращения барабана, об/мин

5580

Количество комплектных тарелок, шт

60

Общая масса сепаратора, кг

778

Радиус тарелки, мм


- максимальный

140

- минимальный

65

Высота тарелки, мм

90

Расстояние между тарелками, мм

1,5

Диаметр барабана, мм

475

Масса барабана, кг

260

Угол наклона тарелок, град

60

Температура молока, °С

40

Габаритные размеры, мм:


- длина

- ширина

720

- высота

1450


         3.2 Технологический расчет

сепаратор молоко сыворотка гомогенизация

Исходя из исследований Г.И. Бремера, определяем соотношение конструктивных факторов и физических свойств продукта:

, (1)

где z - количество межтарельчатых зазоров (тарелок);

n - частота вращения ротора, об/с;

α - угол наклона образующей тарелки, град;B - максимальный радиус тарелки, м;

RM - минимальный радиус тарелки в зоне распределения, м;

M - производительность (количество жидкости, поступающей в ротор), м3/с;

ρ1, ρ2 - плотность соответственно среды и частицы, кг/м3;

μ - коэффициент динамической вязкости среды, кг/(м·с);

r1 - радиус частицы, м.

Из этого соотношения определяется размер (радиус) частиц, которые могут пересечь толщину жидкости за время пребывания в межтарельчатом пространстве:

 м3/с. (3)

Определяем фактор разделения:

(4)

 с-1. (5)

Сопротивление разделению:

 с, (6)

 с-1. (7)

Таким образом, фактор разделения сепаратора превышает сопротивление разделения молока в:

 раз. (8)

Оптимальное расстояние между тарелками:

, (9)

 м. (10)

Время пребывания молока в межтарельчатом пространстве:

, (11)

 с. (12)

Давление, созданное напорными дисками:

, (13)

где φ - коэффициент, учитывающий потери давления (φ = 0,35 - 0,45);

ρ - плотность выводного жидкости фракции, кг/м3;

R - внешний радиус напорного диска, м;

r - внутренний радиус кольца жидкости, м;

ω - угловая скорость барабана, рад/сек.

Следовательно:

=0,31 МПа. (14)

         3.3 Энергетический расчет


Энергия, которая подводится к сепаратору, затрачивается: на сочетание кинематической энергии выбрасываемой жидкости; на преодоление сил трения ротора о воздух; на преодоление сил трения в подшипниках; на затраты энергии в редукторе.

Общий расход мощности:

. (15)

Мощность (в кВт), затрачиваемая на преодоление кинематической энергии жидкости, которая отводится из сепаратора без противодавления, определяется по формуле:

, (16)

где:  - удельный вес жидкости, Н/м3;

R - расстояние от оси вращения до выходных отверстий;

n - частота вращения ротора в минуту;

φ - коэффициент, учитывающий реальную скорость вращения, φ = 1,0 - 1,02

Тогда:

 кВт.

Мощность, затрачиваемая на предоставление кинетической энергии жидкости, которая отводится из сепаратора с противодавлением на выходе жидкой фракции:

 кВт. (17)

где: Р - давление на выходе жидкости, создаваемый напорным диском, Па/м2;

η - КПД напорного диска, η = 0,3.

Мощность, необходимая для преодоления сил трения барабана о воздух (аэродинамическое сопротивление):

, (18)

где: β - экспериментальный коэффициент, β = 18·10-5;

ρ - плотность воздуха, ρ = 1,2 - 1,3 кг/м3;

Н - высота цилиндрической части барабана, м;

R - внешний радиус барабана, м;

n - частота вращения барабана, c-1.

Тогда:

 кВт.

Мощность, расходуемая на преодоление трения в основании барабана:

, (19)

где: μ - коэффициент трения, μ = 0,3;- масса вращающихся частей сепаратора (масса барабана и жидкости в нем), кг; dВ - диаметр шейки веретена, м.

Тогда

 кВт.

Общий расход мощности:


Мощность двигателя:

 кВт, (20)

где η - коэффициент полезного действия двигателя (КПД).

Принимаем двигатель мощностью 11 кВт [10].

Время пускового периода сепаратора:

 с = 2,48 мин. (21)

где Jб - динамический момент инерции барабана;

k - коэффициент использования мощности двигателя в период разгона барабана сепаратора: при пусковых муфтах с ведомыми колодками k = 0,25 - 0,3; при муфтах с ведущими колодками k = 0,6 - 0,8; при непосредственном соединении двигателя и сепаратора k = 0,8 - 1,2.

Динамический момент инерции:

 кг·м2, (22)

где m - масса барабана, кг;

r0 - радиус инерции барабана, м.

        

         3.4 Механический расчет


Определяем толщину стенки корпуса ротора. Барабан сепаратора работает на высоких оборотах. Центробежные силы вызывают высокие напряжения в материале, из которого изготовлены отдельные части барабана: корпуса, крышки, соединительного (затяжного) кольца.

Для быстроходных машин цилиндрический корпус можно рассчитать как толстостенную трубу и быстро вращающийся диски. В этом случае наибольшее суммарное напряжение:

, (23)

где V - круговая скорость на внутреннем радиусе стенки корпуса,

 м/с;

 

ω - угловая скорость, рад/с;

ρ - плотность материала корпуса, кг/см3;

ρж - плотность сепарированного продукта, кг/см3;

а - отношение внутреннего радиуса стенки корпуса к внешнему.

, (24)

 кг/см2

Для выбора методики расчета корпуса ротора необходимо заранее определить критерий подобия Ньютона:

Если ρ = 8,0·10-3 кг/см3 (для стали), тогда

, (25)

где σТ - предел текучести, МПа, σТ = 800 МПа;

n - частота вращения ротора, об/мин;V -запас прочности по скорости, KV = 2.

Обечайку корпуса можно рассчитать согласно формулам тонкостенных оболочек:

(26)

Толщина стенки корпуса ротора (барабана):

, (27)

где:  - допустимое напряжение, МПа;

 

λ - соотношение плотностей сепарированной жидкости и материала корпуса,

;

 

φ - коэффициент заполнения ротора жидкостью, φ = 1;

σ0 - напряжение в стенке, возникающие как следствие воздействия на металл центробежной силы.

 Па (28)

Тогда

 м.

Толщина днища:

толщина обечайки в месте ее соединения с днищем

 (29)

Толщина днища должна удовлетворять условию

 м. (30)

Толщина крышки:

толщина стенки на разном расстоянии от оси вращения ротора при:

, (31)

при Rmax = 0,235 м  мм,

при Rmin = 0,09 м  мм

где Rк - расстояние от оси вращения, на которой определяется толщина стенки крышки, м;

α - угол наклона образующей стенки крышки к вертикали, град.

Соединительное кольцо, при завинчивании его ключом прижимает крышку ротора с помощью захвата к корпусу. На захват действуют силы: реакции опоры, возникающей при составлении ротора, и давления жидкости на крышку ротора в вертикальном направлении. В больших роторах реакция опоры обычно составляет 2...3% от давления жидкости на крышку, поэтому ее можно не учитывать.

Полное осевое давление на крышку:

, (32)

где R, r - радиус крышки соответственно максимальный и минимальный, м.

 Н.

Конструктивно приняв размер ширины захвата и изменив раздельно сосредоточенные нагрузки, определяем толщину захвата расчетом на изгиб в сечении:

, (33)

Откуда

, (34)

где Mзг - изгибающий момент, Н/м2;

W - момент сопротивления, м3;

 - допустимое напряжение на изгиб, Н/м2;

R - внешний радиус захвата, м;

е - ширина захвата, м.

.

Для проверки на срез используем формулу:

, (35)

где  - допускаемое напряжение на срез, Н/м2.

Внешний радиус кольца определяется из условия прочности на растяжение по сечению:

 м, (36)

где  - допускаемое напряжение на растяжение, Н/м2;

RР - внешний радиус нарезки кольца, м.

Кроме того, в соединительном кольце в результате действия создаваемой массой кольца центробежной силы возникают напряжения в тангенциальном и радиальном направлениях. Напряжение в радиальном направлении очень малы, поэтому ими можно пренебречь. Напряжение в тангенциальном направлении определяются по формуле:

, (37)

 МПа,

где m - коэффициент Пуассона (для m = 0,3 стали).

Проверка прочности вертикального вала.

Вал считают жестким при и гибким при . Критическую скорость вертикального вала (или ротора) можно рассчитать, пользуясь формулой:

, (38)

где l - расстояние между опорами вала, м;

L - расстояние от центра тяжести ротора до нижней опоры, м;

m - масса ротора, кг;

K - масштаб системы горловой опоры, Н/м

,

где К1 - масштаб одной пружины, то есть, нагрузка, которая деформирует пружину на единицу длины, Н/м,

 кН, (39)

 кН.

где G - модуль сдвига, Н/м2;

d - диаметр проволоки пружины, м;

n - число рабочих витков пружины;

D - средний диаметр пружины, м.

 с-1 (40)

Зная величину, можно определить критическую частоту вращения:

 об/с. (41)

Расчет размеров винтового соединения:

. (42)

Число витков резьбы:

 (43)

Шаг резьбы:

 м. (44)

Считая, что вся нагрузка воспринимается одним витком, определяем напряжение сгиба:

, Па. (45)

         4. Монтаж, ремонт, эксплуатация сепаратора

        

         4.1 Установка и выверка сепараторов


Все отечественные сепараторы устанавливают на фундаменте на резиновых амортизаторах 2 и 4 (рисунок 6) и крепят к нему фундаментными болтами 1.

Рисунок 6 - Крепления к фундаменту и выверка сепаратора: а - крепление к фундаменту: 1 - фундаментный болт, 2, 4 - резиновые амортизаторы, 3 - лапа станины сепаратора, 5 -металлический колпачок, 6 - гайка, 7 - контргайка, б - выверка сепаратора на горизонтальность и вертикальность: 8 - линейка, 9 - монтажный брусковый уровень.

Для нормальной и безопасной работы сепаратор должен быть установлен так, чтобы веретено было строго вертикально, а верхняя проточенная кромка чаши станины (базовая поверхность) - горизонтальная. Для этого сепаратор выверяют по уровню. При этом на базовую поверхность при снятом барабане сепаратора заключают проверочную стальную линейку 8 (рисунок 6), на которую помещают монтажный брусковый уровень 9. Выверку производят в двух взаимно перпендикулярных направлениях: сначала - вдоль продольной оси сепаратора, параллельной оси симметрии электродвигателя, а затем вдоль поперечной оси сепаратора, перпендикулярной первому направлению и проходящей через ось веретена. Если кромка чаши станины горизонтальная, то воздушный пузырек в ампуле уровня должен располагаться в средней части шкалы. При небольших отклонениях от горизонтальности поджимают гайки 6 (рисунок 6) фундаментных болтов крест-накрест, при больших отклонениях под нижние амортизаторы 2 помещают стальные подкладки П-образной формы различной толщины.

        

         4.2 Сборка сепаратора


Для каждого сепаратора предоставляется комплект запасных частей, инструмента и приспособлений, в котором есть инструмент и приспособления для сборки барабана (рисунок 7): ключи для большого и малого затяжных колец, съемник тарелкодержателя и основы барабана. К сепараторам большой производительности (ОСН, Оме, ОСМ-5) предоставляется дополнительно приспособление (рис. 7, г) для сжатия пакета тарелок барабана. При составлении разрешается использовать только приложенные к сепаратора приспособления.

Перед сборкой следует убедиться в том, что детали и сборочные единицы соответствуют номеру сепаратора, что в основании и крышке барабана, тарелкодержателе и затяжном кольце нет трещин, нет деформаций деталей барабана; на посадочных местах нет вмятин и забоин.

После установки и выверки нового сепаратора с него удаляют пыль, консервирующую смазку, промывают горячим содовым раствором и водой и протирают все детали барабана и приемно-отводящего устройства. В картер станины через пробку заливают масло до уровня на 2-3 мм выше середины маслопоказателя фонарного типа.

 

Рисунок 7 - Инструмент и приспособления для сборки барабана сепаратора: а - ключ от большого затяжного кольца, б - ключ от малого затяжного кольца, в - съемник основания барабана и тарелкодержателя, г - приспособление для сжатия пакета тарелок барабана сепаратора ОМЕ: 1 - гайка, 2 - центральная трубка, 3 - пружинное запорное кольцо. 4 - упорный шарикоподшипник, 5 - корпус приспособления с рукоятками, 6 - нажимные кольца, 7 - крышка барабана, 8 - тарелкодержатель

Для проверки легкости и плавности хода, отсутствие заеданий и правильности подключения электродвигателя проворачивают механизм сепаратора вхолостую (без барабана) с кратковременным включением электродвигателя. При этом веретено должно вращаться по часовой стрелке.

При составлении барабана полугерметичного сепаратора-молокоочистителя на веретено с помощью съемника (см. рис.7, в) устанавливают основу барабана, крепят его гайкой до веретена, проверяют надежность крепления и фиксируют основу барабана двумя стопорными винтами 6, которые не следует завинчивать слишком туго, так как при этом можно повредить веретено. На хвостовик основы барабана с помощью того же съемника устанавливают тарелкодержатель с пакетом тарелок, собранных по порядку номеров, начиная с номера 1, так, чтобы штифт в основе барабана вошел в паз тарелкодержателя. (Тарелки можно устанавливать также по одной на тарелкодержатель после установки его на основание барабана.)

При составлении тарелок сепаратора не по порядку номеров или при удалении нескольких тарелок их пакет будет неплотно сжатыим. В этом случае при вращении барабана возможен подъем тарелкодержателя с пакетом тарелок и срыв его с фиксирующего штифта основы барабана. При этом мгновенно нарушится балансировка барабана, что неизбежно приведет к аварии. На пакет тарелок надевают нижнюю разделительную тарелку, в отверстие тарелкодержателя вставляют центральную трубку с надетым на нее напорным диском, надевают верхнюю разделительную тарелку, которая фиксируется на нижней разделительной тарелке шпонкой или штифтом. В гнездо крышки барабана вкладывают большое резиновое кольцо, проверяют отсутствие посторонних предметов в барабане и надевают крышку барабана так, чтобы шпонка основы барабана вошла в паз крышки.

На основание барабана навинчивают против часовой стрелки (левая резьба) большое затяжное кольцо сначала от руки, а затем специальным ключом (рис. 7, а) до совпадения отметок 0 или полукругов на крышке барабана и на большом затяжном кольце. Окончательное завинчивание кольца (последнюю четверть оборота) до совпадения отметок 0 делают ударами молотка по рукоятке ключа. В собранном виде пакет тарелок должен быть плотно сжат. Необходимое количество тарелок обозначено на верхней торцевой стороне тарелкодержателя. Если в процессе эксплуатации сепаратора затяжное кольцо будет свободно проворачиваться к совпадению отметок, необходимо установить дополнительно на пакет тарелок под нижнюю разделительную тарелку одну - две тарелки из запасных. Не допускается уменьшать число тарелок в пакете во избежание разбалансирование барабана и аварии.

При составлении барабанов сепараторов большой производительности (ОСН, ОМЕ, ОСМ-5) применяют приспособления (см. рис. 7, г) для сжатия пакета тарелок. После навинчивания от руки большого затяжного кольца центральную трубку 2 ввинчивают в тарелкодержатель 8, затем на нее надевают приспособления так, чтобы нажимные кольцо 6 опиралось на верхний фланец крышки барабана 7, и навинчивают гайку 1. Нажимные кольцо 6 навинчивают на корпус 5 приспособления. Гайка 1 нажимает на упорный шарикоподшипник 4. На рукоятку корпуса 5 надевают удлинитель - трубу длиной не более 1 м. При вращении против часовой стрелки корпус 5 вывинчивается из нажимного кольца 6, оно нажимает на крышку 7 барабана и поджимает пакет тарелок. Одновременно завинчивают большое затяжное кольцо ключом, ударяя молотком по его рукоятке. Не следует сразу полностью сжимать пакет тарелок и заворачивать приспособления к концу, так как тарелкодержатель может подняться и сойти с фиксирующего штифта основы барабана. Большое затяжное кольцо затягивают до совпадения отметок, снимают приспособления и выворачивают центральную трубку 2 с т тарелкодержателя 8.

После сборки барабана его освобождают от зажима стопорными винтами и проворачивают вручную по часовой стрелке. При отсутствии сопротивления вращения барабана его закрывают крышкой (колпаком) сепаратора 5 (рис. 8), крепят ее к чаше станины, устанавливают приемно-отводящее устройство и на центральную трубку навинчивают поплавковую камеру, в которую кладут поплавок. В приемниках молока должны быть установлены резиновые кольца и втулка. На патрубке для выхода молока должен быть установлен манометр. Также на патрубке должны быть регулировочные вентили.

Затем собирают трубопроводы для подвода и отвода молока. При составлении необходимо, чтобы в трубопроводов были подставки и их вес не передавался на детали приемно-отводящего устройства сепаратора.

Перед пуском проверяют уровень масла в картере, смотрят, отпущены тормоза и или вывинчены стопорные винты; проверяют надежность крепления крышки сепаратора к станине, приемно-отводящего устройства и соединения трубопроводов для продукта.

        

         4.3 Пуск сепаратора


Включив электродвигатель, прослушивают, не касаются ли детали барабана за напорные диски и другие неподвижные детали. Продолжительность разгона барабана до номинальной частоты вращения должна соответствовать паспортным данным (например, в сепараторе ОСН-6 - 8 мин), контролирующие по тахометру или пульсатору.

При пуске смонтированного (или после ремонта) сепаратора при его разгоне центробежная фрикционная муфта нагревается через приработки накладок на колодках и может даже дымить, что является нормальным явлением. Такие сепараторы обкатывают без барабана около 5-10 мин для того, чтобы смазать все подшипники достаточным количеством масла, так как при разгоне барабана эффективность смазки достигается только при определенной частоте вращения веретена. Обкатки вхолостую следует также делать после длительного перерыва в работе сепаратора.

Затем масло с остатками смазки, консервируют, и другими загрязнениями сливают, а в картер заливают свежее масло. В дальнейшем при пуске в эксплуатацию таких сепараторов масло заменяют после 15, 30 и 50 часов их работы.

        

         4.4 Работа сепаратора


Перед подачей молока в сепаратор после разгона барабана в него подают горячую воду, чтобы промыть и прогреть барабан, а также проверить герметичность сборки.

В полугерметичных сепараторах для проверки их герметичности регулировочным вентилем на выходе очищенного молока поднимают давление до рабочего, контролируя его по манометру. Если при этом вода будет вытекать из рожка крышки сепаратора, значит, нарушена герметичность напорной камеры для молока; если вода будет вытекать только из чаши станины через патрубок - нарушена герметичность соединения крышки барабана с его основой. В этих случаях сепаратор останавливают, разбирают, проверяют качество и правильность установки всех резиновых уплотнительных колец, после чего барабан собирают и снова проверяют его на герметичность.

Кроме указанных причин, вода из рожка крышки сепаратора или патрубка станины может вытекать в результате превышения давления свыше допустимо и переполнения барабана жидкостью. В этом случае уменьшают давление на выходе очищенного молока.

При герметичности барабана в него подают продукт.

При работе сепаратора контролируют постоянную частоту вращения барабана по тахометру или пульсатору, давление на выходе молока; отсутствие течи продукта из барабана и арматуры, масла из картера.

        

         4.5 Остановка и разборка


Вслед за последними порциями продукта через барабан пропускают воду для вытеснения молока: горячую (40-60 °С) воду в течение 15 мин, а для охлаждения барабана - холодную воду (10 мин), после чего исключают электродвигатель. Через 1,5 - 2 мин включают одновременно два тормоза.

        

         4.6 Мойка сепаратора


После полной остановки разбирают и моют барабан и приемно-отводящее устройство. Не реже одного раза в 7 дней снимают с веретена основу барабана. После мойки конусную часть веретена (посадочную поверхность) тщательно вытирают и смазывают смазкой, консервируют.

Тарелки барабана моют вручную или на специальных установках. Луженые детали моют сначала теплой (35 - 40 °С) водой, затем 0,5% раствором кальцинированной соды и ополаскивают чистой горячей водой. Для мойки алюминиевых деталей применяют смесь из 0,5%-ного раствора кальцинированной соды и 0,1%-ного раствора жидкого стекла, после чего их ополаскивают чистой горячей водой. Алюминиевые детали можно мыть горячей водой с мылом. Нельзя применять для их мойки концентрированные растворы соды и кислот.

Приемники для молока, тарелкодержателя, напорные диски, центральную трубку и другие труднодоступные для мойки детали и места, контактирующие с продуктом, моют ершами и щетками. Резиновые уплотнительные прокладки моют в теплой (50-60 °С) воде и сушат в горизонтальном положении, чтобы резина не растягивалась. Прокладки следует оберегать от смазки, так как оно быстро разрушает резину. Это же правило относится и к резиновым амортизаторам, на которых устанавливается сепаратор на фундаменте.

        

         4.7 Смазка сепараторов


Во время перерыва в работе сепаратора некрашеные, но обработанные детали, надо тщательно вытирать и тщательно смазывать тонким слоем смазки. В случае длительного перерыва в работе сепаратора выступающий конец веретена смазывают техническим вазелином.

Смазка подшипников и зубчатых колес на горизонтальном и вертикальном валах при работе сепаратора обеспечивается благодаря разбрызгиванию масла из картера станины зубчатыми колесами. Уровень масла никогда не должен быть ниже контрольной риски маслоуказателя, из-за недостаточного количества масла привод может выйти из строя.

В сепараторе, вводимого в эксплуатацию, масло надо меняется несколько раз полностью, потому что пока механизм прирабатывается, масло быстро загрязняется. Первую замену масла делают через 15 - 25 ч, вторую - через 100, третью - через 200 ч работы сепаратора.

        

         Заключение


В сепараторах-молокоочистителях происходит выделение из молока механических и природных примесей, а также разделения суспензий или эмульсий.

В результате выполнения курсового проекта были определены параметры сепаратора, непосредственно влияющие на эффективность очистки продукта, а также сделаны выводы, что на качество очистки продукта влияет частота и плавность вращения барабана, режим работы и производительность сепаратора, а также температура сепарирования и способ подачи продукта на сепаратор.

Установлено, что производительность сепаратора молокоочисника увеличивается в несколько раз с повышением температуры молока, очищаемой в связи с повышением отношения. На качество работы сепаратора также влияет частота разгрузки осадка.

С ростом производительности сепаратора ухудшается качество очистки молока.

        

         Список использованных источников


. Анурьев В.И. Справочник конструктора-машиностроителя. Изд.8-е 3-х тт. -М.: Машиностроение, 2009.

. Дунаев П.Ф., Леликов О.П. Конструирование узлов и деталей машин: Учеб. Пособие для техн. спец. вузов. - 7-е изд., испр. - М.: Высш. шк., 2001. - 447 с.: ил.

. Молотников В.Я. Курс сопротивления материалов: Учебное пособие.- СПб.: Издательство "Лань", 2006. - 384 с.: ил.

. Машины и аппараты пищевых производств. В 2 кн. Кн. 1: Учеб. Для вузов/ С.Т. Антипов, И.Т. Кретов, А.Н. Остриков и др.; Под ред. Акад РАСХН В.А Панфилова. - М.: Высш. шк., 2011. - 703 с.: ил.

. Решетов Д.Н. Детали машин: Учеб. для техн. вузов. - 4-е изд., перераб. и доп. - М.: Машиностроение,2009. - 496 с.: ил.

. Тарг С.М. Краткий курс теоретической механики: Учеб. для втузов. - 12-е изд., стер. - М.: Высш. шк., 2012. - 416 с., ил.

. Проектирование винтовых приспособлений: Учеб. пособие / В.Ф. Купряшкин, Г.И. Ламкин, Е.А. Кильмяшкин, Н.И. Наумкин; Под общ. ред. проф. П.В. Сенина. - Саранск: Изд-во Мордов. ун-та, 2003. - 80 с.

8. Курсовое проектирование по технологическому оборудованию для переработки продукции животноводства / Сост. В.С. Борисов. - Саранск: Типография "Рузаевский печатник", 2011. - 28 с.

. Волчков И.И. Сепараторы для молока и молочных продуктов / И.И. Волчков, - М., "Пищевая промышленность", 1975.

. Сурков В.Д. Технологическое оборудование предприятий молочной промышленности / В.Д. Сурков и др. - М., Лёгкая и пищевая промышленности, 1983. - 432с.

. Гальперин Д.М. Технология монтажа, наладки и ремонта оборудования пищевых производств / Д.М. Гальперин, Г.В. Миловидов. - М., 2010.

Похожие работы на - Расчет конструкторских и технологических параметров сепаратора ОМЕ

 

Не нашли материал для своей работы?
Поможем написать уникальную работу
Без плагиата!
Без нейросетей!