Производство осевой заготовки

  • Вид работы:
    Курсовая работа (т)
  • Предмет:
    Другое
  • Язык:
    Русский
    ,
    Формат файла:
    MS Word
    350,21 Кб
  • Опубликовано:
    2015-05-15
Вы можете узнать стоимость помощи в написании студенческой работы.
Помощь в написании работы, которую точно примут!

Производство осевой заготовки

Введение

прокатный стан сталь заготовка

Пояснительная записка содержит 41 стр., 3 табл., 12 рис.

Производство металла имеет большое значение для развития промышленности и благополучия экономики страны. От развития черной металлургии в значительной степени зависит обеспечение металлом машиностроения, строительства, транспорта, сельского хозяйства и других отраслей.

Основными цехами современного металлургического завода с полным металлургическим циклом являются - доменный, сталеплавильный и прокатный.

Доля чёрной металлургии в объёме промышленного производства России составляет около 10%. В состав чёрной металлургии входит более 1,5 тыс. предприятий и организаций, 70% из них - градообразующие.

Одним из градообразующих предприятий является Нижнетагильский металлургический комбинат. В настоящее время в состав НТМК входят горнорудное, агломерационное, коксохимическое, огнеупорное, доменное, сталеплавильное, прокатное, кислородное производства.

В данном курсовом проекте на примере изготовления осевой заготовки будет рассмотрена технологическая схема расположения оборудования для ее производства, а так же определен технологический процесс завода с полным металлургическим циклом производства.

1. Категория осевой заготовки и традиционно используемые марки стали

Область применения.

ГОСТ - 4728-2010 (96) - распространяется на заготовки квадратного и круглого сечений из углеродистой стали, подвергаемые горячему деформированию и предназначены для изготовления осей колесных пар локомотивов, дизель- и электропоездов, вагонов железных дорог, вагонов метрополитена, а также специального железнодорожного подвижного состава.

Основные размеры

Размеры поперечного сечения заготовок и их предельные отклонения должны соответствовать указанным в таблице 1.1.

Таблица 1.1. Размеры поперечного сечения заготовок

Заготовки квадратного сечения (сторона)

Заготовки круглого сечения (диаметр)

Предельные отклонения, мм

интервал значений, мм


190-225

210-250

± 4,0

230-265

260-300

± 4,5

275-350

-

± 5,0


Углы квадратных заготовок должны иметь скругление радиусом от 0,1 до 0,2 размера стороны заготовки. Радиус скругления углов заготовки приведен для построения калибра и на заготовке не контролируется.

Допускается вогнутость граней заготовки квадратного сечения, не превышающая предельные минусовые отклонения, установленные в таблице 1.1.

Смятие (деформация) концов заготовок при резке не должно превышать 0,25 размера стороны или диаметра заготовок.

Косина реза (отклонение плоскости реза от перпендикулярности) не должна превышать 0,1 стороны квадрата или диаметра заготовки.

Заготовки изготавливают мерной длины. Длину заготовок устанавливают по согласованию между изготовителем и потребителем. Предельные отклонения по длине заготовок плюс 50 мм.

Допускается изготовление заготовок кратной мерной длины с предельными отклонениями по согласованию с потребителем.

Пример условного обозначения осевой заготовки квадратного сечения со стороной 215 мм, длиной 1600 мм из слитка (СЛ):

Заготовка осевая 215 х 215. 1600. СЛ ГОСТ 4728-2010

Пример условного обозначения осевой заготовки круглого сечения диаметром 210 мм. длиной 1650 мм из непрерывнолитого металла (НЛЗ):

Заготовка осевая 210. 1650. НЛЗ ГОСТ 4728-2010

Минимальная масса заготовки определяется сечением заготовки с учетом минусовых допусков. радиусов скругления углов и длины, устанавливаемых в заказе между изготовителем и потребителем.

Технические требования

Осевые заготовки изготавливают из слитков или непрерывнолитых заготовок стали марки ОС мартеновского, кислородно-конвертерного или электропечного производства.

Сталь должна быть подвергнута внепечной обработке.

Химический состав стали марки ОС по плавочмому анализу ковшевой пробы должен соответствовать нормам, указанным в таблице 1.2.

При изготовлении осевых заготовок из вакуумированной стали массовая доля водорода в жидкой стали должна быть не более 2,5 млн-1.

При массовой доле водорода более 2,5 млн-1 или при отсутствии вакуумирования стали заготовки подвергают противофлокенной обработке по методике предприятия-изготовителя.

Таблица 1.2. Химический состав стали

Марка стали

Массовая доля химических элементов, %


Углерод

Марганец

Кремний

Фосфор

Сера

Хром

Никель

Медь





Не более

ОС

0,42 - 0,50

0,60 - 0,90

0,15 - 0,35

0,035

0,035

0,30

0,30

0,25


Механические свойства металла образцов в нормализованном состоянии должны соответствовать нормам, указанным в таблице 1.3.

Таблица 1.3. Механические свойства металла образцов в нормализованном состоянии

Временное сопротивление при растяжении, МПа

Относительное удлинение, %

Ударная вязкость KCU при плюс 20 оС, Дж/см2

минимальное значение


не менее

580-615

20,0

49

34

620-645

19,0

39

29

650 и более

18,0

34

29



2. Конструкции прокатных станов применяемых для производства осевой заготовки

По виду выпускаемой продукции прокат можно разделить на две основные группы:

         сортовой прокат (простые профили - круг, квадрат, полоса; фасонные профили - угловые, тавровые балки, швеллеры, рельсы, шпунты; специальные профили - колеса, оси, лопатки турбин, шары и т.д.);

         листовой прокат (лист толстый, тонкий, универсальная полоса).

Особую группу проката составляют трубы.

В зависимости от вида и размера проката осуществляют горячую либо холодную прокатку изделий. Горячей прокаткой получают весь прокат сортовой группы, а также лист толщиной > 1,2 мм. Холодной прокаткой получают тонкий лист, жесть, тонкую и тончайшую ленту. К области холодной деформации металла относится также производство гнутых профилей, получаемых холодной гибкой листового проката.

Прокат в большинстве случаев является изделием конечной потребительской готовности и применяется без какой-либо дополнительной обработки. Поэтому к качеству проката и технологии его производства предъявляются высокие требования, которые могут быть обеспечены только на узкоспециализированном оборудовании. Учитывая это, прокатные агрегаты наиболее полно можно классифицировать по назначению или, иными словами, по виду выпускаемой продукции на следующие группы:

. Обжимные станы, включающие блюминги и слябинги, для производства из слитков полупродукта (блюмов и слябов), прокатываемого затем на заготовочных, сортовых и листовых станах.

. Заготовочные многоклетевые станы для производства заготовок прямоугольного, квадратного и круглого сечений для сортовых и трубопрокатных станов.

. Крупносортные: универсальные балочные, рельсобалочные, крупносортные балочные и многоклетевые станы для производства двутавровых балок и швеллеров, железнодорожных и специальных рельсов, угловой стали, фасонных профилей отраслевого назначения, простых профилей (круглая сталь) с массой 1 м длины профиля 10770 кг.

. Среднесортные балочные и многоклетевые станы для производства простых и фасонных профилей общего и отраслевого назначения с массой 1 м длины 2,5-55 кг.

. Мелкосортные станы для производства простых и фасонных профилей общего назначения с массой 1 м длины 0,6-10 кг. Простые профили (круг, квадрат, шестигранник) выпускаются как в прутках, так и в бунтах массой до 2 т.

. Комбинированные мелкосреднесортные станы для выпуска продукции широкого сортамента с массой 1 м длины в пределах 0,6-35 кг.

. Проволочные станы для выпуска катанки диаметром от 5 до 13 мм в бунтах массой до 2 т (масса 1 м длины катанки 0,154-1,0 кг) и комбинированные мелкосортнопроволочные станы, сортамент проката которых включает продукцию специализированных станов обоих типов.

. Станы специального назначения: для прокатки шаров, колесо и кольцепрокатные, периодической продольной либо поперечновинтовой прокатки для производства мелющих шаров диаметром от 40 до 125 мм, железнодорожных колес диаметром 950-1250 мм для вагонов и локомотивов, колец диаметром от 300 до 3000 мм, вагонных осей, валов и другого проката, преимущественно для машиностроения, характеризующегося высокой степенью потребительской готовности.

. Станы горячей прокатки листов и полос, включающие однотрехклетевые толстолистовые станы для производства листов толщиной 4-200 мм (возможно до 400 мм), шириной 1000-5300 мм, а также многоклетевые полунепрерывные и непрерывные широкополосные станы для производства полос и листов толщиной 1,2-16 мм, шириной 500-2300 мм рулонным способом (в рулонах массой до 45 т).

. Станы холодной прокатки листовой стали и жести толщиной от 5 до 0,1 мм и менее (до 0,001 мм), шириной от 400 до 2300 мм, включающие непрерывные четырех и пятиклетевые четырехвалковые станы холодной прокатки, непрерывные шестиклетевые четырехвалковые жестепрокатные станы, многовалковые (12-20 валковые) реверсивные станы для прокатки тонкой и тончайшей ленты рулонным способом.

Такая классификация наиболее употребительна при решении проектных вопросов и наиболее четко отражает особенности технологических процессов производства проката. На практике и в технической литературе применяется классификация прокатных станов по расположению клетей (одноклетевые станы, линейные, последовательные, полунепрерывные и непрерывные), по типам прокатных клетей (двух, трех, четырехвалковые; универсальные; шести, двенадцати и двадцативалковые; клети специальной конструкции для прокатки периодических профилей; колесо и кольце прокатные клети и др.).

На основании изученных данных осевую заготовку прокатывают на блюмингах, и трубозаготовочных станах. Квадратную осевую заготовку производят сечением от 190x190 до 350x350 мм, а круглую осевую заготовку - диаметром от 210 до 270 мм.

2.1 Блюминг

Максимальная производительность блюминга (рис. 2.1) 4,3 млн. тонн прокатных слитков в год. Блюминг прокатывает прямоугольную заготовку сечением от 230х250 до 330х440 мм, слябы толщиной 140-200 мм и шириной 350-680 мм, фасонную заготовку для производства крупных двутавров на универсально-балочном стане.

Схема расположения оборудования блюминга 1150 ОАО «ЕВРАЗ НТМК»:

- слитковоз; 2 - сталкиватель слитков; 3 - раскатной рольганг; 4 - рабочая линия клети блюминга; 5 - ножницы усилием резания 16 МН; 6 - конвейер уборки обрези; 7 - клеймовочная машина; 8, 9 - устройства уборки слябов (8), блюмов и фасонных заготовок (9)

Рис. 2.1

2.2 Трубозаготовочный стан

Схема расположения оборудования трубозаготовочного стана 900/750x3:

1-IV - склады блюмов (/), слябов (II), трубных (III) и сортовых (IV) заготовок; 7 - рольганг за блюмингом; 2 - конвейер для горячих блюмов; 3 и 4-разгрузочная и загрузочная решетки; 5-методические нагревательные печи; 6-реверсивная клеть900; 7-8-МН ножницы; 8 - линия порезки и уборки слябов; 9 - рабочая клеть 750; 10 - отводная линия для сортовой и круглой заготовок; 11 - пилы ударного действия; 12 - холодильник для трубной заготовки; 13 - 8-МН ножницы для резки сортовой заготовки; 14 - уборочные устройства для сортовой заготовки

Рис. 2.2

Для производства сортовой заготовки в потоке за блюмингами устанавливаются многоклетевые заготовочные станы, обеспечивающие деформацию блюмов в заготовку сечением до 60x60 мм с использованием тепла, полученного металлом в нагревательных колодцах. Участки для производства заготовок в современных обжимных цехах оснащены заготовочными станами 850/700/500 и 900/700/500 непрерывного типа с 10-14 рабочими клетями с горизонтальными и вертикальными валками. Заготовочный стан 850/700/500 в составе 10 или 12 рабочих клетей, устанавливаемый за блюмингом 1150, рассчитан на прокатку блюмов сечением 300x300 мм массой до 7,2 т в заготовку сечением 60x60-170x170 мм с максимальной скоростью 5,2 м/с. Производительность стана соответствует производительности блюминга 1150 и составляет около 3,5 млн. т/год по заготовке. Четырнадцатиклетевой стан 900/700/500, устанавливаемый за блюмингом 1300, рассчитан на прокатку блюмов сечением 370x370 мм массой до 11,5 т в квадратную заготовку сечением 80x80-200x200 мм и плоскую заготовку сечением 100x120-150 мм и 100x250-400 мм с максимальной скоростью 7 м/с. Производительность стана соответствует производительности блюминга 1300 и достигает 5,2 млн. т/год по заготовке.

За рубежом наиболее совершенными являются 10 - 12-клетевые заготовочные станы с чередующимися горизонтальными и вертикальными валками 950/750/650 производительностью 2- 4 млн. т/год.

Рабочие клети непрерывного заготовочного стана 900/700/500 конструкции ВНИИметмаш-ЮУМЗ установлены в три группы. Первая группа из двух горизонтальных клетей 900 отстоит от второй группы на расстоянии, позволяющем кантовать раскат на рольганге. Вторая непрерывная группа имеет в своем составе шесть клетей: две первые горизонтальные клети 900 и четыре чередующиеся вертикальные и горизонтальные клети 700. Из клетей второй группы выпускают заготовки сечением 150x150, 170x170, 200x200, 100х (250÷400) мм. Максимальная скорость прокатки заготовки сечением 150x150 мм, являющейся подкатом для третьей группы клетей, 2,3 м/с. Третья непрерывная группа клетей состоит из шести чередующихся клетей 500 с вертикальными и горизонтальными валками. Из третьей группы получают заготовки сечением 80x80, 100x100, 120x120, 100x120 и 100x150 мм. Максимальная скорость прокатки заготовки 80x80 мм в последней, 14-й клети стана 7 м/с. Все рабочие клети стана имеют индивидуальный привод. Суммарная мощность главных приводов стана 27,4 МВт. На непрерывных заготовочных станах, кроме квадратной и прямоугольной сортовой заготовки, возможна организация производства трубной заготовки круглого сечения. Однако прокатка круглой заготовки связана со снижением производительности стана, что нецелесообразно на современных высокопроизводительных непрерывных заготовочных станах. Поэтому круглую заготовку для трубопрокатных агрегатов и станов периодической прокатки получают на специализированных трубозаготовочных станах мощностью до 2,5 млн. т/год, устанавливаемых в потоке за блюмингами 1150. На трубозаготовочных станах прокатывают круглую заготовку диаметром 80 - 350 мм. Производство круглой заготовки диаметром 40-120 мм организовано на крупно- и среднесортных станах.

Трубозаготовочные станы, кроме круглой заготовки, могут прокатывать сортовую заготовку сечением до 200x200 мм и слябы шириной 300 - 600 мм, толщиной 120-160 мм. Стан состоит из четырех последовательно установленных рабочих клетей: одной дуо-реверсивной клети 900 и трех нереверсивных клетей 750. Скорость прокатки: до 5 м/с в клети 900 и 3-5 м/с в клетях 750.

Вспомогательное оборудование трубозаготовочного стана состоит из ножниц для обрезки концов и деления раскатов на части за реверсивной клетью, дисковых пил горячей резки (салазковых либо ударного действия) для круглой и сортовой заготовок; ножниц для порезки слябов и сортовой заготовки; цепных холодильников для круглой заготовки; уборочных устройств для сортовой заготовки и слябов; транспортных рольгангов и поперечных транспортеров, обеспечивающих непрерывность многомаршрутного технологического потока. Вне потока стана на складе устанавливается оборудование для отделки трубной заготовки в холодном состоянии: правильные прессы и косовалковые правильные машины, ультразвуковые дефектоскопы, станки для светления круглого проката, бесцентрово-токарные станки для сплошной обдирки и обдирочно-шлифовальные станки для выборочной зачистки трубной заготовки.

Прокатка всего сортамента трубозаготовочного стана осуществляется из блюмов сечением от 270x300 до 300x600 мм, длиной до 9 м, массой до 7,2 т, прокатываемых на блюминге 1150. Прокатка слябов, квадратной сортовой заготовки сечением более 150x150 мм, трубной заготовки диаметром ≥160 мм из блюмов, не требующих зачистки в холодном состоянии, производится транзитом с использованием тепла прокатного нагрева в колодцах блюминга. Нагрев блюмов перед прокаткой трубной заготовки диаметром < 160 мм, а также прошедших осмотр и зачистку в холодном состоянии перед трубозаготовочным станом осуществляется в методических нагревательных печах. В реверсивной клети 900 прокатывают слябы всего сортамента стана, квадратную заготовку сечением 150х 150 мм и более, круглую заготовку диаметром ≥250 мм. Прокатка заготовок диаметром 80-230 мм и сечением 90x90-120x120 мм осуществляется во всех четырех клетях стана.

На основании изученных данных для изготовления осевой заготовки 260 мм круглого сечения необходимо выбрать трубозаготовочный стан 900/750x3 с производительностью до 2,5 млн. тонн в год.

3. Способ выплавки и разливки стали для производства осевой заготовки

.1 Разливка стали

Разливка стали является важным этапом сталеплавильного производства. Технология и организация разливки часто определяют качество готового металла и количество отходов при дальнейшем переделе стальных слитков. Выплавленную качественную сталь можно испортить неправильно организованной разливкой.

При разливке выплавленную сталь выпускают в разливочный ковш и далее разливают в металлические формы - изложницы или направляют на машины непрерывной разливки. В результате затвердевания получают стальные слитки, которые затем подвергают обработке давлением (прокатке, ковке).

Готовая сталь после окончания процесса плавки выпускается в разливочный ковш и разливается при помощи крана. Из конвертора сталь выпускается в ковш путем наклона, а из мартеновских и электрических печей - по выпускному желобу. Из ковша сталь разливают в чугунные изложницы для получения слитков и в земляные или в металлические формы для получения фасонных отливок.

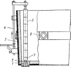
Ковши для разливки стали чаще всего делаются стопорными механизмами, сталь из таких ковшей разливается через отверстие в особом огнеупорном стакане (рис. 3.1), вставленном в днище. Выпуск стали приостанавливается стопором, который представляет собой стальной стержень, защищенный от действия металла и шлака огнеупорными трубками с укрепленной снизу специальной пробкой, закрывающей отверстие в стакане. Пробки и стаканы изготовляются из шамота, графита и магнезита. Стопор с помощью вилки соединен с рычажным механизмом, служащим для поднятия и опускания его при открытии и закрытии отверстия во время разливки. Кожух ковша изготовляется из листовой стали. По окружности он опоясывается стальным кольцом с цапфами, служащими для захвата крюками мостового разливочного крана. Футеруют ковш шамотным кирпичом. Футеровка ковшей делается тщательно, с незначительной толщиной швов во избежание разрушения металлом. Стойкость футеровки составляет 25-50 плавок. Перед наполнением жидким металлом ковши сушат и нагревают до 700-800° С.

Изложницы, в которые заливается сталь, отливаются главным образом из чугуна и редко из стали. Размеры изложниц зависят от веса заливаемого слитка, который достигает от 100 кг до 100 т и более.

Стойкость чугунных изложниц 60-100 плавок.

Форма и конструкция изложниц зависят от назначения отливаемых в них слитков и способа разливки стали (рис. 3.2, а), а также от того, для разливки какой стали они предназначены - кипящей, полуспокойной или спокойной.

Кипящей называется сталь, при разливке которой наблюдается «кипение» металла в изложнице в период кристаллизации слитка. Она раскисляется только ферромарганцем. В процессе раскисления образующаяся окись углерода вместе с другими растворенными в стали газами выделяется из металла, что создает впечатление кипения стали в изложницах. Кипящая сталь легче сваривается, чем спокойная, и очень хорошо штампуется. Из нее меньше отходов при прокатке. Стоимость кипящей стали меньше стоимости спокойной. Отрицательным свойством кипящего металла, особенно при отливке тяжелых слитков, является большая неоднородность химического состава по высоте и поперечному сечению слитка.

Схема устройства стопорного разливочного ковша для разливки стали


1 - Стакан; 2 - футеровка; 3 - кожух; 4 - рычажный механизм; 5 - стопор; 6 - стальным кольцом с цапфами; 7-пробка;

Рис. 3.1

Спокойной называется такая сталь, которая перед разливкой хорошо раскислена; при разливке из нее выделяется мало газов, благодаря чему она спокойно застывает в изложницах. Раскисляют ее ферромарганцем, ферросилицием и алюминием. В слитках кипящей стали имеются пузыри. В слитках спокойной стали они отсутствуют, и наблюдается рыхлость и пористость. Среднеуглеродистая и высокоуглеродистая сталь изготовляется только спокойного типа, так как из кипящей стали с высоким содержанием углерода нельзя получить хорошие слитки. Кроме того, слитки спокойной стали более однородны по химическому составу.

Полуспокойную сталь можно назвать промежуточной между спокойной и кипящей. Для раскисления этой стали дается меньшее количество ферросилиция, чем для спокойной, и определенное количество алюминия, добавляемого в ковш перед разливкой металла или в изложницы во время разливки.

Так как в слитках полуспокойной стали образуется усадочная раковина малого размера и меньше развита химическая неоднородность, выход годной части слитка повышается. Для отливки кипящей стали применяют сквозные изложницы квадратного и прямоугольного сечения без дна, уширяющиеся книзу, чтобы было удобнее удалять из них слитки. Чтобы устранить образование трещин на слитках, внутреннюю поверхность изложниц делают волнистой (рис. 3.2, а, б).

Для получения слитков спокойной стали применяют изложницы с глухим дном и с отверстием в нем для установки шамотного стаканчика при сифонной разливке или стального вкладыша при разливке сверху (рис. 3.2, б).

Слитки, идущие для ковки на молотах или на прессах, отливают в изложницы многогранного сечения, уширяющиеся кверху.

Типы изложниц для заливки слитков

Рис. 3.2

Для прокатки отливают слитки массой 0,2-25 т. Для поковок изготавливают слитки массой до 300 т и более. Обычно углеродистые спокойные и кипящие стали разливают в слитки массой до 25 т. Легированные и высококачественные стали - в слитки массой 0,5-7 т, а некоторые сорта высоколегированных сталей - в слитки массой в несколько килограммов.

По форме продольного сечения изложницы бывают двух типов:

         с уширением к верху;

         с уширением к низу.

Изложницы, уширяющиеся к верху, изготавливают с дном и применяют для разливки спокойной стали. Изложницы, уширяющиеся к низу, делают без дна (сквозными), при разливке устанавливают на чугунные поддоны и используют для разливки кипящей стали.

Способы разливки стали

Применяют два основных способа разливки стали:

         разливка в изложницы;

         непрерывная разливка.

Разливку в изложницы подразделяют на два вида:

         разливка сверху;

         сифонная разливка.

Разливка сверху

При разливке сверху сталь из ковша (рис. 3.3) непосредственно поступает в изложницы. После заполнения каждой изложницы ковш транспортируют к следующей изложнице и после заполнения ее цикл повторяется.

Схема разливки стали в изложницы сверху.

а - ковш с жидкой сталью, б - изложница

Рис. 3.3

Сверху отливаются слитки крупного развеса (до 200 т), а также некоторые сорта легированной стали (быстрорежущей, шарикоподшипниковой и др.), в которых допустимо минимальное содержание неметаллических включений.

Сифонная разливка

При сифонной разливке, основанной на принципе сообщающихся сосудов, сталью одновременно заполняют несколько изложниц (от двух до нескольких десятков). Жидкая сталь из ковша поступает в установленную на поддоне центровую, а из нее по каналам в поддоне в изложницы снизу. После наполнения всех установленных на поддоне изложниц ковш транспортируют к следующему поддону.

Схема сифонного способа разливки стали:

1 - ковш, 2 - центровой литник, 3 - сифонные кирпичи, 4 - поддон, 6 - изложницы, 6 - шлакоуловители, 7 - огнеупорная масса

Рис. 3.4

По сифонному способу из ковша 1 (рис. 3.4) через центровой литник 2 одновременно заливается в зависимости от развеса слитков от двух до 60-100 изложниц. При этом металл, проходя по центровому литнику 2, поступает по cистеме каналов, образованных специальными сифонными кирпичами 3 в чугунном поддоне 4, к каждой изложнице 5. Преимущества сифонного способа: можно отливать одной струей большое число слитков, поверхность слитков получается чистой, вследствие уменьшения высоты и объема усадочной раковины можно получить качественные слитки развесом до 20-30 г. стали. Недостаток сифонной разливки - трудоемкая работа по сборке изложниц под разливку и большой расход металла на литники.

Оба способа разливки широко применяются на практике. Каждый из них имеет свои достоинства и недостатки. Однозначного ответа на вопрос, какой из них является лучшим, до сих пор нет. Благодаря простоте и отсутствию потерь металла с литниками часто предпочитают разливку сверху. Разливка сверху для рядовых марок стали является более экономичной, чем разливка сифоном. В то же время высококачественные и легированные стали, когда для уменьшения потерь дорогостоящего металла при зачистке важно получить чистую поверхность слитка, разливают преимущественно сифоном.

Непрерывная разливка стали

Сущность способа непрерывной разливки заключается в том, что жидкую сталь непрерывно заливают в водоохлаждаемую изложницу без дна - кристаллизатор, из нижней части которого вытягивают затвердевший по периферии слиток с жидкой сердцевиной. Далее слиток движется через зону вторичного охлаждения, где полностью затвердевает, после чего его разрезают на заготовки определенной длины. Разливку ведут до израсходования металла в сталеразливочном ковше. До начала разливки в кристаллизатор вводят временное дно, называемое затравкой.

Агрегаты для разливки стали этим методом называют машинами непрерывного литья заготовок (МНЛЗ) или установками непрерывной разливки стали (УНРС). Существует несколько типов машин непрерывной разливки, из которых наиболее распространение получили вертикальные, криволинейные, горизонтальные (рис. 3.5).

Схемы промышленных МНЛЗ

I - вертикального типа; II - вертикального типа с изгибом заготовок; III - радиального типа; IV - МНЛЗ криволинейного типа; V - криволинейного типа с прямым кристаллизатором; VI - наклонно-криволинейного типа; VII - горизонтального типа; L - металлургическая протяженность, R1 - базовый радиус МНЛЗ, R2, R3 - радиусы выпрямления отливаемого слитка

Рис. 3.5

В зависимости от количества одновременно отливаемых слитков машины могут быть одноручьевыми, двухручьевыми и многоручьевыми. На машинах непрерывной разливки отливают заготовки квадратного сечения (блюмы), прямоугольного (слябы), круглого и полые круглые заготовки для производства труб.

Главные преимущества непрерывной разливки стали перед разливкой в изложницы заключаются:

         в повышении выхода годного металла (вследствие отсутствия усадочной раковины в заготовках, полученных при непрерывной разливке);

         в отсутствии необходимости строительства и эксплуатации обжимных станов (блюмингов и слябингов);

         в снижении химической неоднородности металла;

         в уменьшении затрат ручного труда;

         в улучшении условий труда при разливке;

         в возможности автоматизации процесса разливки.

3.2 Выбор способа разливки для производства осевой заготовки

Преимущества непрерывной разливки стали по сравнению с разливкой в обычные изложницы заключаются в сокращении числа технологических операций, увеличении выхода годного металла (выход сортовой заготовки и слябов спокойной стали увеличивается на 10-14% от массы разливаемого металла), улучшении качества металла, в первую очередь вследствие снижения химической неоднородности из-за более быстрого затвердевания малых по сечению отливаемых слитков, возможности широкой автоматизации процесса, улучшении условий труда при разливке, отказе от блюмингов, слябингов, дворов изложниц, стрипперных отделений и сокращении территории предприятия. Непрерывная разливка стали дала возможность организовать непрерывный, высокопроизводительный процесс производства непрерывнолитых заготовок, по профилю и размерам пригодных для непосредственного использования на сортовых и листовых станах.

Средняя годовая производительность одного ручья для современных МНЛЗ должна составлять 200 - 250 тыс. т в год. Следовательно, для большинства МНЛЗ средний показатель их удельной производительности представляется достаточно низким с позиций последних достижений в области непрерывной разливки. Вместе с тем, как показывает анализ работы современных МНЛЗ, далеко не все производители стали стремятся к максимальной скорости разливки. Учитывая высокие требования машиностроителей, многие металлургические предприятия акцентируют внимание на качестве заготовки.

Для обеспечения необходимого объема, для производства осевой заготовки на трубозаготовочном стане 900/750х3 целесообразнее всего выбрать три четырех-ручьевые МНЛЗ криволинейного типа.

3.3 Способ выплавки стали

Сталь ОС производится мартеновским, кислородно-конвертерным или электродуговым способом.

Сталь подвергается внепечной обработке путем продувки инертным газом (по согласованию с потребителем допускается изготовление круглой заготовки без продувки инертным газом).

Мартеновский способ

В мартеновской печи осуществляется передел загруженной в нее шихты: твердого или жидкого чугуна, стального и чугунного лома с использованием железной руды, окалины, кислорода, флюсов и ферросплавов - в сталь заданного состава, при этом получается побочный продукт плавки - мартеновский шлак.

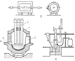
Мартеновская печь

Верхняя часть мартеновской печи (рис. 3.6) состоит из рабочего пространства (ограниченного ванной 4, передней стеной 9, задней стеной 8, сводом 5) и головок, расположенных с обоих концов рабочего пространства. В передней стене находятся загрузочные окна 6, через которые с рабочей площадки загружается шихта, берутся пробы и ведется наблюдение за плавкой. Подина печи имеет наклон к задней стене, в которой находится отверстие для выпуска готовой стали, разделываемое перед выпуском.

Через каналы 1, 2, 3 и 7 головок подается газ (топливо) и окислительное дутье и отводятся продукты горения.

Нижняя часть печи состоит из двух пар шлаковиков, двух пар регенераторов, подземных каналов с перекидными клапанами и дымового борова, соединенного с дымовой трубой или котлом - утилизатором.

Схема устройства мартеновской печи

Рис. 3.6

Шлаковики и регенераторы расположены попарно и симметрично по обе стороны печи. Сечение через воздушный шлаковик 11 и газовый шлаковик 10 сделано в одной плоскости с сечением рабочего пространства, а сечение через воздушный регенератор 12 и газовый регенератор 13 - в другой плоскости: шлаковики находятся под головками, а регенераторы под рабочей площадкой.

Регенераторы служат для нагрева воздуха и горючего газа, поступающих в рабочее пространство при температуре 1000-1150°. Необходимость нагрева вызвана тем, что в рабочем пространстве должна быть обеспечена температура до 1700° и более, если же предварительного нагрева дутья и газа не производить, то температура в печи будет недостаточна для нагрева и последующего плавления мягкой стали.

Камеры регенераторов заполнены насадкой в виде решетчатой кладки из огнеупорного кирпича.

Регенераторы работают попарно и попеременно: в то время как одна пара нагревает дутье и газ, другая аккумулирует (запасает) теплоту отходящих продуктов горения; по охлаждении регенераторов до нижнего предела либо по достижении верхнего предела нагрева регенераторов, аккумулирующих теплоту, происходит перемена направления движения газов посредством перекидки клапанов. Шлаковики расположены между головками и регенераторами; они служат для собирания пыли и капель шлака, которые выносятся продуктами горения.

Для нагрева мартеновских печей, работающих на машиностроительных заводах, применяется также жидкое топливо (мазут). Мазут в рабочее пространство вводится с помощью форсунки и распыляется струей воздуха или пара под давлением 5-8 атм. Печи, работающие на мазуте, оборудуются только двумя регенераторами (и соответственно двумя шлаковиками) для подогрева окислительного дутья по одному с каждой стороны.

Плавка стали на шихте, содержащей фосфор и серу в количестве, превышающем допустимое в готовой стали, производится основным процессом, т.е. под основным шлаком и в печах с основной футеровкой.

Ванна основных печей футеруется обожженным доломитом или магнезитом. Для кладки свода рабочего пространства, головок и стен шлаковиков применяют магнезитохромитовый кирпич, имеющий высокую стойкость. В небольших печах, а также при отсутствии магнезитохромитового кирпича, свод печей делается из динасового кирпича.

Для плавки стали под кислым шлаком применяются кислые печи с футеровкой из динасового кирпича и кварцевого песка.

Помимо стационарных мартеновских печей, применяются также качающиеся мартеновские печи. Верхняя часть качающейся печи опирается на систему роликов. Между торцовыми стенками рабочего пространства и головками имеются небольшие щели, обеспечивающие возможность поворота корпуса печи. Посредством поворотного механизма осуществляется наклон до 15° в сторону рабочей площадки для скачивания шлака, или на 30-33° в сторону выпускного отверстия для выпуска стали.

Продолжительность службы мартеновской печи (ее кампания) определяется числом плавок, выдерживаемых сводом рабочего пространства; она составляет обычно для печей с динасовым сводом 250 - 300 плавок (при большой емкости) или 400-500 плавок (при малой и средней емкости), а для печей с хромомагнезитовым сводом 700 и более плавок.

В мартеновских печах выплавляют углеродистую конструкционную сталь, а также легированную сталь различных марок.

Кислородно-конвертерный способ.

Кислородно-конвертерный процесс представляет собой один из видов передела жидкого чугуна в сталь без затраты топлива путем продувки чугуна в конвертере технически чистым кислородом, подаваемым через фурму, которая вводится в металл сверху. Количество воздуха необходимого для переработки 1 т чугуна, составляет 350 кубометров.

Процесс занимает главенствующую роль среди существующих способов массового производства стали. Такой успех кислородно-конвертерного способа заключается в возможности переработки чугуна практически любого состава, использованием металлолома от 10 до 30%, возможность выплавки широкого сортамента сталей, включая легированные, высокой производительностью, малыми затратами на строительство, большой гибкостью и качеством продукции.

Кислородно-конвертерный процесс с верхней продувкой

Конвертер имеет грушевидную форму с концентрической горловиной. Это обеспечивает лучшие условия для ввода в полость конвертера кислородной фурмы, отвода газов, заливки чугуна и завалки лома и шлакообразующих материалов. Кожух конвертера выполняют сварным из стальных листов толщиной от 20 до 100 мм. В центральной части конвертера крепят цапфы, соединяющиеся с устройством для наклона. Механизм поворота конвертера состоит из системы передач, связывающих цапфы с приводом. Конвертер может поворачиваться вокруг горизонтальной оси на 360° со скоростью от 0,01 до 2 об/мин. Для большегрузных конвертеров емкостью от 200 т применяют двухсторонний привод, например, четыре двигателя по два на каждую цапфу.

Схема конвертера емкостью 300 т с двухсторонним приводом механизма поворота

Рис. 3.7

В шлемной части конвертера имеется летка для выпуска стали. Выпуск стали через летку исключает возможность попадания шлака в металл. Летка закрывается огнеупорной глиной, замешанной на воде.

Ход процесса. Процесс производства стали в кислородном конвертере состоит из следующих основных периодов: загрузки металлолома, заливки чугуна, продувки кислородом, загрузки шлакообразующих, слива стали и шлака.

Загрузка конвертера начинается с завалки стального лома. Лом загружают в наклоненный конвертер через горловину при помощи завалочных машин лоткового типа. Затем с помощью заливочных кранов заливают жидкий чугун, конвертер устанавливают в вертикальное положение, вводят фурму и включают подачу кислорода с чистотой не менее 99,5% О2. Одновременно с началом продувки загружают первую порцию шлакообразующих и железной руды (40 - 60% от общего количества). Остальную часть сыпучих материалов подают в конвертер в процессе продувки одной или несколькими порциями, чаще всего 5 - 7 минут после начала продувки.

На процесс рафинирования значительное влияние оказывают положение фурмы (расстояние от конца фурмы до поверхности ванны) и давление подаваемого кислорода. Обычно высота фурмы поддерживается в пределах 1,0 - 3,0 м, давление кислорода 0,9 - 1,4 МПа. Правильно организованный режим продувки обеспечивает хорошую циркуляцию металла и его перемешивание со шлаком. Последнее, в свою очередь, способствует повышению скорости окисления содержащихся в чугуне C, Si, Mn, P.

Важным в технологии кислородно-конвертерного процесса является шлакообразование. Шлакообразование в значительной мере определяет ход удаления фосфора, серы и других примесей, влияет на качество выплавляемой стали, выход годного и качество футеровки. Основная цель этой стадии плавки заключается в быстром формировании шлака с необходимыми свойствами (основностью, жидкоподвижностью и т.д.). Сложность выполнения этой задачи связана с высокой скоростью процесса (длительность продувки 14 - 24 минуты). Формирование шлака необходимой основности и заданными свойствами зависит от скорости растворения извести в шлаке. На скорость растворения извести в шлаке влияют такие факторы, как состав шлака, его окисленность, условия смачивания шлаком поверхности извести, перемешивание ванны, температурный режим, состав чугуна и т.д. Раннему формированию основного шлака способствует наличие первичной реакционной зоны (поверхность соприкосновения струи кислорода с металлом) с температурой до 2500°С. В этой зоне известь подвергается одновременному воздействию высокой температуры и шлака с повышенным содержанием оксидов железа. Количество вводимой на плавку извести определяется расчетом и зависит от состава чугуна и содержания SiO2 руде, боксите, извести и др. Общий расход извести составляет 5 - 8% от массы плавки, расход боксита 0,5 - 2,0%, плавикового штампа 0,15 - 1,0%. Основность конечного шлака должна быть не менее 2,5.

Окисление всех примесей чугуна начинается с самого начала продувки. При этом наиболее интенсивно в начале продувки окисляется кремний и марганец. Это объясняется высоким сродством этих элементов к кислороду при сравнительно низких температурах (1450-1500°С и менее).

Окисление углерода в кислородно-конвертерном процессе имеет важное значение, т.к. влияет на температурный режим плавки, процесс шлакообразования и рафинирования металла от фосфора, серы, газов и неметаллических включений.

Характерной особенностью кислородно-конвертерного производства является неравномерность окисления углерода как по объему ванны, так и в течение продувки.

С первых минут продувки одновременно с окислением углерода начинается процесс дефосфорации - удаление фосфора. Наиболее интенсивное удаление фосфора идет в первой половине продувки при сравнительно низкой температуры металла, высоком содержании в шлаке (FeO); основность шлака и его количество быстро увеличивается. Кислородно-конвертерный процесс позволяет получить < 0,02% Р в готовой стали.

Условия для удаления серы при кислородно-конвертерном процессе нельзя считать таким же благоприятным, как для удаления фосфора. Причина заключается в том, что шлак содержит значительное количество (FeO) и высокая основность шлака (> 2,5) достигается лишь во второй половине продувки. Степень десульфурации при кислородно-конвертерном процессе находится в пределах 30 - 50% и содержание серы в готовой стали составляет 0,02 - 0,04%.

По достижении заданного содержания углерода дутые отключают, фурму поднимают, конвертер наклоняют и металл через летку (для уменьшения перемешивания металла и шлака) выливают в ковш.

Полученный металл содержит повышенное содержание кислорода, поэтому заключительной операцией плавки является раскисление металла, которое проводят в сталеразливном ковше. Для этой цели одновременно со сливом стали по специальному поворотному желобу в ковш попадают раскислители и легирующие добавки.

Шлак из конвертера сливают через горловину в шлаковый ковш, установленный на шлаковозе под конвертером.

Течение кислородно-конвертерного процесса обусловливается температурным режимом и регулируется изменением количества дутья и введением в конвертер охладителей - металлолома, железной руды, известняка. Температура металла при выпуске из конвертера около 1600°С.

Во время продувки чугуна в конвертере образуется значительное количество отходящих газов. Для использования тепла отходящих газов и отчистки их от пыли за каждым конвертером оборудованы котел-утилизатор и установка для очистки газов.

Управление конвертерным процессом осуществляется с помощью современных мощных компьютеров, в которые вводится информации об исходных материалах (состав и количество чугуна, лома, извести), а также о показателях процесса (количество и состав кислорода, отходящих газов, температура и т.п.).

Электродуговой способ.

Плавка в электропечах имеет ряд преимуществ перед плавкой в конверторах и мартеновских печах. Высокая температура позволяет применять сильноосновные шлаки, вводить большое количество флюсов и достигать максимального удаления из стали серы и фосфора. Для плавки в электропечи не требуется воздуха; окисляющая способность печи невысока, поэтому количество FeO в ванне незначительно, сталь получается достаточно раскисленная и плотная.

Плавка в электропечах имеет ряд преимуществ перед плавкой в конверторах и мартеновских печах. Высокая температура позволяет применять сильноосновные шлаки, вводить большое количество флюсов и достигать максимального удаления из стали серы и фосфора. Для плавки в электропечи не требуется воздуха; окисляющая способность печи невысока, поэтому количество FeO в ванне незначительно, сталь получается достаточно раскисленная и плотная. Благодаря высокой температуре в печи можно получить легированные стали с тугоплавкими элементами: вольфрамовые, молибденовые и др.

Исходными материалами для плавки в электропечах являются стальной лом, железная руда, окалина. Передельный мартеновский чугун применяют только для сталей с высоким содержанием углерода, но чаще заменяют электродным боем или малосернистым коксом.

В качестве флюсов в основных печах применяют известь, а в кислых печах - кварцевый песок. Для разжижения основных шлаков применяют плавиковый шпат, боксит и шамотный бой, а для кислых шлаков - известь и шамотный бой. Для раскисления стали, кроме обычных ферросплавов, применяют комплексные раскислители (АМС, содержащий по 10% кремния, марганца и алюминия, силикомарганец, силикокальций).

Все материалы, загружаемые в электрические печи, должны быть сухими, чтобы не произошло насыщения стали водородом от разложения влаги.

Схема дуговых электропечей с разными способами нагрева

Рис. 3.8

Дуговые печи наиболее распространены в промышленности, так как устройство и эксплуатация их несложны, коэффициент полезного действия высок и, кроме того, в них можно выплавлять самые разнообразные сорта стали и сплавов цветных металлов. В дуговых печах электроэнергия превращается в тепловую энергию дуги, которая передается плавящейся шихте посредством излучения.

Печи прямого действия с вертикальным расположением электродов в настоящее время применяются только для выплавки стали и имеют емкость от 0,5 до 180 т.

Дуговая электропечь одета стальным кожухом и выложена огнеупорным кирпичом. Рабочее пространство печи сверху ограничено-сводом 1, снизу - подом. Свод печи съемный. Через него пропущены электроды 6. Современные электропечи работают на трехфазном переменном токе и потому имеют три электрода.

Применяют угольные или графитовые электроды диаметром 200-500 мм. В передней стенке печи находится завалочное окно, которое служит для завалки шихты и наблюдения за ходом плавки. Для выпуска металла в задней стенке имеется отверстие с желобом. В некоторых печах жидкий металл выпускается через желоб, вставляемый в завалочное окно.

Кладку электросталеплавильных печей делают либо основной - при выплавке главным образом высококачественных и легированных сталей для производства слитков, либо кислой - при выплавке углеродистых и низколегированных сталей для фасонного литья.

В зависимости от емкости и конструкции печи загружаются различно: через завалочное окно вручную, лотками и завалочной машиной или сверху бадьей или корзиной после подъема и отвода в сторону свода или выкатывания печи.

После загрузки печи к электродам подводят ток. Благодаря высокой температуре горения дуги (около 3500° С) происходит бурное плавление шихты.

В первом периоде плавки примеси окисляются кислородом, находящимся в печи (главным образом кислородом железной руды). Образующаяся закись железа растворяется в металле и вступает в соединение с кремнием, марганцем, фосфором и углеродом. Образующиеся SiO2, MnO, FeO и создают шлак.

Во втором периоде электроплавки происходит науглероживание металла, если количество углерода окажется ниже заданной нормы, затем раскисление и удаление серы. Раскислителем служит карбид кальция СаС2.

В третьем периоде плавки производят доводку с целью получения легированных сталей: вводят феррохром, ферротитан, феррованадий и другие ферросплавы.

На основании изученных данных для получения стали ОС целесообразнее использовать кислородно-конвертерный способ.

Для обеспечения трех МНЛЗ необходимым количеством стали потребуется три конвертера вместимостью 100 тонн.

4. Технологический процесс получения стали

.1 Технологический процесс получения стали

-я стадия - загрузка твердой шихты и заливка жидкого чугуна. Момент соприкосновения железоуглеродистого расплава с твердым металлоломом соответствует началу двух процессов:

а) намораживание чугуна на холодный металлолом;

б) последующее расплавление лома.

В целом это тепломассо-обменные процессы: передача тепла, диффузия углерода, снижение температуры плавления поверхностных слоев металлолома и т.д. В зависимости от температуры и состава пограничного слоя в процессе плавления лома можно выделить периоды:

) тепловой, в котором происходит намораживание расплава на поверхности холодного лома с последующим его расплавлением без изменения состава поверхностного слоя;

) диффузионный, в котором за счет прогрева и насыщения углеродом происходит постоянное оплавление поверхностного слоя;

) период интенсивного стационарного плавления, когда лом достаточно нагрет, а тепловой поток расходуется только на его плавление.

Продолжительность теплового периода зависит от температуры и фазового состава шихты. Согласно расчетам при заливке чугуна на холодный лом в количестве до 25% от массы шихты продолжительность теплового периода составляет 1-2 мин. Поэтому часть лома растворяется уже в период слива чугуна. Это сопровождается снижением его температуры на 100 - 200°С (охлаждающий эффект растворения лома 1,4 ГДж/т чугуна). При достижении теплового равновесия начинается плавление лома.

Плавление лома в течение большей части периода продувки происходит, как правило, в диффузионном режиме. По данным промышленных исследований, при интенсивности продувки 2-4 м³/(т х мин) продолжительность диффузионного периода 10 - 15 мин, а скорость плавления лома 1-18 мм/мин. В случае продувки ванны снизу, а также при увеличении интенсивности продувки скорость плавления заметно возрастает. При достижении расплавом температур ликвидуса скорость плавления лома резко возрастает и практически не зависит от содержания углерода.

-я стадия - «пусковой период», включающий процессы образования большой массы жидкой фазы и перегрева ее над ликвидусом до уровня, обеспечивающего протекание реакции окисления углерода.

Для большегрузных конвертеров твердая и полутвердая составляющие шихты к моменту «зажигания» плавки могут достигать 70% от массы металло-шихты, загруженной в конвертер.

-я стадия - период интенсивного обезуглероживания в стационарном режиме - время от момента «зажигания» плавки до заметного замедления реакции обезуглероживания.

-я стадия - заключительная, включает процессы: прекращение продувки, подъем фурмы, повалка конвертера и выпуск стали.

4.2 Технологический процесс внепечной продувки инертным газом

ГОСТ 4728-2010 - Сталь подвергается внепечной обработке путем продувки инертным газом.

Внепечная обработка - основные технологические приемы. Современные сталеплавильные технологии с использованием методов внепечной обработки основываются на использовании следующих технологических приемов:

а) обработка металла вакуумом;

в) одновременная обработка вакуумом и инертными газами;

г) одновременная обработка вакуумом и продувка кислородом;

д) одновременная продувка инертными газами и кислородом;

е) обработка твердыми шлаковыми смесями;

ж) обработка жидкими шлаками;

з) одновременная обработка жидкими синтетическими шлаками и инертными газами;

и) комплексная обработка металла вакуумом, кислородом, инертными газами и шлаковыми смесями;

к) вдувание в глубь металла порошкообразных реагентов;

л) введение в глубь металла реагентов в виде композитных блоков, проволоки и т.п.

Распространение внепечной обработки стали. Перечисленные выше и многие другие достоинства сталеплавильных технологий с использованием методов внепечной обработки привели к тому, что на современном этапе развития металлургии работа сталеплавильных цехов немыслима без внепечной обработки; практически вся сталь, производимая в мире, подвергается тому или иному приему внепечной обработки.

Влияние продувки инертными газами на состав металла в известной мере аналогично обработке вакуумом. При продувке инертными газами массу металла пронизывают тысячи пузырей инертного газа, каждый из которых служит своеобразной маленькой вакуумной камерой, так как парциальные давления водорода и азота в таком пузыре равны нулю. При продувке инертным газом происходит интенсивное перемешивание металла, усреднение его состава. В тех случаях, когда поверхность металла покрыта шлаком заданного состава, при перемешивании улучшаются условия протекания ассимиляции таким шлаком неметаллических включений. Большое количество пузырей инертного газа приводит к интенсификации процесса газовыделения, так как пузыри являются готовыми полостями с развитой поверхностью раздела, что очень важно для образования новой фазы. Продувка инертным газом сопровождается снижением температуры металла (газ нагревается и интенсивно уносит тепло), поэтому продувку инертным газом часто используют для регулирования температуры металла в ковше. Проведение операции продувки больших масс металла инертными газами в ковше проще и дешевле, чем обработка вакуумом, поэтому, если это возможно, обработку вакуумом заменяют продувкой инертными газами через пористые пробки в днище ковша или через полый стопор. Для процесса продувки металла инертными газами характерно:

) уменьшение содержания газов в металле;

) интенсивное перемешивание расплава, улучшение условий протекания процессов перевода в шлак неметаллических включений, при этом состав металла усредняется;

) улучшение условий протекания реакции окисления углерода;

) снижение температуры металла.

Метод продувки инертными газами для повышения качества металла получил промышленное распространение по мере освоения технологии получения больших количеств дешевого аргона как сопутствующего продукта при производстве кислорода. На кислородных станциях аргон выделяют при ректификации жидкого воздуха. Если завод имеет мощную кислородную станцию, то объем попутно получающегося аргона достаточен для обработки больших количеств стали.

Для продувки металла, не содержащего нитридообразующих элементов (хрома, титана, ванадия и т.п.), часто используют азот. При 1550-1600 ºС процесс растворения азота в жидком железе не получает заметного развития. Расход инертного газа составляет обычно 0,1-3,0 м3/т стали. В зависимости от массы жидкой стали в ковше снижение температуры стали при таком расходе аргона может происходить со скоростью 2,5-4,5°С/мин (в технологии без продувки скорость охлаждения 0,5-1,0°С/мин). При продувке тепло дополнительно расходуется на нагрев инертного газа и излучение активно перемешиваемыми поверхностями металла и шлака. Большая часть тепловых потерь связана с увеличением теплового излучения, поэтому используется такой простой и достаточно эффективный прием, как накрывание ковша крышкой при продувке. Этим одновременно достигается снижение степени окисления обнажающегося при продувке металла. Простым и надежным способом подачи газа является использование так называемого ложного стопора. Продувочные устройства типа ложного стопора безопасны в эксплуатации, так как в схему футеровки ковша не нужно вносить никаких изменений, но они обладают малой стойкостью - в результате интенсивного движения металлогазовой взвеси вдоль стопора составляющие его огнеупоры быстро размываются.

5. Получение чугуна

Чугун - сплав железа с углеродом с содержанием более 2,14% (точка предельной растворимости углерода в аустените на диаграмме состояний). Углерод в чугуне может содержаться в виде цементита и графита. В зависимости от формы графита и количества цементита, выделяют: белый, серый, ковкий и высокопрочные чугуны. Чугуны содержат постоянные примеси (Si, Mn, S, P), а в некоторых случаях также легирующие элементы (Cr, Ni, V, Al и др.). Как правило, чугун хрупок.

Процесс получения чугуна в доменной печи:

Чугун производится из железняка (бурый Fe2O3, магнитный Fe3O4, шпатовый FeCO3). При нагревании железные руды разлагаются с образованием окислов.

Сначала руда должна быть обогащена на горно-обогатительном комбинате. Руда дробится, обогащается, получается концентрат. При обогащении удаляют пустую породу, промывают, обжигают, просеивают.

В самой доменной печи происходит следующее: загружают руду, разогревают, в следствие чего происходят процессы восстановления железа (отбирается кислород). После доменной плавки получаем огненно-жидкую массу чугуна.

Цель доменного производства состоит в получении чугуна, представляющего собой много компонентный сплав железа с углеродом, кремнием, марганцем, фосфором и серой.

Топливом для доменной печи служат уголь, кокс, горючие газы, мазут и т.д.

Доменная печь (рис. 5.1) или домна представляет печь шахтного типа, конструктивные отличия ее обусловливаются ее большими размерами, весьма высокой температурой обжига и применением приспособлений для вдувания горячего воздуха и для улавливания горючих колошниковых газов.

Стенки домны складываются из шамотного кирпича различной огнеупорности, в зависимости от господствующей в данной части печи температуры; заплечики и лещадь иногда складывают из динаса. Снаружи кладка окружена железным кожухом, в наиболее горячих частях печи охлаждаемым водою, чтобы уменьшить износ кирпичной кладки. Кругом печи устроена железная конструкция, стойки которой поддерживают груз всех платформ, лестниц, воздуходувных и газоотводных труб и пр. Наконечники или сопла фурм делаются бронзовые, с двойными стенками, охлаждаемыми непрерывно протекающей в их полостях водою.

Для загрузки в домну руды, флюсов и топлива, колошник снабжен особыми затворами, напр., в виде воронки, закрываемой колоколообразным клапаном, который на момент засыпки приподнимается и затем снова закрывает колошник; цель затвора - предупредить выбрасывание из печи пламени при загрузке. Подробности устройства затворов мы здесь не описываем. При печи имеется колошниковый подъем, вертикальный или наклонный, подающий наверх загружаемые в печь матерьялы; самая загрузка нередко производится помощью автоматических приспособлений, не требуя присутствия рабочих у колошника.

На некоторых из уральских заводов, работающих на древесном угле, еще сохранились старые домны сравнительно небольших размеров, с толстыми стенами без металлических кожухов, колонн и пр. Наивысшая температура в доменной печи - непосредственно над фурмами, где происходит горение кокса, может доходить до 1600° С. и, начиная отсюда, постепенно понижается кверху.

Необходимый для горения воздух вдувается в доменную печь при помощи воздуходувных машин, чаще всего горизонтальных поршневых, устроенных на подобие насосов двойного действия и приводимых в движение паровой машиной, а на новейших заводах - двигателями внутреннего сгорания, работающими на колошниковых газах (или на газе коксовальных печей, если таковые имеются при заводе).

Продукты доменного передела:

         Передельный чугун - для выплавки белого чугуна (твёрдый и хрупкий)

         Чушковый чугун - серый чугун, или серый ферритный чугун (машиностроение)

         Колошниковый газ - топливо для подогрева доменного дутья

         Доменный шлак - шлакоблоки

         Ферросплавы: FeS, FeMn

         Шлак - всплывшие продукты пустой породы с флюсами.

         Флюсами служат известняк, песок.

Шихта, т.е. руда, топливо и флюс, подается из бункера подъемником 1 в засыпной аппарат колошника 2, откуда и поступает во внутреннюю полость печи. Печь имеет шахту 4, распар 5, заплечики 8, горн 9, дно которого называется лещадью. Выпуск расплавленного чугуна производится через отверстие - чугунную летку, выше которой расположена шлаковая летка, через которую выпускают жидкий шлак.

Рис. 5.1

Воздух, необходимый для получения чугуна, вдувается под давлением в подогретом состоянии (до 1200° С) в фурмы 7 (12 - 18 шт.), проходя по кольцевой трубе 6, расположенной выше [давление воздуха у фурм до 350 кн/м2 (3,5 кГ/см2)]. Доменный («колошниковый») газ отводится через трубы 3 в очистительные устройства, так как он в дальнейшем используется как топливо для нужд доменного производства и других целей.

Чугун выпускается из печи через каждые 60 - 90 мин.


6. Расчет конструкции доменной печи

Основными расчетами конструкции доменной печи являются расчет основных геометрических параметров печи, расчет количества фурм, чугунных и шлаковых леток.

Профилем доменной печи называют очертание рабочего пространства, ограниченного футеровкой. В горизонтальных (поперечных) сечениях профиль представляет собой окружности переменного диаметра. Профиль печи в вертикальном осевом сечении представлен на рис. 6.1; основные элементы профиля - это горн, заплечики, распар, шахта и колошник, составляющие полезный объем печи, т.е. объем от оси чугунной летки - до низа подвижных элементов засыпного аппарата в опущенном положении (в полезный объем не входят объем 1 нижней части горна от оси чугунной летки до кладки лещади, где находится несливаемый слой жидкого чугуна, и ограниченный куполом 3 печи объем 2, в котором расположены элементы засыпного аппарата).

Рис. 6.1

Колошник имеет форму цилиндра и служит для приема загружаемой сверху шихты. Ниже колошника расположена расширяющаяся книзу шахта; это расширение необходимо, чтобы обеспечить свободное опускание шихтовых материалов, объем которых увеличивается в результате нагрева. Распар, представляющий собой короткий цилиндр, служит для создания плавного перехода от расширяющейся шахты к сужающимся заплечикам. Заплечики выполнены в виде усеченного конуса; такая их форма необходима, поскольку здесь происходит плавление рудной части шихты, в результате чего объем шихты уменьшается, и суживающиеся заплечики не позволяют шихте слишком быстро опускаться в горн. Последний имеет цилиндрическую форму, в нижней его части скапливаются жидкие чугун и шлак, а в верхнюю подают дутье и здесь сгорает топливо (кокс).

Основным размером доменной печи является полезный объем. В нашей стране доменные печи строятся по типовым проектам, в соответствии с которыми предусмотрены следующие величины полезного объема, м3: 1033, 1386, 1513, 1719, 2002, 2300, 2700, 3000, 3200, 4500, 5000 и 5500, однако, несмотря на это металлургические заводы зачастую строят доменные печи отличные от типовых проектов.

Производство всего объема чугуна Группой НЛМК осуществляется в 4-х доменных печах. Наряду с доменной печью «Россиянка» в эксплуатации находятся доменные печи: ДП №4 (объем 2000 м3), ДП №5 и ДП №6 (объем 3200 м3). Доменные печи №2 (объем 1000 м3) и №3 (объем 2000 м3) остановлены в июле 2012 г. и в мае 2013 г.

В настоящее время в эксплуатации на НЛМК находятся четыре доменных печи:

ДП №4 (мощность 1,8 млн тонн), ДП №5 (2,7 млн тонн), ДП №6 (2,9 млн тонн) и ДП №7 «Россиянка» (3,4 млн тонн).

Производительность доменной печи №6 составляет 7397 т/сут., соответственно годовая производительность равна 2700 тыс. т/год.

Учитывая годовую производительность трубозаготовочного стана 900/750х3 равную 2500 тыс. тонн, для производства чугуна выберем доменную печь с полезным объемом 3200 м3 и годовой производительностью 2700 тыс. тонн.

Основные размеры профиля печи - это полезная высота, высота и диаметр отдельных элементов профиля, полная высота печи. Полезной высотой H (рис. 6.1) называют расстояние от оси чугунной летки до низа большого конуса 5 или низа вращающегося распределителя шихты (лотка) в опущенном положении. Полная высота печи Hп (рис. 6.1) - расстояние от оси чугунной летки до верхней кромки колошникового фланца 4, который служит опорой засыпного аппарата.

Оптимальные соотношения между размерами выработаны на основании многолетнего опыта эксплуатации печей. Известен ряд методов приближенного расчета размеров печи. Например, по методу Н.К. Леонидова их рассчитывают, исходя из величины полезного объема V.

Полезную высоту H находят из выражения: H = 6,42V0,2.

Высоты h и диаметры D отдельных частей печи вычисляют по следующим эмпирическим формулам, м:

для горна hг = 0,125H,

Dг = 0,342V0,44;

для заплечиков hз = 0,11H;

для распара hр = 0,07H,

Dр = 0,384V0,44;

для шахты hш = 0,60H;

для колошника hк = 0,095H,

Dк = 0,593V0,33.

Полезная высота доменной печи

 = 6,42*V0,2,                                                          (6.1)

V - полезный объем доменной печи, м3;

H=6,42*32000,2=32,25 (м)

Высота горна

hг = 0,125*H,                                 (6.2)

где hг - высота горна, м;

Н - полезная высота доменной печи, м;г = 0,125*32,25=4,03 (м)

Диаметр горна

г = 0,342*V0,44,                                       (6.3)

где Dг - диаметр горна, м;

V - полезный объем доменной печи, м3;

Dг = 0,342*32000,44=11,9 (м)

Высота заплечиков

з = 0,11*H,                                                 (6.4)

где hз - высота заплечиков, м;

Н - полезная высота доменной печи, м;

hз = 0,11*32,25=3,54 (м)

Высота распара

р = 0,07*H,                                (6.5)

где hр - высота распара, м;

Н - полезная высота доменной печи, м;

hр = 0,07*32,25=2,2 (м)

Диаметр распара

р = 0,384*V0,44,                                      (6.6)

где Dр - диаметр распара, м;

V - полезный объем доменной печи, м3;

Dр = 0,384*32000,44=13,38 (м)

Высота шахты

ш = 0,60*H,                                (6.7)

где hш - высота шахты, м;

Н - полезная высота доменной печи, м;

hш = 0,60*32,25=19,35 (м)

Высота колошника

к = 0,095*H,                                             (6.8)

где hк - высота колошника, м;

Н - полезная высота доменной печи, м;

hк = 0,095*32,25=3,06 (м)

Диаметр колошника

к = 0,593*V0,33,                                                      (6.9)

где Dк - диаметр колошника, м;

V - полезный объем доменной печи, м3;

Dк = 0,593*32000,33=8,5 (м)

Полная высота обычно изменяется в пределах от 1,085 до 1,11 полезной высоты. Угол наклона шахты α составляет 82-85°, угол β наклона заплечиков 79-81°.

Таким образом, полная высота будет равна Нп=1,1Н (10); угол наклона шахты α=830; угол наклона заплечиков β=800.

Полная высота доменной печи

Нп=1,1*Н,                                                                  (6.10)

где Нп - полная высота, м;

Н - полезная высота доменной печи, м;

Нп = 1,1*32,25=35,475 (м)

Печи малого объема имеют одну чугунную летку, печи объемом около 2000 м3 - две, печи объемом 2700 м3 - три, а печи объемом 3200-5500 м3 - четыре летки. На больших печах с четырьмя поочередно работающими летками, число выпусков чугуна в сутки достигает 18-24, на печи объемом 1000 м3 оно равно 4-5.

Шлаковые летки располагают выше оси чугунных леток на 1,4-2,0 м. На печах объемом 3200-5500 м3, имеющих четыре чугунных летки, практически весь шлак выходит через чугунные летки вместе с чугуном, и на этих печах делают одну шлаковую летку, имеющую резервное значение.

Основываясь на приведенных данных, при расчете доменной печи количество чугунных и шлаковых леток примем равным четырем.

Число фурм зависит от диаметра горна и его примерно определяют по следующей зависимости: n = 3Dг - 8 (11).

Число фурм

 = 3Dг - 8,                                                  (6.11)

где n - число фурм, шт.;

Dг - диаметр горна, м;

n=3*11,9-8=28 (шт.)

Основные размеры профиля печи и технические характеристики приведены на сборочном чертеже.

7. Технологический процесс завода с полным металлургическим циклом производства

Технологический процесс металлургического завода начинается с производства чугуна.

Железорудная шихта, кокс и добавки поступают на колошник в заданном соотношении, определёнными порциями - подачами, периодически (через 5 - 10 минут) - по мере опускания столба шихты. Сигналом для поступления очередной подачи служит опускание материала на некоторую величину, устанавливаемым уровнем засыпи. Опускание столба шихты происходит вследствие непрерывных процессов горения кокса, плавления материалов с образованием чугуна и шлака. По мере накопления в горне жидких продуктов плавки производят их выпуск из печи через летку на литейный двор - придоменную площадку. Открытие чугунных леток осуществляют бурмашинами, которые проделывают в леточной массе канал. Чугун, а затем шлак из горна по каналу летки попадают в главный желоб, где происходит их окончательное взаимное разделение. Главный желоб оборудован с противоположного от печи конца скимерной разделительной плитой, которая пропускает чугун через нижнее отверстие и сдерживает шлак, направляя его в боковое русло. По окончании выпуска летку заделывают специальной массой при помощи электропушки.

Доменный (колошниковый) газ, содержащий значительное количество пыли, покидает печь через 4 отверстия в куполе печи (верхняя часть кожуха, на которое опирается засыпное устройство). С наружной стороны к куполу присоединены газоотводы, которые объединяются сначала симметрично попарно, а затем в один газопровод. По газопроводу газ поступает в пылеуловитель, где происходит первая стадия очистки его от пыли сухим гравитационным методом. Дальнейшая более тонкая очистка газа проводится в скрубберах, трубах Вентури, электрофильтрах, дроссельной группе, хотя основное назначение последней создание и поддержание повышенного давления в рабочем объеме печи (давление под колошником). Очищенный от пыли и обезвоженный газ используется как топливо для воздухонагревателей и на заводские нужды. Пыль и шламы направляются на окускование.

Чугун выпускают из печи каждые 3-4 часа через чугунную летку, а шлак - каждые 1-1,5 часа через шлаковую летку. Сливают чугун и шлак в чугуновозные ковши, и шлаковозные чаши.

В последующем доменный шлак перерабатывают, получая сырье для производства различных строительных материалов.

Жидкий чугун к сталеплавильным агрегатам подают с использованием стационарных миксеров. При этом способе чугун из доменного цеха в 100- или 140-т ковшах на чугуновозах по железнодорожным путям доставляют в миксерное отделение, в котором установлено один-три стационарных миксера. Чугун через люк заливают из ковшей в миксер, где хранится его запас, и по мере надобности порцию чугуна сливают через носок в заливочный ковш, который транспортируют к конвертерам.

В кислородно-конвертерном цехе чугун заливают в конвертер и переплавляют в сталь посредством обработки расплава газообразными окислителями. Плавку выпускают в ковш, установленный на сталевозе. При выпуске плавки в ковш подаются ферросплавы, отсекается шлак и вместо него присаживаются синтетическая смесь или мелочь извести. После выпуска ковш транспортируют на сталевозе на внепечную обработку, а после нее - на разливку. Ковш с металлом переставляется краном с конвертерного сталевоза на сталевоз внепечной обработки и подается под площадку установки для обработки. После обработки ковш направляется на разливку в МНЛЗ. Шлак из конвертера сливают в шлаковый ковш, установленный на шлаковозе.

После внепечной обработки сталеразливочные ковши с металлом поступают в распределительные пролёты, где их со сталевоза краном транспортируют к МНЛЗ и устанавливают на консоль поворотного стенда в резервной позиции. После поворота стенда на 180° ковш оказывается над промежуточным ковшом и кристаллизатором. По окончании разливки из ковша с помощью крана сливают шлак в имеющиеся в пролёте шлаковые ковши и затем опорожненный сталеразливочный ковш устанавливают на сталевоз и передают в пролёт ремонта и подготовки сталеразливочных ковшей.

Отливаемый на МНЛЗ слиток на машине газовой резки режется на слябы мерной длины, которые транспортируются с помощью рольгангов на рольганг-тележку, передающую слябы на рольганг транспортно-отделочной линии. В транспортно-отделочной линии слябы в зависимости от марки стали проходят огневую зачистку.

Технологический процесс прокатки в цехе Блюминг включает:

доставку горячих слитков на железнодорожных платформах из сталеплавильного цеха к нагревательным колодцам;

подачу каждого слитка на слитковозе к приёмному рольгангу Блюминг;

взвешивание слитка и подачу его по рольгангу к валкам Блюминг;

прокатку в 11-19 проходов с обжатием 40-120 мм за проход и промежуточными кантовками на 90° (кантовка и перемещение полосы вдоль валков осуществляются манипулятором).

Заготовочные станы устанавливают непосредственно за блюмингом.

Некоторые заготовочные станы выполнены так, чтобы литая заготовка поступала из кристаллизатора в валки непрерывного стана без разрезки, т.е. в этом случае осуществляется прокатка заготовки бесконечной длины и деление её на куски требуемой длины летучими ножницами или пилами при выходе из валков стана.

На непрерывных заготовочных станах, кроме квадратной и прямоугольной сортовой заготовки, возможна организация производства трубной заготовки круглого сечения. Однако прокатка круглой заготовки связана со снижением производительности стана, что нецелесообразно на современных высокопроизводительных непрерывных заготовочных станах. Поэтому круглую заготовку для трубопрокатных агрегатов и станов периодической прокатки получают на специализированных трубозаготовочных станах мощностью до 2,5 млн. т/год, устанавливаемых в потоке за блюмингами 1150. На трубозаготовочных станах прокатывают круглую заготовку диаметром 80 - 350 мм. Производство круглой заготовки

Вспомогательное оборудование трубозаготовочного стана состоит из ножниц для обрезки концов и деления раскатов на части за реверсивной клетью, дисковых пил горячей резки (салаз ковых либо ударного действия) для круглой и сортовой заготовок; ножниц для порезки слябов и сортовой заготовки; цепных холодильников для круглой заготовки; уборочных устройств для сортовой заготовки и слябов; транспортных рольгангов и поперечных многомаршрутного технологического потока. Вне потока стана на складе устанавливается оборудование для отделки трубной заготовки в холодном состоянии: правильные прессы и косовалковые правильные машины, ультразвуковые дефектоскопы, станки для светления круглого проката, бесцентровотокарные станки для сплошной обдирки и обдирочношлифовальные станки для выборочной зачистки трубной заготовки.

По мере прохождения всех калибров в прокатных валках заготовка в итоге приобретает необходимый профиль и поступает на холодильник. После этого прокат отгружается потребителю.

Заключение

Осевая заготовка является одним из важнейших конструктивных элементов вагоностроения, к ней предъявляются жесткие требования по категории прочности и свариваемости.

С целью обеспечения данных требований для производства осевой заготовки была выбрана в соответствии с ГОСТ - 4728-2010 сталь ОС, определен стан - трубозаготовочный стан 900/750х3 и на основе годовой производительности стана - 2500 тыс. тон проката выбраны способы выплавки и разливки стали с описанием технологического процесса завода с полным металлургическим циклом производства.

Обеспечение необходимой производительности достигается путем выбора доменной печи с полезным объемом 3200 м3 и годовой производительностью в 2700 тыс. тон чугуна, установкой 3 конвертеров вместимостью по массе жидкой стали в 100 тон каждый для обеспечения бесперебойной работы трех четырех-ручьевых МНЛЗ общей производительностью 2400 тыс. тонн заготовок.

Библиографический список

1. Зотов В.Ф. Производство проката. - М.: Интермет Инжиниринг, 2000. - 352 с.

2.      ГОСТ -4728-2010 Заготовки осевые для железнодорожного подвижного состава

.        Смирнов А.Н., Сафонов В.М., Дорохова Л.В, Цупрун А.Ю. Металлургические мини-заводы: Монография. - Донецк: Норд-пресс, 2005. - 469 с.

.        Воскобойников В.Г., Кудрин В.А., Якушев А.М. Общая металлургия: учебник для вузов. 6-е изд., перераб. и доп. - М.: Академкнига, 2002. - 768 с.

.        Кудрин В.А. Теория и технология производства стали: Учебник для вузов. - М.: «Мир», ООО «Издательство ACT», 2003. - 528 с.

.        Авдеев В.А., Друян В.М., Кудрин Б.И. Основы проектирования металлургических заводов: Справочное издание. - М.: Интермет Инжиниринг, 2002. - 464 с.

.        Диомидов Б.Б., Литовченко Н.В. Технология прокатного производства: Учебное пособие для студентов вузов. - М.: «Металлургия», 1979 - 483 с.

.        Рудской А.И., Лунев В.А. Теория и технология прокатного производства: Учеб. Пособие. - СПб.: Наука, 2005. - 540 с.

.        Тлеугабулов Б.С. Основы производства и обработки металлов. Ч. 2. Производство черных металлов: курс лекций. - Нижний Тагил: Нижнетагил. технол. ин-т (фил.) УГТУ-УПИ, 2006. - 60 с.

Похожие работы на - Производство осевой заготовки

 

Не нашли материал для своей работы?
Поможем написать уникальную работу
Без плагиата!
Без нейросетей!