Методика поверки скобы с отсчетным устройством типа СР
Введение
поверка скоба размер погрешность
Метрологические характеристики средств измерений
во многом определяются качеством их изготовления. В то же время, в процессе
эксплуатации средств вследствие износа деталей и старения материалов происходит
изменение метрологических характеристик, что может привести к метрологическому
отказу. Поэтому для обеспечения единства измерений действует система поверки
средства измерений, обеспечивающая эксплуатацию только пригодных к применению
средств.
Под поверкой понимают - совокупность операций,
выполняемых органами государственной метрологической службы (или другими
уполномоченными организациями) с целью определения и подтверждения соответствия
средств измерений установленным техническим требованием.
Поверке подвергаются средства измерения,
подлежащие государственному метрологическому контролю и надзору, при выпуске из
производства или ремонта, при ввозе по импорту и эксплуатации. Государственный
метрологический контроль и надзор, осуществляемый с целью поверки соблюдения метрологической
правки и норм, распространяется на сферы указанные в статье 13 Закона РФ « Об
обеспечении единства измерений».
Поверка производится в соответствии с
нормативными документами, утверждаемыми по результатам документами,
утверждёнными по результатам испытаний по утверждению типа средств измерений
(СИ).
Результатом поверки является подтверждение
пригодности СИ к применению или признание СИ непригодным к применению.
В данной курсовой работе будет разработана
методика поверки скобы с отсчетным устройством.
1 Описание СИ
Скобы с отсчетным устройством предназначены для
измерений линейных размеров до 1000 мм, оснащены отсчетным устройством с ценой
деления 0,002 0,01 мм. Они изготавливаются двух типов:
СР рычажные, со встроенным в корпус отсчетным устройством
(рис. 1).
СИ индикаторные, оснащенные измерительными
головками (рис. 2).
Основные параметры скоб соответствуют указанным
в таблице 1.
Таблица 1 - Параметры скоб
|
Типы
скоб
|
Пределы
измерений скоб, мм
|
Отсчетное
устройство
|
Диапазон
перемещений переставной пятки, мм
|
Количество
переставных пяток, шт.
|
|
|
Цена
деления, не более, мм
|
Пределы
измерений, не более, мм
|
|
|
|
СР
|
0-25
25-50 50-75 75-100 100-125 125-150
|
0,002
|
0,14
|
25
|
1
|
|
СИ
|
0-50
50-100
|
0,01
|
3
|
50
|
1
|
|
100-200
200-300 300-400 400-500 500-600
|
|
|
|
2
|
|
600-700
|
|
5
|
|
|
|
700-850
850-1000
|
|
|
|
3
|
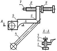
- пятка подвижная; 2 - отсчетное устройство; 3 -
корпус; 4 - теплоизоляционная накладка; 5 - упор; 6 - пятка переставная
Рисунок 1 - Скоба рычажная
- пятка подвижная; 2 - отсчетное устройство; 3 -
корпус; 4 - теплоизоляционная накладка; 5 - пятка переставная
Рисунок 2 - Скоба индикаторная
2. Проект методики поверки СИ
Настоящая методика предназначена для скоб с отсчетным
устройством типа СР.
.1 Операции поверки
При проведении поверки должны быть выполнены
операции указанные в таблице 1.
Таблица 1 - Операции поверки
|
Наименование
операции
|
Номер
пункта документа по поверке
|
Обязательность
проведения операции при
|
|
|
Выпуске
из производства
|
ремонте
|
Эксплуатации
и хранения
|
|
1
|
2
|
3
|
4
|
5
|
|
Внешний
осмотр
|
2.6.1
|
Да
|
Да
|
Да
|
|
Опробование
|
2.6.2
|
Да
|
Да
|
|
Определение
метрологических характеристик
|
2.6.3
|
|
|
|
|
Определение
ширины штрихов и стрелки, а также расстояния между штрихами у скоб типа СР
|
2.6.3.1
|
Да
|
Нет
|
Нет
|
|
Определения
жесткости корпуса скобы
|
2.6.4
|
Да
|
Нет
|
Нет
|
|
Определения
измерительного усилия скоб
|
2.6.5
|
Да
|
Да
|
Нет
|
|
Определения
шероховатости измерительных поверхностей пяток и упоров
|
2.6.6
|
Да
|
Да
|
Нет
|
|
Определение
отклонения от плоскостности измерительных
|
2.6.7
|
Да
|
Да
|
Да
|
|
поверхностей
скоб
|
|
|
|
|
|
Определение
отклонения от параллельности измерительных поверхностей скоб
|
2.6.8
|
Да
|
Да
|
Да
|
|
Определение
отклонения от соосности измерительных поверхностей пяток скобы типа СР
|
2.6.9
|
Да
|
Нет
|
Нет
|
|
Определение
размаха показаний скоб
|
2.6.10
|
Да
|
Да
|
Да
|
|
Определение
основной погрешности скоб типа СР
|
2.6.11
и 2.6.12
|
Да
|
Да
|
Да
|
Жесткость скоб, выпущенных из производства,
определяют выборочно у 1 % скоб или не менее чем у двух скоб из партии.
Допускается применять отдельные вновь
разработанные или находящиеся в применении средства поверки, прошедшие
метрологическую
аттестацию
в органах государственной метрологической службы или, с их разрешения,
ведомственной метрологической службы и удовлетворяющие по точности требованиям
настоящего стандарта.
.2 Средства поверки
При проведении поверки должны быть применены
средства поверки указанные в таблице 2.
Таблица 2- Средства поверки
|
Номер
пункта по поверке
|
Наименование
документа, регламентирующего технические требования к средству; разряд по
государственной поверочной схеме и/или метрологические основные технические
наименование рабочего эталона или вспомогательного средства поверки; номер
докие характеристики
|
|
2.6.1
|
-
|
|
2.6.2
|
-
|
|
2.6.3
|
Универсальный
измерительный микроскоп типа УИМ или инструментальный микроскоп по ГОСТ
8074-71
|
|
2.6.4
|
Гиря
массой 1 кг 5-го класса точности по ГОСТ 7328-73* или динамометр на усилие
10Н, погрешность измерения не более 10 %
|
|
2.6.5
|
Циферблатные
весы по ГОСТ 23676-79
|
|
2.6.6
|
Лупа
4 ; образцы
шероховатости поверхности 0,025 и 0,2 мкм по ГОСТ 9378-75
или профилограф по ГОСТ 19299-73, либо профилометр по ГОСТ 19300-73
|
|
2.6.7
|
Плоские
стеклянные пластины 2-го класса по ГОСТ 2923-75
|
Плоскопараллельные
стеклянные пластины по ГОСТ 1121-75; плоскопараллельные концевые меры длины
5-го разряда по ГОСТ 8.166-75
|
|
2.6.9
|
Приспособление
для определения отклонения от соосности (справочное приложение 1, черт.3)
|
|
2.6.10
|
Плоскопараллельные
концевые меры длины 4 и 5-го разрядов по ГОСТ 6507-78
|
|
2.6.11
и 2.6.12
|
Плоскопараллельные
концевые меры длины 4 и 5-го разрядов по ГОСТ 6507-78
|
Допускается применять отдельные вновь
разработанные или находящиеся в применении средства поверки, прошедшие
метрологическую аттестацию в органах государственной метрологической службы
или, с их разрешения, ведомственной метрологической службы и удостоверяющее по
точности требованиям настоящего стандарта.
.3 Требования безопасности
При подготовке к проведению поверки следует
соблюдать правила пожарной безопасности, установленные для работы с
легковоспламеняющимися жидкостями, к которым относится бензин, используемый для
промывки микрометра и плоскопараллельных концевых мер длины.
В помещении, где производят
промывку, должны быть предупредительные знаки и сигнальные цвета по ГОСТ
12.4.026-76 <#"878587.files/image005.gif">
Чертеж 1
Интерференционная картина, соответствующая
отклонению от плоскостности, равному двум полосам. Полосы 4 и 5 не принимают во
внимание, так как они расположены ближе чем на 0,5 мм от края. Полосы 2 и 3
считают за одну полосу, так как они расположены симметрично относительно
замкнутой полосы
Чертеж 2
Чертеж 3
*
8,05 или 11,05 мм в
зависимости от диаметра пятки.
Чертеж 4
Чертеж 5
- горизонтальное положение скобы;
-
вертикальное положение скобы
, 2, 8 - винты 3 - пятка 4 - кронштейн 5 -
корпус 6 - цилиндрический штифт 7 - шарик; 9 - гайка
Чертеж 6
Приложение 2
(Обязательное)
ПРИМЕР
записи результатов определения основной
погрешности
скоб типа СР с диапазоном измерения 0-25 мм
|
Проверяемый
участок шкалы, деления
|
Плоскопараллельная
концевая мера, мм
|
Разность
действительных значений мер, мкм
|
Показания
скобы, мкм
|
Основная
погрешность скобы, мкм
|
|
номинальное
значение
|
действительное
значение
|
|
|
|
|
0
|
1,14
|
1,1403
|
0,0
|
0,0
|
-
|
|
0 +5
|
1,15
|
1,1504
|
+10,1
|
+10,0
|
-0,1
|
|
0 +10
|
1,16
|
1,1613
|
+21,0
|
+20,2
|
-0,8
|
|
0 +20
|
1,18
|
1,1810
|
+40,7
|
+40,8
|
+0,1
|
|
0 +30
|
1,20
|
1,2003
|
+60,0
|
+60,8
|
+0,8
|
|
0 +40
|
1,22
|
+79,5
|
+80,0
|
+0,5
|
|
0 +50
|
1,24
|
1,2410
|
+100,7
|
+101,0
|
+0,3
|
|
0 +60
|
1,26
|
1,2600
|
+119,7
|
+119,7
|
0,0
|
|
0 +70
|
1,28
|
1,2805
|
+140,2
|
+140,0
|
-0,2
|
|
0
|
1,14
|
1,1403
|
0,0
|
0,0
|
-
|
|
0 -5
|
1,13
|
1,1304
|
-9,9
|
-10,4
|
-0,5
|
|
0 -10
|
1,12
|
1,1212
|
-19,1
|
-19,8
|
-0,7
|
|
0 -20
|
1,10
|
1,1000
|
-40,3
|
-40,3
|
-0,3
|
|
0 -30
|
1,08
|
1,0813
|
-59,0
|
-60,0
|
-1,0
|
|
0 -40
|
1,06
|
1,0603
|
-80,0
|
-80,5
|
-0,5
|
|
0 -50
|
1,04
|
1,0401
|
-100,2
|
-100,3
|
-0,1
|
|
0 -60
|
1,02
|
1,0199
|
-120,4
|
-120,6
|
-0,2
|
|
0 -70
|
1,003
|
-140,0
|
-140,1
|
-0,1
|
Приложение 3
(Обязательное)
ПРИМЕР
записи результатов определения основной
погрешности скоб типа СР при сокращенном числе концевых мер
|
Проверяемый
участок шкалы, деления
|
Плоскопараллельная
концевая мера, мм
|
Разность
действительных значений мер, мкм,
|
Показания
скобы, мкм,
|
Основная
погрешность скобы, мкм,
|
|
номинальное
значение
|
действительное
значение
|
|
|
|
|
|
|
0
|
1
|
1,0005
|
0,0
|
0,0
|
-
|
|
0 +5
|
1,01
|
1,0108
|
10,3
|
10,3
|
0
|
|
0 +10
|
1,02
|
1,0212
|
20,7
|
20,5
|
-0,2
|
|
0 +20
|
1,04
|
1,0410
|
40,5
|
41,0
|
+0,5
|
|
0 +30
|
1,06
|
1,0615
|
61,0
|
61,7
|
+0,7
|
|
0 +40
|
1,08
|
1,0809
|
80,4
|
81,0
|
+0,6
|
|
0 +50
|
1,10
|
1,1005
|
100,0
|
100,3
|
+0,3
|
|
0 +60
|
1,12
|
1,1203
|
119,8
|
120,0
|
+0,2
|
|
0 +70
|
1,14
|
1,1400
|
139,5
|
139,4
|
-0,1
|
|
0
|
1,14
|
1,1410
|
0,0
|
0,0
|
-
|
|
0 -5
|
1,13
|
1,1307
|
-10,3
|
-10,1
|
+0,2
|
|
0 -10
|
1,12
|
1,1215
|
-19,5
|
-20,3
|
-0,8
|
|
0 -20
|
1,10
|
1,1010
|
-40,0
|
-40,5
|
-0,5
|
|
0 -30
|
1,08
|
1,0805
|
-60,5
|
-60,8
|
-0,3
|
|
0 -40
|
1,06
|
1,0600
|
-81,0
|
-81,0
|
0,0
|
|
0 -50
|
1,04
|
1,0401
|
-100,1
|
-100,0
|
+0,1
|
|
0 -60
|
1,02
|
1,0205
|
-120,5
|
-120,0
|
+0,5
|
|
0 -70
|
1
|
1,0010
|
-140,0
|
-140,1
|
-0,1
|
|
|
|
|
|
|
|
|
Приложение 4
(Обязательное)
ПРИМЕР
записи результатов определения основной
погрешности показаний
скоб типа СИ с пределом измерений 50-100 мм
|
Проверяемый
участок шкалы, деления
|
Блок
концевых мер, мм
|
Показание
скобы, деления
|
Основная
погрешность скобы
|
|
|
|
деления
|
мкм
|
|
0
|
71,0
|
0
|
0,0
|
0
|
71,5
|
50,0
|
0,0
|
0
|
|
100
|
72,0
|
99,0
|
-1,0
|
-10
|
|
150
|
72,5
|
149,7
|
-0,3
|
-3
|
|
200
|
73,0
|
200,0
|
0,0
|
0
|
|
250
|
73,5
|
250,0
|
0,0
|
0
|
|
300
|
74,0
|
300,0
|
0,0
|
0
|
Приложение 5
ПРОТОКОЛ поверки скобы с отсчетным устройством
типа СР
|
1.
Заводской номер
|
127668
|
|
2.
Год изготовления
|
1998
|
|
3.
Наименование
|
Скоба
с отсчетным устройством типа СР
|
|
4.
Изготовитель
|
ООО
«Саратовский завод»
|
|
5.
Условия проведения поверки (калибровки)
|
Отклонение
температуры помещения от 20˚С ±5
|
|
6.
Температура воздуха в помещении
|
23˚С
|
|
6.1
Влажность воздуха
|
-
|
|
7.
Средства измерительной техники, которые использовались при проведении поверки
(калибровки):
|
-
Универсальный измерительный микроскоп типа УИМ или инструментальный микроскоп
по ГОСТ 8074-71 - Гиря массой 1 кг 5-го класса точности по ГОСТ 7328-73* или
динамометр на усилие 10Н, погрешность измерения не более 10 % - Циферблатные
весы по ГОСТ 23676-79 - Лупа 4 ; образцы шероховатости поверхности 0,025 и
0,2 мкм - Плоские стеклянные пластины 2-го класса по ГОСТ 2923-75
|
|
-
Плоскопараллельные стеклянные пластины по ГОСТ 1121-75; плоскопараллельные
концевые меры длины 5-го разряда по ГОСТ 8.166-75 - Приспособление для
определения отклонения от соосности (справочное приложение 1, черт.3) -
Плоскопараллельные концевые меры длины 4 и 5-го разрядов по ГОСТ 6507-78 -
Плоскопараллельные концевые меры длины 4 и 5-го разрядов по ГОСТ 6507-78
|
|
8.
Результаты внешнего осмотра и опробования
|
Дефектов
на наружных поверхностях скобы нет
|
|
9.
Определение ширины штрихов и стрелки, а также расстояния между штрихами у
скоб типа СР
|
Измеренный
0,004 мм Допустимое 0,005мм
|
|
10.
Определения жесткости корпуса скобы
|
Измеренный
0,001 мм Допустимое 0,002 мм
|
|
11.
Определения измерительного усилия скоб
|
Измеренный
635 мм Допустимое 600±100 мм
|
|
12.
Определения шероховатости измерительных поверхностей пяток и упоров
|
-
|
|
14.
Определение отклонения от параллельности измерительных поверхностей скоб
|
Измеренный
1,3мкм Допустимое 1,5мкм
|
|
15.
Определение отклонения от соосности измерительных поверхностей пяток скобы
типа СР
|
-
|
|
16.
Определение размаха показаний скоб
|
½
цена
деления шкалы 1/3 цена деления шкалы
|
|
17.
Определение основной погрешности скоб типа СР
|
Измеренный
0,001 мм Допустимое 0,001 мм
|
Заключение по результатам поверки: Скоба с
отсчетным устройством типа СР соответствует заданным требованиям технической
документации и технических характеристик. Основная погрешность не превышает
допустимого значения.
Приложение 6
Локальная поверочная схема