Геометрические построения одной линейкой
Курсовая работа
Геометрические построения
одной линейкой
Введение
Впервые с геометрическими задачами на построение учащиеся
сталкиваются в 7 классе средней школы.
Эти задачи помогают закрепить на практике ранее полученные
теоретические знания.
Задачи на построение развивают геометрическую интуицию,
логическое мышление, конструктивные способности. Так же увеличивают уровень
осмысленности математического содержания.
Чтобы решить задачу на построение необходимо выполнить четыре
этапа:
. Анализ
. Построение
. Доказательство
. Исследование
В первом этапе учащийся тщательно изучает задачу, что
приводит к установлению связей между данными и искомыми элементами и что
показывает пути решения. Во втором - выполняется собственно построение.
Учащийся на основе выводов анализа и данных элементов производит синтез,
приводящий к построению фигуры с помощью тех инструментов, которые указаны в
условии задачи. Следующий этап - доказательство того, что данная фигура
является искомой. Необходимо убедиться в том, что построенная фигура
удовлетворяет требованиям задачи. Учащийся приобретает навык построения
доказательства, соответствующего поставленному условию. Заключительным этапом
работы с задачей на построение является исследование. В ходе исследования
выясняется единственность построения и условия, при которых оно не может быть
совершено.
Мы видим, что при решении задач на построение учащиеся
применяют различные способности и умения. Все это приводит к еще большему
математическому развитию.
При ознакомлении с методами геометрических построений
учащиеся получают теоретические знания и практические умения, ориентирование в
вопросах конструктивной геометрии.
Изучение методов геометрических построений помогает усилить
творческие способности учащихся, расширить выбор способов решения, организовать
процесс решения задач.
Таким образом, цель моей работы: изучить и продемонстрировать
метод решения задач на построение с помощью одной линейки.
Для достижения цели необходимо выполнить следующие задачи:
. Рассмотреть теоретический материал, касающийся
задач, решаемых ограниченными средствами;
. Рассмотреть теорему Штейнера - Понселе;
. Решить задачи на построение с помощью одной линейки;
. Рассмотреть задачи школьного курса геометрии,
решаемые циркулем и линейкой, и решить их одной линейкой.
1. Историческая
справка
геометрия штейнер циркуль линейка
В IV-V
вв. до нашей эры геометрические построения привлекли внимание греческих
математиков. Почти все крупные греческие геометры занимались ими: Пифагор,
Гиппократ, Евклид и многие другие.
История геометрии и некоторых разделов математики тесно
связана с теорией геометрических построений. Важнейшие аксиомы геометрии,
сформулированные Евклидом, показывают, что геометрические построения сыграли
большую роль в формировании геометрии. Постулаты Евклида, указывающие на
основное положение конструктивных методов в геометрии древних: «От всякой точки
до всякой точки можно провести прямую линию», «Ограниченную прямую можно
непрерывно продолжать», «Из всякого центра и всяким раствором может быт описан
круг».
«Истинно геометрическими» построениями считались только
построения, производимые циркулем и линейкой. В школьном курсе геометрии данная
традиция сохранилась до нашего времени.
Однако греческие математики применяли и другие средства при
решении задач на построение. Например, Платон решал задачу об удвоении куба с
помощью двух прямых углов. Архимед дал решение задачи о трисекции угла с
помощью линейки с двумя пометками.
В средние века большое количество математиков занималось
геометрией, но больших успехов в области конструктивной геометрии не было
достигнуто.
Только в XVII-XX вв. теория геометрических построений стала
развиваться дальше. С геометрическими построениями тесно связались
аналитическая геометрия, проективная геометрия, начертальная геометрия, теория
алгебраических уравнений и др. Также разрабатывается теория геометрических
построений с помощью инструментов, отличных от принятых древними.
Исследование вопроса о решении только линейкой задач,
разрешимых с помощью циркуля и линейки, привлекло внимание таких математиков
как Я. Штейнер и Ж.В. Понселе.
Якоб Штейнер - немецкий математик, основатель синтетической
геометрии кривых линий и поверхностей 2-го и высших порядков. Родился в 1796 г.
в Утценедорфе (близ Золотурна в Швейцарии). Получил образование в Ифертене у
Песталоцци, в 1818 г. поступил в гейдельбергский университет. Окончив там
образование в 1821 г., поступил в Берлине учителем в частный институт Пламанна.
С 1825 по 1835 г. был учителем математики в берлинском городском промышленном
училище, а с 1835 г. начал преподавание в берлинском университете в качестве
экстраординарного профессора математики. В 1834 г. был избран членом берлинской
академии наук. Умирая в 1863 г. в Берне, он завещал 8000 талеров берлинской
академии наук для премии за сочинения по синтетической геометрии. Его
собственные работы по геометрии, частью помещенные в различных научных
журналах, частью оставшиеся в рукописях, а также его лекции в берлинском
университете послужили основанием для издания в 1867 г. книги под заглавием:
«Jacob Steiner’s Vorlesungen über Syntetische
Geometrie, bearbeitet von Geiser und Schröter». Все его сочинения
(«Gesammelte Werke von Jacob Steiner») изданы Вейерштрассом в Берлине в 1882 г.
Жан-Виктор Понселе - французский математик, инженер и
генерал. Родился в 1788 г. в Метце. Образование получил в Политехнической школе
(1807), из которой выпущен подпоручиком инженеров. В 1812 г., в чине поручика,
после участия в укреплении острова Валхерена, был послан вслед за армией,
идущей в Россию. В бою под Красным, тяжело раненый, попал в плен и был приведен
в Саратов, где пребывал до возвращения в 1814 г. во Францию. В течение этого
времени написал семь тетрадей, изданных впоследствии (в 1862-1864 г.) под
заглавием: «Applications d’Analyse et de
Géometrie». С 1815 по 1820 он написал «Traité des propriétés projectives des
figures». Второй
том этого трактата был напечатан в 1866 г., после 2-го издания (в 1864 г.)
первого тома. В «Traité des
propriétés projectives des figures» и в нескольких статьях,
помещенных в «Annales Math. Gergonne», изучаются свойства прямых, кругов и
конических сечений, рассматриваемых как центральные или перспективные проекции
других фигур того же рода, затем изучаются геометрические свойства
многоугольников, вписанных в конические сечения и описанных около них,
излагается теория взаимных полюсов и поляр, теория центров подобия фигур,
геометрические свойства общих касательных к двум коническим сечениям и взаимно
прикасающихся фигур и т.п. Кроме статей по геометрии, помещенных в «Ann.
Gergonne», есть статьи Понселе в «Corresp. math. Quetelet» о теоремах
относительно кривых линий 3-го порядка, в «Mém.
savans étrang.» исследование о вычислении рядов и в «Nouv. ann. math.» об одной
поверхности 4-го порядка.
В настоящее время теория геометрических построений
представляет собой обширную и глубокую развитую область математики, связанную с
решением разнообразных принципиальных вопросов, уходящих в другие ветви
математики.
2.
Теоретический материал
2.1
Основания конструктивной геометрии
Фигурой в геометрии называют любую совокупность точек
(содержащую по крайней мере одну точку).
Примерами фигур могут служить: точка, пара точек, прямая
(рассматриваемая как совокупность принадлежащих ей точек), пара параллельных
прямых, отрезок (фигура, состоящая из двух точек и всех точек прямой, лежащих
между ними), интервал (совокупность всех точек, лежащих между двумя данными
точками прямой), луч (фигура, состоящая из некоторой точки прямой и всех точек
этой прямой, расположенных по одну сторону от этой точки) и др.
Основным понятием конструктивной геометрии является понятие
построить геометрическую фигуру. Конкретный его смысл известен из практики, где
оно означает то же, что «начертить», «провести» (линию), «отметить» (точку) и
т.п.
Наиболее употребительными инструментами геометрических
построений являются: линейка (односторонняя), циркуль, двусторонняя линейка (с
параллельными краями) и некоторые другие.
Остановимся на аксиомах линейки и двусторонней линейки.
1. Аксиома линейки. Линейка позволяет выполнить
следующие геометрические построения:
· Построить отрезок, соединяющий две
построенные точки;
· Построить прямую, проходящую через две
построенные точки;
· Построить луч, исходящий из построенной
точки и проходящий через другую любую построенную точку
2. Аксиома двусторонней линейки. Двусторонняя
линейка позволяет:
· Выполнить любое из построений,
перечисленных в аксиоме 1.;
· В каждой из полуплоскостей, определяемых
построенной прямой, построить прямую, параллельную этой прямой и проходящую от
нее на расстоянии h, где h - фиксированный для данной линейки отрезок (ширина линейки);
· Если построены две точки A и B, то установить, будет ли
AB больше некоторого
фиксированного отрезка h (ширина линейки), и если AB>h, то построить две пары
параллельных прямых, проходящих соответственно через точки A и B и отстоящих на
расстоянии одна от другой на расстоянии h.
2.2
Проективные факты
Предмет
проективной геометрии
Исторически понятие проективной геометрии возникло из
практических соображений, а именно, при изображении пространственных фигур на
плоскости.
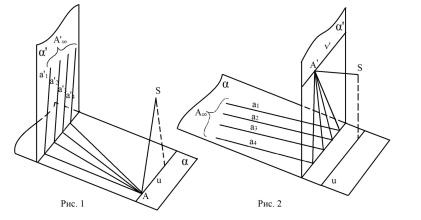
Пусть глаз наблюдателя находится в точке S. Чтобы получить на плоскости
изображение
фигуры F, которое производит то же впечатление, что и сама фигура, надо
через каждую точку M фигуры F провести прямую SM и найти точку
пересечения этой прямой с плоскостью
. Точка
называется центральной проекцией точки M на плоскость
из центра S. Искомая
фигура F - множество центральных проекций всех
точек фигуры F.
Рассмотрим случай центрального проектирования плоскости
на плоскость
из точки S, не принадлежащей этим плоскостям. Это проектирование не является
отображением
в
, так как для точки
такой, что SA ||
нет образа; такие точки на
α образуют прямую, где
, где β ||
и
.
Так же не все точки плоскости
будут служить образами; такие точки образуют прямую
, где γ || α и
.
Для каждой точки A прямой u плоскости
в плоскости
однозначно определяется семейство прямых
параллельных прямой SA (рис. 1).
Аналогично, для каждой точки
прямой
плоскости
однозначно определяется семейство прямых
параллельных прямой
(рис. 2).
К каждому семейству параллельных прямых плоскостей
и
присоединим некоторые объекты, которые будем называть
несобственными точками и обозначать
.
Множества
и
назовем расширенными плоскостями, а
каждую прямую с присоединенной к ней несобственной точкой −
− расширенной прямой.
На расширенной плоскости:
. Любые две расширенные прямые пересекаются.
. Каждая прямая пересекается с множеством
всех несобственных точек в единственной
точке. Поэтому
естественно назвать несобственной прямой.
. Через две точки расширенной плоскости проходит единственная
прямая.
Понятие расширенной плоскости можно обобщить на случай
пространства. Всем параллельным между собой прямым пространства присоединяется
одна общая несобственная точка. Получаем расширенное пространство. Множество
несобственных точек, присоединенных к прямым, параллельным некоторой плоскости,
назовем несобственной прямой, которая является общей для всех плоскостей,
параллельных упомянутой плоскости. Множество всех несобственных точек
расширенного пространства назовем несобственной плоскостью.
Рассмотрим соответствие между расширенными плоскостями
и
по закону:
. Собственной точке M, не принадлежащей
прямой u соответствует точка
.
. Собственной точке M, принадлежащей
прямой u соответствует точка
, присоединенная к семейству прямых
плоскости
, параллельных прямой SM.
. Несобственной точке
, присоединенной к семейству параллельных прямых, не содержащему
прямую u, соответствует точка
, такая, что
параллельна прямым семейства, к которому
присоединена точка
.
. Несобственной точке
, присоединенной к семейству прямых, параллельных прямой u соответствует несобственная точка, присоединенная к
семейству прямых, параллельных прямой
плоскости
.
Это соответствие является биекцией и называется перспективным
отображением расширенной плоскости
на расширенную плоскость
. Сужение этого отображения на множество точек расширенной прямой
плоскости
естественно назвать перспективным отображением расширенной прямой
на расширенную прямую
.
Исторически сложилось так, что расширенное пространство назвали
проективным пространством, расширенную плоскость − проективной
плоскостью, расширенную прямую - проективной прямой.
Свойства фигуры, которые сохраняются при всех перспективных
отображениях, являются проективными свойствами.
Проективная геометрия изучает проективные свойства фигур
проективного пространства.
При перспективном отображении несобственные точки могут
отображаться в собственные и наоборот, несобственная прямая − в
расширенную прямую и наоборот. Таким образом, несобственная точка,
несобственная прямая не являются проективными понятиями, поэтому, с точки
зрения проективной геометрии, все точки проективного пространства являются
равноправными, то же относится к прямым и плоскостям.
Теорема
Дезарга
Трехвершинником называется фигура, состоящая из трех точек,
не лежащих на одной прямой, и трех прямых, соединяющих попарно эти точки.
Указанные точки называются вершинами трехвершинника, а прямые - сторонами.
Формулировка: если прямые, проходящие через соответствующие
вершины двух трехвершинников, проходят через одну точку, то соответственные
стороны этих трехвершинников пересекаются в точках, лежащих на одной прямой.
Если точка О лежит на одной из прямых АВ, ВС, СА, то
утверждение теоремы очевидно. Если какие-нибудь из соответственных вершин
трехвершинников ABC и A'B'C' совпадают, то
утверждение также очевидно. В самом деле, пусть точки A и A' совпадают. В этом
случае точки P
и N совпадают с точкой A, поэтому точки M, N, P лежат на одной прямой.
Докажем теорему для случая, когда A и A', B и B', C и C' - различные точки.
Рассмотрим проективный репер R=(A, B, C, O) и введем в рассмотрение
координаты точек A', B', C' в этом репере. Точка A' лежит на прямой OA с уравнением x2-x3=0 и не совпадает с
точкой A (1; 0; 0), поэтому ее координаты можно обозначить так A' (a; 1; 1), где а -
некоторое действительное число. Аналогично координаты точек B' и C' обозначим так: B' (1; b; 1), C' (1; 1; с).
Найдем координаты точек M, N, P в репере R. Прямые BC и B’C’ задаются уравнениями x1=0, (bc - 1) x1 - (c - 1) x2 + (1 - b) x3 = 0. Поэтому точка M (0; 1 - b; с - 1). Аналогично
получаем координаты точек N и P: N (a
- 1; 0; 1 - c),
P
(a - 1; 1 - b; 0).
Сложное
отношение четырех точек
Пусть относительно репера 
на проективной прямой точки A, B, C, D имеют координаты: 
.
Сложным (двойным) отношением четырех точек проективной прямой
называется число

.
Свойства сложного отношения четырех точек прямой:
1. 
.
. 
.
. Если 
, то либо
, либо 
.
. Если 
, то либо 
, либо 
.
Гармонические
четверки точек, прямых
Четверка точек проективной прямой называется гармонической, если
их сложное отношение равно
.
Если 
, то говорят, что пара точек 
гармонически разделяет пару точек 
, или пара точек
гармонически сопряжена с парой точек 
. Говорят также, что точка 
− четвертая гармоническая для упорядоченной тройки точек
.
Из свойств сложного отношения для гармонической четверки следует
, то есть пары точек равноправны и точки
одной пары равноправны.
Аналогично определяется гармоническая четверка прямых пучка.
Полным четырехвершинником называется совокупность четырех точек
общего положения и шести прямых, попарно соединяющих эти точки.
Точки A, B, C, D называются вершинами, прямые, попарно соединяющие эти точки, -
сторонами четырехвершинника.
Стороны, не имеющие общих вершин, называются противоположными
сторонами.
Точки
, 
, 
пересечения противоположных сторон четырехвершинника называются
диагональными точками.
Прямые PQ,
,
, соединяющие попарно диагональные точки,
называются диагоналями четырехвершинника.
Инволюция
Пусть проективное преобразование прямой задано тремя парами
соответствующих точек (A, A'), (B, B'), (C, C'). Так, что A'=B, B'=A, т.е. на самом деле имеем четыре точки A, B, C, C', и точка A переходит в B, B в A, C в C'. Такое проективное
преобразование называется инволюцией.
Покажем, что при инволюции для любой точки X и ее образа X' точка X' переходит в X''=X.
Будем иметь (AB, XX') = (BA, X'X'') и т.к. (AB, XX') = (BA, X'X), то (BA, X'X'')
= (BA, X'X); отсюда следует, что X''=X.
Инволюция вполне определяется заданием двух пар
соответствующих точек (X, X'), (Y, Y'). Будем иметь на самом деле четыре пары соответствующих точек (X, X'), (X', X), (Y, Y') (Y', Y), но проективное
преобразование вполне определяется уже тремя парами соответствующих точек.
Учитывая, что (XY, O∞) = (X'Y', O∞) = -1, получим:
Тогда XO=λOY, X'O =
OY'. Отсюда XO•X'O =
YO•Y'O.
Таким образом, произведение расстояний двух соответствующих
точек до центра есть величина постоянная.
Через точки X, X' и через точку P, не лежащую на прямой l, проведем окружность ω, а через точки Y, Y' и P проведем окружность ω'. Обозначим Q - вторую точку
пересечения окружностей ω и ω' (P=Q в случае касания окружностей). Прямая PQ является радикальной
осью построенных окружностей.
Пусть O - точка пересечения прямой PQ с l.покажем, что O - центр инволюции на
прямой, заданной точками X, X', Y, Y'. По свойству секущей имеем: OX•OX' = OP•OQ = OY•OY' = const, т.е. O - центр инволюции.
2.3
Теорема Штейнера - Понселе
Формулировка: всякая геометрическая задача на построение
фигуры, состоящей из конечного числа точек, разрешимая циркулем и линейкой,
может быть решена одной линейкой, если на плоскости построена какая-либо
окружность и отмечен ее центр.
Это предположение было установлено Я. Штейнером в 1833 году.
Без доказательства оно было приведено еще в 1822 году французским геометром
Понселе в его «Трактате о проективных свойствах фигур». Поэтому эта теорема
имеет такое название.
Доказательство:
Всякое построение, выполняемое с помощью циркуля и линейки,
стоит из ряда операций, в число которых, кроме операций с линейкой, могут
входить операции с участием циркуля. Эти последние сводятся в конечном счете к
определению точек пересечения: 1) окружности и прямой и 2) двух окружностей.
Попытаемся показать, что эти операции выполнимы с помощью одной линейки при
наличии заданной окружности и ее центра. При этом всякая другая окружность,
заданная центром и точкой, не может быть построена целиком, но достаточно
показать, что можно построить сколь угодно много точек окружности.
Итак, пусть дана окружности ω1 с центром O1 и требуется построить
точки пересечения окружности ω, заданной центром O и точкой A, с данной прямой d.
Можно построить точку B окружности ω, диаметрально противоположную точке A. Для этого нужно
построить прямую, параллельную d и проходящую через точку O (задача 2, 3.2). Это
будет четвертая гармоническая точка для точек O, L∞, A, где L∞ - несобственная точка
прямой d.
Построим основание l перпендикуляра, проведенного из точки B на прямую O1A и основание N перпендикуляра,
проведенного из точки A на прямую O1B (задача 3, 3.2). Точки M и N принадлежат окружности ω. Для них можно найти диаметрально противоположные точки окружности ω.
Таким образом, если точки O1, O, A не лежат на одной
прямой, то будем иметь шесть различных точек окружности ω. Тогда, из того, что любая пара соответствующих прямых будет
пересекаться в точке на окружности ω, следует, что можем
строить сколь угодно много точек окружности ω.
Если точки O1, O, A лежат на одной прямой, то можно построить точки M, N, K окружности ω, не лежащие на этой прямой. Для произвольной точки X плоскости, не лежащие на
прямой OA, строим в треугольнике O1XB ортоцентр (дважды применяем задачу 3, 3.2).
Тогда можно построить перпендикуляр, проведенный из точки O1 к прямой BX. Затем через точку A провести прямую l, параллельную этому
перпендикуляру (задача 2, 3.2). Точка M пересечения прямой l с прямой BX будет принадлежать
окружности ω. Аналогично строятся точки N и K.
Итак, на окружности ω будем иметь пять
различных точек A, B, M, N, K. Проективное соответствие между пучками П(A) и П(B) такое, что прямые AM и BM, AN и BN, AK и BK являются
соответствующими, определяют точки окружности ω.
Пусть точки M1, N1, K1, M'1, N'1, K'1 - точки
пересечения прямой d с прямыми AM, AN, AK, BM, BN, BK соответственно. Тогда на прямой d определяется проективное
преобразование тремя парами соответствующих точек (M1, M'1), (N1, N'1), (K1, K'1). Точки P и Q пересечения прямой d с окружностью ω будут неподвижными точками этого преобразования. Таким образом,
показали, что если на плоскости задана окружность и ее центр, то с помощью
одной линейки можно построить точки пересечения любой прямой и окружности.
Чтобы построить точки пересечения двух окружностей,
достаточно построить радикальную ось этих окружностей. Тогда точки пересечения
этой прямой с одной из окружностей будут искомыми точками
Выбрав по одной точке на каждой из окружностей, проведем
через них прямую и найдем вторые точки пересечения этой прямой с каждой из
окружностей. Тогда (см. 2.2.5. инволюция) точка пересечения этой прямой с
радикальной осью будет центром инволюции, определяемой двумя парами
соответствующих точек. Построение центра инволюции возможно с помощью одной
линейки.
Проделав то же самое еще с одной парой точек этих
окружностей, найдем еще одну точку радикальной оси. Тогда можно построить
радикальную ось.
Таким образом, теорема Понселе - Штейнера доказана.
2.4
Лемма о трапеции
Формулировка: прямая, соединяющая точку пересечения
диагоналей трапеции с точкой пересечения продолженных ее боковых сторон, делит
оба основания трапеции пополам.
Доказательство: ABCD - данная трапеция, АВ и СD - её основания, О -
точка пересечения диагоналей, Р - точка пересечения продолженных боковых
сторон, М и N - точки пересечения прямой ОР с основаниями трапеции.
Из подобия треугольников АОМ и СОN следует, что АМ: СN = ОМ: ОN, а из подобия
треугольников BОМ
и DОN следует, что ВМ: DN = ОМ: ОN. Из двух последних
пропорций следует: АМ • DN = СN • ВМ. (1)
Из подобия треугольников АРМ и DРN следует, что АМ: DN = РМ: РN, а из подобия
треугольников ВРМ и СРN вытекает, что ВМ: СN = РМ: РN. Из этих двух пропорций заключаем, что АМ • СN = DN • BM. (2)
Из соотношений (1) и (2) заключаем, что АМ2 = ВМ2,
откуда АМ = ВМ. Теперь уже не составляет труда убедиться, что DN = СN.
3. Задачи
на построение, решаемые одной линейкой
3.1
Проективные факты в решении элементарно-геометрических задач
. Даны две различные параллельные прямые. Пользуясь
одной линейкой, разделить данный угол пополам.
Решение:
) Точка P=AB∩l, точка Q=BC∩l;
2) Точка A=AB∩a, точка C=AC∩a;
) Проведем прямые AQ, PC;
) Точка D=AQ∩PC;
) Проведем прямую BD;
) Точка K=PQ∩BD;
) Т.к. прямые a, l параллельны, то точка L - несобственная точка и
из определения сложного отношения получаем (PQ, KL) = - (PQ, K), т.е. (PQ, K) = 1 или PK=KQ, а это значит, что K - середина отрезка PQ. Значит, BK - биссектриса угла ABC.
2. Дана окружность ω с центром O, прямая l и точка P (P∉l, P∉ω). Пользуясь одной линейкой, через точку P провести прямую,
параллельную прямой l.
Решение:
) Пусть прямая l пересекает окружность ω в двух различных точках A и B. Пусть точки A' и B' - точки окружности симметричные относительно точки O соответственно точкам A и B. Тогда AB || A'B'.
Воспроизведем полный четырехвершинник, для которого точки M, N - вершины, A, B - диагональный точки.
Точка K
- середина хорды AB.
Воспроизведем полный четырехвершинник, для которого точка P - вершина, A, B - диагональный точки. PL || l.
2) Пусть прямая l касается окружности ω в точке A. AB - диаметр окружности. Проведем через точку P перпендикуляр к диаметру
AB. Для этого в
треугольнике ABP проведем высоты. Учитывая свойство вписанного угла, опирающегося
на диаметр, получим, что PM
AB, т.к. AB
l, то PM || l.

Через точку O проведем прямую a, параллельную прямым KL, K'L'. Для этого хорду KL разделим пополам
(аналогично случаю 1)), точка H - середина KL. Воспроизведем полный четырехвершинник, для
которого точка O - вершина, K, L - диагональный точки.
Точка C=a∩l. C - середина AB. Воспроизведем полный четырехвершинник, для
которого точка - вершина, A, B - диагональный точки.
Прямая b || l.
3. Даны окружность ω, ее диаметр AB и точка M вне (на) окружности.
Пользуясь одной линейкой, провести из точки M перпендикуляр к AB.
Решение:
) Пусть точка M лежит вне окружности ω и M ∉ AB. Учитывая свойство
вписанного угла, опирающегося на диаметр, и то, что высоты треугольника
пересекаются в одной точке, строим сначала точку O пересечения высот
треугольника AMB. OM - искомый перпендикуляр.
2) Пусть точка M - на окружности ω
и M∉AB. На луче AM выберем точку N внутри окружности и
проведем через нее перпендикуляр к AB (случай 1)), пересекающий окружность ω в точках C и D. H=CD∩AB, H - середина CD. Воспроизведем полный четыревершинник, для
которого точка M - одна из вершин, C и D - диагональные точки. MK || CD, CD
AB. Следовательно, MK
AB.
3) Пусть M∈AB. Проведем через точку M прямую, пересекающую
окружность в двух точках C и D. Из точки D проведем перпендикуляр к AB (случай 2)). Точка H=AB∩DD'. H - середина DD'.
Воспроизведем полный четырехвершинник, для которого точки M, C - вершины, D и D' - диагональные точки.
Получим, что ME || DD'. Следовательно, MH
AB.
4. Даны окружность ω с центром O и ее хорда AB. Пользуясь одной
линейкой, разделить отрезок AB пополам.
Решение:
Пусть A' и B' - точки окружности ω, симметричные относительно
точки O
соответственно точкам A и B. Тогда прямые AB и A'B' параллельны.
Воспроизведем полный четырехершинник, для которого точки M, N - вершины, A, B - диагональные точки.
Получили, что C
- середина AB.
5. Дан отрезок AB, прямая l параллельна этому
отрезку. Удвоить отрезок AB.
Решение:
) Выберем точку M, не принадлежащую прямым
AB, l;
) Проведем прямые AM, BM;
) Точки A'=AM∩l, B'=MB∩l;
) Точка N=AB'∩A'B;
) Точка C=A'B'∩MN;
6) Точка S=A'M∩CB;
7) Точка D=B'S∩AB;
8) [AD]=2 [AB].
. Дан отрезок AB, прямая l параллельна этому
отрезку. Разделить отрезок AB на 3 равные части.
Решение:
) Выберем точку M, не принадлежащую прямым
AB, l;
) Проведем прямые AB, BM;
) Точка A'=AM∩l;
) Точка B'=BM∩l;
) Проведем прямые AB', A'B;
) Точка N=AB'∩A'B;
) Точка C=MN∩AB;
) Точка C'=MN∩l;
) Точка N'=CB'∩BC';
) Точка K=MN'∩l;
) Точка S=BK∩AM;
) Точка L=SC'∩AB;
) [AB]=3 [LB].
3.2
Теорема Дезарга
На основе теоремы Дезарга, изложенной в книге Атанасяна Л.С.
и Базылева В.Т. «Геометрия» раздел третий «Проективное пространство. Методы
изображений», можем привести примеры задач, которые разрешимы одной линейкой.
. Прямые a и b пересекаются в точке M. Пользуясь одной
линейкой, построить прямую AM, если точка A не лежит ни на одной из
этих прямых.
Решение:
1) Выберем точку S, не принадлежащую прямым
a и b;
) Проведем три произвольных прямых, проходящих через
точку S
и пересекающих прямые a и b;
) Проведем прямую KN, где N=KN∩SN;
) Проведем прямую K'L;
) Точка N'=K'L∩SN;
) Точка C=KN∩K'L;
) Точка A=LN∩L'N'.
2. Даны две параллельные прямые a, b и точка A, принадлежащая прямой c. Прямая c параллельна прямым a и b. Построить прямую с.
Решение:
1) Выберем точку S, не принадлежащую прямым
a и b;
) Проведем три произвольные прямые, пересекающие
прямые a
и b;
) Проедем прямую KN, где N=KN∩SN;
) Проведем прямую K'L;
) N'=K'L∩SN;
) C=KN∩K'L;
) A=LN∩L'N';
) AC=c, AC || a, AC || b.
3. Дан параллелограмм ABCD и прямая l. Точка P' лежит на прямой,
содержащей одну из сторон параллелограмма. Построить прямую l', проходящую через точку
P' параллельно прямой l.
Решение:
1) Если прямая l параллельна стороне параллелограмма, то можно
воспользоваться предыдущей задачей.
3.3
Теорема Понселе-Штейнера
Просмотрев задачи на построение в учебнике для 7-9 классов
общеобразовательных учреждений Л.С. Атанасяна и др., можно выделить задачи,
решаемые с помощью циркуля и линейки, но по теореме Понселе-Штейнера их можно
решить одной линейкой. Рассмотрим некоторые из них.
. Построить биссектрису данного угла.
Решение с помощью циркуля и линейки:
) Проведем окружность ω
произвольного
радиуса с центром в вершине A;
) Точка B=AB ∩ ω;
) Точка C=AC ∩ ω;
) Проведем окружности ω' (B, BC) и ω'' (C, BC);
5) ω' ∩ ω''={E, H};
) Луч AE - биссектриса угла ABC.
) Докажем, что луч AE является биссектрисой
угла ABC. Рассмотрим треугольники ACE и ABE. Они равны по 3
сторонам: AE - общая сторона, AC и AB равны как радиусы одной и той же окружности, CE=BE по построению. Из
равенства треугольников следует, что
CAE=
BAE, т.е. луч AE - биссектриса данного
угла ABC.
Решение одной линейкой:
Пусть окружность ω с отмеченным центром уже
дана, тогда
) Проведем произвольную прямую l, не пересекающую
окружность;
) Проведем луч OM параллельно лучу AB;
) Проведем луч ON параллельно лучу BC;
) Разделим пополам отрезок HH' (3.2 Лемма о трапеции,
задача 1.);
) Точка P - середина отрезка HH';
) Проведем луч OP;
) Проведем луч AA' параллельно лучу OP;
) Луч AA' - биссектриса данного угла ABC.
2. Даны прямая a и точка M, не лежащая на ней.
Построить прямую, проходящую через точку M и перпендикулярную к
прямой a.
Решение с помощью циркуля и линейки:
) Построим окружность ω
с центром в
данной точке M,
пересекающую прямую a в двух точках A и B;
) Построим две окружности ω' и ω'' с центрами A и B, проходящие через точку M;
) Точка N= ω' ∩ ω'';
) Проведем прямую MN, MN
a;
) Докажем, что прямая MN - искомая. Треугольники AMN и BMN равны по трем сторонам,
поэтому
BMN=
AMN. Отсюда следует, что
отрезок MC является биссектрисой равнобедренного треугольника AMB, а значит, и высотой.
Таким образом, MN
AB, т.е. MN
a.
Решение одной линейкой:
Пусть окружность ω с отмеченным центром уже
дана.
1) ω ∩ a ={H, H'};
) Разделим отрезок HH' пополам (3.2 Лемма о
трапеции, задача 1.);
) Точка C - середина отрезка HH';
) Проведем прямую OC, она содержит диаметр
окружности ω, следовательно OC
HH', т.е. OC
a;
) Проведем прямую MN параллельно прямой OC, MN
a.
3.4
Лемма о трапеции
. В учебнике для 7-9 классов для общеобразовательных
школ Атанасяна Л.С. и др. приведена задача, решаемая с помощью циркуля и
линейки, но, если воспользоваться леммой о трапеции, то эту задачу можно решить
одной линейкой.
Дан отрезок AB, C - середина отрезка AB. Построить точку C.
Решение с помощью циркуля и линейки:
) Построим две окружности ω' (B, AB) и ω'' (A, AB);
2) ω' ∩ ω''={P, Q};
) Проведем прямую PQ;
) Точка C=PQ ∩ AB, точка C - середина отрезка AB;
) Докажем, что точка C - середина отрезка AB. Треугольники AQP и BQP равны по трем сторонам,
поэтому
APQ=
BPQ. Следовательно, отрезок PC - биссектриса
равнобедренного треугольника APB, а значит, и медиана, т.е. точка C - середина отрезка AB.
Решение одной линейкой:
) Воспользуемся двусторонней линейкой и проведем прямую l параллельно отрезку AB;
) Выберем точку M, не принадлежащую прямым AB, l;
) Проведем прямые AB и BM;
) Точка L= AM ∩ l;
) Точка N=MB ∩ l;
) Проведем прямые AN, BL;
) Точка K=AN ∩ BL;
) Проведем прямую MK;
) Точка C=AB∩MK.
2. Дан отрезок AB, C - середина этого отрезка, точка L не принадлежит AB. Построить прямую l, проходящую через точку L параллельно отрезку AB.
Решение: 1) Выберем точку M, не принадлежащую
отрезку AB и не совпадающую с точкой L;
) Соединим точки A и B с точкой M так, чтобы точка L принадлежала прямой AM;
) Соединим точки M и С;
) Проведем прямую LB;
) K=MC∩LB;
) Проведем прямую через точки A и K;
) Проведем прямую через точки K и L, которая является
искомой прямой l.
3. Через центр данного параллелограмма ABCD провести прямую,
параллельно его стороне.
Решение: 1) Воспользуемся предыдущей задачей, учтя, что AO=CO и BO=DO, проведем CE || BD, DF || AC.
) Для доказательства рассмотрим треугольник ACK, где K - точка пересечения
прямых AD и CM. Треугольник DKM равен треугольнику ADO по двум сторонам и углу
между ними. А поэтому KM=OD=CM. Следовательно, прямая OM служит средней линией
треугольника ACK и поэтому параллельна его основанию.
Заключение
В ходе написания данной работы я выполнила поставленную цель,
а именно, рассмотрела задачи на построение, решаемые одной линейкой.
Так же я реализовала поставленные задачи: проанализировала и
отобрала нужный для осуществления поставленной цели теоретический материал,
решила задачи на построение одной линейкой, решила задачи школьного курса
геометрии двумя способами.
Список
литературы
1. Атанасян
Л.С., Базылев В.Т. Геометрия. Учеб. Пособие для студентов физ.-мат. фак. пед.
ин-тов. В 2 ч. Ч 2. Москва: «Литер», 2008. 26-28 с.
2. Б.И.
Аргунов, М.Б. Балк. Геометрические построения на плоскости. Пособие для
студентов педагогических институтов - Москва, 1957. - 5-12 с., 18-20 с.
3. Л.С.
Атанасян, В.Ф. Бутузов, С.Б. Кадомцев, Э.Г. Позняк, И.И. Юдина. Геометрия, 7-9:
Учеб. для общеобразоват. учреждений/ Л.С. Атанасян, В.Ф. Бутузов, С.Б. Кадомцев
и др. - 13-у изд. - М.: Просвещение, 2003. - 384 с.: ил. - ISBN 5-09-0112055-2. 46-49 с.
. Толстопятов
В.П. Проективные факты в решении элементарно - геометрических задач:
Методическая разработка / Урал. гос. пед. ун-т: Сост. В.П. Толстопятов.
Екатеринбург, 2000. 42 с. 4-7 с., 12 с., 35-41 с.