Понятие, свойства, производство мочевины
Содержание
Введение
.
Свойства мочевины
.1
Значение мочевины
.2
Требования к продукту
.3
Сырье для получения мочевины
.
Физико-химические основы синтеза мочевины
.
Основные аппараты по схеме с частичным рециклом
.
Дистилляция плава мочевины
.1
Дистилляция 1 ступени
.2
Дистилляция 2 ступени
.
Жидкостный рецикл
.1
Дистилляция 1 ступени
.2
Дистилляция 2 ступени
.
Схема производства мочевины с жидкостным рециклом
.
Расчет материального и теплового баланса
.1
Расчет материального баланса колонны синтеза
.2
Расчет теплового баланса
.
Техника безопасности и охрана труда
Заключение
Список
источников
Введение
Среди азотных удобрений лучшим для внекорневой
подкормки является карбамид (мочевина) - он не вызывает таких ожогов, которые
возникают на поверхности листьев при опрыскивании их водными растворами
аммиачной селитры.
Карбамид (мочевина) - диамид угольной кислоты
CO(NH2)2, химическое соединение, конечный продукт метаболизма белков. В моче
человека содержится более 2% мочевины. Состав карбамида был установлен в 1818
году английским врачом и химиком У. Праутом. Мочевина - первое органическое
соединение, полученное синтетическим путем из неорганического вещества. Впервые
синтетический метод получения карбамида применил в 1828 году немецкий физик Ф.
Вебер.
Карбамид широко применяют как в сельском
хозяйстве, так и в промышленности. Он является высококонцентрированным
безбалластным азотным удобрением. По сравнению с другими азотными удобрениями
(кроме аммиака NH3) карбамид содержит наибольшее количество азота. Азот карбамида
очень хорошо усваивается растениями. По своим физическим свойствам карбамид как
удобрение также имеет преимущества перед аммиачной селитрой. Он не
взрывоопасен, менее гигроскопичен и не так сильно слеживается. Попадая в почву,
карбамид под действием влаги очень быстро превращается в карбонат аммония,
который далее нитрифицируется. Поэтому на кислых почвах карбамид вначале
оказывает нейтрализующее действие, а затем начинает действовать аналогично
аммиачной селитре, то есть подкисляет почву.
В последнее время карбамид начали широко
употреблять в виде водных растворов с добавлением нитрата аммония, аммиака и
других азотосодержащих соединений. В промышленности карбамид применяют для
приготовления карбамидно формальдегидных смол, пластических масс, клеев, фармацевтических
препаратов, в текстильной и бумажной промышленности, в производстве красителей
и моющих средств, в животноводстве - в качестве добавки к корму, содержащему
мало белков и много углеводов.
Для промышленного применения продукт выпускается
в мелкокристаллическом виде, а для использования в качестве удобрения -
преимущественно гранулированный.
Производство карбамида непрерывно увеличивается
как в России, так и за рубежом. Разработано несколько способов производства
карбамида. В настоящее время карбамид в промышленном масштабе производят только
прямым синтезом из аммиака и двуокиси углерода. (Этот синтез впервые был
осуществлен Базаровым в 1870 году.) В данном курсовом проекте рассмотрен метод
производства карбамида с двухступенчатой дистилляцией плава и жидкостным
рециклом.
Цели курсового проекта:
ü рассмотреть свойства, области
применения и значение мочевины, требования к продукту;
ü описать технологическую схему
получения карбамида с двухступенчатой дистилляцией плава и жидкостным рециклом.
1. Свойства мочевины
Мочевина представляет собой азотное удобрение,
содержащее азот в амидной форме (в составе NH2-группы). По сравнению с другими
твердыми азотными удобрениями мочевина содержит наибольшее количество азота,
что в основном и определяет экономическую целесообразность ее использования в
сельском хозяйстве в качестве удобрения. Данные о содержании азота (в %) в
различных азотных удобрениях приведены ниже.
Таблица 1 - Содержание азота в различных азотных
удобрениях
|
Наименование
удобрения
|
Содержание
азота, %
|
|
Аммофос
|
11
|
|
Кальциевая
селитра
|
15
|
|
Нитрофоска
|
15
|
|
Натриевая
селитра
|
16
|
|
Цианамид
кальция
|
20
|
|
Сульфат
аммония
|
21,5
|
|
Хлористый
натрий
|
26,5
|
|
Аммиачная
селитра
|
35
|
|
Мочевина
|
46,5
|
По своим физико-химическим свойствам мочевина
обладает рядом преимуществ перед широко используемой в качестве удобрения
аммиачной селитрой: она невзрывоопасна, менее гигроскопична и не так сильно
слеживается.
Вследствие высокого содержания питательного
вещества, а также лучших физико-химических свойств мочевины затраты на ее
хранение, транспортирование, подготовку к внесению в почву и на собственно
процесс внесения значительно меньше по сравнению с затратами для аммиачной
селитры. Физико-химические свойства карбамида приведены в таблице 2.
Таблица 2 - Физико-химические свойства карбамида
|
Свойство,
единица измерения
|
Величина
|
|
Молекулярный
вес, г/моль
|
60,06
|
|
Плотность
при 20°С, г/см³
|
1,335
|
|
Насыпная
плотность, г/см³
|
0,63-0,71
|
|
Температура
плавления, 0°С
|
|
|
при
1 атм
|
132,6
|
|
при
300 атм
|
150,0
|
Карбамид хорошо растворяется в воде, спирте и
аммиаке. С повышением температуры растворимость карбамида в воде увеличивается.
Выше 120°С в водном растворе карбамид разлагается на аммиак и диоксид углерода.
Карбамид обладает свойствами слабого основания. С кислотами он образует соли, причем
в солеообразовании принимает участие только одна аминогруппа.
При нагревании водных растворов карбамида выше
80°С происходит его интенсивный гидролиз и карбамид превращается в карбамат
аммония:
CO(NH2)2 +H2O ↔ NH2-CO-ONH4,
который в свою очередь далее разлагается на
аммиак и диоксид углерода:
NH2-CO-ONH4 ↔ 2NH3 + CO2.
Химические свойства карбамида обуславливают
широкое его применение в химической промышленности в синтезе
карбамидно-альдегидных смол.
1.1 Значение мочевины
Мочевину можно применять также для внекорневой
подкормки растений, так как она в отличие от аммиачной селитры не вызывает ожог
листьев. При внекорневой подкормке фруктовых деревьев раствором мочевины
достигают превосходных результатов. При таком способе внесения раствор мочевины
непосредственно распыляют на листья фруктовых деревьев в период опадения
цветов. В это время деревья нуждаются в большем количестве азота, который не
может быть быстро усвоен из удобрений, внесенных в почву.
Агрохимические свойства мочевины изучены
довольно тщательно. Растения могут усваивать азот мочевины непосредственно,
хотя этот процесс происходит сравнительно медленно. Наиболее легко азот
усваивается в нитратной (NO3 -) или аммиачной (NH3 +) форме.
Мочевина, находясь в почве, подвергается
воздействию почвенных вод, под влиянием которых она гидролизуется и
превращается в карбонат аммония. При благоприятных условиях, определяющих
превращение мочевины в аммиачную форму (температура, влажность, наличие
микроорганизмов), азот может быть своевременно поглощен корнями растений или
превращен под влиянием почвенных кислот в нитратную форму. Таким образом, на
кислых почвах мочевина вначале вызывает нейтрализующий эффект, а в дальнейшем,
действуя подобно аммиачной селитре, подкисляет почву.
Мочевина как сама по себе, так и в смеси с
другими азотными удобрениями является превосходным источником азота для всех
растений. Она может применяться в твердом состоянии и в виде растворов.
Особенно пригодна мочевина для удобрения цитрусовых, кофе, хлопка, пшеницы,
картофеля, помидоров, кормовых трав, риса.
Мочевина может заменить примерно 25-40% белка в
рационе не жвачных животных, не оказывая на них отрицательного влияния.
Мочевина должна добавляться к корму для скота в строго определенных
количествах, чтобы предотвратить отравление животных аммиаком.
Мочевина очень широко применяется также для
технических целей. В довольно больших количествах она используется в
производстве мочевино-формальдегидных полимеров (МФП), получаемых путем
конденсации мочевины с формальдегидом.
В связи с этим важное значение приобретает
кооперирование производств карбамида и формальдегида. Совместное строительство
цехов мочевины и МФП даст возможность, исключив стадии выпаривания и
кристаллизации, полученный после дистилляции 65-70% раствор мочевины непосредственно
направлять на производство полимеров.
В нефтехимии мочевина используется для очистки
нефтепродуктов (карбамидная депарафинизация). Из нее получают цианат натрия,
меламин, гуанидин, гидразин и сульфаминовую кислоту. В фармацевтической
промышленности мочевина расходуется на приготовление ряда лекарственных
препаратов. Ее применяют в качестве мягчителя некоторых косметических кремов и
лосьонов, в производстве синтетических красителей и моющих средств.
.2 Требования к продукту
С 1 марта 2011 года действует ГОСТ 2081-2010,
согласно которому в зависимости от назначения карбамид выпускают двух марок (А
и Б):
А - для промышленности;
Б - для растениеводства, животноводства и
розничной продажи.
По физико-химическим показателям карбамид марки
А должен соответствовать требованиям и нормам, указанным в таблице 3.
Таблица 3 - Физико-химические свойства карбамида
марки А
|
Наименование
показателя
|
Норма
для сорта
|
|
высший
|
первый
|
|
Массовая
доля азота в пересчете на сухое вещество, %, не менее
|
46,3
|
46,2
|
|
Массовая
доля биурета, %, не более
|
0,6
|
1,4
|
|
Массовая
доля свободного аммиака, %, не более, для карбамида кристаллического
|
0,01
|
0,01
|
|
гранулированного
|
0,02
|
0,03
|
|
Массовая
доля воды, %, не более:
|
|
|
|
гигроскопической
|
0,3
|
0,3
|
|
общей
|
0,6
|
0,6
|
По физико-химическим показателям карбамид марки
Б для растениеводства и розничной продажи должен соответствовать требованиям и
нормам, указанным в таблице 4.
Таблица 4 - Физико-химические свойства карбамида
марки Б
|
Наименование
показателя
|
Норма
для марки Б
|
|
Б
(1)
|
Б
(2)
|
|
Высший
|
Первый
|
Второй
|
|
|
Внешний
вид
|
Гранулы
или кристаллы белого цвета или слегка окрашенные
|
|
Массовая
доля азота в пересчете на сухое вещество, %, не менее
|
46,2
|
46,2
|
46,2
|
46,2
|
|
Массовая
доля биурета, %, не более:
|
1,4
|
1,4
|
1,4
|
1,5
|
|
Массовая
доля воды, %, не более:
|
|
|
гигроскопическая
|
0,3
|
0,3
|
0,3
|
0,3
|
|
общая
|
0,5
|
0,5
|
0,6
|
-
|
|
Рассыпчатость,
%
|
100
|
100
|
100
|
-
|
|
Гранулометрический
состав, %: массовая доля гранул размером, мм:
|
|
|
от
1 до 4, не менее
|
94
|
94
|
94
|
-
|
|
от
2 до 4, не менее
|
70
|
50
|
-
|
-
|
|
менее
1, не более
|
3
|
5
|
5
|
-
|
|
остаток
на сите 6 мм
|
отсутствие
|
отсутствие
|
отсутствие
|
-
|
|
Статическая
прочность гранул, Мпа (кг/см²), не менее или
|
1,4
(14)
|
1,2
(12)
|
1,2
(12)
|
-
|
|
В
пересчете на 1 гранулу, H, (кгс), не менее
|
7
(0,7)
|
5
(0,5)
|
3
(0,3)
|
-
|
Б (1) - для растениеводства;
Б (2) - для розничной продажи
По физико-химическим показателям карбамид марки
Б для животноводства должен соответствовать требованиям и нормам, указанным в
таблице 5.
Таблица 5 - Физико-химические свойства карбамида
марки Б для животноводства
|
Наименование
показателя
|
Норма
|
|
Массовая
доля азота в пересчете на сухое вещество, %, не менее
|
46,0
|
|
Массовая
доля биурета, %, не более
|
3,0
|
|
Массовая
доля свободного аммиака, %, не более
|
0,03
|
|
Массовая
доля гигроскопической воды, %, не более
|
0,3
|
Допускается внесение в карбамид стабилизирующих
(кондиционирующих) добавок (карбамидо-формальдегидной смолы, сульфата аммония
или других веществ, разрешенных государственными санитарными органами),
обеспечивающими сохранность товарных свойств продукта при транспортировании и
хранении. При использовании стабилизирующих (кондиционирующих) добавок
допускается массовая доля азота в пересчете на сухое вещество не менее 45,5%.
Важный показатель качества - слеживаемость. Она
зависит от гигроскопичности соли, формы и размера частиц, давления на продукт,
растворимости соли.
Карбамид сильно слеживается при длительном
хранении и упаковке в горячем и влажном (свыше 0,5-1% влаги) состоянии.
Уменьшения слеживаемости карбамида можно достичь снижением влаги в готовом
продукте до 0,2-0,3%.
1.3 Сырье для получения мочевины
Сырьем для промышленного производства карбамида
являются жидкий аммиак и диоксид углерода.
В обычных условиях аммиак представляет собой
бесцветный газ с резким удушающим запахом; жидкий аммиак - бесцветная жидкость.
Жидкий аммиак синтетический выпускается двух
сортов и должен удовлетворять следующим требованиям, указанным в таблице 6.
Таблица 6 - Требования к аммиаку, пригодному для
производства карбамида
|
Содержание
|
1-ый
сорт
|
2-й
сорт
|
|
Аммиак,
%, не менее
|
99,9
|
99,6
|
|
Влага,
%, не более
|
0,1
|
0,4
|
|
Масло,
мг/л, не более
|
10,0
|
35,0
|
|
Железо,
мг/л, не более
|
2,0
|
Не
нормируется
|
При обычных условиях диоксид углерода -
бесцветный газ с кисловатым вкусом. Качество диоксида углерода, используемого
для синтеза карбамида, должно удовлетворять следующим требованиям, указанным в
таблице 7.
Таблица 7 - Требования к диоксиду углерода,
пригодному для производства карбамида
|
Содержание
CO2, %, не менее
|
99
|
|
Инертные
примеси (H2, N2, CO, CH4), %, не более
|
1
|
|
В
том числе водород, %, не более
|
0,01
|
|
Соединения
серы, мг/м³,
не
более
|
1
|
|
Влажность,
г/м³
|
12-25
|
2. Физико-химические основы синтеза мочевины
Синтез мочевины из аммиака и двуокиси углерода
протекает в две стадии. Вначале в результате взаимодействия аммиака NH3 и
диоксида углерода CO2 образуется карбамат аммония:
CO2 +2NH3 ↔ NH2-CO-ONH4 + q
(1)
Во второй стадии карбамат аммония отщепляет воду
и превращается в мочевину:
NH2-CO-ONH4↔ CO(NH2)2 + H2O -
q (2)
Обе реакции обратимы, поэтому состояние
равновесия их и, следовательно, выход мочевины зависит от условий синтеза -
температуры, давления, соотношения аммиака и двуокиси углерода и ряда других
факторов. В настоящее время влияние различных факторов на процесс синтеза
мочевины изучено довольно хорошо, благодаря чему достигаются высокие
технико-экономические показатели производства.
Реакция (1) протекает, если через водный раствор
двуокиси углерода при температуре выше 60°С пропускать аммиак. Карбамат аммония
образуется даже при простом соединении аммиака и диоксида углерода. В
отсутствие воды образуется только карбамат аммония, в присутствии ее - также и
карбонаты аммония (собственно карбонат аммония (NH4)2CO3, бикарбонат аммония
NH4HCO3 и сесквикарбонат аммония (NH4)2CO3 ∙ 2NH4HCO3)).
Следует отметить, что вода и карбамат аммония
образуют метастабильную систему, т.е. систему, характеризуемую небольшой
относительной устойчивостью. Эта система медленно превращается в смесь
различных соединений, состав которой зависит от температуры и концентрации
карбамата.
Реакция образования карбамата аммония
экзотермична, т.е. протекает с выделением тепла. Вследствие расхождения
результатов, полученных различными исследователями при определении теплоты
образования карбамата аммония, можно принять ее равной 152 Дж/моль при
постоянном объеме и 158 Дж/моль при постоянном давлении. Реакция дегидратации
карбамата аммония с образованием мочевины эндотермична, т.е. протекает с
поглощением тепла (32,3 Дж/моль). Теплота образования мочевины из аммиака может
быть вычислена на основе реакций (1) и (2) и составляет 125,7 Дж/моль.
Таким образом, суммарно процесс образования
мочевины идет с выделением тепла. Количество его находится в прямой зависимости
от чистоты исходного сырья, степени превращения в мочевину, от избытка аммиака,
подаваемого в колонну синтеза и других факторов.
Современные процессы получения карбамида
различаются, в основном, по методам использования непрореагировавших аммиака и
двуокиси углерода.
Все известные в настоящее время схемы
производства карбамида могут быть разделены на 5 основных групп:
) процессы без рецикла (с переработкой аммиака в
соли аммония);
) процессы с частичным рециклом аммиака;
) процессы с рециркуляциеей горячих газов;
) процессы с рециркуляцией углеаммонийных солей
в растворе или в виде суспенизии (жидкостный рецикл)
) процессы, основанные на селективном извлечении
из газовой фазы одного из компонентов и раздельном возврате аммиака и двуокиси
углерода в цикл (газовый рецикл).
Процессы производства карбамида с частичным или
полным рециклом углеаммонийных солей нашли наиболее широкое применение в промышленности.
3. Основные аппараты по схеме с частичным
рециклом
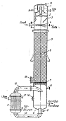
Колонна синтеза предназначена для получения
мочевины из аммиака и двуокиси углерода под давлением до 200 атмосфер и при
температуре 180-190°С. Колонна синтеза представлена на рисунке 1.
Рисунок 1 - Колонна синтеза (с защитным
стаканом)
- корпус высокого давления; 2 - наружный стакан;
3 - внутренний стакан; 4 - перегородка с прорезями; 5 - внутренне сферическое
днище; 6,10 - уплотнительные кольца; 7 - днище колонны; 8, 12 - фланцы; 9 -
термопара; 11 - крышка колонны
мочевина карбамид дистилляция
органический
Колонна состоит из корпуса 1 высокого давления,
крышки 11 и днища 7. Внутри корпуса помещены два вертикальных стакана 2 и 3,
вставленные один в другой в перевернутом виде. Благодаря этому между корпусом и
стаканами образуются кольцевые сечения, служащие для направления потока жидкого
аммиака.
Свежий жидкий NH3 поступает через нижний штуцер
в кольцевое пространство между корпусом 1 и наружным стаканом 2 и внутренним
стаканом 3 и стекает вниз, смешиваясь с возвратным аммиаком. Далее через
отверстие во внутреннем сферическом днище 5 смесь поступает в реакционную зону,
ограниченную внутренним стаканом 3; в эту зону через нижний штуцер
непосредственно подается двуокись углерода. При таком прохождении свежего
жидкого аммиака корпус колонны защищен от воздействия агрессивной реакционной
смеси и высокой температуры.
Для лучшего перемешивания смеси в нижней части
колонны установлена насадка, состоящая из нескольких перегородок с прорезями 4.
Реакционная масса медленно, поднимаясь вверх, проходит через прорези в
перегородках; при этом направление движения жидкости непрерывно изменяется,
создается турбулентный поток и, как следствие, достигается хорошее перемешивание
и увеличивается продолжительность соприкосновения реагентов.
В результате противоточного движения аммиака и
плава обеспечивается достаточно хороший теплообмен, что благоприятно
сказывается на процессе превращения CO2 в мочевину. Плав мочевины выводится из
колонны через верхний штуцер. В верхней части колонны имеется также штуцер для
замера температуры с помощью термопары 9.
Колонна дистилляции 1 ступени предназначена для
частичного разложения карбамата аммония и выделения из плава в газовую фазу
свободного аммиака и продуктов разложения. Она представлена на рисунке 2.
Рисунок 2 - Колонна дистилляции 1 ступени с
теплообменником
- крышка; 2 - сепарирующее устройство; 3 -
карман для термопары; 4 - распределительное устройство для плава; 5 - корпус;
6 - насадка; 7 - решетка; 8 - штуцер для регулятора уровня; 9 - днище; 10 -
нижняя циркуляционная труба; 11 - кожухотрубный теплообменник; 12 - верхняя
циркуляционная труба; 13 - люк; 14 - штуцер для предохранительного клапана; 15
- штуцер для манометра; 16 - указатель уровня; 17 - воздушник
Процесс проводится под давлением 16-18 атмосфер
и при температуре 110-120°С. В цилиндрическом корпусе 5 колонны помещена
насадка 6 из керамических колец (размерами 50×50×5
мм),
уложенных правильными рядами. В верхней части колонны расположено сепарирующее
устройство 2, которое предназначено для отделения брызг плава мочевины от
газовой фазы, направляемой в колонну фракционирования. Ввод плава
осуществляется через устройство 4, служащее для равномерного распределения
плава по насадке. В нижней части колонны имеются два штуцера, через которые она
с помощью циркуляционных труб 10 и 12 соединяется с кожухотрубным
теплообменником 11. Пар подается в межтрубное пространство теплообменника, а по
его трубкам циркулирует плав мочевины.
Стекая по насадке, плав мочевины нагревается
поднимающимися вверх парами воды, аммиака и двуокиси углерода. При этом
происходит разложения карбамата амония и выделение из раствора NH3 и CO2.
Подогретый плав подается в нижнюю часть колонны и по циркуляционной трубе 10
направляется в теплообменник. Нагреваясь в нем до 120°С, плав в виде
парожидкостной смеси по циркуляционной трубе 12 снова поступает в нижнюю часть
колонны. Здесь происходит отделение жидкости от продуктов разложения карбамата
аммония (аммиака и двуокиси углерода) и паров воды. Газ поднимается вверх и
уходит совместно с выделившимися свободным аммиаком через верхний штуцер в
колонну фракционирования. Раствор мочевины выводится из колонны через нижний
штуцер. Сама насадка осуществляется через люк 13.
Колонна дистилляции 2 ступени предназначена для
полного разложения карбамата аммония и выделения аммиака и двуокиси углерода из
раствора мочевины. Она представлена на рисунке 3.
Рисунок 3 - Колонна дистилляции 2 ступени с
теплообменником
а - верхняя часть колонны; б - нижняя часть
колонны
- крышка; 2 - сепарирующее устройство; 3 -
корпус; 4, 5 - тарелки туннельного типа; 6 - соединительная труба; 7 - верхняя
циркуляционная труба; 8 - кожухотрубный теплообменник; 9 - нижняя
циркуляционная труба; 10, 11 - штуцера для замера уровня жидкости; 12 - днище;
13 - опора; 14, 18 - бобышки для термометров; 15 - указатель уровня; 16 - люк
с распределительным устройством для раствора мочевины; 17 - штуцер для
предохранительного клапана
Процесс проводится под избыточным давлением
0,5-1,4 атмосфер и при температуре 120°С. Колонна имеет цилиндрический корпус
3, внутри которого размещены 13 тарелок. Колонна разделена глухой тарелкой на
верхнюю часть а и нижнюю часть б, сообщающиеся (по газовой фазе) через трубу 6.
Вверху расположены 10 тарелок, внизу - 3 тарелки. Опыт работы показал, что
можно снизить число тарелок, установив в нижней части 3-6 тарелок и наверху 3
тарелки.
В верхней части колонны имеются: штуцер для
поступления плава из колонны дистилляции 1 ступени, штуцер для
предохранительного клапана 17, штуцер для отвода газов дистилляции и
сепарирующее устройство 2 с переливной трубой на первую верхнюю тарелку. Выше
глухой тарелки расположен штуцер для перелива раствора мочевины в теплообменник
8 по трубе 9. Ниже глухой тарелки находится штуцер, предназначенный для входа
парожидкостной смеси из теплообменника 8 по трубе 7 в нижнюю часть колонны.
Здесь размещены штуцер для вывода раствора мочевины и штуцер для подвода под
3-ю нижнюю тарелку острого пара с целью полного выделения аммиака из раствора.
В днище находится для слива раствора мочевины в случае остановки колонны на
ремонт. Плав поступает в колонну дистилляции через закрепленное в люке распределительное
устройство 16, что позволяет менять его без каких - либо затруднений.
В верхней части колонны происходят основное
выделение свободного аммиака из плава мочевины, диссоциация карбамата аммония и
отгонка продуктов разложения. Плав стекает по тарелкам, нагреваясь
поднимающимися снизу парами воды, аммиака и двуокиси углерода. С глухой тарелки
раствор мочевины перетекает в выносной кожухотрубный теплообменник 8 и проходит
по его трубкам; в межтрубное пространство поступает пар, вследствие чего раствор
нагревается до 110-120°С. Из теплообменника парожидкостная смесь поступает в
нижнюю часть колонны, где газовая фаза отделяется от раствора.
Далее газовая фаза через паровой патрубок в
глухой тарелке поступает в верхнюю часть колонны и отдает часть тепла
стекающему вниз плаву.
4. Дистилляция плава мочевины
Вследствие невозможности достигнуть 100%-ного
выхода мочевины конечные продукты процесса ее синтеза, в дальнейшем для
краткости называемые плавом, представляют собой не раствор мочевины в воде, а
смесь мочевины, воды, избыточного аммиака и непрореагировавших карбамата и
карбонатов аммония. Это важное обстоятельство предопределяет характер
последующих технологических стадий процесса и их аппаратурное оформление. Для
того чтобы из такой смеси получить водный раствор мочевины, а
непрореагировавшие аммиак и двуокись углерода возвратить в цикл, необходимо
прежде всего отделить раствор мочевины от остальных соединений. Этот процесс
обычно осуществляется путем термического разложения содержащихся в реакционной
смеси карбамата и карбонатов аммония и отгонки аммиака и двуокиси углерода из
водных растворов мочевины. В зависимости от количества избыточного аммиака,
применяемого в процессе синтеза, и условий дальнейшего использования
непревращенных в мочевину аммиака и двуокиси углерода дистилляция плава может
быть осуществлена в одну или две ступени.
.1 Дистилляция 1 ступени
Плав мочевины из колонны синтеза дросселируется
до давления 16-18 атмосфер и подается на верхнюю тарелку колонны дистилляции 1
ступени. При дросселировании происходит охлаждения плава вследствие расхода
тепла на выделение свободного аммиака из плава и частичного разложения
карбамата. Чтобы увеличить степень его разложения и выделить большее количество
аммиака из жидкой фазы в газообразную, в колонну дистилляции подводят
дополнительное тепло в виде глухого пара. Последний поступает в выносной
теплообменник, в котором циркулирует раствор мочевины.
Давление в колонне дистилляции должно быть
постоянным и находиться в пределах 16-18 атмосфер. Температура в верхней части
колонны не выше 115-110°С, в нижней части - не выше 120°С.
Жидкая фаза из колонны дистилляции 1 ступени
дросселируется до давления 1,5 атмосфер и направляется в колонну дистилляции 2
ступени. Состав жидкой фазы, выходящей из колонны, указан в таблице 8.
Таблица 8 - Состав жидкой фазы, выходящей из
колонны
|
Мочевина,
%
|
50
|
|
Карбамат
аммония, %
|
24
|
|
Аммиак,
%
|
12
|
|
Вода,
%
|
14
|
Содержание аммиака в жидкой фазе, вытекающей из
колонны, не должно превышать 20-23%: присутствие аммиака NH3 в этой фазе
указывает на недостаточное разложение карбамата аммония и недостаточное
выделение свободного аммиака в газовую фазу. Степень диссоциации карбамата
аммония в колонне дистилляции 1 ступени без подогрева должна составлять не
менее 15%. При недостаточном разложении карбамата возрастет нагрузка на колонну
дистилляции 2 ступени и на отделение разделения газа. В случае использования
газов дистилляции 2 ступени в производстве нитрата аммония NH4NO3 количество
вырабатываемой аммиачной селитры, приходящееся на 1 тонну мочевины,
увеличивается.
Газообразная фаза, выходящая из колонны
дистилляции 1 ступени, поступает в колонну фракционирования для очистки аммиака
(88%) от примесей диоксида углерода CO2 (5%), инертных газов (3%) и паров воды
(4%). Следует отметить, что в зависимости от степени разложения карбамата
аммония в колонне дистилляции 1 ступени состав газа, поступающего в колонну
фракционирования, может меняться; при этом содержание водяных паров не должно
превышать 4%.
В колонне фракционирования происходит абсорбция
двуокиси углерода аммиаком (поступающим снизу) с образованием раствора
аммонийных солей (35-40% NH3, 11-15% CO2 и 49-50% H2O). Поскольку
образовавшиеся соли нерастворимы в аммиаке, для их растворения в верхнюю часть
колонны подают 60%-ную аммиачную воду (расход обычной воды составляет примерно
100-150 кг на 1 т мочевины). Полученный раствор аммонийных солей направляется в
отделение разделения газов дистилляции или в колонну дистилляции 2 ступени;
здесь в результате нагревания раствора аммонийные соли снова разлагаются на
аммиак NH3 и диоксид углерода CO2.
Очищенный от двуокиси углерода аммиак (с
небольшой примесью инертных газов) при температуре 50-60°С выходит из колонны
фракционирования и поступает в конденсатор. Давление в конденсаторе должно
соответствовать давлению в колонне дистилляции (16-18 атмосфер), определяет
давление в колонне фракционирования (16-18 атмосфер) и в свою очередь зависит
от содержания инертных примесей в исходной CO2 и от температуры охлаждающей
воды. Если вода имеет низкую температуру, давление в системе дистилляции 1
ступени может быть уменьшено до 16 атмосфер. Благодаря снижению давления
удается достигнуть той же степени отгона аммиака в колонне дистилляции, но при
более умеренной температуре.
В нижней части колонны фракционирования
температура поддерживается на уровне 100°С и определяется температурой верхней
части колонны дистилляции и количеством аммиака, подаваемого на орошение.
Температура в верхней части колонны фракционирования должна быть не выше 55°С и
не ниже температуры конденсации аммиака, содержащего не более 1% H2O, колонна
фракционирования сверху орошается предварительно охлажденной до 40°С аммиачной
водой концентрацией не ниже 60%. Температура воды на входе в конденсатор в
зависимости от времени года может колебаться, но не должна превышать 28°С.
Температура отходящей воды должна быть не выше 35°С, давление воды - не ниже 3
атмосфер.
Из конденсатора жидкий аммиак через буфер и
холодильник поступает в плунжерный насос и под давлением 200 атмосфер снова подается
в колонну синтеза. Возвращается в цикл синтеза на 1 т мочевины примерно 800 кг
аммиака.
Инертные газы, содержащие около 50% аммиака NH3,
направляются из конденсатора в абсорционную установку для получения 24-27%-ной
аммиачной воды, которая далее насыщается жидким аммиаком в смесителе до
концентрации 60% и поступает на орошение колонны фракционирования.
.2 Дистилляция 2 ступени
Процесс дистилляции во 2 ступени проводят при
избыточном давлении всего 0,5-1,4 атмосфер, благодаря чему удается полнее отогнать
аммиак из раствора мочевины. Температуру раствора в нижней части колонны
дистилляции поддерживают в пределах 120°С путем нагревания раствора в
подогревателе глухим паром (избыточное давление 3,5 атмосфер). Кроме того, под
нижнюю тарелку колонны вводят острый пар, что улучшает процесс отгонки аммиака
NH3 и диоксида углерода CO2 из раствора. Концентрация раствора мочевины,
выходящего из колонны дистилляции 2 ступени, в зависимости от количества
подаваемого острого пара изменяется в пределах 60-80%. Содержание аммиака в
этом же растворе должно составлять около 3 г/л. При более полной отгонке
аммиак NH3 возрастает содержание биурета в мочевине. Температура раствора в
сборнике мочевины, установленном за колонной дистилляции, должна быть не более
чем на 5-10°С выше температуры кристаллизации (при низкой температуре не
образуется биурет и мочевина быстрее отстаивается от масла).
Газы дистилляции, выходящие из колонны,
направляются на разделение с возвратом их в цикл или на переработку в аммиачную
селитру (аммиачную воду).
5. Жидкостный рецикл
Со времени создания первых промышленных
установок основным направлением в развитии технологии производства карбамида
было совершенствование системы рециркуляции аммиака NH3 и диоксида углерода
СО2, поскольку обычно степень превращения диоксида углерода СО2 не превышает
70%, а степень превращения аммиака NH3 не достигает даже 50%. Уже в пятидесятых
годах, с момента превращения мирового производства карбамида в многотоннажную
отрасль азотной промышленности, все чаще стали применять схемы с полным
рециклом непревращенных NH3 и СО2. В отличие от схемы с газовым рециклом при
жидкостном рецикле аммиак, двуокись углерода и раствор аммонийных солей вначале
поступают в смеситель, где одновременно с их смешением протекает процесс
образования карбамата аммония. Мольное соотношение аммиака NH3, дикосида
углерода CO2 и воды H2O в исходной смеси на входе в аппарат необходимо
поддерживать постоянным и равным 4,5:1:0,5. Температура аммиака, подаваемого в
смеситель, должна быть в пределах 90°С, концентрация двуокиси углерода не ниже
97% (содержание в ней сероводорода H2S не выше 3-5 мг/м³).
Процесс
в смесителе проводится под давлением 190-200 атмосфер и при температуре 175°С.
Плав из смесителя входит в нижнюю часть колонны,
в которой при температуре 185°С и давлении 200 атмосфер происходит дегидратация
карбамата аммония с образованием мочевины. За 30-40 минут, в течение которых
плав находится в колонне, степень превращения CO2 в мочевину составляет около
62%. Примерный состав плава, образующегося в колонне: 28% CO(NH2)2, 42% NH3,
13% CO2, 16% H2O 0,5-1% инертных газов (двуокись углерода находится в
соединении с аммиаком в виде карбамата аммония). Из колонны синтеза плав,
дросселируясь до давления 18-20 атмосфер, направляется в ректификационную
колонну 1 ступени.
5.1 Дистилляция 1 ступени
На рисунке 4 представлена схема агрегата
дистилляции 1 ступени.
Рисунок 4 - Схема агрегата дистилляции 1 ступени
- ректификационная колонна, 2 - дроссельный
вентиль, 3 - подогреватель, 4 - сепаратор
Агрегат дистилляции 1 ступени состоит из трех
аппаратов: ректификационной колонны 1, подогревателя 3 и сепаратора 4. Давление
в агрегате поддерживается в пределах 18-20 атмосфер. При сжижении давления с
200 атмосфер в колонне синтеза до указанной величины в агрегате температура
также уменьшается (со 185 до 110-120°С) вследствие отгонки части свободного
аммиака и частичного разложения карбамата аммония на аммиак NH3 и диоксид
углерода CO2.
В ректификационной колонне температура должна
поддерживаться в интервале 140-145°С. Снижение температуры указывает на
недостаточный теплообмен в колонне. Подогрев плава в аппарате 1 до 140-145°С
осуществляется газами, поступающими из сепаратора с температурой 160-165°С. В
процессе теплообмена газы охлаждаются до 110-120°С. При нагревании из плава
выделяется часть избыточного аммиака.
Жидкая фаза из ректификационной колонны
направляется в теплообменник 3, в котором плав нагревается до 160-165°С теплом
конденсации пара. При этом почти полностью выделяется избыточный аммиак
(степень отгонки NH3 составляет 89-90%) и разлагается большая часть карбамата
аммония (степень разложения 90-91%).
Температурный режим в колонне следует
поддерживать в указанных пределах. При более низкой температуре уменьшается
степень разложения карбамата аммония и снижается степень отгонки аммиака и
двуокиси углерода из плава; при чрезмерно высокой температуре образуется
биурет.
Парожидкостная смесь из подогревателя 3
поступает в сепаратор 4, где происходит разделение газовой и жидкой фаз. Из
сепаратора газовая фаза вводится снизу в ректификационную колонну и совместно с
выделившимися при дросселировании газами направляется затем в нижнюю часть
промывной колонны. Состав газа, подаваемого в эту колонну: 73% аммиака NH3, 21%
диоксида углерода CO2, 5% воды H2O и 1% инертных газов. Температура газовой
фазы по выходе из колонны фракционирования должна равняться 110-120°С. Жидкая
фаза после сепаратора (состав: 61% мочевины CO(NH2)2; 7,5% аммиака NH3; 2,5%
диоксида углерода CO2 и 29% воды H2O) дросселируется до давления 3 атмосферы и
направляется в агрегат дистилляции 2 ступени.
Отмывка аммиака от диоксида углерода CO2
производится в промывной колонне, орошаемой раствором аммонийных солей жидким
аммиаком NH3 и аммиачной водой. Жидкий аммиак подается в верхнюю и среднюю
части колонны, благодаря чему в нижней ее секции температура составляет
примерно 100°С, а сверху - порядка 45-20 атмосфер. Около 90% газообразного
диоксида углерода CO2 поглощается раствором аммонийных солей, а остальные 10%
абсорбируются аммиаком и аммиачной водой.
Раствор аммонийных солей, выходящий из промывной
колонны, должен иметь температуру не выше 100°С. При более высокой температуре
нарушается абсорбция двуокиси углерода и затрудняется подача раствора в колонну
синтеза плунжерным насосом. Если же температура раствора ниже температуры его
кристаллизации, растворопровод забивается кристаллами солей; при этом выходит
из строя плунжерный насос или разрывается трубопровод. Раствор аммонийных
солей, направляемый в смеситель колонны синтеза, имеет примерно следующий
состав: 41% аммиака NH3, 37% диоксида углерода CO2, 22% воды H2O и 0,01%
мочевины CO(NH2)2.
Для получения газообразного аммиака NH3
влажностью не более 0,2% промывная колонна орошается жидким аммиаком и 40%-ной
аммиачной водой.
Чистый аммиак с температурой 45°С из промывной
колонны поступает на конденсацию. Содержание водяных паров в газовой фазе,
подаваемой в аммиачный конденсатор, не должно превышать 1-2%. Давление в
конденсаторе соответствует давлению в промывной колонне и поддерживается в
пределах 18-20 атмосфер. Температура воды на входе в конденсатор должна быть
не выше 28°С, а на выходе - не более 35°С.
.2 Дистилляция 2 ступени
Агрегат дистилляции 2 ступени состоит из тех же
аппаратов, что и агрегат 1 ступени (см. рисунок 1). Давление в агрегате
необходимо поддерживать постоянным и равным 3-4 атмосферы. Это давление
определяется давлением в конденсаторе, предназначенном для конденсации паров
воды из газовой фазы с образованием раствора аммонийных солей. При уменьшении
давления с 18-20 до 3-4 атмосфер из раствора частично выделяется аммиак и
разлагается карбамат аммония, в результате чего температура раствора снижается
с 160-165 до 100°С.
В ректификационной колонне температура должна
быть не менее 130°С; понижение температуры указывает на недостаточный
теплообмен. Подогрев раствора в колонне до 130°С осуществляется газами,
поступающими из сепаратора с температурой 142-145°С. В процессе теплообмена
газы охлаждаются до 110°С. При нагревании из раствора выделяется часть
избыточного аммиака. По выходе из колонны раствор с температурой 130°С
направляется в теплообменник, где он подогревается до 142-145°С. При этом
происходит диссоциация карбамата аммония и выделение из раствора продуктов
разложения совместно с избыточным аммиаком. Парожидкостная смесь из
подогревателя поступает в сепаратор, в котором жидкая фаза отделяется от
газообразной. Далее раствор мочевины концентрацией около 70% дросселируется и
направляется на переработку в готовый продукт.
Из сепаратора газовая фаза возвращается в
ректификационную колонну и, отдав тепло раствору, стекающему вниз, в смеси с
выделившимися при дросселировании газами, подается в конденсатор. Состав
газовой фазы: 50% аммиака NH3, 18% диоксида углерода CO2 и 32% воды H2O. В
конденсаторе происходит конденсация водяных паров. В полученном конденсате с
добавлением конденсата вторичного пара после выпарки растворяются аммиак и
двуокись углерода, образуя раствор аммонийных солей (состав: 44% аммиака NH3,
15% диоксида углерода CO2 и 41% воды H2O). Раствор направляется на орошение
промывной колонны. Температуру в конденсаторе при заданном давлении необходимо
поддерживать в пределах 30-55°С.
6. Схема производства мочевины с жидкостным
рециклом
Наиболее экономична
технологическая схема с полным жидкостным рециклом, так как в ней не требуется
сжатия возвращаемых в цикл горячих газов (аммиака и диоксида углерода), что
может вызвать засорение трубопроводов образующимся твердым карбамидом и их
коррозию. Схема представлена на рисунке 5.
Рисунок 5 - Схема производства мочевины с
жидкостным рециклом и двухступенчатой дистилляцией плава
- конденсатор аммиака; 2 - холодильник аммиачной
воды; 3 - колонна синтеза; 4 - смеситель; 5 - промывная колонна; 6 - плунжерный
насос; 7 - ректификационная колонна 1 ступени; 8 - подогреватель 1 ступени; 9
- сепаратор 1 ступени; 10, 19, 22, 28, 29 - центробежные насосы; 11 -
ректификационная колонна 2 ступени; 12 - сборник масла; 13 - подогреватель 2
ступени; 14, 17 - сборники раствора мочевины; 15 - сепаратор 2 ступени; 16
-вакуум-испаритель; 18 - конденсатор 1 ступени; 20 - вакуум-насос; 21 -
конденсатор 2 ступени; 23 - напорный бак; 24 - абсорбер; 25 - сборник раствора
аммонийных солей; 26 - десорбер; 27 - холодильник, 30 - теплообменник
Аммиак и двуокись углерода под давлением до 200
атмосфер поступают в смеситель 4. Туда же подаются в виде раствора аммонийных
солей, не превращенные в мочевину аммиак NH3 и диоксид углерода CO2. В этом
аппарате перемешиваются все три компонента и одновременно образуется (при
температуре 175°С и давлении 200 атмосфер) карбамат аммония. Из смесителя
реакционная масса направляется в колонну синтеза 3, где при том же давлении и
температуре 185°С образуется мочевина. При указанных выше мольных соотношениях
и времени пребывания плава в колонне синтеза около 40-45 минут, степень
конверсии диоксида углерода CO2 в мочевину составляет 62%.
Плав, выходящий из колонны синтеза,
дросселируется до давления 18-20 атмосфер и подается в ректификационную колонну
1 ступени 7. Из этой колонны раствор поступает в аппарат 8, в котором
подогревается до 163-165°С. В результате подвода тепла из плава почти полностью
выделяется избыточный аммиак и разлагается большая часть карбамата аммония.
Парожидкостная смесь из подогревателя поступает в сепаратор 1 ступени 9, где
газ отделяется от жидкости.
Газовая фаза, состоящая из аммиака, двуокиси
углерода и паров воды, направляется из сепаратора в нижнюю часть
ректификационной колонны 7, а затем - в нижнюю часть промывной колонны 5. Эта
колонна орошается раствором аммонийных солей, полученных в конденсаторе 2
ступени 21. Для регулирования температуры абсорбции в промывную колонну
подается жидкий аммиак. Температура абсорбции поддерживается около 100°С в
нижней части колонны и 45-50°С в верхней части колонны. Газообразный аммиак
NH3, очищенный от диоксида углерода CO2, вместе с инертными газами направляется
в конденсатор 1; оттуда инертные газы с некоторой примесью аммиака удаляются в
абсорбер NH3.
Технологической схемой предусматривается
возможность орошения промывной колонны 40-65%-ным раствором аммиачной воды.
Концентрация аммиачной воды определяется температурой в верхней части колонны и
необходимостью получения газообразного NH3 (с влажностью не более 0,2%),
свободного от двуокиси углерода. Концентрированный раствор аммонийных солей с
температурой 100°С поступает из промывной колонны в плунжерный насос 6 и под
давлением 200 атмосфер подается в смеситель. Из сепаратора 9 раствор,
содержащий мочевину, карбамат аммония, аммиак и воду, после дросселирования до
давления 3 атмосферы направляется в ректификационную колонну 2 ступени 11. В
результате дросселирования раствора выделяются газообразный аммиак, двуокись
углерода и водяные пары, при этом температура снижается до 110°С.
Дело в том, что в ректификационной колонне 11,
так же как и в колонне 7, происходит теплообмен между раствором и газом,
поступающим из сепаратора 2 ступени 15. В результате раствор нагревается до
130°С, а газ охлаждается до 110°С.
Раствор из колонны 11 подается в подогреватель 2
ступени 13, где нагревается до 143°С. В подогревателе протекает окончательное
разложение карбамата аммония и отгонка аммиака и двуокиси углерода из раствора.
Из подогревателя парожидкостная смесь направляется в сепаратор 2 ступени 15,
где разделяются газовая и жидкая фазы. Газовая фаза, пройдя ректификационную
колонну 11, поступает в аппарат 21, где конденсируются водяные пары. В
результате растворения аммиака NH3 и двуокиси углерода CO2 в образовавшемся
конденсате получается разбавленный раствор аммонийных солей, который через
напорный бак 23 и насос 22 подается в промывную колонну 1 ступени 5.
Из сепаратора 2 ступени 15 раствор мочевины
концентрацией 70% после дросселировния направляется в вакуум-испаритель 16, в
котором поддерживается остаточное давление 300 мм рт.ст. Вследствие падения
давления часть воды испаряется и концентрация раствора повышается до 74%.
Полученный раствор мочевины с температурой 90-95°С поступает сначала в сборник
17, потом в сборник 14 (часть раствора), где очищается от масла, а затем
центробежными насосами 10 и 19 направляется на получение кристаллической или
гранулированной мочевины.
Не поглощенные в конденсаторе 2 ступени 21 газы
с незначительной примесью аммиака и двуокиси углерода, газы из абсорбера
аммиака, а также все другие отходящие газы, содержащие NH3, поступают в колонну
24. Здесь аммиак и CO2 поглощаются охлаждаемым до 40°С в холодильнике 27
циркулирующим раствором аммонийных солей. Инертные газы из аппарата 24
выбрасываются в атмосферу.
Предварительно подогретый до 95°С в
теплообменнике 30 раствор аммонийных солей из сборника 25 подается вместе с
острым паром в десорбер 26. В этом аппарате при абсолютном давлении 3 атмосферы
и температуре 133°С происходит полное разложение аммонийных солей на NH3 и CO2.
Газообразные аммиак и двуокись углерода, а также пары H2O направляются в
конденсатор 21. Вода, свободная от аммиака NH3 и двуокиси углерода CO2,
предварительно пройдя теплообменную аппаратуру, где охлаждается до температуры
ниже 100°С, сливается из десорбера в канализацию.
7. Расчет материального и теплового баланса
.1 Расчет материального баланса колонны синтеза
. Вычисляем необходимые количества NH3 и CO2.
Стехиометрический расход аммиака и двуокиси
углерода на 1000 кг мочевины составляют:
m (NH3) = 
(3)
где M (NH3) - молярная масса аммиака (17
г/моль);(CO(NH2)2) - масса карбамида (1000 кг);- стехиометрический
коэффициент;(CO(NH2)2) - молярная масса карбамида, (60 г/моль).
m (NH3) = 
= 566,67 кг
m (CO2) = 
(4)
где M(CO2) - молярная масса углекислого газа (44
г/моль).
m(CO2) = 
= 733, 33 кг
С учетом 7% потерь мочевины при
дистилляции и упаривании плава должно образоваться 1070 кг мочевины для
получения 1000 кг готового продукта:
- 100%- 7%= 
= 70 кг
На образование этого количества
мочевины расходуются следующие количества реагентов:
m' (NH3) = 
= 606,34 кг'(CO2)
= 
= 784,67 кг
С учетом степени превращения
образующегося карбамата аммония в мочевину и заданного избытка аммиака
практический расход реагентов составит:
''(NH3) = 
(5)
Υ = 58 - степень
превращения карбамата аммония в мочевину, (в %).
m''(NH3) = 
= 2509 кг''(CO2)
= 
= 1352,87 кг
2. Вычисляем количество инертных
газов, поступающих в колонну синтеза с двуокисью углерода: при составлении
расчета принимаем, что инертные газы - это 100%-ный азот.
(N2) = 
(6)
где 4 и 96 - содержание CO2 и N2 в газе,
служащем источником углекислого газа, %.
m(N2) = 
= 56,36 кг
. Находим количество карбамата
аммония и мочевины:
в колонне образуется карбамата
аммония:
(NH2COOONH4) = 
(7)
m(NH2COOONH4) = 
= 2398,26 кг
где M (NH2COOONH4) - молярная масса
карбамата аммония, (78 г/моль).
из 2398, 26 кг карбамата аммония
образуется мочевины:
m(CO(NH2)2)
= m(NH2COOONH4) ∙
∙ 
(8)
m(CO(NH2)2) = 2398,26 ∙ 
∙ 
= 1071 кг
выделяется воды:
(H2O) = m(NH2COOONH4) ∙ 
∙ 
(9)
(H2O) = 2398,26 ∙ 
∙ 
= 320 кг
При степени превращения карбамата
аммония в мочевину 56%, количество разложившегося карбамата составляет:
m'
(NH2COOONH4) = m (NH2COOONH4) ∙
(10)
'
(NH2COOONH4) = 2398,26 ∙ 
= 1007, 26 кг
4. Определяем количество аммиака,
уходящего с продуктом реакции:
на образование карбамата аммония
расходуется аммиака:
'''(NH3) = 
(11)
'''(NH3) = 
= 989 кг
остается непрореагировавшего
аммиака:
m''(NH3) -
m'''(NH3) = 2509 - 989 = 1520 кг (12)
Полученные результаты сведем в
таблицу 9.
Таблица 9 - Материальный баланс
синтеза карбамида (на 1 т готового продукта)
|
Приход
|
Расход
|
|
Исходное
сырье
|
кг
|
%
|
Продукты
|
кг
|
%
|
|
NH3
|
2509
|
64
|
CO(NH2)2
|
1070
|
27,3
|
|
CO2
|
1352,87
|
34,52
|
NH2COOONH4
|
1007,26
|
25,7
|
|
N2
|
56,36
|
1,43
|
H2O
|
320
|
8,16
|
|
|
|
NH3
(изб)
|
1520
|
38,8
|
|
Всего
|
3918,23
|
100
|
Всего
|
3918,
26
|
100
|
. Выделившаяся вода взаимодействует с избыточным
аммиаком, образуя NH4OH, количество которого равно:
m (NH4OH) = 
(13)
где M(NH4OH) - молярная масса
гидрата аммония, (35 г/моль).(NH4OH) = 
= 622, 22 кг
На образование 622, 22 кг гидрата
аммония затрачивается аммиака:'''(NH3) = 
= 302, 22 кг
Остается избыточного аммиака в
газовой фазе:
- 302, 22 = 1217, 78 кг
. Невязка составляет:
∆ = 
∙ 100 = 7,6 ∙10 - 4
(менее 1%)
7.2 Расчет теплового баланса колонны
синтеза
. Приход теплоты:
Количество теплоты, поступающей с
CO2:
Q1 =
m''(CO2) ∙c (CO2) ∙T, (14)
где с (СO2) - теплоемкость CO2 при
T;- температура CO2= 1352,87 ∙ 1,026 ∙35 = 48581 кДж
Количество теплоты, поступающей с
NH3:
= m''(NH3) ∙∆H (NH3),
(15)
где ∙∆H (NH3) -
энтальпия жидкого аммиака при 105°С.= 2509 ∙ 132,1 = 331438,9 кДж
Теплота образования карбамата аммония:
= 
∙ (q1 - q2), (16)
где q1 - тепловой эффект реакции
образования и твердого карбамата аммония из газообразного аммиака и двуокиси
углерода кДж/моль.- теплота плавления карбамата аммония кДж/кмоль= 
∙(159350 - 77456) = 2517988
кДж
Теплота образования гидрата аммония:
= 
(17)
где q3 - тепловой эффект образования
гидрата аммония из аммиака и воды, Дж/моль= 
= 188906 кДж
Суммарный приход теплоты:
прих = Q1 +Q2+Q3+Q4 (18)
прих = 48581+331439+2517988+188906 =
3086914 кДж
. Расход теплоты:
На образование мочевины:
где q4 - тепловой эффект конверсии
карбамата при избытке аммиака
% от стехиометрического количества,
кДж/моль.'1 = 
= 335873 кДж
На подогрев жидкого аммиака от 105°С
до 132,9°С:
'2 = m''(NH3) ∙ C(NH3) ∙∆T,
(19)
где C(NH3) - теплоемкость аммиака,
кДж/(кг∙К)'2 = 2509 ∙2,47 ∙ (132,9 - 105) = 172902 кДж
На подогрев двуокиси углерода от
35°С до 132,9°С:
Q'2 =
m''(CO2) ∙C(CO2) ∙∆T, (20)
где C(CO2) - теплоемкость двуокиси
углерода, кДж/(кг∙К).'3 = 1352,87 ∙ 1,026 ∙ (132,5 - 35) =
135334 кДж
На подогрев образующегося карбамата
аммония от 132,9°С до 200°С:
Q'4 =
m(NH2COOONH4) ∙ C(NH2COOONH4) ∙∆T, (21)
где C(NH2COOONH4) - теплоемкость
карбамата аммония, кДж/(кг∙К).'4 = 2398,26 ∙ 1,951 ∙ (200 -
132,9) = 313961,2 кДж
На подогрев избыточного
газообразного аммиака:
'5 = m(NH3) газ ∙ С(NH3) газ ∙∆T,
(22)
где C(NH3) газ - теплоемкость газообразного
аммиака при t ср = 166,5°С и давлении P = 20 МПа, кДж/(кг∙К).'5 = 1217,78
∙ 2,47 ∙ (200 - 139,5) = 181978,9 кДж
На подогрев NH4OH от 139, 5°С до 200°С:
Q'6 = m(NH4OH) ∙C(NH4OH) ∙ ∆T,
(23)
где C(NH4OH) - теплоемкость NH4OH, кДж/(кг∙К).'6
= 622,22 ∙ 4,187 ∙(200 - 139,5) = 157616,7 кДж
Теплота, уходящая с плавом мочевины при 200°С:
'7 = 3918,26 ∙ Cср ∙ 200 (24)
Определяем среднюю теплоемкость плава мочевины
по следующей формуле:
C ср = 
(25)
где См, С карб, С ам, Св, Саз - концентрации
мочевины, карбамата аммония, аммиака, воды, инертного газа (азота);
, 344; 1,951; 2,470; 4,187; 0,921 - теплоемкости
указанных веществ, кДж/(кг∙К)
C ср = 
= 2,17 кДж/(кг∙К)'7 = 3918,26
∙ 2,17 ∙ 200 = 1700524,8 кДж
Теплопотери в окружающую среду
принимаем равными 6,5% от общего количества теплоты, приходящейся в колонну
синтеза:
' расх = Q'1 + Q'2 + Q'3 + Q'4+ Q'5
+ Q'6 + Q'7 = 335980 +172902 +135334 + 313961,2 +181978,9 + 157616,7 +
1700524,8 = 2840573,9 кДж (26)
'8 = 2840573,9 ∙ 0,065 =
184637,3 кДж
Суммарный расход тепла составляет:
расх = Q'1 + Q'2 + Q'3 + Q'4 + Q'5
+Q'6 + Q'7 +Q' (27)
расх = 335980 + 172902 + 135334
+313961,2 + 181978,9 +157616,7 + 1700524,8 + 335980+ 172902+ 135334 + 313961,2
+ 181978,9 + 157616,7 + 1700524,8 = 3025211,2 кДж
Таблица 10 - Тепловой баланс колонны
синтеза мочевины
|
Приход
|
Расход
|
|
Поток
|
кДж
|
%
|
Поток
|
кДж
|
%
|
|
Q1
|
48581
|
1,5
|
Q'1
|
335873
|
11,1
|
|
Q2
|
331438,9
|
10,7
|
Q'2
|
172902
|
5,7
|
|
Q3
|
2517988
|
81,5
|
Q'3
|
135334
|
4,4
|
|
Q4
|
188906
|
6,1
|
Q'4
|
313961,2
|
10,3
|
|
|
|
Q'5
|
181978,9
|
0,6
|
|
|
|
Q'6
|
157616,7
|
5,2
|
|
|
|
Q'7
|
1700524,8
|
56,2
|
|
|
|
Q'8
|
184637,3
|
6,1
|
|
Всего
|
3086917
|
100
|
Всего
|
3025211,2
|
100
|
Расхождение между вычисленными значениями
прихода и расхода теплоты составляет:
∆ = 
∙ 100 = 2%
8. Техника безопасности и охрана
труда
По степени воздействия на организм
человека карбамид относят к умеренно опасным веществам (3 класс опасности).
Предельно допустимая концентрация
карбамида в воздухе рабочей зоны - 10 мг/м³ (максимальная разовая доза).
В организм человека карбамид может
проникать через органы дыхания, желудочно-кишечный тракт, а также может
попадать на кожу и в глаза.
Длительное вдыхание пыли карбамида в
концентрациях, превышающих предельно допустимую, приводит к развитию
хронического воспаления слизистой оболочки трахеи и бронхов, изменениям функции
печени и почек. При ингаляционном отравлении наблюдается раздражение слизистой
дыхательных путей, затрудненное дыхание; при попадании внутрь - пенистые
выделения из носа, синюшность кожи, судороги (при сильном отравлении). При
воздействии на кожу - раздражение; на глаза - слезоточение, поражение роговицы.
При попадании в глаза и на кожу
необходимо промыть их большим количеством воды. При отравлении ингаляционным
путем - необходим свежий воздух, покой, тепло, чистая одежда. Следует тщательно
прополоскать нос и рот водой. При попадании внутрь - обильное питье,
активированный уголь, солевое слабительное. При необходимости следует
обратиться за медицинской помощью.
Все производственные помещения
должны быть оборудованы общеобменной принудительной вентиляцией, места
возможного пыления - местными отсосами, воздух которых перед выбросом в
атмосферу должен направляться на очистку.
При изготовлении и фасовке карбамида
должны соблюдаться общие требования пожарной безопасности и гигиенические
требования.
Все работы с карбамидом необходимо
проводить с соблюдением мер индивидуальной защиты (специальные костюмы, ботинки
или сапоги, резинотрикотажные перчатки, респиратор, ватно-марлевая повязка).
Предельно допустимая среднесуточная
массовая концентрация карбамида в атмосферном воздухе населенных мест - 0,2
мг/м³.
Промывание воды после промывки
оборудования и коммуникаций должны быть направлены на биоочистные сооружения.
Предельно допустимая концентрация карбамида для воды водных объектов, имеющих
рыбохозяйственное значение - 80 мг/дм³.
Твердые отходы производства или
применения карбамида (после очистки оборудования и коммуникаций, россыпи)
должны быть направлены на технологическую переработку или быть реализованы по
согласованию с потребителем.
При хранении и транспортировании
карбамида необходимо соблюдать меры, исключающие его неконтролируемое попадание
в окружающую среду.
Применение карбамида должно
соответствовать правилам охраны окружающей среды от вредного воздействия
минеральных удобрений. Дозы карбамида - источника амидного азота определяются
состоянием почвы, выращиваемыми культурами и не должны приводить к загрязнению почвы,
водоемов и окружающей среду, накоплению в почве и сельскохозяйственной
продукции.
В производстве карбамида большое
значение уделяют технике безопасности. Нарушение правил техники безопасности,
отступления от нормального режима работы или нарушения трудовой дисциплины на
производстве, приводят к авариям, несчастным случаям, и даже к возможности
возникновения профессиональных заболеваний.
Некоторые процессы в производстве
мочевины являются огне- и взрывоопасными. Опасность и вредность отдельных
стадий производства определяются:
а) наличием машин и движущихся
механизмов; коммуникаций, работающих под давлением, возможностью скопления в
каналах и проемах оксида и диоксида углерода, наличием масла и кислорода,
применяемого в качестве добавки к экспанзерному газу, а также
электрооборудования высокого напряжения.
б) возможностью выделения аммиака из
кристаллизующихся растворов; наличием большого количества электрооборудования;
машин работающих под высоким давлением (насосы); наличием горячих растворов.
в) возможностью выделения диоксида
углерода.
При проведении технологического
процесса тщательно следят за работой компрессоров, сжижающих диоксид углерода,
не допускается превышение температуры и давления газа на каждой ступени этой
машины, контролируется режим смазки маслом цилиндров и подшипников. Не
допускается снижение давления масла в трубопроводе после масляного насоса, а
также превышение температуры подшипников. Необходимо строго соблюдать нормативы
пробела аппаратов. Особое внимание нужно обращать на возможность образования
взрывчатой смеси кислорода с инертными газами водородом; оксидом углерода;
метаном, выходящим из конденсатора аммиака и хвостового абсорбера. Отбор проб
мочевины, замер температуры пульпы производят только при остановленном шнеке.
Не разрешается применять шланги, составленные из кусков или изношенные.
Необходимо строго поддерживать
уровень жидкого аммиака в сборнике перед аммиачным насосом высокого давления и
уровень углеаммонийных солей перед насосом высокого давления, т.к. попадание
газа в насосы может вызвать гидравлические удары и привести к нарушению этих
машин. Запрещается проводить по ходу чистку и ремонт транспортеров и
элеваторов.
Заключение
Карбамид - одно из самых
востребованных на сегодняшний день удобрений, производится несколькими
способами. В данной работе подробно описана технологическая схема производства
с жидкостным рециклом и двухступенчатой дистилляцией плава и рассмотрены
свойства, значение и области применения карбамида. Процессы производства
карбамида с частичным или полным рециклом углеаммонийных солей нашли наиболее
широкое применение в промышленности.
Эта технологическая схема наиболее
экономична, так как в ней не требуется сжатия возвращаемых в цикл горячих газов
(аммиака и диоксида углерода), что может вызвать засорение трубопроводов
образующимся твердым карбамидом и их коррозию.
Производство карбамида непрерывно
увеличивается как в России, так и за рубежом. В настоящее время карбамид в
промышленном масштабе производят только прямым синтезом из аммиака и двуокиси
углерода.
Также определены согласно
действующему ГОСТу требования к продукту и рассмотрена техника безопасности на
производстве, требования окружающей среды.
Таким образом, цель курсового
проекта достигнута, подробно рассмотрен технологический процесс производства
карбамида с двухступенчатой дистилляцией плава и жидкостным рециклом, выполнены
расчеты в соответствии с заданием. Невязки материального и теплового балансов
минимальны, что говорит о достаточной точности расчетов.
Список источников
1.
ГОСТ 2081 - 2010 Москва, 2010
.
Горловский Д.М., Технология карбамида / Д.М. Горловский, Л.Н. Альтшулер, В.И.
Кучерявый. - Л.: Химия, 1981 - 320 с.
.
Зотов А.Т. Мочевина / А.Е. Зотов. - М.: Химия, 1963 - 174 с.
.
Мельников Б.П. Производство мочевины / Б.П. Мельников, И.А. Кудрявцева. - М.:
Химия - 1965. - 168 с.
5. Основы химической технологии / Под ред. И.П.
Мухленова. - 4-е изд., перераб. и доп. - М.: Высш. шк., 1991. - 463 с.
6.
Позин М.Е. Технология минеральных удобрений / М.Е. Позин. - М.: Химия, 1989 -
352 с.
.
Технология неорганических веществ и минеральных удобрений: Курс лекций. -
Великий Новгород: НовГУ им. Ярослава Мудрого, 2007. - 237 с.
8. http://newchemistry.ru/letter.php?n_id=2179
9.
<http://www.twirpx.com/file/458365/>
.
http://newchemistry.ru/letter.php?n_id=773