Сравнительный анализ конструкции масляной системы ТВ2–117 АГ и ТВ3-117 ВМ

  • Вид работы:
    Дипломная (ВКР)
  • Предмет:
    Транспорт, грузоперевозки
  • Язык:
    Русский
    ,
    Формат файла:
    MS Word
    3,77 Мб
  • Опубликовано:
    2015-11-22
Вы можете узнать стоимость помощи в написании студенческой работы.
Помощь в написании работы, которую точно примут!

Сравнительный анализ конструкции масляной системы ТВ2–117 АГ и ТВ3-117 ВМ

«Омский летно-технический колледж гражданской авиации имени А.В. Ляпидевского» филиал Федерального государственного образовательного учреждения высшего профессионального образования

«Ульяновского высшее авиационное училище гражданской авиации (институт)»

(ОЛТК ГА филиал ФГБОУ ВПО УВАУ ГА (И))







ВЫПУСКНАЯ КВАЛИФИКАЦИОННАЯ РАБОТА

«Сравнительный анализ конструкции масляной системы ТВ2- 117 АГ и ТВ3-117 ВМ»

по специальности 25.02.04.

«Техническая эксплуатация летательных аппаратов и двигателей»

Работу выполнил: курсант 342

группы Халипский Н.Е.

Руководитель: Чернышенко А.Л.

преподаватель


Омск - 2015

ВВЕДЕНИЕ


Актуальность - Система смазки двигателя выполняет следующие функции:

·   уменьшает силы трения между трущимися поверхностями и механический износ деталей;

·   уменьшает затраты мощности на преодоление сил трения;

·   обеспечивает отвод тепла от трущихся (поверхностей;

·   выносит из зазоров между трущимися поверхностями продукты износа деталей;

·   предотвращает коррозию деталей.

Для надежной работы силовой установки необходимо знать параметры работы, ограничения по температурам, требования предъявляемые к качеству и свойству авиационных масел.

Знания конструктивных особенностей маслосистем вертолетных авиадвигателей должно быть неотделимой частью знаний пилота при выполнении им своих профессиональных обязанностей.

Цель исследования - Обобщить и углубить знания в процессе изучения масляных систем двигателей ТВ2-117АГ и ТВ3-117ВМ; произвести анализ конструкции и эффективности масляных систем двигателей ТВ2-117АГ и ТВ3-117ВМ.

Объект исследования - Масляные системы двигателей ТВ2-117АГ и ТВ3-117ВМ и их агрегаты.

Задачи исследования:

1.   Подобрать и изучить информацию, относительно масляных систем двигателей ТВ2-117АГ и ТВ3-117ВМ и их агрегатов;

2.   Произвести анализ данных масляных систем;

ГЛАВА 1. ОБЩИЕ СВЕДЕНЬЯ О ВЕРТОЛЕТНЫХ АВИАДВИГАТЕЛЯХ

маслосистема вертолет двигатель смазка

1.1 История развития вертолетного двигателестроения

Потребности дальнейшего развития промышленного производства в Российской Федерации, освоение ее природных богатств требуют активного развития и применения вертолетной авиации. Вертолет, - на сегодня единственный летательный аппарат, не требующий аэродромов. Вертолеты транспортируют грузы и пассажиров в труднодоступные районы, с вертолетов вносятся минеральные удобрения, ведется борьба с вредителями сельскохозяйственных культур, на вертолетах доставляются вахты на буровые и нефтедобывающие установки, вертолеты используются для геологической разведки, аэрофотосъемки, патрулирования и борьбы с лесными пожарами, а также для выполнения сложных монтажных работ.

Первыми советскими вертолетами, широко применявшимися в народном хозяйстве, были вертолеты Ми-1 и Ми-4, начало серийного производства соответственно 1950 и 1952 годы. На вертолетах Ми-1 и Ми-4 были установлены поршневые двигатели. На рубеже 50-60-х годов в гражданскую авиацию стали поступать вертолеты Ми-6, Ми-2, Ми-8. Летно-технические характеристики этих вертолетов по сравнению с Ми-1 и Ми-4 резко возросли: скорость возросла почти в 2 раза, а полезная загрузка более чем в 4 раза, производительность, выраженная произведением полезной нагрузки на скорость, увеличилась в 8 раз. Это стало возможным благодаря совершенствованию конструкции и эксплуатационных качеств вертолета. Главная причина роста летно-технических характеристик вертолетов - применением на них газотурбинных двигателей (ГТД). В настоящее время газотурбинные двигатели применяются на большинстве отечественных и зарубежных вертолетов.

Огромный вклад в создание и развитие современной теории авиационных газотурбинных двигателей внес академик Б. С. Стечкин (1891-1968). В 1929 г. им была опубликована основополагающая работа «Теория воздушного реактивного двигателя», а последующие его работы явились развитием теории рабочего процесса и характеристик ГТД. Под руководством Б. С. Стечкина в ВВИА имени профессора Н. Е. Жуковского была создана научно-методическая школа и написаны общепризнанные фундаментальные учебники по теории авиационных газотурбинных двигателей.

Значительные заслуги в развитии теории газотурбинных двигателей принадлежат профессорам В. В. Уварову, И. И. Кулагину, Н. В. Иноземцеву, Т. М. Мелькумову, К. В. Холщевникову, С. М. Шляхтенко, А, В. Болгарскому, П. К. Казанджану, Ю. Н. Нечаеву, Р. М. Федорову и другим советским ученым.

К началу 30-х годов 20-го столетия учеными и изобретателями было предложено множество схем газотурбинных двигателей, была разработана теория их работы. Это стимулировало проведение исследований по практическому созданию авиационных газотурбинных двигателей.

Широкое применение ГТД в авиации стало возможным лишь с конца 40-х годов 20-го столетия (после окончания второй мировой войны), чему способствовали достижения теории и конструкции двигателей, а также достаточно высокий уровень авиационной металлургии и технологии. Первые ГТД устанавливались на самолеты. Это позволило значительно увеличить их скорость полета, дальность, полезную нагрузку.

Для всего последующего этапа развития авиационных ГТД характерной особенностью является улучшение их тяговых (мощностных) характеристик и экономичности. Это достигалось за счет комплексного совершенствования газодинамической схемы двигателей и параметров рабочего процесса, выразившегося в повышении уровней давления и температуры рабочего тела в двигателях. Следует отметить, что постоянное улучшение основных данных авиационных двигателей привело к значительной интенсификации всех процессов, протекающих в них, и к значительному усложнению конструкции. В свою очередь усложнение конструкции, широкое применение дорогостоящих конструкционных материалов (жаростойких и титановых сплавов), а также установка на двигатель большого числа систем, обеспечивающих его устойчивую работу и управление, привели к сильному увеличению стоимости двигателей. Все это выдвинуло в число первостепенных задач обеспечение надежности двигателей, существенно повысило требования к качеству технического обслуживания и эксплуатации авиационных двигателей.

Большой вклад в развитие авиадвигателестроения и создание высокоэффективных авиационных двигателей внесли коллективы отечественных конструкторских бюро, руководимые в разное время выдающимися учеными и конструкторами A.M. Люлька, В.Я.Климовым, А. А. Микулиным, В. А. Добрыниным, С. К. Туманским, Н. Д. Кузнецовым, А. Г, Ивченко и другими.

Особенно необходимо выделить конструкторов внесших большой вклад в создание вертолетных ГТД:

·   Соловьев П. А. Под его руководством в 1959г был разработан двигатель Д-25В (вертолет Ми-6);

·   Изотов С. П. Под его руководством были разработаны двигатели:

·   ГТД-350 в 1964г (вертолет Ми-2);

·   ТВ2-117 в 1965г (вертолет Ми-8Т);

·   ТВ3-117 в 1972г (вертолет Ми-8МТВ).

Лотарев В.А. Под его руководством в 1982г был разработан самый мощный в мире вертолетный двигатель Д-136 (вертолет Ми-26).

1.2 Принцип работы газотурбинного турбовального авиадвигателя

.2.1 Основные узлы ТВаД

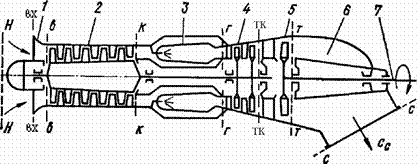
Вертолетным газотурбинным двигателем называется газотурбинный двигатель, силовая (свободная) турбина которого развивает мощность, используемую для привода несущего винта. Принципиальная схема газотурбинного двигателя со свободной турбиной приведена на рис. 1. Основными узлами такого двигателя являются: входное устройство, компрессор, камера сгорания, турбина компрессора, силовая (свободная) турбина и выходное устройство. Основные системы: система приводов, маслосистема, топливная система, система регулирования и управления, противообледенительная система, система запуска.

Рис. 1. Схема турбовального ГТД: 1- входное устройство; 2- компрессор; 3- камера сгорания; 4- турбина компрессора; 5- турбина винта (свободная турбина); 6- выходное устройство; 7 - вал отбора мощности

На примере ТВаД рассмотрим характерные сечения газотурбинного двигателя:

·   «Н» сечение невозмущенного потока, в этом сечении параметры воздуха соответствуют атмосферным;

·   «Вх» сечение на входе во входное устройство двигателя;

·   «В» сечение на входе в компрессор двигателя;

·   «К» сечение на выходе из компрессора двигателя, вход в камеру сгорания;

·   «Г» сечение на выходе камеры сгорания двигателя, вход в турбину;

·   «ТК» сечение на выходе из турбины компрессора (перед свободной турбиной);

·   «Т» сечение на выходе из турбин двигателя, вход в выходное устройство;

·   «С» сечение на выходе из двигателя.

Буквы, обозначающие сечения двигателя, используются в качестве индекса при обозначении величин, характеризующих параметры газа. Например, СС - скорость истечения газа на выходе из двигателя, РК - давление газа за компрессором двигателя и.т. д.

Входное устройство

Входное устройство предназначено для подвода к двигателю необходимого количества воздуха из атмосферы с минимальными гидравлическими потерями. Конструктивно выполнено как сужающийся канал, являющийся составной частью капотов. При движении воздуха во входном устройстве, как в любом сужающемся канале, происходит увеличение скорости, падение давления , снижение температуры .

Компрессор

Компрессор предназначен для повышения давления воздуха. Компрессор конструктивно выполнен как лопаточная машина с вращающемся ротором. В компрессоре происходит повышение энергии воздуха за счет подводимой к его ротору механической энергии. Скорость потока в компрессоре несколько снижается. В компрессоре реализуется термодинамический процесс, приближенный к адиабатному. У вертолетных ТВаД обычно применяется осевой компрессор, т.е. воздух в компрессоре движется вдоль оси двигателя.

Камера сгорания

Камера сгорания предназначена для подвода к воздуху тепла, в результате в камере сгорания происходит значительный рост температуры. При этом профиль проточной части камеры сгорания выбран таким, чтобы по мере продвижения газа происходило некоторое увеличение его скорости и снижение его давления. Термодинамический процесс в камере сгорания близок к изобарическому.

Турбина компрессора

Турбина компрессора предназначена для привода во вращение ротора компрессора. Конструктивно выполнена как лопаточная машина, ротор которой с помощью вала связан с ротором компрессора и вращается заодно с ним. В турбине внутренняя энергия газа преобразуется в механическую т.е. и за счет этого вырабатывается механическая энергия, передаваемая через вал к ротору компрессора и расходуемая на его вращение.

Часть двигателя, включающая в себя компрессор, камеру сгорания, турбину компрессора, называется турбокомпрессором или газогенератором.

Свободная турбина

Свободная турбина предназначена для выработки мощности, необходимой для передачи к главному редуктору вертолета. Процессы, происходящие в свободной турбине аналогичны тем, которые происходят в турбине компрессора.

Выходное устройство

Выходное устройство двигателя (не регулируемое) представляет собой расширяющийся патрубок, обеспечивающий отвод отработанных газов в сторону от двигателя. В выходном устройстве двигателя ТВ2-117 газ, выходящий и свободной турбины активно смешивается с охлаждающим воздухом. В результате давление, температура и скорость газа снижаются.

Система приводов.

Система приводов предназначена для передачи мощности от роторов двигателя к главному редуктору вертолета и агрегатам. К главному редуктору вертолета подводится вся мощность со свободных турбин обоих двигателей. К агрегатам систем двигателей мощность отбирается от ротора турбокомпрессора.

Маслосистема

Маслосистема двигателя для смазки и охлаждения трущихся деталей двигателя, удаления продуктов износа. Маслосистема на двигателе ТВ2-117 выполнена циркуляционной. Основными агрегатами системы являются нагнетающие и откачивающие маслонасосы, фильтры, клапаны и др. Рабочей жидкостью маслосистем является синтетическое масло Б-ЗВ.

Топливная система

Топливная система обеспечивает подачу топлива в камеру сгорания в соответствии с установленным режимом работы двигателя и условиями окружающей среды. Условно всю топливную систему можно разделить на четыре системы:

·   систему низкого давления, обеспечивающую хранение необходимого запаса топлива на вертолете, очистку его от механических примесей и воды и подачу к насосу-регулятору, расположенному на двигателе. Обычно все элементы системы низкого давления расположены на вертолете;

·   систему высокого давления, предназначенную для повышения давления топлива и подачи его в камеру сгорания. Агрегаты системы высокого давления обычно расположены на двигателе;

·   пусковую топливную систему, обеспечивающую подачу пускового топлива при запуске двигателя;

·   систему дренажа, обеспечивающую слив топлива из корпусов камеры сгорания и турбин двигателя после неудавшегося запуска, слив топлива из коллекторов рабочих форсунок после останова двигателя и капельный слив топлива и масла из уплотнений агрегатов, установленных на двигателе.

Система регулирования и управления

Система регулирования и управления включает в себя ряд агрегатов, обеспечивающих регулирование температуры газа перед турбиной и частоты вращения вала двигателя путем дозирования подачи топлива в камеру сгорания. Система регулирования управляет также и другими устройствами, обеспечивая устойчивую работу компрессора, исключая рост параметров рабочего процесса двигателя сверх допустимой величины.

Управление двигателями вертолета осуществляется при помощи ручки «шаг-газ», рукоятки коррекции газа и рычага раздельного управления. Перемещение ручки «шаг-газ» вызывает изменение угла установки несущего винта и перенастройку насоса-регулятора на другую подачу топлива. При этом частота вращения свободной турбины и несущего винта на основных рабочих режимах автоматически поддерживается постоянной. Рукояткой коррекции можно изменить режим работы двигателей, не изменяя угла установки лопастей несущего винта. Для опробования двигателей и в случае отказа одного из них предусмотрено их раздельное управление.

Противообледенительная система

Противообледенительная система обеспечивает обогрев конструкции передней части двигателя и воздухозаборника горячим воздухом, отбираемым из компрессора.

Система запуска

Система запуска обеспечивает автоматический запуск двигателя и включает стартер-генератор, пусковую панель, аккумуляторные батареи (турбогенераторную установку), аэродромную розетку, переключающие контакторы и блокировочные реле. Запуск двигателя может осуществляться как от аэродромных источников питания, так и от бортовых аккумуляторных батарей.

1.2.3 Основные требования предъявляемые к ТВаД силовой установки вертолета

Силовая установка современного вертолета состоит из двух турбовальных двигателей (ТВаД) и главного вертолетного редуктора, который суммирует мощности двигателей и обеспечивает привод несущего и хвостового винтов. Двигатели имеют противоположные направления выходных устройств и незначительные конструктивные особенности, обеспечивающие при необходимости их взаимозаменяемость. Применение в силовой установке двух двигателей повышает безопасность полета, так как при выключении одного из них второй обеспечивает продолжение полета или выполнение безопасной посадки.

Дальность и высота полета, скорость, экономичность и другие характеристики вертолета в значительной мере зависят от технических характеристик двигателей, входящих в состав его силовой установки. К числу основных требований, предъявляемых к вертолетным газотурбинным двигателям, относятся:

·   надежность и долговечность, в течение заданного ресурса;

·   высокая экономичность, определяемая расходом топлива;

·   надежный запуск и хорошая приемистость;

·   допустимый уровень вибрации и шума;

·   малый вес и малые поперечные и продольные размеры;

·   простота и удобство эксплуатации и технического обслуживания;

·   малая стоимость изготовления и ремонта.

Полное выполнение всех этих требований практически невозможно, поэтому при проектировании и изготовлении двигателя обеспечивается выполнение наиболее важных из них. Обычно для каждого типа вертолета проектируются и изготовляются конкретные типы двигателей. Из анализа существующих схем привода несущего винта вертолета видно, что на современном этапе развития двигателестроения наиболее полно удовлетворяет требованиям, предъявляемым к силовому приводу, газотурбинный двигатель со свободной турбиной.

1.3 Режимы работы ТВаД

Режим работы двигателя - состояние работающего двигателя, характеризуемое совокупностью значений мощности, а также параметров рабочего процесса (πк, Т3) и других параметров, определяющих происходящие в нем процессы тепловую и динамическую напряженность его деталей (частота вращения ротора турбокомпрессора nтк, свободной турбины ПСВ и др). В зависимости от изменения параметров двигателя во времени различают установившиеся и неустановившиеся режимы работы двигателя.

Взлетный режим

Взлетный режим работы двигателя - установившийся режим работы двигателя, характеризуется максимальной мощностью Ne, максимальными значениями nтк, nсв, πк, Т3 Работа двигателя на взлетном режиме допускается в течение ограниченного времени.

Взлетный режим применяется при взлете вертолета, может быть также применен при полете на одном двигателе в случае отказа второго.

Номинальный режим

Номинальный режим - установившийся режим работы двигателя, характеризуемый пониженными по сравнению с взлетным режимом значениями Ne, nтк, nсв, πк, Т3. Работа двигателя на номинальном режиме также ограничено по времени.

Эффективная мощность двигателя на номинальном режиме составляет 0,7÷0,9 от Ne на взлетном.Номинальный режим применяется в полете при наборе высоты.

Крейсерский режим

Крейсерский режим - установившийся режим работы двигателя, характеризуемый пониженными по сравнению с номинальным величинами Ne, nтк, nсв, πк, Т3. Продолжительность работы двигателя на крейсерском режиме в течение ресурса не ограничена.

Эффективная мощность двигателя на крейсерском режиме < 0,7 Ne на взлетном.

Крейсерский режим применяется при горизонтальном полете вертолета на максимальную дальность и продолжительность, при полете со снижением.

Режим малого газа

Режим малого газа - установившийся режим работы двигателя с минимальной частотой вращения роторов и мощностью, при которых обеспечиваются его устойчивая работа. При работе на режиме «малый газ» величина мощности двигателя не регламентируется. На режим «малый газ» двигатель выходит после запуска, на этом режиме осуществляется прогрев двигателя после запуска и охлаждение перед остановом.

Время работы двигателя на режиме «малый газ» ограничено, т.к. при длительной работе на этом режиме возможен перегрев подшипниковых узлов из-за недостаточной циркуляции масла и охлаждающего воздуха.

ГЛАВА 2. СИСТЕМА СМАЗКИ.


.1 Общие сведенья о маслосистемах

Масляная система двигателя относится к числу систем, обеспечивающих надежную работу двигателя. От эффективности ее работы в значительной мерс зависит ресурс работы двигателя. Маслосистема обеспечивает циркуляцию масла, при этом масло подводится к трущимся деталям двигателя. Подвод масла к трущимся деталям необходим для:

—     эффективной смазки трущихся поверхностей деталей двигателя с целью уменьшения их износа и наклепа, а также уменьшения сил трения между ними;

—     надежного и достаточно интенсивного охлаждения деталей, т.с. отвода тепла от этих деталей, выделяющегося при трении или передающегося к ним от соседних, более нагретых деталей;

—     промывки трущихся поверхностей с целью удаления с них и выноса из двигателя твердых частиц, образующихся в результате износа;

—     предохранения от коррозии деталей двигателя в процессе его эксплуатации,

Прекращение подачи масла к трущимся деталям приводит к перегреву двигателя, разрушению его подшипников, заклиниванию, а иногда, и к полному разрушению двигателя. В связи с этим к маслосистеме предъявляются следующие требования. Она обеспечивать:

Надежную работу агрегатов системы и бесперебойную подачу масла в двигатель на всех режимах его работы как на земле, так и в полете при любых атмосферных условиях и при любых условиях полета.

Автоматическое поддержание температуры масла в заданных пределах.

Тщательную очистку масла от механических примесей, воздуха и газов.

Быстрый прогрев масла в системе после запуска двигателя.

Условия, препятствующие выбросу масла в атмосферу, а также перетеканию масла из бака в неработающий двигатель.

Необходимый запас масла в системе, достаточный для максимально возможного по продолжительности полета

Герметичность системы и надежность уплотнения соединений и полостей, а значит, минимальные часовые расходы при работе двигателя на земле и в полете и его пожарную безопасность.

Простоту и удобство технического обслуживания, а также замены агрегатов и трубопроводов

.2 ПОНЯТИЕ О ТРЕНИИ И СМАЗКЕ

Необходимость в смазке и охлаждении трущихся деталей двигателя, объясняется тем, что при относительном перемещении соприкасающихся деталей между ними возникает сила трения, величина которой зависит от силы прижатия деталей, их материалов и качества обработки поверхностей. В зависимости от характера относительного движения трущихся деталей различают трение скольжения и трение качения.

Трение скольжения происходит в зубчатых зацеплениях, шлицевых соединениях, в подшипниках скольжения и т. д. При этом в зависимости от способа смазки, количества и сорта поступающего масла возможны три вида трения скольжения:

Сухое трение, происходящее между несмазываемыми поверхностями трущихся деталей, при этом коэффициент трения ц = 0,2-0,5.

Жидкостное трение, когда трущиеся поверхности разделены прослойкой масла (ц = 0,003-0,010).

Граничное трение, если смазанные поверхности частично непосредственно соприкасаются между собой (ц = 0,01-0,10).

Трение качения происходит в шариковых и роликовых подшипниках. Коэффициент трения для шариковых подшипников равен: и = 0,001 - 0,003 и для роликовых подшипников ц = 0,002 - 0,007.

По сравнению с подшипниками скольжения подшипники качения имеют меньшие силы трения, почти не зависящие от скорости вращения, меньший на1рев, более высокую работоспособность при высоких рабочих температурах, менее чувствительны к сортам масел. Поэтому подшипники качения нашли самое широкое применение на газотурбинных двигателях.

При качении одной детали по другой, наряду с трением качения, обусловленного взаимной деформацией деталей, неизбежно возникает и трение скольжения из-за наличия ограничительных колец или буртиков и сепараторов, удерживающих детали качения. Смазка между катящимися деталями оказывает влияние на величину сил трения. Наличие масляной пленки на поверхностях трущихся деталей способствует более равномерному распределению напряжений по пятну контакта, а значит, увеличению долговечности деталей. Кроме того, наличие масляной пленки предотвращает металлический контакт между трущимися деталями, что снижает величину износа деталей. Наличие масла в контакте снижает величину сил трения, а значит и количество выделяемого при трении тепла

В зависимости от видов трения, скорости перемещения трущихся поверхностей, нагрузок на детали и температурных режимов двигателя для каждого типа двигателя опытным путем подбирается сорт и вязкость масла. От вязкости масла зависят такие эксплуатационные показатели, как потери мощности на трение, износ трущихся поверхностей деталей, прокачка масла через двигатель, легкость и быстрота запуска двигателя, расход масла и др.

2.3 Принцип работы маслосистемы двигателя ТВ2-117АГ

Маслосистема двигателя включает в себя верхний масляный агрегат, нижний масляный агрегат, магистральные трубопроводы, воздушно-масляный радиатор, масляный бак и расширительный бачек.


Рис. 2. Схема масляной системы двигателя: 1 - масляный бак; 2 - масляный насос нагнетающий; 3 - масляный фильтр; 4 и 11-запорные клапаны; 5 - редукционный клапан; 6 - манометр; 7 - радиатор; 8, 9, 10, 13, 14 и 15 - масляные насосы откачивающие; 12 - термометр; 16 - центробежный суфлер; 17 - расширительный бачок

При работе двигателя масло из масляного бака 1 (рис. 2) вертолета по внешнему трубопроводу подводится к штуцеру в передней части корпуса коробки приводов. От штуцера по сверлению внутри корпуса коробки приводов масло подводится в заднюю часть коробки к фланцу крепления верхнего масляного агрегата и поступает на вход в нагнетающий масляный насос 2.

Нагнетаемое масляным насосом 2 масло проходит масляный фильтр 3, запорный клапан 4 по наружным трубопроводам, каналам в корпусах опор роторов двигателя и форсункам поступает к точкам смазки.

В нагнетающей магистрали системы смазки требуемое давление масла поддерживается редукционным клапаном 5. Давление измеряется манометром 6 в трубопроводе подачи масла к корпусам опор роторов двигателя.

Масло от точек смазки откачивается нижним масляным агрегатом, который включает в себя пять откачивающих насосов 8, 9, 10, 13 и 14. Из полости коробки приводов масло откачивается шестым откачивающим насосом 15, расположенным в верхнем масляном агрегате.

*Воздушно-масляный радиатор, масляный бак и расширительный бачек входят в состав внешней маслосистемы.

Из откачивающих насосов масло через запорный клапан 11 направляется в радиатор 7 и из него возвращается в масляный бак 1. Для предотвращения перетекания масла из бака в двигатель на стоянке в схеме предусмотрены два запорных клапана 4 и 11 в нагнетающей и откачивающей магистралях.

Температура выходящего из двигателя масла измеряется термометром 12 в магистрали отвода масла из нижнего масляного агрегата в радиатор.

В систему суфлирования двигателя входят центробежный суфлер 16, расположенный в коробке приводов, и расширительный бачок 17, установленный на вертолете.

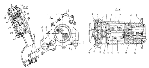
Верхний масляный агрегат

Верхний масляный агрегат (рис. 3) расположен задней стенке корпуса коробки приводов с правой стороны и включает в себя блок масляных насосов 8, сетчатый фильтр 7, запорный клапан 6, редукционный клапан 19 и узел крышки фильтра. Все эти элементы заключены в общий магниевый корпус 4, имеющий два наружных штуцера: штуцер 1 для выхода масла, откачиваемого из коробки приводов, и штуцер 2 для отвода масла, нагнетаемого к точкам смазки двигателя.

Рис. 3. Верхний масляный агрегат: 1 - штуцер отвода масла, откачиваемого из коробки приводов; 2 - штуцер подачи масла к масляным полостям двигателя; 3 - траверса; 4 - корпус фильтра; 5 - диск разделительный; 6 и 24 - клапаны; 7 - фильтр; 8 - блок масляных насосов; 9, 14, 15 и 17 - кольца уплотнительные; 10 - насос откачивающий; 11- насос нагнетающий; 12 - фильтроэлементы; 13 - каркас; 16 и 23 - пружины; 18 и 26 - крышки; 19 - клапан редукционный; 20 - кольцо стопорное; 21 - трубки переходные; 22 - кольцо регулировочное; 25 - корпус клапана; 27 - фильтр; 28- пружина

Канал А для подачи масла в нагнетающий насос и канал Б для подачи масла в откачивающий насос соединены через переходные трубки 21 с соответствующими каналами в корпусе коробки приводов.

Блок 8 масляных насосов состоит из двух насосов - нагнетающего 11 и откачивающего 10; оба насоса заключены в корпусы из магниевого сплава. Подшипниками ведущего валика насосов служат бронзовые втулки, запрессованные в корпус.

Масляный фильтр 7 состоит из 15 сетчатых дисковых фильтроэлементов 12, собранных на стальном каркасе 13, разделительного диска 5, запорного клапана 6 с пружиной 16, установленных в верхней части каркаса в зоне фильтрованного масла, и крышки 18 с траверсой 3. Крышка фильтра, разделительный диск и посадочный поясок корпуса фильтра снабжены уплотнительными резиновыми кольцами 17, 15, 14 и 9.

Нагнетаемое насосом масло подводится в полость Д корпуса агрегата, проходит внутрь фильтроэлементов и каркаса, отжимает запорный клапан и поступает в полость Г, откуда направляется к масляным полостям двигателя.

По каналу В масло направляется в коробку приводов и к первой опоре роторов двигателя, затем через штуцер 2 по наружной трубке - к остальным опорам роторов двигателя.

Редукционный клапан 19 нагнетающего насоса состоит из стального корпуса 25 с цементированным седлом, тарельчатого клапана 24, имеющего четыре направляющих пера, пружины 23, регулировочных колец 22, стопорного кольца 20, сетчатого фильтра 27 и пружины 28. Редукционный клапан регулируют изменением поджатая пружины при помощи регулировочных колец 22. Редукционный клапан установлен в корпусе масляного агрегата и закрыт крышкой 26, которую пломбируют после регулировки клапана.

Внешний вид верхнего маслоагрегата и компоновка его основных узлов показаны на рисунке 4.

Схема работы верхнего маслоагрегата показана на рисунке 4.

Рис. 4. Верхний масляный агрегат: 1- штуцер отвода масла, откачиваемого из коробки приводов; 2- корпус; 3- крышка фильтра; 4- траверса; 5-вороток; 6- крышка редукционного клапана; 7- штуцер подачи масла к масляным полостям двигателя

Рис. 5. Схема работы верхнего масляного агрегата: 1- канал подвода масла в откачивающий насос;2- канал подвода масла в нагнетающий насос; 3- откачивающий насос; 4- нагнетающий насос; 5 - сетчатый фильтр; 6- редукционный клапан; 7- штуцер подачи масла в нагнетающую магистраль; 8- запорный клапан; 9- канал откачивающей магистрали; А - полость всасывания; Б - полость нагнетания

Нижний масляный агрегат

Нижний масляный агрегат (рис. 6) расположен в нижней части двигателя и закреплен на шпильках к корпусу первой опоры ротора двигателя. Назначение агрегата - откачивать отработанное (нагретое) масло от пяти точек двигателя, от всех пяти опор роторов двигателя и возвращать его по масляной магистрали через воздушно-масляный радиатор в масляный бак вертолета. Нижний масляный агрегат включает в себя пять откачивающих насосов, расположенных в два ряда: три насоса в верхнем ряду и два насоса в нижнем. На схеме масляной системы (см. рис. 6) насосы для наглядности расположены раздельно и в один ряд.

Рис. 6 Нижний масляный агрегат (вид снизу)

Рис. 7 Нижний масляный агрегат: а и б - разрезы; в - схема циркуляции масла; г - вид сверху;1 и 4 - зубчатые колеса I ступени редуктора; 2 и 5 - зубчатые колеса II ступени редуктора; 3 - редуктор; 6 - корпус насоса верхний; 7 -клапан запорный; 8 - корпус насоса нижний; 9 - крышка; 10 - ось зубчатых колес; 11 - нижний ряд насосов; 12 -верхний ряд насосов; 13 - кран сливной; 14, 15, 17, 18 и 19 - штуцеры подвода масла в агрегат; 16 - штуцер отвода масла из агрегата

Нижний масляный агрегат состоит из следующих узлов (рис. 7): двух магниевых корпусов - верхнего 6 и нижнего 8, крышки 9, двух рядов шестеренчатых насосов - верхнего 12 и нижнего 11, трех бронзовых осей 10, на которых вращаются зубчатые колеса насосов, двухступенчатого редуктора 3, понижающего число оборотов привода насосов, запорного клапана 7, сливного крана 13, пяти приемных штуцеров 14, 15, 17, 18, 19 и выходного штуцера 16,

Верхний корпус, нижний корпус и крышка соединены между собой шпильками.

В агрегате верхний ряд насосов состоит из четырех зубчатых колес (для трех насосов), а нижний ряд насосов - из трех зубчатых колес (для двух насосов). Каждое зубчатое колесо, кроме двух крайних, является рабочим элементом одновременно для двух насосов. Зубчатые колеса насосов верхнего и нижнего рядов по конструкции одинаковы, но колеса насосов верхнего ряда имеют большую высоту.

Следовательно, насосы верхнего ряда имеют большую производительность, чем насосы нижнего ряда.

Принцип работы одного ряда насосов показан на схеме (см. рис. 7). Зубчатые колеса нижнего масляного агрегата приводятся во вращение от центрального привода двигателя через нижнюю вертикальную рессору и понижающий редуктор.

Редуктор агрегата - двухступенчатый, I ступень редуктора составляют зубчатые колеса 1 и 4, II ступень - зубчатые колеса 2 и 5. Запорный клапан 7 агрегата смонтирован в приливе верхнего корпуса под штуцером 16 отвода масла в радиатор.

В нижнем корпусе агрегата установлены два штуцера - 15 и 18 для трубопроводов магистрали откачки масла. Через штуцер 15 откачивается масло от третьей, а через штуцер 18 - от пятой опор роторов двигателя.

В верхнем корпусе агрегата установлены четыре штуцера, из которых три штуцера 14, 17 и 19 служат для трубопроводов магистрали откачки масла, а штуцер 16 - для трубопровода отвода масла из агрегата в радиатор. Через штуцер 14 откачивается масло из коробки приводов, через штуцер 17 - от второй, а через штуцер 19 - от четвертой опор роторов двигателя. От первой опоры роторов двигателя масло сливается в полость корпусов нижнего масляного агрегата.

Выходной штуцер 16, установленный на верхнем корпусе, соединен с полостью Л, объединяющей выходные стороны обоих рядов насосов. В нижней части этой полости установлен сливной кран 13. Для обеспечения герметичности полостей агрегата в соединения корпусов и крышки, а также в соединения всех штуцеров с корпусами установлены уплотнительные резиновые кольца.

Система суфлирования двигателя

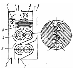
Система суфлирования двигателя предназначена для сообщения масляных полостей двигателя с атмосферой, обеспечения работы масляных уплотнений и воздушно-масляных лабиринтов и для устранения возможности перетекания масла через уплотнения в проточную часть двигателя при повышении давления в масляных полостях опор роторов двигателя. Система суфлирования (рис. 8) состоит из системы суфлирующих каналов, трубопроводов и центробежного суфлера.

Суфлирование полостей опор роторов двигателя осуществляется двумя способами: суфлированием предмасляных полостей непосредственно в атмосферу и суфлированием масляных полостей через центробежный суфлер коробки приводов.

Предмасляные полости задней опоры ротора компрессора (полость Б) и задней опоры ротора турбины компрессора (полость Г), в которые может прорываться воздух под повышенным давлением из проточной части двигателя, суфлируются непосредственно в атмосферу через каналы в корпусах и наружные трубки 6 и 5. Концы трубок выведены к срезу выхлопного сопла.

Рис. 8. Схема системы суфлирования полостей опор роторов двигателя: I - V - опоры двигателя; 1 - центробежный суфлер; 2 - трубка суфлирования масляной полости II опоры; 3 - трубка суфлирования масляной полости III опоры; 4 - трубка суфлирования полости V опоры; 5- трубка суфлирования предмасляной полости III опоры; 6-трубка суфлирования предмасляной полости II опоры

Масляные полости задней опоры ротора компрессора (полость В), задней опоры ротора турбины компрессора (полость Д) и опоры ротора свободной турбины (полости Е и Ж) через каналы в корпусах и наружные трубки 2, 3 и 4 суфлируются через приводной центробежный суфлер 1, расположенный в коробке приводов.

Воздух, отделенный в суфлере от масла, выводится за борт вертолета. Суфлирование коробки приводов также осуществляется через центробежный суфлер. Полость передней опоры ротора компрессора (полость А) не суфлируется.

Суфлирование масляного бака осуществлено независимо от системы суфлирования двигателя.

Масляный бак суфлируется через расширительный бачок 17 (см. рис.2), в котором масло отделяется от воздуха, путем конденсации. Масляный конденсат собирается в нижней части расширительного бачка, сообщающегося с маслобаком.

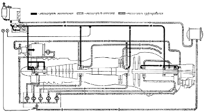
Схема объединенных масляной и суфлирующей систем двигателя приведена на рис. 9.

Рис. 9. Объединенная схема масляной и суфлирующей систем двигателя

.4 Принцип работы маслосистемы двигателя ТВ3-117ВН

Система смазки двигателя предназначена для:

· уменьшения силы трения между соприкасающимися поверхностями тем самым, предохраняя их от чрезмерного механического износа;

· уменьшения затрат мощности на преодоление сил трения;

· обеспечения отвода тепла от трущихся поверхностей;

· выноса из зазоров между трущимися поверхностями металлических частиц, образовавшихся в результате износа деталей;

· предотвращения коррозии деталей;

· уменьшения шума.

Система смазки должна обеспечивать бесперебойную подачу в необходимых количествах и при заданной температуре масла к трущимся деталям на всех режимах работы двигателя, а также быстрый запуск двигателя во всем диапазоне температур эксплуатации вертолета. Система должна иметь необходимый запас масла, обеспечивать его минимальный часовой расход, высокую пожарную безопасность, простоту в эксплуатации и удобство технического обслуживания.

Система смазки двигателя автономная, открытая, нормально замкнутая с принудительной циркуляцией масла.

· автономная - система смазки не связана с другими маслосистемами и обеспечивает надежную работу только одного двигателя.

· открытая - в открытых системах маслобак сообщен с атмосферой.

· нормально замкнутая - в такой системе масло циркулирует по замкнутому контуру (бак - двигатель - радиатор - бак).

· с принудительной циркуляцией масла - характеризуется тем, что одно и тоже масло циркулирует по замкнутому контуру с помощью маслонасосов, восстанавливая свои свойства.

При работе двигателя масло из маслобака самотеком по трубопроводу поступает на вход к шестеренчатому маслонасосу, который под давлением направляет его к маслофильтру и редукционному клапану.    Редукционный клапан поддерживает постоянное давление масла 3 кГс / cм 2 ± 0,5 кГс / cм2.

Масло, пройдя запорный клапан, поступает на смазку и охлаждение опор роторов турбокомпрессора и свободной турбины, трущихся деталей коробки приводов, привода регулятора свободной турбины и маслоагрегата.

Масло, откачиваемое из опор, объединяется в единый поток и пройдя датчик температуры масла, сигнализатор наличия стружки в масле, запорный обратный клапан, по внешнему трубопроводу направляется в воздушно-масляный радиатор. В радиаторе масло охлаждается воздушным потоком. Из радиатора охлажденное масло поступает в маслобак. Из коробки приводов двигателя, из масляной полости первой опоры двигателя и полости центрального привода масло откачивается дополнительным откачивающим насосом непосредственно в маслобак, минуя воздушно-масляный радиатор.

Рис. 10. Принципиальная схема масло системы двигателя ТВ3-117ВН

Маслоагрегат МА-78

В корпусе маслоагрегата размещены следующие агрегаты:

·   один нагнетающий шестерёнчатый насос;

·   пять откачивающих шестерёнчатых насосов;

·   запорный клапан ЗК-1 (препятствующий перетеканию масла из маслобака в двигатель при его останове);

·   запорный клапан ЗК-2 (препятствующий перетеканию масла из радиатора в двигатель при его останове);

·   редукционный клапан (поддерживающий давление в питающей магистрали 3 кГс / cм 2  0,5 кГс / см 2).

При повышении давления масла сверх заданного значения редукционный клапан перепускает часть нагнетаемого масла на вход в нагнетающий насос.

Производительность нагнетающего насоса - 30 л /мин. Суммарная производительность пяти откачивающих насосов маслоагрегата -174 л / мин. Откачивающие насосы обеспечивают полную откачку масла из всех точек смазки двигателя.

Рис. 11. Маслоагрегат МА-78: 1ведущая шестерня редуктора; 2ведущая шестерня насоса; 3верхний корпус откачивающих насосов; 4корпус откачивающих насосов; 5промежуточный корпус; 6корпус нагнетающего насоса; 7штуцер входа масла из II опоры; 8штуцер выхода масла из II, III и IV опор в радиатор; 9запорный клапан (ЗК1); 10пружина редукционного клапана; 11редукционный клапан; 12запорный клапан (ЗК2); 13штуцер стравливания воздуха; 14штуцер подвода масла из маслобака в нагнетающий насос; 15регулировочный винт редукционного клапана; 16штуцер подвода масла на смазку редуктора маслоагрегата; 17штуцер выхода масла из нагнетающего насоса; 18штуцер выхода масла из I опоры и центрального привода в маслобак

Масляный фильтр.

Масляный фильтр предназначен для очистки масла от продуктов разложения масла и посторонних частиц.

Рис. 12 Масляный фильтр: 1крышка; 2корпус; 3набор фильтроэлементов; 4штуцер выхода масла;5, 7 уплотнительные кольца; 6каркас крышки маслофильтра; 8траверса; 9винт

На каркасе крышки (6) маслофильтра установлен набор из 18 фильтроэлементов (рис.12). Это количество обусловлено необходимостью обеспечения требуемой прокачки масла при минимальном гидравлическом сопротивлении на фильтроэлементе.

В качестве материала фильтрующего элемента (3) применяется металлическая сетка с размером ячейки 0,063 мм.

Масло под давлением поступает к входному штуцеру корпуса маслофильтра. Далее, пройдя боковые поверхности набора фильтроэлементов, поступает во внутреннюю полость каркаса.

Очищенное масло через выходной штуцер (4) по трубопроводам поступает в масляные магистрали двигателя. Кроме того, по двум каналам в корпусе масляного фильтра масло подается на первую опору двигателя и коробку приводов двигателя.

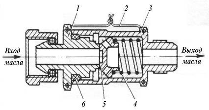
Отсечной клапан.

Отсечной клапан предназначен для предотвращения переполнения маслом четвертой и пятой опор двигателя при частоте вращения ротора турбокомпрессора ниже 15% и предотвращения перетекания масла в выхлопной патрубок на неработающем двигателе.

Рис.13. Отсечной клапан: 1входной штуцер; 2контровочная проволока; 3выходной штуцер; 4пружина; 5запирающий элемент; 6уплотнительное кольцо

При запуске двигателя, когда давление в масляных магистралях возрастает до 0,3  0,05 кГс/см 2 запирающий элемент отсечного клапана(2) перемещаясь, сжимает пружину и открывает доступ масла к четвертой и пятой опорам двигателя.

Защитный фильтр.

Защитный фильтр предназначен для предотвращения попадания крупных частиц износа в откачивающие насосы маслоагрегата.

Устанавливается защитный фильтр на штуцер трубопровода откачки масла от четвертой и пятой опор двигателя. Защитный фильтр состоит из стакана, фильтрующей сетки с размером ячейки 1,0 мм и двух каркасных планок.

Рис. 14. Защитный фильтр: 1трубопровод откачки масла от IV и V опор двигателя; 2планка; 3сетка фильтра; 4стакан; 5штуцер откачки масла от IV и V опор двигателя

Перепускной клапан.

Перепускной клапан предназначен для перепуска откачиваемого от задних опор двигателя масла мимо радиатора в случае повышения противодавления на линии откачки масла выше допустимого. Перепускной клапан расположен на штуцере отвода масла к радиатору.

Дополнительный откачивающий насос

Дополнительный откачивающий маслонасос предназначен для откачки масла из коробки приводов. Насос шестеренчатого типа с производительностью 25 л / мин.

.

Рис. 15. Дополнительный откачивающий насос: 1ведущая шестерня; 2валик привода датчика частоты вращения ротора турбокомпрессора; 3ведомая шестерня; 4приводной валик коробки приводов двигателя; 5перегородка сапуна; 6трубка входа масла из коробки приводов двигателя

Ведомая (1) и ведущая (3) шестерни приводятся во вращение валиком (4), который хвостовиком соединяется с гнездом шестерни коробки приводов двигателя. Ведущая шестерня (3) вращается на двух упорнорадиальных подшипниках, ведомая (1) на подшипнике скольжения.

Привод датчика частоты вращения ротора турбокомпрессора Д2МТ осуществляется от валика (2).

Масло из коробки приводов по трубке (6) поступает в корпус насоса и откачивается шестернями (1,3). При этом во внутренней полости коробки приводов двигателя создаётся разряжение, величина которого поддерживается в заданных пределах с помощью сменных жиклёров сапуна.

Воздушно - масляный радиатор

Воздушно - масляный радиатор предназначен для охлаждения масла выходящего из двигателей. Радиатор состоит из плоских трубок, образованных гофрами, по которым пропускается масло. Между трубками продувается холодный воздух, забираемый из атмосферы вентиляторной установкой вертолета.

Рис. 16 Воздушномасляный радиатор: 1соты маслорадиатора; 2гофрированная фольга; 3корпус термопатрона; 4теплочувствительный элемент; 5шток; 6клапан; 7корпус маслорадиатора; 8пружина; 9гильза; 10предохранительная пружина.

Для улучшения теплопередачи боковые стенки трубок соединяются между собой гофрированной фольгой, тем самым, увеличивая площадь охлаждаемой поверхности.

Для ускорения прогрева масла после запуска двигателя и предохранения трубок радиатора от повышенного давления при низких температурах масла (что может привести к их разрушению) служит термостатический клапан. При нормальной (рекомендуемой) температуре масла, большая его часть проходит через трубки маслорадиатора, а меньшая часть через частично открытый термостатический клапан в маслобак.

При низких температурах масла теплочувствительный элемент сжимается и пружина, воздействуя через подвижную втулку на шток, открывает клапан. При этом основная часть масла перепускается в маслобак, минуя масляно - воздушный радиатор.

При достижении перепада давления масла на клапане 2,5 - 4,5 кГс/см 2 сжимается предохранительная пружина, и термостатический клапан открывается независимо от температуры масла, предотвращая тем самым разрыв трубок маслорадиатора.

Система суфлирования

Система суфлирования - часть маслосистемы двигателя, предназначенная для удаления воздуха из масляных полостей в атмосферу или в проточную часть двигателя, очистки этого воздуха от масла с возвращением последнего в масляную систему.

Суфлирование - это сообщение воздушных и масляных полостей двигателя с атмосферой. Оно необходимо для предупреждения выброса масла через уплотнения в проточную часть двигателя, при повышении давления в этих полостях (из-за нагрева масла или прорыва воздуха и газа из проточной части двигателя через уплотнения).

Суфлирование масляных полостей двигателя осуществляется за счет интенсивной откачки масляно - воздушной эмульсии в маслобак двигателя откачивающими насосами повышенной производительности.

Маслобак двигателя сообщается с атмосферой через расширительный бачок, установленный внутри маслобака.

Сапун

Сапун предназначен для поддержания заданного разряжения в коробке приводов и в полости первой опоры двигателя, обеспечивающего работоспособность привода топливных агрегатов и графитового уплотнения первой опоры. Сапун гидравлически не связан с рабочими полостями дополнительного откачивающего насоса (рис.15). Полость первой опоры двигателя соединена с атмосферой через сапун с регулируемым жиклером.

Перегородка сапуна (5) предназначена для предотвращения выбивания масла из коробки приводов двигателя в атмосферу с возвращением последнего в масляную систему.

 

ГЛАВА 3. эксплуатационные ограничения


.1 Эксплуатационные ограничения маслосистемы двигателя ТВ2- 117АГ

Основные данные маслосистемы двигателя ТВ2-117

Сорт масла:

‒ синтетическое Б-ЗВ с кинематической вязкостью при 100°С не ниже 5 сСт

‒ Емкость маслосистемы, л                                                         16

‒ Количество масла, заливаемого при заправке маслосистемы, л:

‒ в маслобак                                                                                 10

‒ в картер двигателя                                                                    1,5

‒ в маслорадиатор                                                                       2,2

‒ в трубопроводы                                                                        2,3

‒ Давление масла в системе, кгс/см2:

‒ на рабочих режимах                                                           3, 5±0,5

‒ на малом газе, не менее                                                               2

‒ минимальная для выхода на режимы выше малого газа           +30

‒ минимальная для длительной работы на рабочих режимах     +70

‒ рекомендуемая                                                              +90 ÷ +100

‒ максимальная                                                                      +125

‒ Полная прокачка масла через двигатель на номинальном режиме

‒ при температуре масла на входе в двигатель +75±5°С, л/мин  17 ±2

‒ Расход масла не более, л/ ч                                                      0,5

3.2
Эксплуатационные характеристики применяемой смазки ТВ2- 117АГ

Выбор сорта масла для смазки двигателя определяется температурным режимом и действующими на смазываемые детали механическими нагрузками. Широко применяемые для смазки деталей поршневых и ряда типов газотурбинных двигателей минеральные масла по сгноим физико-химическим свойствам не обеспечивают надежной работы двигателей в широком диапазоне температур. Наиболее существенным недостатком этих масел является недостаточная стабильность их фракционного состава, приводящая к ухудшению вязкостно-температурных характеристик. В свою очередь, это ухудшает смазывающую способность масел, ухудшает запуск двигателя, особенно при эксплуатации вертолета в условиях внешних низких температур.

Немаловажную роль играет, и фактор увеличения стоимости исходного сырья для получения минеральных масел. Поэтому в настоящее время на ряде типов вертолетных ГТД применяются более перспективные синтетические масла. Наибольшее распространение получили полимерные кремнийорганические соединения, называемые силиконами.

Для смазки двигателей и трансмиссии вертолета Ми-8 применяется синтетическое масло Б-ЗВ, которое обладает хорошими смазывающими свойствами и высокой термохимической стабильностью. Это позволяет надежно эксплуатировать двигатели при температуре масла до 200° С. Ограничение максимальной температуры масла (125° С) определяется допустимой степенью нагрева смазываемых деталей.

Низкая температура застывания масла позволяет запускать двигатели без предварительного подогрева при температуре окружающего воздуха до -40° С. Из-за незначительной испаряемости расход масла в двигателях небольшой. Кроме того, из-за большой химической инертности масло Б-ЗВ сохраняет свои качества в течение длительного времени.

Наряду с положительными качествами синтетическая смазка имеет ряд особенностей. Масло Б-ЗВ является высокотоксичной жидкостью; особенно ядовиты пары масла. Поэтому, обращаясь с маслом, следует строго выполнять необходимые меры техники безопасности. Масло Б-ЗВ вызывает «набухание обыкновенной резины и других органических материалов, которые могут применяться в качестве прокладок и шлангов. Не допускается попадание масла на лакокрасочные покрытия и электропроводку, которые могут им разрушаться. В процессе эксплуатации не допускается смешивание минерального и синтетического масел, а также не допускается попадание топлива в маслосистему с синтетической смазкой.

Физико-химические характеристики масла Б-ЗВ

‒ Кинематическая вязкость Б сСТ.: при 100° С (не менее)                  5

‒ При 350С (не более)                                                                    14000

‒ Температура вспышке в открытом тигле 0С (не ниже )                230

‒ Температура застывания, 0С (не выше )                                       60

‒ Вода % (не более)                                                                        0.15

‒ Механические примеси , % (не более)                                        0.15

‒ Плотность при 200С, г/см3                                             0,990 ÷ 0,997

3.3 Эксплуатационные ограничения маслосистемы двигателя ТВ3- 117АГ

Основные данные масляной системы:

‒ Емкость маслосистемы                                                                17 л

‒ Количество масла, заливаемого в маслобак                            8...11 л

‒ Расход масла  не более                                                             0,3 л/ч

‒ Прокачка масла через двигатель на номинальном режиме работы  21...28 л/мин

‒ Давление масла на режиме малого газа не менее                   2 кгс/см2

‒ Давление масла на остальных режимах                         3...4 кгс/см2

‒ Температура масла на выходе из двигателя: минимальная для выхода на режиме выше малого газа                                                            +30° С

‒ Температура масла на выходе из двигателя: минимальная для длительной работы на крейсерских режимах и выше                                 70° С

‒ Температура масла на выходе из двигателя: рекомендуемая    80÷140° С

‒ Температура масла на выходе из двигателя: максимальная         150° С

В маслосистеме двигателя используется синтетическое масло Б-3В (ЛЗ-240 и импортные аналоги) с кинематической вязкостью при 100 °С не менее 5 сСт.

3.4 Эксплуатационные характеристики применяемой смазки ТВ3- 117ВН

Для смазки трущихся деталей двигателя применяется синтетическое полиэфирное масло Б-3В, которое обладает хорошими смазывающими свойствами и высокой термохимической стабильностью. Это позволяет эксплуатировать двигатели при температуре масла до 200 0С. Вследствие низкой температуры застывания масла, разрешается производить запуск двигателей при температуре окружающего воздуха до - 400С. Слабая испаряемость делает расход масла незначительным.

Большая химическая инертность масла Б-3В позволяет сохранять ему свои качества в течение длительного периода времени.

Наряду с положительными качествами синтетическое масло имеет ряд недостатков. Масло Б-3В является высокотоксичным. Особенно ядовиты пары масла. Масло может причинить вред организму человека при вдыхании его паров или при попадании масла на открытые участки кожи. Масло Б-3В вызывает набухание обыкновенной резины и других органических материалов (кожа, ткань и т.д.) которые могут использоваться в качестве прокладок, шлангов. Не допускается попадание масла на лакокрасочные покрытия и электропроводку.

Для обеспечения надежной работы двигателя необходим строгий контроль технического состояния и работоспособности маслосистемы. Контроль работоспособности маслосистемы осуществляется в процессе технического обслуживания, предполетного осмотра и во время выполнения полета.

Одним из важнейших контролируемых параметров является часовой расход масла. Расход масла должен быть не более 0,3 л/ час. При обнаружении повышенного расхода масла двигатель снимается с эксплуатации и отправляется в ремонт. Основными причинами повышенного расхода масла являются:

·   появление утечек масла по внешним соединениям масляных магистралей;

·   выброс масла через систему суфлирования из-за попадания воды в масло;

·   изменение химического состава масла;

·   нарушение уплотнений масляных полостей;

·   разрушение маслорадиаторов.

 

ГЛАВА4. ВОЗМОЖНЫЕ НЕИСПРАВНОСТИ СИСТЕМЫ СМАЗКИ ПРИ ЭКСПЛУАТАЦИИ И ИХ ПРЕДУПРЕЖДЕНИЕ


4.1 Характерные неисправности масло системы двигателя ТВ2 - 117АГ

Опыт эксплуатации двигателей показывает, что наиболее вероятны следующие неисправности системы смазки и суфлирования.

.  Падение давления масла на выходе из нагнетающего масляного насоса. При этом резко уменьшается количество масла, поступающего на смазку подшипников опор и зубчатых передач двигателя. Наиболее неблагоприятно падение давления масла сказывается на работе подшипников, которые при недостаточной смазке могут разрушаться.

Основными причинами падения давления масла являются:

·   засорение фильтра тонкой счистки масла механическими примесями, частицами нагара или другими продуктами коксования масла;

·   подсос воздуха через негерметичные соединения на линии масляный бак нагнетающий масляный насос; в этом случае при неработающем двигателе в месте не герметичности возможно появление подтекания масла;

·   недостаточное количество масла в масляном баке вследствие недостаточной заправки, утечек, большого расхода масла при работе двигателя, из-за недостаточной откачки масла (частичная закупорка маслорадиатора);

·   уменьшение вязкости масла вследствие его перегрева или изменения химического состава; три этом количество масла, поступающего в двигатель, увеличивается, смазывающая способность масла ухудшается и не обеспечивается нормальная смазка трущихся поверхностей;

·   заедание редукционного клапана в открытом (положении, чаще всего из-за попадания под его фаску частиц нагара или случайных механических примесей; при этом давление масла на повышенных режимах работы двигателя может сохраняться в допустимых пределах, но при уменьшении режима резко уменьшается, так как через клапан непрерывно перепускается масло из линии нагнетания обратно на вход в насос;

·   образование воздушной пробки в трубопроводе подвода масла к нагнетающему насосу или закупорка суфлирующей трубки маслобака; в этом случае падения давления масла (или отсутствие давления) наблюдается сразу после запуска двигателя.

Как показывает опыт эксплуатации, воздушная пробка на входе в нагнетающий насос образуется при длительной стоянке двигателя, после замены масла в маслосистеме, после съемки для осмотра масляного фильтра, при заедании в открытом положении запорного клапана и при работе двигателя с недостаточным количеством масла в баке.

В зависимости от причины, вызвавшей неисправность, падение давления масла в маслосистеме двигателя может быть устранено следующими способами:

·   промывкой масляного фильтра; если обнаруживается значительное загрязнение масла механическими примесями или продуктами коксования, то необходима замена масла;

·   устранением не герметичности соединений на линии маслобак нагнетающий насос;

·   дозаправкой маслом бака до установленного уровня;

·   заменой масла в случае обнаружения изменения его химического состава или значительного загрязнения;

·   промывкой редукционного клапана, а при необходимости - и его регулировкой;

·   подогревом масла перед запуском двигателя при температурах ниже минус 40° С;

·   удалением воздушной пробки из магистрали подвода масла к нагнетающему насосу обычно путем зали1вки небольшого количества масла на вход в насос через полость фильтра заливочным: шприцем.

2.   Повышение температуры масла на выходе из двигателя. При этом значительно уменьшается отвод тепла от подшипников и других трущихся деталей двигателя, что может приводить к разрушению подшипников опор двигателя.

Причинами повышения температуры масла могут быть:

·   недостаточное количество масла в баке, вследствие чего время циркуляции его уменьшается и увеличивается количество тепла, отводимого маслом от смазывающих узлов; для устранения этой причины необходимо дозаправить масляный бак маслом до установленного уровня;

·   засорение сот маслорадиатора с внешней стороны, для устранения чего необходимо очистить соты радиатора вручную;

·   недостаточный обдув маслорадиатора вследствие неправильной установки поворотных лопаток направляющего аппарата вентилятора; устраняется дефект правильной регулировкой поворотных лопаток;

3.   Повышенный расход масла из системы двигателя. Эта неисправность может не вызывать внешних нарушений в работе двигателя и определяется практически после полета при проверке уровня масла в баке. Однако значительный расход масла может вызвать падение давления и повышение температуры масла, т. е- нарушение нормальной работы маслосистемы.

Причины повышенного расхода масла могут быть следующие:

. Течи масла во внешних соединениях маслопроводов и агрегатов маслосистемы. Места течей масла определяются при техническом осмотре силовой установки после полета по наличию следов подтекания масла. Подтекание масла из внешних соединений элементов маслосистемы не допускается. При обнаружении не герметичности соединений маслопроводов или следов подтекания масла из-под фланцев крепления агрегатов неисправность устраняется путем подтяжки гаек, замены уплотнительных прокладок или замены соответствующих элементов маслосистемы.

. Выброс масла из системы суфлирования. При этом не только увеличивается расход масла, но растет его температура с последующим падением давления. Выброс масла может происходить следствие попадания воды в масло, изменения химического (состава масла, прорыва воздуха и газов внутрь масляных полостей из-за разрушения уплотнений или загрязнения жиклеров системы суфлирования предмасляных полостей. В отдельных случаях выброс масла может быть вызван неисправностью воздушномасляного радиатора или откачивающего масляного насоса.

. Интенсивное проникновение масла в газовоздушный поток двигателя из-за повышенного износа уплотнений масляных полостей или загрязнения жиклеров системы суфлирования масляных полостей. При сгорании масла в газовоздушном потоке на деталях проточной части двигателя образуется значительный слой нагара, который ухудшает охлаждение деталей и может вызвать их перегрев.

При обнаружении повышенного расхода масла вследствие проникновения его в газовоздушный тракт двигателя проверяется состояние системы суфлирования, и в случае неисправности ее двигатель подлежит снятию с вертолета.

4.2 Характерные неисправности масло системы двигателя ТВ3 - 117ВН

При сухом трении выделяется большое количество тепла. Под нагрузкой при сильном трении трущиеся детали свариваются между собой, в течении нескольких минут происходит заклинение роторов и выход двигателя из строя.

Опыт эксплуатации двигателя ТВ3-117В показывает, что характерными неисправностями системы смазки являются:

·   падение давления масла;

·   повышение температуры масла;

·   повышенный расход масла;

·   сильное дымление и течь масла из выходного устройства при выключении двигателя;

·   появление металлической стружки в масле.

1. Падение давления масла. Недостаточная подача масла может привести к разрушению подшипников опор и заклинению роторов двигателя. Основными причинами падения давления масла в маслосистеме двигателя являются:

- засорение маслофильтра механическими примесями;

недостаточное количество масла в маслобаке;

заедание редукционного клапана в открытом положении из-за попадания под седло клапана частиц нагарообразования или механических частиц;

образование воздушной пробки в трубопроводе подвода масла к нагнетающему насосу;

разрушение приводной рессоры привода маслоагрегата МА-78;

неисправность указателя давления масла.

Необходимо помнить, что если, например, стрелка указателя давления масла не показывает давление, а температура масла нормальная, то это является признаком отказа прибора. В этом случае двигатель выключать не следует, но необходимо усилить контроль его работы.

2. Повышение температуры масла. Повышение температуры масла в маслосистеме двигателя значительно ухудшает отвод тепла от подшипников опор двигателя, смазывающие свойства и вязкость масла.

Основными причинами повышения температуры масла в маслосистеме двигателя являются:

·   недостаточное количество масла в маслобаке двигателя;

·   засорение сот маслорадиатора;

·   недостаточный обдув маслорадиатора из-за неправильной установки лопаток вентиляторной установки;

·   заедание термостатического клапана в открытом положении;

·   неисправность датчика температуры масла.

3. Повышенный расход масла. Основными причинами повышенного расхода масла в маслосистеме двигателя являются:

·   утечка масла через трещины в трубопроводах;

·   выброс масла через систему суфлирования из-за прорыва воздуха и газов в масляные полости вследствие разрушения масляных уплотнений;

·   разрушение сот маслорадиатора;

·   неисправность откачивающих насосов.

4. Сильное дымление и течь масла из выходного устройства при выключении двигателя. Основными причинами являются:

·   повышение противодавления в маслосистеме из-за засорения сот маслорадиатора;

·   нарушение работоспособности маслонасосов;

·   разрушение масляных уплотнений;

·   заедание отсечного клапана в открытом положении из-за попадания под седло клапана частиц нагарообразования.

5. Появление металлической стружки в масле. Основными причинами появления металлической стружки в масле маслосистемы двигателя являются:

·   разрушение подшипников опор;

·   разрушение шестерен зацепления центрального привода и коробки приводов двигателя.

При прохождении сигнала о наличии стружки в масле маслосистемы двигателя, загорается табло «СТРУЖКА В МАСЛЕ ЛЕВ. ПРАВ. ДВИГАТЕЛЬ», выключение двигателя производится только в том случае, если обеспечивается безопасность полета вертолета на одном двигателе.

Неисправности в системе смазки могут также определяться по ряду косвенных признаков. Так, например, появление паров масла и запаха дыма в кабине свидетельствует о том, что в компрессор попадает масло через уплотнения опор. Запах горящего масла может ощущаться при неисправности откачивающих насосов и при разрушении подшипников.

Появление белого дыма в выхлопном устройстве двигателя свидетельствует о попадании в газовоздушный тракт большого количества масла.

Своевременные осмотры маслофильтров могут обеспечить не только обнаружение неисправности, но и предупреждение вероятного отказа двигателя. Обнаружение на фильтрующем элементе маслофильтра студенистых отложений свидетельствует о нарушении технологии заправки масла.

Обнаружение большого количества кокса свидетельствует о негерметичности масляных уплотнений или о возможном увеличении температурного режима при эксплуатации двигателя в полёте.

Маслосистема двигателя будет работать надёжно в том случае, если за её состоянием и работой будет налажен строгий и постоянный контроль. Контроль должен осуществляться как в процессе технического обслуживания, так и в процессе работы двигателя на земле и в полёте.

В процессе предполётного осмотра экипаж обязан проверить уровень масла в маслобаках и при необходимости дозаправить в соответствии с требованиями «Инструкции по техническому обслуживанию». При обнаружении следов подтекания масла из трубопроводов, штуцеров агрегатов маслосистемы и самих агрегатов необходимо выяснить причину подтекания и устранить её.

 

глава 5. летная эксплуатация маслосистемы


5.1 Рекомендации РЛЭ по эксплуатации маслосистемы вертолета МИ- 8

Контрольный осмотр вертолета бортмехаником.

Для обеспечения надежной работы маслосистемы двигателя необходим тщательный уход за системой и контроль за ее состоянием при техническом обслуживании, предполетном осмотре экипажем и в процессе работы двигателя на земле и в воздухе.

1. Контроль заправки маслосистемы. Заправка маслобака для выполнения полета-10 л.

2. Отсутствие подтекания масла при осмотре .

3. Подогрев двигателей при температуре наружного воздуха минус 300С и ниже до температуры масла в главном редукторе минус 150С, но не менее 20 миню

4. Контроль за ростом PM при запуске (на nтк=45% PM≥ 1кгс/см2).

5. Контроль за PM и tM0 при работе двигателя на земле и в воздухе согласно РЛЭ.

6. Контроль за расходом масла.

7. Контроль утечки масла при работе двигателей по запаху и визуально (горелое масло и шлейф белого дыма на выхлопе)

8. Осмотр маслофильтроф через (50±10) ч или при подозрении на неисправность.

9. Контроль на потемнение масла через (25±10) ч.

10.Контроль на альтакс через(50±5) ч,(альтакс-осадок буро-зеленого цвета , свидетельствующий о разложении масло, при этом падают смазывающие свойства масла и происходит забивание маслофильтроа).

Если давление масла в двигателе в конце запуска не достигло значения 2.0кгс/см2 , двигатель выключить. Если при запуске горит или непрерывно мигает табло «Стружка левый двигатель» или «Стружка правый двигатель», запуск прекратить . Если при опробовании двигателя горит или мигает вышеназванное табло, двигатели перевести на малый газ и выключить

Проверить данные анализа масла на соответствие ГОСТу по паспорту. Проверить заправку маслосистем двигателей и главного редуктора. Проверить исправность светосигнального табло системы СС-78.

ПРЕДУПРЕЖДЕНИЕ. В тех случаях, когда перед запуском требуется подогрев редуктора, запрещается производить на неподогретом редукторе ложный запуск, холодную прокрутку и проворачивание вала ротора несущего винта.

Примечание. Перед запуском двигателя при температуре масла в двигателе или главном редукторе ниже -30°С необходимо прогреть двигатель и главный редуктор до температуры масла в редукторе не ниже-15°С, но не менее 20 мин.

Запуск двигателей

В процессе запуска двигателей проследить за плавным нарастанием давления масла в двигателях и главном редукторе.

Проверка системы на малом газе

Проверить давление масла в двигателях и главном редукторе, которое должно составлять

·   в главном редукторе не менее 0,5 кгс/см .

Примечания: 1. При запуске и работе на режиме малого газа в условиях отрицательных температур наружного воздуха на двигателях с N С95201101 допускается кратковременно (до 3 мин) увеличение давления масла до 5,5 кгс/см .

. При температуре масла в поддоне редуктора в диапазоне температур от минус 15 до минус 30 °С на режиме малого газа допускается увеличение давления масла в редукторе до 5 кгс/см.

Выполнение полета

Следить за давлением и температурой масла в двигателе и главном редукторе. Давление масла должно составлять:

·   в двигателе и главном редукторе 3,0÷4,0 кгс/см (на рабочих режимах);

·   в главном редукторе не менее 2,5 кгс/см кратковременно при полетах со скольжением.

Температура масла:

·   на выходе из двигателя не выше +1250 С и не ниже +700С;

·   на входе в главный редуктор не выше+90°С и не ниже +30°С.

Максимально допустимая температура масла:

·   в промежуточном и хвостовом редукторах не более 110 °С

Если давление масла в двигателе или главном редукторе в конце запуска не достигло соответственно давления 2,0 и 0,5 кгс/см , двигатель выключить. Если в процессе запуска и выхода на режим малого газа в условиях отрицательных температур наружного воздуха на двигателях с N С95201101 давление масла возросло более чем на 5,5 кгс/см2 двигатель выключить.

Если при опробовании двигателей горит или непрерывно мигает светосигнальное табло «СТРУЖКА ЛЕВ.ДВИГ., СТРУЖКА ПР.ДВИГ., СТРУЖКА ГЛ. РЕДУК», двигатели перевести на малый газ и выключить. Повторный запуск двигателей производить после устранения причины неисправности. При уменьшении давления масла в двигателях до значений менее 3 кгс/см усилить контроль за параметрами работы этого двигателя. Выполнение задания прекратить и произвести посадку на ближайший аэродром. При одновременном увеличении температуры масла от установившегося значения на 10...20°С двигатель выключить и действовать в соответствие указаниями РЛЭ 6.6. При уменьшении давления масла в двигателе менее 2 кгс/см или повышении температуры масла в двигателе выше 125 °С, двигатель выключить и действовать в соответствии с указаниями РЛЭ 6.6.Если давление масла в главном редукторе упало ниже 3,0 кгс/см на рабочих режимах или 2,5 кгс/см при полетах со скольжением необходимо перейти на снижение с минимальной мощностью двигателей и произвести посадку согласно РЛЭ 6.19.При загорании в полете (мигании или непрерывном горении) светосигнального табло «СТРУЖКА ГЛ.РЕДУК», не сопровождающемся ростом температуры или уменьшением давления масла в главном редукторе, выполнение задания прекратить и следовать до ближайшего аэродрома, повысив контроль за параметрами работы главного редуктора. Если при загорании светосигнального табло отмечается рост температуры или уменьшение давления масла по указателю, немедленно перейти на снижение с малой мощностью двигателей и произвести посадку на выбранную площадку, по возможности с пробегом. При загорании в полете (мигании или устойчивом горении) светосигнального табло «СТРУЖКА ЛЕВ. ДВИГ., СТРУЖКА ПР.ДВИГ», не сопровождающемся ростом температуры или уменьшением давления масла в двигателе, выполнение задания прекратить и произвести посадку на площадку, подобранную с воздуха, Если при загорании (мигании) светосигнального табло отмечается рост температуры или падение давления масла, двигатель выключить и произвести посадку согласно рекомендациям РЛЭ 6.6

5.1.1 Приборы контроля работы маслосистемы вертолета МИ- 8

Трехстрелочный индикатор ЭМИ-3РИ служит для дистанционного контроля работы двигателя и является комбинированным прибором, измеряющим давление топлива, давление и температуру масла.

Принцип измерения давления

В комплект прибора входят:

трехстрелочный указатель УИ3-3 2 серии;

датчик давления топлива ИД-100;

датчик давления масла ИД-8;

приемник температуры масла П-2.

На вертолете установлены два комплекта ЭМИ-3РИ (по одному на каждый двигатель). Оба указателя расположены на правой приборной доске, датчики давлений установлены на двигателе, приемники температуры - в отсеке двигателя в трубопроводе маслосистемы.

Указатели УИ3-3 2 серии, приемники П-2, а также датчики ИД одного предела измерения взаимозаменяемы.

Действие манометров топлива и масла основано на изменении величины индуктивности катушек датчика с изменением давления топлива и масла, что, в свою очередь, ведет к изменению величины токов в рамках магнитоэлектрического логометра и, следовательно, - к перемещению стрелки прибора.

Схема термометра масла представляет собой мост постоянного тока, в одно плечо и диагональ которого включены рамки магнитоэлектрического логометра. Принцип действия термометра масла основан на изменении сопротивления электрической цепи термометра от изменения температуры масла, что ведет к перераспределению токов в схеме моста и изменению положения стрелки логометра.

Системы измерения давления топлива и масла питаются переменным током напряжением 36 В 400 Гц. Система измерения температуры масла питается постоянным током 27 В.

На правой приборной доске размещены табло:

«СТРУЖКА ЛЕВ ДВИГ» и «СТРУЖКА ПРАВ ДВИГ» с красными светофильтрами, сигнализирующие о наличии стружки в стружкосигнализаторе СС-78.

5.2 Рекомендации РЛЭ по эксплуатации маслосистемы вертолета МИ-171

Контроль состояния и работоспособности маслосистемы обеспечивает надежность работы двигателя и осуществляется при ТО, предполетном осмотре экипажем (бортмехаником) и в процессе работы двигателя на земле и в воздухе.

1. Контролировать заправку маслосистемы.

2. Осматривать двигатель перед запуском на предмет отсутствия подтекания масла.

3. Подогреватель двигатели перед запуском (при t0н.в=-300С и ниже)

4. Контролировать ↑ PM при запуске

5. Контролировать PM и t0M согласно РЛЭ на земле и в воздухе.

6. Контролировать утечку масла при работе двигателей по запаху и визуально (горелое масло и шлейф белого дыма на выхлопе).

7. Контролировать расход масла, так как по нему можно судить о состоянии (износе) маслоуплотнении и работе системе суфлирования.

8. Осматривать маслофильтры через (50 ± 10) ч или при подозрении на неисправность (на предмет наличия стружки , кокса ).

9. Проверять масло на потемнение через (25 ± 5) ч и на альтакс через (50 ± 5) ч.

10.При ↓PM контролировать t0M, t03 и устойчивость работы двигателя по внешним признакам.

11.Двигатель выключать, если в полете PM падает <2 кгс/см2 и ниже или t0M >1500C

.2.1   Приборы контроля работы маслосистемы вертолета МИ- 171

Для контроля давления и температуры масла на центральном пульте установлены указатели давления и температуры масла УИЗ-3 (Рис.19) левого и правого двигателей.

Измерение давления масла производится в трубопроводе подвода масла к четвертой и пятой опорам за отсечным клапаном (ОК) датчиком давления ИД-8.

Измерение температуры масла, выходящего из двигателя, производится в откачивающей магистрали перед маслорадиатором приемником температуры П-2.

На левой приборной доске размещены табло:

1.   «МАЛО Рм ЛЕВ ДВИГ» и «МАЛО Рм ПРАВ ДВИГ» с желтыми светофильтрами (рис.20) , сигнализирующие о падении давления масле менее 2,5 кгс/см2. по команде сигнализаторов минимального давления МСТВ-2,5 (на неработающем двигателе табло отключены датчиками давления воздуха МСТВ-1,5АС);

2.   «СТРУЖКА ЛЕВ ДВИГ» и «СТРУЖКА ПРАВ ДВИГ» с желтыми светофильтрами, сигнализирующие о наличии стружки в стружкосигнализаторе СС-78.

 

ЗАКЛЮЧЕНИЕ


Динамично развивающийся современный рынок авиаперевозок диктует всё более жесткие требования к воздушным судам. Перед конструкторскими бюро встает задача по увеличению грузоподъемности и надежности силовых установок, модернизации старых и разработке новых.

Так, на смену двигателя ТВ2-117АГ пришел более мощный и современный ТВ3-117ВН. Увеличение мощности в ТВ3-117ВН, по сравнению с ТВ2-117АГ, произошло на 50%. Это повлекло значительное повышение в т.ч. и сил трения. Для борьбы с возросшими нагрузками и температурами была разработана более мощная масляная система.

Сравнительный анализ маслосистем ТВ2-117АГ и ТВ3-117ВН показал, что:

.  В процессе летной эксплуатации обе маслосистемы зарекомендовали себя как надежные системы смазки, за все время использования отказов маслосистем выявлено не было. Можно сделать следующий вывод, что маслосистемы со своими функциональными обязанностями справляются в полной мере.

.  Совершенствование системы смазки в совокупности с другими узлами и агрегатами позволило снизить расход топлива в двигателе ТВ3-117 на 20%, что повысило его экономическую привлекательность;

.  Модернизированная маслосистема позволяет работать в большем диапазоне температур - это позволило эксплуатировать силовую установку на более высоких режимах: ЧР2 и ЧР1.

Список литературы

1.   Теория авиационных двигателей. Под ред. Кудринского В.З. Москва. Воениздат 1983г.

2.   Богданов А.Д. Хаустов И.Г. Авиационный турбовинтовой двигатель ТВ2-117. Москва. Транспорт 1979г.

.  Мадорский Я.Ю и др. Теория авиационных двигателей. Часть 1. Москва. Воениздат 2013 г.

.  Вагин А.Н. и др. Теория авиационных двигателей. Часть 2. Москва. Воениздат 1968г.

.  Кеба И.В. Летная эксплуатация вертолетных газотурбинных двигателей. М. Транспорт 1976г.

.  Белоусов А.Н. и др. Теория и расчет авиационных лопаточных машин. Самара 2013г.

.  Авиация. Энциклопедия. Москва 1994г.

Похожие работы на - Сравнительный анализ конструкции масляной системы ТВ2–117 АГ и ТВ3-117 ВМ

 

Не нашли материал для своей работы?
Поможем написать уникальную работу
Без плагиата!
Без нейросетей!