Рулевое управление автомобиля КамАЗ-5311
Содержание
Введение
1. Рулевое управление автомобиля Камаз-5311
1.1 Назначение рулевого управления
1.2 Классификация рулевых механизмов
1.3 Устройство рулевого управления автомобиля Камаз-5311
1.4 Принцип работы рулевого управления автомобиля Камаз-5311
1.5 Техническое обслуживание
1.6 Ремонт
1.7 Техника безопасности при ТО и ремонте
1.8 Охрана труда на предприятии (СТО)
Заключение
Литература
Введение
Автомобильный транспорт имеет крупнейшее значение в общей
транспортной системе нашей страны. Он широко применяется во всех отраслях
народного хозяйства. Преимущества автомобильного транспорта - более высокие
скорости, возможность использования его при перевозках "от двери до
двери", без дополнительных перегрузок. На большие расстояния перевозятся
скоропортящиеся и срочные грузы.
Автомобильный транспорт служит для подвоза к железнодорожным
станциям, морским портам и речным пристаням важнейших грузов (зерно,
строительные материалы и пр.), для доставки грузов, прибывших на станции, в
порты и на пристани, к потребителям.
Здесь, по сравнению с другими видами транспортных средств,
предъявляются менее жесткие условия к упаковке товара.
Большая мобильность, возможность оперативно реагировать на
изменения пассажиропотоков ставят автотранспорт "вне конкуренции" при
организации местных перевозок пассажиров. автотранспорт отличают сравнительно
небольшие капиталовложения в оборудование терминалов (погрузочно-разгрузочных
мощностей) и использование автодорог общего пользования.
Недостатком является высокая себе стоимость перевозки грузов,
что связано с небольшой грузоподъемность автомобилей.
В автотранспорте величина переменных издержек (оплата труда
водителей, затраты на горючее, шины и ремонт) в расчете на один километр пути
велика. Постоянные же расходы (накладные расходы, амортизация автотранспортных
средств) наоборот невелики.
Вследствие этого, автомобильный транспорт в основном
используется для перевозки небольших потоков грузов на короткие расстояния.
1. Рулевое
управление автомобиля Камаз-5311
1.1
Назначение рулевого управления
Предназначено для обеспечения движения автомобиля в заданном
водителем направлении.
1.2
Классификация рулевых механизмов
Рулевой механизм является основой
рулевого управления, где он выполняет следующие функции: увеличение усилия,
приложенного к рулевому колесу; передача усилия рулевому приводу;
самопроизвольный возврат рулевого колеса в нейтральное положение при снятии
нагрузки.
По своей сути рулевой механизм является механической
передачей (редуктором), поэтому основным его параметром является передаточное
число. В зависимости от типа механической передачи различают следующие типы
рулевых механизмов: реечный, червячный, винтовой.
Реечный рулевой механизм:
Рис. 1 Схема реечного рулевого механизма
. пыльник; 2. уплотнение; 3. гидроцилиндр; 4. шестерня; 5.
золотник; 6. вал рулевого колеса; 7. игольчатый клапан; 8. трубопровод; 9.
поршень; 10. рулевая рейка; 11. шарнир рулевой тяги
Реечный рулевой механизм является самым распространенным
типом механизма, устанавливаемым на легковые автомобили. Реечный рулевой
механизм включает шестерню и рулевую рейку. Шестерня устанавливается на валу
рулевого колеса и находится в постоянном зацеплении с рулевой (зубчатой)
рейкой.
Работа реечного рулевого механизма осуществляется следующим
образом. При вращении рулевого колеса рейка перемещается вправо или влево. При
движении рейки перемещаются присоединенные к ней тяги рулевого привода и
поворачивают управляемые колеса.
Реечный рулевой механизм отличает простота конструкции,
соответственно высокий КПД, а также высокая жесткость. Вместе с тем, данный тип
рулевого механизма чувствителен к ударным нагрузкам от дорожных неровностей,
склонен к вибрациям. В силу своих конструктивных особенностей реечный рулевой
механизм устанавливается на переднеприводных автомобилях с независимой
подвеской управляемых колес.
Червячный рулевой механизм
Червячный рулевой механизм состоит из глобоидного червяка
(червяка с переменным диаметром), соединенного с рулевым валом, и ролика. На
валу ролика вне корпуса рулевого механизма установлен рычаг (сошка), связанный
с тягами рулевого привода.
Вращение рулевого колеса обеспечивает обкатывание ролика по
червяку, качание сошки и перемещение тяг рулевого привода, чем достигается
поворот управляемых колес.
Червячный рулевой механизм обладает меньшей чувствительностью
к ударным нагрузкам, обеспечивает большие углы поворота управляемых колес и
соответственно лучшую маневренность автомобиля. С другой стороны червячный
механизм сложен в изготовлении, поэтому дорог. Рулевое управление с таким
механизмом имеет большое число соединений, поэтому требует периодической
регулировки.
Червячный рулевой механизм применяется на легковых
автомобилях повышенной проходимости с зависимой подвеской управляемых колес,
легких грузовых автомобилях и автобусах.
Винтовой рулевой механизм:
1. вал рулевого колеса;
. винт;
. циркулирующие шарики;
. канал циркуляции шариков;
. гайка с зубчатой рейкой;
. рулевая сошка;
. зубчатый сектор (секторная шестерня)
Рис. 2 Схема винтового рулевого механизма
Винтовой рулевой механизм объединяет следующие конструктивные
элементы: винт на валу рулевого колеса; гайку, перемещаемую по винту; зубчатую
рейку, нарезанную на гайке; зубчатый сектор, соединенный с рейкой; рулевую
сошку, расположенную на валу сектора. Особенностью винтового рулевого механизма
является соединение винта и гайки с помощью шариков, чем достигается меньшее
трение и износ пары.
Принципиально работа винтового рулевого механизма схожа с
работой червячного механизма. Поворот рулевого колеса сопровождается вращением
винта, который перемещает надетую на него гайку. При этом происходит циркуляция
шариков. Гайка посредством зубчатой рейки перемещает зубчатый сектор и с ним
рулевую сошку.
Винтовой рулевой механизм в сравнении с червячным механизмом
имеет больший КПД и реализует большие усилия. Данный тип рулевого механизма
устанавливается на отдельных легковых автомобилях представительского класса,
тяжелых грузовых автомобилях и автобусах.
1.3
Устройство рулевого управления автомобиля Камаз-5311
Рис. 3 Схема устройства рулевого управления автомобиля
Камаз-5311
1 - колесо рулевое; 2 - рулевая колонка; 3 - вал карданный; 4
- радиатор; 5 - клапан управления гидроусилителем; 6 - редуктор угловой; 7 -
гидроусилитель с рулевым механизмом; 8 - тяга продольная; 9 - сошка; 10 -
трубопровод низкого давления; 11 - трубопровод высокого давления; 12 - насос
гидроусилителя руля; 13 - бачок гидросистемы
Рулевое колесо воспринимает от водителя усилия,
необходимые для изменения направления движения, и передает их через рулевую
колонку рулевому механизму.
Рулевая колонка обеспечивает соединение рулевого колеса с
рулевым механизмом. Рулевая колонка представлена рулевым валом, имеющим
несколько шарнирных соединений. В конструкции рулевой колонки предусмотрена
возможность складывания при сильном фронтальном ударе, что позволяет снизить
тяжесть травмирования водителя.
Рис. 4 Рулевая колонка Камаз-5311
1 - вал колонки;
. кольцо стопорное; 3 - кольцо разжимное; 4 - подшипник
шариковый; 5 - труба колонки; 6 - обойма с уплотнением; 7 - шайба стопорная; 8
- гайка регулировки подшипников
Кардан рулевого вала обеспечивает передачу
крутящего момента при углах поворота до 70 градусов относительно оси.
Рис. 5 Кардан рулевого вала Камаз-5311
1 - вилка; 2, 9 - кольца упорные; 3 - крестовина; 4 - подшипник
игольчатый; 5,8 - кольца уплотнительные; 6 - вилка со шлицевым стержнем;
7-обойма уплотнительного кольца; 10 - вилка со шлицевой втулкой
Угловой редуктор предназначен для изменения по направлению усилия, прикладываемого
водителем к рулевому колесу.
Рис. 6 Редуктор угловой рулевого управления Камаз-5311
1 - вал ведущей шестерни; 2 - манжета; 3 - крышка корпуса; 4
- корпус ведущей шестерни; 5, 7, 10 - шарикоподшипники; 6 - прокладки
регулировочные; 8, 15,19 - кольца уплотнительные; 9 - кольцо стопорное; 11 -
шестерня ведомая; 12 - крышка упорная; 13 - корпус редуктора; 14 - втулка
распорная; 16 - гайка крепления подшипников; 17 - шайба; 18 - кольцо упорное;
20 - крышка защитная
Ведущая шестерня углового редуктора Камаз выполнена заодно с
валом 1 и установлена в корпусе 4 на шариковых подшипниках 5. Шарикоподшипники
напрессованы на вал шестерни и удерживаются от осевого перемещения гайкой 16.
Для предотвращения самопроизвольного отворачивания буртик
гайки вдавлен в паз на валу шестерни. Ведомая шестерня 11 вращается в двух
шариковых подшипниках 7, 10, посаженных на хвостовик шестерни с натягом. От
продольных смещений ведомая шестерня редуктора рулевого управления Камаз
удерживается стопорным кольцом 9 и упорной крышкой 12. Зацепление конических
шестерен регулируют прокладками 6, установленными между корпусами ведущей
шестерни и углового редуктора.
Механизм рулевого управления преобразует вращение
рулевого колеса в поступательное перемещение тяг привода, вызывающее поворот
управляемых колес. При этом усилие, передаваемое водителем, от рулевого колеса
к поворачиваемым колесам, возрастает во много раз.
Рис. 7 Механизм рулевого управления Камаз со встроенным
гидроусилителем
1 - крышка передняя; 2 - клапан управления гидроусилителем;
3, 29 - кольца стопорные; 4 - втулка плавающая; 5, 7 - кольца уплотнительные;
6, 8 - кольца распорные; 9 - винт установочный; 10 - вал сошки; 11 - клапан
перепускной; 12 - колпачок защитный; 13 - крышка задняя; 14 - картер рулевого
механизма; 15 - поршень-рейка; 16 - пробка сливная магнитная; 17 - винт; 18 -
гайка шариковая; 19 - желоб; 20 - шарик; 21 - редуктор угловой; 22 - подшипник
упорный; 23 - шайба пружинная; 24 - гайка; 25 - шайба упорная; 26 - шайба
регулировочная; 27 - винт регулировочный; 28 - контргайка регулировочного
винта; 30 - крышка боковая
Насос гидроусилителя служит для создания
давления рабочей жидкости. В системе гидроусилителя используется лопастной
насос двойного действия с максимальным давлением 8,5 до 9,0 МПа. Он установлен
в развале блока цилиндров двигателя и приводится в действие через шестерни
распределительного механизма.
рулевое управление автомобиль ремонт
Рис. 8 Насос гидроусилителя
- шестерня; 2-вал; 3-кольцо; 4 - сальник; 5 - игольчатый подшипник
6 - крышка; 7 - указатель уровня масла; 8-предохранитольный клапан; 9 -
прокладка; 10 - бачок; 11 - сетчатый фильтр; 12 - коллектор; 13 - крышка; 14 -
предохранительный клапан; 15 - перепускной клапан; 16-распределитсльный диск;
17 - лопасть; 18 - статор; 19 - корпус; 20 ротор; К - Калиброванное отверстие.
Рис.9 Схема работы рулевого управления
Рулевой привод состоит из сошки 12 (см. рис.3)
продольной тяги, поперечной тяги, трех поворотных рычагов.
1.4 Принцип
работы рулевого управления автомобиля Камаз-5311
l-движение прямо, ll-поворот направо, lll-поворот налево, А-линия
нагнетания, В-линия слива 1-вал сошки с зубчатым сектором, 2-поршень рейка,
3-шариковая гайка 4-винт, 5-корпус, 6-предохранительный клапан, 7-корпус
клапана, 8-золотник, 9-пружина, 10-радиатор, 11-насос
При прямолинейном движении автомобиля винт 4 (рис. 9.) и
золотник 8 находятся в среднем положении. Линии нагнетания А и слива В, а также
обе полости С и Д гидроцилиндра соединены между собой.
Масло свободно проходит от насоса 11 через клапан управления
и возвращается в бачок. Сопротивление, возникающее при поворачивании колес
посредством рулевого привода, создает силу, стремящуюся сдвинуть винт в осевом
направлении в соответствующую сторону. Когда эта сила превысит усилие
предварительного сжатия центрирующих пружин 9, винт смещает жестко связанный с
ним золотник. При этом одна полость цилиндра гидроусилителя сообщается с линией
нагнетания и отключается от линии слива, а другая, оставаясь соединенной с
линией слива, отключается от линии нагнетания.
Рабочая жидкость, поступающая из насоса в соответствующую
полость цилиндра, оказывает давление на поршень-рейку 2 и, создавая
дополнительное усилие на зубчатом секторе вала 1 сошки рулевого механизма,
способствует повороту управляемых колес. Давление в рабочей полости цилиндра
усилителя увеличивается до значения, пропорционального сопротивлению повороту
колес. Одновременно возрастает давление в полостях под реактивными плунжерами.
При изменении сопротивления повороту колес, а следовательно, и давления в
рабочей полости цилиндра меняется усилие, с которым золотник стремится
вернуться в среднее положение, и усилие на рулевом колесе, что обеспечивает
водителю "чувство дороги".
При прекращении поворота рулевого колеса золотник под
действием центрирующих пружин и увеличивающегося давления в реактивных полостях
сдвигается к среднему положению настолько, что открывается щель для прохода
подаваемого насосом масла в линию слива. Размер щели устанавливается так, чтобы
в находящейся под напором полости цилиндра поддерживалось давление, необходимое
для удержания управляемых колес в повернутом положении. Если переднее колесо при
прямолинейном движении автомобиля начнет резко поворачиваться, например, при
наезде на препятствие, вал сошки, поворачиваясь, будет перемещать
поршень-рейку. Поскольку винт не вращается (водитель удерживает рулевое колесо
в одном положении), он тоже переместится в осевом направлении вместе с
золотником. При этом полость цилиндра, внутрь которой движется поршень-рейка,
будет соединена с линией нагнетания насоса и отделена от линии слива. Давление
в этой полости цилиндра повышается, что уравновешивает (смягчает) удар.
Когда гидроусилитель не работает, рулевой механизм
по-прежнему обеспечивает поворот колес, но на детали действуют уже полные
нагрузки. При этом резко возрастает изнашивание деталей и возможны их поломки.
1.5
Техническое обслуживание
При ежедневном техническом обслуживании проверьте состояние
привода рулевого управления (без применения специального инструмента).
При То 1:
проверьте уровень масла в бачке насоса гидроусилителя
рулевого управления, при необходимости долейте масло до нормы;
смажьте шарниры рулевых тяг через пресс-маслёнки до появления
свежей смазки в зазорах.
Уровень масла в бачке насоса проверяйте указателем,
вмонтированным в пробку заливной горловины бачка, передние колеса при этом
установите прямо. Перед снятием пробки тщательно вытрите ее и заливную
горловину бачка ветошью, смоченной дизельным топливом или керосином.
Уровень масла должен находиться между метками на указателе.
При необходимости долейте масло до нормы при работающем двигателе на
минимальной частоте вращения коленчатого вала. Масло заливайте через воронку с
двойной сеткой и заливной фильтр, установленный в горловине бачка.
При То 2:
проверьте зазоры в шарнирах рулевых тяг и карданного вала;
проверьте и при необходимости восстановите в допустимых
пределах свободный ход рулевого колеса;
снимите и промойте фильтр насоса.
Для модернизированных автомобилей.
При проведении технического обслуживания предусмотрена замена
фильтра насоса при значительном его засорении.
Проверку свободного хода рулевого колеса проводите на снаряженном
автомобиле (без груза) при работающем двигателе с частотой вращения коленчатого
вала двигателя 600.1200 мин-1. Давление в шинах колес должно быть нормальным,
передние колеса установите прямо. Свободный ход рулевого колеса на новом
автомобиле не должен превышать 15°. Предельно допустимый свободный ход - 25°.
Замеряйте свободный ход прибором К-402 или К-187, поворачивая
рулевое колесо вправо и влево до начала поворота левого переднего колеса. Угол
отсчитывайте на угловой шкале прибора от условного нуля, который
устанавливается посередине диапазона свободного качания рулевого колеса.
Если свободный ход рулевого колеса больше допустимого,
проверьте наличие воздуха в гидросистеме усилителя рулевого управления,
состояние шарниров рулевых тяг, крепление и регулировку рулевого механизма,
зазоры в шарнирах карданного вала рулевого управления, затяжку клиньев
крепления карданного вала, регулировку подшипников ступиц управляемых колес.
При нарушении затяжки или регулировок восстановите их.
Если невозможно устранить зазоры в шарнирах или шлицах
карданного вала рулевого управления, вал замените.
Промывайте заливной фильтр и фильтрующий элемент бензином.
При значительном засорении фильтрующих элементов смолистыми отложениями
дополнительно промойте их растворителем.
Для смены масла и удаления воздуха из системы гидроусилителя
рулевого управления:
. Отсоедините продольную тягу от сошки рулевого управления
или поднимите переднюю ось так, чтобы управляемые колеса не касались земли.
Снимите крышку бачка насоса гидроусилителя.
Не заправляйте и не прокачивайте гидросистему рулевого
управления при подсоединенной рулевой тяге или не приподнятых колесах.
. Поверните рулевое колесо влево до упора и откройте сливное
отверстие, вывернув магнитную пробку из картера рулевого механизма. Масло
сливайте до полного вытекания его из отверстия.
. Промойте насос, трубопроводы и гидроусилитель, для этого:
выверните фильтр из коллектора бачка насоса и удалите из
бачка насоса гидроусилителя остаток загрязненного масла;
промойте детали разобранного фильтра и сливную пробку
рулевого механизма, очистив их от грязи. После очистки и промывки соберите
фильтр насоса и вверните его на место;
залейте в бачок насоса через воронку с двойной сеткой 2 л
чистого масла и слейте через сливное отверстие картера рулевого механизма,
поворачивая рулевое колесо от упора до упора.
. Залейте свежее масло и удалите из системы воздух в
следующем порядке:
вверните магнитную пробку в сливное отверстие картера
рулевого механизма;
снимите резиновый колпачок с перепускного клапана рулевого
механизма и на его сферическую головку наденьте прозрачный эластичный шланг,
открытый конец которого опустите в стеклянный сосуд вместимостью
не менее 0,5 л. Сосуд должен быть заполнен маслом до половины
его объема;
отверните на 1/2.3/4 оборота перепускной клапан рулевого
механизма;
установите крышку бачка насоса;
поверните рулевое колесо влево до начала сжатия центрирующих
пружин (определяется по возрастанию усилия на рулевом колесе; не поворачивайте
колесо до упора);
снимите пробку заливной горловины с крышки бачка насоса и из
сосуда вместимостью не менее 1,5 л заливайте масло в бачок насоса до тех пор,
пока его уровень не перестанет понижаться;
пустите двигатель и при работе его на минимальной частоте
вращения доливайте масло в бачок насоса, не допуская снижения его уровня, до
тех пор, пока не прекратится выделение пузырьков воздуха из шланга, надетого на
перепускной клапан;
заверните перепускной клапан;
поверните рулевое колесо вправо до начала сжатия центрирующих
пружин (определяется по возрастанию усилия на рулевом колесе) и снова верните
его в левое положение. Удерживая рулевое колесо в левом положении, отверните на
1/2.3/4 оборота перепускной клапан и снова проследите за выделением пузырьков
воздуха. После прекращения выделения пузырьков заверните перепускной клапан;
повторите предыдущую операцию не менее двух раз, в результате из перепускного
клапана должно идти чистое (без примеси воздуха) масло. Если выделение
пузырьков воздуха из шланга продолжается, повторите операцию еще один-два раза;
при этом следите за уровнем масла в бачке насоса, поддерживая его между метками
на указателе уровня; остановите двигатель; снимите шланг со сферической головки
перепускного клапана и наденьте на нее защитный колпачок; проверьте уровень
масла в бачке насоса и, если нужно, долейте его. Установите пробку заливной
горловины бачка; соедините продольную рулевую тягу с сошкой рулевого механизма.
При заправке гидросистемы имейте в виду, что некачественная
прокачка масла, при которой в гидросистеме остается воздух, является частой
причиной появления дефекта "тяжелый руль” (увеличение усилия на рулевом
колесе), а также снижения чувствительности рулевого управления и плохого
"держания дороги” автомобилем.
1.6 Ремонт
Приступая к ремонту рулевого механизма, насоса гидроусилителя
руля и других сборочных единиц рулевого управления, имейте в виду, что
восстановление деталей, исчерпавших свою работоспособность вследствие износа, в
этих сборочных единицах недопустимо. Изготовление таких деталей с высокой
точностью и чистотой рабочих поверхностей, а также их селективный подбор при
сборке возможны только в условиях специализированного производства. Ремонт
рулевых механизмов и насосов в условиях автотранспортных предприятий возможен
только способом замены вышедших из строя агрегатов или деталей на исправные.
Проверяйте и регулируйте рулевой механизм на автомобиле при
отсоединенной продольной рулевой тяге и неработающем двигателе.
Предварительно проверьте балансировку колес, давление воздуха
в шинах, наличие смазки в рулевом управлении и ступицах колес, регулировку
подшипников ступиц колес и рулевых тяг, работу амортизаторов, установку
передних колес. Кроме того, проверьте уровень масла в бачке насоса
гидроусилителя, убедитесь в отсутствии воздуха в системе, осадка или грязи в
бачке и на фильтре насоса, утечки масла в соединениях маслопроводов.
Усилие на рулевом колесе измеряйте пружинным динамометром,
прикрепленным к ободу колеса в следующих его положениях:
1. Рулевое колесо повернуто более чем на два оборота от
среднего положения. Усилие на рулевом колесе должно быть 5,9.15,7 Н (0,6.1,6
кгс). В этом случае зацепление и шарико-винтовая пара выведены в положение,
близкое к крайнему, где трение в этих узлах практически исключено, а величина
усилия определяется преимущественно моментом трения в упорных подшипниках,
уплотнениях и втулках рулевого механизма.
Несоответствие усилия на ободе рулевого колеса указанной
величине свидетельствует о неправильной (недостаточной или чрезмерной) затяжке
упорных подшипников винта, либо означает, что повреждены детали узла шариковой
гайки.
Недостаточная затяжка упорных подшипников приводит к
нарушению курсовой устойчивости автомобиля (автомобиль плохо "держит
дорогу”); чрезмерная, наряду с повреждением деталей узла шариковой гайки, - к
заклиниванию рулевого механизма (явление "остаточного давления”).
. Рулевое колесо повернуто на 3/4 оборота от среднего
положения. Усилие не должно превышать 19,6.22,6 Н (2.2,3 кгс). При этом
положении добавляется трение в шарико-винтовой паре за счет предварительного
натяга шариков. Отклонение величины усилия на ободе рулевого колеса от
указанных значений вызывается повреждением деталей узла шарико-винтовой пары.
. Рулевое колесо проходит среднее положение. Усилие на
рулевом колесе должно быть на 3,9.5,9 Н (0,4.0,6 кгс) больше усилия,
полученного при замере во втором положении, но не превышать 21,8 Н (2,2 кгс).
В этом случае проверяется регулировка зубчатого зацепления
рулевого механизма. Если усилие меньше указанной величины, зазор в зубчатом
зацеплении больше допустимого, автомобиль при этом будет плохо "держать
дорогу”. Если усилие больше - зацепление слишком "затянуто”, что может
являться, наряду с другими факторами, причиной плохого самовозврата управляемых
колес в среднее положение.
Если при измерении усилий в перечисленных выше положениях
окажется, что они не соответствуют указанным величинам, отрегулируйте рулевой
механизм. При необходимости, снимите механизм с автомобиля для выполнения работ
по его частичной или полной разборке и дополнительной проверке.
Регулирование рулевого механизма начинайте с замера усилия в
третьем положении. При этом с помощью регулировочного винта вала сошки доведите
усилие до нормы. При вращении винта по часовой стрелке усилие будет
увеличиваться, при вращении против часовой стрелки - уменьшаться.
Для регулирования усилия в первом положении следует
произвести частичную разборку рулевого механизма, для того чтобы подтянуть или
ослабить гайку крепления упорных подшипников. Для устранения причин
несоответствия усилия во втором положении требуется полная разборка рулевого
механизма. Полную разборку разрешается производить только на предприятии,
ремонтирующем рулевые механизмы, или в специализированных мастерских. Порядок
снятия, разборки и сборки рулевого механизма, а также его последующей проверки
и установки на автомобиль изложен ниже.
При проверке давления в гидросистеме рулевого
управления
на автомобиль в напорной магистрали между насосом и рулевым механизмом
установите приспособление (рис.10), имеющее манометр 2 со шкалой до 9810 кПа (100
кгс/см2) и вентиль 1, прекращающий подачу масла к гидроусилителю.

1 - вентиль; 2 - манометр; 3 - магистраль высокого давления;
4 - насос; 5 - магистраль низкого давления; 6 - механизм рулевой
При проверке давления откройте вентиль и поверните рулевое
колесо до упора, приложив к рулевому колесу усилие не менее 98,1 Н (10 кгс).
Давление масла при частоте вращения коленчатого вала 600 мин-1 должно быть не
менее 7355 кПа (75 кгс/см2).
Если давление масла будет меньше 7355 кПа (75 кгс/см2), то
медленно заверните вентиль, следя за повышением давления по манометру. При
исправном насосе давление должно подниматься и быть не менее 8336 кПа (85
кгс/см2). В этом случае неисправность нужно искать в рулевом механизме
(неправильная регулировка предохранительного клапана или чрезмерные внутренние
утечки). Если давление не увеличивается, то неисправен насос. Если давление при
закрытом вентиле больше давления, которое было при открытом вентиле, но ниже
7355 кПа (75 кгс/см2), то неисправными могут быть оба агрегата.
Для проверки правильности работы клапана управления
гидроусилителем отсоедините продольную рулевую тягу, откройте вентиль и
поверните рулевое колесо до упора с приложением усилия не менее 98,1 Н (10 кгс)
при частоте вращения коленчатого вала 1000 мин-1. При прекращении действия
усилия на рулевое колесо давление должно понизиться до 294.490 кПа (3.5
кгс/см2). Такую проверку проведите в двух крайних положениях. Если давление не
понизится, то это свидетельствует о заедании золотника или реактивных плунжеров
клапана.
При проверке нельзя держать вентиль закрытым, а колеса
повернутыми до упора более 15 с. Проверку проводите при температуре масла в
бачке 65.75°С. При необходимости масло можно нагреть, поворачивая колесо до
упоров в обе стороны и удерживая их в крайних положениях не более 15 с.
Регулирование затяжки подшипников вала рулевой
колонки
проводите, если ощущается осевое перемещение вала, а момент вращения вала менее
29,4.78,5Нем (3.8 кгс см) [что соответствует усилию 1,15.3,08 Н (0,118.0,314
кгс), приложенному на радиусе рулевого колеса 255 мм] при отсоединенном
карданном вале.
Отрегулируйте затяжку подшипников вращением регулировочной
гайки (предварительно разогнув ус стопорной шайбы. При регулировании,
подтягивая гайку, поворачивайте вал за рулевое колесо в обе стороны, чтобы не
перезатянуть гайку.
Недопустима затяжка гайки с последующим отворачиванием ее для
получения указанного момента вращения вала рулевой колонки, так как при этом
могут быть повреждены штампованные из листовой стали кольца подшипников вала
рулевой колонки. После окончания регулирования один из усиков стопорной шайбы
вновь загните в паз гайки. Если по каким-либо причинам колонка рулевого управления
разбиралась, то при сборке в подшипники вала заложите свежую смазку.
При сборке карданного вала следите за тем чтобы оси
отверстий в вилках для крепежных клиньев находились в параллельных плоскостях и
были расположены так, как это показано на Карданный вал устанавливайте на
автомобиль таким образом, чтобы вилка со шлицевой втулкой была обращена вверх.
При этом заложенная в полость втулки смазка обеспечивает лучшее смазывание
шлицев.
Замену поперечной рулевой тяги выполняйте в следующем
порядке:
вывесьте переднюю ось автомобиля;
расшплинтуйте и отверните гайку, крепящую шаровой палец
левого наконечника тяги с соответствующим нижним рычагом поворотного кулака;
выбив шаровой палец из конусного отверстия рычага,
отсоедините левый наконечник тяги рулевой трапеции;
проделайте те же операции с правым наконечником поперечной
рулевой тяги и снимите тягу с автомобиля;
установите концы шаровых пальцев наконечников новой
поперечной тяги в отверстиях нижних рычагов, затяните и зашплинтуйте гайки
крепления. Момент затяжки гаек крепления шаровых пальцев поперечной рулевой
тяги 245.314 Н м (25.32 кгс ■ м). Устанавливайте поперечную тягу так,
чтобы масленки шаровых пальцев на наконечниках тяги были обращены назад по ходу
автомобиля;
Для замены продольной рулевой тяги:
вывесьте переднюю ось автомобиля и поверните управляемые
колеса влево до отказа;
расшплинтуйте и отверните гайку крепления шарового пальца
продольной рулевой тяги со стороны сошки рулевого управления;
выбив шаровой палец из конусного отверстия сошки, отсоедините
тягу;
выполните те же операции с другим шарнирным соединением
продольной тяги в месте соединения ее с верхним рычагом левого поворотного
кулака и снимите тягу с автомобиля.
Установку новой продольной тяги производите в
последовательности, обратной снятию, обратив при этом внимание на правильность
присоединения и соответствие отличающихся головок тяги местам установки.
Опустите переднюю ось автомобиля. Гайки крепления шаровых пальцев продольной
рулевой тяги затяните с крутящим моментом 245.314 Нм (25.32 кгсм).
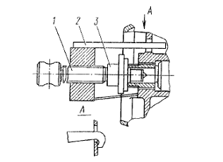
Для снятия рулевого колеса, если оно не снимается
от легких постукиваний молотком снизу вверх, используйте съемник.
Предварительно сняв декоративную крышку и отвернув гайку крепления рулевого
колеса, введите крюки захвата 2 (рис. 11) в отверстия ступицы рулевого колеса и
поверните по часовой стрелке до упора. Упирая наконечник 3 в торец вала,
вворачивайте винт 1 в захват до полного снятия рулевого колеса.
При установке рулевого колеса затяните гайку крепления его,
обеспечив момент затяжки 59.79 Н м (6.8 кгс. м).
Рис. 11 Съёмник рулевого колеса:
1-винт; 2-захват; 3-наконечник.
Для проверки, регулирования и ремонта предохранительного
клапана рулевого механизма при отказе или нестабильной работе:
слейте масло из системы гидроусилителя рулевого управления;
сняв пломбу и расшплинтовав пробку гнезда предохранительного
клапана, промойте ветошью, смоченной керосином или дизельным топливом, бобышку
корпуса клапана управления гидроусилителем, в которой размещен предохранительный
клапан;
отверните пробку гнезда предохранительного клапана и, вынув
неисправный клапан, закройте отверстие в корпусе клапана гидроусилителя чистой
бумагой или салфеткой;
промойте клапан керосином и проверьте отсутствие забоин и
посторонних частиц на его корпусе, посадочных кромках игольчатого клапана, на
седле и на внутренних поверхностях отверстия в корпусе клапана управления.
Посторонние частицы удалите. Проверьте также целостность резинового
уплотнительного кольца и пружины клапана;
если внешним осмотром клапана неисправность выявить не
удается, проверьте предохранительный клапан (эту проверку можно выполнять
только в специализированных мастерских, приспособленных для работ с
гидроаппаратурой) в специальном приспособлении, позволяющем подвести масло под
давлением к входному отверстию предохранительного клапана, таком, как,
например, нагрузочно-измерительный стенд МТ-60 производства "STOLECZNE ZAKLADY BYDOWY MASZYN I KI” (Польша).
При давлении масла до 6377 кПа (65 кгс/см2) утечки из-под
предохранительного клапана недопустимы. Если утечки имеются, клапан осторожно
разберите и продуйте детали струей сжатого воздуха. Клапан должен открываться
полностью при давлении 7357,5.7848 кПа (75.80 кгс/см2).
При отсутствии специального приспособления допускается
проверку правильности регулирования предохранительного клапана проводить на
автомобиле.
Клапан отрегулируйте вращением резьбовой пробки. После
регулирования резьбовую пробку законтрите. Зашплинтуйте контргайку проволокой и
поставьте пломбу.
Для облегчения сборки и во избежание защемления
уплотнительного кольца посадочное место в отверстии корпуса клапана управления
и само кольцо смажьте смазкой; промойте и заправьте систему.
Для снятия рулевого механизма: наклоните кабину в первое
положение (42°); расшплинтовав и отвернув гайки, выньте стяжные болты сошки 9
или отогнув усики стопорной шайбы, отверните гайку верхней головки сошки;
съемником снимите сошку, вворачивая винт 3 (рис.12) в захват 1 съемника и
упираясь наконечником 2 в торец вала сошки (выколачивание сошки может вызвать
поломку деталей); выверните магнитную пробку и слейте масло из картера рулевого
механизма, для более полного слива поверните рулевое колесо два-три раза из
одного крайнего положения в другое; отсоедините трубопроводы высокого и низкого
давления от рулевого механизма и слейте оставшееся в насосе масло; отсоедините
карданный вал рулевого управления от рулевого механизма, дли этого выньте
шплинт, отверните гайку клина и выбейте клин; выверните болты, крепящие картер
рулевого механизма к кронштейну передней рессоры, и снимите рулевой механизм;
очистите и промойте наружную поверхность рулевого механизма; слейте остатки
масла, перевернув рулевой механизм клапаном вниз и поворачивая вал ведущей
шестерни углового редуктора два-три раза из одного крайнего положения в другое.
Рис. 12 Съемник сошки руля:
1 - захват; 2 - наконечник; 3 - винт
При установке рулевого механизма на автомобиль:
установите механизм на передний кронштейн левой передней
рессоры и закрепите его болтами с моментом затяжки 275.314 Н. м (28.32 кгс. м);
подсоедините нагнетательный и сливной трубопроводы к клапану
управления гидроусилителем;
присоедините карданный вал рулевого управления к рулевому
механизму, предварительно совместив отверстие в вилке кардана и лыску под клин
на вале ведущей шестерни, забейте клин, заверните и зашплинтуйте гайку с
моментом затяжки гайки крепления клина 13,7.16,7 Н. м (1,4.1,7 кгс. м);
залейте масло и прокачайте систему гидроусилителя (см. раздел
"Для СМЕНЫ масла");
предварительно разжав клином прорезь верхней головки сошки,
наденьте сошку рулевого управления на вал рулевого механизма, вставьте стяжные
болты, наверните на болты гайки, затяните их и зашплинтуйте с моментом затяжки
177.196 Н. м (18.20 кгс. м). Гайки болтов должны быть расположены с
противоположных сторон головки сошки;
проверьте герметичность соединений и шлангов гидросистемы
рулевого управления. Подтекание масла из соединений не допускайте.
Разборку и проверку рулевого механизма проводите
в следующем порядке:
1. Вывернув болты крепления, снимите боковую крышку вместе с
валом сошки. При извлечении вала сошки предварительно очистите его шлицевой
конец.
. Проверьте осевое перемещение регулировочного винта в вале
сошки. Если перемещение превышает 0,15 мм, отрегулируйте осевой зазор путем
подбора регулировочной шайбы. Регулировочный винт должен иметь осевое
перемещение относительно вала сошки 0,02.0,08 мм и вращаться при этом плавно,
без заеданий. Стопорное кольцо должно полностью входить в канавку вала сошки.
Это необходимо для надежного соединения деталей данного узла.
При необходимости замените уплотнительное кольцо
регулировочного винта, применяя оправку. После сборки с боковой крышкой вал
сошки должен свободно проворачиваться от руки, а регулировочный винт оставаться
неподвижным (проверять без контргайки).
. Вывернув болты крепления, снимите переднюю крышку. При всех
последующих операциях разборки и сборки помните, что выворачивание винта
рулевого механизма из шариковой гайки более чем на два оборота от среднего
положения может привести к выпаданию шариков и заклиниванию винта.
. Отверните гайки крепления корпуса клапана управления
гидроусилителем и осторожно выдвиньте корпус вперед настолько, чтобы его можно
было провернуть относительно винта, не касаясь шпилек корпуса углового
редуктора.
. Проверьте затяжку гайки упорных подшипников и плавность
вращения корпуса клапана управления относительно винта. Момент, необходимый для
проворачивания корпуса клапана управления, должен быть равен 98,1.122,6 Нем (10.12,5
кгссм) (в ходе эксплуатации допускается падение момента вращения до 34,3 Нем
(3,5 кгссм). При несоответствии момента указанной величине отрегулируйте
затяжку гайки упорных подшипников.
Если вращение корпуса клапана не плавное (сопротивление
вращению переменно), замените подшипники. Для регулировки затяжки или замены
подшипников необходимо отжать буртик гайки, вдавленный в паз винта, и отвернуть
гайку, удерживая от проворота ведущую шестерню углового редуктора
При снятии корпуса клапана управления следите, чтобы золотник
и реактивные плунжеры не выпадали, так как при заводской сборке каждый из них
индивидуально подобран к своему отверстию.
Не допускайте смешивания колец упорных подшипников, сохраните
их комплектность.
. Проверьте рукой плавность перемещений реактивных плунжеров
и золотника в корпусе клапана управления гидроусилителем. Если ощущаются
заедания, изменение усилия, необходимого для перемещения упомянутых деталей,
поочередно выньте заедающие детали. Устраните причину заедания, промойте и установите
их на место.
. Проверьте герметичность обратного клапана, для чего залейте
в его отверстие масло. Утечка масла допустима только в виде отдельных капель.
. Вывернув болты крепления и отвернув две гайки, снимите
угловой редуктор вместе с винтом и поршнем-рейкой.
. Выньте щипцами стопорное кольцо 3 и осторожно снимите с
винта угловой редуктор.
. Проверьте, нет ли осевого перемещения шариковой гайки
относительно поршня-рейки. При необходимости подтяните или замените два
установочных винта и раскерните их.
. Проверьте посадку шариковой гайки на средней части винтовой
канавки винта. Гайка должна вращаться на винте без заеданий, а осевой люфт ее
относительно винта не должен превышать 0,3 mm.
Если вращение винта в шариковой гайке не плавное, при
условии, что осевой люфт не превышает 0,3 mm, замените комплект шариков.
Для замены комплекта шариков предварительно выполните
следующее:
специальным ключом с достаточно большим плечом вывернуть
установочные винты шариковой гайки;
вынуть из поршня-рейки шариковую гайку с винтом, придерживая
от выпадения желобки и шарики;
вынуть желобки, осмотреть их и, если язычки повреждены,
заменить;
затем, поворачивая винт относительно гайки в ту или другую
сторону, удалить шарики и положить их в отдельную коробку.
Не допускается установка шариков, у которых разность размеров
по диаметру более 0,002 мм. При несоблюдении указанного требования может
произойти разрушение шариков и заклинивание рулевого механизма.
Дорожки качения на винте и гайке не должны иметь повреждений.
Если дорожки качения повреждены (имеют вмятины, заусенцы и т.п.), замените весь
комплект "винт - шариковая гайка - шарики".
. Осмотрите рабочие поверхности гидроусилителя. Если есть
отдельные задиры на зеркале цилиндра, удалите их шабером. Отдельные продольные
риски и царапины на зеркале цилиндра (без заусенцев) не являются браковочным
признаком.
. Проверьте регулировку бокового зазора между зубьями
шестерен углового редуктора. Боковой зазор между любыми парами зубьев должен
находиться в пределах 0,02.0,07 мм, а момент вращения ведущей шестерни в
угловом редукторе не должен превышать 49,1 Нсм (5 кгсюм).
Регулирование бокового зазора в зубьях шестерен редуктора
производится перемещением узла ведущей шестерни путем подбора пакета прокладок
под фланцем корпуса ведущей шестерни. При этом должно быть установлено не менее
трех прокладок толщиной 0,05 тт.
При правильном зацеплении конических шестерен отпечаток пятна
контакта должен иметь эллиптическую форму и располагаться ближе к внутренней
узкой части зуба. Выход пятна контакта на кромки зуба недопустим.
В случае разборки углового редуктора не нарушайте
комплектность корпуса углового редуктора и пары конических шестерен.
Сборку механизма рулевого управления производите в условиях,
обеспечивающих чистоту, в порядке, обратном разборке, в соответствии со
следующими указаниями:
. Все детали разобранного механизма промойте и просушите,
внутренние каналы и отверстия после промывки продуйте сухим сжатым воздухом. Не
протирайте детали ветошью, оставляющей на них нитки, ворс и т.п.
. Все соприкасающиеся поверхности деталей рулевого механизма
перед сборкой смажьте маслом Турбинное Тн-22 или маслом марки Р.
. Все резиновые уплотнительные детали осмотрите и замените.
Фторопластовые кольца уплотнений поршня и винта не должны иметь повреждений.
Для облегчения установки резиновых колец и во избежание защемления их при
сборке допускается применять смазку ПВК ТОСТ 19537-74.
. В случае замены манжет вала сошки и вала ведущей шестерни
углового редуктора запрессовывайте их плавно и без перекосов, применяя оправки.
Окончательно указанные манжеты запрессовывайте пакетом вместе с наружной
манжетой и другими деталями, входящими в упомянутые сборочные единицы
уплотнений - до упора в корпус механизма. При установке манжет вала сошки
рабочие кромки их должны быть защищены от повреждений шлицами вала.
. Момент затяжки болтов М8 должен быть равен 20.6.27,5 Нм
(2,1.2,8 кгс-м), болтов и гаек М10 - 34.3.41,2 Н. м (3,5.4,2 кгс. м). Упорная
крышка сборочной единицы ведомой шестерни редуктора должна быть затянута с
моментом 43,2.60,8 Н. м (4,4.6,2 кгс. м) и застопорена раскерниванием ее края в
паз на корпусе углового редуктора.
Гайка крепления подшипников ведущей шестерни углового
редуктора должна быть затянута с моментом 39,2.58,9 Н. м (4.6 кгс. м) и
застопорена путем вдавливания буртика гайки в паз на вале ведущей шестерни.
После сборки ведомая и ведущая шестерни углового редуктора
должны свободно вращаться и не иметь ощутимого осевого зазора.
Сливную магнитную пробку (с конической резьбой и
цилиндрическим магнитом) затягивайте с моментом 33,4.39,2 Н. м (3.4 кгс. м).
. Сборку шарико-винтовой пары и установку собранного
комплекта в поршень-рейку производите в следующем порядке:
наденьте на винт со стороны его винтовой канавки плавающую
уплотнительную втулку;
установите гайку на нижнем конце винта, совместив отверстия
гайки, в которые входят желобы, с винтовой канавкой винта;
заложите двадцать три шарика через обращенное к угловому
редуктору отверстие в гайке, поворачивая винт против часовой стрелки;
заложите восемь шариков в сложенные вместе желобы и
предотвратите их выпадание, замазав выходы желоба смазкой ПВК ГОСТ 19537-74;
вложите желобы с шариками в гайку, поворачивая при
необходимости винт, и обвяжите гайку, чтобы предотвратить выпадание желобов;
проверьте момент вращения гайки на средней части винта
(должен быть равным 29,4.78,5 Н. см (3.8 кгс. см); при несоответствии момента
указанной величине замените комплект шариков, не допуская перемешивания
комплектов;
запрессуйте гайку с винтом в отверстие поршня-рейки, ввернув
и раскернив установочные винты в двух местах против канавок в поршне-рейке.
Момент затяжки установочных винтов должен быть равен 49,1.58,9 Н. м (5.6 кгс.
м). В случае совпадения канавки в поршне-рейке со шлицем винта последний
замените.
Выступание винтов над цилиндрической поверхностью
поршня-рейки недопустимо. Это вызовет задир рабочей поверхности цилиндра
гидроусилителя.
. При сборке углового редуктора с винтом и плавающей
уплотнительной втулкой убедитесь в надежности установки стопорного кольца
последней в канавку упорной крышки углового редуктора. Стопорное кольцо должно
полностью входить в упомянутую канавку.
. Устанавливайте поршень-рейку в картер с помощью оправки без
перекосов.
. При сборке клапана управления гидроусилителем проследите,
чтобы выточка на торце золотника была обращена к угловому редуктору, а фаски на
реактивных плунжерах - наружу. После сборки золотник, обратный клапан, а также
реактивные плунжеры должны перемещаться в соответствующих отверстиях корпуса
клапана управления плавно, без заеданий.
. При сборке клапана управления гидроусилителем с винтом
упорные подшипники устанавливайте так, чтобы их большие кольца были обращены к
золотнику. Пружинная шайба упорных подшипников должна быть установлена вогнутой
поверхностью в сторону подшипника. После регулировки момента, необходимого для
проворачивания корпуса клапана управления (98,1.122,6 Н. см (10.12.5кгс. см),
гайку крепления упорных подшипников застопорите вдавливанием буртика гайки в
канавку винта рулевого механизма.
. При сборке регулировочного винта и вала сошки обеспечьте
осевое перемещение винта относительно вала сошки 0,02.0,08 мм подбором
регулировочной шайбы. При необходимости замените уплотнительное кольцо
регулировочного винта, применяя оправку.
. Отрегулируйте зубчатое зацепление в паре "поршень -
рейка - зубчатый сектор вала сошки" в соответствии с указаниями,
изложенными выше. После окончания регулирования зацепления регулировочный винт
сошки закерните, затянув контргайку с моментом 58.9.63,8 Н. м (6.6,5 кгс. м),
удерживая при этом регулировочный винт от поворота.
После сборки рулевой механизм должен
соответствовать следующим требованиям:
1. Полный угол поворота вала сошки должен быть не менее 90°.
. После вращения винта рулевого механизма до упора поршня и
приложения к ведущей шестерне дополнительного вращающего момента не менее
.6Н. м (2 кгс. м) центрирующие пружины должны обеспечить его
четкий возврат в исходное положение. Указанное условие должно соблюдаться при
поворотах как вправо, так и влево.
. Момент, прилагаемый при вращении ведущей шестерни (или
усилие на ободе рулевого колеса, приложенное на радиусе 250 мм), должен быть:
после поворота ведущей шестерни более чем на два оборота в
любую сторону от среднего положения - 147.294 Н. см (15.30 кгс. см [усилие на
ободе рулевого колеса равно 5,9.11,8 Н (0,6.1,2 кгс)];
при повороте ведущей шестерни с переходом через среднее
положение при гарантированном зазоре в зубчатом зацеплении рейки-поршня и вала
сошки - 196.441 Н. см (20.45 кгс. см) [усилие на ободе рулевого колеса равно
7,8.17,7 Н (0,8.1,8 кгс)];
при повороте ведущей шестерни с переходом через среднее
положение после регулировки зубчатого зацепления рейки-поршня и вала сошки -
.1.147,2 Нсш (10.15 кгс. см) [на 3,9.5,9 Н (0,4.0,6 кгс)
больше, чем при гарантированном зазоре], но не более 540 Н. см. (55 кгс. см)
[21,6 Н (2,2 кгс)].
. Дополнительно испытайте рулевой механизм на стенде,
оборудованном насосом подачей не менее 9 1/min и обеспечивающем подвод
масла к отверстию корпуса клапана управления гидроусилителем. Испытание
проводите на масле марки Р при температуре его не ниже плюс 40°С.
Перед испытанием удалите из системы воздух. Отрегулируйте
предохранительный клапан стендового насоса на давление открытия 5390 кПа (55
кгс/см2) и проверьте:
Перед испытанием удалите из системы воздух. Отрегулируйте
предохранительный клапан стендового насоса на давление открытия 5390 кПа (55
кгс/см2) и проверьте:
вращение ведущей шестерни в любую сторону при моменте
сопротивления вращению вала сошки 0 и 1275 Н. м (130 кгс. м) должно быть
плавным, без заеданий;
давление на входе в клапан управления гидроусилителем при
нейтральном положении золотника должно быть не более 294 кРа (3 кгс/см2);
момент на ведущей шестерне при сопротивлении на валу сошки
1275 Н. м (130 кгс. м) - не более 1766 Н. см (180 кгс. см);
утечку на выходе из клапана управления гидроусилителем при
повороте ведущей шестерни до упора вправо или влево (время замера не более 20
с, начало замера через 5 с после поворота винта до упора) - не более 1200
см3/мин;
поворот вала сошки из одного крайнего положения в другое
должен происходить от усилия с моментом не более 118 Нм (12 кгс-м).
Отрегулируйте предохранительный клапан стендового насоса на
давление открытия 90 1/мин и проверьте:
давление в нагнетательной магистрали при повороте ведущей
шестерни до упора вправо и влево; оно должно быть 7355.7846 кПа (75.80
кгс/см2). После снятия усилия с винта без притормаживания и остановки вала
ведущей шестерни давление должно быстро падать до величины не более 294 кПа (3
кгс/см2);
герметичность рулевого механизма в обоих крайних положениях
поршня (по 5 min в каждом положении) при давлении 8826 кПа (90 кгс/см2). Давление
обеспечьте установкой клапана на возвратной линии;
правильность характеристики включения. Свободный ход на валу
ведущей шестерни (угол поворота вала до повышения величины давления в напорной магистрали
на 78,5 кПа (0,8 кгс/см2) должен быть 3.5° в каждую сторону. Суммарный
свободный ход (сумма углов вправо и влево) допускается не более 10
Для снятия насоса гидроусилителя при ремонте:
наклоните кабину в первое положение (42°);
выверните магнитную пробку и слейте масло из картера рулевого
механизма, для более полного слива поверните рулевое колесо два-три раза из
одного крайнего положения в другое;
отсоедините трубопроводы низкого и высокого давления от
насоса;
отсоедините трубопровод, соединяющий расширительный бачок с
левой водяной трубой;
выверните болты крепления насоса.
Снимите насос.
Для разборки и проверки насоса
снимите крышку бачка и выверните из коллектора фильтр;
выверните болты крепления и снимите бачок с коллектором,
выньте трубку;
проверьте неплоскостность опорной поверхности коллектора на
контрольной плите. Неплоскостность указанной поверхности допускается не более
0,1 мм с шероховатостью 6,3 нм. При обнаружении большей неплоскостности опорную
поверхность коллектора профрезеруйте с последующей проверкой на плите, а
паронитовую прокладку замените;
установите в тисках насос так, чтобы его вал был расположен
вертикально, шестерней вниз, выверните четыре стяжных болта и, удерживая
перепускной клапан от выпадания, снимите крышку насоса;
проверьте состояние уплотнительной поверхности седла для
подсоединения трубопровода высокого давления.
При значительном обмятии указанной поверхности, что может
вызвать течь, болтом М6 извлеките седло, предварительно нарезав в нем резьбу.
Чтобы избежать попадания стружки в клапан, в отверстие седла заложите
консистентную смазку. При запрессовке нового седла применяйте оправку;
проверьте легкость и плавность перемещения перепускного
клапана в отверстии крышки под действием собственного веса. При проверке пружина
клапана должна быть вынута. При необходимости клапан и отверстие в крышке
промойте ацетоном, очистив их рабочие поверхности от прилипших посторонних
частиц или заусенцев.
Клапан и крышка подобраны на заводе индивидуально, поэтому не
разукомплектовывайте эту пару (зазор в ней на новом насосе составляет
0,013.0,023 мм).
При обнаружении недопустимого износа в этой паре (насос не
обеспечивает требуемой подачи) клапан и крышку замените, комплектно;
проверьте величину давления настройки предохранительного
клапана насоса и затяжку его седла.
Клапан проверяйте в специальном приспособлении, позволяющем
подвести масло под давлением к отверстию в его седле, например,
нагрузочно-измерительном стенде МТ-60 (Польша).
Проверьте целостность пружины и соберите клапан, затянув его
седло с моментом 14,7.19,6 Н. м (1,5.2 кгс. м).
Клапан должен открываться при давлении 8336.8826 кПа (85.90
кгс/см2) и пропускать при этом непрерывную струю масла. Если клапан срабатывает
при меньшем давлении, то причиной дефекта может быть осадка его пружины
вследствие случившегося ранее перегрева насоса. В этом случае, чтобы
ликвидировать указанный дефект, допускается снятие регулировочных прокладок
из-под седла предохранительного клапана.
При этом следует иметь в виду, что снятие одной прокладки
толщиной 0,5 или 0,7 мм дает повышение давления соответственно приблизительно
на 686,5 или 980,7 кПа (7 или 10 кгс/см2). Не рекомендуется снимать последнюю
прокладку из-под седла, так как отсутствие прокладки может привести к
самопроизвольному отворачивайте седла при эксплуатации автомобиля.
При отсутствии специального приспособления, упомянутого выше,
правильность регулирования предохранительного клапана можно проверить на стенде
в сборе с насосом, включающем электродвигатель мощностью не менее 2,5 кВт,
приводящий в действие проверяемый насос через зубчатую передачу. Скорость
вращения вала насоса 600 мин-1. В напорной магистрали насоса должен быть
установлен манометр с пределом измерения 9807 кПа (100 кгс/см2) и вентиль.
Длина трубопровода от вентиля к бачку не менее 1 м. Перед проверкой насоса
следует приработать его в течение 10.15 мин, постепенно повышая давление
вентилем до 4904.5349 кПа (50.55 кгс/см2);
вложите клапан с пружиной в отверстие крышки и еще раз
убедитесь в плавности его перемещений.
При всех дальнейших операциях разборки и последующей сборки
деталей качающего узла насоса следует иметь в виду, что статор, ротор и лопасти
насоса подобраны комплектно с заводом изготовителем; при разборке не нарушайте
их комплектность, не меняйте местами лопасти. При замене статор, ротор и
лопасти устанавливайте комплектно;
отметьте взаимные положения распределительного диска
относительно статора, а последнего - относительно корпуса насоса и снимите их
со штифтов. Стрелка на статоре указывает направление вращения вала насоса;
снимите ротор вместе с лопастями, проследив за тем, чтобы
лопасти не выпали из своих пазов;
1.7 Техника
безопасности при ТО и ремонте
Техника безопасности для слесаря ремонтника
. При работе возможно воздействие следующих опасных
производственных факторов: травмы при работе неисправным инструментом,
травмирование ног при падении деталей и узлов, превышение предельно допустимой
нагрузки при переноске тяжести, отравление и ожоги при использовании
легковоспламеняющейся жидкости.
. При работе слесарь ремонтник должен использовать спец.
одежду.
. В слесарно-монтажной мастерской должна быть медицинская
аптечка с набором медикаментов и перевязочных средств для оказания первой
медицинской помощи при травмах.
. При работе в слесарно-монтажной мастерской необходимо
соблюдать правила пожарной безопасности, знать средства расположений первичных
средств пожаротушения. В слесарно-монтажной мастерской должен быть огнетушитель
и ящик с песком.
. Перед началом работы необходимо одеть спец. одежду.
. Изучить порядок выполнения и безопасность.
. Подготовить к работе оборудование, инструменты и
приспособления проверить их исправность.
. Быть внимательным, правильно выполнять трудовые приемы.
. Работать только исправным инструментом и приспособлением.
. Гаечные ключи применять только в соответствии только по
размеру гаек и болтов. Запрещается наращивать ключи, использовать прокладки,
ударять по ключу, разводные ключи не должны иметь люфта в подвижных местах.
. Отвертки следует применять в соответствии с шириной шлица
винта.
. При разборке и сборке агрегатов узлов следует применять
съемные приспособления указаны в конструкционной карте.
. Снятые детали или узлы необходимо складывать на верстак,
длинные детали валы, полуоси запрещается ставить вертикально во избежание их
падения и травмирования людей.
. Для подъема установки и снятия деталей и агрегатов массой
более 15кг должны применяться подъемные приспособления. Для перемещения узлов и
деталей массой более 15кг необходимо использовать тележки со стойками и
упорами.
. Во избежание отравлений и возникновения пожара запрещается
применять для промывки деталей бензин.
. При обработке деталей необходимо надежно закреплять их в
тисках.
1.8 Охрана труда
на предприятии (СТО)
ТО и ТР автомобилей производится в специально отведенных
местах (постах), оснащенных необходимыми приборами и приспособлениями,
инвентарем, оборудованием и инструментом, в том числе специализированным,
предусмотренными определенным видом работ.
На посты ТО и ТР автомобили должны подаваться чистыми и в
сухом состоянии.
Постановка автомобилей на посты ТО и ТР осуществляется под
руководством мастера или начальника участка.
Не допускается въезжать в помещения стоянки, ТО и ТР на автомобиле,
габариты которого превышают указанные над въездными воротами.
Автомобиль, установленный на напольный пост ТО и ТР,
необходимо надежно закрепить путем установки не менее двух упоров под колеса,
затормозить стояночным тормозом, при этом рычаг коробки переменных передач
должен быть установлен в нейтральное положение, на автомобилях с бензиновыми
двигателями следует выключить зажигание, а на автомобилях с дизельными
двигателями перекрыть подачу топлива. Во всех случаях кнопка массы автомобиля
должна быть выключена.
На рулевое колесо должна быть вывешена табличка с
надписью "Двигатель не запускать! Работают люди!".
На автомобилях, имеющих дублирующее устройство для пуска
двигателя, аналогичная табличка должна вывешиваться у этого устройства.
Перемещение автомобилей с помощью подъемников необходимо
производить в соответствии с требованиями паспортов-инструкций подъемников.
При обслуживании автомобиля на подъемнике (гидравлическом,
электромеханическом) на пульте управления подъемником должна быть вывешена табличка
с надписью "Не трогать - под автомобилем работают люди!".
Перед вывешиванием подвижного состава с помощью
грузоподъемных машин и механизмов все другие работы на нем должны быть
прекращены, а исполнители этих работ должны быть удалены на безопасное расстояние.
В рабочем или подмятом положении плунжер гидравлического
подъемника должен надежно фиксироваться упором или штангой, гарантирующим
невозможность самопроизвольного опускания подъемника.
Посты ТО на поточных линиях с принудительным
передвижением автомобилей должны быть оборудованы:
сигнализацией (световой, звуковой), предупреждающей
работающих на линии обслуживания о начале передвижения автомобиля с поста на
пост
устройством, обеспечивающим остановку передвижения с любого
поста
Передвижение автомобилей с поста на пост разрешается только
после получения сигналов со всех постов об окончании работы и подачи на все
посты сигнала, предупреждающего о начале передвижения.
При работе с высоко расположенными деталями или агрегатами
автомобилей следует применять устойчивые специальные подставки.
Не допускается пуск двигателя автомобиля на постах
технического обслуживания и ремонта ремонтным рабочим, кроме
водителя-перегонщика, а также бригадира или слесаря, назначаемых приказом по
организации и инструктируемых каждый квартал.
Перед проведением работ, связанных с проворачиванием
коленчатого и карданного валов, необходимо дополнительно проверить выключение
зажигания (перекрытие подачи топлива для дизельных автомобилей), нейтральное
положение рычага переключения передач, освободить рычаг стояночного тормоза.
После выполнения необходимых работ автомобиль следует затормозить стояночным
тормозом.
Не допускается проворачивать карданный вал при помощи лома
или монтажной лопатки.
Рабочие, производящие обслуживание и ремонт автомобилей,
должны обеспечиваться соответствующими исправными инструментами и
приспособлениями.
При необходимости выполнения работ под автомобилем,
находящимся вне осмотровой канавы, подъемника, эстакады, рабочие должны
обеспечиваться лежаками.
Работать лежа на полу или земле без лежака не допускается.
При вывешивании части автомобиля, прицепа, полуприцепа
подъемными механизмами (домкратами, талями и тому подобным), кроме
стационарных, необходимо вначале подставить под неподнимаемые колеса
противооткатные упоры, вывесить автомобиль, подставить под вывешенную часть
козелки и опустить на них автомобиль. Перед вывешиванием задней оси
расцепленного двухосного прицепа необходимо его поворотный круг зафиксировать
стопорным устройством.
Не допускается:
выполнять какие-либо работы на автомобиле, прицепе,
полуприцепе, вывешенном только на одних подъемных механизмах, кроме специальных
разработанных подъемников, обеспечивающих безопасность их эксплуатации без
дополнительных подставок при соблюдении требований, изложенных в инструкциях по
эксплуатации этих подъемников
находиться в осмотровой канаве, под эстакадой при перемещении
по нему обслуживаемых транспортных средств
подкладывать под вывешенный автомобиль, прицеп, полуприцеп
вместо козелков диски колес, кирпичи и прочие случайные предметы
снимать и ставить рессоры на автомобилях, прицепах,
полуприцепах всех конструкций и типов без предварительной их разгрузки от массы
кузова путем вывешивания кузова с установкой козелков под него или раму
автомобиля
проводить техническое обслуживание и ремонт автомобиля при
работающем двигателе, за исключением отдельных видов работ, технология
проведения которых требует пуска двигателя
поднимать или вывешивать автомобиль за буксирные
приспособления, крюки путем захвата за них тросами, цепью или крюком подъемного
механизма
снимать, устанавливать и транспортировать агрегаты при
зачаливании их тросами или канатами
поднимать, даже кратковременно, грузы массой более чем это
указано на табличке данного подъемного механизма
поднимать груз при косом натяжении троса или цепей
работать на неисправном оборудовании, а также с неисправными
инструментами и приспособлениями
самому производить устранение неисправностей оборудования
оставлять инструмент и детали на краях осмотровой канавы
Ремонт, замена подъемного механизма кузова
автомобиля-самосвала, самосвального прицепа или, долив в него масла, должны
производиться после установки под поднятый кузов специального дополнительного
упора, исключающего возможность падения или самопроизвольного опускания кузова.
Не допускается:
работать под поднятым кузовом автомобиля-самосвала,
самосвального прицепа без специального дополнительного упора
использовать случайные подставки и подкладки вместо
специального дополнительного упора
работать с поврежденными или неправильно установленными
упорами
пускать двигатель и перемещать автомобиль при поднятом кузове
производить ремонтные работы под поднятым кузовом
автомобиля-самосвала, самосвального прицепа без предварительного его
освобождения от груза
При ремонте и обслуживании автобусов и грузовых автомобилей
рабочие должны быть обеспечены подмостями или лестницами-стремянками. Применять
приставные лестницы не разрешается.
Подмости должны быть устойчивыми и иметь поручни и лестницу.
Металлические опоры подмостей должны быть надежно связаны между собой.
Переносные лестницы-стремяки должны иметь врезные ступеньки
шириной не менее 150 мм. Не допускается применять лестницы с набивными
ступеньками.
Лестница-стремянка должна быть такой длины, чтобы рабочий мог
работать со ступеньки, отстоящей от верхнего конца лестницы не менее, чем на
один метр. Нижние концы лестницы должны иметь наконечники, препятствующие ее
скольжению.
Убирать рабочее место от пыли, опилок, стружки, мелких
металлических обрезков разрешается только щеткой. Не допускается сдувать пыль,
опилки, стружку, мелкие обрезки сжатым воздухом.
При работе на поворотном стенде (опрокидывателе) необходимо
предварительно надежно укрепить автомобиль на нем, слить топливо из топливных
баков и жидкость из системы охлаждения, плотно закрыть масло заливную горловину
двигателя и снять аккумуляторную батарею, все незакрепленные предметы из
кузова, кабины и салона следует удалить.
Заключение
Всем известно выражение: "Лучшее лечение это -
профилактика". Поэтому каждый раз, общаясь со своим автомобилем снизу (на
смотровой яме или эстакаде), одним из первых дел следует проверить элементы
рулевого привода и механизма. К счастью времена всеобщего дефицита прошли, и
есть возможность приобрести качественные детали, а не те многочисленные
подделки, которые выходят из строя через неделю эксплуатации, как это было в
недавнем прошлом.
Решающую роль в долговечности деталей и узлов автомобиля
играют стиль вождения, состояние дорог и своевременное обслуживание. Все это
влияет и на срок службы деталей рулевого управления. Когда водитель постоянно
дергает руль, крутит его на месте, прыгает по ямам и устраивает гонки по
бездорожью - происходит интенсивный износ всех шарнирных соединений привода и
деталей рулевого механизма.
Литература
1.
ГОСТ Р 51709-2001 - Автотранспортные средства. Требования Безопасности к
техническому состоянию и методы проверки.
.
В.А. Бондаренко, Н.Н. Якунин, В.Я. Климентов - "Лицензирование и
сертификация на автомобильном транспорте". Учебное пособие. 2-е издание -
М; Машиностроение, 2004-496 с. Москва "Машиностроение" 2004 г.
.
Машков Е.А. Техническое обслуживание и ремонт автомобилей КмАЗ.
Иллюстрированное издание-Издательство "Третий Рим", 1997-88 с.
.
Осыко В.В. и др. Устройство и эксплуатация автомобиля КамАЗ, Учебное пособие.:
Патриот, 1991. - 351 с.: ил.
.
Роговцев В.Л. и др. Устройство и эксплуатация автотранспортных средств: Учебник
водителя. М.: Транспорт, 1989. - 432 с.: ил.
.
Румянцев С.И. и др. Техническое обслуживание и ремонт автомобилей: Учебник для
ПТУ. М.: Машиностроение, 1989. - 272 с
.
Устройство, техническое обслуживание и ремонт автомобилей. Ю.И. Боровских, Ю.В.
Буралев, К.А. Морозов, В.М. Никифоров, А.И. Фешенко - М.: Высшая школа;
Издательский центр "Академия", 1997. - 528 с.