Электроснабжение и электрооборудование инструментального цеха
ГОСУДАРСТВЕННОЕ
БЮДЖЕТНОЕ
ОБРАЗОВАТЕЛЬНОЕ
УЧРЕЖДЕНИЕ
СРЕДНЕГО
ПРОФЕССИОНАЛЬНОГО ОБРАЗОВАНИЯ
«САНКТ-ПЕТЕРБУРГСКИЙ
ТЕХНИКУМ ОТРАСЛЕВЫХ ТЕХНОЛОГИЙ, ФИНАНСОВ И ПРАВА»
Пояснительная
записка к курсовому проекту
МДК.02.02.
«Внутреннее электроснабжение промышленных и гражданских зданий»
«Электроснабжение
и электрооборудование инструментального цеха»
Исполнитель: Иванов В.А.
Содержание
Введение
1. Общая
часть
.1 Краткая
характеристика объекта
1.2 Исходные
данные на разработку проекта
2. Расчетно-техническая
часть
.1 Электроснабжение
и электрооборудование
.1.1 Выбор
схемы распределения электроэнергии на напряжение 380 В и электрооборудования
2.1.2 Расчет
электрических нагрузок
.1.3 Расчет
питающей и распределительной силовой сети 380 В с выбором сечений проводов,
кабелей и аппаратов защиты
.1.4 Мероприятия
по повышению Cos φ
2.1.5 Выбор
числа и мощности силовых трансформаторов на ТП
.1.6 Выбор
схем электроснабжения при напряжении 6 (10) кВ и схемы ТП
.1.7 Расчет
нагрузки при напряжении 6 (10) кВ и линии, питающей цеховую ТП
.1.8 Выбор
оборудования ТП с расчетом токов короткого замыкания
2.2 Электроосвещение
.2.1 Светотехнический
расчет методом коэффициента использования светового потока
2.2.2 Расчет
сети электроосвещения
2.3 Заземление
объекта
.3.1 Выбор
конструкции сети заземления
2.3.2 Расчет
наружного заземления
Список
литературы
Введение
Целью данной работы является разработка проекта
внутреннего электроснабжения инструментального цеха. Это является очень важной
задачей для всей электропромышленности, так как без этого невозможно правильно
рассчитать и установить все электрооборудование.
Жизнь современного человека немыслима без
электричества. Использование электроэнергии растёт с каждым днем.
В связи с требованием правительства осуществить
импортозамещение отечественными товарами, в экономике резко возрастает роль
металлообрабатывающего производства.
Для качественного и надёжного электроснабжения
предприятий необходимо его грамотное проектирование.
В данной работе мы: выбирали схему
распределения электроэнергии на напряжение 380 в и электрооборудования,
рассчитывали электрические нагрузки, проводили мероприятия по повышению сos
, рассчитывали сети
электроосвещения, выбирали конструкции сети заземления.
1.
Общая
часть
1.1 Краткая
характеристика объекта
Инструментальный цех (ИЦ) предназначен для
изготовления и сборки различного измерительного, режущего, вспомогательного
инструмента, а также штампов и приспособлений для горячей и холодной штамповки.
ИЦ является вспомогательным цехом завода по
изготовлению механического оборудования и станков. Цех имеет производственные,
вспомогательные, служебные и бытовые помещения.
Станочный парк размещен в станочном отделении.
Электроснабжение цеха осуществляется от собственной цеховой ТП. Здание
расположено на расстоянии 1,2 км от заводской главной понизительной подстанции
(ГПП), напряжение - 1 кВ. Расстояние ГПП от энергосистемы -12 км.
Количество рабочих смен - 1. Потребители
электроэнергии - 2 и 3 категории надежности ЭСН.
Грунт в районе цеха - чернозем. Каркас здания
сооружен из блоков-секций длиной 6 м каждый.
Размеры цеха Л х Р х Н= 48 х 30 х 8 м.
Все помещения, кроме станочного отделения,
высотой 3,6 м.
Перечень оборудования ИЦ дана в таблице исходные
данные
Мощность электропотребления (РУ)
указана для одного электроприемника.
Расположение ЭО показано на плане
СПТОТФПКЭ8911.ЭТХ.1.
1.2 Исходные данные на разработку проекта
Так как режим работы электроустановок
длительный, то принимаем равными значения номинальной, установленной и
паспортной активной мощности:
PН
= РП = РУ
Значения коэффициента использования КИ,
коэффициента спроса КС, коэффициента пуска КП,
коэффициента активной мощности cosφ,
коэффициента реактивной мощности tgφ
определяем по справочным данным.
Значения номинальных токов рассчитываем по
формуле:
IН
= PH / 1,73 * UH
* cosφ
Значения пусковых токов так же рассчитаны по
формуле:
IП
= IH * KП
Полученные результаты заносим в таблицу 1.
электрический сеть трансформатор
световой
2.
Расчетно-техническая часть
2.1 Электроснабжение и
электрооборудование
2.1.1 Выбор
схемы распределения электроэнергии на напряжение 380В и электрооборудования
Схема силовой сети цеха определяется
технологическим процессом производства, категорией надёжности электроснабжения,
расположением электроприёмников и ТП, а также их установленной мощностью.
Линии, отходящие от ТП или вводного устройства,
образуют питающую сеть, а подводящую энергию к приёмникам от РП -
распределительную.
Так как электрооборудование имеет неравномерное
распределение по площади участка токарного цеха, выбираем радиальную схему
электроснабжения.
Для РП1, РП2, РП3, РП4, РП5 и РП6 выбираем шкафы
распределения типа ПР85-8012-21-УЗ.
Автоматические выключатели на вводах и выводах
распределительных пунктов приведены в таблице 4.
.1.2 Расчет электрических нагрузок
Расчет ведется методом упорядоченных диаграмм [7
],т.к. известны единичные мощности электроприемников, их количество и
технологические назначения,расчет выполняется по узлам питания системы
электроснабжения.
Расчет ЭО по узлам питания системы
электроснабжения
На примере РП-2 выполним расчет узла питания U=380
В.
Принимаем РУ = РН
Приемники:
№ 48,49,52,53 - заточные станки - 2,3 кВт
№ 50,51 - наждачные станки - 1,5 кВт
№ 47 - кран-балки - 5 кВт
. Определяем установленную активную
мощность по группам электроприемников:
гр.
= Pу * Nп,
где Pгр. - суммарная номинальная
активная мощность по группам; кВту. - установленную активная
мощность единичного электроприемника; кВт
Nп
- число приемников в технологической группеу.гр.1 = 2,3 * 4 = 9,2
кВту.гр.2 = 1,5 * 2 = 3 кВту.гр.3 = 5 * 1 = 5 кВт
.Расчет среднесменной активной мощности по
группам эл. приемников:
см.гр. =
Pу.гр. * Kи,
где Pсм .гр. - среднесменная активная
мощность, кВт
Ки - коэффициент использованиясм.гр.1
= 9,2 * 0,15 = 1,38 кВтсм.гр.2 = 3 * 0,145 = 0,435 кВтсм.гр.3
= 5 * 0,1 = 0,5 кВт
.Расчет среднесменной реактивной мощности по
группам:
см.гр.
= Pсм.гр. * tgφ
см.гр.1
= 1,38 * 2,3 = 3,174 кВарсм.гр.2 = 0,435 * 2,3 = 1 кВарсм.гр.3
= 0,5 * 1,73 = 0,865 кВар
. Определяем суммарную установленную мощность
эл. приемников:
∑Pу.гр.
= Pу.гр.1
+ Pу.гр.2
+ Pу.гр.3
∑Pу.гр.
= 9,2 + 3 + 5 = 17,2 кВт
.Определяем суммарную среднесменную активную
мощность электроприемников:
∑Pсм.гр. = Pсм.гр.1
+ Pсм.гр.2 + Pсм.гр.3
∑Pсм.гр. = 1,38 + 0.435 + 0,5 =
2,315 кВт
. Определяем суммарную среднесменную реактивную
мощность электроприемников:
∑Qсм.гр. = Qсм.гр.1
+ Qсм.гр.2 + Qсм.гр.3
∑Qсм.гр. = 3,174 + 1 + 0,865 =
5 кВар
.Определяем коэффициент использования по узлу
питания:
Ки. узла = ∑Pсм. / ∑Pу.
Ки. узла = 2,315 / 17,2 = 0,134
.Определяем эффективное число приемников:

э = (∑Pу.гр.)2
/ ∑Pу.гр2

э = 17,22
/ 2,32 * 4 + 1,52 * 2 + 52 *1 = 5,8
.Находим коэффицент максимума по
графику [ 7, с.34 ]: Км = 3,1
.Определяем максимальную активную
мощность:
Pм
= Км * Pсм
Pм
= 2,315 * 3,1 = 7,17 кВт
. Определяем максимальную реактивную мощность:
Принемаем Qм
=
1,1Qсм ,
если n≤10, то:
Qм
= 1,1Qсм
Qм
= 1,1 * 5 = 5,5 кВар
12. Определяем максимальную полную мощность:


13. Определяем максимальный ток:
Iм =
Sм
/ U * √3
Iм =
9 / 0,38 * √3 = 13,67 A
Аналогично производим расчет по остальным узлам
питания, результаты заносим в таблицу 2, которая приведена на след. странице.
Таблица 1 Исходные данные
|
№
|
Наименование
Электрооборудования
|
Pу,
кВт
|
Кол-во
шт.
|
КИ
|
КС
|
cosφ
|
tgφ
|
KП
|
IH,
A
|
Iп,
А
|
|
п/п
|
на
плане
|
|
|
|
|
|
|
|
|
|
|
|
1
|
1,2,40,
41,46
|
Поперечно-строгальные
станки
|
5,5
|
5
|
0,15
|
0,2
|
0,4
|
2,3
|
6,5
|
20,9
|
135,8
|
|
2
|
3,5…7,
28…31
|
Токарно-револьверные
станки
|
4,8
|
8
|
0,145
|
0,2
|
0,4
|
2,3
|
6,5
|
18,2
|
118,5
|
|
3
|
4,8,32…34
|
Одношпиндельные
автоматы токарные
|
1,8
|
5
|
0,45
|
0,6
|
0,7
|
1
|
6
|
3,9
|
23,4
|
|
4
|
9…15,26,27
|
Токарные
автоматы
|
4,5
|
7
|
0,5
|
0,6
|
0,7
|
1
|
6,5
|
9,8
|
63,5
|
|
5
|
16,17,19,20,
44,45
|
Алмазно-расточные
станки
|
2,8
|
6
|
0,15
|
0,2
|
0,4
|
2,3
|
6
|
10,6
|
63,8
|
|
6
|
18,21…
25,37,38
|
Горизонтально-фрезерные
станки
|
10
|
8
|
0,147
|
0,2
|
0,4
|
2,3
|
7
|
38,0
|
265,9
|
|
7
|
35,36,50,51
|
Наждачные
станки
|
1,5
|
4
|
0,145
|
0,2
|
0,4
|
2,3
|
6
|
5,7
|
34,2
|
|
8
|
39,47
|
Кран-балки
|
5
|
2
|
0,1
|
0,1
|
0,5
|
1,73
|
6,5
|
15,2
|
98,8
|
|
9
|
42,43,48,
49,52,53
|
Заточные
станки
|
2,3
|
6
|
0,15
|
0,2
|
0,4
|
2,3
|
6
|
8,7
|
52,4
|
Таблица 2. Расчет силовых электрических нагрузок
|
№
п/п
|
Наименование
узлов питания
|
Кол-во
Э/П
|
P
уст. ∑Pн.гр. кВт
|
Ки
по узлу питания
|
Nэ
|
Км
|
Среднесменная
нагрука
|
Максимальная
|
Максимальный
ток Iм., А
|
|
|
|
|
|
|
|
Активная
Рсм., кВт
|
Реактивная
Qсм., кВар
|
Рм.,
кВт
|
Qм.,
кВар
|
Sм.,
кВА
|
|
|
1
|
РП
- 1
|
10
|
68,7
|
0,145
|
8,1
|
3,2
|
10
|
23
|
32
|
25,3
|
40,7
|
61,6
|
|
2
|
РП
- 2
|
7
|
17,2
|
0,134
|
7,6
|
3,1
|
2,3
|
5
|
7,1
|
5,5
|
9
|
13,6
|
|
3
|
РП
- 3
|
10
|
39
|
0,169
|
5,6
|
2,9
|
6,6
|
12,8
|
19,4
|
14
|
23,9
|
36,4
|
|
4
|
РП
- 4
|
9
|
40,2
|
0,259
|
6,9
|
2,6
|
10,4
|
14,9
|
27
|
16,4
|
31,5
|
48
|
|
5
|
РП
- 5
|
9
|
33,8
|
0,177
|
7,1
|
2,8
|
6
|
11,8
|
16,8
|
13
|
21,2
|
32,2
|
|
6
|
РП
- 6
|
8
|
37,1
|
0,44
|
8,7
|
1,7
|
16,5
|
17,6
|
29,8
|
19,4
|
35,6
|
54,1
|
|
Итого
|
|
|
|
|
|
|
|
132,1
|
93,6
|
161,9
|
245,9
|
.1.3 Расчет питающей и распределительной силовой
сети 380 В с выбором сечения проводов, кабелей и аппаратов защиты
Расчет силовой питающей сети
Расчет сечения кабелей от ВРУ до РП показана на
примере РП-2. Среднесменная общая активная мощность электроприемников РП-2
составляет 2,3 кВт. Сечение кабеля U
< 1 кВ выбираем по следующему условию[7],[8]:
. При выборе сечения проводов и кабелей
учитывается условие:
Iм
≤ Iд,
где Iм
-
максимальный ток РП - 2; А
Iд
- допустимый длительный ток нагрузки, А [7, c.337]
Iм -
13,6 А
Выбираем кабель ВВГ5х1,5, прокладываемый в
трубах (лотках). Значение Iд.
для данного кабеля равняется 19 А.
. Проверяем выбранный кабель на
допустимый ток нагрева:
. Рассчитываем ток теплового расцепителя
для автоматического выключателя [10, c.39]:
Iр =
1,6 * Iм
Iр.=
1,6 * 13,6 = 21,8 A
Выбираем автоматический выключатель ВА 51 -
25(25А)
Расчет силовой распределительной сети
. Выбираем кабель для приемников №
48,49,52,53 питающихся от РП-2. Данные приемников берем из таблицы 1.
Iн =8,7А
Выбираем кабель
ВВГ 5х0,5, прокладываемый в трубах (лотках).
Значение Iд.
для данного кабеля равняется 11 А.
. Проверяем выбранный кабель на
допустимый ток нагрева:
Iм
≤ Iд.
,7 А < 11 A
- выбранный кабель отвечает условиям.
. Рассчитываем ток теплового расцепителя
для автоматического выключателя:
Iр =
1,6 * Iм
Iр =
1,6 * 8,7 = 14 А
Выбираем автоматический выключатель: ВА 51 - 25
(16 A)
. Выбираем кабель для приемников № 50,51
питающихся от РП-2. Данные приемников берем из таблицы 1.
Iн =
5,7 А
Выбираем кабель:
ВВГ 5х0,5, прокладываемый в трубах (лотках).
Значение Iд.
для данного кабеля равняется 11 А.
. Проверяем выбранный кабель на
допустимый ток нагрева:
Iм
≤ Iд
,7 < 11A
- выбранный кабель отвечает условиям.
. Рассчитываем ток теплового расцепителя
для автоматического выключателя:
Iр =
1,6 * Iм
Iр =
1,6 * 5,7 = 9,1А
Выбираем автоматический выключатель: ВА 51 - 25
(10А)
. Выбираем кабель для приемника № 47
питающихся от РП-2. Данные приемников берем из таблицы 1.
Iн =
15,2 А
Выбираем кабель:
ВВГ 5х1,5 прокладываемый в трубах (латках).
Значение Iд.
для данного кабеля равняется 19 А.
. Проверяем выбранный кабель на
допустимый ток нагрева:
Iм
≤ Iд
,2 < 19 A
- выбранный кабель отвечает условиям.
. Рассчитываем ток теплового расцепителя
для автоматического выключателя:
Iр =
1,6 * Iм
Iр =
1,6 * 15,2 = 24,3 А
Выбираем автоматический выключатель: ВА 51 - 25
(31,5А)
По аналогии выполняется расчёт остальных РП.
Результаты заносятся в таблицу 3,4.
Маркировка:
ВВГ,
где В - поливинилхлоридная изоляция,
В - ПВХ оболочка,
Г - для прокладки внутри помещений, в каналах.
Таблица 3. Электрические кабели
|
Распределительный
пункт
|
Наименование
электроприемников
|
Тип
кабеля от РП до ЭП
|
Тип
кабеля от ТП до РП
|
|
РП
- 1
|
Поперечно-стогальный
станок
|
ВВГ
5х2,5
|
ВВГ
5х10
|
|
Токарно-револьверный
станок
|
ВВГ
5х2,5
|
|
|
Алмазно-расточные
станки
|
ВВГ
5х0,75
|
|
|
Горизонтально-фрезерные
станки
|
ВВГ
5х6
|
|
|
РП
- 2
|
Заточные
станки
|
ВВГ
5х0,5
|
ВВГ
5х1,5
|
|
Наждачные
станки
|
ВВГ
5х0,5
|
|
|
Кран-балки
|
ВВГ
5х1,5
|
|
|
РП
- 3
|
Одношпиндельные
автоматы токарные
|
ВВГ
5х0,5
|
ВВГ
5х6
|
|
Горизонтально-фрезерные
станки
|
ВВГ
5х6
|
|
|
Наждачные
станки
|
ВВГ
5х0,5
|
|
|
Кран-балка
|
ВВГ
5х1,5
|
|
|
Алмазно-расточные
станки
|
ВВГ
5х0,75
|
|
|
Заточные
станки
|
ВВГ
5х0,5
|
|
|
РП
- 4
|
Поперечно-стогальные
станки
|
ВВГ
5х0,5
|
ВВГ
5х10
|
|
Одношпиндельные
автоматы токарные
|
ВВГ
5х0,5
|
|
|
Токарные
автоматы
|
ВВГ
5х0,5
|
|
|
Токарно-револьверный
станок
|
ВВГ
5х2,5
|
|
|
Горизонтально-фрезерный
станкок
|
ВВГ
5х6
|
|
|
РП
- 5
|
Поперечно-стогальные
станки
|
ВВГ
5х0,5
|
ВВГ
5х2,5
|
|
Одношпиндельные
автоматы токарные
|
ВВГ
5х0,5
|
|
|
Токарно-револьверные
станки
|
ВВГ
5х2,5
|
|
|
РП
- 6
|
Токарные
автоматы
|
ВВГ
5х0,5
|
ВВГ
5х10
|
|
Алмазно-расточные
станки
|
ВВГ
5х0,75
|
|
Таблица 4. Автоматические выключатели
|
Распределительный
пункт
|
Наименование
электроприемников
|
Тип
автоматического выключателя от РП до ЭП
|
Тип
автоматического выключателя от ТП до РП
|
|
РП
- 1
|
Поперечно-стогальный
станок
|
ВА
51 - 31 - 1 (40А)
|
ВА
51 - 31 - 1 (100А)
|
|
Токарно-револьверный
станок
|
ВА
51 - 31 - 1 (31,5А)
|
|
|
Алмазно-расточные
станки
|
ВА
51 - 25 (20А)
|
|
|
Горизонтально-фрезерные
станки
|
ВА
51 - 31 - 1 (63А)
|
|
|
РП
- 2
|
Заточные
станки
|
ВА
51 - 25 (16 A)
|
ВА
51 - 25 (25А)
|
|
Наждачные
станки
|
ВА
51 - 25 (10А)
|
|
|
Кран-балка
|
ВА
51 - 25 (25А)
|
|
|
РП
- 3
|
Одношпиндельные
автоматы токарные
|
ВА
51 - 25 (6,3 A)
|
ВА
51 - 31 - 1 (63А)
|
|
Горизонтально-фрезерные
станки
|
ВА
51 - 31 - 1 (63А)
|
|
|
Наждачные
станки
|
ВА
51 - 25 (10А)
|
|
|
Кран-балка
|
ВА
51 - 25 (25А)
|
|
|
Алмазно-расточные
станки
|
ВА
51 - 25 (20А)
|
|
|
Заточные
станки
|
ВА
51 - 25 (16 A)
|
|
|
РП
- 4
|
Поперечно-стогальные
станки
|
ВА
51 - 31 - 1 (40А)
|
ВА
51 - 31 - 1 (80А)
|
|
Одношпиндельные
автоматы токарные
|
ВА
51 - 25 (16 A)
|
|
|
Токарные
автоматы
|
ВА
51 - 25 (16 A)
|
|
|
Токарно-револьверный
станок
|
ВА
51 - 31 - 1 (31,5А)
|
|
|
Горизонтально-фрезерный
станкок
|
ВА
51 - 31 - 1 (63А)
|
|
|
РП
- 5
|
Поперечно-стогальные
станки
|
ВА
51 - 31 - 1 (40А)
|
ВА
51 - 31 - 1 (63А)
|
|
Одношпиндельные
автоматы токарные
|
ВА
51 - 25 (16 A)
|
|
|
Токарно-револьверные
станки
|
ВА
51 - 31 - 1 (31,5А)
|
|
|
РП
- 6
|
Токарные
автоматы
|
ВА
51 - 25 (16 A)
|
ВА
51 - 31 - 1 (100А)
|
|
Алмазно-расточные
станки
|
ВА
51 - 25 (20А)
|
|
2.1.4 Мероприятия по повышению cosφ
Для уменьшения реактивной мощности необходимо
произвести ее компенсацию, которая улучшает качество электроэнергии в сетях и является
одним из основных способов сокращения потерь электроэнергии.
Согласно ПУЭ величина коэффициента активной
мощности должна быть в пределах сos
φ = 0,92…0,95.
Определяем сos
φ до компенсации в
пределах от 0,92 до 0,95:
- требуется компенсация
1. Определяем расчетную реактивную мощность
компенсирующего устройства:
Qку =
λ * Pм
(tgφ
- tgφк)
где: Qку
-
расчетная реактивная мощность компенсирующего устройства; кВар
λ
-коэффициент учитывающий повышение сosφ
естественным путем равен 0,9
Pм -
максимальная активная мощность механосборочного цеха; кВт
tgφ -
коэффициент реактивной мощности до компенсации
tgφк
- коэффициент реактивной мощности после компенсации
tgφ = ∑Qм
/
∑Pм
tgφ
= 93,6 / 132,1 = 0,7
Принимаем значение сosφ
= 0,95, тогда tgφк
= 0,33
. В качестве компенсирующего устройства
выбираем установку компенсации реактивной мощности:
Qку =
0,9 * 132,1 * ( 0,7 - 0,33) = 43,9 кВар
В качестве компенсирующего устройства выбираем
конденсатор реактивной мощности типа:
КС2 - 0,38 - 50 - 3У3 [10,с.124]
Описание конденсатора:
К - тип конденсатора. Конденсатор косинусный;
С - совтол (синтетическая жидкость);
2 - габариты 380х120х640 мм;
,38 - номинальное напряжение, кВ;
- номинальная мощность кВар;
ЗУЗ - Климатическое исполнение. Умеренный
климат; в закрытом помещении без искусственного регулирования климатических
условий
3. Определяем максимальную мощность после
компенсации на РУНН реактивной мощности:
4. Определяем 
после компенсации:

2.1.5 Выбор числа и мощности силовых
трансформаторов на ТП
Число и мощность трансформаторов выбираются: по
графику нагрузок потребителей и расчетным значениям средией и максимальной
мощностей, по технико-экономическим показателям отдельных вариантов систем
электроснабжения, по условию обеспечения режима работы системы электроснабжения
с минимумом потерь электроэнергии при заданном графике нагрузки.
Ориентировочный выбор числа и мощности
трансформаторов может быть произведен по удельной плотности нагрузки (кВ*А/м2)
и полной расчетной нагрузке объекта (кВА).
Для питания приёмников выбираем один
трансформатор; т.к. электроприёмники относятся ко 2 и 3 категории надёжности, с
1 сменным графиком работ.
Определяем среднюю нагрузку:
= 229,14 кВА
Находим коэффицент заполнения графика

Находим коэффицент кратности
допустимой нагрузки по графику [7, с.200]
kα = 1,18
Sн = S / k = 331 /
1,18 = 280,5 кВА
В связи с развитием мощности
выбираем трансформатор типа ТМ-400/10/0,4 мощностью 400 кВА, принимаем
продолжительность максимальной нагрузки t=2 часа.[10,c.107]
Описание трансформатора:
Т- Трёхфазный трансформатор
М- Естественная циркуляция воздуха и
масла
Л- Исполнение с литой изоляцией
- Полная номинальная мощность, кВА
2.1.6 Выбор схем электроснабжения при
напряжении 6 (10) кВ и схемы ТП
При выполнении схемы ТП необходимо учитывать
основные принципы построения схем электроснабжения:
)глубокое секционирование всех звеньев, начиная
от ГПП и заканчивая сборными шинами ВРУ
) отказ от «холодного резерва»
) раздельная работа линий и трансформаторов,
обеспечивающая снижение ТКЗ
Питание ТП осуществляется от ГПП кабельной
линией 10 кВ длиной 1,2 км.
Схема питания ТП представлена на рисунке 1.
Рис.1 Схема сети 6/10кВ
2.1.7 Расчет нагрузки при напряжении 6 (10) кВ и
линии, питающей цеховую ТП
Полная мощность трансформаторной подстанции 400
кВА. Ток расчётный ТП (Iр)
будет равен:


Принимаем продолжительность
использования максимума нагрузки t=2100 часов в год. Тогда
экономическая плотность jэк тока для
кабелей с бумажной, резиновой и поливинилхлоридной изоляцией с медными жилами
составляет 3 А/мм2 [7, с.85].
Экономическое сечение определяется
по формуле:
где, Fэкв-
экономическое сечение кабеля, мм2
Iр-
максимальный расчётный ток, А
Jэкв-
экономическая плотность тока, А/мм2
Марку кабеля берём ВРБ 3х25 мм2
кабель с медными жилами в поливинилхлоридной оболочке с резиновой изоляцией жил
бронированный.
Ip
Iд

95 А
Длина линии 1,2 км, меньше 10 км,
следовательно в нормальном режиме потеря напряжения меньше 6% и проверку на
потерю напряжения при нормальном режиме работы можно не производить.
2.1.8 Выбор оборудования ТП с расчётом токов
короткого замыкания
Комплектная трансформаторная подстанция типа
КТП-400/10/0,4 предназначена для приёма, преобразования и распределения
электроэнергии в сетях электроснабжения промышленных предприятий [10, с.112]
Рис. 2
Относительное сопротивление питающей линии:
Х*б=(х0*L)*Sб/Uб2
Где: Sб-
базисная мощность 200 МВА
Uб-
Базисное напряжение 10 кВ
Хо - 0,11 - удельное индуктивное
сопротивление линии, Ом/км
L = 1,2 км - длина
кабельной линии
X*б=(0,11*1,2)*200/102=0,26
Активное сопротивление:
R = R0
* L,
где R0
- удельное активное сопротивление, мОм / км. При отсутствии данных R0
находим
по формуле[9, c. 60]:
R0
= 103 / γ * F
R = (1000*L)
/ γ * F,
где γ = 50 Ом/мм2
- удельная проводимость для меди
F - экономическое
сечение кабеля, мм2
R = (1000 * 0,5) /
50 * 7,7 = 2,8 Ом
Находим полное сопротивление линии:

Z=
Находим базисный ток:
Iб=Sб/(
*Uн)
Iб=200/
*10=11,5 кА
Определяем периодическую
составляющую ТКЗ:
Iк=Iб/Z
Iк=11,5/2,8=
4,1 кА
Ударный ток:
Iу=Ку*Iк
Принимаем Ку=1,8
Iу=1,8*4,1=7,3
кА
Мощность КЗ:
Sк=Sб/Z
Sк=200/2,8=71,4
МВА
2.2 Электроосвещение
.2.1 Светотехнический расчет методом
коэффициента использования светового потока
Расчета освещения выполняем на примере
станочного цеха.
Нормированая освещенность которого 300 Лк.
. Определяем индекс помещения:
Iп
= AB / (h(A+B)),
где iп
- индекс помещения;
A- ширина помещения,
м
B-длина помещения, м
h - высота
помещения, м
Расчет индекса для станочное отделение:
i = 1116 /8 (30+32)
= 2,2
Полученное значение индекса округляем до
ближайшего табличного iп
= 2,0 [2, c.141].
. Находим по таблице коэффициент
отражения потолка, стен и пола:
ρп
= 0,7, ρс
= 0,5, ρр
= 0,1 Uоу =
75%
. Выбираем лампу ДРЛ 400 световой поток
которой:
Фл = 14400 Лм
. Определяем необходимое число
светильников:
Nл
= Eн
* kз
* S * z / (Ф
* Uoy),
где kз
- коэффициент минимальной освещенности -1,5
z - коэффициент
запаса светильников, учитывая загрязнения воздушной среды - 1,10 (для ЛЛ). Для
ДРЛ - 1,15
E - освещенность
помещения, Лк
S - площадь
освещаемая, м2
Ф - световой поток излучаемый одной лампой, Лм
N = (300 * 1,5 *
1116 * 1,15) / (14400 * 0,75) =54 шт
Аналогично выполняем расчёт остальных помещений.
Результаты заносятся в таблицу 5.
Таблица 5. Осветительные установки.
|
№
п.п
|
Помещение
|
S, м2
|
Ен,
лк
|
in
|
Uoy,
%
|
Тип
лампы
|
Ф,
лм
|
Тип
светильника
|
Nл, шт
|
|
1
|
Станочное
отделение
|
1116
|
300
|
2,0
|
75
|
ДРЛ400
|
14400
|
ВАТРА
РСП16-400-231 (101)
|
54
|
|
2
|
Бытовка
|
36
|
150
|
0,8
|
46
|
ЛБ60
|
4100
|
ЛПО
11-1х60-021
|
5
|
|
3
|
Администрат.
|
36
|
250
|
0,8
|
49
|
ЛБ70
|
4600
|
7
|
|
4
|
Комната
отдыха
|
36
|
200
|
0,8
|
49
|
ЛБ60
|
4100
|
ЛПО
11-1х60-021
|
6
|
|
5
|
Склад
|
108
|
75
|
1,25
|
50
|
ЛБ50
|
3500
|
ЛПО
11-1х50-021
|
8
|
|
6
|
ТП
|
36
|
50
|
0,8
|
45
|
ЛБ40
|
3000
|
ЛПО
11-1х40-021
|
3
|
|
7
|
Инструмент
|
36
|
75
|
0,8
|
46
|
ЛБ40
|
3000
|
ЛПО
11-1х40-021
|
4
|
|
8
|
Заточная
|
36
|
200
|
0,8
|
46
|
ЛБ60
|
4100
|
ЛПО
11-1х60-021
|
7
|
.2.2 Расчет сети электроосвещения
1. Определяем установленную мощность
осветительной установки:
Ру.о. = Рсв * Nсв,
где Рсв - мощность светильника, Вт
(т.к. расчеты на примере Станочного отделения, то берем тип ламп ДРЛ 400)
Nсв
- количество светильников
Ру.о. = 400 * 54 = 21600 Вт
Ру.о. = 21,6 кВт
. Расчет активной мощности осветительной
нагрузки [7, с.32]:
Ра. = Кс * Ру.о,
∑Ра. = Kc
* ∑Ру. о,
Ра. = 0,95 * 21,6 = 20,52 кВт
∑Ра. = 0,95 * 23,9 = 22,7 кВт
. Расчет реактивной мощности
осветительной нагрузки:
Qм.о. =
Ра. * tgφ
∑Qм.о,
= ∑Ра. * tgφ
Qм.о. =
20,52 * 0,33 = 6,77 кВар
∑Qм.о,
= 22,66 * 0,33 = 7,45 кВар
. Расчет полной мощности осветительной
нагрузки:
Sм.о, =
∑Sм.о, = 
Sм.о, = 
= 21,61 кВА
∑Sм.о, = 
= 169,11 кВА
5. Расчетный ток:
I = Sм.о,
/
Uн.о.
I = 21,61 / 0,22 =
98,22 А
Расчет остальной осветительной нагрузки
электроосвещения в цехе рассчитываем аналогично, и полученные данные заносим в
таблицу 6.
Таблица 6. Расчет нагрузки электроосвещения
|
№
п.п
|
Наименование
помещения
|
Pсв, кВт
|
Pу.о., кВт
|
P а., кВт
|
Qм.о., кВар
|
S м.о., кВА
|
I, A
|
|
1
|
Станочное
отделение
|
0,4
|
21,6
|
20,52
|
6,77
|
21,61
|
98,22
|
|
2
|
Бытовка
|
0,06
|
0,3
|
0,29
|
0,09
|
0,30
|
1,36
|
|
3
|
Администрат.
|
0,07
|
0,49
|
0,47
|
0,15
|
0,49
|
2,23
|
|
4
|
Комната
отдыха
|
0,06
|
0,36
|
0,34
|
0,11
|
0,36
|
1,64
|
|
5
|
Склад
|
0,05
|
0,4
|
0,38
|
0,13
|
0,40
|
1,82
|
|
6
|
ТП
|
0,04
|
0,12
|
0,11
|
0,04
|
0,12
|
0,55
|
|
7
|
Инструмент
|
0,04
|
0,16
|
0,15
|
0,05
|
0,16
|
0,73
|
|
8
|
Заточная
|
0,06
|
0,42
|
0,40
|
0,13
|
0,42
|
1,91
|
|
Суммарная
мощность
|
|
23,9
|
22,66
|
7,48
|
23,86
|
108,45
|
Расчет аварийного освещения
В соответствии с нормативным документом, ДРЛ не
используется в аварийном освещении из-за длительного разгорания (3-5 мин.).
Поэтому для станочного отделения мы выбираем дополнительно люминесцентные лампы
ЛБ 40 световой поток которой 4800Лм.
Согласно СНиП 23-05-95 Минимальная освещенность ≥5%
от уровня, нормируемого для рабочего освещения, но не менее 2Лк в помещениях и
1Лк на открытых территориях. При этом освещенности более 30Лк внутри помещений
допустимы только в обоснованных случаях.
. Рассчитываем требуемую аварийную
освещенность:
Eа.о.
= (Eобщ
/ 100) * 5 = 15
i = AB
/ (h(А+В))
i = 1116
/ (8 * 30 + 32)
= 2,0оу
= 0,75
Ф = 4800 лм
N = Eа.о.
* kз
* S * z / (Ф
* Uoy)
= (15 * 1,5 * 1116 * 1,10) / (4800 *
0,75) = 8 шт
2. Рассчитываем установленную мощность
осветительной нагрузки аварийного освещения:
Pуст.а.о.
= Рл. * Nа.о.,
где Рл. - мощность лампы, Вт
Nа.о.
- число ламп аварийного освещения
Pуст.а.о.
= 40 * 8 = 320 Вт
. Рассчитываем активную мощность
осветительной нагрузки аварийного освещения:
Pа.о.
= 1,1 * Pуст.а.о.
* Kc,
где Pа.о.
- активная мощность осветительной нагрузки аварийного освещения
Кс - коэффициент спроса для
станочного отделения 0,95
Pа.о.
= 1,1 * 320 * 0,95 =
334,4 Вт
. Рассчитываем реактивную мощность
осветительной нагрузки аварийного освещения:
Qа.о. =
Pа.о.
* tgφ,
где Qа.о.
-
реактивной мощности осветительной нагрузки аварийного освещения
tgφ = 0,33 для
электроосвещения
Qа.о. =
334,4 * 0,33 = 110,35 Вар
. Рассчитываем полную мощность
осветительной нагрузки аварийного освещения:
S =
S = 
= 36901 ВА
.Рассчитывем расчетный ток
аварийного освещения:
Люминесцентные лампы - 220 В
I = S
/ U
I = 36901 / 220 =
167,7 А
Расчет остальной осветительной нагрузки
аварийного освещения в цехе рассчитываем аналогично, и полученные данные
заносим в таблицу
Так как в остальных частях цеха установлены
люминесцентные лампы выбор ламп не требуется, по этому надо только рассчитать
количество ламп подключенных к городской сети через ЩАО.
Аварийное освещение запитываем от стационарного
аккумулятора OPzS 2V 180 на напряжение 220 В и тока 180 ампер.
Таблица 7. Расчет осветительной нагрузки
аварийного освещения
|
№
п.п
|
Наименование
помещения
|
Тип
ламп
|
S, м2
|
Nа.о.
|
Pуст, а.о, Вт
|
Pа.о, Вт
|
Qа.о, Вар
|
S, ВА
|
I, А
|
|
1
|
Станочное
отделение
|
ЛБ40
|
1116
|
8
|
320
|
334,4
|
105,6
|
36901
|
167,7
|
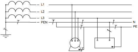
2.3 Заземление объекта
.3.1 Выбор конструкции сети заземления
Для выполнения сети заземления выбираем систему TN-C-S,
в которой нулевой защитный и нулевой рабочий проводники объединены на части
протяжении системы. Система с гухозаземлённой нейтральюнейтраль трансформатора
присоединена непосредственно к заземляющему устройству.
Рис. 4 Система заземления
Заземление требуется во всех электроустановках
на напряжение до 1 кВ и выше. Заземлению подлежат каркасы и металлические
конструкции здания и корпуса электрооборудования.
2.3.2 Расчет наружного заземления
Для обеспечения работы схемы уравнивания
потенциалов выполняется контур наружного заземления.
Расчёт контура сводится к определению
сопротивления и растеканию тока заземлителя, которое зависит от проводимости
грунта, конструкции заземлителя и глубины его заложения.
Грунт вокруг цеха - чернозем, его удельное
сопротивление составляет 0,5 х102[9, с.90].
В данном объекте в качестве заземлителя
сопротивления используются железобетонный фундамент со сваями.
Сопротивления одной сваи определяется по
формуле:
Rс=
(0,366 * 1,75 * ρ)
/ lc * lg(4 * lc / d)
Где:
lс - длина
сваи равная 2,3 м- диаметр сваи равный 0,4м
Rс=(0,366*1,75*0,5*102)/2,3*
lg(4*2,3/0,4)=18,9
Ом
Определяем
сопротивление свайного фундамента из 33 свай:
Rе.з=Rс/33
Rе.з=18,9/33=0,57Ом
Так
как Rе.з<4 Ом то
искусственное заземление не требуется.
Список
используемой литературы
1. Акимов Н.А. Монтаж, техническая
эксплуатация и ремонт ЭО и ЭМ оборудования - М.: Издательский центр «Академия»,
2008
2. Кнорринг Г.М. Справочная
книга для проектирования электрического освещения (2-е издание) - СПб.:
Энергоатомиздат. Санкт-Петербургское отделение,1992
. Коновалова Л.Л.
Электроснабжения промышленных предприятий и установок - М.: «Энергопромиздат»,
1989
. Москаленко В.В. Справочник
электромонтера - М. «ПрофОбрИздат», 2002
. Нестеренко В.М. Технология
электромонтажных работ - М. «Академия», 2014
. Сибикин Ю.Д.
Электроснабжение промышленных и гражданских зданий -М. «Академия», 2007
. Постников Н.П. ЭСН
промышленных предприятий - Л. «Стройиздат»,1989
. Правила устройства
электроустановок, изд. 7 - М. «Издательство НЦ ЭНАС», 2014
. Щеховцов В.П. Расчет и
проектирование схем электроснабжения - М. «ФОРУМ - ИНФРА - М», 2007
. Щеховцов В.П. Справочное
пособие по ЭО и ЭСН - М. «ФОРУМ - ИНФРА - М», 2006