Розробка дільниці технічного обслуговування та ремонту трансмісії ZAZ Lanos
Міністерство освіти та науки України
Новоград-Волинський
промислово-економічний технікум
КУРСОВИЙ ПРОЕКТ
з дисципліни
Будова і експлуатація автомобілів та
тракторів
РОЗРОБКА ДІЛЬНИЦІ ТЕХНІЧНОГО
ОБСЛУГОВУВАННЯ ТА РЕМОНТУ ТРАНСМІСІЇ ZAZ LANOS
м.Новоград-Волинський -2016
АНОТАЦІЯ
Тема: Розробка дільниці технічного обслуговування та ремонту трансмісії
ZAZ Lanos 4-DOOR SEDAN TYPE CK with НВПЕТ 2016.
Даний курсовий проект являє собою добірку матеріалу по трансмісії
автомобіля ZAZ Lanos. В роботі розглянуто головні аспекти будови, ТО, методи
відновлення трансмісії, а також охорону навколишнього середовища. В роботі
використано матеріали першоджерел, певна науково-технічна література.
Робота була написана при проведенні консультації викладачем.
Матеріали в курсовому проекті подані згідно плану, що допомагає
оперативно відшукувати ті питання, які цікавлять. Робота написана українською
мовою, містить шість розділів: вступ, висновок та додатки. Написання курсової
роботи відповідає дидактично-методологічним вимогам щодо написання в даному
випадку - курсової роботи.
ЗМІСТ
Перелік
скорочень
Передмова
. Аналіз
науково-технічної інформації
.1 Види та
класифікація
.2 Будова та
принцип дії
.3 Схеми
. Основна
частина
.1 Загальна
характеристика дільниці по ремонту СД
.2 Вихідні
дані до курсового проекту
.3 Розрахунок
виробничої програми ТО і Р рухомого складу АТП
.3.1
Визначення і коригування періодичності і трудомісткості ТО і Р рухомого складу
.4 Розрахунок
виробничої програми по ТО і Р РС в кількісному виразі
.4.1
Визначення коефіцієнтів технічної готовності і випуску
.4.2
Визначення річного пробігу групи автомобілів.
.4.3
Визначення річної і добової програми ТО і Р РС
.5 Розрахунок
виробничої програми ТО і ПР РС в трудовому виразі
.6 Розподіл
трудомісткостей ТО і ПР за видами робіт
.7 Розрахунок
чисельності робітників
2.8 Вибір
обладнання
3. Технічне
обслуговування
. Вартість
комплектуючих
. Охорона
праці
Висновок
Література
ПЕРЕЛІК СКОРОЧЕНЬ
РС - рухомий
склад;
ТО - технічне
обслуговування;
ПР - поточний
ремонт;
КР -
капітальний ремонт;
СО -
сезонне обслуговування;
ЩТО -
щоденне технічне обслуговування;
- списочна
кількість автомобілів;
- середньо добовий пробіг;
- дні роботи в рік автомобілів і зон ТО і ПР;
- коефіцієнти коригування періодичності і
трудомісткості ТО і ПР;
- результуючі коефіцієнти коригування відповідно періодичності
ТО, пробігу до КР, часу простою в ТО, трудомісткості ТО, трудомісткості ПР;
- нормативні значення періодичності і трудомісткості
обслуговувань;
- фактичні значення періодичності і трудомісткості
обслуговувань;
- кількість обслуговувань за рік і за добу;
- коефіцієнти технічної готовності і
випускуавтомобілів;
- фонд робочого часу явочного і штатного працівників;
- річний об’єм обслуговувань.
ВСТУП
У запропонованій курсовому проекті описана будова і
принцип дії трансмісії автомобіля ZAZ Lanos. Викладено також основи його
експлуатації, технічного обслуговування та ремонту, дано деякі практичні
рекомендації. Крім того майбутні водії можуть дізнатись про правила технічної
безпеки і заходи з охорони навколишнього середовища.
Звісно, у курсовому проекті містяться повні відомості,
щодо обслуговування трансмісії ZAZ Lanos і дається змога правильно зрозуміти
будову та принцип дії трансмісії.
Курсовий проект призначений для студентів
професійно-технічних закладів освіти які оволодівають професіями водіїв і
спеціалістів з обслуговування й ремонту автомобілів, а також може стати в
пригоді робітникам автотранспортних підприємств і власникам автомобілів.
1. АНАЛІЗ НАУКОВО-ТЕХНІЧНОЇ ІНФОРМАЦІЇ
До трансмісії автомобіля відноситься: зчеплення, коробка передач,
карданна передача, головна передача, диференціал і півосі. Вона служить для
передачі обертового моменту від колінчатого вала двигуна до ведучих коліс
автомобіля.
На автомобілях встановлене однодискове сухе зчеплення з діафрагмовою
притискною пружиною, з гідравлічним вимкненням зчеплення. Для керування
зчепленням служить педаль і гідравлічний привід вимикання з бачком для рідини.
Коробка передач має п'ять передач для руху вперед і одну передачу для
заднього ходу. Усі передачі переднього ходу постачені синхронізаторами, що до
включення шестірень вирівнюють швидкості обертання деталей, що з'єднуються.
Головна передача гіпоїдна, що складається з пари конічних зубчастих коліс
зі спіральними зубами, осі обертання яких перехрещуються. Обертовий момент від
відомого зубчастого колеса на піввісі передається через конічний диференціал із
двома сателітами. Диференціал дозволяє ведучим колесам автомобіля (лівому і
правому) обертатися з неоднаковою швидкістю при русі на поворотах.
Рисунок 1.1 - Зовнішній вигляд ZAZ Lanos
1.1 Коротка технічна характеристика автомобіля ZAZ Lanos
Зовнішній вигляд автомобіля ZAZ Lanos зображений на рис.1.1
Технічна характеристика автомобіля ZAZ Lanos наведена в таб.1.1
Таблиця 1.1 - Коротка технічна характеристика автомобіля ZAZ Lanos.
|
№
|
Параметри
|
Величини
|
Числові значення
|
|
1.
|
Колісна формула
|
|
4×2
|
|
3.
|
Власна маса
|
кг
|
1595
|
|
4.
|
Максимальна швидкість
|
км/год
|
172
|
|
5.
|
Радіус повороту
|
м
|
5
|
|
6.
|
Тип двигуна
|
|
1.5 i 8V
|
|
7.
|
Контрольна витрата палива
на 100 км пробігу
|
л
|
7,2
|
|
8.
|
Габаритні розміри
|
|
|
|
- висота
|
мм
|
1432
|
|
- ширина
|
мм
|
1678
|
|
- довжина
|
мм
|
4237
|
|
9.
|
Дорожній проміжок (кліренс)
|
мм
|
160
|
|
10.
|
Вид палива для двигуна
|
|
Бензин з октановим числом
не менше 95
|
|
11.
|
База
|
мм
|
2520
|
|
12.
|
Заправка паливом
|
л
|
48
|
|
13.
|
Ємність системи охолодження
двигуна
|
л
|
7
|
|
14.
|
Заправка картера двигуна
маслом
|
л
|
4
|
|
15.
|
Гальмівна система:
|
|
|
|
15.1
|
- стоянкова
|
|
Ручна, з тросовим приводом
на колодки задніх коліс від важеля
|
|
15.2
|
- робоча
|
|
Вакуумний підсилювач
|
|
16.
|
Зчеплення
|
|
Сухе, однодискове
|
|
17.
|
Коробка передач
|
|
5-швидкісна механічна
|
|
18.
|
Рульовий механізм
|
|
З зубчастою
шестернею-рейкою
|
|
19.
|
Кількість коліс
|
|
4
|
|
20.
|
Шини (розмір)
|
|
175/70 R13
|
|
21.
|
Тиск у шинах
|
|
|
|
- передні
|
МПа(кгс/см3)
|
2,2
|
|
- задні
|
МПа(кгс/см3)
|
2,2
|
|
22.
|
Головна передача
|
|
Гіпоїдна
|
.2 Види та класифікація трансмісії
Трансмісія автомобіля слугує для передавання обертового моменту від
двигуна до ведучих коліс. При цьому, передаючий обертовий момент, змінюється за
значенням і розподіляється в певному співвідношенні між ведучими колесами.
Трансмісії за способом передавання обертовий моменту поділяють на:
- механічні;
- гідравлічні;
електричні;
комбіновані (гідромеханічні, електромеханічні).
Трансмісія ZAZ Lanos має передньоприводну колісну формулу 4×2 (рис. 1.2).
Рис. 1.2 - Схема трансмісії автомобіля: 1 - двигун; 2 - зчеплення; 3 -
коробка передач; 4 - передній міст; 5 - шарніри однакових кутових швидкостей.
Особливістю цієї схеми є виконання ведучим переднього моста з керованими
колесами. Це потребувало об’єднання в єдиний силовий агрегат двигуна 1,
зчеплення 2, коробки передач 3, механізмів ведучого моста 4 (головну передачу і
диференціал) і карданних шарнірів 5 однакових кутових швидкостей, з’єднаних з
передніми ведучими колесами.
1.3 Будова та принцип дії трансмісії ZAZ Lanos
.3.1 Зчеплення
Зчеплення автомобіля ZAZ Lanos - сухе, однодискове, з пружним веденим
диском, обладнане крутильним коливанням, з діафрагмовою натискною пружиною.
Зчеплення складається з двох основних частин: натискного диска 5 (рис. 1.
3) з натискною пружиною в зборі і веденого диска 4.
Картер зчеплення, маючи оребрення і замкнуту форму, має жорстку жорстку
конструкцію. Центрування картера зчеплення відносно блока циліндрів двигуна
здійснюється установочними втулками запресованими в блок циліндрів.
Рис. 1.3 - Зчеплення: 1 - захисний кожух; 2 - картер зчеплення; 3 - болт;
4 - ведений диск зчеплення; 5 - натискний диск зчеплення; 6 - з’єднувальна
ланка; 7 - підшипник виключення зчеплення; 8 - картер коробки передач; 9 -
напрямна втулка; 10 - роликовий підшипник ведучого вала коробки передач; 11 -
ведучий вал коробки передач; 12 - манжета ведучого вала; 13 - манжета
диференціала; 14 - маховик; 15, 18 - втулки виключення зчеплення; 17 - вилка
виключення зчеплення.
В картері на поліамідних втулках 19 і 22 встановлюється вісь з вилкою
виключення зчеплення 17. На осі болтом закріплюється важіль виключення
зчеплення.
На вилці з допомогою двох пружинних ланок 6 закріплений підшипник 7
виключення зчеплення, який ковзає по напрямній втулці 9.
Порожнина картера зчеплення ущільнена манжетою 12 ведучого вала коробки
передач.
Стартер закріплений двома шпильками М10 і центрується проточкою,
виконаною в картері діаметром 76, 2 мм на глибину 8 мм.
В лівій верхній частині виготовлений отвір діаметром 15 мм для
діагностичного датчика ВМТ.
В цьому положенні між пелюстками діафрагмової пружини і внутрішньою
обоймою підшипника виключення зчеплення зберігається зазор біля 1,5 мм, який
визначає величину вільного ходу зовнішнього кінця вилки виключення, що дорівнює
3 мм, а ведений диск 4 (рис. 1.3) під дією діафрагмової натискної пружини
затиснутий між маховиком 14 і натискним диском 5 і обертається разом з ними.
Повертаючись разом з віссю, вилка 4 перемістить підшипник виключення
зчеплення, який ковзає по напрямній втулці жорстко закріпленій на картері
зчеплення до натискного диска. Після того, як внутрішня обойма підшипника 7
(рис. 1. 3) упреться в пелюсток діафрагмової пружини, вона одночасно з
передачею осьового зусилля почне обертатись з такою ж частотою, як і
колінчастий вал двигуна.
Прогинаючись діафрагмова пружина, опирається на кругле в перерізі опорне
кільце 3 (рис. 1.4).
Коли зусилля з педалі зчеплення зняте, вилка виключення відходить в
положення “0” (рис. 1.4). Натискний диск під дією діафрагмової пружини
наближається до фрикційних накладок веденого диска і після дотику з ними
постійно випрямляє пружинні пластини диска, плавно включаючи зчеплення.
Натискний диск з натискною пружиною (рис. 1.4) розташований в стальному
штампованому кожуху 1. Кожух кріпиться до маховика шістьма болтами, які
фіксуються від провертання стопорними шайбами. Відносно маховика кожух
зчеплення центрується трьома штифтами, розміщених між болтами через 120 °. Натискний
диск 2 з’єднаний з кожухом 1 стальними пластинами 6, які працюють на розтяг і
згин.
Два стальних опорних кільця 3 круглого перерізу служать опорами для
діафрагмової пружини 4. Таким чином, пружина має можливість прогинатись
відносно кілець, які нерухомо закріплені на кожуху загинанням його дванадцяти
пелюсток. Пружина 4 має форму зрізаного конуса. Радіально розміщені 12 пелюсток
пружини служать не тільки пружними елементами.
Завдяки своїй формі і встановленню між опорними кільцями 3 діафрагмова
пружина при відсутності зовнішньої дії навантажує натискний диск 2, стискаючи
ведений зусиллям 2850 між ним і маховиком.
Рис. 1.4 - Натискний диск зчеплення: 1 - кожух зчеплення; 2 - натискний
диск; 3 - кільця натискної пружини; 4 - натискна пружина зчеплення; 5 -
заклепка; 6 - з’єднувальна пластина; 7 - контрольні отвори; 8 - балансувальний
тягарець; А - хід упорного фланця для повного виключення зчеплення; Б -
максимально допустиме переміщення упорного фланця при спрацюванні фрикційних
накладок; В - товщина кільця, яке застосовується для контролю механізму
зчеплення; Р - напрям прикладення зусилля 1020 Н при ході виключення на
діаметрі 34 мм.
Ведений диск
Ведений диск (рис. 1.5), який передає обертальний момент від двигуна на
ведучий вал коробки передач для підвищення плавності включення, виконаний
пружним.
Для усунення передачі крутильних коливань колінчастого вала на коробку
передач і для зменшення пікових навантажень в елементах силової передачі, які
виникають при різкій зміні швидкісного режиму, ведений диск з’єднаний з
маточиною при допомозі гасителя коливань (демпфера). Цей вузол складається з
пружної муфти з шістьма пружинами 13 і фрикційного елемента.
Рис. 1.5 - Ведений диск зчеплення: 1- ведений диск; 2 - фрикційна
накладка зчеплення; 3 - заклепка; 4 - пружинна пластина фрикційної накладки; 5
- пластина демпфера; 6 - стальне фрикційне кільце демпфера; 7 - кільце демпфера
на азбостальній основі; 8 - маточина веденого диска; 9 - пружинна шайба
демпфера; 10 - упорне кільце; 11 - балансувальні тягарці; 12 - упорний палець;
13 - пружина демпфера; поверхня Г повинна бути повернена до маховика; В -
перевіряється під навантаженням 2850 Н; Д - напрям обертання.
Ведений диск 1, пластина 5 і маточина 8 мають по шість прямокутних вікон,
в які входять пружини 13, пружно зв’язуючи між собою ці деталі і забез печуючи
необхідну жорсткість пружного елемента.
Фрикційний елемент демпфера є сухою муфтою і складається з двох
фрикційних кілець, стального 6 і на азбестовій основі 7, затиснутих між веденим
диском 1, маточиною 8, пластиною 5, упорним кільцем 10 і пружинною шайбою 9.
Упорне кільце 10 має три вусики, які заходять в отвори пластини 5.
До веденого диска 1 прикріплені стальними заклепками дев’ять пружинних
пластин 4 з хвильовою поверхнею. На пластини з двох сторін при допомозі
заклепок 3 закріплені фрикційні накладки 2.
Підшипник виключення зчеплення
Підшипник виключення зчеплення 4 (рис. 1.6) - кульковий, спеціальний,
самоцентрувальний, закритого типу, змонтований в кожуху. Кожух 1 з пружиною 2,
підшипником 3, втулкою 5 і фланцем 4 є нерозбірним елементом.
Рис. 1.6 - Підшипник виключення зчеплення: 1- кожух; 2 - пружина; 3 -
кульковий радіальний підшипник; 4 - фланець муфти; 5 - втулка муфти.
Привід виключення зчеплення
Привід виключення зчеплення - механічний тросовий (рис. 1.7) складається
з педалі і троса в напрямній оболонці. Для зниження передачі шумів і вібрацій
від силового агрегату на кузов в приводі зчеплення передбачений демпферний
пристрій, який складається з гумового демпфера в корпусі.
Педаль зчеплення кріпиться консольно на одній осі з педаллю гальма в
спеціальному кронштейні і встановлена на двох пластмасових втулках.
Для поперечної фіксації педалі застосовують пружинні защіпки, а для
обмеження ходу педалі у верхньому положенні - буфер.
Рис. 1.7 - Деталі механізму зчеплення і його приводу: 1 - фрикційна
накладка; 2 - втулка вилки; 3 - фланець; 4 - підшипник в зборі; 5 - штифт;6 -
натискний диск; 7 - ведений диск; 8 - педаль зчеплення; 9 - накладка; 10 - вісь
педалей; 11 - защіпка; 12 - втулка педалі; 13 - трос в зборі; 14 - контргайка;
15 - регулювальна гайка; 16 - стяжна пружина важеля; 17 - вилка; 18 - стопор;
19 - важіль; 20 - з’єднувальна ланка.
1.3.2 Коробка передач
На автомобілі ZAZ Lanos встановлена механічна, двохвалова, триходова,
п’ятиступінчаста коробка передач, що дозволяє отримати п’ять передач вперед і
одну передачею назад, виконана в одному картері з головною передачею (рис. 1.8)
Всі шестерні коробки передач, крім заднього ходу, косозубі, постійного
зачеплення. Ведені шестерні першої 34, другої 28, третьої 26, четвертої 20 і
п’ятої 37 передач вільно обертаються на хвостовику ведучої шестерні головної
передачі 19.
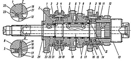
Рис. 1.8 - Поздовжній розріз коробки передач: 1 - задня кришка; 2, 44 -
гайки; 3 - ведуча шестерня 5 передачі; 4 - кришка підшипників; 5, 18 -
підшипники; 6 - картер коробки передач; 7 - муфта включення 1 і 2 передач; 8 -
сухар синхронізатора; 9, 12 - пружини синхронізаторів 1 - 2 і 3 - 4 передач;
10, 13 - блокуючі кільця синхронізаторів 1 - 2 і 3 - 4 передач; 11 - ведена
шестерня заднього ходу; 14 - манжета; 15 - ведучий вал; 16 - картер зчеплення; 17
- масло відбивна шайба; 19 - ведуча шестерня - вал головної передачі; 20, 26,
28, 34, 37 - ведені шестерні 4, 3, 2, 1 і 5 передач; 21 - маточина веденої
шестерні заднього ходу; 22, 31 - стопорні кільця; 23, 37 - упорні шайби; 24, 32
- кільця; 25, 33 - голчасті підшипники; 29 - проставні кільця; 30 -маточина
муфти виключення 1 і 2 передач; 35, 36 - упорні шайби; 38 - розпірна втулка; 39
- маточина муфти 5 передачі; 40 - муфта включення 5 передачі; 41, 42 - упорні
шайби сухарів 5 передачі; 43 - упорна шайба.
Ведуча 3 (рис. 1.9), проміжна 6 і ведена 7 шестерня заднього ходу
прямозубі. Шестерні 1, 2, 3, 4 і 5 передач включаються з допомогою ковзних муфт
і синхронізаторів.
Рис. 1.9 - Проміжна шестерня заднього ходу коробки передач: 1 - картер
коробки; 2 - картер зчеплення; 3 - ведучий вал; 4 - вісь проміжної шестерні
заднього ходу; 5 - штифт; 6 - проміжна шестерня заднього ходу; 7 - ведена
шестерня заднього ходу; 8 - ведуча шестерня головної передачі.
Передавальні відношення коробки передач:
- 38/ 11 = 3, 454;
- 37/ 18 = 2, 056;
- 36/ 27 = 1, 333;
- 31/ 32 = 0, 969;
- 27/ 37 = 0, 730;
задній хід 47/ 14 = 3, 358.
Картер коробки передач (рис. 1.8) відлитий з магнієвого сплаву. На
картері розміщені два приливи з отворами, які закриваються пробками 1 і 3
зрізьбою М25×1,5 (рис. 1.12). Верхнє - для заливання в коробку масла,
нормальний рівень якої встановлюється по нижній кромці отвору, нижнє - для
зливання маслаз коробки передач.
Задня частина картера має оброблений фланець, до якого на восьми шпильках
з різьбою М8 кріпиться вилита з магнію кришка 1 (рис. 1.8).
Ведений вал
Ведений вал виконаний як одне ціле з ведучою шестернею 19 (рис.1.10)
головної передачі, виготовлений з сталі з термічно обробленими робочими
поверхнями і обертається на двох підшипниках, один з яких роликовий 18 без
внутрішньої обойми запресований в картер зчеплення, а інший - кульковий
запресований в картер коробки передач 6. Внутрішньою обоймою роликового
підшипника є шийка ведучої шестерні головної передачі. Обмеження осьового
переміщення веденого вала здійснюється аналогічно як і для ведучого вала.
На хвостовику шестерні 13 (рис. 1.10) головної передачі встановлені: на
дворядному голчастому підшипнику 23 ведена шестерня 1 першої передачі; ведені
шестерні другої 6, третьої 8 і п’ятої передач обертаються кожна на двох
голчастих підшипниках 5, між якими встановлено поліамідне проставне кільце 18;
шестерня четвертої передачі 12 обертається на шийці веденого вала - шестерні
13.
Голчасті підшипники п’ятої передачі обертаються на втулці 38 (рис. 1.10),
яка встановлена на хвостовику вала.
Для запобігання випадання сухарів муфти включення 40 п’ятої передачі і їх
розпірної пружини на вал встановлені упорні шайби сухарів 41, 42 і шайба 43.
Підшипник, упорні шайби 35 і 36, розпірна втулка 38, маточина муфти 39 і
шайби упорні 41, 42 і 43 на валу стягнені гайкою 44 з моментом затягування
160...220 Н×м. Фіксація гайки здійснюється вдавлюванням буртика гайки в
паз вала.
Між торцями маточини 14 (рис. 1.11) і торцем веденої шестерні третьої
передачі 8, а також між торцями ведених шестерень другої 6 і третьої 8 передач
встановлені бронзові упорні шайби 16 і 7.
Маточина 19 муфти 4 включення першої і другої передач і маточина 14
веденої шестерні 10 заднього ходу на веденому валу 13 встановлені на шліцах і
від переміщення фіксуються стопорними кільцями 15 і 21.
Рис. 1.10 - Ведуча шестерня головної передачі: 1, 6, 8 і 12 - ведені
шестерні 1, 2, 3 і 4 передач; 2 і 9 - блокувальні кільця синхронізаторів 1 і 2
та 3 і 4 передач; 3 - сухар синхронізатора; 4 - муфта включення синхронізатора
1 і 2 передач; 5 - підшипники ведених шестерень 2 і 3 передач; 7, 16 - упорні
шайби; 10 - ведена шестерня заднього ходу; 11, 20 - пружини синхронізатора 3 і
4 та 1 і 2 передач; 13 - ведуча шестерня головної передачі; 14, 19 - маточини
муфт переключення 3 в 4 та 1 і 2 передач; 15, 21 - стопорні кільця; 17, 22 -
кільця; 18 - проставне кільце; 23 - підшипник веденої шестерні 1 передачі; 24 -
упорна шайба.
Для запобігання пошкодження пластмасових сепараторів голчастих
підшипників від кромки пазів стопорних кілець між ними встановлені стальні
кільця 17 і 22.
Для змащування підшипників ведених шестерень хвостовик ведучої шестерні
головної передачі 19 і розпірна втулка 38 (рис. 1.10) шестерні п’ятої передачі
мають просвердлені отвори для підведення оливи. Олива в порожнинний хвостовик
поступає з порожнини між картером 16 зчеплення і масловідбивною шайбою 17. В цю
порожнину олива попадає розбризкуванням від головної пари через отвір, що
просвердлений в бонці під роликовий підшипник.
Синхронізатори
Синхронізатори (рис. 1.11) призначені для безударного переключення
передач. В коробці передач передбачені два невзаємозамінні синхронізатори: для
першої і другої передач діаметром 59 мм, для третьої і четвертої передач
діаметром 52 мм по калібровій лінії. Синхронізатори мають аналогічну
конструкцію, але різні розміри. В синхронізаторі третьої і четвертої передач
муфтою включення служить ведена шестерня заднього ходу.
На зовнішній поверхні маточини нарізані шліци, по яких переміщується
муфта 5 синхронізатора і, на рівних відстанях один від одного, три поздовжніх
пази, в яких поміщені три штамповані сухарі 3 з виступами “А“ посередині.
Сухарі притиснені до шліців муфти двома пружинними кільцями 2, причому виступи
“А“ сухарів входять в три зрізані шліци “Б“ муфти. З обох сторін маточини
встановлені латунні блокувальні кільця 1. На торці зовнішнього діаметра цих
кілець виштампувані по три пази “В“, в які входять кінці сухарів.
Рис. 1.11 - Синхронізатор: 1 - блокувальне кільце синхронізатора; 2 -
пружина синхронізатора; 3 - сухар синхронізатора; 4 - маточина синхронізатора;
5 - муфта синхронізатора. А - виступи на сухарі синхронізатора; Б - зрізані
шліци муфти синхронізатора; В - пази під сухарі синхронізатора на блокувальному
кільці.
Механізм керування переключенням передач
Переключення передач виконується важелем 4 на тунелі підлоги кузова (рис.
1.12). Опорою важеля 4 є напресована на нього пластмасова сферична головка 23,
яка встановлюється в кульовій чашці опори 11 і притискається до сфери пружиною
7. Між пружиною і кульовою частиною опори встановлюється упорна чашка 9. На
важелі 4 пружина 7 впирається в шайбу 6 і фіксується стопорною шайбою 5. Опора
11 встановлюється на основі приводу 21, яка служить для кріплення деталей
приводу переключення передач і самого приводу на автомобілі.
Основа приводу 21 знизу закривається пластмасовою кришкою 15, яка має
воснові “напрямну схему”, яка забезпечує фіксацію важеля при виборі і включенні
всіх передач.
Пластмасова опора 11 (кульова чашка) і пластмасова кришка 15 чотирма
болтами кріпиться до основи 21. До задньої частини основи двома болтами
кріпиться кронштейн 1 з двома гумовими муфтами 3, а в передній частині в гніздо
реактивної штанги встановлений сайлент-блок.
Важіль 4 нижче сферичної головки має рухомий 13 і нерухомий 14 упори.
Рухомий упор 13 при включенні п’ятої передачі чи заднього ходу збільшує опір
переміщенню важеля 4 (за рахунок стиску пружин 26) і одночасно обмежує його
хід. Нерухомий упор 14 є віссю шарніра вала керування 16 механізму переключення
передач, а також служить пальцем для вибору положення при включенні п’ятої
передачі чи заднього ходу.
Між опорою 11 і основою 21 встановлений кронштейн упора 25, який
фіксується на кришці 15 двома штифтами. Набоковій поверхні кронштейна упора 25
є фігурний Z-подібний виріз. Фігурний виріз служить для блокування включення
заднього ходу і п’ятої передачі. При переведенні (встановленні) важеля
включення передач на лінію включення п’ятої передачі і заднього ходу пружина 26
рухомого упора стискається, а нерухомий упор 14 входить в паз.
Включення заднього ходу здійснюється тільки при повному втоплюванні
важеля включення передач вниз і русі вперед. Включення решти чотирьох передач -
класичне.
Рис. 1.12 - Механізм керування переключенням передач: 1 - кронштейн
кріплення механізму; 2 - гайка кріплення механізму; 3 - гумова муфта; 4 -
важіль керування; 5 - запірна шайба; 6 - упорна шайба; 7 - пружина важеля; 8 -
чохол; 9 - чашка; 10 - ущільнювач; 11 - опора; 12 - гайка кріплення з опорою;
13 - рухомий упор; 14 - нерухомий упор; 15 - кришка; 16 - вал керування; 17 -
чохол; 18 - пружина; 19 - втулка пістона; 20 - пістон; 21 - основа з реактивною
штангою; 22 - верхня кришка; 23 - сферична головка; 24 - опорна втулка; 25 -
кронштейн упора; 26 - пружина рухомого упора; 27 - рукоятка; 28 - болт; 29 -
гайка кріплення реактивної штанги з втулкою шарніра; 30 - болт кріплення
хомута; 31 - хомут; 32 - повзун коробки передач; 33 - гайка; Г - положення
важеля керування; Д -положення важеля при встановленні і кріпленні механізму на
автомобілі.
Вал керування 16 на виході з кришки 15 ущільнений гумовим захисним чохлом
17. З другої сторони вал з’єднується з повзуном 32 коробки передач з допомогою
шарніра.
1.3.3 Головна передача
Головна передача автомобіля ZAZ Lanos (рис. 1.13) складається з двох
циліндричних косозубих шестерень. Передавальне відношення 62/16 = 3,875.
Ведуча шестерня 1 головної передачі виконана як одне ціле з веденим валом
коробки передач, який обертається в двох опорах. Ведена шестерня 15 центрується
на циліндричній проточці коробки диференціала 14 і кріпиться до неї вісьмома
болтами 2, які стопоряться від самовідгвинчування пружинними шайбами 3. Момент
затягування болтів 60...70 Н×м.
Рис. 1.13 - Головна передача з диференціалом: 1 - ведуча шестерня
головної передачі; 2 - болт; 3 - пружинна шайба; 4 - штифт; 5 - кульковий
підшипник диференціала; 6 - регулювальна прокладка; 7 - манжета; 8 -
транспортна кришка; 9 - картер зчеплення; 10 - ведуча шестерня приводу
спідометра; 11 - шестерня півосі; 12 - сателіт диференціала; 13 - вісь
сателітів диференціала; 14 - коробка диференціала; 15 - шестерня головної передачі;
16 - зливна пробка; 17 - прокладка; 18 - картер коробки передач; А - після
запресування закернити.
Коробка диференціала 14 відлита з чавуну. Для суміщення ведучої 1 і
веденої 15 шестерень головної передачі і для усунення осьового переміщення диференціала
між зовнішніми обоймами підшипників 5 диференціала.
2. РОЗРАХУНКОВА ЧАСТИНА
.1 Загальна характеристика дільниці по ремонту СД
трансмісія автомобіль ремонт технічний
До складу АТП входять автомобілі ZAZ Lanos -210 штук.
АТП в своєму складі має такі дільниці:
- агрегатна, електромеханічна, акумуляторна, шиномонтажна, та інші.
На АТП є склади запасних частин, паливно-змащувальних матеріалів.
2.2 Вихідні дані до курсового проекту
Таблиця 2.1 - Вихідні дані до курсового проекту
|
№
|
Модель рухомого складу
|
Ум. поз.
|
Од. вим.
|
Марка автомобіля
|
Марка автомобіля
|
|
1
|
Списочна кількість
|
АСП
|
шт
|
210
|
ZAZ Lanos
|
|
2
|
Середньодобовий пробіг
|
lСД
|
км
|
190
|
|
|
3
|
Пробіг з початку
експлуатації
|
Доля LКР
|
1,0-1,25
|
|
|
4
|
Кількість робочих днів
|
ДР
|
дні
|
280
|
|
5
|
Кількість робочих днів зон
ТО і ПР
|
ДРЗ
|
дні
|
280
|
|
6
|
Категорія умов експлуатації
|
КУЕ
|
1
|
|
7
|
Природно кліматична зона
|
ПКЗ
|
жаркий сухий
|
|
8
|
Дільниця, що проектується
|
|
Дільниця по ТО та Р
|
|
9
|
Технологічний процес
|
|
Трансмісія
|
2.3 Розрахунок виробничої програми ТО і Р рухомого складу АТП
.3.1 Визначення і коригування періодичності і трудомісткості
ТО і Р рухомого складу
Вибір коефіцієнтів коригування
Нормативи періодичності ТО, пробігу до КР, трудомісткості ТО і ПР
корегуються за допомогою спеціальних коефіцієнтів коригування К1-К5
які залежать від :
категорії умов експлуатації - К1 = 1,0; [4, табл.5]
модифікації рухомого складу - К2= 1,00; [4, табл.6]
природно кліматичних умов - К3= 0,9; [4, табл.7]
пробігу з початку експлуатації - К4 = 1,5; [4, табл.8]
кількості автомобілів на АТП - К5 = 0,95; [4, табл.9]
Результуючі коефіцієнти для кожного виду коригування визначаються по
формулах:
КLТО = К1*К3;
КLКР = К1*К2*К3;
К4 = К4; (2.1)
КtТО=К2*К5;
КtПР = К1*К2*К3*К4*К5;
де: КLТО, КLКР, К4, КtТО, КtПР
- коефіцієнти, корегуючи відповідно періодичність ТО, пробіг до КР, час
простою в ТО і ПР, трудомісткість ТО, трудомісткість ПР.
Для автомобілів ZAZ Lanos:
КLТО = 1,0*0,9=0,9;
КLКР = 1,0*1,00*0,9=0,9;
К4 = 1,5;
КtТО = 1,00*0,95=0,95;
КtПР = 1,0*1,00*0,9*1,5*0,95 = 1,2825
Результати розрахунків заносимо в таблицю 2.2
Таблиця 2.2 - Коефіцієнти коригування
|
Вид коригування
|
Ум. поз.
|
Марка автомобіля ZAZ Lanos
|
|
|
К1
|
К2
|
К3
|
К4
|
К5
|
Рез
|
|
1.Періодичність ТО
|
1,0
|
|
0,9
|
|
|
0,9
|
|
2.Пробіг до КР
|
КLКР
|
1,0
|
1,00
|
0,9
|
|
|
0,9
|
|
3.Час простою в ТО, КР
|
К4
|
|
|
|
1,5
|
|
1,5
|
|
4.Трудомісткість ТО
|
КtТО
|
|
1,00
|
|
|
0,95
|
0,95
|
|
5.Трудомісткість ПР
|
КtПР
|
1.0
|
1,00
|
1,1
|
1,5
|
0,95
|
1,2825
|
Вибір і коригування нормативів ТО і Р рухомого складу АТП
Нормативи ТО і Р рухомого складу встановлені „Положенням про ТО і Р
рухомого складу автомобільного транспорту” і відповідають нормальним умовам
експлуатації. До них відносяться :
-пробіг
до ТО-1:
(км);
пробіг
до ТО-2:
(км);
пробіг
до КР:
(км);
час
простою в ТО і ПР:
(дні/1000км);
дні
простою в КР:
(дні);
трудомісткість
ЩТО:
(люд*год);
трудомісткість
ТО-1:
(люд*год);
трудомісткість
ТО-2:
(люд*год);
трудомісткість
ПР:
(люд*год/1000км).
Для
автомобіля ZAZ Lanos :
= 5000 км
= 0,3 люд*год
= 20000
км
= 2,3 люд*год
= 150000
км
= 9,2 люд*год
= 0,4
дні/1000км
= 2,8 люд*год/1000км
= 10 днів
Коригування
нормативних значень проводиться з допомогою результуючих коефіцієнтів
коригування за формулами:
(2.2)
Для автомобіля ZAZ Lanos:
Одержані значення пробігів необхідно скоригувати ще раз, по кратності
середньодобового пробігу. Це пояснюється тим, що автомобіль може бути
встановленим на обслуговування тільки після завершення робочої зміни, тобто
період між сусідніми ТО повинен відповідати цілому числу днів.
Коригування по кратності середньодобового пробігу проводиться в такій
послідовності:
Для пробігу до ТО-1:
кількість днів між сусідніми ТО-1:
(2.3)
округляється
до цілого числа і знаходиться:
Для
пробігу до ТО-2:
кількість
періодів ТО-1 в періоді ТО-2:
(2.4)
округляється
до цілого числа і знаходиться:
Для
пробігу до КР:
кількість
періодів ТО-2 в періоді КР:
(2.5)
округляється
до цілого числа і знаходиться:
Для
автомобілів ZAZ Lanos:
Для
пробігу до ТО-1:
Для пробігу до ТО-2:
Для пробігу до КР:
Результати розрахунків заносимо в таблицю 2.3
Таблиця 2.3 - Значення розрахункових нормативів
|
Розрахунковий норматив
|
Умовне позначення
|
Одиниця виміру
|
ZAZ Lanos
|
|
|
|
Нормативне значення
|
Скор. по К”
|
Скор. поn”
|
Прийняте до розрахунку
|
|
Пробіг до ТО-1
|
LТО-1
|
км
|
5000
|
4500
|
4500
|
4500
|
|
Пробіг до ТО-2
|
LТО-2
|
км
|
20000
|
18000
|
18000
|
18000
|
|
Пробіг до КР
|
LКР
|
км
|
150000
|
135000
|
126000
|
126000
|
|
Час простою в ТО і ПР
|
ДПР
|
дні на 1000 км
|
0,4
|
0,28
|
-
|
0,28
|
|
Дні простою в КР
|
ДКР
|
дні
|
10
|
-
|
-
|
10
|
|
Трудомісткі сть ПР
|
tЩТО
|
люд*год
|
0,30
|
0,285
|
-
|
0,285
|
|
Трудомісткі сть ТО-1
|
tТО-1
|
люд*год
|
2,3
|
5,5545
|
-
|
5,5545
|
|
Трудомісткі сть ТО-2
|
tТО-2
|
люд*год
|
9,2
|
8,74
|
-
|
8,74
|
|
Трудомісткі сть ПР
|
tПР
|
люд*год
|
2,8
|
3,591
|
-
|
3,591
|
2.4 Розрахунок виробничої програми по ТО і Р РС в кількісному
виразі
.4.1 Визначення коефіцієнтів технічної готовності і випуску
Коефіцієнт технічної готовності αТ являє собою відношення кількості технічно справного
рухомого складу до загальної і знаходиться за формулою:
(2.6)
де
lс-д - середньодобовий пробіг, км;
ДПР
- скоригований час простою в ТО і ПР, дні/1000 км;
ДКР
- скориговані дні простою в КР, дні;
LКР - скоригований пробіг до КР, км.
Для автомобіля ZAZ Lanos:
Коефіцієнт
випуску
являє собою відношення кількості днів роботи технічно
справного РС до загальної кількості календарних днів:
(2.7)
де
ДР - кількість робочих днів автомобілів;
ДК-
кількість календарних днів в році.
Для
автомобіля ZAZ Lanos:
2.4.2 Визначення річного пробігу групи автомобілів
Загальний річний пробіг віх автомобілів однієї технологічно сумісної
групи:
(2.8)
де
АСП - число автомобілів однієї технологічно сумісної групи.
Для
автомобіля ZAZ Lanos:
.4.3
Визначення річної і добової програми ТО і Р РС
Кількість
КР, ТО-1, ТО-2, ЩТО за рік визначається по кожній технологічно сумісній групі
РС по формулах:
Кількість
КР:
Кількість
ТО-2:
(2.9)
Кількість
ТО-1:
Кількість
ЩТО:
Для
автомобіля ZAZ Lanos:
Кількість
КР:
Кількість
ТО-2:
Кількість
ТО-1:
Кількість
ЩТО:
Кількість
ЩТО, ТО-1, ТО-2, за добу визначається також по кожній технологічно сумісній групі
РС по формулах:
(2.10)
Для
автомобіля ZAZ Lanos:
Результати
розрахунків заносимо в таблицю 2.4
Таблиця
2.4 - Річна програма ТО і Р РС
|
Марка автомобіля
|
Коефіцієнт
|
Річний пробіг, км
|
Кількість за рік, шт.
|
Кількість за добу
|
|
αТ
|
αВ
|
|
     
|
|
|
|
|
|
|
|
ZAZ Lanos
|
0,914
|
0,70
|
10194450
|
75
|
490,8
|
1699,11
|
53655
|
1,75
|
6,06
|
191,6
|
|
По АТП
|
0,914
|
0,70
|
10194450
|
75
|
490,8
|
1699,11
|
53655
|
1,75
|
6,06
|
191,6
|
2.5 Розрахунок виробничої програми ТО і ПР РС в трудовому
виразі
Річна трудомісткість робіт по ТО визначається на основі річної виробничої
програми і скориговані трудомісткості одиниці обслуговування :
- трудомісткість
ЩТО:
(2.11)
де КМ - коефіцієнт механізації; КМ = 0.35...0.75
приймаєм КМ = 0,5
-
трудомісткість ТО-1:
трудомісткість
ТО-2:
Річний
об’єм робіт по ПР визначається виходячи з робочого пробігу групи автомобілів і
скоригованої трудомісткості ПР на 1000 км пробігу.
(2.12)
Для
автомобіля ZAZ Lanos:
Результати
визначення річних трудомісткостей заносимо в таблицю 2.5
Таблиця 2.5 - Річна програма ТО і Р РС
|
Марка автомобіля
|
Трудомісткість, люд*год
|
|
ТЩТО
|
ТТО-1
|
ТТО-2
|
ТПР
|
ТСУМ
|
|
ZAZ Lanos
|
7645,8
|
9437,7
|
4289,5
|
36608,26
|
57981,26
|
|
По АТП
|
7645,8
|
9437,7
|
4289,5
|
36608,26
|
57981,26
|
.6 Розподіл трудомісткостей ТО і ПР за видами робіт
Розподіл по видам робіт проводиться окремо для ЩТО, ТО-1, ТО-2 і ПР.
Користуючись таблицями розподілу робіт ТО і ПР по процентному відношенню,
знаходяться трудомісткості окремих видів робіт в межах одного виду
обслуговування - ЩТО, ТО-1, ТО-2 або ПР :
(2.13)
де ТВ - розрахункова трудомісткість окремого виду робіт,
люд*год;
ТN - річна трудомісткість даного виду ТО або ПР (по АТП),
люд*год;
с - процентна доля окремого виду робіт від річної трудомісткості даного
виду ТО і ПР, %.
Так як нам потрібна трудомісткість роботи по трансмісії, а розраховували
трудомісткість по всіх автомобільних системах знаючи, що роботи по трансмісії
складає 5% від всіх видів робіт, визначаємо трудомісткість по видам ТО і ПР для
ремонтних робіт. С = 5% [4]
Результати занести в таблицю 2.6
Таблиця 2.6 - Розподіл трудомісткостей ТО і ПР по видах робіт
|
Вид робіт
|
%
|
Трудомісткість, люд*год
|
|
1
|
2
|
3
|
|
ЩТО
|
|
Прибиральні
|
80
|
353,892
|
|
Всього
|
|
442,365
|
|
ТО-1
|
|
Діагностичні
|
15
|
81,90525
|
|
Закріплюючі
|
50
|
273,0175
|
|
Регулювальні
|
15
|
81,90525
|
|
Змащувальні, очистні
|
20
|
109,207
|
|
Всього
|
100
|
546,035
|
|
ТО-2
|
|
Діагностичні
|
10
|
24,817
|
|
Закріплюючі
|
45
|
111,6765
|
|
Регулювальні
|
15
|
37,2255
|
|
Змащувальні, очистні
|
10
|
24,817
|
|
Відновлювальні
|
15
|
37,2255
|
|
Розбирально-збиральні
|
5
|
12,4085
|
|
Всього
|
100
|
248,17
|
|
ПР
|
|
Діагностичні
|
5
|
105,90247
|
|
Регулювальні
|
10
|
211,80495
|
|
Розбирально-збиральні
|
35
|
741,31732
|
|
Дефектація
|
13
|
275,34643
|
|
Комплектація
|
10
|
211,80495
|
|
Відновлювальні
|
17
|
360,06841
|
|
Змащувальні, очистні
|
10
|
211,80495
|
|
Вього
|
100
|
2118,0495
|
.7 Розрахунок чисельності робітників
Чисельність робітників знаходиться окремо по проектованій дільниці.
Визначається штатна і явочна кількість робітників.
Чисельність робітників залежить від об’єму робіт на дільниці і фонду
робочого часу працівника.
Фонди робочого часу явочних і штатних працівників знаходяться за
формулами:
ФЯ= (ДК-ДВ-ДСВ)*tЗМ-ДПС*tСК,
ФШ= (ДК-ДВ-ДСВ-ДВІД-ДПОВ)*tЗМ-ДПС*tСК.
(2.14)
де ДК - календарні дні;
ДВ - кількість вихідних днів;
ДСВ - кількість святкових днів;
ДВІД - кількість днів відпустки;
ДПОВ - кількість пропусків по хворобі та інших поважних
причинах;
ДПС - кількість передсвяткових днів;ЗМ - тривалість
зміни, год;СК - час на який скорочується зміна, в суботні та
передсвяткові дні;
Для розрахунку приймаємо:ЗМ - 7 год при 6-денному робочому тижневі;СК
- 1 год;
ДВІД - 18 днів;
ДПОВ - 3 дні.
ФЯ= (365-104-10)*7-10*1=1747, (год)
ФШ= (365-104-10-18-3)*7-10*1=1600(год)
Явочна і штатна чисельність робітників :

(2.15)
де
Ті - річний об’єм робіт по проектованій дільниці (5 % від загальної
суми).

Приймаємо
на дільницю таку кількість робітників:
- явочних РЯ = 2 (чол.);
2.8 Вибір обладнання
Номенклатура і кількість обладнання приймається по табелях технологічного
обладнання і спеціалізованого інструменту для АТП, а також по різних довідниках
обладнання для ТО і ПР ходової частини.
Таблиця 2.7 - Табель виробничого обладнання для дільниці по ремонту
трансмісії.
|
Обладнання,прилади,
інструменти
|
Тип
|
Кіл-сть, шт.
|
Габаритні розміри, мм
|
Площа, м2
|
Потужність, кВт
|
|
|
|
|
один.
|
заг.
|
один.
|
заг.
|
|
1
|
2
|
3
|
4
|
5
|
6
|
7
|
8
|
|
Стелаж для деталей
|
ОРГ-230АНГ
|
1
|
1400×500
|
0,70
|
0,70
|
−
|
−
|
|
Радіально-сверлильний
настільний верстат
|
НРС-15
|
1
|
360×360
|
0,13
|
0,13
|
0,4
|
0,4
|
|
Слюсарний верстат
|
СД-370А
|
1
|
1250×800
|
1
|
1
|
0,7
|
0,7
|
|
Шафа настінна для приладів
та інструментів
|
ОРГ-01 OA
|
1
|
500×400
|
0,20
|
0,20
|
−
|
−
|
|
Стенд для розборки і
регулювання зчеплення
|
ЦКБ-Р-207
|
1
|
526×863
|
0,45
|
0,45
|
1
|
1
|
|
Стенд для ремонту
редукторів задніх мостів
|
Р-284
|
1
|
740×482
|
0,35
|
0,35
|
1
|
1
|
|
Подвісна кран-балка
|
ПТ-054
|
1
|
4000×1500
|
6
|
6
|
2,2
|
2,2
|
|
Стелаж для інструментів
|
ОРГ-280
|
1
|
1400×500
|
0,70
|
0,70
|
−
|
−
|
|
Стенд для ремонту коробок
передач
|
АГ2365
|
1
|
500×780
|
0,39
|
0,39
|
1
|
1
|
|
Стенд для ремонту передніх
і задніх мостів
|
ВН2450
|
1
|
1020×780
|
0,79
|
0,79
|
1
|
1
|
|
Ящік для відходів
|
ОРГ-090
|
1
|
800×400
|
0,32
|
0,32
|
−
|
−
|
|
Вмивальник
|
|
1
|
600х500
|
0,30
|
0,30
|
−
|
−
|
|
Вертикально-сверлильний
верстат
|
2А-125
|
1
|
1000×800
|
0,80
|
0,80
|
0,4
|
0,4
|
|
Електроточило
|
И-138А
|
1
|
860×550
|
0,30
|
0,30
|
0,51
|
0,51
|
|
Стенд для ремонту карданних
валів
|
3067
|
1
|
936×600
|
0,56
|
0,56
|
1
|
1
|
|
Всього
|
−
|
15
|
|
12,96
|
12,96
|
9,21
|
9,21
|
Сумарна площа обладнання складає 12,96м2.
Площа відділення визначається:
(2.16)
де
- коефіцієнт ущільнення (приймається
=3-5);
-
сумарна площа під обладнання, м2.ВІД = 3,9*12,96 = 50,54 ≈
50м2
Отже,
площа відділення складає 50м2.
До
даного розділу додається план розміщення обладнання на відділенні АТП.
3. РЕМОНТ
ТА МЕТОДИ ВІДНОВЛЕННЯ ДЕТАЛЕЙ
.1 Основні
несправності трансмісії ZAZ LANOS
Таблиця 3.1 - Основні несправності зчеплення автомобіля методи їх
усунення
|
Причина несправності
|
Метод усунення
|
|
1
|
2
|
|
1. Перекос між веденим
диском і маховиком, який викликається зміщенням маточини диска відносно
фрикційних кілець. Поломка пружин демпфера веденого диска.
|
1.Перевірити індикатором
торцеве биття (не більше 1,30 мм). Замінити ведений диск. Відрегулювати.
Замінити пружину чи закріпити її.
|
|
2. Спрацювання, пошкодження
чи недостатнє мащення підшипника виключення зчеплення. Поломка, втрата
пружності чи зіскакування відтяжної пружини вилки виключення зчеплення.
|
2. Замінити підшипник в
зборі. Замінити пружину чи закріпити її. Замінити деталі із зношеними чи
змятими шліцами.
|
|
3. Неповне повернення
педалі зчеплення у вихідне положення при втраті пружності відтяжної пружини.
|
3. Замінити пружину.
Змастити місця заїдань. Замінити накладки.
|
|
4. Замаслювання маховика,
натискного диска і накладок веденого диска. Послаблення накладок веденого
диска внаслідок нещільності клепання. передач.
|
4.Промити маховик і
натискний диск, замінити накладки веденого диска. Замінити несправні
заклепки.
|
Таблиця 3.2 - Основні несправності коробки передач ZAZ Lanos та методи їх
усунення
|
Причина несправності
|
Метод усунення
|
|
1
|
2
|
|
1. Шум в коробці передач
при нейтральному положенні важеля переключення
|
1. Замінити підшипники.
Замінити вал з веденою шестернею головної передачі
|
|
2. Сильні стуки в коробці
передач (під навантаженням)
|
2. Замінити пошкоджені
шестерні.
|
|
3. Стуки при переключенні
передач (погіршення чи повна відсутність синхронізації)
|
3. Замінити блокувальне
кільце. Замінити шестерню із зношеним вінцем.
|
|
4. Самовільне виключення
передач
|
4. Замінити cпрацьовані
деталі. Замінити шестерні. У випадку деформації чи Спрацювання штока чи вилки
замінити їх. Замінити спряжені деталі. Замінити пружину фіксатора.
|
|
5. Затруднене включення
передач
|
5. Зачистити внутрішню
поверхню шліців. Зачистити зубці чи замінити шестерні в зборі. Підтягнути
болт чи замінити його (при пошкодженні різьби). Зачистити чи замінити пошкоджену
втулку.
|
|
6. Не включається одна з
передач
|
6. Замінити вилку.
Зачистити поверхню шліців. Зачистити втулку чи замінити шестерню в зборі.
Замінити вкладиш.
|
Таблиця 3.3 - Основні несправності головної передачі і шарнірних валів
ZAZ Lanos та методи їх усунення
|
Причина несправності
|
Метод усунення
|
|
1
|
2
|
|
1. Підвищений шум головної
передачі
|
1. Замінити Спрацьовані чи
пошкоджені деталі.
|
|
2. Стук диференціала
|
2. Замінити спрацьовані
шестерні. Замінити спрацьовані деталі. Замінити півосьові шестерні чи
шарнірні вали. Підтягнути болти чи замінити при пошкодженні різьби. Замінити
спрацьовані деталі.
|
|
3. Шум, стук з сторони
переднього колеса при русі автомобіля
|
3. Замінити пошкоджені
деталі
|
|
4. Витікання мастила
|
4. Замінити захисні чохли і
мастило.
|
3.2
Технічне обслуговування трансмісії
3.2.1 Щоденне технічне обслуговування
Перед виїздом пересвідчитися, що не підтікає олива з картерів коробки
передач і головної передачі, перевірити дію зчеплення, коробки передач,
карданної та головної передач на ходу автомобіля.
3.2.2 Технічне обслуговування 1
При першому технічному обслуговувані.
Перевірити:
- рівень рідини в гідроприводі вимкнення зчеплення і
герметичність;
- кріплення кронштейну і складових частин гідроциліндра
підсилювача;
кріплення коробки передач до картера зчеплення;
дію механізму перемикання передач на нерухомому автомобілі;
стан карданного валу, зазор в шарнірних і шліцьових з'єднаннях і
проміжній опорі кріплення фланців карданного валу, опорних пластин голчатих
підшипників і проміжних опор;
в задньому мосту перевірити герметичність з'єднань; стан
кріплення картера редуктора, кришки картера підшипників конічної шестерні,
кришки колісних редукторів і фланців півосей.
Виконати:
- регулювання вільного ходу педалі зчеплення;
- підтягнути кріплення коробки передач;
підтягнути кріплення фланців карданного вала, опорних пластин
голчатих підшипників і проміжних опор.
Огляд, підтягування кріплення картера редуктора кришки картера
підшипників конічної шестерні, кришки колісних редукторів і фланців півосей.
3.2.3 Технічне обслуговування 2
При другому технічному обслуговуванні зробити ті ж роботи, що й при
першому і крім того.
Перевірити:
- герметичність і кріплення гідроприводу;
- вільний і повний хід педалі;
роботу зчеплення і підсилювача привода;
стан і герметичність коробки передач;
дію механізму перемикання передач і його привода;
кріплення гайки фланця шестерні головної передачі.
Виконати:
- огляд, підтягування кріплення гідроприводу зчеплення;
- відрегулювати хід педалі зчеплення;
підтягнути кріплення вузлів коробки передач;
контроль кріплення гайки фланця шестерні головної передачі.
3.2.4 Сезонне технічне обслуговування
Виконати сезонну заміну змазуючого матеріалу в трансмісій.
3.3 Піктограми
Система піктограм складається з 16 знаків, але для технічного
обслуговування та ремонту трансмісії ZAZ Lanos потрібні такі вказівки:
Рисунок 3.1 - Піктограми операцій технічного обслуговування автомобілів:
1 - перевірити стан; 2 - перевірити тиск; 3 - перевірити в дії; 4 - перевірити
світлову сигналізацію; 5 - відрегулювати; 6 - усунути люфт; 7 - закріпити; 8 -
зашплінтувати; 9 - замінити, переставити; 10 - усунути негерметичність; 11 -
очистити; 12 - промити; 13 - злити; 14 - долити до рівня; 15 - змастити під
тиском; 16 - змастити.
4.
ВАРТІСТЬ КОМПЛЕКТУЮЧИХ
В даній таблиці можна дізнатись вартість деталей по трансмісії автомобіля
ZAZ Lanos які при зношенні чи поломці можна замінити.
Таблиця 4.1 - Вартість деталей до трансмісії ZAZ Lanos
|
Найменування деталей
|
Ціна, грн.
|
|
Вилка вижимного підшипника
|
238-00
|
|
Вилка зчеплення
|
230-00
|
|
Датчик заднього ходу
|
98-00
|
|
Датчик швидкості
|
125-00
|
|
Диск зчеплення
|
597-00
|
|
Кожух зчеплення
|
725-00
|
|
Підшипник витисний
|
184-00
|
|
Пильник ШРУСа 6-ти
хвильовий
|
143-00
|
|
Рем.комплект куліси
|
68-00
|
|
Сальник первинного валу
|
26-00
|
|
Сальник штоку вибору
передач
|
25-00
|
|
Циліндр зчеплення
"головний"
|
402-00
|
|
Шланг зчеплення з трубкою
|
341-00
|
|
ШРУС зовнішній 29 зубів
|
400-00
|
|
Шток вибору передач
|
54-00
|
Автомайстерня
Адреса: вул. Космічна, 119, Запоріжжя
Телефон:067 799 5025
Ціни встановленні на 13.04.2016 р
5. ОХОРОНА
ПРАЦІ
Перед початком роботи:
. Одягнути і навести лад у спецодязі. Застебнути або зав’язати обшлаги
рукавів, заправити одяг.
. Підготувати робоче місце до безпечної роботи: прибрати сторонні предмети,
звільнити проходи.Впевнитись у тому, що робоче місце добре освітлене. Робочий
інструмент і пристрої розташувати у безпечному та зручному порядку для
виконання робіт та перевірити їх справність.
. Якщо виявлено несправність інструмента, пристроїв, обладнання і
електрообладнання, то необхідно повідомити майстра і до роботи не приступати.
Під час роботи:
. Зняття, транспортування і установлення вузлів та агрегатів на стенди
виконувати тільки за допомогою підйомно- транспортних засобів.
. Розбирання і складання агрегатів виконувати тільки на столі або стендах
за допомогою знімачів, гайковертів і відповідних пристроїв.
. Під час складання і випробування агрегат на стенді надійно закріпити.
. Несправні болти необхідно зрізати ножівкою або зрубати зубилом. Під час
зрубування необхідно надягати захисні окуляри.
. Зняття і встановлення пружин здійснювати за допомогою спеціальних
пристроїв.
. Забороняється здувати металеву стружку із верстака або із деталі
стисненим повітрям. Для видалення стружки або пилу необхідно користуватися
щіткою для змітання.
. Зняті деталі складати на стелаж.
. Забороняється зберігати у ящиках разом із інструментом металеві обрізки
і дріт.
. Не допускається попадання мастильних матеріалів на підлогу.
. Якщо отримано травму ну виробництві, необхідно терміново звернутися за
допомогою і повідомити майстра.
Після закінчення роботи:
. Вимкнути обладнання і навести порядок на робочому місці. Скласти
інструменти і пристрої у відведене для них місце.
. Повідомити майстра про всі недоліки, які виявлені під час роботи.
. Забороняється мити руки у оливі, бензині, гасі та витирати їх
ганчірками, які забруднені ошурками і стружкою.
ВИСНОВОК
В процесі роботи над курсовим проектом я закріпив теоретично знання
набуті зпредметів: “Двигуни автомобілів”, “Будова та експлуатація автомобілів”.
Детально ознайомився з будовою трансмісії автомобіля ZAZ Lanos,принципом
роботи. Навчився визначати неполадки та дізнався про методи їх усунення, а
також дізнався, які операції виконуються при технічному обслуговуванні,
трансмісії та охорону праці, з якою виконання технічного обслуговування буде
проходити на багато безпечніше..
Мною було розраховано: трудомісткість виконання робіт по технічному
обслуговуванню ста автомобілів ZAZ Lanos, чисельність робітників. Підібрано
технологічне обладнання і спроектовано план розміщення обладнання на відділенні
по обслуговувані трансмісії.
ЛІТЕРАТУРА
1. Сарахман
Б. І., Марунич О.П. Методичні вказівки з використання « Правил техніки безпеки
на робочих місцях проектуємих дільниць» для курсових і дипломних проектів з
предмету: «Технічна експлуатація автомобілів»
. Хрянин
В.Н., Железнов А.А. Технологическое проектирование производственных зон и
участков: учебно-метод. пособие для курсового и дипломного проектирования /
Новосиб. гос. аграр. ун-т.- Новосибирск, 2012. - 91 с.
. Кисликов
В.Ф. “Будова й експлуатація автомобілів”. Київ - Либідь. 2000.
. Пекарський
Б.Г. Методичні вказівки до виконання курсового проекту. Новоград-Волинський,
2016.
5. Савич
Е.Л. Легковые автомобили: учебник. - Минск: Новое знание: М.: ИНФРА-М, 2013. -
758 с.
6. Иванов
А.М. и др. Основы конструкции современного автомобиля. - М, ООО «Издательство
«За рулем», 2012. - 336 с.