|
Конструктивная особенность
|
Достигаемый результат
|
|
Двухскоростные гидромоторы привода ходовых колес
|
Обеспечивается возможность перемещения с объекта на объект
на дополнительной транспортной скорости, что обеспечивает более полное
использование сменного времени для выполнения рабочих операций. Кроме того,
отпадает необходимость в привлечении дополнительного транспорта и
грузоподъемных средств для перевозки УЭС между объектами
|
|
Герметичная кабина увеличенного объема с большой площадью
остекления и вентустановкой
|
Хорошая обзорность и комфортные условия труда
|
|
Подрессоренное сиденье с регулировкой по весу и росту
оператора
|
Выполнение требований эргономики
|
|
Вход в кабину сбоку
|
Безопасный доступ на рабочее место (исключена возможность
нахождения оператора в зоне рабочих органов)
|
снегоочиститель привод кинематический
3. Обоснование принятой конструкции снегоочистителя
В данном дипломном проекте рассмотрен вопрос об агрегатировании КС - 80
со шнекороторным снегоочистителем с его разработкой.
Снегоочиститель шнекороторный предназначен для механизированной очистки
городских дорог, площадей и других территорий от свежевыпавшего снега высотой
не более 500 мм. Снегоочиститель может применяться во всех почленно
климатических зонах с умеренным климатом, кроме горных районов и
переувлажненных зон. Снегоочиститель предназначен для агрегатирования с
энергетическим средством КС - 80 в зимнее время. Снегоочиститель должен
применяться при температуре окружающего воздуха не ниже минус 30°С.
Расчетные оптимальные параметры снегоочистителя с питающим шнековым
аппаратом и совмещенным со шнеком выбрасывающим ротором выбираем согласно
рекомендациям, приведенным в литературе ([2],стр.85).
Исходные данные:
Ширина захвата снегоочистителя B=3,75 м;
Максимальная толщина разрабатываемого снежного покрова Hс=0,25м;
Максимальная рабочая скорость Vх=6 км/ч;
Внешний диаметр ротора Dp= 0,6 м;
Внешний диаметр шнека Dш= 0,4 м;
Как показал патентный анализ, данную величину диаметра шнека (ротора)
следует считать оптимальной в допустимых пределах изменения различных величин
(плотности снега, скорости движения снегоочистителя и т.д.).
В
литературе ([2],стр.97) для существующих конструкций снегоочистителей величину
коэффициента заполнения (отношение убираемой снежной массы к массе, которую
способен передать ротор) рекомендуется осуществлять в диапазоне
=0,3…0,45.
В
нашем случае существуют следующие ограничения:
)
по мощности, которую определяет мощность двигателя;
)
рабочей скорости агрегата, которую определяет ограничение по мощности,
геометрические параметры и частота вращения шнека (ротора), а также условие
отсутствия смятия шнеком снежного покрова;
)
необходимость выполнения статической балансировки ротора ввиду отсутствия
оборудования для проведения динамической балансировки.
Таким
образом, в нашем случае, внутренний КПД (энергоемкость) рабочих органов играет
первостепенную роль, т.к. по необходимой мощности агрегат в целом находится
"на пределе". Расчетные параметры и рекомендации позволяют
осуществить уборку снега с плотностью свежевыпавшего снега.
Для
уборки более плотной снежной массы необходимо снижение рабочей скорости
агрегата, т.к. потребляемая мощность пропорциональна рабочей скорости агрегата
и плотности снега.
Геометрические
параметры ротора и шнека.
Ширина
захвата снегоочистителя B = 3,75 м;
Внешний
диаметр ротора Dp = 0,6 м;
Внешний
диаметр шнека Dш = 0,4 м;
Внешний
диаметр трубы шнека (материал трубы - сталь 20)
=100мм;
Шаг
винтовой поверхности по диаметру Dш (замер
по одной поверхности)
=0,4 м;
Угол
наклона винтовой линии α=27˚;
Число
заходов винтовой линии (поверхности) z=1;
Ширина
лопасти ротора (рекомендуемая) Вр=220 мм;
Количество
лопастей ротора z=4;
Расчетная
величина коэффициента заполнения при Вр=0,22м Кзап=0,3.
Рекомендации
и выводы.
)
Следует применить боковое расположение привода шнека, т.к. при этом:
привод
работает в более благоприятных условиях;
появляется
возможность использования цепной передачи;
понижаются
затраты мощности на рабочих органах;
)
Рекомендуемая величина Вр в нашем случае равна 220 мм. При этом Кзап
=0,3, что удовлетворяет условиям предлагаемым в литературе ([2],стр.97). Ширину
горловин снегоотвода принимаем несколько большей.
)
Дополнительное снижение энергоемкости возможно осуществлением
"подсоса" воздуха в снегоотводе в зоне схода снега с лопасти.
)
Положительный эффект дает применение не прямых, а изогнутых лопастей, несмотря
на большую сложность изготовления ротора.
)
Для статической балансировки ротора на призмах следует предусмотреть на трубе
(оси) шнека участки с одинаковым диаметром с повышенной чистотой поверхности ее
при отсутствии значительных отклонений наружного диаметра в сечении на данных
участках, соосные с опорами.
Статическую
балансировку правого и левого шнеков необходимо проводить отдельно, а затем
вторично балансировку всего узла в сборе. Также необходимо предусмотреть
возможность достаточно точного и надежного совмещения осевых линий труб шнеков
и оси ротора.
)
В целом, применение увеличенного диаметра шнека позволяет несколько уменьшить
силу трения снежной массы о стенки корпуса, что ведет к снижению энергоемкости.
Приведенные
конструктивные параметры и мероприятия позволяют сделать предположение о
снижении потребляемой мощности в целом за счет более эффективной работы при
уборке влажного снега.
4.
Технологический, кинематический, энергетический и прочностной расчеты
снегоочистителя
.1
Технологический расчет
К
основным параметрам снегоочистителя относятся: ширина захвата снегоочистителя,
толщина разрабатываемого снежного покрова, плотность разрабатываемого снега,
рабочая скорость, дальность отброса снежной массы, а также геометрические
параметры шнека и ротора.
Исходные данные:
Ширина захвата снегоочистителя B=3,75 м;
Толщина разрабатываемого снежного покрова Hс=0,25 м;
Плотность
разрабатываемого снега
= 0,12 г/см3;
Максимальная
рабочая скорость Vх=6 км/ч;
Внешний
диаметр ротора Dp = 0,6 м;
Внешний
диаметр шнека Dш = 0,4 м;
Внешний
диаметр трубы шнека (материал трубы - сталь 20)
=100 мм;
Частота
вращения ротора
=1019,5 мин-1.
Потери
мощности в трансмиссии машины определяются согласно ([3],стр.123) по формуле:
(4.1.1)
где
- мощность двигателя потребляемая на передвижение,
принимаем
= 0,3· Nдв=0,3·60=18 кВт;
Nдв - мощность
двигателя машины, Nдв=60 кВт;
Nuтр - КПД
трансмиссии машины, Nuтр=0,89, ([3],стр.124);
ηп - полный КПД гидромоторов, ηп=0,9.
По
формуле (4.1.1) получаем
Nр=18∙(1-0,89∙0,9)=3,6
кВт.
Мощность
затрачиваемая на перекатывание машины определяются согласно ([4],стр.153) по
формуле:
(4.1.2)
где
f - коэффициент сопротивления перекатыванию машины, f=0,1
([3], стр.124);
Gм - вес машины,
Gм=53,5 кН;
По
формуле (4.1.2) получаем
Nf=0,1∙53,5∙1,7=9,1
кВт.
Уравнение
баланса мощности, согласно ([3],стр.123), имеет вид:
N=Nр+Nf.
(4.1.3)
Подставляя
в выражение (4.1.3) вычисленные ранее величины Nр и Nf,
получаем
N=3,6+9,1=12,7
кВт.
Полученные
данные показывают, что мощности двигателя достаточно для обеспечения работы
агрегата.
Следовательно
остальная мощность двигателя расходуется на работу шнека и ротора, которая
будет равна:
кВт.
(4.1.4)
или
л.с.
(4.1.5)
Для
обеспечения запаса по мощности в расчетах принимаем
л.с.
Угловую
скорость ротора определяется по формуле:
рад/с.
(4.1.6)
По
формуле (4.1.6) получаем
рад/с.
Окружная
скорость ротора определяется по формуле:
.
(4.1.7)
По
формуле (4.1.7) получаем
м/с.
Согласно
литературы ([2],стр.112) приняв окружную скорость шнекового питателя
м/с, определяем значение весовой производительности:
,
(4.1.8)
где
- к.п.д. привода ротора,
=0,9;
- к.п.д.
привода шнека,
=0,85.
По
формуле (4.1.8) получаем
т/ч.
Отношение
глубины ротора к его диаметру согласно литературы ([2],стр.112) находится в
следующих пределах:
.
(4.1.9)
Так
как внешний диаметр ротора
= 0,6 м,
то глубина ротора из отношения (4.1.9):
м.
Чтобы
обеспечить разработку снежного слоя высотой 0,5 м, можно принимать диаметр
шнека
= 0,4 м в расчете на частичное обрушение снега под
действием собственного веса. Шнеки принимаем однозаходными с шагом
= 0,4 м. Тогда угловая скорость шнеков будет равна:
.
(4.1.10)
По формуле (4.1.10) получаем
об/мин.
Для обеспечения нормальных условий работы снегоочистителя загрузка ротора
снегом за каждый его оборот не должна выходить за пределы, определяемые
допустимым коэффициентом заполнения ([2],стр.97):
,
(4.1.11)
где
- весовая производительность снегоочистителя,
=140т/ч;
- диаметр
ротора,
м;
-
глубина ротора,
м;
-
количество роторов,
=1;
-
плотность снега, для рыхлого снега 
0,12 -
0,18 г/см3.
По
формуле (4.1.11) получаем
.
Проверим
пропускную способность шнеков. При равномерной загрузке всех шнеков (одного с
правой и одного с левой навивкой) и работе снегоочистителя на максимальную
производительность, согласно условию ([2],стр.113):
,
(4.1.12)
где
- фактическое количество транспортируемого снега,
приходящееся на шнек,
=140 т/ч;
- внешний
диаметр шнека;
- внешний
диаметр трубы шнека;
- шаг
витков шнека,
=0,4 м;
-
плотность снега;
-
безразмерный коэффициент, характеризующий проскальзывание транспортируемого
материала относительно шнека:
,
(4.1.13)
где
- угол подъема винтовой линии для средней части
лопасти.
По
формуле (4.1.13) получаем
.
По
условию (4.1.12) получаем
об/мин.
Мощность
затрачиваемая на привод ротора определяется по следующей формуле ([2],стр.99):
.
(4.1.14)
По
формуле (4.1.14) получаем
л.с.
Мощность
затрачиваемая на привод шнека определяется по следующей формуле ([2],стр.102):
.
(4.1.15)
По
формуле (4.1.15) получаем
л.с.
Для
нормальной работы снегоочистителя на снежном слое наибольшего сечения
минимальная рабочая скорость должна быть ([2],стр.119):
.
(4.1.16)
где B - ширина захвата снегоочистителя, B=3,75 м;
H
- толщина разрабатываемого снежного покрова, H
=0,25 м;
-
плотность разрабатываемого снега,
= 0,12
г/см3.
По формуле (4.1.16) получаем рабочие скорости:
При
H
=0,25 м
м/ч,
При
H
=0,5 м
м/ч.
Согласно
литературы ([2],стр.117) [5] при
=32 м/с
дальность отбрасывания ротором снежной массы
,
следовательно
м.
Для движения машины необходимо, чтобы между движителем и грунтом
создавалось усилие, достаточное как для перемещения самой машины, так и для
преодоления полезных и вредных сил сопротивления.
Тяговый расчет проводим для определения преодоления суммарного
сопротивления движению машины при заданных параметрах.
Сила сопротивления перекатыванию машины определяется согласно
([5],стр.16) по формуле:
(4.1.17)
где
f - коэффициент сопротивления перекатыванию по почве
(дороге), для укатанной снежной дороги f=0,03,
([5],стр.378);
G - удельный вес
машины, G=53,5 кН;
α - угол преодолеваемого машиной уклона, α=12˚.
По
формуле (4.1.17) получаем
кН.
Сопротивление
движению машины от сил инерции при трогании с места определяется согласно
([5],стр.17) по формуле:
(4.1.18)
где
vx - скорость машины в рабочем режиме, vx=1,7
м/с;
g - ускорение
силы тяжести, g=9,81 м/с
;
tр - время
разгона машины, tр=5 с.
По
формуле (4.1.18) получаем
Сопротивление
движению машины при подъеме на уклон определяется согласно ([5],стр.17) по
формуле:
(4.1.19)
где
α
- максимальный угол преодолеваемого
машиной уклона, α=12˚.
По
формуле (4.1.19) получаем
Сопротивление
движению машины от сил сопротивления на рабочих органах для шнекороторного
снегоочистителя невелико, ([3],стр.124), и оно составляет 10-15 % от Рf,
т.е. Рраб=0,157 кН.
Сила
тяги, которую может развивать машина при данной мощности двигателя
определяется, согласно ([5],стр.21) по формуле:
(4.1.20)
где
Мд - крутящий момент двигателя, Мд =243 Н·м;
ηм - общий КПД трансмиссии и ходовой части, ηм =0,89;
iтр - общее
передаточное число трансмиссии от двигателя к ведущему
колесу,
iтр =82,09;
rк - радиус
ведущего колеса машины, rк =0,6 м.
По
формуле (4.1.20) получаем
кН.
Сила
тяги, которую может развивать машина, должна удовлетворять согласно ([5],стр.24)
условию:
(4.1.21)
Подставляя
в выражение (4.1.21) полученные выше значения величин сопротивлений движению
машины, находим
кН.
что
позволяет сделать вывод об обеспечении возможности передвижения машины при
крайне неблагоприятных условиях.
Потеря
устойчивости наступает в результате выхода равнодействующей силы тяжести и
внешних нагрузок за пределы опорного периметра ходового оборудования и
сползания машины. Нормы устойчивости предопределены в первую очередь
требованиями безопасности.
Запас
устойчивости m определяем с учетом статических и динамических нагрузок для
наиболее неблагоприятного сочетания внешних нагрузок, установки машины и
положения ее подвижных частей.
Для
расчета на продольную устойчивость согласно ([3],стр.128), угол опрокидывания α принимаем равным 20˚. При этом запас устойчивости
m должен согласно ([3],стр.130) удовлетворять условию:
(4.1.22)
где
Муд - удерживающий момент, кН·м;
Мопр
- опрокидывающий момент, кН·м.
Определяем
моменты Муд и Мопр из расчетной схемы, приведенной на рисунке 4.1.1, путем
составления уравнений моментов относительно точки О, вокруг которой возможно
опрокидывание.
Рисунок
4.1.1 - Расчетная схема для определения продольной устойчивости
Удерживающий
момент в соответствии с рисунком 4.1.1 равен:
(4.1.23)
где
G - сила тяжести машины, G=47,5 кН;
а
- плечо действия горизонтальной составляющей силы G, а=1,25 м;
α - угол опрокидывания, α=20˚.
По
формуле (4.1.23) получаем
=
47,5·1,25·cos 20º=55,8
кН.
Опрокидывающий
момент в соответствии с рисунком 4.1.1 равен:
(4.1.24)
где
h - плечо действия вертикальной составляющей силы G, h
=1,2 м;
Gр - сила
тяжести рабочего органа, Gр=6 кН;
b - плечо
действия вертикальной составляющей силы Gр, b=0,8
м;
H - плечо
действия горизонтальной составляющей силы Gр, H=0,4
м;
По
формуле (4.1.24) получаем
=47,5·1,2·sin
20º
+ 6·0,8·cos 20º + 6·0,4· sin 20º =24,82 кН·м.
Подставляя
полученные значения Муд и Мопр в выражение (4.1.22), имеем
что
говорит об обеспечении продольной устойчивости КС - 80 со снегоуборочным
адаптером.
В
расчете на поперечную устойчивость задача сводится к определению запаса
устойчивости mпоп и сил, удерживающих машину от сползания.
Коэффициент
поперечной устойчивости, ([3],стр.133), находим из выражения:
(4.1.25)
Расчетная
схема для определения поперечной устойчивости приведена на рисунке 4.1.2.
Определяем
моменты Муд и Мопр из расчетной схемы, приведенной на рисунке 4.1.2, путем
составления уравнений моментов относительно точки О1, вокруг которой возможно
опрокидывание.
Рисунок
4.1.2 - Расчетная схема для определения поперечной устойчивости
Удерживающий
момент в соответствии с рисунком 4.1.2 равен:
(4.1.26)
где
G - сила тяжести машины, G=47,5 кН;
Gр - сила
тяжести рабочего органа, Gр=6 кН;
b/2 - плечо
действия вертикальных составляющих сил G и Gр
соответственно,
b/2=1,525 м;
β - угол опрокидывания, β=10˚.
По
формуле (4.1.26) получаем
Сила
инерции рабочего органа определяется согласно ([3],стр.135) по формуле:
(4.1.27)
где
Vx - скорость движения машины, Vx=1,7 м/с;
g - ускорение
силы тяжести, g=9,81 м/с
;
R - радиус
поворота, R=4 м.
По
формуле (4.1.27) получаем
Сила
инерции машины определяется согласно ([3],стр.135) по формуле:
(4.1.28)
По
формуле (4.1.28) получаем
Опрокидывающий
момент в соответствии с рисунком 4.1.2 равен:
(4.1.29)
По
формуле (4.1.29) получаем
=47,5·1,2·sin 10º + 6·0,4· sin 10º + 0,44·0,4 + 3,5·1,2 = 14,7 кН·м.
Подставляя
полученные значения Муд и Мопр в выражение (4.1.25), имеем
что
говорит об обеспечении поперечной устойчивости УЭС со снегоуборочным адаптером.
Условие,
при котором не происходит сползание, согласно ([3],стр.136), имеет вид:
(4.1.30)
где
φ
- коэффициент сцепления, φ =0,3.
Подставляя
полученные выше значения в выражение (4.1.30), имеем
Результаты
расчета показывают, что нагрузки на ходовую часть больше сдвигающих сил, что
обеспечивает поперечную устойчивость агрегата при работе на площадке с углом
наклона до 10˚.
.2
Кинематический расчет.
Рассчитаем
цепную передачу роликовой однорядной цепи, натяжение цепи регулируется нажимным
роликом ([6],стр.164).
Находим
передаточное число цепной передачи:
,
(4.2.1)
где
- частота вращения ведущей звездочки,
=801 об/мин;
- частота
вращения вала шнека,
=477 об/мин.
По
формуле (4.2.1) получаем
.
Принимаем
число зубьев ведущей звездочки на основании ([6],стр.272):
= 27;
= 27·1,68
= 45.
Мощность
передаваемая цепью равна 6,6 кВт.
Значения
коэффициентов:
;
;
остальные
коэффициенты равны 1.
Расчетный
коэффициент равен:
.
(4.2.2)
По
формуле (4.2.2) получаем
.
Значение
допускаемого давления ([6],стр.273) принимаем ориентировочно
Н/мм2.
Определяем
шаг цепи:
.
(4.2.3)
По
формуле (4.2.3) получаем
мм.
Выбираем
([6],стр.271) цепь с шагом
= 19,05
мм; диаметр валика
= 5,96 мм; длина втулки
=17,75
мм.
Проекция
опорной поверхности шарнира:
.
(4.2.4)
По
формуле (4.2.4) получаем
мм2.
Диаметры
делительных окружностей звездочек:
;
(4.2.5)
.
(4.2.6)
По
формулам (4.2.5 и 4.2.6) получаем
мм;
мм.
Вычисляем
скорость цепи:
.
(4.2.7)
По
формуле (4.2.7) получаем
м/с.
Окружное
усилие:
.
(4.2.8)
По
формуле (4.2.8) получаем
Н.
Давление
в шарнирах:
.
(4.2.9)
По
формуле (4.2.9) получаем
Н/мм2
<
=20,6 Н/мм2.
Межосевое
расстояние равно 972 мм.
Определяем
количество шагов:
.
(4.2.10)
По
формуле (4.2.10) получаем
.
Число
звеньев цепи:
.
(4.2.11)
По
формуле (4.2.11) получаем
Округляем
до четного числа
.
Монтажное
межосевое расстояние:
. (4.2.12)
По
формуле (4.2.12) получаем
мм.
Находим
число ударов:
.
(4.2.13)
По
формуле (4.2.13) получаем

< 35
.
Согласно
литературы ([6],стр.273) для роликовой цепи с шагом
=19,05 мм допускаемое число ударов 35 в секунду.
Усилие
от провисания цепи:
,
(4.2.14)
где
= 2,9 кг/м;
= 6.
По
формуле (4.2.14) получаем
Н.
Сила
давления на вал:
.
(4.2.15)
По
формуле (4.2.15) получаем
Н.
Максимальное
давление в шарнирах:
.
(4.2.16)
По
формуле (4.2.16) получаем
Н/мм2
при
допускаемом значении
=20,6 Н/мм2.
Проверяем
коэффициент запаса прочности цепи:
,
(4.2.17)
где
- разрушающая нагрузка,
=25000 Н;
Н.
По
формуле (4.2.17) получаем
.
Допускаемое
значение
должно быть не менее 8, то есть условие
удовлетворено.
.3
Энергетический расчет
Находим
общий КПД привода:
, (4.3.1)
где
- КПД муфты,
=0,99;
- КПД
пары подшипников,
=0,99;
- КПД
закрытой цилиндрической передачи,
=0,97;
- КПД
закрытой конической передачи,
=0,96;
- КПД
открытой цепной передачи,
=0,96.
По
формуле (4.3.1) получаем
Потребная
мощность двигателя:
.
(4.3.2)
По
формуле (4.3.2) получаем
л.с.
Определяем
мощности передаваемые на валу:
кВт;
кВт.
Определяем
крутящие моменты передаваемые на валу:
Н·мм;
Н·мм;
Н·мм;
Н·мм;
Результаты
расчетов сводим в таблицу 4.3.
Таблица
4.3
|
№ вала согласно кинематической схемы
|
Мощность, кВт
|
Крутящий момент, Н·мм
|
Частота вращения, об/мин
|
|
7,01
|
83,58
|
801
|
|
|
6,94
|
82,74
|
801
|
|
|
34,56
|
323,9
|
1019
|
|
|
6,6
|
132,14
|
477
|
|
.4 Расчет вала на прочность
Рассчитаем на прочность вал (см. приложение ДП.09.01.02). Крутящий момент
на валу Мкр = 267000 Н∙мм, средний диаметр цилиндрической
шестерни d40 = 161 мм, средний диаметр шестерни d20 = 90 мм.
Ориентировочный расчет вала.
Материал вала. Принимаем для изготовления вала сталь 40Х ГОСТ 4543-71. По
табл.1 [7] определяем характеристики механической прочности, предполагая, что
диаметр заготовки до 100 мм: НВ = 200, σв = 730 Н/мм2, σт = 500 Н/мм2, σ-1 = 320 Н/мм2,
τт = 280 Н/мм2,
τ-1 = 200 Н/мм2,
ψσ = 0,1, ψτ = 0,05.
Определяем диаметр вала под колесом, принимая [τ]к=20 Н/мм2:
40,6 мм.
Округляем
согласно ГОСТ 6636-69 значение диаметра до d = 45 мм.
Диаметр вала под колесом с учетом шлицевого соединения принимаем dк = 48,5 мм. Диаметр вала под подшипниками
конструктивно принимаем dп = 40 мм
и dп = 55 мм.
Расстояния
между опорами и закрепленными на валу деталями выбираем из чертежа.
Проверочный
расчет вала на усталостную прочность.
Вычерчиваем
расчетную схему (рис. 4.4.1).
Принимаем
за расчетные значения длин участки вала l1 = 43 мм, l2 = 54 мм, l3 = 31 мм.
Определение
сил, действующих на вал:
· Окружные
усилия
Н,
Н;
· Радиальные
силы
Н,
Н;
Определение опорных реакций и изгибающих моментов в вертикальной
плоскости (расчетная схема рис.4.4.1.б) (пл. ХОУ):
а) опорные реакции:
ΣМа = 0;
;
Н.
ΣУi = 0;
;
Н.
б)
изгибающие моменты:
MВв =
Н∙мм;
МСв
=
Н∙мм;
Определение
опорных реакций и изгибающих моментов в горизонтальной плоскости (расчетная
схема рис.4.4.1.в) (пл. ZOX):
а)
опорные реакции:
ΣМа = 0;
;
Н.
ΣZi =
0;
;
Н.
б)
изгибающие моменты:
MВг =
Н∙мм;
МСг
=
Н∙мм;
Результирующие
моменты в опасных сечениях (точки В и С)
МВ
=
Н∙мм;
МС
=
Н∙мм.
Коэффициент
запаса прочности в опасных сечениях.
В
сечении В крутящий момент Мкр = 267000 Н∙мм, но в сечении С
действует изгибающий момент МВ = 97916 Н∙мм.
Момент
сопротивления вала в обоих сечениях:
мм3;
мм3.
Амплитуда
номинальных напряжений изгиба в точке В и С при симметричном цикле изменения
напряжений изгиба
Н/мм2;
Н/мм2.
Коэффициент
запаса прочности в сечении В при изгибе
,
β = 0,9 - коэффициент, учитывающий упрочнение поверхности (см.
табл.7, [7]);
σт = 0 -
средние напряжения циклов нормальных напряжений (симметричный цикл изменения
напряжений изгиба).
.
Коэффициент
запаса прочности в сечении С при изгибе
.
Определяем
коэффициент запаса прочности при кручении. Полярный момент сопротивлениясечений
В и С.
мм3;
мм3.
При
нереверсивном вращении вала напряжения кручения изменяются по пульсирующему
циклу, тогда
Н/мм2.
Коэффициент
запаса прочности при кручении для обоих сечений
,
где
β
= 0,95; ψτ = 0,05;
=3,4; кτ = 2,45 (см. табл.13, [4]); ετ = 0,72 - масштабный фактор при кручении (см. табл.6,
[7]).
.
Общий
коэффициент запаса прочности в обоих сечениях:
;
.
Общие
коэффициенты запаса прочности в обоих сечениях обеспечивают необходимо допустимый
коэффициент запаса прочности
=2 ÷ 4 с запасом.
Рисунок
4.4.1. Эпюры изгибающих моментов.
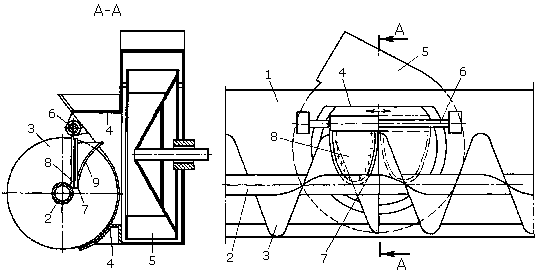
5. Техническая характеристика разработанной конструкции снегоочистителя
Снегоочиститель состоит из: рамы, шнека, ротора, снегопровода, привода
шнека, привода ротора, гидросистемы снегоочистителя. Рабочий орган
снегоочистителя состоит из шнекового питателя и четырехлопастного ротора,
смонтированных на раме.
При поступательном движении агрегата шнек врезается в снежный забой и
вырезанный из забоя снег транспортируется вдоль оси шнека к ротору, который
через разгрузочное отверстие и снегопровод отбрасывает его в заданном
направлении, либо в приемно-направляющие устройства, с помощью которых додается
в транспортные средства. Направление выброса снега может изменяться при помощи
поворота тумбы снегопровода гидроцилиндром механизма поворота и изменения
положения козырька снегопровода выдвижением телескопической трубы крепления
козырька. На раме расположены кронштейны для навески снегоочистителя на КС -
80. В рабочем состоянии снегоочиститель опирается на две стойки, позволяющие
регулировать высоту режущей кромки над поверхностью земли.
Привод рабочего органа снегоочистителя осуществляется от карданного вала
через цепную передачу на шнековый питатель и от карданного вала на ротор.
Механизм поворота снегопровода установлен в нижней части тумбы снегопровода и
имеет гидромеханический привод. Два гнутых рычага шарнирно соединены между
собой, поворот осуществляется гидроцилиндром двухстороннего действия. Поворот
снегопровода осуществляется на угол до 205° и ограничивается выдвижением штока
гидроцилиндра.
Гидросистема снегоочистителя подсоединяется к гидросистеме КС - 80 при
помощи рукавов высокого давления. Два рукава от гидроцилиндра механизма
поворота снегопровода подсоединяются к гидровыводам, расположенным на КС - 80.
Основные параметры и размеры шнекороторного снегоочистителя для
агрегатирования с энергосредством КС - 80 в зимнее время приведены в таблице
5.1.
Таблица 5.1 - Основные параметры и размеры снегоочистителя
|
Наименование показателя
|
Значение
|
|
Базовая машина
|
КС - 80
|
|
Габаритные размеры, мм
|
|
|
длина
|
1675 ± 50
|
|
ширина
|
4000 ± 50
|
|
высота
|
2140 ± 50
|
|
Масса снегоочистителя, кг, не более
|
600
|
|
Ширина захвата, мм
|
3750 ± 50
|
|
Дальность отброса снега, м
|
до 32
|
|
Рабочая скорость движения, км/ч, не более
|
6
|
|
Высота убираемого вала снега, м, не более
|
0,5
|
|
Диаметр ротора, м
|
600 ± 5
|
|
Диаметр шнека, мм
|
406 ± 5
|
|
Производительность, при высоте убираемого вала снега 0,25 м
и рабочей скорости 6 км/ч, т/час, не менее
|
140
|
Характеристики (свойства) снегоочистителя.
Конструкция снегоочистителя должна обеспечивать навеску на КС-80 [10].
При установке снегоочистителя на ровной горизонтальной площадке в
отдельном от КС - 80 состояния он должен сохранять устойчивое положение,
обеспечивающее удобство и безопасность обслуживания и навески на КС-80.
Снегоочиститель должен быть оборудован устройством для поворота
снегопровода.
Установка снегопровода вправо-влево должна производится одним оператором.
Снегоочиститель должен быть оборудован устройством, позволяющим
регулировать высоту режущей кромки над поверхостью земли.
Надежность конструкции
В конструкции снегоочистителя должны применяться материалы,
обеспечивающие достаточную прочность и надежность конструкции.
Значение показателей надежности:
ресурс до первого капитального ремонта мото-ч, не менее:………3000
полный срок службы, лет……………………………………………10
наработка на отказ II- III группы сложности единичного изделия, мото-ч,
не менее.…………………………...…………………………………300
Требования к технологичности.
Конструкция снегоочистителя должна быть разработана с учетом технологии,
применяемой на заводе-изготовителе.
В конструкции снегоочистителя должны применяться конструкционные и
низколегированные стали, обрабатываемые холодной штамповкой, обладающие хорошей
свариваемостью.
При проектировании снегоочистителя по возможности использовать прокат,
применяемый на заводе-изготовителе.
Эксплуатационная и ремонтная пригодность.
Конструкция снегоочистителя должна обеспечивать удобный доступ к узлам
для выполнения работ при техническом обслуживании и ремонте.
Уровень стандартизации и унификации.
В конструкции снегоочистителя должны использоваться по возможности
наибольше количество стандартных и унифицированных изделий
Безопасность конструкции.
Конструкция снегоочистителя должна соответствовать требованиям ГОСТ
12.2.011-75, [9], относящимся к данному навесному оборудованию
Снегоочиститель должен иметь места для строповки, которые должны быть
обозначены по ГОСТ 14192-77, [9].
Уровни вибрации на рабочем месте не должны превышать норм, указанных в
ГОСТ 12.1.012-78, [9].
Эстетические и эргономические показатели.
Снегоочиститель должен иметь противокоррозийное защитное покрытие.
Конструкция и внешний вид снегоочистителя должны отвечать современным
требованиям технической эстетики, тенденциям в художественном конструировании
для данной группы изделий.
Требование к маркировке и упаковке.
Снегоочиститель должен иметь фирменную табличку, выполненную согласно
требованиям ГОСТ 12969-67, [9] и ГОСТ 12971-67, [9] в которой указаны:
наименование и товарный знак завода-изготовителя (кроме экспорта);
наименование изделия и марка;
порядковый номер;
год выпуска;
сделано в Беларуси.
Транспортирование, хранение и консервация.
Конструкция снегоочистителя должна обеспечивать возможность его
транспортирования железнодорожным, водным, автомобильным транспортом.
Транспортирование снегоочистителя на расстояние до 20 км непосредственно
к месту работы допускается производить своим ходом, навешенным на КС-80 [10].
Способы закрепления снегоочистителя при транспортировании - в
соответствии с требованиями, закрепления грузов на данном виде транспорта[10].
При погрузке, выгрузке и перевозке должны применяться приспособления,
исключающие возможность повреждения снегоочистителя.
Группа условия хранения законсервированного снегоочистителя 4 по ГОСТ
15150-69, [9].
При сроках хранения снегоочистителя, превышающих срок консервации, должна
быть произведена переконсервация в соответствии с требованиями ГОСТ 9.014-78,
[9].
Коэффициент эффективности уборки свежевыпавшего снега должен быть не
менее 0,85.
6. Разработка мероприятий по рациональной эксплуатации, техническому
обслуживанию и регулировки привода рабочих органов
Техническое обслуживание снегоочистителя заключается в ежесменной и
периодической проверке, очистке, смазке и регулировке адаптера.
Все операции технического обслуживания: ежесменное (ЕТО), ТО-1 должны
проводиться регулярно через определенные промежутки времени в зависимости от
количества часов, проработанных снегоочистителем.
Допускается отклонение от установленной периодичности в пределах 10%.
Виды и периодичность технического обслуживания назначаются в соответствии
с данными таблицы 6.1.
Таблица 6.1 - Виды и периодичность технического обслуживания
снегоочистителя
|
Виды технического обслуживания
|
Периодичности, моточасов
|
|
Ежесменное техническое обслуживание (ЕТО)
|
10
|
|
Первое техническое обслуживание (ТО-1)
|
100
|
|
Техническое обслуживание при хранении.
|
При подготовке к хранению, в процессе и при снятии с
хранения
|
Для снегоочистителя устанавливаются виды обслуживания, перечисленные в
таблице 6.1.
Ежесменное техническое обслуживание (ЕТО) включает следующие операции:
) очистка шнека, ротора и рамы снегоочистителя от грязи;
) проверка состояния наружных креплений и, при необходимости, подтяжка;
) проверка отсутстия течи во всех соединениях гидросистемы.
При ТО-1 проводят операции ЕТО и дополнительно:
) осмотр всех узлов металлоконструкций и при обнаружении дефектов
устранение их;
) замена смазки.
При установке снегоочистителя на хранение:
) очищают снегоочиститель от грязи и пыли;
) устанавливают снегоочиститель в устойчивое положение на площадку для
хранения (навес или закрытое помещение);
) проверяют комплектность и техническое состояние снегоочистителя;
) при хранении на открытых площадках снимают и сдают на склад, прикрепив
бирки с указанием хозяйственного номера снегоочистителя рукава высокого
давления;
) закрывают после снятия со снегоочистителя рукавов все отверстия
заглушками;
) консервируют открытые резьбовые соединения и штоки гидроцилиндров;
) восстановливают поврежденную окраску.
В период хранения следует проверять:
) правильность установки снегоочистителя на хранение;
) комплектность хранящихся отдельно составных частей и снегоочистителя в
целом;
) состояние антикоррозионных покрытий;
) надежность герметизации.
Обнаруженные дефекты должны быть устранены.
При снятии снегоочистителя с хранения:
) очищают и расконсервируют снегоочиститель и рукава высокого давления;
) устанавливают на снегоочистителе рукава;
) проводят работы, предусмотренные при ТО-1.
Смазку снегоочистителя проводят в соответствии с данными таблицы 6.2.
Таблица 6.2 - Таблица смазки снегоочистителя
|
Наименование точек смазки
|
Наименование и марка смазки при эксплуатации и хранении
|
Количество точек смазки
|
|
Подшипники опор шнека
|
Периодичность смазки-60 часов Солидол ГОСТ 4366-76
|
2
|
|
Механизм поворота снегопровода
|
Периодичность смазки - один раз в начале сезона Литол-24 ГОСТ 21150-87
|
2
|
|
Шейка вала ротора
|
То же
|
1
|
|
Звездочка натяжного устройства
|
Солидол ГОСТ 4366-76
|
1
|
|
Цепь и звездочки привода шнека
|
Солидол ГОСТ 4366-76
|
2
|
7. Разработка мероприятий по техники безопасности и экологии
Перед началом эксплуатации энергосредства следует изучить инструкцию по
эксплуатации КС - 80. Кроме мер безопасности, указанных ниже, выполняйте
указания инструкции по эксплуатации двигателя Д - 243 [10].
К работе на снегоочистителе допускаются лица не моложе 18 лет,
ознакомленные с инструкцией по эксплуатации КС - 80 и инструкцией по
эксплуатации снегоочистителя, закрепленные за КС - 80 и отвечающие за его
техническое состояние. Эти лица должны иметь удостоверение на право вождения
УЭС и быть обучены "Правилам дорожного движения".
Погрузка и разгрузка должна производиться краном грузоподъемностью не
менее 5 т с помощью специального приспособления. Строповку следует производить
в местах, обозначенных на энергосредстве согласно схемы строповки. Не
допускются посторонние лица в зону погрузки и выгрузки энергосредства. При
транспортировании энергосредства своим ходом необходимо соблюдать "Правила
дорожного движения". Не следует превышать установленной скорости
транспортирования - 20 км/ч. При расконсервации энергосредства и его сменных
рабочих органов следует выполнять следующие требования [10]:
) помещения, где производится расконсервация, должны быть оборудованы
приточно-вытяжной вентиляцией и иметь в наличии необходимые средства
пожаротушения;
) в местах, где производится расконсервация, курение, хранение и прием
пищи запрещается.
Погрузка и разгрузка снегоочистителя должна производиться специальными
подъемными средствами грузоподъемностью не менее 1 т. Строповку необходимо
производить в местах, обозначенных на снегоочистителе. Посторонние лица в зону
погрузки и выгрузки снегоочистителя не допускаются.
Транспортирование снегоочистителя по дорогам общей сети производится
навешенным на КС - 80 и поднятым в транспортное положение, в кузове
автотранспорта или в прицепе специальном, предназначенном для перевозки
адаптеров КС - 80. Не допускается превышать установленной скорости
транспортирования - 20 км/ч. Движение по неровной дороге следует осуществлять
на пониженной скорости. Запрещается транспортирование снегоочистителя к месту
работы при включенном рабочем органе.
Не допускаются посторонние лица на площадку для сборки энергосредства.
Площадка должна иметь твердое покрытие, быть ровной и чистой. Перед установкой
демонтированных и сменных частей на энергосредство обязательно следует
проверить их состояние и исправность. Электрооборудование должно исключать
возможность искрообразования и утечек тока в проводах и клеммах. Аккумуляторная
батарея не должна иметь течи электролита. Гидравлические системы должны быть
герметичны. Не допускаются подтекания и каплеобразования масла, охлаждающей
жидкости, топлива.
При подготовке энергосредства к работе необходимо убедиться в том, что
включен стояночный тормоз.
Перед запуском двигателя или началом движения следует обязательно
предупредть сигналом окружающих.
При работе запрещается нахождение в кабине посторонних лиц.
Перед началом работы снегоочистителя в агрегате с КС - 80 следует
включить проблесковый маячок.
Запрещается во время работы снегоочистителя:
находиться в зоне работы ближе трех метров;
отбрасывать снег в сторону оператора КС - 80;
разрабатывать снежный забой с включением крупных предметов (камней,
палок, веток и т.д.) и при освещенности рабочего места меньше 40 люксов;
удалять снег, налипший на рабочий орган и посторонние предметы во время
работы двигателя;
производить техобслуживание во время работы двигателя.
При выходе из кабины нужно убедиться в том, что рабочий орган
снегоочистителя отключен, а КС - 80 заторможен стояночным тормозом.
Инструменты и приспособления для проведения технического обслуживания и
ремонта должны быть исправными и обеспечивать безопасность выполнения работы.
Следует соблюдать требования по технике безопасности при использовании
подъемно-транспортных средств. Работа снегоочистителя разрешается только на
технически исправном КС - 80. Все операции, связанные с техническим
обслуживанием, устранением недостатков и регулировками можно выполнять только
при отключенном рабочем органе снегоочистителя, отключенном дизеле и КС - 80
заторможен стояночным тормозом Не следует оставлять на снегоочистителе после
ремонта и регулировок инструмент и другие предметы.
При работе энергосредства в агрегате с различными по назначению орудиями
дополнительно следует соблюдать специфические условия техники безопасности,
изложенные в инструкциях по эксплуатации этих орудий.
Прицепные агрегаты или прицепы должны иметь жесткие сцепки, исключающие
их раскачивание и набег на энергосредство во время движения.
Перед подъемом и опусканием навешенных орудий, а также при поворотах
нужно предварительно убедиться, что нет опасности кого-либо задеть.
При эксплуатации энергосредства запрещается [10]:
) перевозить на энергосредстве людей и грузы;
) оставлять КС - 80 без присмотра с работающим дизелем.
При транспортных переездах КС - 80 по дорогам общего пользования в темное
время суток необходимо двигаться соблюдая "Правила дорожного движения"
с включенным сигнальным фонарем.
Не следует оставлять при длительных остановках в поднятом положении
навесные орудия.
Не допускается находиться под поднятыми навесными орудиями, не установив
под них надежные подставки.
Следует отключать "массу" при неработающем дизеле.
Все работы, связанные с ремонтом, регулировками и обслуживанием
энергосредства производятся при выключенном дизеле.
Работать на энергосредстве в ночное время разрешается только с исправным
освещением.
Навешенные машины и орудия должны быть опущены, энергосредство
заторможено.
Следует строго соблюдать требования по технике безопасности при
использовании подъемно-транспортных средств.
При сливе горячей жидкости из системы охлаждения и масла из картера
дизеля во избежание ожогов необходимо соблюдать осторожность.
При техническом обслуживании аккумуляторной батареи необходимо очищать
батареи в рукавицах.
Все ремонтные работы, связанные с применением электросварки, проводимые
непосредственно на энергосредстве, с целью предупреждения выхода из строя
реле-регулятора генератора и других электронных приборов следует выполнять при
отключенном выключателе "массы" и снятых проводах с контактов
генератора.
По окончании ремонтных работ необходимо подключить провода к генератору.
При техническом обслуживании запрещается [10]:
) проверять степень заряженности батарей замыканием клемм;
) пользоваться открытым огнем при проверке уровня электролита;
) накачивать шины без периодической проверки давления в шинах;
) подключать переносную лампу напряжением 12В в розетку для питания без
соответствующей вилки.
Не следует разъединять маслопроводы и производть подтяжку их соединений
при работающем дизеле. Не следует производить ремонт элементов гидропривода,
находящихся под давлением.
Запрещается использовать самодельные предохранители в цепях
электрооборудования.
При хранении должны быть приняты меры, предотвращающие опрокидывание или
самопроизвольное смещение энергосредства.
При мойке и нанесении антикоррозионных смазочных материалов рабочие
должны быть обеспечены фартуками, рукавицами и защитными очками. При хранении
должны быть приняты меры, предотвращающие самопроизвольное смещение
снегоочистителя.
Обеспечение мер пожарной безопасности при работе на энергосредстве
возлагается на тракториста, который должен сдать пожарно-технический минимум.
Ежедневно следует проверять работу глушителя (при любом режиме работаы
дизеля искрение не допускается).
Ремонт энергосредства, заправку и другие технологические операции,
связанные с применением открытого огня, выполняют на расстоянии не менее 30 м
от складов легковоспламеняющихся материалов.
При заправке энергосредотва легковоспламеняющимися жидкостями (маслом,
дизельным топливом) запрещается курить, применять для освещения и других целей
огонь.
Выхлопной коллектор дизеля должен плотно соединяться с блоком дизеля и
выхлопной трубой. При утечке газа необходимо подтянуть крепления, а при
прогорании прокладок - заменить их.
Обеспечение мер пожарной безопасности при работе со снегоочистителем
возлагается на оператора, который должен сдать пожарно-технический минимум. КС
- 80, работающий в агрегате со снегоочистителем должен быть укомплектован
противопожарным инвентарем. Не допускается подтеков масла в соединениях
маслопроводов. Запрещается разводить костры, производить сварочные работы и применять
все виды открытого огня на территории, где работает снегоочиститель с КС - 80.
При возникновении пожара оператор обязан засыпать очаг пламени песком или
накрыть мешковиной, брезентом или другой плотной тканью, использовать
огнетушитель КС - 80 и сообщить в пожарную охрану. Запрещается заливать горящее
топливо водой.
8. Технология изготовления детали снегоочистителя
.1 Назначение и конструкция обрабатываемой детали
Деталь “Ось” применяется в механизме снегопровода снегоочистителя.
Деталь по своей конструкции очень простая имеет цилиндрическую форму,
довольно проста в обработке режущим инструментом. На детали имеется 4 паза,
отверстие внутри детали в которую закручивается пресс масленка, которая
предназначена для подачи смазки к упорной втулке. Ось закреплена стопорным
пальцем.
К
основным базам данной детали можно отнести базы сопрягаемые с корпусом жатки.
Они определяют положение данной детали в механизме копирования жатки. Диаметр
детали
35,7h12(-0,25), длина основной базы 72±1,5 мм.
К
вспомогательным базам данной детали “Ось” можно отнести базы присоединяемой
сборочной единицы. На детали прорезаны четыре паза для подачи смазки. Размер
пазов l=82±1,5 мм, в=5±0,3 мм.
В
качестве опорной базы в осевом направлении являются торцы, сначала подрезаются
торцы, а затем центровочным сверлом центрируются.
.2
Анализ технологичности конструкции детали
Основные
задачи, решаемые при анализе технологичности конструкции обрабатываемой детали,
сводятся к возможному уменьшению трудоемкости изготовления и металлоемкости,
выявлению возможности обработки высокопроизводительными методами. Деталь “Ось”
изготовлена из стали 40Х ГОСТ 1050-74 механические свойства, химический состав
которой приведен в таблицах 8.2.1 и 8.2.2.
Таблица
8.2.1. Химический состав стали 40Х ГОСТ 1050-74.
|
Углерод, С %
|
Кремний, Si
|
Марганец, Mn
|
Сера, S
|
Фосфор, P
|
Никель, Ni
|
Хром, Cr
|
|
0,37-0,45
|
0,17-0,37
|
0,5-0,8
|
0,045
|
0,046
|
0,3
|
0,21
|
Таблица 8.2.2. Механические свойства стали 40Х.
|
Предел текучести , МПаПредел прочности , МПаОтносительное удлинение , %Относительное сужение , %Ударная вязкость , Дж/см2Твердость НВ
|
|
|
|
|
|
|
|
|
|
|
Горячекатаной
|
Отожженной
|
|
340
|
610
|
19
|
45
|
50
|
217
|
197
|
|
|
|
|
|
|
|
|
|
|
|
|
|
|
|
Конфигурация наружного контура не вызывает особых сложностей для поучения
заготовки в виде проката. Жесткость детали “Ось” достаточна для применения
прогрессивных режимов обработки, так как отношение ее длины L=190 мм к толщине Н=45 мм равно 4,2,
то есть находится ниже предела 9…12.
Конструкцией “Ось” предусмотрено удобство подвода к обрабатываемым
поверхностям режущего инструмента и отвода его после окончания обработки, что
способствует интенсификации технологического процесса. Оптимально выполнена
технологическая увязка размеров и требований, оговоренных допусками и
технологическими условиями. Шероховатость обрабатываемых поверхностей увязана с
возможностями металлообрабатывающего оборудования. Конструкцией предусмотрена
возможность проведения необходимых измерений и определения размеров, согласно
требованиям чертежа.
Для получения количественной оценки уровня технологичности детали
определим коэффициенты точности и шероховатости ([8], стр.229).
Таблица 8.2.3. Определение коэффициента точности.
|
размер
|
|
|
|
|
12
|
35,7112
|
|
|
|
14
|
9; 25228
|
|
|
|
6
|
М1016
|
|
|
|
|

|
|
Определяем
коэффициент шероховатости, результаты расчетов заносим в таблицу 8.2.4.
Таблица
8.2.4. Определение коэффициента шероховатости.
|
Шi
|
размер
|
ni
|
Шi ni
|
|
10
|
33110
|
|
|
|
5
|
l 190
|
3
|
15
|
|
5
|
1015
|
|
|
|
|

|
|
Расчеты
показывают, что деталь не относится к весьма сложным. В целом можно сделать
заключение, что деталь “Ось” достаточно технологична.
.3
Определение типа производства и его организационной формы
Тип
производства согласно ГОСТ 3.1108-74.
Исходные
данные по базовому технологическому процессу.
Годовая
программа изделий N=10000 шт.
Количество
деталей на изделие m=1 шт.
Запасные
части
%.
Режим
работы предприятия - односменный.
Действительный
годовой фонд времени работы оборудования
ч.
Расчет
ведем по формулам.
Количество
станков ([8],стр.20):
;
где
- годовая программа, шт.;
- штучное
время, мин.;
-
действительный фонд времени;
-
нормативный коэффициент загрузки оборудования,
=0,8
([8], стр.20).
Фактический
коэффициент загрузки оборудования:
где
- применяемое число рабочих мест.
Количество
операций выполняемых на рабочем месте ([8], стр.21):
.
Коэффициент
закрепления операции ([8], стр.19):
.
Результаты
расчетов заносим в таблицу 8.3.1.
Коэффициент
закрепления операции:
.
Производство
среднесерийное.
Расчет
деталей в партии ([8], стр.228).
=10000
шт.;
=1,859 мин.
Периодичность
запуска изделий
=3 дня.
Число
рабочих дней в году
.
Расчетное
количество деталей в партии:
шт.
118 шт.
Число
смен на обработку партии деталей:
=1 -
принятое число смен.
Принятое
число деталей в партии:
шт.
Таблица
8.3.1. Данные по существующему технологическому процессу.
|
№
|
Операция
|
   
|
|
|
|
|
|
10
|
Токарно-револьверная
|
1,42
|
0,144
|
1
|
0,144
|
5,55
|
|
20
|
Токарно-винторезная
|
4,28
|
0,442
|
1
|
0,442
|
1,8
|
|
30
|
Токарно-револьверная
|
0,78
|
0,08
|
1
|
0,08
|
10
|
|
40
|
Вертикально-сверлильная
|
1,7
|
0,175
|
1
|
0,175
|
4,57
|
|
50
|
Вертикально-сверлильная
|
0,13
|
0,023
|
1
|
61,5
|
|
60
|
Вертикально-сверлильная
|
0,27
|
0,041
|
1
|
0,041
|
28,6
|
|
70
|
Вертикально-сверлильная
|
0,48
|
0,049
|
1
|
0,049
|
16,3
|
|
80
|
Вертикально-фрезерная
|
0,32
|
0,033
|
1
|
0,033
|
24,2
|
|
90
|
Шпоночно-фрезерная
|
7,8
|
0,8
|
1
|
0,8
|
1
|
|
100
|
Круглошлифовальная
|
1,43
|
0,147
|
1
|
0,147
|
5,44
|
|
Итого:
|
10
|
|
159
|
Результаты расчетов по предлагаемому базовому технологическому процессу
заносим в таблицу 8.3.2.
Коэффициент закрепления операции:
.
Производство
среднесерийное.
Расчетное
количество деталей в партии([1], стр.228):
шт.
118 шт.
Число
смен на обработку партии деталей:
=1 -
принятое число смен.
Принятое
число деталей в партии:
шт.
Суточный
выпуск деталей:
шт.
Таблица
8.3.2. Данные по предлагаемому технологическому процессу.
|
№
|
Операция
|
 P O
|
|
|
|
|
|
10
|
Фрезерно-центровальная
|
1,24
|
0,12
|
1
|
0,12
|
6,6
|
|
20
|
Токарная с ЧПУ
|
2,8
|
0,28
|
1
|
0,28
|
2,85
|
|
30
|
Токарная
|
0,78
|
0,08
|
1
|
0,08
|
10
|
|
40
|
Вертикально-сверлильная
|
1,83
|
0,18
|
1
|
0,18
|
4,4
|
|
50
|
Вертикально-сверлильная
|
0,27
|
0,041
|
1
|
0,041
|
28,6
|
|
60
|
Вертикально-сверлильная
|
0,48
|
0,049
|
1
|
0,049
|
16,3
|
|
70
|
Горизонтально-фрезерная
|
0,32
|
0,033
|
1
|
0,033
|
24,2
|
|
80
|
Шпоночно-фрезерная
|
7,8
|
0,8
|
1
|
0,8
|
1
|
|
90
|
Круглошлифовальная
|
1,43
|
0,147
|
1
|
0,147
|
5,44
|
|
Итого:
|
16,95
|
|
9
|
|
99,39
|
Формы организации труда в соответствии с ГОСТ 14.312-71 зависит от
установленного порядка выполнения операций технологического процесса.
В
условиях среднесерийного производства применяется непоточно - групповая
организация технологических процессов, в основу которой положены общие типовые
технологические процессы с использованием многономенклатурной поточной линии
(ГАП), где производится последовательная обработка групп деталей двух и более
наименований, а
принимается с учетом потерь на наладку и переналадку
линии в пределах 5 - 10 % от общей станкоемкости.
При
групповой (поточной и непоточной) форме организации производства запуск изделий
производится партиями с определенной периодичностью, что является признаком
серийного производства.
В
результате получили, что при среднесерийном производстве применяется непоточно-групповая
организация технологических процессов.
.4
Выбор и экономическое обоснование метода получения заготовки
В
современном производстве одним из основных направлений развития технологии
механической обработки является использование черновых заготовок с экономичными
конструктивными формами, обеспечивающими возможность применения наиболее
оптимальных способов их обработки, то есть с наибольшей производительностью и
наименьшими отходами. Это требует непрерывного повышения точности заготовок и
приближения их к конструктивным формам и размерам готовой детали, что позволяет
в ряде случаев сократить область применения обработки резанием, ограничивая ее
в ряде случаев чистовыми отделочными операциями.
Заготовку
детали “Ось” получают из проката. Эскиз заготовки представлен на рисунке 8.4.1.
Масса заготовки по базовому (первому) варианту равна 2,5 кг. Предлагается
сравнить указанный метод получения заготовки с заготовкой получаемой поковкой,
масса которой 2,4 кг. Эскиз заготовки по предлагаемому (второму) варианту показан
на рисунке 8.4.2.
Исходные
данные:
Материал
детали - сталь 40Х.
Масса
детали g= 2,2 кг.
Годовая
программа N=10000 шт.
Производство
среднесерийное.
Такт
выпуска:
мин.
Прокат,
круг
45×194
Рисунок
8.4.1. Эскиз заготовки, получаемой из проката (вариант 1).
Рисунок
8.4.2. Эскиз заготовки, полученный поковкой (вариант 2).
Таблица
8.4.1. Данные для расчета стоимости заготовки по вариантам.
|
Наименование показателей
|
Вариант 1
|
Вариант 2
|
|
Вид заготовки
|
Прокат
|
Поковка
|
|
Класс точности
|
2
|
2
|
|
Группа сложности
|
3
|
3
|
|
Масса заготовки, кг.
|
2,5
|
2,4
|
|
Стоимость 1 тонны заготовок , руб.310000310000
|
|
|
|
Стоимость 1 тонны стружки , руб.1234012340
|
|
|
Коэффициент использования материала заготовки по первому варианту:
%.
Стоимость
заготовки по первому варианту, определяем по формуле ([8], стр.45):
;
где
- коэффициенты зависящие от класса точности, группы
сложности, массы, марки материала и объема производства заготовок ([8],
стр.31),
,
,
,
,
.
руб.
Коэффициент
использования материала заготовки по второму варианту:
%.
Стоимость
заготовки по второму варианту, определяем по формуле ([8], стр.45):
;
где
- коэффициенты зависящие от класса точности, группы
сложности, массы, марки материала и объема производства заготовок ([8],
стр.31),
,
,
,
,
.
руб.
Экономический
эффект определяется как разность стоимостей заготовок
сравниваемых методов:
руб.
При
этом годовой экономический эффект по заготовкам составит:
руб.
Определяем
приведенные часовые затраты на отличающихся операциях.
Вариант
1 ([8], стр.45):
Операция
№ 10 - обработка на токарно - револьверном станке 1П365.
Цена
станка с учетом 10 % на монтаж:
руб.
Производственная
площадь, занимаемая станком с учетом проходов ([8], стр.43):
;
где
- площадь станка, м2;
-
коэффициент учитывающий производственную площадь проходов,
=3 ([8], стр.43).
м2;
м2.
Часовая
тарифная ставка станочника сдельщика второго разряда ([8], стр.39):
;
где
- коэффициент учитывающий дополнительную заработную
плату,
=1,53;
-
коэффициент учитывающий заработную плату наладчика,
=1,15;
-
коэффициент учитывающий оплату рабочего при многостаночном обслуживании,
=0,65;
-
тарифная ставка,
= 54,8 руб.
руб/ч.
Часовые
затраты по эксплуатации рабочего места:
;
где
- часовые затраты на базовом рабочем месте,
=44,6 руб.;
-
коэффициент показывающий во сколько раз затраты связанные с работой данного
станка, больше чем аналогичные расходы ([8], стр.148),
=1,3;
- поправочный
коэффициент ([8], стр.45):
;
=0,3;
-
коэффициент загрузки станка:
;
-
штучное время,
=1,42 мин.;
- такт
выпуска,
=12,09 мин.
Коэффициент
загрузки станка:
.
Поправочный
коэффициент:
.
Часовые
затраты по эксплуатации рабочего места:
руб/ч.
Капитальные
вложения в станок:
руб/ч.
Капитальные
вложения в здание:
руб/ч.
Часовые
приведенные затраты:
;
где
- нормативный коэффициент экономической эффективности
капитальных вложений ([8], стр.45),
=0,15.
руб/ч.
Технологическая
себестоимость операции механической обработки:
;
где
- коэффициент выполнения норм,
=1,3.
руб.
Операция
№ 20 - обработка на токарно - винторезном станке 16К20.
Цена
станка с учетом 10 % на монтаж:
руб.
Производственная
площадь, занимаемая станком с учетом проходов ([8], стр.43):
;
где
- площадь станка, м2;
-
коэффициент учитывающий производственную площадь проходов,
=3,5 ([8], стр.43).
м2;
м2.
Часовая
тарифная ставка станочника сдельщика второго разряда ([8], стр.39):
;
где
- коэффициент учитывающий дополнительную заработную
плату,
=1,53;
-
коэффициент учитывающий заработную плату наладчика,
=1,15;
-
коэффициент учитывающий оплату рабочего при многостаночном обслуживании,
=0,65;
-
тарифная ставка,
= 54,8 руб.
руб/ч.
Часовые
затраты по эксплуатации рабочего места:
;
где
- часовые затраты на базовом рабочем месте,
=44,6 руб.;
-
коэффициент показывающий во сколько раз затраты связанные с работой данного
станка, больше чем аналогичные расходы ([8], стр.148),
=1,6;
-
поправочный коэффициент ([8], стр.45):
;
=0,3;
-
коэффициент загрузки станка:
;
-
штучное время,
=4,28 мин.;
- такт
выпуска,
=12,09 мин.
Коэффициент
загрузки станка:
.
Поправочный
коэффициент:
.
Часовые
затраты по эксплуатации рабочего места:
руб/ч.
Капитальные
вложения в станок:
руб/ч.
Капитальные
вложения в здание:
руб/ч.
Часовые
приведенные затраты:
;
где
- нормативный коэффициент экономической эффективности
капитальных вложений ([8], стр.45),
=0,15.
руб/ч.
Технологическая
себестоимость операции механической обработки:
;
где
- коэффициент выполнения норм,
=1,3.
руб.
Вариант
2 ([8], стр.45):
Операция
№ 10 - обработка на фрезерно - центровальном полуавтомате МР71.
Цена
станка с учетом 10 % на монтаж:
руб.
Производственная
площадь, занимаемая станком с учетом проходов ([8], стр.43):
;
где
- площадь станка, м2;
-
коэффициент учитывающий производственную площадь проходов,
=3 ([8], стр.43).
м2;
м2.
Часовая
тарифная ставка станочника сдельщика второго разряда ([8], стр.39):
;
где
- коэффициент учитывающий дополнительную заработную
плату,
=1,53;
-
коэффициент учитывающий заработную плату наладчика,
=1,15;
-
коэффициент учитывающий оплату рабочего при многостаночном обслуживании,
=0,65;
-
тарифная ставка,
= 54,8 руб.
руб/ч.
Часовые
затраты по эксплуатации рабочего места:
;
где
- часовые затраты на базовом рабочем месте,
=44,6 руб.;
-
коэффициент показывающий во сколько раз затраты связанные с работой данного
станка, больше чем аналогичные расходы ([8], стр.148),
=1,5;
-
поправочный коэффициент ([8], стр.45):
;
=0,29;
-
коэффициент загрузки станка:
;
-
штучное время,
=1,24 мин.;
- такт
выпуска,
=12,09 мин.
Коэффициент
загрузки станка:
.
Поправочный
коэффициент:
.
Часовые
затраты по эксплуатации рабочего места:
руб/ч.
Капитальные
вложения в станок:
руб/ч.
Капитальные
вложения в здание:
руб/ч.
Часовые
приведенные затраты:
;
где
- нормативный коэффициент экономической эффективности
капитальных вложений ([8], стр.45),
=0,15.
руб/ч.
Технологическая
себестоимость операции механической обработки:
;
где
- коэффициент выполнения норм,
=1,3.
руб.
Операция
№ 20 - обработка на токарном станке с ЧПУ 16А20Ф3.
Цена
станка с учетом 10 % на монтаж:
руб.
Производственная
площадь, занимаемая станком с учетом проходов ([8], стр.43):
;
где
- площадь станка, м2;
-
коэффициент учитывающий производственную площадь проходов,
=3 ([8], стр.43).
м2;
м2.
Часовая
тарифная ставка станочника сдельщика второго разряда ([8], стр.39):
;
где
- коэффициент учитывающий дополнительную заработную
плату,
=1,53;
-
коэффициент учитывающий заработную плату наладчика,
=1,15;
-
коэффициент учитывающий оплату рабочего при многостаночном обслуживании,
=0,65;
-
тарифная ставка,
= 54,8 руб.
руб/ч.
Часовые
затраты по эксплуатации рабочего места:
;
где
- часовые затраты на базовом рабочем месте,
=44,6 руб.;
-
коэффициент показывающий во сколько раз затраты связанные с работой данного
станка, больше чем аналогичные расходы ([8], стр.148),
=1,8;
-
поправочный коэффициент ([8], стр.45):
;
=0,39;
-
коэффициент загрузки станка:
;
-
штучное время,
=2,8 мин.;
- такт
выпуска,
=12,09 мин.
Коэффициент
загрузки станка:
.
Поправочный
коэффициент:
.
Часовые
затраты по эксплуатации рабочего места:
руб/ч.
Капитальные
вложения в станок:
руб/ч.
Капитальные
вложения в здание:
руб/ч.
Часовые
приведенные затраты:
где
- нормативный коэффициент экономической эффективности
капитальных вложений ([8], стр.45),
=0,15.
руб/ч.
Технологическая
себестоимость операции механической обработки:
;
где
- коэффициент выполнения норм,
=1,3.
руб.
Результаты
расчетов заносим в таблицу 8.8.
Таблица
8.4.2. Варианты технологического маршрута.
|
Наименование позиции
|
Вариант
|
|
Первый
|
Второй
|
|
Стоимость заготовок, руб.
|
Прокат 806,3
|
Поковка 717,5
|
|
Отличающиеся операции механической обработки
|
|
010
|
Токарно-револьверный 1П365 Подрезание торцов, центрование
торцов
|
Фрезерно-центровальный МР71 Подрезание торцов, центрование
торцов
|
|
Технологическая себестоимость обработки, руб.
|
157
|
147,3
|
|
020
|
Токарно-винторезный 16К20 Точить поверхность 2, канавку,
фаску.
|
Токарный с ЧПУ 16А20 Точить поверхность 2, канавку, фаску.
|
|
Технологическая себестоимость обработки, руб.
|
224,9
|
184,1
|
|
Технологическая себестоимость по вариантам обработки, руб.
|
1188,2
|
1048,9
|
|
Остальные операции по обоим вариантам одинаковы.
|
Годовой экономический эффект:
руб.
В
результате сравнения двух методов можно сделать вывод, что заготовку
целесообразно изготавливать поковкой.
.5
Анализ базового технологического процесса обработки детали
Базовый
технологический процесс оформлен в виде таблицы 8.5.1.
Анализ
базового технологического процесса механической обработки детали “Ось”
показывает, что последовательность операций в технологическом процессе выбрано
правильно и отражает принцип перехода от обработки менее ответственных поверхностей
к более ответственным.
В
конструкции детали “Ось” нет технологических трудностей с базированием как на
начальных так и на завершающих стадиях обработки. В конструкции данной детали
существуют поверхности, которые могут быть выбраны в качестве черновой базы -
торцевые поверхности
45 мм.
На
начальных операциях (до 20) проводится обработка технологических баз. Далее
технологический процесс вступает в стадию чистовой обработки (обтачивание
наружных поверхностей). В технологическом процессе применено приспособление для
фрезерования пазов, что обеспечивает уменьшение времени на обработку с
одновременным обеспечением требуемой точности взаимного расположения пазов на
детали.
В
качестве режущего инструмента в базовом технологическом процессе используются в
основном универсальные инструменты: резцы, сверла, торцевые фрезы, пазовая
фреза, а также комбинированное сверло, что вполне оправдано для серийного
производства. Измерительный инструмент также в основном универсального типа.
В
этом технологический процесс можно внести изменения которые представлены в
таблице 8.5.2.
Анализ
предлагаемого технологического процесса механической обработки детали “Ось”
показывает, что последовательность операций в технологическом процессе выбрано правильно
и отражает принцип перехода от обработки менее ответственных поверхностей к
ответственным.
Таблица
8.5.1. Базовый технологический процесс.
|
№
|
Наименование операции
|
Применяемое оборудование
|
Содержание операции
|
|
10
|
Токарно-револьверная
|
1П365
|
Подрезать торцы 5, 1. Центровать
торцы 5, 1.
|
|
20
|
Токарно-винторезная
|
16К20
|
Точить поверхность 2, фаску 4, канавку 3.
|
|
30
|
Токарно-револьверная
|
1П365
|
Сверлить отверстие 5 24 мм, расточить отверстие и фаску.
|
|
40
|
Вертикально-сверлильная
|
2А125
|
Сверлить отверстие 9 мм.
|
|
50
|
Вертикально-сверлильная
|
2А125
|
Рассверлить фаску
|
|
60
|
Вертикально-сверлильная
|
2А125
|
Нарезать резьбу в отверстии 6.
|
|
70
|
Вертикально-сверлильная
|
2А125
|
Сверлить отверстие 9 мм.
|
|
80
|
Вертикально-фрезерная
|
6Т12
|
Фрезеровать поверхность выдержав размер 4.
|
|
90
|
Слесарная
|
Стол универсальный
|
Опилить заусенцы.
|
|
100
|
Шпоночно-фрезерная
|
692Р
|
Фрезеровать четыре паза.
|
|
110
|
Слесарная
|
Стол универсальный
|
пилить заусенцы.
|
|
150
|
Круглошлифовальная
|
3А161
|
Шлифовать поверхность 11.
|
|
160
|
Слесарная
|
Стол универсальный
|
Калибровать резьбу.
|
|
180
|
Контрольная
|
Стол ОТК
|
Проверить размеры
|
Таблица 8.5.2. Предполагаемый вариант технологического процесса.
|
№
|
Наименование операции
|
Применяемое оборудование
|
Содержание операции
|
|
10
|
Фрезерно-центровальный
|
МР71
|
Подрезать торцы 5, 1. Центровать торцы 5, 1.
|
|
20
|
Токарная с ЧПУ
|
16А20Ф3
|
Точить поверхность 2, фаску 4, канавку 3.
|
|
30
|
Токарно-револьверная
|
1П365
|
Сверлить отверстие 5 24 мм, расточить отверстие и фаску.
|
|
40
|
Вертикально-сверлильная
|
2А125
|
Сверлить отверстие 6 9 мм и фаску.
|
|
50
|
Вертикально-сверлильная
|
2А125
|
Нарезать резьбу в отверстии 6.
|
|
60
|
Вертикально-сверлильная
|
2А125
|
Сверлить отверстие 9 мм.
|
|
70
|
Вертикально-фрезерная
|
6Т12
|
Фрезеровать поверхность выдержав размер 4
|
|
80
|
Слесарная
|
Стол универсальный
|
Зачистить заусенцы.
|
|
90
|
Шпоночно-фрезерная
|
692Р
|
Фрезеровать четыре паза.
|
|
100
|
Слесарная
|
Стол универсальный
|
Опилить заусенцы.
|
|
130
|
Круглошлифовальная
|
3А161
|
Шлифовать поверхность 11.
|
|
140
|
Слесарная
|
Стол универсальный
|
Калибровать резьбу.
|
|
150
|
Контрольная
|
Стол ОТК
|
Проверить размеры
|
9. Расчет экономической эффективности разработанной конструкции
снегоочистителя
Назначение снегоочистителя.
Снегоочиститель шнеко-роторного типа предназначен для расчистки от снега
дорог, площадей и других территорий. Снегоочиститель может применяться во всех
почвенно-климатических зонах СНГ с умеренным климатом. Агрегатируется с
самоходным шасси КС - 80, что позволяет дозагрузить энергосредство в зимний
период.
База для сравнения.
За базу для сравнения принято самоходное шасси КС - 80 с жаткой
эксплуатируемые в вессене-осенний период.
Источники образования экономического эффекта.
Источником образования экономического эффекта является дозагрузка
энергосредства КС - 80 в зимний период за счет агрегатирования его с
снегоочистителем.
Исходные данные представлены в таблице 9.1.
Таблица 9.1. Исходные
данные.
|
Показатели
|
Обоз.
|
Ед изм.
|
Проектный вариант
|
База для сравнения
|
|
|
|
КС-80 с снегоочистителем
|
КС-80 с жаткой
|
|
Агрегатирование
|
-
|
-
|
КС-80
|
|
Мощность двигателя
|
N
|
кВт
|
60
|
|
Ширина захвата
|
B
|
м
|
3,75
|
4,2
|
|
Срок службы
|
С
|
лет
|
|
|
снегоочистителя - жатки
|
|
|
10
|
|
энергосредства
|
|
|
10
|
|
Цена:
|
Ц
|
руб
|
|
|
снегоочистителя - жатки
|
|
|
6200000
|
13500000
|
|
энергосредства
|
|
|
54000000
|
|
Производительность за час времени:
|
|
т/ч
|
|
|
|
основного
|
W0
|
|
861
|
335,79
|
|
|
сменного
|
WСМ
|
|
571,7
|
222,97
|
|
|
эксплуатационного
|
WЭК
|
|
564,82
|
220,28
|
|
|
Коэффициент использования сменного времени
|
КСМ
|
-
|
0,664
|
|
|
Коэффициент использования эксплуатационного времени
|
КЭ
|
-
|
0,656
|
|
|
Расход топлива
|
q
|
кг/т
|
0,015
|
0,036
|
|
|
Норма отчислений на реновацию:
|
a
|
-
|
|
|
|
снегоочистителя - жатки
|
|
|
0,12
|
|
|
энергосредства
|
|
|
0,12
|
|
|
Норма отчислений на текущий ремонт и ПТО:
|
r
|
-
|
|
|
|
снегоочистителя - жатки
|
|
|
0,11
|
|
|
энергосредства
|
|
|
0,11
|
|
|
Часовая тарифная ставка механизатора по V-му разряду
|
τV
|
руб/ч
|
238
|
|
|
Стоимость горюче-смазочных материалов
|
Цг
|
руб/кг
|
590
|
|
|
Коэффициент перевода свободной цены в балансовую стоимость
|
m
|
-
|
1,05
|
|
|
Коэффициент отчислений на капитальный ремонт
|
к
|
-
|
0,14
|
|
|
Нормативный коэффициент экономической эффективности
|
Ен
|
-
|
0,15
|
|
|
Годовая загрузка
|
Т
|
ч
|
|
|
|
снегоочистителя - жатки
|
|
|
200
|
130
|
|
|
энергосредства
|
|
|
200
|
130
|
|
|
|
|
|
|
|
|
|
|
|
Методическая основа расчета экономической эффективности.
Расчет выполнен в соответствии со следующими методическими и нормативными
материалами:
§ ГОСТ 23728-88 - ГОСТ 23729-88 «Техника сельскохозяйственная. Методы
экономической оценки»;
§ Нормативно справочный материал для экономической оценки
сельскохозяйственной техники, М. 1988 (НСМ-88).
Производительность КС-80 с снегоочистителем.
Производительность
снегоочистителя составляет
= 140
т/ч.
Производительность
за час основного времени энергосредства КС-80 с снегоочистителем:
(9.1)
где
- производительность снегоочистителя, т/ч;
ТСМ - время смены, ч. Принимаем 8,2 ч;
t -
коэффициент использования времени смены. При уборке снега принимаем t = 0,75.
По формуле (9.1) получаем
т/ч.
Производительность
за час сменного и эксплуатационного времени рассчитана с учетом коэффициентов
использования сменного и эксплуатационного времени, соответственно 0.664 и
0.656.
Для
снегоочистителя производительность:
основного
времени: 861 т/ч;
сменного
времени:
·КСМ
= 861·0,664 = 571,7 т/ч;
эксплуатационного
времени:
·КЭ
= 861·0,656 = 564,82 т/ч.
Производительность КС-80 с жаткой для уборки трав.
Производительность жатки на скашивание трав можно определить по формуле:
(9.2)
где
B - ширина захвата жатки, м;
V - скорость
движения энергосредства с жаткой, км/ч. Рабочую скорость для жатки принимаем
такую же как и для снегоочистителя;
-
средняя урожайность,
=25 т/га.
По
формуле (9.2) получаем
т/ч.
Производительность
за час основного времени энергосредства КС-80 с жаткой на уборке трав
рассчитывается по формуле:
(9.3)
Где
ТСМ - время смены, ч. Принимаем 8,2 ч;
t - коэффициент
использования времени смены. При уборке трав принимаем t = 0,65.
По формуле (9.3) получаем
т/ч.
Для снегоочистителя производительность:
основного времени: 335,79 т/ч;
сменного времени:
,79 ·КСМ = 335,79 ·0,664 = 222,97 т/ч;
эксплуатационного времени:
,79 ·КЭ = 335,79 ·0,656 = 220,28 т/ч.
Сезонная наработка энергосредства КС-80 составит:
Н = WЭК TЖ, (9.4)
Где T - годовая загрузка снегоочистителя
(жатки), ч.
По формуле (9.4) получаем
Для снегоочистителя:
НС = 564,82·200 = 112964 т.
Для жатки:
НЖ = 220,28·130 = 28636,4 т.
Удельный расход топлива энергосредства КС-80 с снегоочистителем и жаткой
принят с учетом коэффициента использования мощности двигателя 0,9 для
снегоочистителя и 0,85 для жатки.
Расход топлива равен:
, (9.5)
Где
qУД -
удельный расход топлива, кг/кВт·ч;
N - мощность
двигателя, кВт;
kМ - коэффициента использования мощности двигателя.
По формуле (9.5) получаем
Для снегоочистителя:
кг/т.
Для жатки:
кг/т.
Экономические показатели выполнения технологического процесса с
применением новой и базовой машины.
Затраты на оплату труда обслуживающего персонала определяют
по формуле:
(9.6)
Где
WСМ -
производительность агрегата за 1ч сменного времени, т/ч;
Лj
- количество j-го производственного персонала, чел.
kД. - коэффициент, учитывающий доплаты по расчету за
продукцию, премии, надбавки за классность и стаж работы, квалификацию, оплату
отпусков и начисления по социальному страхованию;
τj -
часовая тарифная ставка оплаты труда обслуживающего персонала по j-
разряду, руб./ чел.-ч. Часовая тарифная ставка механизатора I-го
разряда равна:
, (9.7)
Где
FЭФ. -
эффективный фонд рабочего времени, ч;
n - число
месяцев в году;
Ч
- рабочие часы в году, ч.
ч.
Часовая тарифная ставка механизатора V-го разряда равна:
, (9.8)
Где
k5. -
тарифный коэффициент механизатора V-го разряда;
ч.
руб/т.
руб/т.
Затраты труда:
. (9.9)
чел.ч/т.
чел.ч/т.
Затраты на техническое обслуживание, текущий и капитальный
ремонта по нормативам отчислений от балансовой цены машины определяют по
формуле:
, (9.10)
где
Б - балансовая цена машины, руб;
Б
= Ц·m; (9.11)
Ц
- цена машины, руб;
m - коэффициент
перевода цены в балансовую стоимость;
WЭК - производительность агрегата или рабочего за 1 час
эксплуатационного времени т/ч;
r - коэффициент
отчислений на текущий ремонт и техническое обслуживание;
к
- коэффициент отчислений на капитальный ремонт;
Т
- нормативная годовая загрузка, ч.
Балансовая цена:
руб.
руб.
руб.
Затраты на техническое обслуживание:
руб/т.
руб/т.
руб/т.
руб/т.
Затраты на реновацию машины определяют по формуле:
, (9.12)
где
а - коэффициент отчислений на реновацию машины.
руб/т.
руб/т.
руб/т.
руб/т.
Горючее:
, (9.13)
где
q - расход горюче-смазочных материалов, электроэнергии,
кг/ед. наработки, кВт ч/ед. наработки;
ЦГ
- цена 1 кг топлива руб/кг.
руб/т.
руб/т.
Капитальные вложения по машине определяют по формуле
, (9.14)
руб/т.
руб/т.
руб/т.
руб/т.
Приведенные затраты на единицу наработки (П) в рублях определяют по
формуле:
(9.15)
где
И - прямые эксплуатационные затраты на единицу наработки, руб./ед. наработки;
К
- капитальные вложения на единицу наработки, руб./ ед. наработки;
Ен
- нормативный коэффициент эффективности капиталовложений.
Прямые эксплуатационные затраты определяют по формуле:
И=З+Г+А+Ф+Р, (9.16)
Где З - затраты на оплату труда обслуживающего персонала, руб/т;
Г - затраты на горюче-смазочные материалы и электроэнергию, руб/т;
Р - затраты на техническое обслуживание, текущий и капитальный ремонт,
руб/т;
А - затраты на реновацию, руб/т;
Ф - прочие прямые затраты на основные и вспомогательные материалы,
семена, удобрения, гербициды, проволоку, тара и т.д., руб/т. Принимаем равным
нулю.
руб/т.
руб/т.
Результаты расчета представлены в таблице 9.2.
Таблица 9.2. Результаты расчета.
|
Показатели
|
Обоз.
|
Ед. изм.
|
КС-80 с снего очистителем
|
КС-80 с жаткой
|
КС-80 с снегоочистителем и жаткой
|
|
|
Наименование технологического процесса
|
|
|
Уборка снега
|
Скашивание трав
|
Уборка снега и скашивание трав
|
|
|
Затраты труда
|
З
|
чел.ч/т
|
0,0017
|
0,0045
|
0,0062
|
|
|
Балансовая цена машины
|
Б
|
руб
|
|
|
|
|
снегоочистителя - жатки
|
|
|
6510000
|
14175000
|
20375000
|
|
|
энергосредства
|
|
|
56700000
|
|
|
Годовая загрузка
|
Т
|
ч
|
200
|
130
|
330
|
|
|
Прямы эксплуатационные затраты
|
|
|
|
|
|
зарплата
|
З
|
руб/т
|
0,708
|
1,815
|
2,523
|
|
|
реновация
|
А
|
руб/т
|
|
|
|
снегоочистителя - жатки
|
|
|
6,916
|
59,4
|
66,316
|
|
|
энергосредства
|
|
|
60,232
|
237,6
|
297,832
|
|
|
капитальный ремонт и ПТО
|
P
|
руб/т
|
|
|
|
снегоочистителя - жатки
|
|
|
14,421
|
123,75
|
138,171
|
|
|
энергосредства
|
|
|
125,482
|
495
|
620,482
|
|
|
горючее
|
Г
|
руб/т
|
8,85
|
21,24
|
30,09
|
|
всего
|
И
|
руб/т
|
216,609
|
938,805
|
1155,414
|
|
|
Удельные капитальные вложения
|
K
|
руб/т
|
|
|
|
снегоочистителя - жатки
|
|
|
57,63
|
498,49
|
556,12
|
|
|
энергосредства
|
|
|
501,93
|
1980
|
2481,93
|
|
|
Приведенные затраты
|
П
|
руб/т
|
300,543
|
1310,579
|
1611,122
|
|
|
|
|
|
|
|
|
|
|
|
|
Вывод.
Так как КС - 80 агрегатировался с жаткой и использовался только на
скашивании трав, а загрузка его на данный период составляла 130 часов, то
целесообразно дозагрузить энергосредство и за счет применения нового навесного
оборудования увеличить годовую загрузку энергосредства. В результате применения
снегоочистителя с самоходным шасси КС - 80 увеличилась загрузка энергосредства
в зимний период и составила 200 часов. В целом годовая загрузка энергосредства
увеличилась со 130 до 330 часов.
Заключение
В процессе дипломного проектирования согласно заданию был разработан
снегоочиститель для самоходного шасси КС - 80.
Поставленная задача решалась несколько этапов.
Во-первых, был подобран и проанализирован материал (авторские
свидетельства, патенты) по существующим отечественным и зарубежным
снегоочистителям и их рабочим органам, было определено назначение и
рациональная область применения энергосредства со снегоуборочным адаптером,
приведено описание проектируемой конструкции.
Во-вторых, был произведен расчет основных параметров снегоочистителя, а
именно: выбор и обоснование главных параметров, тяговый расчет, расчет продольной
и поперечной устойчивости снегоочистителя, а также был произведен расчет по
балансу мощности и приведена техническая характеристика проектируемого
снегоочистителя.
В-третьих, были рассмотрены требования безопасности при монтаже и сборке,
опробывании и обкатке, при работе, техническом обслуживании, устранении
неисправностей и при постановке на хранение снегоочистителя, а также правила
безопасности при транспортировании и расконсервациии, правила пожарной
безопасности.
В-четвертых, был произведен расчет экономической эффективности
снегоочистителя, в который был включен расчет балансовой цены изделия
отнесенной к технологическому процессу, расчет производительности и удельного
расхода топлива, расчет годовых текущих затрат снегоочистителя.
В-пятых, рассмотрены вопросы технического обслуживания снегоочистителя, а
именно: виды и периодичность технического обслуживания снегоочистителя,
перечень работ по видам технического обслуживания снегоочистителя и смазка
снегоочистителя.
Результатом дипломного проектирования является разработка
снегоуборочного адаптера для самоходного шасси КС - 80, позволяющего
дозагрузить энергосредство в зимний период, что увеличило годовую загрузку
энергосредства со 130 до 330 часов.
Литература
1. Иванов А.Н., Мишин В.А. Анализ конструкций и перспективы
развития снегоочистителей. - М., ЦНИИТЭстроймаш, 1978.
. Шалман Д. А. Снегоочистители. Изд. 2-е, перераб. Л.
"Машиностроение", 1973.
. Справочное пособие по гидравлике, гидромашинам и
гидроприводам / [Я. М. Вильнер, Я. Т. Ковалев, Б. Б. Некрасов и др.]; Под общ.
ред. Б. Б. Некрасова.- 2-е изд., перераб. и доп. - Мн.: Высш. шк., 1985.
. Гальперин М. И., Домбровский Н.Г. Строительные машины:
Учебник для вузов. - 3-е изд., перераб. и доп. - М.: Высш. шк., 1980.
. Скотников В.А., Мащенский А.А., Солонский А.С. Основы
теории и расчета трактора и автомобиля. - М., Агропромиздат, 1986.
. Сборник задач и примеров расчета по курсу деталей машин. -
4-е изд., перераб. - М., Машиностроение, 1974.
. Методические указания по курсовому проектированию по
разделу “Расчет валов деталей машин”/Разраб. В.Г.Попов, О.В.Громыко.- Гомель:
ГПИ, 1985.
. Горбацевич А.Ф. Курсовое проектирование по технологии
машиностроения.- М.: Высш. шк., 1983.
. Общетехнический справочник / Под ред. Е. А. Скороходова -
2-е изд., перераб. и доп. - М.: Машиностроение, 1982.
. Руководство по эксплуатации КС - 80. - Гомель, Гомсельмаш,
2000.
. Авторское свидетельство СССР № 1437463, 1986.
. Авторское свидетельство СССР № 159559, 1962.
. Патент США № 3303588, 1967.
. Авторское свидетельство СССР № 1194948,1983.
. Авторское свидетельство СССР № 421731, 1972.
. Авторское свидетельство СССР № 1093745, 1983.
. Авторское свидетельство СССР № 570668, 1976.
. Патент Японии № 481258, 1973.
. Авторское свидетельство СССР № 907142, 1980.
. Авторское свидетельство СССР № 397585, 1971.