Разработка конструкции машины для замены канатов экскаватора

  • Вид работы:
    Дипломная (ВКР)
  • Предмет:
    Транспорт, грузоперевозки
  • Язык:
    Русский
    ,
    Формат файла:
    MS Word
    3,05 Мб
  • Опубликовано:
    2015-07-03
Вы можете узнать стоимость помощи в написании студенческой работы.
Помощь в написании работы, которую точно примут!

Разработка конструкции машины для замены канатов экскаватора

Содержание

Введение

. Назначение, область применения и устройство экскаватора ЭКГ-8И

.1 Назначение, общее устройство, принцип действия и техническая характеристика

.2 Рабочее оборудование

.2.1 Ковш

.2.2 Рукоять

.2.3 Стрела

.2.4 Подвеска стрелы

.3 Поворотная платформа с механизмами

.4. Опорно-поворотное устройство

.5 Ходовая тележка

. Канаты на экскаваторе ЭКГ-8и

.1 Описание запасовки канатов

.2 Расчёт диаметра каната

.3 Уход за канатами

. Описание машины для замены канатов на экскаваторе

.1 Назначение

.2 Устройство машины

.3 Принцип работы

.3.1 Намотка нового каната на барабан

.3.2 Смотка каната

.4 Схема гидравлическая

.5 Эксплуатация машины

.5.1 Подготовка к работе

.5.2 Порядок работы

.5.3 Замена каната на экскаваторе (замена подъемного каната на экскаваторе ЭКГ-8И )

.5.4 Выдача с барабана для намотки старого каната

.6 Техническое обслуживание

.6.1 Характерные неисправности и методы их устранения

. Расчет машины для замены канатов на экскаваторах

.1 Расчет мощности электродвигателя привода барабанов для намотки и смотки канатов. Выбор электродвигателя

.1.1 Расчет мощности

.2 Расчет параметров механической передачи

.3 Расчет выходного вала редуктора PX-9

.4 Расчет шпоночного соединения вала со ступицей сцепной кулачковой муфты

.4.1. Расчет на смятие

.4.2. Расчет шпонок на срез

.5 Расчет тягового усилия на барабане для старых канатов

.6 Расчет кулачковой муфты

.7 Расчет клиноременной передачи

.7.1. Расчет шкивов

.8 Расчет привода канатоукладчика

.8.1. Определение скорости V2, м/сек

.8.2 Определение усилия на цепи Р2, Н

.8.3 Расчет цепной передачи второй ступени

. Охрана труда и техника безопасности

.1 Общие санитарные правила

.1.1 Борьба с пылью и вредными газами        

.1.2 Санитарно-бытовые помещения

.1.3 Водоснабжение

.2 Указание мер безопасности при эксплуатации машины для замены канатов

. Экономическая часть

.1 Капитальные затраты

.2 Эксплуатационные затраты

Заключение

Список использованной литературы

Введение

Горнодобывающая промышленность Казахстана на современном этапе характеризуется интенсивным развитием открытого способа производства, имеющего место при добыче руд черных и цветных металлов, горно-химического сырья и строительных материалов.

Базой для повышения производительности труда на открытых разработках являются механизация и автоматизация всех основных и вспомогательных работ, рост единичных мощностей горных и транспортных машин, переход от создания и внедрения отдельных машин к к разработке и внедрению систем машин (комплексов), целиком охватывающих весь технологический процесс.

Основной машиной технологической цепочки добычи полезного ископаемого открытым способом является экскаватор - машина предназначенная для зачерпывания (экскавации) горной массы, перемещения ее на относительно небольшие расстояния и погрузки на транспортные средства или в отвал.

Существует достаточно большое число конструктивных разновидностей экскаваторов. Так, например, одноковшовые экскаваторы подразделяются на:

      прямые напорные лопаты;

      гидравлические экскаваторы;

      драглайны;

      грейферы.

Повышение надёжности, долговечности машин и оборудования - первоочередная задача для горнодобывающей отрасли, где условия эксплуатации техники характеризуются высокими нагрузками и особой сложностью, что обусловлено наличием большого количества абразивных материалов, попадающих, несмотря на принимаемые меры защиты, в механизмы и узлы трения, широким диапазоном изменения температуры внешней среды.

В связи со старением экскаваторного парка существенно увеличиваются затраты на содержание и ремонт машин. Стоимость ремонта экскаватора за период эксплуатации превышает затраты на его изготовление в 10 раз, поэтому применение высокоэффективного ремонтного оборудования значительно уменьшает время простоя машины, позволяет производить ремонт на рабочем месте, не дожидаясь поломки машины, а также снизить себестоимость проведения ТО и ТР.

В связи с изложенным тема дипломного проекта, связанного с разработкой конструкции машины для замены канатов экскаватора, является актуальной.

1. Назначение, область применения и устройство экскаватора ЭКГ-8И

1.1 Назначение, общее устройство, принцип действия и техническая характеристика

Экскаватор ЭКГ-8И (Э - экскаватор, К - карьерный , Г - гусеничный, 8 - вместимость ковша в м3 , И - конструкция Ижорского завода ) - это одноковшовый карьерный экскаватор с рабочим оборудованием типа «прямая лопата» предназначенный для разработки и погрузки в транспортные средства полезных ископаемых или пород вскрыши [1].

Свои основные функции (экскавация и транспортирование горной массы в ковше к месту разгрузки) экскаватор выполняет циклично. Каждый цикл состоит из 4 основных последовательно выполняемых операций (иллюстрировать на действующей модели):

копания,

перемещение ковша с горной массой к месту разгрузки,

разгрузка ковша,

перемещение порожнего ковша к месту следующего копания ****).

Экскаватор (рисунок 1.1) состоит из поворотной части и ходовой тележки, связанных между собой опорно-поворотным устройством.

Рисунок 1.1. Основные узлы экскаватора

В свою очередь поворотная часть (рисунок 1.2) состоит из рабочего оборудования и поворотной платформы с механизмами.

Рисунок 1.2. Состав поворотной части

Копание осуществляется (см. рисунок 1.3) ковшом "а" в процессе его подъема (с помощью подъемного механизма через подвеску ковша "б" и внедрения в забой (с помощью напорного механизма через рукоять "в"). Буква "И" в обозначение марки экскаватора введена для того, чтобы отличить экскаватор ЭКГ-8И от экскаватора ЭКГ-8 конструкции Уралмашзавода [2]. экскаватор канат платформа машина

По технологическому принципу действия экскаватор с таким рабочим оборудованием работает аналогично землекопу, действующему лопатой.

Кроме вышеуказанных основных, экскаватор выполняет ряд вспомогательных операций, не связанных с копанием: подъем ковша и его выдвижение, а также опускание ковша и его втягивание, которые должны полностью совмещаться с операциями по перемещению ковша к месту разгрузки и обратно. Такое совмещение обеспечивается конструкцией экскаватора и квалификацией машиниста.

Подъемный и напорный механизмы называют механизмами копания. Каждый из них состоит из лебедки (подъемной или напорной) и канатов (подъемного или напорного и возвратного) [3].

Транспортирование груженого ковша к месту разгрузки и порожнего - к месту следующего копания осуществляется поворотом поворотной части экскаватора на ходовой тележке с помощью поворотного механизма.

Разгрузка ковша осуществляется открыванием его днища с помощью механизма открывания днища "г".

После отработки участка забоя, определяемого размерами рабочего оборудования (рабочими размерами) экскаватора, он передвигается к забою посредством гусеничного хода "я" с приводом от ходового механизма "э", расположенного на нижней раме "ю".

Основные механизмы экскаватора (подъемный, напорный, поворотный, ходовой, открывания днища) приводятся в действие двигателями постоянного тока.

Рисунок 1.3. Экскаватор ЭКГ-8И

Техническая характеристика экскаватора [4]

Вместимость ковша, м3 - 8 (1)

Расчетная продолжительность рабочего цикла, с   - 26 (2)

Рабочие размеры, м : наибольший радиус копания         -18,4

наибольшая высота копания         -13,5

Мощность сетевого двигателя, кВт                                     -630

Наибольший преодолеваемый подъем, град                     -12

Скорость передвижения, м/с (км/ч)                  - 0,12(0,42)

Конструктивная масса, т -335

Масса противовеса, т - 35-40

Среднее удельное давление на грунт, МПа (кгс/см2):

- при ширине гусеничных лент 1,1 м                                  -0,27 (2,7)

- при ширине гусеничных лент 1,4 м                        -0,21 (2,1)

1.2 Рабочее оборудование

Рабочее оборудование [5] выполняет основные функции экскаватора по экскавации и транспортированию горной массы к транспортному средству и состоит (см. рисунок 1.3) из ковша (с подвеской), рукояти 2, механизма 3 открывания днища ковша, стрелы 4 и подвески стрелы 5.

Можно выделить 2 основных узла рабочего оборудования: ковш (рабочий орган) и стрелу. Остальные узлы рабочего оборудования по существу являются - упряжью:

      ковша - рукоять, подвеска ковша и механизм открывания днища;

      стрелы - подвеска стрелы.

1.2.1 Ковш

Ковш непосредственно (рисунки 1.4 и 1.5) осуществляет экскавацию горной массы, является сосудом, в котором транспортируется эта масса к месту разгрузки и состоит из подвески 1, корпуса 2, днища 3, зубьев 4 и механизма торможения 5 днища.

Подвеска ковша состоит из коромысла 6, обоймы 7 с двумя рабочими (в отличие от уравнительных) блоками 8.

Корпус состоит из литой задней стенки 9 с проушинами для соединения с рукоятью, днищем и коромыслом, двух боковых вставок 10 и литой передней стенки 11. Вставки приварены к передней и задней стенкам стыковыми швами. Цель применения боковых вставок - унификация передней и задней стенок для ковшей различной вместимости.

Передняя стенка имеет пяту 12с отверстием 13, челюстью 14, в которой болтами закреплены пять зубьев (4) ' (цельных или составных). Составной зуб включает в себя основание 15, коронку 16 и элементы закрепления 17 коронки на основании. Зубья (коронки) являются наиболее быстроизнашивающимися элементами экскаватора (в особо абразивных породах их приходится менять через несколько дней).

Рисунок 1.4. Ковш экскаватора ЭКГ-8И

Днище шарнирно крепится к задней стенке корпуса и включает в себя две петли 18, соединенные с плитой 19, засов 20 с прорезью в хвостовой части, в которую входит рычаг 21,один конец которого закреплен в кронштейне плиты, а на другом конце закреплена цепь 22. Засов установлен в направляющих кронштейна 23 плиты и при закрытом днище входит в отверстие 13 передней стенки.

Механизм торможения 5 днища предназначен для уменьшения колебания днища при открывании и ослаблении его ударов о корпус при закрывании и представляет собой дисковый фрикционный тормоз с пружиной (на рис.1.4 не показан) затяжкой, которой регулируется интенсивность торможения.

Рисунок 1.5. Вид на днище ковша (вид А на рисунке 1.4)

Зубья, передняя стенка, днище и проушины коромысла ковша в процессе копания подвержены действию значительных динамических нагрузок и интенсивному абразивному износу, а днище еще и сильным ударам при падении в ковш крупных кусков породы. Для обеспечения необходимой прочности и износостойкости указанные детали изготавливаются из высокомарганцовистой стали 110Г13Л, обладающей высокой ударной вязкостью (в том числе и при низких температурах) и способностью к наклепу при работе (что обеспечивает высокую твердость и износостойкость). Сварка деталей из этой стали, осуществляется специальными (аустенитными) электродами.

Для повышения долговечности режущая часть и нижний пояс передней стенки наплавляются твердым сплавом. Направляющие засова и шарниры петель днища, а также шарниры механизма торможения смазываются из масленки с носиком.

1.2.2 Рукоять

Рукоять (рисунок 1.5) предназначена для передачи ковшу напорно-возвратных усилий и перемещений. Состоит из балки 1 (поэтому называется однобалочной), заднего полублока 2 , упругого элемента 3, предназначенного для снижения динамических нагрузок, и чеки 4, выполняющей также функцию заднего упора рукояти.

Балка рукоятки представляет собой сварную металлическую конструкцию, состоящую из трубы 5, на которую приварены возвратный полублок 6 с передним упором, снабженным резиновым амортизатором 7, и кронштейн 8 для механизма открывания днища ковша. К трубе в передней части приварена головная отливка 9 с проушинами для соединения с ковшом . Труба балки изготовлена из штампованных полуобечаек из низколегированной хладностойкой стали.

Для возможности установки рукояти в седловой подшипник стрелы (см. ниже) напорный полублок выполняется съемным и монтируется (вместе с поглощающим аппаратом и чекой) в хвостовой части балки рукояти, после установки ее в седловой подшипник, причем поглощающий аппарат вводится в балку через ее окно 10.

Такое устройство хвостовой части рукояти обеспечивает снижение динамических нагрузок при выдвижении рукояти, как при копании, так и в случае удара чеки - упора в седловой подшипник. В первом случае нагрузка на балку передается от напорного каната через напорный полублок, поглощающий аппарат и чеку (при этом напорный полублок скользит по сменным направляющим 11 балки), а во втором - от чеки через поглощающий аппарат (при этом чека скользит по направляющим 12).

Рисунок 1.5. Рукоять

Напорный и возвратный полублоки огибаются напорным и возвратными канатами соответственно и через них рукоять получает возвратно-поступательное движение. Для предотвращения выпадения канатов из ручьев полублоков в момент образования слабины, на последних установлены съемные угольники 13.

1.2.3 Стрела

Внешняя двухбалочная (по отношению к однобалочной рукояти) шарнирно сочлененная стрела (рисунок 1.6) состоит из нижней секции 1 (с уравнительными полублоками 1а для каната), верхней секции 2, узла головных блоков, напорного узла 4 и конечного выключателя подъема 5.

Обе секции соединены между собой шарнирно и представляют собой сварные металлические конструкции из горячекатаных труб, концевых отливок и листов.

Нижняя секция в своей нижней части пятами шарнирно соединена с кронштейнами поворотной платформы. На верхнем листе нижней секции приварены два уравнительных полублока (1а) для подъемного каната.

Четыре головных блока 6 (рисунок 1.7) установлены на подшипниках качения на головной оси 7, смонтированной в опорах 8 верхних отливок верхней секции и удерживаемой от поворота в опорах штифтом 9. Осевое поджатие осуществляется с помощью гайки 10 и распорной втулки 11. На головной оси по краям смонтированы также блоки 12 подвески стрелы. Напорный узел (риссунок 1.8) состоит из напорной оси 13 и установленных на ней седлового подшипника 14 и двух двухручьевых (для напорного и возвратного канатов) блоков 15.

Седловой подшипник обеспечивает связь рукояти с нижней секцией стрелы таким образом, что рукоять имеет возможность поворота (вместе с седловым подшипником) в вертикальной плоскости и возвратно-поступательного движения относительно секции стрелы.

Так как напорно-возвратное усилие и движение передаются рукояти канатами непосредственно, прямо (без промежуточных механизмов), то напор экскаватора является прямым канатным напором.

В корпус седлового подшипника установлены четыре ролика 16, служащие опорой рукояти в вертикальной плоскости. Для восприятия боковых нагрузок предусмотрены антифрикционные (латунные или капроновые) вкладыши 17 (последние являются быстроизнашивающимися элементами - их срок службы несколько месяцев). Для обеспечения равномерного прилегания к рукояти вкладыши установлены в корпус седлового подшипника через резиновые прокладки (на рис. не показаны).

Рисунок 1.6. Стрела экскаватора ЭКГ-8И

Втулки 18 двухручьевых блоков удерживаются от проворачивания на опорной оси замковым соединением 19 со втулками 20, приваренными к нижней секции.

Рисунок 1.7. Узел головных блоков

Для ограничения перемещения седлового подшипника двухручьевых блоков вдоль напорной оси (1мм) предусмотрена регулировка с помощью гайки 21. Напорная ось установлена в расточках верхних отливок 22 нижней секции и удерживается от поворота в них шпонкой 23. По краям на напорную ось надеты подкосы и подвесы стрелы.

Блоки (12) подвески стрелы на головной и подкосы на напорной осях удерживаются с помощью хомутов 24.

Осевые зазоры всех шарнирных соединений металлоконструкций стрелы и ее подвески между собой и с поворотной платформы выбираются прокладками 25.

Рисунок 1.8. Напорный узел

На головную и напорную оси действуют большие изгибающие нагрузки, поэтому для обеспечения необходимой прочности их выполняют из закаленной хромоникелевомолибденовой стали (а для полной прокаливаемости оси выполнены полыми).

Предупреждение переподъема ковша осуществляется (рис.4) конечным выключателем подъема (5), установленным на нижней секции стрелы у напорного узла и срабатывающего от рычага 5а седлового подшипника, поворачивающегося на напорной оси подъема ковша.

Для обслуживания головных блоков и напорного узла на стреле предусмотренылестницы и площадки (см. рисунок 1.1).

1.2.4 Подвеска стрелы

Подвеска стрелы (рисунок 1.9) предназначена для удержания стрелы в рабочем положении, передачи усилий от нее на поворотную платформу и состоит из двух параллельных ветвей канатных растяжек 1, поддерживающих верхнюю секцию стрелы, двух подкосов 2, поддерживающих нижнюю секцию стрелы и двуногой стойки 3.

Подкосы, вместе с передней ногой двуногой стойки подвески стрелы и нижней секцией стрелы образуют жесткий треугольник, разгружающий стрелу от кручения и поперечного изгиба.

Каждая канатная растяжка состоит из каната 4, концы которого закреплены в двух клиновых втулках 5 с помощью клиньев (на рисунке не показано). Растяжка одним своим концом крепится коромысла 6, поочередно огибает блок подвески стрелы в узле головных блоков стрелы, блок 7, установленный на оси 8 (на втором конце которой установлено коромысло (6)), второй блок узла головных блоков стрелы и вторым концом крепится снизу коромысла. Конец (9) оси 8 выполнен квадратным.

Регулировка длины растяжки (различие длин ветвей не более 5мм) производится перемещением коромысла при помощи шпильки 10 с гайкой 11, при этом коромысло своей прорезью скользит по плоскостям квадратного конца оси. Затем с обеих сторон от оси устанавливаются и закрепляются от выпадения прокладки 12. После завершения регулировки шпильки вынимаются.

Подкос представляет собой трубу с приваренными к ней передней отливкой 13, шарнирно соединенной с напорной осью, и задней концевой деталью 14, в которой установлена ось (8) и которая шарнирно соединена с двуногой стойкой.

Двуногая стойка состоит из передней 15 и задней 16 ног, шарнирно соединенных между собой и с поворотной платформой. Для регулировки канатных растяжек на вуногой стойке предусмотрены лестница и площадка (см. рисунок 1.1).

1.3 Поворотная платформа с механизмами

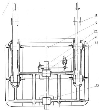
Поворотная платформа служит основанием для рабочего оборудования, рабочих .механизмов и основной части электрооборудования и состоит (рисунок 1.10) из несущей рамы 1 и боковых площадок.

На поворотной платформе установлены подъемная лебедка 2, напорная лебедка 3, поворотный механизм 4, пневмосистема 5, кузов 6, кабина 7 и входная лестница 8, а также электрооборудование.

Рисунок 1.9. Подвеска стрелы

Рисунок 1.10. Поворотная платформа с оборудованием

В передней части рамы в кронштейне 9 шарнирно крепиться нижняя секция стрелы и передняя нога двуногой стойки, в ее расточках 10 в задней части - задняя нога двуноги. В задние отсеки рамы при монтаже экскаватора "засыпается" противовес (часто в качестве противовеса используется отработавшие свой ресурс стальные шары шаровых мельниц), обеспечивающий уравновешенность поворотной части экскаватора в целом.

В средней части рамы поворотной платформы вварены два поворотных стакана для механизма поворота и центральный стакан для центральной цапфы.

Поворотный механизм

Поворотный механизм служит для вращения поворотной части экскаватора, осуществляет функцию транспортирования горной массы к месту разгрузки. Кинематическая схема механизма поворота приведена на рисунке 1.11.

Поворотный механизм состоит из двух приводов, каждый из которых (рисунок 1.12) включает в себя фланцевый электродвигатель 1 вертикального исполнения с колодочным тормозом 2 на верхнем конце вала и редуктора 3.

Редуктор механизма поворота - двухступенчатый, цилиндрический, вертикального исполнения, обе ступени прямозубые; ведущая шестерня насажена непосредственно на нижний конец вала электродвигателя. Вертикальный выходной вал - шестерня 4 имеет одну опору (верхнюю) в корпусе редуктора, вторую - в нижней расточке поворотного стакана поворотной платформы, а своей шестерней 4а сцепляется с неподвижным зубчатым венцом (см. ниже). Вал - шестерня (4) огибает зубчатый венец (поэтому шестерни (4а) называют "бегунковыми") и через опоры увлекают за собой поворотную платформу, обеспечивая ее вращение на опорно-поворотном устройстве.

Смазка зубчатых передач и подшипников поворотного редуктора принудительная от насосной станции; для обеспечения надежной смазки зимой осуществляется подогрев масла.

Для предотвращения течи масла через шлицевое соединение зубчатого колеса с валом (4) его торец закрыт крышкой 5; верхняя опора выходного вала имеет контактное 6 и лабиринтное 7 уплотнения, причем лабиринтное уплотнение расположено выше уровня масла. Открытое зубчатое зацепление бегунковых шестерен (4а) с зубчатым венцом по соображениям безопасности закрыто кожухом 8.

1.4 Опорно-поворотное устройство

Опорно-поворотное устройство (рисунок 1.10) предназначено для соединения поворотной части экскаватора с ходовой тележкой и включает в себя верхний рельс 14, приваренный к раме поворотной платформы, роликовый круг 15, нижний рельс 16, приваренный к зубчатому венцу 17, закрепленному на ходовой тележке, а также центральную цапфу 18.

Рисунок 1.11. Кинематическая схема механизма поворота

Рабочие поверхности рельсов смазываются нанесением графитной смазки с помощью лопатки, зубья зубчатого венца смазываются с помощью форсунки, подключенной к пневмосистеме и солидолонагнетателю (с давлением 150 кгс/см2), при медленном вращении поворотной платформы.

Роликовый круг (рисунок 1.13).

Роликовый круг - это опорный роликовый подшипник, воспринимающий направленную вниз составляющую равнодействующей силы тяжести поворотной части экскаватора (с грунтом в ковше) и усилий копания. Он состоит из сорока однореборных роликов 1 (с запрессованными в них железографитовыми втулками 2), одетых на оси 3, закрепленные в сепараторе 4, установленном на оси центральной цапфы с помощью бронзовой втулки 5.

1.5 Ходовая тележка

Ходовая тележка предназначена для установки на ней поворотной части экскаватора и его перемещения и состоит (рисунок 1.14) из нижней части рамы 1, гусеничного хода 2 и механизма хода 3 (с раздельным приводом каждой гусеницы).

Рисунок 1.12. Привод механизма поворота

Рисунок 1.13. Роликовый круг механизма поворота

Рисунок 1.14. Ходовая тележка экскаватора ЭКГ-8И

2. Канаты на экскаваторе ЭКГ-8и

2.1 Описание запасовки канатов

Схема запасовки канатов экскаватора приведена на рисунке 2.1

Подъемный канат экскаваторов ЭКГ-8и закреплены обоими концами на барабанах лебедки, серединой охватывает уравнительные блоки ковша, головные блоки и уравнительные полублоки на верхней секции стрелы. Диаметр каната 45,5 мм.

Возвратный канат пропускается через возвратный полублок, наружные ручьи двухручьевых блоков, концами наматывается сверху по наружным ручьям на барабаны. Концы каната пропускаются в соответствующие пазы и закрепляются с помощью сухарей и болтов аналогично подъемной лебедке. Число канатов - 2. Диаметр 45,5 мм.

Напорный канат пропускается через напорный полублок, внутренние ручьи двухручьевых блоков и концами наматывается (по 1,7 витка) снизу по внутренней нарезке на барабаны. Концы каната пропускаются в соответствующие пазы и закрепляются аналогично возвратному канату.

Запрещается [6]:

1.Менять местами на барабанах запасовки напорных и возвратных канатов.

.Производить подъем и опускание ковша при отсутствии зазора между концевыми упорами рукояти и седловым подшипником, поскольку это вызовет обрыв каната.

Для регулирования натяжения канатов левый барабан напорной лебедки выполнен разъемным.

2.2 Расчёт диаметра каната

Экскаваторы ЭКГ-8И на Соколовском карьере на породе с характеристикой:

КF=0,7 МПа - удельное сопротивление копания;

Кр =1,5 - коэффициент разрыхления породы;

=3,5 т/м3 - плотность породы;

Масса ковша составляет Мк=15,65 т.

К массе ковша следует добавить массу коромысла. Вес конструкции составит 15% массы ковша.

Вес узла составит:

Мк= 15,65+0,1515,65=17,99 т

Размеры ковша:

Ширина В= 2820мм;

Рисунок 2.1. Схема запасовки канатов

Длина L = 2364мм;

Высота h=3720 мм.

Масса рукоятии =10,415т;

Длина рукояти = 11510 мм;

Диаметр рукояти=700 мм.

При определении мощности главных приводов экскаватора цикл разбивается на три периода: черпание, поворот на разгрузку и возвращение порожнего ковша в забой.

Для данного расчета возьмём период, когда ковш находится в забое. Ковш полностью заполнен горной массой, рукоять выдвинута на максимальную величину. Схема к расчёту приведена на рисунке 2.2.

Рисунок 2.2. Расчётная схема к определению усилий в механизме напора

На рукоять с ковшом действуют сипы: Ск+п- вес ковша с породой; GР - вес рукояти; Sп и Sн - подъемное усилие и усилие напора; Ро1 и Ро2 - касательная и нормальная составляющая сопротивлению копания.

Моментом от сипы Sн и Ро2 мы пренебрегаем.

Усилие подъема Sп находится составлением уравнения моментов относительно оси напорного вала [7]:

 (2.1)

где    r1; r2; r3; r4 - длины плеч приложения сил относительно оси напорного вала, который расположен на середине стрелы, м;

 -угол между рукоятью и предполагаемой горизонтальной линией, градус;

- угол между подъёмным канатом и рукоятью, градус.

Касательная составляющая сопротивлению копания находится по формуле:

                          (2.2)

где    Е- емкость ковша, м3;

КF- удельное сопротивление копанию, МПа;

Нк - высота напорного вала, м;

Кр- коэффициент разрыхления.


Вес ковша с породой

                                             (2.3)

где Мк- масса ковша, т.


Вес рукояти: Ср=Мр9,81=10,4159,81=102,17 КН


Диаметр каната механизма подъёма выбирается исходя из разрывного усилия по формуле [8]:

 (2.4)

где ад - число двигателей в механизме;к - число канатов;п - количество полиспастов.


Диаметр каната для этого разрывного усилия 45,5 мм. Принимаем канат 45,5Г-В-О-Н-160 с разрывным усилием Sр=1325 КН [9].

Для механизма напора расчёт выполняется по той же расчётной схеме. Проектируя все силы на горизонтальную ось, получаем:

н=Sпсos+P02,

где    Р02=0,1Р01 - горизонтальная составляющая сопротивления копания.

Р02=0,1442,5=44,25 КН.н=1331сos36+44,25=1121КН.

Разрывное усилие каната, с учётом наличия на экскаваторе двух канатов - напорного и возвратного:


Принимаем такой же диаметр барабана и каната.

На механизме напора один барабан разъёмный, а второй нет. В ближних от редуктора пазах барабанов напора крепятся с помощью сухарей и болтов концы напорного каната, а в крайних пазах крепятся концы возвратного каната. Возвратный канат заводится на барабан сверху, а напорный снизу.

2.3 Уход за канатами

Для увеличения срока службы канатов, применяемых на экскаваторе, необходимо соблюдать правила их хранения, эксплуатации и ухода [10].

Канаты следует хранить на месте защищенным от атмосферных осадков, и во избежании ржавления, тщательно смазывать анти коррозийной смазкой.

По мере высыхания смазки ее следует возобновлять.

Канаты должны быть намотаны на деревянную катушку или смотаны в бухту.

При наматывании на катушки или сматывании в бухту, необходимо следить за тем, чтобы витки каната ложились параллельно и не перепутывались друг с другом.

Это облегчит в дальнейшем разматывание каната.

Разматывание канатов с барабанов или с бухты производить по возможности прямолинейно, не допуская изгибов, петель и переломов. Если канат намотан на катушку, последнюю следует установить на стойках, и вращая ее, разматывать канат.

Это предохранит канат от образования на нем петель, изгибов и расслоение прядей, вызывающих преждевременный износ и обрыв каната.

Машинист должен периодически осматривать канаты.

Выбраковка канатов и их замена производится в соответствии с нормами износа, принятыми на предприятии эксплуатирующим экскаватор.

Канаты необходимо регулярно смазывать канатной смазкой. Напорный, возвратный и подъемный канаты, а также канат механизма открывания днища ковша смазывать ежемесячно, канаты подвески стрелы через 6 месяцев.

Канатная смазь не должна содержать в себе кислот и щелочей, должна быть достаточно липкой, чтобы не отслаиваться от каната при работе, не должна высыхать или разрушаться под действием тепла окружающего воздуха.

Рекомендуется применять специальную канатную мазь. Канатную мазь перед употреблением необходимо прогреть, чтобы обеспечить проникновение ее между прядями каната.

Перед смазкой канат должен быть очищен от грязи и старой смазки.

Для смазки канатов применяется мазь канатная Торсиол - 35ТУ УССР 2-01-214-75.

3. Описание машины для замены канатов на экскаваторе

3.1 Назначение

Основное назначение машины - доставка от склада техснаба к экскаваторам и замена канатов с отмером и резкой мерной длины, а также вывозка использованных канатов из карьера.

Попутное назначение - погрузка, перевозка и разгрузка деталей и узлов экскаватора из оборотного фонда, а также электросварочные работы и кислородная резка при ремонте экскаваторов в карьере.

3.2 Устройство машины

Машина для замены канатов на экскаваторах состоит из базовой машины - автомобиля БелАЗ-548А, на реконструированную раму которого установлена платформа 1, на которой размещены (см. рисунки 3.1 - 3.3):

два приводных барабана 3 и 4 для намотки каната;

канатоукладчик 2 для одного из барабанов;

кран гидравлический 17 грузоподъемностью 700 кг расположен в задней части платформы;

шкаф пусковой аппаратуры 8 с дистанционным оборудованием;

щит управления генератором ЩУП 28.

К платформе 1 в задней части ее крепится:

трап - лестница 11;

шкаф 14 для кислородных баллонов;

шкаф 13 для электросварочного аппарата;

шкаф 12 для установки гидроаппаратуры.

Под платформой на раме автомобиля установлены гидромуфта 6 вала отбора мощности 15 и генератор 10.

Барабан 3 для намотки новых канатов и барабан 4 для намотки старых канатов приводятся во вращение электродвигателем привода, соединенного с барабанами через сцепные кулачковые муфты, которые могут размыкаться вручную рычагами, закрепленными на внутренних спорных стойках барабанов.

Каждый барабан снабжен гидравлическим подпружиненным тормозом 9 для гашения инерции вращения барабанов при смотке канатов.

Барабаны 3 и 4 с приводом с целью улучшения устойчивости машины при полной их намотке смещены вправо, что позволяет с левой стороны от барабана 3 выполнить проход для обслуживания оборудования, расположенного на платформе. Проход огражден по краю платформы перилами.

Канатоукладчик 2, предназначенный для укладки новых канатов при их намотке на барабан 3, состоит из станины 1 (см. рисунок 3.4) сварной конструкции, на которой в нижней части установлен привод 13, а в верхней части в направляющих станины встроена каретка 3.

Рисунок 3.1. Машина для замены канатов экскаватора

Рисунок 3.2. Машина для замены канатов экскаватора (вид сверху)

Рисунок 3.3. Машина для замены канатов экскаватора (вид сзади)

Каретка имеет возможностью линейного возвратного поступательного движения на своих роликах через цепную передачу 12, которая передает вращение выходного вала редуктора на ведущий вал 11 каретки 3.

На ведущем валу смонтирована сцепная кулачковая муфта, с помощью которой можно одной из полумуфт, насаженной на вал через шпонку по ходовой посадке, рычагом отключить привод каретки 3. Это возможно по той причине, что каретка непосредственно соединена с цепной передачей 12, цепь которой охватывает звездочку ведущего вала 11, выполненную в виде полумуфты и насаженную на вал с возможностью свободного вращения на подшипниках качения, и звездочку ведомого вала 14, насажанную на него через шпонку. Оба вала, ведущий 11 и ведомый 14, смонтированы на станину на подшипниках качения.

Рисунок 3.4. Канатоукладчик

На каретке 3 канатоукладчика закреплена болтами 10 направляющая 4 для канатов, выполненная в виде балки коробчатого сечения, на концах которой приварены собственно направляющие для каната в виде втулок с тороидальной внутренней поверхностью. На одной из втулок установлен шарнирно на приварном вертикальном пальце 6 кронштейн 8, к которому, также шарнирно, с помощью горизонтального пальца 9 прикреплен ролик 7, смонтированный в своем корпусе через ось на подшипниках качения и предназначенный при намотке каната на барабан для отсчета мерной длины каната (аналогично - при смотке каната с барабана).

Отсчет мерной длины производится во время намотки-смотки при качении ролика 7 по канату, пропущенному через тороидальные внутренние поверхности втулок направляющей 3, и берется по счетчику типа СИ-15, установленному на выходном конце оси ролика 7.

Шарнирная установка в горизонтальной и вертикальной плоскостях позволяет центру тяжести ролика 7 находится все время над осью каната при возможных небольших отклонениях в направляющих тороидальных втулок и своим ручьем при этом постоянно охватывать образующую каната.

Укладка старых канатов на барабан 4 (см. рисунок 3.2) осуществляется за счет выполнения первоначальных укладочных ручьев на образующей барабана и за счет того, что намотка происходит при малых углах укладки и больших усилиях натяжения канатов при их замене.

Кран гидравлический грузоподъемностью Q=700кг для погрузки и разгрузки экскаваторных узлов и деталей при их перевозке выполнен на основе манипулятора трактора “Беларусь “.

Место для деталей и узлов экскаватора на машине выполнено открытого типа и расположено в задней части платформы в радиусе действия гидравлического крана.

Шкаф пусковой аппаратуры 8 (рисунок 3.3) с дистанционным пультом управления имеет ключ управления УП-5311 для перевода на автоматический режим управления укладкой при намотке каната на барабан 3 и ручной режим управления. На автоматическом режиме управления укладкой при намотке на барабан 3 включение в работу и реверсирование гидромотора канатоукладчика происходит за счет концевых выключателей ВПК-2110 УВ.

3.3 Принцип работы

3.3.1 Намотка нового каната на барабан

Канат необходимого диаметра пропускают во втулки направляющего устройства канатоукладчика и запасовывают на барабане с помощью прижима. После чего включают сцепную кулачковую муфту соединения тем самым вал барабана с запасованным канатом с выходным валом редуктора.

Затем из кабины машины включением гидромуфты 6 (см. рисунок 3.1) вала отбора мощности включают в работу генератор 10 вал которого связан свалом гидромуфты 6 через ременную передачу и пользуясь пультом управления (см. рисунок 3.5) приводят во вращение барабан нажатием соответствующей кнопки.

Начинают наматывать канат на барабан, одновременно укладывая его равномерно включением тоже соответствующей кнопки пульта управления в соответствующую сторону каретки канатоукладчика. Равномерность укладки каната контролируется визуально, при этом ключ управления УП-5311 на панели пульта управления должен находиться в положении “ручной режим управления “

Рисунок 3.5 Пульт управления

Для автоматической укладки каната при намотке каретку канатоукладчика подгоняют к концевому выключателю ВПК-211ОУ2 так, чтобы он был включен, пропускают через направляющие втулки канатоукладчика канат соответствующего диаметра и закрепляют его вышеупомянутым прижимом к барабану и после перевода ключа управления в положение “автоматический режим управления“ нажимают на кнопку пульта управления “намотка”.

Синхронизацию скоростей линейного движения точки набегания каната на барабан и каретки канатоукладчика осуществляют регулировкой расхода масла гидромотора канатоукладчика регулятором потока типа МПГ 55-34 встроенного в гидросистему, (см. рисунок 3.6) и находящемся на распределительной плите.

3.3.2 Смотка каната

При смотке каната сцепные кулачковые муфты, соединяющие выходной вал редуктора с валом барабана размыкается, и канат может быть смотан с барабана тремя способами:

А) с помощью вспомогательной лебедки экскаватора

Б) тихим ходом вперед самой машины при закрепленном конце каната, например, за экскаватор или другое капитальное сооружение

С) с помощью барабана 4 (см. рисунок 3.2) для намотки старых канатов при замене каната на экскаваторе: при этом старый канат соединяется муфтой с новым, который сматываясь с барабана 3 протягивается по блокам экскаватора вместо старого каната наматывающегося на барабан 4 и тянущего за собой новый канат. При этом барабан, с которого сматывается канат, подтормаживается за одну из обечаек подпружиненной колодкой гидравлического тормоза 9 с целью гашения инерции вращения барабана и предотвращение спутывания каната.

Перед намоткой каната счетчик мерной длины каната устанавливают на нуль, для контроля канатоемкости барабана. Перед смоткой каната для отсчета необходимой его длины счетчик смотки также установится на нуль, а привод каретки канатоукладчика отключить сцепной муфтой.

После отмера необходимой длины каната производят его резку сваркой и оплавку концов.

Краном гидравлическим (манипулятором) установленным на платформе машины пользуются при необходимости доставки к экскаватору деталей и узлов из оборотного фонда. Управление краном при погрузке и разгрузке деталей и узлов осуществляется также с дистанционного пульта управления.

3.4 Схема гидравлическая

Схема представлена на рисунке 3.6 и состоит из части гидросистемы, которая имеется на базовой машине - это привод механический 1, гидробак 2, гидронасос НШ-46 3 и части гидросистемы достроенной, в которую входят: клапан предохранительный 4, манометр 5, шесть рабочих гидрораспределителей 6 и один перепускной гидрораспределитель 6 (1) регулятор потока 7, гидроцилиндры крана гидравлического, к которым относятся гидроцилиндр поворота опоры 8, гидроцилиндр подъема стрелы 9, два гидроцилиндра раздвижки стрелы 10, два гидроцилиндра тормоза барабанов - на каждый барабан по одному, гидромотор 12, фильтр 13, гидрораспределитель крановый 14.

Работает гидросхема следующим образом.

В исходном положении гидрораспределитель крановый 14 должен быть открыт т.е. предохранительный клапан 4 должен быть разгружен.

При пуске двигателя базового автомобиля сразу включается в работу насос 3 и поскольку в это время предохранительный клапан 4 разгружен масло от насоса подается через крановый гидрораспределитель 14, фильтр 13 в масляный бак 2. Насос 3 при этом работает в холостом режиме.

Чтобы подготовить гидросхему к работе, поскольку управление электрическое, запускают в работу от вала отбора мощности включением гидромуфты и после включения цепи управления включается в работу перепускной золотник 6 (1). Крановый гидрораспределитель 14 после этого закрывают и масло при работе насоса 3 через переливной гидрораспределитель 6(1) и фильтр 13 переливается в гидробак 2. Насос 3 при этом работает также в холостом режиме и гидросхема подготовлена для работы.

Для включения рабочих органов в работу включается один из рабочих гидрораспределителей 6, в это время перепускной гидрораспределитель закрывается и масло от насоса 3 через включенный рабочий гидрораспределитель поступает в рабочий орган (гидроцилиндр или гидромотор) происходит рабочий ход, а отработавшее масло через сливной трубопровод и фильтр 13 поступает в гидробак 2. Контроль давления в системе осуществляется по манометру 5.

Рисунок 3.6. Гидравлическая схема машины

3.5 Эксплуатация машины

3.5.1 Подготовка к работе

Перед началом водитель должен:

1. Произвести осмотр внешнего состояния машины.

2. Проверить по уровню наличия масла в гидробаке.

3. Проверить исправную работу канатоукладчика (привод, ход каретки).

4. Проверить включение и отключение сцепных кулачковых муфт.

5. Проверить работу привода барабанов.

6. Проверить работу тормозов барабанов.

7. Проверить работу гидравлического крана.

8. Проверить работу сварочного аппарата.

9. Проверить работу счетчиков проворачивая ролик направляющего устройства.

10.Проверить исправность работы гидроцилиндров тормозов и сами тормоза.

11.Убедиться в отсутствии подтекания масла в местах соединения трубопроводов.

3.5.2 Порядок работы

1.1 Открыть гидроцилиндр крановый (разгрузить предохранительный клапан гидросистемы)

.2 Запустить двигатель автомобиля.

.3 Поставить машину на стоячий тормоз.

.4 Под колеса подложить противоугонные башмаки-упоры.

.5 Из кабины водителя включить вал отбора мощности привода генератора.

.6 Сцепной кулачковой муфтой соединить выходной вал редуктора с валом барабана для новых канатов.

.7 Растормозить барабан.

.8 Включить привод барабана и проверить барабан таким образом, чтобы прижим, которым крепится канат к барабану оказался вверху.

.9 Отключить привод барабанов (электродвигатель)

.10 Запустить в работу генератор (включить гидромуфту вала отбора мощности).

.11 Закрыть крановый гидрораспределитель.

.12 Подогнать направляющее устройство канатоукладчика таким образом, чтобы направляющие втулки находились строго против прижима барабана.

.13 Пропустить конец наматываемого кабеля во втулки направляющего устройства под роликом счетчиков запасовать на барабане и установить счетчик мерной на нуль.

.14 Включить сцепную муфту барабана.

.15 Включить сцепную муфту ведущего вала канатоукладчика.

.16 Включить привод барабана и начать намотку необходимой длинны каната.

Равномерность укладки витков каната контролируется визуально и достигается прерывистым включением привода каретки канатоукладчика.

3.5.3 Замена каната на экскаваторе (замена подъемного каната на экскаваторе ЭКГ-8И )

Схема замены каната предоставлена на рис.3.7

Вывести экскаватор из забоя на ровную площадку и опустить ковш на подошву, расположив его над головными блоками.

Разматывается подъемный канат с тяговых барабанов своим приводом.

Отворачивают винты крепления каната на барабане. Выбиваются сухари.

Застопорить тросом вспомогательной лебедки один конец каната в районе напорной площадки.

Подгоняется машина для замены канатов задним ходом и устанавливается сзади в 8-10 метрах от него.

Отключается от привода сцепной муфтой каретка канатоукладчика.

Запускаются в работу, включением гидромуфты из кабины машины, генератор и закрывается крановый гидрораспределитель разгрузки предохранительного клапана, то есть делается подготовка гидросистемы к работе.

Включается сцепная муфта привода барабана для новых канатов

Стропится тросом вспомогательной лебедки конец нового каната и подымается на крышу кузова экскаватора, барабан при этом притормаживается включением гидроцилиндра тормоза.

Рисунок 3.7. Схема замены канатов

- барабан для намотки нового каната; 2 - барабан для намотки старого каната; 3 - старый канат; 4 - новый канат; 5 - Соединительная муфта для стыковки старого и нового канатов; 6 - А-образная ферма; 7 - Напорный канат; 8 - возвратный канат

10 Стыкуются концы нового и старого канатов соединительной муфтой.(соединительная муфта представлена на рисунке 3.3)

Стропится тросом вспомогательной лебедки второй раскрепленный конец старого каната выводится из лотка кузова и опускается на землю.

Застропить монтажным тросом барабана для намотки старых канатов сброшенный на землю конец, включить сцепную муфту и проворачивая барабан приводом подтянуть конец к барабану, запасовать под прижимом и закрепить.

Включить в работу барабан для намотки старых канатов и притормаживая тормозом барабана для новых канатов протягивают новый канат по блокам экскаватора вместо старого до подхода конца нового каната к А-образной ферме, при этом необходимую длину каната определяют по счетчику мерной длинны направляющего устройства канатоукладчика.

С помощью сварочного аппарата который находится сзади под платформой машины, производят резку нового каната необходимой длинны и оплавляют его концы.

Отсоединяется соединительная муфта и конец старого каната доматывается на барабан.

Применяя вспомогательную лебедку поочередно заводят концы нового каната через лотки в кузов экскаватора запасовываются и закрепляются на тяговых барабанах.

После намотки на каждый тяговый барабан одинакового числа витков до натяжки каната работы по замене закончены.

Экскаватор готов к работе.

Аналогичным образом производится замена напорного и возвратного канатов только машина при этом подгоняется задом спереди экскаватора.

3.5.4 Выдача с барабана для намотки старого каната

1 Закрепить свободный конец каната.

Подтормозить барабан, включить гидроцилиндр тормоза на зажим.

Включить сцепную кулачковую муфту, рассоединить тем самым выходной вал приводного редуктора с валом барабана.

Включить первую передачу автомобиля медленно двигаться вперед до полной размотки каната с барабана.

Аналогичным образом при необходимости можно выдавать также и новый канат с другого барабана.

3.6 Техническое обслуживание

1. Смазка подшипниковых узлов производится не реже одного раза в месяц.

2. Осмотр сварных швов и узлов конструкции с целью обнаружения трещин и деформации - ежедневно перед началом работы.

3. Осмотр трубопроводов и шлангов гидросистемы с целью обнаружения трещин, потертостей, не герметичности - ежедневно перед началом работы.

4. Проверка уровня масла в гидробаке гидросистемы - ежедневно перед началом работы.

5. Проверка натяжения цепи привода барабанов - раз в месяц.

6. Проверка работы счетчиков - ежедневно.

7. Проверка работоспособности тормозов барабанов, проверка износа тормозных колодок ручных тормозов - ежедневно.

8. Частичное освидетельствование крана гидравлического - один раз в год.

9. Полное освидетельствование крана гидравлического один раз в год.

10     .Проверка регулировки соосности барабанов и выходного редуктора - по мере необходимости, но не реже одного раза в месяц.

11.Проверка реле утечки УАКИ-380 - перед началом работы.

.Проверка реле утечки УАКИ-380 - вместе с автоматом с отключающей катушкой - один раз в шесть месяцев.

.Проверка натяжения ремней клиноременной передачи - по мере необходимости, не реже одного раза в месяц.

3.6.1 Характерные неисправности и методы их устранения

Таблица 3.1

Наименование неисправности

Вероятные причины

Метод их устранения

Течь масла из полости гидроцилиндра между штоком и предохранительной крышкой

Прорвана или засорилась уплотнительная манжета, ослабли соединения.

Заменить манжету  Подтянуть соединения

Течь масла в местах соединения трубопроводов и шлангов

Ослабли соединения

Подтянуть соединения

Не работают гидроцилиндры крана гидравлического, гидроцилидр перемещения кареток с направляющими устройствами, или работают, но не развивают нужного усилия

В гидросистему попал воздух  Порвана прокладка крышки гидронасоса порваны уплотнительные манжеты поршней

Удалить воздух из гидросистемы  Заменить прокладку  Заменить манжету

Не вращается генератор или вращается но с небольшой скоростью

Ослабло натяжение ремней клиноременной передачи разрушился подшипник не работает вал отбора мощности

Произвести натяжку ремней  Заменить подшипник  Выяснить причину и устранить

Не вращается вал отбора мощности, или вращается но с малой скоростью

Большие утечки масла через уплотнительные кольца

Заменить уплотнительные кольца

Не работает часть гидроцилиндров

Не срабатывают соответствующие электромагнитные золотники

Заменить электромагнитные золотники

4. Расчет машины для замены канатов на экскаваторах

4.1 Расчет мощности электродвигателя привода барабанов для намотки и смотки канатов. Выбор электродвигателя

4.1.1 Расчет мощности

Вес каната участвующего в перемотке G, кг определяется по формуле [11]:

,                                                        (4.1)

где L = 130 - длина каната, м;

= 7500 - плотность каната, кг/м3;

d = 0,045 - диаметр каната, м;

.

Расчетная схема представлена на рисунке 4.1:

Рисунок 4.1. Расчетная схема.

Сила нормального давления N, Н равна весу каната, по формуле:

.                                       (4.2)

Сила трения скольжения Fтр, Н при перепуске каната через две направляющие мерного устройства и две направляющие по поверхности скольжения на самом экскаваторе можно вычислить по формуле (4.3):

,                                           (4.3)

где f = 0,1 - коэффициент трения каната о поверхность скольжения.

.

Скорость движения каната Vk, м/сек, на барабане определим по формуле:

,                                           (4.4)

где    n = 5 - обороты барабана, об/мин;

R = 0,825 - наибольший радиус намотки каната на барабан, м.

.

Мощность двигателя необходимая для перепуска каната через направляющие Nc, Вт определим из выражения:

,                                       (4.5)

где  Fтр - тяговое усилие на канат;

= 0,6 - к.п.д. привода, блочков, направляющих скольжения и т.д. (приняли условно в первом приближении).

.

Учитывая инерционные моменты, необходимые при пуске двигателя для проворота барабана намотанного новым канатом, получаем необходимую для этого мощность.

Расчетная схема на рисунке 4.2 представляет размеры барабана для новых канатов.

Момент инерции для проворота полностью намотанного каната на новом барабане J, кгм2 вычисляют по формуле [12]:

                                               (4.6)

где Jн - момент инерции намотки каната по диаметру dн и длине барабана В;

Jв - соответствующий момент по диаметру dв.

Рисунок 4.2. Расчётная схема

Раскрываем формулу 4.6:

.                                        (4.7)

При ориентировочно принятой объемной плотности намотки каната на барабане , массы mн и mв будут равны

,                                               (4.8)

,

где mн - масса наружной намотки, кг;

mв - масса внутренней намотки, кг;

Vн - объем намотки по наружному диаметру dн;

Vв - объем намотки по внутреннему диаметру dв;

rн = 0,8 м - радиус наружной намотки;

rв = 0,3 м - радиус внутренней намотки;

= 0,8 м - длина барабана.

По формуле 4.8

,

.

По формуле 4.7:

.

Угловая скорость барабана , рад/сек определяется по формуле:

.                      (4.9)

Угловое ускорение барабана , рад/сек2 за время ускорения двигателя t = 0,5 сек и начальной угловой скорости 0=0 рад/сек определяем из выражения:

.                          (4.10)

Необходимый момент для кручения барабана М, нм определяем по формуле:

.                   (4.11)

Необходимая мощность для начала кручения барабана Nб, Вт определяем по формуле:

.                     (4.12)

После этого определяем суммарно необходимую мощность двигателя по формуле:

.                (4.13)

Принимаем для установки ближайший больший по каталогу электродвигатель мощностью Nдв=7,5 кВт. Наиболее распространенный в эксплуатации электродвигатель с оборотами nд=1500 об/мин. Принимаем тип 4A132S4.

4.2 Расчет параметров механической передачи

Для обеспечения оборотов барабана n=5 об/мин принимаем к установке четырехступенчатый редуктор PX-9 с ходовой части бурового станка СБШ - 250МНА-32. Передаточное число редуктора i = 168.

Общее передаточное число привода io определяем по формуле:

.                                             (4.14)

Тогда на ременную передачу приходится передаточное число iр

 

.                                               (4.15)

к.п.д. механической передачи м, определяем по формуле [13]:

,                                                   (4.16)

где 1 = 0,99 - к.п.д. одной пары подшипников качения редуктора;

2 = 0,97 - к.п.д. одной пары зубчатого зацепления редуктора;

3 = 0,97 - к.п.д. ременной передачи.

.

Мощность на выходном валу редуктора Nв, кВт определяем по формуле :

.                           (4.17)

Номинальный крутящий момент на выходном валу редуктора Мкр, кгсм определяем по формуле [14]:

.                     (4.18)

Максимальный крутящий момент на выходном валу редуктора Мкр. мах. , кгсм, по формуле:

,                                         (4.19)

где К = 3 - отношение максимального крутящего момента к номинальному крутящему моменту для двигателя 4A132S4.

.

4.3 Расчет выходного вала редуктора PX-9

Требуемый диаметр вала определяем по формуле ориентировочного расчета dк, см, по формуле [15]:

,                                            (4.20)

где [ i ]кр = 1050 кг/см2 - допускаемое напряжение при кручении для материала вала сталь 45:

.

Принимаем dк = 15 см с запасом, учитывающим возможные перегрузки, не принятые во внимание при вышеприведенном расчете мощности электродвигателя. В соответствии с данным расчетом произведена реконструкция выходного вала редуктора.

4.4 Расчет шпоночного соединения вала со ступицей сцепной кулачковой муфты

Принимаем для расчета высокую шпонку по ГОСТ 10748-79 с размерами, представленными на рисунке 4.3.

Рисунок 4.3 - Схема к расчёту шпонки

4.4.1 Расчет на смятие

Расчет производим [16] по действительным напряжениям см, кг/см2, в сравнении с допускаемым []см

,                        (4.21)

где    d =15 см - диаметр вала;

K = 1,3 см - высота рабочей площадки шпонки;

lp = 16 см - рабочая длина шпонки, принята конструктивно;

Z = 2 - количество шпонок.

.

Допускаемое напряжение смятия для неподвижных соединений [3, стр. 370]

,                                     (4.22)

где т = 3600 кг/см2- предел текучести для Стали 45 (шпонка);

т = 3200 кг/см2 -для Стали 35 (муфта).

для стали 45: []см=0,43600=1440 кг/см2;

для стали 35: []см=0,43200=1280 кг/см2.

Т.е. на смятие соединение проходит для муфты и для шпонки.

4.4.2 Расчет шпонок на срез

Расчет производим по действительным напряжениям ср, кгсм2 в сравнении с допускаемыми [i]ср по формуле (4.23):

,                           (4.23)

где в = 4 см - ширина шпонки по ГОСТу.

.

Допускаемое напряжение на срез для неподвижных соединений

,                                          (4.24)

.

т.е. на срез соединение проходит так как 374  850.

4.5 Расчет тягового усилия на барабане для старых канатов

Расчетную формулу выводим из выражения мощности Nв, кВт

,                                    (4.25)

откуда: ,                                       (4.26)

где    r = 0,25 м - радиус намотки каната (наименьший);

n = 5 об/мин - частота вращения;

Nв = 6,2 кВт - мощность на валу барабана.

По формуле 4.26 :

.

4.6 Расчет кулачковой муфты

Расчет производим по максимально возможному передаваемому крутящему моменту Мкр.к., кгсм кулачками сцепной муфты из выражения [], полученного из условия передачи допускаемого удельного давления [p] на поверхность кулачка:

Мкр.к. = RвhZ [p] Мкр.мах,                       (4.27)

где R = 10,5 см - средний радиус окружности расположения кулачков, при наружном диаметре кулачков Дн=26 см и внутреннем диаметре кулачков Двн=15 см;

в = 5 см - высота кулачка;=1,8 см - ширина кулачка;= 3 - количество кулачков;

[p] = [см] = 1280 кг/см2 - допускаемое удельное давление для стали 35 на кулачек (см. пункт 4.4.1. данного расчета).

Мкр.к.=10,551,831280=362880 кгсм.

Т.е. муфта может перенести по допускаемому удельному давлению больший момент:

Мкр.к.= 362880  Мкр.мах. = 62328.

4.7 Расчет клиноременной передачи

Расчет производим для электродвигателя мощностью Nдв = 7,5 кВт при асинхронной скорости вращения двигателя n1=1440 об/мин.

Обороты на ведущий вал редуктора при передаточном числе клиноременной передачи i=1,8 будут:

.                         (4.28)

Далее расчет ведем по методике [17].

Момент на ведомом валу М2, Нм:

,                   (4.29)

где 2 - угловая скорость на ведомом валу, определяем по формуле:

.

По таблице 8.16 [1, стр. 195] при этом значении момента М2 можно выбрать ремни типа В:

с размерами сечения dph, мм - 1913,5;

с площадью сечения ремня F1=230 мм2.

Найдем из табл. 8.18 и 8.19 [17] рекомендуемые для данного сечения ремня диаметр ведущего шкива Д1, мм угле профиля канавки  = 340, Д1=180 мм.

Диаметр ведомого шкива Д2, мм:

.                                     (4.30)

Принимаем по табл. 8.18 ближайшее стандартное значение Д2 = 315 мм.

Действительная частота вращения ведомого вала при коэффициенте скольжения  = 0,02

,                                                   (4.31)

.

Действительное передаточное число:

.                                              (4.32)

Скорость ремня V, м/сек:

.                      (4.33)

При i 1,8 рекомендуется  поэтому минимальное межосевое расстояние А, мм:

А = 1,2Д2 = 1,2315 = 378 мм.

По конструктивным соображениям принимаем А = 680 мм.

Рассчитываем длину ремня L, мм при угле j определяемом по формуле:

.                          (4.34)

откуда       j=5058/.

,                    (4.35)

.

Выбираем стандартное значение ремня L = 2240 мм.

Окончательное межосевое расстояние А0, мм рассчитываем по формуле:

,                           (4.36)

.

Минимальное межосевое расстояние Amin, мм при надевании ремня:

.               (4.37)

Максимальное межосевое расстояние Амах для компенсации вытяжки ремня:

.                    (4.38)

Угол обхвата ремнем меньшего шкива 1, град:

,                (4.39)

что гораздо больше допускаемого [1]=1200.

Окружное усилие P, H:

.

Поправочные коэффициенты:

Угла обхвата С[табл. 8.10] - С=0,97;

скорости Сv[табл. 8.11] - Cv=0,96;

режима работы Ср [табл. 8.11] - Ср=0,8;

угла наклона к горизонту C0[табл. 8.9] - C0=1.

Приняв напряжение ремня 0=1,4 Н/мм2 находим полезное напряжение [табл. 8.17]. K0=2,04 Н/мм2.

Допускаемое полезное напряжение K, Н/мм2 :

=K0·C0·C·CV·CP ,                                     (4.40)=2,04·1·0,97·0,96·0,8=152 Н/мм2.

Определяем число ремней, Z:

.                                               (4.41)

Принимаем количество ремней Z = 2.

Начальное напряжение комплекта ремней S0, Н:

0=0·F1·Z·Cp=1,4·230·2·0,8=515,2 Н                         (4.42)

Размеры шкивов приведены на рисунке 4.4.

4.7.1 Расчет шкивов

Размеры шкивов принимаем по табл. 8.19.

где С=6, е=21, t=26, S1=17, ар=19 (размеры в мм).

Угол наклона канавки 0:

на ведущем шкиве - 360;

на ведомом шкиве - 400.

Ширина канавки в, мм определяем по формуле;

.                                     (4.43)

на ведущем шкиве в = 19 + 260,325 = 22,9 мм;

на ведомом шкиве в = 19 +260,364 = 23,4 мм.

Наружные диаметры Дн, мм определяем по формуле:

Рисунок 4.4. Размеры шкивов

Дн = Д+2С.                                             (4.44)

на ведущем шкиве Дн1=180+26=192 мм;

на ведомом шкиве Дн2=315+26=327 мм.

Внутренние диаметры Дв, мм определяем по формуле:

Дв = Дн-2e.                                              (4.45)

на ведущем шкиве Дв1=192-221=150;

на ведомом шкиве Дв2=327-221=285 .

Ширина шкива В, мм определяем по формуле:

В = (Z-1)t+2S1,                                                            (4.46)

В = (2-1)26+217 = 60.

4.8 Расчет привода канатоукладчика

По условиям эксплуатации обороты барабанов при намотке - смотке канатов приняты n=5 об/мин. Тим оборотам должна соответствовать скорость V перемещения ролика мерного устройства вдоль барабана.

Расчетная схема представлена на рисунке 4.5.

Расчет производится по методике, изложенной в [18].

направление намотки

(смотки) каната

цепная передача первой ступени

цепная передача второй ступени

Рисунок 4.5. Привод канатоукладчика

4.8.1 Определение скорости V2, м/сек

Количество витков канатов уложенных на барабан K, шт:

,                                   (4.47)

где    L = 800 мм - длина барабана;

Дk = 45,5 мм - диаметр каната.

Время намотки витков каната на длину L=800 мм, t, мин:

.                                (4.48)

Скорость мерного ролика (одновременно цепи) V, м/мин:

.                          (4.49)

Скорость очень низкая, поэтому в схеме предусматриваем цепную передачу второй ступени с передаточным числом i=1,5 и червячный редуктор серийного исполнения типа РЧУ-100 с передаточным числом i=80. Червячный редуктор обеспечивает самоторможение при вынужденных остановках в работе.

При неизменных числах оборота барабана, тем не менее увеличивается (или уменьшается) радиус намотки. Тем самым изменяется скорость перемещения мерного ролика. Поэтому в схеме установлен гидромотор с регулируемой частотой вращения от 0 до 1300 об/мин, типа Г15-25Н.

Скорость цепи второй ступени V2, будет изменяться пропорционально диаметрам звездочек на общем валу между первой и второй ступенью, также принятому в отношении i=1,5, поэтому:

2=V1i=0,2251,5=0,3375 м/сек.

4.8.2 Определение усилия на цепи Р2, Н

Ориентировочное расстояние от экскаватора до ролика - 10 м. Длина передвижения ролика - 0,7 м. Тяговое усилие (см. п. 4.5) равно Р = 47,3 кН. Расчетная схема представлена на рисунке 4.6.

Усилие, которое нужно преодолеть ролику при поперечном передвижении (из силовой схемы рисунка). Это F/, определяем из выражения:

.                                               (4.50)

Синус  это отношение катета к гипотенузе треугольника из схемы расстояний по рисунку 4.6.

.                         (4.51)

По формуле 4.50 усилие F/ определяем:

.

 

Усилие на второй ступени цепи также будет зависеть от соотношения диаметров звездочек на общем валу первой и второй ступени:

.                              (4.52)

 

Рисунок 4.6 - Схема к определению угла

Определим мощность передаваемую цепью второй ступени N2, Вт (мощность на выходе из редуктора):

.                       (4.53)

4.8.3 Расчет цепной передачи второй ступени

Определяем вращающий момент на малой звездочке Т1. Расчет ведем по методике [6].

Предварительно примем для расчета роликовую цепь с шагом p=19,05 мм. Определяем число зубьев малой звездочки Z1min по формуле [16.2]:

1min = 29-2I = 29-21,5 = 25 .                                   (4.54)

Согласно рекомендациям §16.3 принимаем Z1=27.

Делительный диаметр звездочки d1, мм определяем по формуле:

.                      (4.55)

Угловая скорость малой звездочки 1, рад/сек:

.                           (4.56)


.                      (4.57)

Для роликовой цепи с шагом р=12,7: (вариант II):

,

,

.

Для роликовой цепи с шагом р=9,52: (вариант III):

,

,

.

Дальнейший просчет вариантов, несмотря на то, что вариант III предполагает уменьшение габаритов передачи, показывает, что вариант I предпочтителен. Допускаемое давление в шарнирах роликовой цепи [рц], интерполированием [рц] = 41 МПа.

Согласно условиям работы принимаем [18]:

КД=1 - коэффициент динамической нагрузки;

КС=1,5 - коэффициент смазки;

К=1,5 - коэффициент наклона цепи к горизонту;

КР=1,25 - коэффициент регулирования напряжения цепи.

Определяем коэффициент эксплуатации KЭ:

Э = KДKCKKР=11,511,25 = 1,875.           (4.58)

Определяем шаг цепи по формуле [16,15]:

,                                    (4.59)

.

По таблице принимаем цепь с шагом р=19,05 для которой:0=5,96 - диаметр валика, мм;

=17,75 - ширина внутреннего звена, мм;тр=25 - разрушающая нагрузка, кН;=1,52 масса 1 метра цепи, кг/м.

Для выбранной цепи по табл. [16.3] = 94 рад/сек, следовательно условие 1 ≤ 1max соблюдается.

Скорость цепи определяем по формуле [16.3]:

м/мин.                  (4.60)

Окружная сила, передаваемая цепью:

 Н.                                             (4.61)

Расчетное давление в шарнирах принятой цепи [18]:

 МПа.                          (4.62)

что ниже допускаемого, т.е. цепь проходит по давлению.

Межосевое расстояние находим по формуле [18]:

а = 40 * р = 40 * 19,05 = 762 мм.                                      (4.63)

Длина цепи в шагах по формуле [18]

,                                (4.64)

.

Принимаем lp = 116. В формуле 4.64 число зубьев большой звездочки z2 определим из выражения:

z2 = z2* i = 27 *1,5 =40,5.                                   (4.65)

Фактическое передаточное отношение:

,                                              (4.66)

что допускается, т.к. находится в пределах 3%.

Межосевое расстояние, соответствующее окончательно принятой длине цепи, [17]:

                (4.67)

 мм.

Предварительное натяжение цепи от провисания ведомой ветви [18]:

,                             (4.68)

где Kf - коэффициент провисания до угла наклона цепи 600.

 Н.

Сила, действующая на валы звездочек [18]:

 ,                         (4.69)

где Кв = 1,15 - коэффициент нагрузки вала.

 Н.

Длительный диаметр большой звездочки:

 мм.

5. Охрана труда и техника безопасности

5.1 Общие санитарные правила

5.1.1 Борьба с пылью и вредными газами

Данный раздел освещает вопросы охраны труда в соответствии с Законом Республики Казахстан « Об охране труда» (№ 1915 - XII от 22.01.93) и в целях предупреждения несчастных случаев и повреждений здоровья, сведения к минимуму действия опасных и вредных факторов на работников занятых эксплуатацией проектируемой машины. Задача охраны труда - сведение к минимальной вероятности поражения или заболевания работающего с одновременным обеспечением комфорта при максимальной производительности труда. Согласно рекомендации литературы [19] и [20], такие условия можно создать путем учета и проведения следующих мероприятий:

выявление вредных и опасных производственных факторов;

проектирование инженерных защитных средств;

разработка и внедрение профилактических организационных и технических мероприятий.

Состав атмосферы карьеров должен отвечать установленным нормативам по содержанию основных составных частей воздуха и вредных примесей (пыль, газы), с учетом требований ГОСТ 12.1.005-76 «Воздух рабочей зоны».

В местах производства работ воздух должен содержать по объему 20 % кислорода и не более 0,5 % углекислого газа; содержание других вредных газов не должно превышать величин, приведенных в таблице 5.1.

Во всех карьерах, имеющих источники выделения ядовитых газов (от работы автомобилей, из пожарных участков, из дренируемых в карьер вод, от взрывных работ и др.), должен производиться отбор проб для анализа воздуха на содержание вредных газов в нем на рабочих местах не реже одного раза в квартал и после каждого изменения технологии работ в соответствии с «Инструкцией по контролю содержания пыли в воздухе на предприятиях горнорудной и нерудной промышленности» и соответствующей инструкцией для карьеров горнорудной промышленности промышленности.

Допуск рабочих и технического персонала в карьер после производства массовых взрывов должен производиться только после проверки и снижения содержания ядовитых газов в атмосфере до санитарных норм.

Запыленность воздуха на рабочих местах не должна превышать норм, предусмотренных ГОСТ 12.1.005-76 «Воздух рабочей зоны».

Таблица 5.1

Предельно-допустимые концентрации газов

 

Предельно допустимые

Газ

концентрации

 

% по объему

мг/м3

Окислы азота (в пересчете на N02)

0,00010

5

Окись углерода

0,0017

20

Сероводород Сернистый ангидрид Акролеин

0,00071 0,00033 0,00009

10 10 0,2

Формальдегид

0,00004

0,5


Для Соколовского карьера предельно допустимая концентрация на пыль не должна превышать - 4 мг/м3.

Для интенсификации естественного воздухообмена в плохо проветриваемых и застойных зонах карьера должна организовываться искусственная вентиляция с помощью вентиляторов или другими средствами.

В карьерах, в которых отмечается выделение вредных примесей, должны применяться средства подавления или улавливания пыли, ядовитых газов и агрессивных вод непосредственно в местах их выделения.

В случаях, когда применяемые средства не обеспечивают необходимого снижения запыленности воздуха в карьере, должна осуществляться изоляция кабин экскаваторов и буровых станков с подачей в них очищенного воздуха.

На отдельных карьерах с особо трудным пылегазовым режимом должна быть организована пылевентиляционная служба [21].

Для снижения пылеобразования при экскавации горной массы в теплые периоды года должно производиться систематическое орошение взорванной горной массы водой.

Для снижения пылеобразования на автомобильных дорогах при положительной температуре воздуха должна производиться поливка дорог водой с применением при необходимости связующих добавок.

Работа буровых станков, перфораторов без эффективных средств пылеулавливания или пылеподавления запрещается.

При наличии внешних источников запыления и загазования атмосферы должны быть предусмотрены мероприятия, снижающие поступление пыли и газов от них в карьер.

При интенсивном сдувании пыли с обнаженных или измельченных горных пород должно применяться покрытие поверхности таких участков карьера связывающими растворами. Для этой же цели на отработанных уступах и отсыпанных отвалах из рыхлых отложений можно сеять траву и сажать деревья.

Применение в карьерах автомобилей, бульдозеров, тракторов и других машин с двигателями внутреннего сгорания допускается только при наличии приспособлений, обезвреживающих ядовитые примеси выхлопных газов. Порядок и сроки внедрения средств и приспособлений по обезвреживанию ядовитых примесей выхлопных газов устанавливаются вышестоящей хозяйственной организацией по согласованию с соответствующими органами госгортехнадзора.

Для предупреждения случаев загрязнения атмосферы карьера газами при возникновении пожаров необходимо систематически проводить профилактические противопожарные мероприятия, а при возникновении пожаров принимать срочные меры по их ликвидации.

Смотровые колодцы и скважины насосных станций по откачке производственных сточных вод должны быть надежно закрыты.

Спуск рабочих в колодцы для производства ремонтных работ разрешается после выпуска воды, тщательного проветривания и предварительного замера содержания вредных газов в присутствии сменного мастера.

При обнаружении в колодцах и скважинах вредных газов или при отсутствии достаточного количества кислорода все работы внутри этих колодцев и скважин необходимо выполнять в шланговых противогазах.

5.1.2 Санитарно-бытовые помещения

При каждом карьере или для нескольких карьеров должны быть оборудованы административно-бытовые помещения. Бытовые помещения должны иметь отделения для мужчин и женщин и рассчитываться на число рабочих, проектируемое ко времени полного освоения карьера.

В состав бытовых помещений должны входить: гардеробы для рабочей и верхней одежды, помещения для сушки и обеспыливания рабочей одежды, душевые, уборные, прачечная, мастерские по ремонту спецодежды и спецобуви, помещения для чистки и мойки обуви, кипятильная станция для питьевой воды, фляговое помещение, респираторная, помещения для личной гигиены женщин, здравпункт.

Административно-бытовой комбинат, столовые, здравпункт должны располагаться с наветренной стороны на расстоянии не менее 50 м от открытых складов руды, дробильно-сортировочных фабрик, эстакад и других пылящих участков, но не далее 500 м от основных производственных зданий. Все эти здания следует окружать полосой древесных насаждений.

Допускается располагать административно-бытовой комбинат на большем удалении от борта карьера при условии доставки рабочих в карьер специальным транспортом.

На небольших карьерах разрешается устраивать по согласованию с государственной санитарной инспекцией санитарно-бытовые помещения упрощенного типа.

Раздевалки и душевые должны иметь такую пропускную способность, чтобы работающие в наиболее многочисленной смене затрачивали на мытье и переодевание не более 45 мин.

Душевые или бани должны быть обеспечены горячей и холодной водой из расчета 500 л на одну душевую сетку в час и иметь смесительные устройства с регулирующими кранами.

Регулирующие краны должны иметь указатели холодной и горячей воды. Трубы, подводящие пар и горячую воду, должны быть изолированы или ограждены на высоту 2 м от пола.

Качество воды, используемой для мытья, должно быть согласовано с органами Государственной санитарной инспекции.

В душевой и помещениях для раздевания с отделениями для хранения одежды полы должны быть влагостойкими и с нескользкой поверхностью, стены и перегородки должны быть облицованы на высоту не менее 2,5 м влагостойкими материалами, допускающими легкую очистку и мытье горячей водой. В этих помещениях должны быть краны со шлангом для обмывания пола и стен.

Все санитарно-бытовые помещения должны иметь приточно-вытяжную вентиляцию, обеспечивающую содержание вредных примесей в воздухе этих помещений в пределах норм, предусмотренных ГОСТ 12.1.005-76.

5.1.3 Водоснабжение

Каждое предприятие обязано обеспечить всех работающих доброкачественной питьевой водой в достаточном количестве.

Вода питьевого источника карьера должна подвергаться периодическому химико-бактериологическому исследованию для определения пригодности ее для питья. Пользование водой для хозяйственно-питьевых нужд допускается после специального разрешения на это органов Государственной санитарной инспекции.

Способы очистки воды, предназначенной для хозяйственных и питьевых нужд, и источников водоснабжения, находящихся в ведении карьера, должны быть согласованы с органами Государственной санитарной инспекции.

Водонапорные сооружения поверхностных источников воды, а также скважины и устройства для сбора воды должны быть ограждены от загрязнения. Для источников, предназначенных для питьевого водоснабжения, должна устанавливаться зона санитарной охраны.

Персонал, обслуживающий местные установки по приготовлению питьевой воды, должен проходить медицинский осмотр и обследование в соответствии с действующими санитарными нормами.

Сосуды для питьевой воды должны изготовляться из оцинкованного железа или по согласованию с Государственной санитарной инспекцией из других материалов, легко очищаемых и дезинфицируемых.

Сосуды для питьевой воды должны быть снабжены кранами фонтанного типа. Сосуды должны защищаться от загрязнений крышками, запертыми на замок, и не реже одного раза в неделю промываться горячей водой или дезинфицироваться.

Сосуды с питьевой водой должны размещаться на участках работ таким образом, чтобы обеспечить водой всех рабочих предприятия.

5.2 Указание мер безопасности при эксплуатации машины для замены канатов

.К работе на машине для замены канатов на экскаваторах допускаются лица не моложе 18 лет, ознакомленные с данной инструкцией и конструкцией машины. Имеющие удостоверение на право управления автомобилем БелАЗ-548А, удостоверение стропальщика-тельфериста и имеющие квалификационную группу по электробезопасности не ниже II [22].

.При маневрировании водитель должен соблюдать все меры предосторожности, обеспечивающие безопасность работающих рядом людей.

.Скорость движения машины с заполненными барабанами не более 20 км/час.

. При намотке каната автомобиль необходимо установить таким образом, чтобы продольная ось машины совпадала с продольной осью наматываемого каната.

. Запрещается наматывать канат, вмерзшего в снег или в лед или снег или заваленного каким ни будь материалами.

. При намотке или при замене каната на экскаваторе поставить машину на стояночный тормоз и под колеса подложить противоугонные башмаки.(стояночные клинья)

.При движении автомобиля барабаны должны быть заторможены ручным тормозом.

. После работы стрелу гидравлического крана установить в исходное положение, (стрела должна быть в сложенном состоянии, а крюк лежать по центру платформы) см.черт общего вида.

. Длина свободного конца намотанного на барабан каната (считая от оси барабанов) не должна превышать 2м, причем на барабане для нового каната конец должен быть заправленным в направляющих втулках канатоукладчика.

.При размотке канатов барабаны необходимо притормаживать включением соответствующего гидроцилиндра тормоза.

. При эксплуатации электрических установок руководствоваться «Едиными правилами безопасности при разработке месторождений полезных ископаемых открытым способом», «Правилами технической эксплуатации и правилами техники безопасности при эксплуатации электрических установок потребителей».

. Перед каждым запуском машины в работу, проверить работоспособность защитного отключения путем нажатия кнопки опробования с последующей записью в журнале приема и сдачи смен.

Запрещается

нахождение посторонних лиц в кабине и на платформе машины;

во время работы находиться кому бы ни было рядом с наматываемым канатом;

использовать машину для замены канатов на экскаваторах на работах не предусмотренных данной инструкцией;

работать на неисправной машине;

оставлять стрелу крана на стоянке;

перемещение машины с поднятой стрелой гидравлического крана;

поднимать груз весом более 700кг;

производить ремонтные работы при работающем двигателе, при наличии давления в гидросистеме, при поднятой стреле гидравлического крана;

после намотке каната на барабан вытаскивать свободный конец из втулок направляющего устройства (длина свободного конца 0,8/1м)

эксплуатировать машину со снятыми кожухами приводов и с открытой дверкой вводного шкафа;

работать при не исправном электрическом оборудовании;

производить ремонт электрического оборудования при работающем генераторе;

наматывать канаты выше реборд барабана;

движение автомобиля со стрелой крана гидравлического не приведенной в транспортное положение.

6. Экономическая часть

В данном дипломном проекте рассматривается возможность применение машины для замены каната. Машина для замены каната устнанавливается на базе БелАЗа с установкой поворотной платформы и монтированием дополнительного оборудования.

Применение машины позволит снизить затраты на дополнительное оборудование, необходимое для перевозки и замены каната.

6.1 Капитальные затраты

Перечень оборудования и потребное его количество определяется по проектируемой технологической схеме. При определении капитальных затрат на материалы определяется стоимость затрат на доставку и монтаж. Цена единицы оборудования принимается по текущим ценам на момент написания дипломного проекта.

Таблица 6.1

Затраты на оборудование

Наименование оборудования

Отпускная цена тыс. тг

1

2

Поворотная платформа

78,650

Гидромуфта

30,00

Счетчик длины каната

61,00

Уголковый профиль

36,720

Листовое железо

18,150

Гидроцилиндр

121,00

Гидрораспределитель

65,00

Затраты на материалы

45,364

Затраты на монтаж

45,78

Итого

503,664


Затраты на монтаж рассчитываются, исходя из количества рабочего времени на монтаж и затрат на оборудование и электроэнергию, а так же заработной платы персонала, занятого на монтаже оборудования.

Для получения экономического эффекта необходимо сделать сравнение выполнения работ до и после внедрения механизма. Эксплуатационные затраты рассчитываются по общим статьям калькуляции работ.

6.2 Эксплуатационные затраты

Амортизация основных средств.

Основой для расчета годовой суммы амортизационных отчислений, являются стоимость оборудования, а также установленные для данного вида основных средств нормы амортизации.

Амортизация оборудования

Годовые амортизационные отчисления по каждому виду оборудования Агодi определяется следующим образом:

                             (6.1)

где    Соi - полная первоначальная стоимость i - го вида оборудования, тыс.тенге;

Наi - норма амортизации i - го вида оборудования, %.

Таблица 6.1

Амортизационные отчисления после внедрения

Оборудовние

Стоимость единицы

Количество

Общая стоимость

Норма амортизации

Амортизационные отчисления

БелАЗ, млн. тенге

35,85

8

286,8

0,15

43,02

Дополнительное оборудование

0,503

8

4,024

0,15

0,604

Всего



290,824


43,624

Таблица 6.2

Амортизационные отчисления до внедрения

Оборудование

Стоимость единицы

Количество

Общая стоимость

Норма амортизации

Амортизационные отчисления

Кран

28,74

4

114,96

0,15

17,244

Бульдозер

31,52

8

252,16

0,15

37,82

Сварочный аппарат

0,874

8

6,992

0,15

1,049

Всего



374,112


56,113


Заработная плата.

По нормам обслуживания для функционирования машины необходим один человек соответствующей квалификации. Заработная плата определяется, исходя из баланса рабочего времени и тарифа.

Таблица 6.3

Баланс рабочего времени

Затраты времени

Режим работы предприятия (прерывный или непрерывный )

1 Календарный фонд времени, Ткал, сут 2 Количество нерабочих дней предприятия (за год), Тпер, сут: - праздничные, Тпр - выходные, согласно режиму работы, Твых 3 Номинальный фонд рабочего времени предприятия, Тном, сут (Тном=Ткал-Тпр-Твых) 4 Неявки рабочего на работу, Фпер, сут.: - выходные согласно графику сменности, Фвых  - трудовой отпуск, Фотп - гос. и общественные обязанности, Фгоо - прочие неявки, Фпр  5 Продолжительность смены, Тсм, час  6 Эффективный фонд рабочего времени одного рабочего:   - в сутках (Фэф = Тном -(Фвых+Фотп+Фгоо+Фпр)) - в часах (Фэф*Тср.см)  7 Коэффициент списочного состава, kсс, (Тном/Фэф)

365  0 0 365   182 28 2 5 12  148 1776 2,4


Тарифная ставка, соответственно часовая и тарифная, для рабочего первого разряда определяется по соотношению:

(6.2)

(6.3)

где    Зmin - минимальная заработная плата по предприятию, тенге/мес.;

Тгод - количество рабочих часов одного рабочего за год, ч/год;д. год - количество рабочих дней за год, сут./год.

Тарифные ставки других разрядов (Чтсi) рассчитываются на основе тарифной ставки рабочего первого разряда (Чтс1) и соответствующих этим разрядам тарифных коэффициентов (kтi):

.(6.4)

При помесячной (окладной) системе учета расчет заработной платы осуществляется по формуле:

               (6.5)

Или                                              (6.6)

где    Тф , Nф -фактический отработанное время, ч, сут.;

Тпл , Nпл - плановый фонд времени, ч, сут.

Рабочим промышленных предприятий кроме оплаты труда производятся различные доплаты к заработной плате, под которыми понимаются - суммы денежных средств, начисляемые для компенсации трудности работ в связи с выполнением дополнительной функции, не входящих в прямые обязанности, отклонением от нормальных условий труда, а так же с целью сохранения за работником части заработной платы в случае ее уменьшения не по его вине.

Размер доплат устанавливается законодательством, коллективным договором и другими соглашениями предприятий с профсоюзными организациями.

Премия за выполнение плана может быть учтена как доплата к прямой заработной плате, и входит в состав основной заработной платы и соответственно в себестоимость. Общий размер премии за выполнение и перевыполнение плана по объему производства не может превышать определенного процента прямого заработка (4060 %).

Доплаты не освобожденным бригадирам из числа рабочих за руководство бригадой производится в зависимости от численности бригады. Размер доплат при численности бригады 5  10 человек составляет 710 % тарифной ставки, а при численности более 10 человек - 1015 %.

Фонд дополнительной заработной платы исчисляется обычно в процентах к дневному или тарифному фонду и складывается из оплаты очередных и дополнительных отпусков, прочих выплат из фонда дополнительной заработной платы (оплата времени, затраченного на выполнение государственных и общественных обязанностей; оплата льготных часов подросткам и перерывов матерям для кормления детей; выходные пособия). При этом оплата за отпуска (dо) и за выполнение государственных и общественных обязанностей (dгоо) начисляется в процентах от основного дневного заработка рабочего, а остальные доплаты (dпр) - от тарифного. Поэтому дополнительная заработная плата за один день работы может быть условно выражена формулой:

(6.7)

а годовой фонд дополнительной заработной платы определяется по формуле:

,(6.8)

Или ,(6.9)

где    tм - количество дней работы в течение года рабочего места, сут.;раб - количество дней работы в году одного рабочего, сут.

Процент оплаты очередных и дополнительных отпусков определяется исходя из дней отпуска и числа рабочих дней по формуле:

(6.10)

где    Фопт - число дней очередного и дополнительного отпуска, сут.

Фраб - число рабочих дней в году без учета основного и дополнительного отпусков, сут.

Таблица 6.4

Расчет фонда оплаты труда после внедрения

Социальный налог составляет 11%

Сн = 5699865,6*0,11=626985,21 (тенге)

Таблица 6.5

Расчет фонда оплаты труда до внедрения


Социальный налог = 14249664 *0,11 = 1567463 (тенге)

Затраты на топливо связаны с использованием оборудования.

Таблица 6.6

Затраты на топливо после внедрения

Оборудование

Количество

Мощность, КВт

Общий расход топлива, кг

Стоимость единицы топлива, тенге

Общая стоимость, тенге

БелАЗ

8

220

937728

0,070

65640,96


Таблица 6.7

Затраты на топливо до внедрения

ОборудованиеКоличествоМощность, КВтОбщий расход топлива, кгСтоимость единицы топлива, тенгеОбщая стоимость, тенге






Кран

4

120

2557444

0,070

17902,08

Бульдозер

8

170

724608

0,070

50722,56






68624,64


Затраты на ремонт оборудования можно принять равными 10% от стоимости оборудования.

После внедрения

Р = 290,824 * 0,1 = 29,08

До внедрения

Р = 374,112*0,1 = 37,41

затрат на топливо;

затрат на заработную плату;

затрат на ремонт;

затрат на амортизацию.

Эксплуатационные затраты, до и после внедрения машины представлены в таблице 6.8.

Таблица 6.8

Эксплуатационные затраты, млн. тенге

Показатель

До внедрения

После внедрения

Заработная плата

14,24

5,69

Социальный налог

1,56

0,62

Ремонт

37,41

29,08

Топливо

0,068

0,0656

Амортизация

56,113

43,62

Общецеховые расходы

1,09

0,79

110,481

79,8656


Экономический эффект

При рассматриваемых вариантах оборудования результат получается за счет недоиспользования кранового времени.

Экономический эффект можно определить по формуле через приведенные затраты. В данном случае он получается за счет разницы эксплуатационных затрат до и после внедрения, дополнительного дохода за счет повышения производительности оборудования и капитальными затратами, скорректированными на нормативный коэффициент эффективности капитальных затрат.

Эф = Здвн - (Зпвн + 0,15 * К)                                              (8.13)                  

Эф = 110,481 - (79,8656 + 0,15 * 0,503) = 30,54 (млн. тенге).

Срок окупаемости капитальных затрат рассчитывается как отношение капитальных затрат и экономического эффекта от внедрения.

Ток = К / Э                                               (8.14)

Ток = 0,503 / 30,54 = 0,015 (лет ).

Заключение

В ходе выполнения дипломного проекта была проделана следующая работа и получены следующие основные результаты:

       Изучены и описаны конструкция, технология эксплуатации и ремонта экскаватора ЭКГ-8И. При этом особое внимание уделено его канатам, в том числе схемам их запасовки;

      Разработана конструктивная схема машины для замены канатов экскаватора и проведены расчеты параметров ее основных механизмов и узлов: привода барабанов для намотки старых и новых канатов и канатоукладчика;

      Разработана технология замены канатов с использованием спроектированной машины;

      Сформулированы правила безопасной работы при замене канатов.

Экономические расчеты подтвердили целесообразность изготовления и использования предлагаемой машины для замены канатов экскаватора. Величина предполагаемого годового экономического эффекта составляет 30,54 млн. тенге.

Список использованной литературы

1 Подэрни Р.Ю. Горные машины и комплексы для открытых горных работ - М.: МГГУ, 2002

2 Щадов М.И. Справочник механика ОГР. Экскавационно-транспортные машины циклического действия - М.: Недра, 1989;

3 Справочник. Открытые горные работы / К.Н. Трубецкой, М.Г. Потапов, К.Е. Виницкий - М.: Горное бюро, 1994

4 Титиевский Е.М., Щербань И.Е. Ремонт карьерных экскаваторов. Справочник. - М.: Недра, 1992

5 Русихин В.Э. Эксплуатация и ремонт механического оборудования карьера - М.: Недра, 1982

6 Временное положение технического обслуживания и ремонта механического оборудования предприятия системы министерства черной металлургии СССР - Харьков, 1983

7 Курсовое проектирование грузоподъемных машин/ С.А. Казак, В.Е. Дусье, Е.С. Кузнецов и др. - М.: Высш. шк., 1989. - 319 с.

8 Грузоподъемные машины/ М.П. Александров, Л.Н. Колобов, Н.А. Лобов. - М.: Машиностроение, 1986. - 400 с.

9 Справочник по кранам: В 2 т. Характеристики материалов и нагрузок. Основы расчета кранов, их приводов и металлических конструкций /В. И. Брауде, М. М. Гохберг, И. Е. Звягин и др.; Под общ. ред. М. М. Гохберга. - М.: Машиностроение, 1988

10  Щадов М.И. Справочник механика ОГР. Монтаж, техническое обслуживание и ремонт оборудования - М.: Недра, 1989

11  Вайнсон А. А. Подъемно-транспортные машины: Учебник для вузов- 4-е изд., перераб. и доп. - М.: Машиностроение, 1989

12  Тарг С.М. Краткий курс теоретической механики. - М.: Высш. шк., 2008. - 416 с.

13  Артоболевский И.И. Теория механизмов и машин. - М.: Изд-во Альянс, 2008. - 640 с.

14  Спиваковский А.О., Дьячков В.К. Транспортирующие машины. - М.: Машиностроение, 1983. - 487 с.

15  Машины непрерывного транспорта/ Р.Л. Зенков, И.И. Ивашков, Л.Н. Колобов. - М.: Машиностроение, 1987. - 482 с.

16  Дунаев П.Ф., Леликов О.П. Детали машин. - М.: Высшая школа, 1984

17  Чернавский С.А. Проектирование механических передач - М.: Машиностроение, 1984

18  Шелофаст В.В. Основы проектирования машин. - М.: Изд-во АПМ, 2000. - 472 с.

19  Единые правила безопасности при разработке месторождений полезных ископаемых открытым способом - Алматы, 1994

20  Ушаков А.Н. Охрана труда - М.: Недра, 1989

21  Ржевский В.В. Открытые горные работы - М.: Недра, 1985;

22  Медведев Г.Д. Справочник энергетика карьера - М.: Недра, 1986

Похожие работы на - Разработка конструкции машины для замены канатов экскаватора

 

Не нашли материал для своей работы?
Поможем написать уникальную работу
Без плагиата!
Без нейросетей!