Автоматизация учета ежемесячных сведений о количестве уволившихся работников

  • Вид работы:
    Курсовая работа (т)
  • Предмет:
    Информационное обеспечение, программирование
  • Язык:
    Русский
    ,
    Формат файла:
    MS Word
    1,69 Мб
  • Опубликовано:
    2015-06-26
Вы можете узнать стоимость помощи в написании студенческой работы.
Помощь в написании работы, которую точно примут!

Автоматизация учета ежемесячных сведений о количестве уволившихся работников

Белорусский республиканский союз потребительских обществ

Учреждение образования "Белорусский торгово-экономический университет потребительской кооперации"

Кафедра информационно-вычислительных систем









Курсовая работа

Автоматизация учета ежемесячных сведений о количестве уволившихся работников


Подготовил:

студент группы С-21

Левченко Богдан Сергеевич

Проверил:

доцент Мовшович С.М.



Гомель 2015

Содержание

1. Постановка задачи. Тест

. Функционально-модульная структура проекта

. Интерфейс проекта

4. Описания алгоритмов и тексты процедур

4.1 Модуль Unit1

.2 Модуль Unit2

.3 Модуль Unit3

.4 Модуль Unit4

.5 Модуль Unit5

. Результат выполнения проекта

. Направления развития проекта

. Инструкция пользователя

.1 Назначение программы

.2 Условия выполнения программы

.3 Выполнение программы

.4 Сообщения пользователю

Список используемых источников

1. Постановка задачи. Тест

работник уволившийся программа электронный

В текстовом файле находится таблица, содержащая сведения о количестве уволившихся работников и состоящая из пяти граф: Подразделение предприятия; Месяц; Год; Категория работников, Число уволившихся. Рассматривается четыре категории работников: рабочие, руководители, специалисты и технические исполнители.

Разработайте алгоритм и программу вычисления общего числа уволившихся работников каждой категории за весь период учета. Результаты расчета запишите в новый текстовый файл, содержащий таблицу из двух граф: Категория работников, Общее число уволившихся.

На рисунке 1 приведена электронная таблица с подготовленными исходными данными.

Рисунок 1 - Электронная таблица с исходными данными

По команде Сохранить как сохраним исходные данные в новый файл Количество уволившихся, в качестве типа которого укажем Текстовые файлы (с разделителями табуляции). Текстовый файл сохраним в той папке, в которой будет находиться разрабатываемый проект.

Обратите внимание, что в исходных данных категории работников находятся в разных подразделениях предприятия.

Текстовый файл с исходными данными проекта приведен на рисунке 2. Отметим, что элементы данных в одной строке разделяются табуляцией.

Рисунок 2 - Текстовый файл Количество уволившихся.txt

В электронной книге Excel создадим копию листа с исходными данными. Выполним сортировку по полю Категория работников и вставим строки с промежуточными итогами для вычисления общего количества уволенных по каждой категории. Таким образом, подготовлен тест для нашего проекта (рисунок 3), который сохраним под именем Тест.xls в той папке, в которой будет находиться разрабатываемый проект.

Рисунок 3 - Тест, подготовленный в MS Excel

2. Функционально-модульная структура проекта

Будем разрабатывать многомодульный проект с главным меню в окне первой формы. Меню будет включать следующие команды: Ввод исходных данных, Сортировка, Обработка, Об авторе, Выход.

Модуль Unit1, соответствующий первой форме Form1. должен обеспечивать вызов остальных модулей и отображение соответствующих форм. Кроме того, перед началом работы (до выбора пользователем одной из команд меню) в Unit1 надо уничтожить старую версию выходного файла и установить признаки того, что ни одна из команд меню еще не выполнялась.

Реакция на выбор пользователем команды Выход, реализуемая в этом же модуле Unit1, включает контроль записи результатов в новый файл. Если запись не была выполнена, то выход из программы не осуществляется.

По команде Ввод исходных данных открывается окно второй формы Form2, при активации которой будут вводиться данные из текстового файла, записываться в массивы и отображаться в таблице строк. Здесь же устанавливается признак успешной обработки исходного файла. Всего на форме находится одна кнопка. Кнопка обеспечивает возврат к первой форме. Все перечисленные действия реализовываются в модуле Unit2.

Команда Сортировка вызывает третью форму Form3, при активации которой будет выполняться сортировка исходных массивов по полю Категория работников и результат сортировки отображается в таблице строк. Сортировка выполняется только при наличии признака успешного ввода исходных данных. После выполнения сортировки программа устанавливает соответствующий признак. На форме находятся одна кнопка, обеспечивающие возврат к первой форме. Все перечисленные действия реализовываются в модуле Unit3.

По команде Обработка вызывается четвертая форма Form4 при активации которой происходит обработка массивов. Обработка массивов производится только при наличии признаков успешного ввода исходных данных и выполнения сортировки. На форме находятся две командные кнопки. Одна из них вызывает процедуру записи результата обработки массивов в новый текстовый файл, вторая - обеспечивает возврат к первой форме. После успешного создания выходного файла программа должна установить соответствующий признак. Все перечисленные действия реализовываются в модуле Unit4.

Команда Об авторе должна вызывать окно пятой формы Form5, в которой отображаются сведения об авторе.

Таким образом, проект содержит пять форм и соответственно пять модулей.

Описанная функциональная структура проекта приведена на рисунке 4.

Рисунок 4 - Функционально модульная схема проекта

3. Интерфейс проекта

Вид формы Form1 приведен на рисунке 5.

Рисунок 5 - Окно Form1

На форму помещено шесть визуальных компонентов:

. Компонент MainMenu1 с пятью командами:- Ввод исходных данных;- Сортировка;- Обработка;- Об авторе;- Выход.

. Компонент Memo1, содержащий строки с условием задачи.

. Компонент Image1, содержащий фоновый рисунок.

. Компонент Label1, отображающийся в виде часов.

. Компонент Timer1.

. Компонент MonthCalendar1, отображающий текущую дату.

Вид формы Form2 приведен на рисунке 6.

Рисунок 6 - Окно Form2

. Компонент Image1, содержащий фоновый рисунок.

. Таблица строк StringGrid1 со следующими значениями свойств:

·        ColCount - 5;

·        RowCount - 30;

·        FixedCols - 0;

·        FixedRows - 1;

·        goEditing - True.

. Командная кнопка Button1, свойство Caption которой имеет значение В главное меню.

. Компонент OpenDilog позволяющий открыть файл и поместить его в StringGrid1.

Вид формы Form3 приведен на рисунке 7.

Рисунок 7 - Окно Form3

На форме Form3 помещено три визуальных компонента:

. Компонент Image1, содержащий фоновый рисунок.

. Таблица строк StringGrid1 со следующими значениями свойств:

·        ColCount - 5;

·        RowCount - 30;

·        FixedCols - 0;

·        FixedRows - 1;

·        goEditing - False.

. Командная кнопка Button1, свойство Caption которой имеет значение В главное меню.

Вид формы Form4 приведен на рисунке 8.

Рисунок 8 - Окно Form4

На форм Form4 помещено пять визуальных компонентов:

. Компонент Image1, содержащий фоновый рисунок.

. Таблица строк StringGrid1 со следующими значениями свойств:

·        ColCount - 5;

·        RowCount - 30;

·        FixedCols - 0;

·        FixedRows - 1;

·        goEditing - False.

. Командная кнопка Button1, свойство Caption которой имеет значение В главное меню.

. Командная кнопка Button2, свойство Caption которой имеет значение Запись результатов в файл.

. Компонент MonthCalendar1, отображающий текущую дату.

Вид формы Form5 приведен на рисунке 9.

На форме Form4 помещено пять визуальных компонентов:

. Компонент Image1, содержащий фоновый рисунок.

. Таблица строк StringGrid1 со следующими значениями свойств:

·        ColCount - 2;

·        RowCount - 30;

·        FixedCols - 0;

·        FixedRows - 1;

·        goEditing - False.

. Командная кнопка Button1, свойство Caption которой имеет значение Запись результатов в файл.

. Командная кнопка Button2, свойство Caption которой имеет значение В главное меню.

. Компонент MonthCalendar1, отображающий текущую дату.

Вид формы Form5 приведен на рисунке 9.

Рисунок 9 - Окно Form5

На форме Form5 помещено три визуальных компонента:

.        Компонент Image1, содержащий фоновый рисунок.

.        Компонент label1, содержащий информацию об авторе.

.        Командная кнопка Button1, свойство Caption которой имеет значение В главное меню.

4. Описания алгоритмов и тексты процедур

.1 Модуль Unit1

Фрагмент интерфейсной части модуля Unit1 и описание связи с другими модулями приведено на рисунке 11.

Рисунок 11 - Фрагмент интерфейсной части модуля Unit1

Как видно из рисунка 11, в качестве глобальных используются пять массивов. Три из них (pod, mec, kat,) имеют строковый тип и предназначены для хранения наименований подразделений, наименований месяцев и наименований категорий, вводимых из заданного текстового файла. Года и количество уволенных работников будет храниться в вещественном массиве (god, yvol). Элементы всех массивов получают значения в модуле Unit2 и используются в модулях Unit3 и Unit4.

Кроме указанных массивов глобальными объявлены следующие переменные:

целая переменная n - (число строк в исходном файле (без учета первой строки с заголовками граф) - получает значение в модуле Unit2 и используется в модулях Unit3 и Unit4;

логическая переменная w1 - в модуле Unit1 получает начальное значение False, в модуле Unit2 получает значение True после успешного выполнения команды Ввод исходных данных, используется в модулях Unit3 и Unit4;

логическая переменная c1 - в модуле Unit1 получает начальное значение False, в модуле Unit3 получает значение True после успешного выполнения команды Сортировка, используется в модуле Unit4;

логическая переменная z1 - в модуле Unit1 получает начальное значение False, в модуле Unit4 получает значение True после успешного выполнения команды Запись результатов в файл, используется в модуле Unit1;

файловая переменная fv2 получает значение в модуле Unit1 и используется в модулях Unit1 и Unit4.

Модуль Unit1 содержит инициализирующую часть, которая приведена на рисунке 12.

Рисунок 12 - Инициализирующая часть модуля Unit1

В инициализирующей части логические переменные w1, c1 и z1 получают начальные значения False как признаки того, что еще не выполнялись команды меню. Кроме того, в рассматриваемой части модуля уничтожается старая версия файла Количество уволившихся.txt, если она существовала.


Рисунок 13 - Исполняемая часть модуля Unit1

Первые четыре процедуры содержат по одному оператору, который вызывает соответствующую форму.

Пятая процедура выполняется при выборе пользователем команды Выход. Эта процедура осуществляет окончание работы проекта только, если пользователь ранее (при работе с окном приложения Form4) записал в файл результаты расчета.

Также в модуле содержаться дополнительная процедура.

Она предназначена для отображения времени в окне программы с помощью компонента Label.

Эта процедура приведенa на рисунке 14.

Рисунок 14 - Процедура отображения времени в компоненте Label1

.2 Модуль Unit2

Модуль Unit2 содержит две процедуры.

На рисунке 15 приведена схема алгоритма процедуры TForm2.FormActivate, вызываемой при активации Form2.

Рисунок 15 - Укрупненная схема алгоритма активации Form2

На схеме рисунка 15 детализации требует только блок AB. Соответствующая схема алгоритма приведена на рисунке 16.

Отмечу, что при выделении элементов данных из строки файла проверяется наличие всех элементов. При отсутствии любого из них выдается сообщение об ошибке с указанием номера строки файла, в котором обнаружена ошибка.

Для поиска в строке позиции табуляции использовалась функция Chr($09), которая преобразует шестнадцатеричный код табуляции в литеру.

Рисунок 17 - Текст процедуры TForm2.FormActivate (первая часть)

Рисунок 18 - Текст процедуры TForm2.FormActivate (заключительная часть)

Эта процедура обеспечивает выбор файла со схожей структурой и запись его в StringGrid1. В данной процедуре добавлено лишь дополнительное условие с OpenDialog1.

Пятая процедура модуля Unit2 обеспечивает закрытие окна формы при щелчке по кнопке В главное меню, ее текст приведен на рисунке 19.

Рисунок 19 - Процедура закрытия окна Form2

.3 Модуль Unit3

Модуль Unit3 содержит две процедуры TForm3.FormActivate, TForm3.Button1Click.

Процедура TForm3.Button1Click вызывается при щелчке по кнопке В главное меню.

Как и в модуле Unit2, эта процедура обеспечивает закрытие окна формы. Текст процедуры приведен на рисунке 20.

Рисунок 20 - Процедура закрытия окна Form3

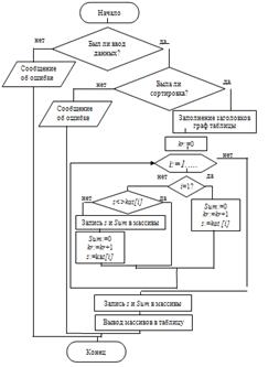
Процедура TForm3.FormActivate использует массивы pod, mes, kat, god и yvol а также переменную n (количество элементов в каждом массиве), описанные в модуле Unit1 и определенные в модуле Unit2. Схема алгоритма процедуры, вызываемой при активации Form3, приведена на рисунке 21.

Рисунок 21 - Схема алгоритма процедуры TForm3.FormActivate

Сортировка массива категории работников реализована на основе "метода пузырька", который состоит в следующем. Исходный массив просматривается слева направо с проверкой условия kat[i]>kat[i+1]. Если для какой-то пары элементов это условие выполняется, то данные элементы переставляются и проверка продолжается. После проверки последней пары на последнем месте окажется самый большой элемент (в нашем случае - последний по алфавиту). Затем проверки начинаются опять с первой пары, но последняя пара элементов уже не проверяется. Всего делается n-1 просмотров массива.

Отметим, что при перестановке элементов kat[i] и kat[i+1] переставляются и соответствующие элементы в остальных четырех массивах.

Текст процедуры TForm3.FormActivate приведен на рисунке 22.

Рисунок 22 - Текст процедуры TForm3.FormActivate.

.4 Модуль Unit4

Модуль Unit4 содержит три процедуры TForm4.FormActivate, TForm4.Button1Click , TForm4.Button2Clic.

В интерфейсной части модуля Unit4 описаны два массива: массив строк kategor, предназначенный для хранения различных наименований категории работника, и вещественный массив chyvol, в который будут занесены вычисленное количество уволенных работников по каждой категории. Кроме того, описана целочисленная переменная kr, значение которой - количество различных категорий работников. Все эти объекты получают значения в процедуре TForm4.FormActivate и используются в процедуре TForm4.Button2Click (команда Запись результатов в файл).

Активация Form4, а, следовательно, и выполнение процедуры TForm4.FormActivate происходит после выбора пользователем в Form1 команды Обработка. Процедура анализирует, выполнены ли ранее команды Ввод исходных данных и Сортировка. Если какая-то из данных команд не выполнена, то выдается сообщение пользователю и выполнение процедуры на этом завершается. Если обе команды были ранее выполнены, то организуется цикл просмотра отсортированного массива kat с вычислением для каждой категории работников общего числа уволенных. Наименование детали и общее её количество переписываются в массивы kategor и chyvol. При этом значение переменной kr увеличивается на 1.

Схема алгоритма процедуры TForm4.FormActivate приведена на рисунке 23.

Рисунок 23 - Схема алгоритма процедуры TForm4.FormActivate

Текст процедуры TForm4.FormActivate приведен на рисунке 24.

Рисунок 24 - Текст процедуры TForm4.FormActivate

Процедура TForm4.Button2Click выполняется при щелчке по кнопке Запись результатов в файл в окне приложения Form4. Назначение процедуры - запись в файл Количество уволившихся.txt содержимого массивов kategor и chyvol.

Схема алгоритма процедуры TForm4.Button1Click приведена на рисунке 30, а текст процедуры - на рисунке 25.

Рисунок 25 - Схема алгоритма процедуры TForm4.Button1Click

Рисунок26 - Текст процедуры TForm4.Button2Click

Процедура TForm4.Button1Click вызывается при щелчке по кнопке В главное меню Как и в модуле Unit3, эта процедура обеспечивает закрытие окна формы и чистку таблицы с результатами обработки.

Текст процедуры приведен на рисунке 27.

Рисунок 27 - Процедура закрытия окна Form4

.5 Модуль Unit5

Модуль Unit5 содержит одну простую процедуру.

Процедура TForm5.Button1Click обеспечивает возврат к главному меню.

Текст процедуры приведен на рисунке 28.

Рисунок 28 - Процедура Form5

5. Результат выполнения проекта

Для исходных данных, представленных на рисунке 2, получен файл Количество уволенных.txt (рисунок 29). Содержимое полученного файла полностью согласуется с тестом, приведенным на рисунке 3.

Рисунок 29 - Результат тестирования проекта

6. Направления развития проекта

)        обработка исключительных ситуаций, т. е. перехват программой прерываний среды Delphi при обнаружении ошибки, информирование об ошибке пользователя и предоставление ему возможности внести исправление.

7. Инструкция пользователя

.1 Назначение программы

Программа считывает текстовый файл "Количество уолившихся.txt", в котором находится таблица с графами: "Наименование подразделения"; "Месяц"; "Год"; "Категория работника", "Общее количество уволившихся".

Рассматривается четыре категории работников: рабочие, руководители, специалисты и технические исполнители(служащие). После сортировки программа подсчитывает общее число уволившихся работников по каждой категории. Результаты расчёта записываются в новый текстовый файл, содержащий таблицу из двух граф: "Категория работников"; "Общее число уволившихся".

.2 Условия выполнения программы

Исполняемый файл Project1.exe занимает 3 714 Кб памяти и может выполняться на любом персональном компьютере под управлением операционной сиcтемы Windows версии не нижеt Windows 4.00.950 (Windows 95).

Может использоваться по желанию пользователя принтер. Результат выполнения записывается на жесткий магнитный диск и отображается на экране монитора.

Текстовый файл с исходными данными должен находиться в той же папке, что и исполняемый файл. Результирующий файл помещается в ту же папку. Исходные файлы проекта (80 файлов) занимают на диске 26,7 Мб. Для выполнения программы эти файлы не нужны. Они необходимы программисту для внесения изменений в проект.

7.3 Выполнение программы

Перед выполнением программы надо создать текстовый файл Количество уволившихся.txt, пример которого представлен на рисунке 2. Элементы данных в каждой строке файла должны разделяться символом табуляции. Первой строкой файла должна быть строка с заголовками граф.

После запуска программы на экране появится главное окно приложения, представленное на рисунке 5. Первой должна быть выполнена команда Ввод исходных данных. В результате появится окно приложения, пример которого представлен на рисунке 30.

Рисунок 30 - Пример окна приложения после выполнения команды Ввод исходных данных

Для продолжения работы необходимо выполнить команду В главное меню, после которой на экране появится главное окно приложения. Далее надо выполнить команду Сортировка. Или же сразу перейти к сортировке нажав на кнопку Cортировка на окне второй формы. В результате появится окно приложения, пример которого представлен на рисунке 31.

Рисунок 31 - Пример окна приложения после выполнения команды Сортировка

Для продолжения работы необходимо выполнить команду В главное меню, после которой на экране появится главное окно приложения или же нажать сразу кнопку Обработка на окне сортировки.

Следующей выполняется команда Обработка. Результат выполнения этой команды отображается в окне приложения, пример которого представлен на рисунке 32.

Естественным продолжением работы является выполнение команды Запись результатов в файл. В результате будет создан искомый текстовый файл Количество уволившихся.txt. Элементы данных в каждой строке файла разделяются символом табуляции. Первой строкой файла будет строка с заголовками граф.

Выполнение команды В главное меню, приводит к появлению на экране главного окна приложения.

Рисунок 32 - Пример окна приложения после выполнения команды Обработка

Команда Об авторе инициирует появление окна, содержащего сведения о разработчике проекта. Данная команда может выполняться в любой момент. Команда Выход завершает выполнение программы.

.4 Сообщения пользователю

Ниже перечислены все сообщения, выдаваемые во время выполнения программы.

1. При выполнении команды Ввод исходных данных может быть выдано сообщение, приведенное на рисунке 33, если файл с исходными данными не существует или он находится в другой папке.

Рисунок 33 - Сообщение об отсутствии файла исходных данных

2. В процессе считывания записей из исходного файла может быть выдано сообщение, пример которого приведен на рисунке 34. Данное сообщение выдается в том случае, когда очередная строка исходного файла содержит менее четырёх элементов данных.

Рисунок 34 - Сообщение о присутствии ошибки в строке файла исходных данных

3. При попытке выполнения одной из команд Сортировка, Обработка или Запись результатов в файл перед командой Ввод исходных данных программа выводит сообщение, представленное на рисунке 35.

Рисунок 35 - Сообщение о необходимости выполнения команды Ввод исходных данных

При попытке выполнения одной из команд Обработка или Запись результатов в файл перед командой Сортировка программа выводит сообщение, представленное на рисунке 36.

Рисунок 36 - Сообщение о необходимости выполнения команды Сортировка

4. После успешного выполнения команды Запись результатов в файл выводится сообщение, представленное на рисунке 37.

Рисунок 37 - Сообщение об успешном создании выходного файла

5. При попытке завершить работу программы без записи результатов в файл выводится сообщение, приведенное на рисунке 38.

Рисунок 38 - Сообщение о необходимости выполнения команды Запись результатов в файл

Список используемых источников

1.      Попов В.Б. Паскаль и Дельфи: учеб. курс / В.Б. Попов. - СПб.: Питер, 2005. - 576 с.

.        Алексеев В.Е. Вычислительная техника и программирование: практикум по программированию / В.Е. Алексеев, А.С. Ваулин, Г.Б. Петрова: под ред. А.В. Петрова. - М.: Высш. шк., 1991. - 399 с.

.        Алгоритмизация и программирование: пособие для студентов специальности 1-25 01 07 "Экономика и управление на предприятии" специализации 1-25 01 07 02 "Экономическая информатика", специальности 1-26 03 01 "Управление информационными ресурсами" / авт.-сост.: С.М. Мовшович, О.А. Кравченко. - Гомель: 2008. - 104 с. (№890).

.        Обработка экономической информации в системе Программирования Delphi: пособие по дисциплине "Алгоритмизация и программирование" для студентов специальности 1-26 03 01 "Управление информационными ресурсами" / авт.-сост. С.М. Мовшович, О.А. Кравченко. - Гомель: учреждение образования "Белорусский торгово-экономический университет потребительской кооперации", 2011. - 128 с. (№2380).

.        Технологии программирования: практикум для студентов специальности 1-26 03 01 "Управление информационными ресурсами" / авт.-сост. Е.В. Коробейникова, С.М. Мовшович, О.А. Кравченко. - Гомель: учреждение образования "Белорусский торгово-экономический университет потребительской кооперации", 2012. - 100 с. (№2438).

.        Фаронов В.В. Турбо Паскаль 7.0. Начальный курс: учеб. пособие / В.В. Фаронов. - М: КНОРУС, 2006. - 576 с.

.        Фаронов В.В. Delphi. Программирование на языке высокого уровня: учеб. для вузов / В.В. Фаронов. - СПб: Питер, 2004. - 640 с.

.        Глинский Я.В. Turbo Pascal 7.0. Delphi. учеб. пособие для вузов / Я.В. Глинский, В.Е. Анохин, В.А. Ряжская. - СПб: ООО "ДиаСофтЮП", 2001. - 208 с.

.        Дарахвелидзе П. Программирование в Delphi 5: / П. Дарахвелидзе. - СПб.: BHV, 2000. - 767 с.

.        Культин Н. Основы программирования в Delphi:/ Н. Культин. - СПб.: BHV, 2003. - 566 с.

.        Гофман В. Delphi 6. Наиболее полное руководство / В. Гофман. - СПб.: BHV, 2001. - 1135 с.

.        Корняков, В. Программирование документов MSOffice в Delphi / В. Корняков. - СПб.: BHV, 2005. - 489 с.

.        Могилев, А.В. Информатика: учеб. пособие для вузов / А.В. Могилев, Н.И. Пак, Е.К. Хеннер; под ред. Е.К. Хеннера. - М.: Академия, 1999. - 816 с.

.        Меняев М.Ф. Информатика и основы программирования: учеб. пособие для вузов / М.Ф. Меняев. - М.: Омега-Л, 2005. - 432 с.

15.    Delphi 7. - Иллюстрированный самоучитель по Delphi 7 для начинаюших (5,2 Мб) [Электронный ресурс]. - Интернет-книги. - Режим доступа: <http://www.inet-knigi.org/index.php?option=com_content&task=view&id=25&Itemid=36>. - Дата доступа: 21.03.2015.

.        32 урока по Delphi (1,5 Мб) [Электронный ресурс]. - mexx’s books store. - Режим доступа: <http://www.mexxs.net/books.php?file=19>. - Дата доступа: 27.03.2015.

.        Иллюстрированный самоучитель по Delphi 7 для начинающих [Электронный ресурс]. - Programmers Klondike. - Режим доступа: <http://www.proklondike.com/books/delphi/delphi_illustr_samouchitel_delphi7.html>. - Дата доступа: 24.03.2015.

.        Фленов М. Библия Delphi (55.79 Мб) [Электронный ресурс]. - СПб.: БХВ-Петербург, 2004. - 880 с.: ил. - Режим доступа: <http://soft-plus.ucoz.ru/load/kniga_biblija_delphi_mikhail_flenov/131-1-0-1090>. - Дата доступа: 25.03.2015.

Похожие работы на - Автоматизация учета ежемесячных сведений о количестве уволившихся работников

 

Не нашли материал для своей работы?
Поможем написать уникальную работу
Без плагиата!
Без нейросетей!