Проектирование станции технического обслуживания для легковых автомобилей на улице Шоссейной в поселке Шексна Вологодской области
Содержание
Введение
1.
Маркетинговая часть
1.1
Маркетинговые требования к сервисному техническому центру
1.2
Выбор места расположения
1.3
Виды услуг, предоставляемые сервисным центром
1.4
Анализ конкурентов по ТО и ТР
1.5
Анализ конкурентов по УМР
1.6
Изучение спроса
2.
Технологический расчет сервисного центра
2.1
Обоснование исходных данных
2.2
Расчет годового объема работ проектируемого сервисного центра
2.3
Распределение годового объема работ по видам
2.4
Расчет числа постов
2.5
Расчет числа производственных и вспомогательных рабочих
2.6
Расчет числа автомобиле-мест ожидания и хранения
2.7
Выбор технологического оборудования
2.8
Расчет площадей производственных участков
2.9
Расчет площадей складов и стоянок и административно-бытовых помещений
3.
Конструкторская часть
Технологическая
схема очистки сточных вод СТО
3.1
Общие требования к схеме
3.2
Образование сточных вод
3.3
Необходимая степень очистки сточных вод
3.4
Выбор способа очистки и технологического оборудования для сточных вод
3.5
Расчет показателей очистки воды для выбранной схемы
3.6
Расчет основного оборудования
4.
Безопасность жизнедеятельности
4.1
Общая характеристика безопасности СТО
4.2
Анализ опасных и вредных производственных факторов
4.3
Расчет искусственного освещения
4.4
Электробезопасность
4.5
Пожарная профилактика
5.
Организационно-экономическая часть
5.1
Определение предельно-необходимых затрат на организацию сервисного технического
центра
5.2
Структура затрат на производство услуг
5.3
Оценка экономической целесообразности организации сервисного технического
центра
Заключение
Литература
Введение
Современный автомобиль это сложная техническая
система, которая состоит из более чем 15 тыс. деталей. В процессе работы детали
автомобиля вследствие нагрева, ударных нагрузок, трения и других химических и
механических процессов теряют свойства, заложенные при конструировании и
производстве. Ослабевают соединения деталей, смазка между трущимися
поверхностями в результате нагрева, а также попадания частиц пыли и металла
теряет своё качество. Всё это приводит к резкому увеличению изнашивания
деталей, которое вызывает аварийные поломки и как следствие отказы автомобилей
в работе. Для уменьшения изнашивания деталей и исключения аварийных поломок и
отказов автомобили в процессе эксплуатации регулярно в плановом порядке
подвергаются техническим воздействиям.
Высокий рост парка автомобилей, усложнение их
конструкции, увеличение числа лиц некомпетентных в вопросах обслуживания
принадлежащих им транспортных средств, интенсификация движения на дорогах и многие
другие факторы обусловили создание еще одной отрасли промышленности -
автосервиса.
Отечественный автомобильный сервис не стоит на
месте, он стремительно прогрессирует, причём в разных секторах своей
деятельности. Особенно нельзя не заметить рост сектора, который направлен на
работу с продукцией зарубежного производства. Ещё не так давно, где-то 10-15
лет назад главная задача немногочисленных автосервисов в нашей стране состояла
в выполнении самых простых видов работ по обслуживанию незнакомой импортной
технике, например замена тормозных колодок или замена моторного масла. Но с
постоянным ростом автомобильного парка происходит увеличение производственных
мощностей. Увеличивается число предприятий автосервиса, повышается уровень их
технической оснащённости и профессионализма работников. В ближайшее время спрос
на услуги автосервиса в нашей стране будет только расти.
Спрос обусловливает предложение, развивается
автомобилестроение, а это значит, что должно увеличиваться и число СТО. На
сегодняшний день существует довольно много СТО, конкурирующих между собой за
каждого клиента. К сожалению, оборудование, имеющихся станций, со временем
теряет свою новизну из-за этого оно не всегда технологически совместимо с
новыми автомобилями. Причина заключается в том, что данное оборудование было
установлено еще для предыдущего поколения автомобилей, из-за такой
несовместимости оборудования и автомобилей СТО несет убытки и не может
конкурировать за каждого автовладельца.
Важнейшим направлением совершенствования ТО и ТР
являются: применение технологических процессов, которые будут прогрессировать
со временем, совершенствование управления производственной деятельностью, а
также организация этой деятельности, внедрение новых, более совершенных в
технологической и в строительной части проектов СТО с учетом фактической
потребности по видам работ, повышение качества услуг.
В данном дипломном проекте рассматривается
проект станции технического обслуживания и ремонта легковых автомобилей с
проведением работ по ТО и ТР.
1. Маркетинговая часть
.1 Маркетинговые требования к сервисному
техническому центру
Для обеспечения конкурентоспособности сервисного
технического центра необходимо учитывать ряд требований:
- обеспечение удобства места, времени и процедуры
обслуживания;
- учет и выполнение всех пожеланий и
требований клиента;
- минимальные сроки выполнения работ;
- приемлемые цены;
- максимально широкая номенклатура
услуг;
- максимальная номенклатура форм
предоставления услуг;
- комплексность услуг и обслуживания;
- высокие требования к эстетике и
эффективности всего комплекса автосервиса;
- высокие требования к эстетике, в том
числе и производственных помещений;
- высокий уровень квалификации
персонала;
- эффективность выполнения
предоставляемых услуг;
- высокое качество технического
обслуживания и ремонта;
- высокое качество обслуживания
клиентов;
- "излишек" производственных
мощностей из расчета на максимально широкий спрос.
.2 Выбор места расположения
Наиболее предпочтительным фактором для
расположения сервисного центра является близость крупных и оживленных улиц.
Такими в поселке Шексна являются улица Шоссейная, улица Труда, а также
проходящая через поселок автодорога Вологда - Новая Ладога.
Таким образом, имеется три варианта расположения
проектируемого сервисного технического центра:
Вариант 1. Автодорога Вологда - Новая Ладога (в
черте посёлка)
Вариант 2. Улица Труда.
Вариант 3. Улица Шоссейная.
Рассмотрим выбранные варианты расположения.
Вариант 1. Автодорога А114 Вологда - Новая
Ладога (в черте посёлка) (Рис.1).
Является федеральной автодорогой. По трассе
проходит большое количество транзитного автотранспорта. Расположение СТО на
данном участке могло бы привлечь дополнительных клиентов, однако, строительство
сопряжено со сложностями в плане доступности коммуникаций: водоснабжение,
канализация, электроэнергия.
Рис.1. Автодорога А114 Вологда - Новая Ладога.
Вариант 2. Улица Труда.
Улица Труда является одной из центральных улиц
п. Шексна. Она проходит через северную часть посёлка. Вариант проектирования
СТО был рядом с ТЦ «Мегалит» (Рис.2). Но в связи с близким расположением жилых
домов, средней школы и маленькой площадью застройки этот микрорайон не был
выбран.
Рис.2. Улица Труда.
Вариант 3. Улица Шоссейная
Улица Шоссейная также является одной из
центральных улиц посёлка. Она пересекается с ул. Труда и продолжает её как
самостоятельная магистраль. Так как в северной части посёлка проживает больше
половины населения Шексны, а именно там располагаются данные улицы, все
вышеперечисленные факторы говорят о том, что на выбранной улице постоянно идёт
поток машин.
Поэтому местом для расположения проектируемого
сервисного центра выбираем вариант 3 улица Шоссейная.
Наиболее подходящим местом для расположения
сервисного центра с учётом выбранного варианта 3 является участок рядом с
торговым центром на пересечении улиц Шоссейной и Труда.
Рис. 3. Выбор места проектируемого СТО.
.3 Виды услуг, предоставляемые сервисным центром
Проектируемый сервисный центр будет оказывать
следующие виды услуг:
- техническое обслуживание и ремонт
автомобилей;
- коммерческая мойка автомобилей.
.4 Анализ конкурентов по ТО и ТР
На территории посёлка Шексна не имеется
официальных дилерских центров. Ближайшие официальные дилеры основных
автомобильных производителей находятся в городах Череповец (50 км) и Вологда
(83 км). В связи с данным фактом, а также с тем, что проектируемая СТО будет
заниматься техническим обслуживанием и ремонтом автомобилей с закончившейся
гарантией, рассматривать официальных дилеров Череповца и Вологды как
конкурентов нет необходимости.
В Шексне присутствуют несколько автомастерских,
являющимися по сути «гаражными». Они расположены в кооперативных гаражах, имеют
ограниченный набор оборудования. Однако, они будут являться прямыми
конкурентами для проектируемого сервисного центра.
Таблица 1. Основные конкуренты.
|
Название
|
Адрес
|
Виды
работ
|
|
Центр
Авто
|
Ул.
Советская, д. 17
|
Продажа
и замена автостекла. Продажа запчастей для иномарок. Авторемонт, установка
сигнализаций, услуги автоэлектрика, сход - развал
|
|
Авто-тест
|
Ул.
Октябрьская, д. 118в
|
Диагностика,
услуги автоэлектрика, промывка форсунок, установка сигнализаций, сход-развал,
ремонт подвески, техническое обслуживание
|
.5 Анализ конкурентов по УМР
Данный вид услуг предоставляют несколько
автомоек. Все они находятся достаточно отдаленно от проектируемого сервисного
центра и расположены в разных районах посёлка. Все они представлены в табл. 2
Таблица 2. Автомобильные мойки п. Шексна.
|
Название,
адрес
|
Режим
работы
|
Число
постов
|
|
Автомойка,
ул. Октябрьская, д. 128 (рядом с автовокзалом)
|
9:00-21:00
|
1
|
|
Автомойка,
ул. Октябрьская, д. 118
|
9:00
- 20:00
|
1
|
|
Автомойка,
ул. Центральная, д. 2
|
10:00
- 19:00
|
1
|
Решающую роль может сыграть фактор расположения
автомойки. Проектируемое здание будет располагаться на ул. Шоссейной. Через эту
улицу, а также через ул. Труда идёт постоянный поток машин, в то время как
автомойки на ул. Октябрьской находятся на окраине посёлка в южной части. Таким
образом, автомобильная мойка проектируемого сервисного центра будет
пользоваться хорошим спросом у автовладельцев Шексны северной.
Рис.4. Расположение объектов на карте. 1
-проектируемая СТО, 2 - автомойка на Центральной, 2; 3 - на Октябрьской, 128; 4
- на Октябрьской, 118
.6 Изучение спроса
По данным Федеральной службы государственной
статистики и ГИБДД, количество легковых автомобилей в п. Шексна на 2015 г.
составляет 6900 единиц, в том числе 960 автомобилей не старше трёх лет.
Следовательно, количество автомобилей старше трех лет - 5940 штук.
Для оценки спроса на качественные услуги СТО,
среди жителей посёлка был проведён опрос. В нём приняли участие 300 человек,
имеющих легковой автомобиль. Результаты представлены в таблице 3.
Таблица 3. Результаты опроса.
|
Пользуетесь
ли вы услугами СТО?
|
|
«Да»
- 65%
|
«Нет,
делаю ремонт своими силами» - 35%
|
|
Устраивает
ли вас качество услуг?
|
В
связи с чем вы не ездите на СТО?
|
|
-«Да»
-67% -«Нет» -33%
|
-
«Не желаю тратить средства» - 81% -«Нет доверия к существующим в поселке
мастерским» - 19%
|
|
Готовы
ли вы посещать автосервис с более высоким уровнем оказания услуг, в сравнении
с существующими мастерскими в посёлке, при его появлении?
|
Готовы
ли вы посещать автосервис с более высоким уровнем оказания услуг, в сравнении
с существующими мастерскими в посёлке, при его появлении?
|
|
-
«Да» - 83% - «Нет» - 17%
|
-«Да»
-16% - «Нет» - 84%
|
2. Технологический расчет сервисного центра
.1 Обоснование исходных данных
Одним из главнейших факторов, определяющих
мощность, размер и тип станции технического обслуживания, является число
автомобилей, находящихся в районе расположения проектируемого сервисного
центра.
Число легковых автомобилей
,
принадлежащих жителям п. Шексна, нам известно и составляет 5940 штук (цифра для
автомобилей старше трех лет)
Входящий поток требований
(автомобиле-заездов) на СТО характеризуется различной частотой спроса на те или
иные виды работ и трудоемкостью их выполнения. При этом на величину трудовых
затрат, влияет «возраст» автомобиля, который имеет значительный разброс.
Часть владельцев автомобилей
выполняют ТО и ТР собственными силами, т.е. не все автомобили, заинтересованы
услугами СТО. Поэтому, число владельцев автомобилей, пользующихся услугами
сервиса равно:

, (2.1)
где 
- парк автомобилей;
K -
коэффициент обращаемости, учитывающий число владельцев автомобилей,
пользующихся услугами СТО. По оценке экспертов, для отечественных автомобилей, 
для
автомобилей иностранного производства, 
Так как парк автомобилей этих
районов состоит из автомобилей иностранного и отечественного производства, то
коэффициент обращаемости вычислим как среднее арифметическое из значений
коэффициента для иностранных и отечественных автомобилей:


автомобиль
Легковые автомобили могут
обслуживаться на различных предприятиях автосервиса, т.е. они, как правило, не
закреплены за определенными СТО, и заезды их на станцию носят случайный
характер.
Технологический расчет принято
выполнять с учётом конкурирующих со мной СТО для легковых автомобилей. В п.
Шексна выявлено 2 конкурента.

, (2.2)
где 
- число владельцев автомобилей,
пользующихся услугами СТО.

автомобилей
С учетом приведенных выше
особенностей технологический расчет принято выполнять для парка условно
обслуживаемых на СТО автомобилей, который принимаем равным половине числа
владельцев, пользующихся услугами СТО:

(2.3)
где 
- число владельцев автомобилей,
пользующихся услугами СТО.

автомобиля.
При этом под условным автомобилем
парка понимается автомобиль, комплексно обслуживаемый на СТО в течение года, на
котором выполняется полный комплекс работ по техническому обслуживанию и
ремонту, обеспечивающий его исправное состояние. Поэтому принимаем, что
условный автомобиль парка должен сделать в течение года в среднем 2
автомобиле-заезда на СТО.
В связи с достаточно большим
количеством автомобилей, которые можно обслуживать на предполагаемой СТО, а
следовательно, большой мощностью СТО, был проведен дополнительный опрос
населения в электронной форме с целью утверждения годового количества условно
обслуживаемых автомобилей. В опросе приняли участие 590 человек, имеющих
легковой автомобиль, из которых выразили желание в полном объеме пользоваться
новой СТО 130 человек (22%). Основываясь на проведенных исследованиях рынка,
технологический расчет производится по следующим исходным данным:
- годовое количество условно обслуживаемых на
станции автомобилей - 
автомобилей;
- количество автомобиле-заездов на станцию одного
автомобиля в год - 
;
- среднегодовой пробег автомобиля - 
км;
- число рабочих дней в году станции - 
дней;
- продолжительность смены -
часов;
- число смен - 
.
.2 Расчет годового объема работ проектируемого
сервисного центра
Годовой объем работ городской станции
технического обслуживания включает ТО, ТР и уборочно-моечные работы.
Годовой объем работ по техническому обслуживанию
и текущему ремонту (в человеко-часах):

, (2.4)
где 
- число автомобилей, обслуживаемых
проектируемой СТО в год;

- среднегодовой пробег автомобиля,
км;

- удельная трудоемкость работ по ТО
и ТР, чел-ч/1000 км.
Удельная трудоемкость работ по ТО и
ТР автомобилей (без учета уборочно-моечных работ) в соответствии с ОНТП-01-91
(приложение 1) принимаем 2,7 чел-ч/1000 км (для легковых автомобилей среднего
класса).

чел-ч
Годовой объем уборочно-моечных работ

(в человеко-часах) определяем
исходя из числа заездов 
на станцию автомобилей в год и
средней трудоемкости работ 
, т.е.:

. (2.5)
Уборочно-моечные работы в
проектируемом сервисном центре выполняются непосредственно перед ТО и ТР и как
самостоятельный вид услуг.
Таким образом,

(2.6)
В первом случае число заездов на УМР
принимаем равным числу заездов обслуживаемых в год автомобилей, т.е.:

(2.7)

заездов
Так как в сервисном центре УМР
выполняются и как самостоятельный вид услуг, то число заездов на УМР принимаем
из расчета одного заезда на 
км.
Для коммерческой мойки автомобилей
целесообразно иметь минимум два поста. Поэтому принимаем, что в проектируемом
сервисном центре будет два поста УМР.
Определим число заездов на УМР как
самостоятельный вид услуг и число, которое сможет обслужить участок УМР за год
по коммерческой мойке, для принятого количества постов 
.

, (2.8)
где 
- годовой объем уборочно-моечных
работ, чел-ч;

- коэффициент неравномерности
поступления автомобилей на участок УМР (
. Большее значение коэффициента
принимается для участков с меньшим количеством рабочих постов). Принимаем
;

- продолжительность смены;

- среднее число рабочих,
одновременно работающих на посту (
). Принимаем 
;

- коэффициент использования
рабочего времени поста (
). Принимаем 
.
Из формулы 2.9 выразим годовой объем
работ: 

(2.9)

чел-ч
Из полученного предварительного
значения 
вычислим общее число заездов на
участок УМР по следующей формуле:

, (2.10)
где 
- средняя трудоемкость одного
заезда. Для автомобилей среднего класса 
чел-ч .

Таким образом, число заездов на УМР
как самостоятельный вид услуг:

заездов
Число автомобилей, которое сможет
обслужить участок УМР по коммерческой мойке за год равно

автомобилей.
Годовой объем работ по приемке и
выдаче автомобилей:

, (2.11)
где 
- разовая трудоемкость одного
заезда на работы по приемке и выдаче автомобилей, чел-ч.
В соответствии с ОНТП-01-91
(приложение 1) разовая трудоемкость одного заезда на работы по приемке и выдаче
автомобилей равна 
чел-ч (автомобили среднего класса).

чел-ч
Результаты расчета годовых объемов
работ сведем в таблицу 4.
Таблица 4. Годовые объёмы работ,
чел-ч.
|
Виды
воздействий
|
Общий
годовой объем работ,
|
|
|
|
|
|
|
  8447,9
|
|
|
|
2.3 Распределение годового объема работ по видам
В настоящее время ТО и ремонт автомобилей на
предприятиях автосервиса производится на базе готовых деталей, узлов и
механизмов. Поэтому в основном работы (услуги) по ТО и TP
выполняются на рабочих постах. Обособленные (отдельные) производственные
помещения (с рабочими постами) обычно предусматриваются для выполнения УМР,
кузовных, окрасочных и противокоррозионных работ.
Выполнение таких работ, как электротехнические,
ремонт системы питания, обслуживание аккумуляторных батарей, шиномонтаж,
балансировка колес, предусматривается в зоне рабочих постов, оснащенных
соответствующим оборудованием и оснасткой.
Распределение общего годового объема работ по ТО
и TP по видам и месту
выполнения в зависимости от числа рабочих постов может быть принято по данным
ОНТП-01-91 [].
Для выбора распределения объема работ
модернизируемой СТО предварительно число рабочих постов можно определить из
следующего выражения:

, (2.12)
где 
- годовой объем работ по ТО и ТР,
чел-ч;

- коэффициент неравномерности
поступления автомобилей на СТО 
. Большее значение коэффициента
принимается для станций с меньшим количеством рабочих постов). Принимаем 
;

- доля постовых работ в общем
объеме (
). Принимаем 
;

- продолжительность смены;

- число смен;

- среднее число рабочих,
одновременно работающих на посту (
). Принимаем 
;

- коэффициент использования
рабочего времени поста (
. Принимаем 
.

поста
Используя данные ОНТП-01-91,
произведем распределение годового объема работ ТО и ТР проектируемой СТО по
видам и месту выполнения. Результаты распределения годового объема работ ТО и
ТР представим в виде таблицы 5.
Таблица 5. Распределение годового объёма
работ ТО и ТР по видам.
|
Вид
работ
|
Распределение
объема работ в зависимости от числа рабочих постов
|
|
От
2 до 5
|
|
|
1
|
2
|
3
|
|
Контрольно-диагностические
|
6
|
315,9
|
|
ТО
в полном объеме
|
35
|
1842,75
|
|
Смазочные
|
5
|
263,25
|
|
Регулировочные
по установке углов управляемых колес
|
10
|
526,5
|
|
Ремонт
и регулировка тормозов
|
10
|
526,5
|
|
Электротехнические
|
5
|
263,25
|
|
По
приборам системы питания
|
5
|
263,25
|
|
Аккумуляторные
|
1
|
52,65
|
|
Ремонт
узлов, систем и агрегатов
|
16
|
842,4
|
|
Шиномонтажные
|
7
|
368,55
|
.4 Расчет числа постов
Соответствие возможностей сервисного
технического центра потребностям в обслуживании и ремонте автомобилей
определяется его производственной мощностью и пропускной способностью.
Производственная мощность сервисного центра оценивается количеством рабочих
постов 
.
Число рабочих постов:

, (2.13)
где 
- годовой объем работ по ТО и ТР,
чел-ч;

- коэффициент неравномерности
поступления автомобилей на СТО (
. Большее значение коэффициента
принимается для станций с меньшим количеством рабочих постов). Принимаем 
;

- продолжительность смены;

- число смен;

- среднее число рабочих,
одновременно работающих на посту (
). Принимаем 
;

- коэффициент использования
рабочего времени поста (
. Принимаем 
.
Произведем расчет числа постов по
видам работ:
Участок УМР:
Приёмка и выдача автомобилей
Так как расчетное число постов для
приемки и выдачи автомобилей меньше 0,5, то целесообразно её проводить на
соответствующих рабочих постах или автомобиле-местах.
Участок ТО и ТР:
Таблица 6. Принятый вариант числа
рабочих и вспомогательных постов.
|
Название
участка
|
Вид
работ, выполняемый на участке
|
Годовой
объем работ, чел-ч
|
Число
рабочих постов участка
|
Число
вспомогательных постов участка
|
|
|
|
расчетное
|
принятое
|
|
|
1
|
2
|
3
|
4
|
5
|
6
|
|
Участок
ТО и ТР
|
Диагностические,
ТО, смазочные, регулировочные по установке углов управляемых колес, ремонт и
регулировка тормозов, электротехнические, по приборам системы питания,
аккумуляторные, шиномонтажные, ремонт узлов систем и агрегатов, приёмка и
выдача авто
|
5330
|
3,41
|
3
|
1
|
|
Участок
УМР
|
Уборочно-моечные
|
3117,9
|
1,99
|
2
|
-
|
|
Итого:
|
|
8447,9
|
5,4
|
5
|
1
|
Из таблицы 6 следует, что все работы,
производимые на СТО, будут выполняться на универсальном участке. На каждом
таком посту будут проводиться следующие виды работ: диагностические, ТО,
смазочные, регулировочные по установке углов управляемых колёс, ремонт и
регулировка тормозов, электротехнические, по приборам системы питания,
аккумуляторные, ремонт узлов систем и агрегатов.
На СТО будет один вспомогательный пост, на
котором будет располагаться четырехстоечный подъёмник. На нём будут проводиться
работы по регулировке углов наклона управляемых колес, а также ремонт тормозной
и рулевой систем.
2.5 Расчет числа производственных и
вспомогательных рабочих
Расчет потребности производственных рабочих
основывается на планируемом годовом объеме работ по техническому обслуживанию и
текущему ремонту и на нормативном годовом фонде времени рабочего в соответствии
с его специальностью (). При расчете различают технологически необходимое
(явочное) и штатное (списочное) количество производственных рабочих.
В проектируемом сервисном центре будет работать
одна бригада производственных рабочих.
Технологически необходимое количество рабочих
для выполнения работ на постах и участках рассчитываем по формуле:

, (2.14)
где 
- годовой объем работ на посту или
участке, чел-ч;

- годовой фонд времени рабочего
места, ч.

, (2.15)
где 
- число рабочих дней в году одного
рабочего (
дней);

- число праздничных дней в году (
дней);

- число предпраздничных дней в году
(
дней);

ч
Штатное количество производственных
рабочих одной бригады:

, (2.16)
где 
- годовой фонд времени штатного
рабочего, ч.

(2.17)
где 
- продолжительность отпуска (
дней);

- количество невыходов по
уважительной причине (
).

ч
Годовой фонд времени штатного
рабочего меньше фонда времени технологически необходимого рабочего за счет
предоставления отпусков и невыходов по уважительным причинам.
Технологически необходимое
количество рабочих для выполнения:
- ТО и ТР
- уборочно-моечных работ
- работ по приемке и выдаче
автомобилей
Штатное количество производственных рабочих:
- ТО и ТР
- уборочно-моечные работы
- приемка и выдача автомобилей
Определим число рабочих на вспомогательном
посту.
На вспомогательном посту не будет постоянного
работника. Выполнять работы на этом месте, смогут, штатные производственные
рабочие, количество которых равняется трем, а также мастер.
Результаты расчета численности производственных
рабочих (ТО и ТР, УМР, приемка и выдача автомобилей) приведены в таблице 7.
Таблица 7. Результаты расчёта численности
производственных рабочих.
|
Вид
работ
|
Годовой
объем работ, чел-ч
|

|
|
|
|
расчетное
|
принятое
|
расчетное
|
принятое
|
|
ТО-ТР
|
5265
|
2,65
|
3
|
3,13
|
3
|
|
УМР
|
3117,9
|
1,56
|
2
|
1,85
|
2
|
|
Приемка
и выдача
|
65
|
0,03
|
0
|
0,04
|
0
|
|
Итого:
|
8447,9
|
4,24
|
5
|
5,02
|
5
|
В результате анализа данных таблицы 7
установлено, что за каждым участком, будет закреплён один рабочий. Также
необходимо, чтобы эти три механика отвечали и за вспомогательный пост.
В случае невыхода на работу одного из механиков,
по причине болезни или по другой уважительной причине, его сможет заменить
мастер, который также будет обладать всеми навыками автослесаря. Также и
наоборот, если на работе не появится мастер, то его будет заменять один из
рабочих.
Мастер будет совмещать несколько видов работ,
помимо своей основной деятельности он будет исполнять роль кладовщика и
кассира. Как было сказано выше, мастера может подменить один из рабочих, если
первый будет отсутствовать по уважительной причине. Соответственно роль кассира
и кладовщика будет исполнять один из слесарей.
На участке УМР, будет два мойщика, по одному на
каждый участок.
Таблица 8. Распределение рабочих по участкам.
|
Наименование
работника по месту работы
|
Виды
работ, выполняемые работником участка
|
Объем
работ, чел-ч
|
Численность
производственных рабочих участка
|
|
|
|

|
|
|
|
|
расчетное
|
принятое
|
расчетное
|
принятое
|
|
Работник
участка ТО и ТР
|
Диагностические,
ТО, смазочные, регулировочные по установке углов управляемых колес, ремонт и
регулировка тормозов, электротехнические, по приборам системы питания,
аккумуляторные, ремонт узлов систем и агрегатов, приёмка и выдача автомобилей
|
5330
|
2,68
|
3
|
3,17
|
3
|
|
Работник
участка УМР
|
Уборочно-моечные
|
3117,9
|
1,57
|
2
|
1,85
|
2
|
|
Итого:
|
-
|
8447,9
|
3,47
|
5
|
4,09
|
5
|
Объем вспомогательных работ СТО составляет 20 -
30% общего годового объема работ по ТО и ТР. В состав вспомогательных работ
входят работы, указанные в приложении 4.

чел-ч
Такие вспомогательные работы, как
ремонт и обслуживание технологического оборудования, оснастки и инструмента,
ремонт и обслуживание инженерного оборудования, сетей и коммуникаций,
обслуживание компрессорного оборудования будут выполнять сторонние
специализированные организации, с которыми будет заключен договор.
Контролировать время и качество выполнения этих работ будет мастер.
Бухгалтер и уборщик помещений не
будут закреплены за СТО. С ними будет заключён договор, и они будут выполнять
свою работу в определённое время и с определённой периодичностью.
Таким образом, общая численность персонала
проектируемого сервисного технического центра, включая бухгалтера и уборщика
помещений составляет 8 человек.
.6 Расчет числа автомобиле-мест ожидания и
хранения
В зависимости от конкретных условий могут быть
запроектированы автомобиле-места ожидания и хранения, размещаемые как в
закрытых помещениях, так и на открытых площадках. При необходимости
автомобиле-места ожидания могут использоваться для выполнения определенных
видов работ ТО и ТР. Поэтому расстояния на этих автомобиле-местах между
автомобилями и элементами зданий должны быть такими же, как и для рабочих
постов.
Количество автомобиле-мест ожидания постановки
автомобиля на посты ТО и ТР определяем из расчета 0,5 автомобиле места на один
рабочий пост.

автомобиле-места
Автомобиле-места хранения - это
места, занимаемые в зоне хранения автомобилями, готовыми к выдачи и принятыми в
ТО и ремонт.
Число автомобиле-мест для готовых к
выдаче автомобилей

,
где 
- суточное число заездов (
;

- среднее время пребывания
автомобиля на станции после его обслуживания до выдачи владельцу, 
;

- продолжительность работы участка
выдачи автомобилей в сутки, ч
Принимаем, что число автомобиле-мест
для готовых к выдаче автомобилей, будет равным 1.
Открытые стоянки для автомобилей
клиентуры и персонала станции определяются из расчета 7-10 автомобиле-мест на
10 рабочих постов. В нашем случае принимаем 4 автомобиле-места.
.7 Выбор технологического
оборудования
К технологическому оборудованию
относятся стационарные и переносные станки, стенды, приборы, приспособления и
производственный инвентарь (верстаки, столы, шкафы), необходимые для выполнения
работ по ТО и ТР подвижного состава производственного процесса предприятия.
Технологическое оборудование подразделяется на основное, комплексное,
подъемно-осмотровое и подъемно-транспортное и складское.
Складское оборудование определяется
номенклатурой складских запасов. Подъёмно-осмотровое и подъёмно-транспортное
оборудование определяется по числу механизированных постов, линий, участков и
уровню механизации подъёмно-транспортных операций. Комплексное оборудование
определяется с учётом численности и специализации рабочих. При подборе
технологического оборудования для зон ТО и ТР рекомендуется по возможности
использовать вместо осмотровых канав подъёмники, которые позволяют повысить
производительность и обеспечить лучшие условия труда для ремонтных рабочих.
При выборе технологического
оборудования необходимо учитывать:
- Виды выполняемых работ на постах;
- техническую характеристику и область
применения данного вида оборудования;
- приспособленность его для
автомобилей, заезжающих на СТО;
- экономические показатели
оборудования (стоимость работ, оборудования, затраты на приобретение и др.).
Результаты приведены в таблице 9
Таблица 9. Ведомость технологического
оборудования.
|
Наименование
оборудования
|
Количество
|
Тип
или модель
|
Краткая
техническая характеристика
|
Габаритные
размеры (ДхШхВ), м
|
Площадь,
м2
|
|
|
|
|
|
на
единицу оборудования
|
общая
|
|
1
|
2
|
3
|
4
|
5
|
6
|
7
|
|
Комплекс
автодиагностики
|
1
|
КАД-400-02/ТК7
«Профи-Евро"
|
-
|
-
|
-
|
-
|
|
Двухстоечный
подъёмник
|
3
|
Trommel-berg
TST 40C
|
Грузоподъемность:
4 т, Ширина проезда: 2500 мм, Максимальная высота подъема: 1925 мм, Время
подъема: 50 с, Время опускания: 35 с, Минимальная высота подхвата: 110 мм
|
5,0х3,5х2,76
|
17,5
|
52,5
|
|
Сверлильный
станок
|
1
|
Stalex WTZ-13J
|
Потребляемая
мощность 375 Вт Патрон до 13 мм Ход шпинделя 114 мм Размер стола 165х165 мм
|
0,46х0,2х0,73
|
0,09
|
0,09
|
|
Пресс
напольный
|
1
|
Nordberg N3612F
|
Развиваемое
усилие 12 т Ход штока поршня 140 мм Рабочее пространство 0-910 мм
|
0,22х0,17х1,38
|
0,037
|
0,037
|
|
Установка
для сбора масла
|
1
|
Trommel-berg
UZM80
|
Емкость
бака 80 л Емкость стеклянной предкамеры 10 л Емкость подъемной ванны 13 л
|
0,49х0,41х0,88
|
0,2
|
0,2
|
|
Тележка
инструментальная
|
4
|
Nordberg T7N
|
7
полок Каждый ящик выдерживает массу до 50 килограмм
|
0,77х0,48х1,0
|
0,93
|
3,72
|
|
Пуско-зарядное
устройство
|
1
|
Helvi RAPID 280
|
Напряжение
зарядки 12 - 24В Ток зарядки 6-37 А Стартовый ток 335А
|
0,34х0,41х0,74
|
0,139
|
0,139
|
|
Стенд
сход-развала
|
1
|
HPA C800 3D
|
Колесные
диски от 11" до 25" Более 15 тыс. автомобилей в постоянно
обновляемой базе
|
0,77х1,29х1,59
|
0,99
|
0,99
|
|
Четырехстоеч-ный
подъёмник
|
1
|
Trommel-berg
TST 440B
|
Грузоподъемность
4,1 т Высота подъема 1920 мм Время подъема 45 сек Время опускания 45 сек
|
5,32х3,2х2,5
|
17,02
|
17,02
|
|
Верстак
|
4
|
Верстак одно-тумбовый
|
Верстак
с одной тумбой. Тумба с 5 ящиками.
|
1,39х0,69х0,85
|
0,96
|
3,84
|
|
Набор
инструментов
|
4
|
Станко-импорт CS-TK139PMQ
|
139
предметов
|
-
|
-
|
-
|
|
Пневмогайко-вёрт
|
4
|
Chicago pneuma-tic CP7749
|
Посадочный
размер 1/2" Рабочее усилие 102-785 Нм Максимальное усилие 983 Нм Расход
воздуха 540 л/мин Число оборотов 9000 об/мин
|
-
|
-
|
-
|
|
Точильный
станок
|
1
|
Sturm BG60202
|
Рабочее
напряжение, 220В. Мощность электромотора, 400 Вт. Частота вращения 2950
об/мин Диаметр шлифовального круга 200 мм
|
0,52х0,32х0,31
|
0,17
|
0,17
|
|
Балансировочный
стенд
|
1
|
AE&T BL520
|
Максимальный
диаметр колеса 960 мм, Время измерения 7-8 с, Ширина диска 38-510 мм,
скорость вращения до 200 об/мин, мощность 0,75 кВт
|
0,92х0,76х1,23
|
0,7
|
0,7
|
|
Шиномонтажный
стенд
|
1
|
AE&T 810
|
Внутренний
зажим диска 12"-22", Внешний зажим диска 10"-17",
Максимальный диаметр колеса 1040 мм, Ширина колеса 355 мм, Давление воздуха
до 8 атм, Мощность 0,55 кВт
|
0,96х0,76х0,88
|
0,73
|
0,73
|
|
Аппарат
высокого давления
|
2
|
Portotec-nica OPTIMA-H D1310P M
|
Давление
130 бар Производительность 300-600 л/ч Макс. температура воды (пара) 140°C
Расход топлива 4 кг/ч Мощность 3,3 кВт
|
1,05х0,75х0,9
|
0,79
|
1,58
|
|
Пеногенератор
|
2
|
Portotec-nica SCO 50
|
Макс.
давление 8 бар Объем 50 л Вес 16 кг
|
0,2*0,2*0,9
|
0,04
|
0,08
|
|
Шкаф
гардеробный
|
7
|
Верста-кофф ШМ-22/800 105104
|
-
|
0,8х0,5х1,8
|
0,4
|
2,8
|
|
|
|
|
|
|
|
|
Площадь зоны ТО и ТР зависит от вида и
расстановки постов, которые могут быть прямоточными, тупиковыми прямоугольными
и тупиковыми косоугольными, а также от расстановки оборудования, нормируемых
расстояний между автомобилями на постах, между автомобилями и элементами здания
или оборудования и ширины проезда в зонах.
Расположение постов под углом к оси проезда
более удобно для заезда на них автомобилей и несколько сокращает ширину проезда.
Однако при этом удельная площадь здания, занимаемая таким постом, будет больше,
чем у тупикового прямоугольного, что иногда имеет существенное значение при
принятии планировочного решения.
В проектируемом сервисном центре схема
расстановки постов тупиковая прямоугольная.
.8 Расчет площадей производственных участков
Площади производственных участков рассчитываются
по площади помещения, занимаемой оборудованием в плане, и коэффициенту
плотности его расстановки, т.е.:

, (2.19)
где 
- коэффициент плотности
оборудования (табл. 10);

- площадь, занимаемая оборудованием
в плане, м2.
Участок ТО и ТР:

м2
Участок УМР:

,
где 
- площадь горизонтальной проекции
автомобиля,

- число постов УМР,

м2
Таблица 10. Коэффициенты плотности расстановки
оборудования.
|
№
п/п
|
Производственные
зоны, цеха, участки
|
Коэффициент
плотности
|
|
1
|
Слесарно-механический,
медницкий, аккумуляторный, электротехнический, ремонта приборов системы
питания, обойный, малярный
|
3…4
|
|
2
|
Агрегатный,
шиномонтажный, ремонта оборудования и инструмента
|
3,5…4,5
|
|
3
|
Сварочный,
жестяницкий, арматурный, зона ТО и ТР
|
4…5
|
|
4
|
Кузнечно-рессорный
|
4,5…5,5
|
|
5
|
Складские
помещения
|
2,5
|
Уточним рассчитанные величины площади по
фактической расстановке оборудования в плане с учетом рекомендуемых расстояний
().
Все результаты расчетов площадей и уточнения по
расстановке оборудования представлены в сводной таблице площадей
производственных помещений (табл. 11).
Таблица 11. Сводная таблица площадей
производственных помещений.
|
Наименование
|
Кол-во
|
Площадь,
м2
|
|
|
расчетная
|
принятая
по планировке
|
|
Участок
ТО и ТР
|
1
|
319,2
|
348,39
|
|
Участок
УМР
|
1
|
85,23
|
85,28
|
|
Склад
|
1
|
25,53
|
26,14
|
Полная схема первого этажа приведена на рисунке
5.
Рис. 5. План первого этажа.
Условные обозначения:
- участок ТО и ТР
- участок УМР
- складские
помещения.
.8 Расчет площадей складов и стоянок и
административно-бытовых помещений
Площадь технических помещений принимаем из
расчета 7% от производственной площади

м2
Складские помещения принимаем из
расчета 8% от производственной площади

м2
Бытовые помещения определяем исходя
из общей численности работающих на СТО и площади 4м2 на одного
работающего:

м2
Площадь зоны для клиентов принимаем
из расчета 4 м2 на один рабочий пост.

м2
Площадь стоянки для автомобилей ожидающих
постановки на посты ТО и ТР:

м2
Площадь стоянки для готовых к выдаче
автомобилей:

м2
Площадь стоянки для клиентов и
персонала

м2
К бытовым помещениям относятся
раздевалки, душевые, умывальные комнаты, туалеты, места для курения, комнаты
отдыха персонала и так далее.
Расчет площади:
- умывальной комнаты
На один кран умывальной комнаты не более 10
человек. Следовательно, необходим 1 кран. Площадь пола на один умывальный кран
0,7 м2.

м2
- душевой комнаты
На одну душевую кабину не более 10 человек.
Следовательно, необходимо 1 душевая кабина. Площадь с учетом раздевалки на один
душ не более 2 м2. Площадь душевой кабины принимаем 2 м2.

м2
- туалет
Один туалет не более чем на 10 человек.
Следовательно, необходим 1 туалет. Размеры кабины туалета 1х1,2 м.

м2
- гардероб
Число шкафчиков принимаем равным 8. Площадь пола
на один шкафчик 1 м2.

м2
- комната отдыха

м2
3. Конструкторская часть. Технологическая схема
очистки сточных вод СТО
.1 Общие требования к схеме
Выбор схемы очистки стоков мойки автомобилей
зависит от следующих факторов:
·
количество,
состав и свойства сточных вод;
·
возможность
их достаточной очистки для повторного использования;
·
схема
очистки стоков мойки должна обеспечивать полный водооборот очищаемых стоков и
исключать сброс воды на грунт и в окружающую среду;
·
извлечение
поступающих примесей или их нейтрализация с целью полного использования воды в
оборотном водоснабжении, исключая накопления нежелательных для мойки легковых
автомобилей солей, механических примесей, запахов, нефтепродуктов, то есть
песка, илистых и глинистых частиц, масла, солидола, нигрола, керосина и
бензина.
.2 Образование сточных вод
На мойке легковых автомобилей образуются стоки,
содержащие следующие виды загрязнений:
·
коллоидные
и взвешенные вещества минерального и органического происхождения;
·
загрязнения
нефтяного и масляного происхождения от мойки автомобилей.
3.3 Необходимая степень очистки сточных вод
Состав сточных вод и их свойства зависят от
времени года, состояния дорог, технического состояния автомобиля, а также
качества и продолжительности мойки. При заданном количестве воды на мойку
одного автомобиля в 200 л состав стоков может значительно колебаться по
взвешенным веществам, эфирорастворимым, цветности и жесткости.
Учитывая данное положение, система очистки
должна обладать большими резервами для достижения необходимого качества при
экстремальных значениях загрязнения стоков. Нормативные требования к качеству
воды, используемой для мытья легковых автомобилей в системе автотранспортных
предприятий по «Укрупненным нормам водопотребления и водоотведения для
различных отраслей промышленности» указаны в табл. 12.
Таблица 12. Нормативные требования к качеству
воды.
|
Показатели
|
Ед.
из.
|
Вода,
используемая для мойки
|
|
Температура
|
не
нормируется
|
|
Взвешенные
вещества
|
мг/л
|
40
|
|
Эфирорастворимые
|
мг/л
|
15
|
|
Запах
|
балл
|
до
3
|
|
pH
|
-
|
7.2
- 8.5
|
|
Жесткость
карбонатная
|
мгэкв/л
|
-
|
|
Щелочность
общая
|
мгэкв/л
|
до
10
|
|
Сухой
остаток
|
мг/л
|
до
2000
|
|
Cl-
(хлориды)
|
мг/л
|
до
350
|
|
SO42-
(сульфаты)
|
мг/л
|
до
500
|
|
Feобщ.
|
мг/л
|
до
4
|
|
Окисляемость
перманганатная
|
мг
О/л
|
до
15
|
|
БПКполн.
|
мг
О2/л
|
до
20
|
|
Биогенные
элементы
|
мг/л
|
не
нормируется
|
|
Мешающие,
токсичные, возгораемые вещества, выделяющиеся при нагревании с образованием
огня и взрывоопасных смесей
|
|
не
допускаются
|
Необходимая степень очистки:
1. Взвешенные
вещества, не более 40 мг/л.
2. Нефтепродукты,
не более 15 мг/л.
3. Вода
не должна иметь на поверхности пленку нефтепродуктов и масел.
4. Вода
не должна оставлять солевых пятен на поверхности автомобиля после обдува с
целью сушки корпуса.
5. Вода
не должна содержать абразивных веществ, вызывающих повреждение лакокрасочного
покрытия автомобиля и стекол.
.4 Выбор способа очистки и технологического
оборудования для сточных вод
На станции технического обслуживания с двумя
автомоечными постами необходимо установить очистное сооружение с замкнутым
водооборотом, обеспечивающее высокое качество воды, механизацию удаления и
сбора грязевых осадков, автоматизацию процесса очистки воды. (рисунок 6.).
.5 Расчет показателей очистки воды для выбранной
схемы
Масса извлеченного загрязнителя определяется по
формуле:
= Q×(Сн - Ск),
(4.1)= Q×(Сн
- Ск)
где Q - расход воды в год, м3
Сн - концентрация загрязнителя в
сточной воде, г/ м3
Ск - концентрация загрязнителя в
очищенной воде, г/ м3
Расход воды взят с пропускной способностью
автомойки в 30 автомобилей в сутки и расходом воды в 200 литров на автомобиль=
1494 м3
Для нефтепродуктов Сн=188 г/ м3.
Для взвешенных веществ Сн=1954 г/ м3.
Для нефтепродуктов Ск=0.5 г/ м3.
Для взвешенных веществ Ск=15 г/ м3.
Масса извлеченных взвешенных веществ
Мв.в. = 1494×(1954-15)
= 0.29 т
Рис. 6. Схема очистного сооружения
СВ - сточная вода; ОВ - очищенная
вода. 1 - емкость; 2 - песколовка; 3 - гидроциклон; 4 - фильтр грубой очистки;
5 - фильтр тонкой очистки; 6 - емкость очищенной воды; 7 - шламосборник; 8 -
маслосборник.
Рис. 7. Схема вертикальной
песколовки
- подача сточной воды; 2 -
гидроэлеватор; 3 - отвод очищенной воды.
.6 Расчет основного оборудования
Описание схемы.
Производительность выбранной
установки от 3 до 40 м3/час. Поскольку пропускная способность 40
машин в сутки, достаточно будет производительности 3м3/час.
Схема содержит следующие элементы:
1. Емкость
для сточной воды.
2. Вертикальная
песколовка с пневмовыбросом.
3. Многоярусный
гидроциклон.
4. Фильтр
грубой очистки с плавающей загрузкой из пенопропилена.
5. Фильтр
тонкой очистки с загрузкой из сипрона.
6. Емкость
чистой воды.
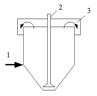
Вертикальная песколовка.
В вертикальной песколовке (рисунок 7) длина пути
воды равна высоте цилиндрической части от места ввода сточных вод внизу до
уровня, с которого отводится вода из песколовки. Длительность протекания воды
через эту зону составляет 2 - 2.5 минуты. Скорость восходящего 0.02 - 0.05 м/с.
Днище песколовки должно иметь угол конусности больше 60°
для обеспечения самопроизвольного сползания осевшего песка. Осевший песок
удаляют без остановки песколовки гидроэлеватором, эрлифтом или грейфером. Время
пребывания воды в песколовке составляет 2 - 3.5 минуты.
Диаметр цилиндрической части D=1000 мм.
Соотношение длины и диаметра L:D »
1:1.
Длина цилиндрической части L=1020 мм.
Угол конусности цилиндрической части a=60°.
Глубина цилиндрической части H=470 мм.
Расчет многоярусного гидроциклона.
Многоярусные гидроциклоны используют для
интенсификации процесса очистки. В них рабочий объем разделен на отдельные
ярусы свободно вставленными коническими диафрагмами. Вследствие этого высота
слоя отстаивания уменьшается. Вращательное движение позволяет полнее
использовать объем яруса и способствует агломерации взвешенных частиц. Каждый
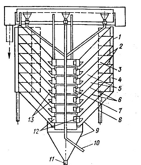
ярус гидроциклона работает самостоятельно. Гидроциклон (рисунок 8) имеет
устройство для удаления всплывающих примесей.
Расход сточных вод до 3 м3/час.
Циклон установлен на второй ступени очистки, концентрация взвесей в исходной
воде составляет 800 - 1200 мг/л. В очищенной воде содержание примесей не должно
превышать 150 мг/л. Гидроциклон должен задерживать частицы гидравлической
крупностью 0.2мм/с.
Принимаем многоярусный гидроциклон с
периферийным отбором очищенной воды.
Задаемся следующими параметрами гидроциклона
D=2м; диаметр центрального отверстия верхней диафрагмы прямоточного яруса dd
= 0.6м; высота ярусов hti = 0.1м.
Рассчитываем удельную гидравлическую нагрузку,
приходящуюся на 1 ярус гидроциклона.
(4.2)
где b - ширина периферийной щели для
отвода очищенной воды,
- гидравлическая крупность
К - коэффициент использования объема
яруса, k = 0.4
Зная диаметр аппарата (Dhc = 2 м),
определим расход воды, который может подаваться на один ярус:
Определим количество ярусов.
Рис. 8. Многоярусный гидроциклон
Высоту цилиндрической части
определим, исходя из количества ярусов.= 2000×h×n+400 = 2000×0,1×2+400 = 800мм
Назначаем остальные размеры:
·
количество
впусков - 3;
·
угол
конической части - 60°;
·
угол
конуса диафрагмы - 70°;
·
диаметр
центрального отверстия - dd = 0.6м;
·
высота
ярусов h = 0.1м;
·
зазор
между корпусом и диафрагмой - DD = 0.1м;
·
скорость
потока на входе - v = 0.3 м/с;
·
высота
водосливной стенки - H2=0.5м.
Расчет фильтра грубой очистки.
Расчет фильтров выполняют, исходя из
производительности.
Общая площадь фильтрования F, м2,
приближенно определяется по формуле
. (4.3)
где Q - производительность фильтра
по осветленной воде, м3/ч, Q=3 м3/ч
a
- коэффициент, учитывающий расход осветленной воды на промывку, a принимает значения от 1.03
до 1.1 в зависимости от числа промывок в сутки (1 - 2 раза). Промывка фильтра
грубой очистки осуществляется 1 раз в день. Принимаем a=1.03.
wн - скорость фильтрования при
нормальном режиме работы фильтра, м/ч, принимаем wн=10 м/ч.
Подставляя указанные значения в
формулу для F, получим
.
Скорость фильтрования при нормальном
режиме работы фильтров определяется по формуле
. (4.4)
где q - среднечасовой расход воды на
промывку фильтра, м3/ч.- площадь фильтрования стандартного фильтра,
м2. Принимается по таблице.
Среднечасовой расход воды на
промывку определяется по формуле
, (4.5)
где d - расход воды на одну промывку
фильтра, м3; r - число промывок в сутки.
Расход воды на одну промывку фильтра
определяется по формуле
, (4.6)
где i - интенсивность взрыхления,
;-
продолжительность взрыхляющей промывки, принимается по таблице.
Расход воды на одну промывку
.
Среднечасовой расход воды на
промывку
.
Скорость фильтрования
.
Скорость фильтрования не превышает
допустимую (10 - 12 м/ч), следовательно выбираем фильтр с площадью фильтрования
f=0,29 м2 и диаметром Dу=700 мм.
Схема работы осветительного,
вертикального однокамерного фильтра указана на рис. 9.
Рис. 9. Схема работы фильтра грубой
очистки:
- подвод обрабатываемой воды; 2 -
вывод обработанной воды; 3 - подвод промывной воды; 4 - вывод промывной воды.
4. Безопасность жизнедеятельности
.1 Общая характеристика безопасности
СТО
Требования к безопасности
производственного оборудования и производственных процессов установлены в
системе стандартов безопасности труда (ГОСТ 12.2.003-91, ГОСТ 12.2.049-80, ГОСТ
12.2.061-81, ГОСТ 12.2.064-81 и др.), а также в строительных нормах и правилах
(СНиП).
Для обеспечения безопасности человека,
надежности и удобства эксплуатации производственного оборудования необходимо:
обеспечение безопасности персонала при монтаже,
вводе в эксплуатацию и эксплуатации оборудования;
использование органов управления и отображения
информации, соответствующих эргометрическим требованиям и расположенным таким
образом, чтобы не вызывать повышенную утомляемость и негативно психологическое
воздействие;
использование системы управления оборудованием,
обеспечивающим надежное и безопасное ее функционирование на всех режимах работы
и при всех внешних воздействиях в условиях эксплуатации оборудования.
ГОСТ 12.2.003-74 «ССБТ. Оборудование
производственное. Общие требования безопасности» установлено, что безопасность
обеспечивается: выбором более безопасного оборудования; применением в
конструкции средств защиты, механизации, автоматизации и дистанционного
управления; соблюдением эргономических требований.
Требования к производственному оборудованию,
обеспечивающие его безопасную эксплуатацию, определены положением «ПОТ Р
О-14000-002-98. Обеспечение безопасности производственного оборудования».
Безопасность производственных процессов
определяется в соответствии с ГОСТ 12.3.002-75 «ССБТ. Процессы производственные.
Общие требования безопасности» и обеспечивается: безопасностью
производственного оборудования; выбором более безопасного технологического
процесса; устранением непосредственного контакта работающих с материалами и
отходами, оказывающими вредное действие; выбором производственной площадки и
производственных помещений; применением средств защиты работающих;
профессиональным отбором, инструктированием, обучением и проверкой знаний по
охране труда.
Производственные процессы соответствуют пожаро-
и взрывобезопасности, и не загрязняют окружающую среду.
При необходимости предъявляются дополнительные
требования к персоналу: по возрасту; медицинскому осмотру; обучению и др.
Необходимо при производстве работ, особенно
повышенной опасности, учитывать и требования ГОСТ 12.2.012-89 «ССБТ.
Приспособления по обеспечению безопасного производства работ», определяющего
требования к настилам, ограждениям, лестницам и др.
Главным отраслевым нормативным документам по
охране труда на предприятиях предоставляющих услуги по техническому
обслуживанию и ремонту автомобилей являются «Правила по охране труда на
автомобильном транспорте» Постановление Министерства труда и соцразвития РФ от
12.05.2003 г. №28.
Все операции по техническому обслуживанию и
ремонту автомобилей производятся на специально отведенных местах (постах),
оснащенных необходимыми устройствами, приборами и приспособлениями, инвентарем
согласно табелю технологического оборудования. Автомобили, перед направлением
на посты ТО и ТР, проходят мойку. Постановкой автомобилей на посты ТО и ТР
руководит мастер или начальник участка.
В помещении ТО и ТР установлено устройство
сигнализации (световой, звуковой и т.д.), своевременно предупреждающей
работающих на линии обслуживания (в осмотровых канавах, на эстакадах и т.д.) о
моменте начала перемещения автомобиля с поста на пост. Перед проведением работ,
связанных с проворачиванием коленчатого и карданного валов, необходимо
дополнительно проверить выключение зажигания (перекрытие подачи топлива),
нейтральное положение рычага переключения передач, освободить рычаг стояночного
тормоза. После выполнения необходимых работ автомобиль следует затормозить
стояночным тормозом.
При вывешивании части автомобиля подъемными
механизмами (домкратами, талями и т.д.), кроме стационарных, необходимо вначале
подставить под не поднимаемые колеса специальные упоры (башмаки), затем
вывесить автомобиль, подставить под вывешенную часть козелки и опустить на них
автомобиль.
Для снятия и установки деталей, узлов и
агрегатов массой 15 кг и более (для женщин 10 кг и более) необходимо
пользоваться подъемно-транспортными механизмами, оборудованными специальными
приспособлениями (захватами). Тележки для транспортирования должны иметь стойки
и упоры, предохраняющие агрегаты от падения и самопроизвольного перемещения по
платформе. Перед снятием узлов и агрегатов системы питания, охлаждения и смазки
автомобиля, когда возможно вытекание жидкости, необходимо предварительно слить
из них топливо, масло и охлаждающую жидкость в специальную тару, не допуская их
проливания.
В зоне ТО и ТР автомобилей запрещается:
протирать автомобиль и мыть агрегаты
легковоспламеняющимися жидкостями (бензином, растворителями и т.д.);
хранить легковоспламеняющиеся жидкости и горючие
материалы;
заправлять автомобили топливом;
хранить чистые обтирочные материалы вместе с
использованными;
загромождать проходы между стеллажами и выходы
из помещений материалами, оборудованием, тарой, снятыми агрегатами и т.п.;
хранить отработанное масло, порожнюю тару из-под
топлива и смазочных материалов;
работать лежа на полу без лежака;
выполнять какие-либо работы на автомобиле,
вывешенном только на одних подъемных механизмах (домкратах, талях и т.п.),
кроме стационарных;
подкладывать под вывешенный автомобиль вместо
козелков диски колес, кирпичи и другие случайные предметы;
снимать и ставить рессоры на автомобилях всех
конструкций и типов без предварительной их разгрузки от массы кузова путем
вывешивания кузова с установкой козелков под него или раму автомобиля;
проводить ТО и ТР автомобиля при включенном
двигателе, за исключением отдельных видов работ, технология проведения которых
требует пуска двигателя;
поднимать (вывешивать) автомобиль за буксирные
приспособления;
работать на неисправном оборудовании, а также с
неисправными инструментами и приспособлениями;
Помещение для ТО и ТР автомобилей и агрегатов
обеспечивает безопасное и рациональное выполнение всех технологических операций
при соблюдении санитарно-гигиенических условий труда и оборудуется
автоматической пожарной сигнализацией; в производственных помещениях пол ровный
и прочный, имеет покрытие с гладкой, но не скользкой поверхностью, удобной для
очистки. Для работы с аккумуляторами предусмотрено отдельное помещение (для
зарядки). Посты для ТО и ТР автомобилей, где по технологии предусматривается обязательная
работа двигателя, оборудованы местными отсосами. Рабочие места и площадки
(эстакады), расположенные на высоте 1 м и более имеют ограждения, высотой не
менее 0,9 м.
Пост мойки автомобилей отделяется от других
постов глухими стенами с пароизоляцией и водоустойчивым покрытием.
Створчатые ворота въездов и выездов
производственных помещений открываются наружу, а для въезда на территорию
предприятия и выезда с нее - внутрь. Подъемные ворота оборудованы ловителями
(фиксаторами), обеспечивающими удержание ворот в поднятом положении при обрыве
тросов или порче механизмов подъема и спуска.
Наружные ворота в основные производственные
помещения предприятия оборудованы тепловой завесой. Въезды в производственные
помещения не имеют порогов и выступов. Въездной уклон не более 5 %.
Помещения для хранения автомобилей не сообщаются
с другими производственными и вспомогательными помещениями, где постоянно
находятся люди. Температура в помещениях не ниже + 5°С. Высота помещения - не
менее 2 м. Пол ровный и твердый, имеет уклон в сторону лотков. Вдоль стен, где
устанавливаются автомобили, предусматривается колесоотбойное устройство.
Помещения имеют естественное проветривание и механическую приточно-вытяжную
вентиляцию.
Склады и кладовые размещаются в специально
отведенных помещениях. Стеллажи в складах прочные, устойчивые и крепятся к
конструкциям зданий. Проходы между стеллажами не менее 1 м. Склады обеспечены
специальными подставками для установки на них агрегатов при их хранении.
.2 Анализ опасных и вредных производственных
факторов
На здоровье и работоспособность человека в
процессе труда оказывает влияние совокупность факторов производственной среды и
трудового процесса.
Вредный производственный фактор - фактор среды и
трудового процесса, который вызывает профессиональную патологию, временное или
стойкое снижение работоспособности, повышает частоту соматических и
инфекционных заболеваний.
Опасный производственный фактор - фактор среды и
трудового процесса, который является причиной острого заболевания или внезапного
ухудшения здоровья, смерти.
В соответствии с ГОСТ 12.0.003-74 «ССБТ. Опасные
и вредные производственные факторы. Классификация (с изменением №1)» опасные и
вредные производственные факторы подразделяются на: физические, химические,
биологические и психофизиологические.
К физическим опасным и вредным производственным
факторам на СТО относятся:
подвижные части оборудования;
движущиеся машины и механизмы;
повышенная или пониженная температура воздуха;
повышенная или пониженная температура
поверхности оборудования, материалов;
повышенная запыленность и загазованность
воздуха;
повышенная или пониженная влажность и
подвижность воздуха;
повышенный уровень статического электричества;
повышенный уровень электромагнитных излучений;
повышенная напряженность электрического и
магнитного поля;
повышенный уровень шума, вибрации, ультразвука и
инфразвука;
отсутствие или недостаток естественного и
искусственного освещения;
недостаточная освещенность рабочей зоны;
острые кромки, заусеницы и шероховатости на
поверхностях заготовок инструментов и оборудования.
К химическим опасным и вредным производственным
факторам на СТО относятся:
. по характеру воздействия на организм человека:
токсические;
раздражающие;
сенсибилизирующие;
канцерогенные;
мутагенные.
. по способу проникновения в организм человека:
органы дыхания;
желудочно-кишечный тракт;
кожные покровы и слизистые оболочки.
К биологическим опасным и вредным
производственным факторам на СТО относятся биологические объекты:
патогенные микроорганизмы (бактерии, вирусы,
простейшие) и продукты жизнедеятельности;
микроорганизмы-продуценты;
белковые препараты.
К психофизиологическим опасным и вредным
производственным факторам на СТО относятся:
физические перегрузки, характеризующие тяжесть
труда (статические: рабочая поза, наклоны корпуса, перемещение в пространстве,
и динамические: масса поднимаемого и перемещаемого груза, стереотипные рабочие
движения);
нервно-психические перегрузки, характеризующие
напряженность труда (умственное перенапряжение, перенапряжение анализаторов,
эмоциональные нагрузки, монотонность труда и режим работы).
В соответствии с приложением №1 СанПиН
2.2.4.548-96 «Гигиенические требования к микроклимату производственных
помещений» работы, выполняемые автослесарем, относятся к категории тяжести IIб.
Анализ опасных производственных факторов на
рабочем месте автослесаря представлен в таблице 13.
Таблица 13. Анализ опасных производственных
факторов
|
Наименование
работ, создающих опасность
|
Вид
воздействия опасного фактора на человека
|
Мероприятия
и средства защиты
|
|
1
|
2
|
3
|
|
1.Работа
со слесарным оборудованием (тиски, пресс напольный и т.д.)
|
Механический
(травма рук, порезы)
|
Соблюдение
правил эксплуатации оборудования
|
|
2.Разборка
и сборка различных узлов и агрегатов автомобиля
|
Механический
(травмы, ушибы, порезы)
|
Использование
спецодежды, рукавиц
|
|
3.Обслуживание
автомобиля с использованием гидравлического подъемника
|
Механический
(травмы рук и ног)
|
Соблюдение
правил эксплуатации оборудования
|
|
4.Обслуживание
автомобиля с использованием электроинструмента (дрель, переноска)
|
Электрический
(удар электрическим током)
|
Соблюдение
правил техники безопасности, изолирование токоведущих частей
|
Анализ вредных производственных факторов на
рабочем месте автослесаря с категорией тяжести IIб
представлен в таблице 14.
Таблица 14. Анализ вредных производственных
факторов
|
Наименование
фактора
|
Величина
показателя по нормам
|
Влияние
на жизнедеятельность человека
|
Мероприятия
и средства защиты
|
|
1
|
2
|
3
|
4
|
|
1.Температура
воздуха в рабочей зоне, ˚С: холодный период, теплый период
|
17-19; 19-21
|
Простудные
заболевания, перегрев организма
|
Для
защиты от повышенной или пониженной температуры воздуха рабочей зоны и его
влияния на персонал применяются термоизоляционные материалы, рабочим выдается
спецодежда, использование кондиционеров и тепловых завес
|
|
2.Относительная
влажность, φ: холодный период,
теплый период
|
40-60; 40-60
|
Переохлаждение,
перегрев организма, пересыхание слизистых оболочек дыхательных путей,
снижение трудоспособности, нарушение процесса терморегуляции
|
Кондиционирование
естественная вентиляция, искусственная вентиляция
|
|
3.Скорость
движения воздуха, м/с: холодный период, теплый период
|
0,2; 0,2
|
Простудные
заболевания
|
Естественная
вентиляция, искусственная вентиляция
|
|
4.Уровень
общей вибрации, дБ
|
70
|
Нарушения
физиологических функций организма, связанными с поражением центральной
нервной системы
|
Использование
упругодемпфирующих материалов, нанесение на вибрирующую поверхность резины,
пластиков, вибропоглощающих мастик
|
|
5.Уровень
шума,
дБ
|
65
|
Снижение
слуховой чувствительности, сердечно-сосудистая недостаточность, заболевания
желудочно-кишечного тракта
|
Изоляция
источника шума от окружающей среды (применение глушителей, экранов,
звукопоглощающих строительных материалов)
|
|
6.Освещенность
рабочей зоны, лк
|
200
|
Ухудшение
видимости, дискомфорт, напряжение нервной системы, утомление, снижение зрения
|
Равномерное
и достаточное освещение
|
|
7.Концентрация
металлической пыли (Fe)
в воздухе рабочей зоны, мг/м3
|
6
|
Заболевание
дыхательной системы
|
Исправная
вентиляция, уборка рабочих мест.
|
В целях профилактики неблагоприятного
воздействия микроклимата используются защитные мероприятия:
организация принудительного воздухообмена в
соответствии с требованиями нормативных документов (кондиционирование, тепловые
завесы);
компенсация неблагоприятного воздействия одного
показателя микроклимата изменением другого;
применение спецодежды и средств индивидуальной
защиты (СИЗ), организация специальных помещений с динамическими параметрами
микроклимата (комнаты для обогрева, охлаждения);
регламентация режимов труда и отдыха (сокращенный
рабочий день, регламентированное время для обогрева и др.);
правильная организация систем отопления и
воздухообмена.
К мерам защиты от вибрации относятся:
снижение вибрации в источнике возникновения
точной балансировкой вращающихся частей и изменением резонансной частоты
системы;
виброгашение, путем установления механизмов на
фундаменты и применение динамических виброгасителей;
виброизоляция, препятствующая передаче вибрации
от источника (механизма);
использование СИЗ и спецодежды.
В целях снижения уровня шума принимаются меры
по:
снижение шума в источнике;
звукоизоляция помещений и оборудования;
антифоны, беруши, противошумные шлемы.
При полном выполнении мероприятий, приведенных в
таблице 14, на СТО обеспечиваются безопасные условия для проведения работ,
исключающие вредные воздействия на персонал.
.3 Расчет искусственного освещения
Расчёт искусственного освещения зоны ТО и ТР.
Исходные данные:
Так как разряд зрительной работы пятый, то
нормативная освещенность Ен=200 лк. (определяется согласно СНиП
23-05-95).
Разобьем площадь на 2 участка
Участок 1:
Площадь 
м2
Длина помещения 
м
Ширина помещения 
м
Высота помещения 
м
Источник света - люминесцентная
лампа ЛХБ-80
Тип светильника - ОД (открытый
дневного света)
Число ламп в светильнике 
Количество светильников определим по
следующей формуле:

,
где 
- нормируемая освещенность, лк;
S -
площадь помещения, м2;

- коэффициент запаса, 
Z -
коэффициент, учитывающий неравномерность освещения поверхностей, расположенных
под светильниками и между ними (для ламп накаливания 0,8 - 0,9, для
газоразрядных ламп 1,1 - 1,2). Принимаем 
;

- световой поток лампы, лм;

- коэффициент использования
светового потока, в долях единицы;

- количество ламп в светильнике.
Коэффициент использования светового
потока 
Для его определения необходимо
знать коэффициенты отражения света от потолка 
и стен 
, а также индекс помещения 
.
Коэффициенты отражения света от
потолка 
и стен 
определяем ориентировочно
(субъективно). Для помещений со светлыми потолками и стенами принимаются
большие значения, для темных - меньшие. Принимаем 
, 
.
Индекс помещения 
равен:

,
где 
- длина помещения, м;

- ширина помещения, м;

- расчетная высота подвеса
светильников над рабочей поверхностью, м, определяемая по формуле:

,
где 
- высота помещения, м;

- высота рабочей поверхности от
пола, м;

- расстояние от потолка до нижней
кромки светильника (свес), м, рассчитываемое по формуле:

,

м

м

Зная 
, 
и 
находим для светильника ОД
коэффициент использования по таблице 15
Таблица 15


светильник
Мощность осветительной установки:

,
где 
- мощность лампы, Вт.

Вт
Участок 2:
Исходные данные:
Так как разряд зрительной работы
пятый, то нормативная освещенность Ен=200 лк. (определяется согласно
СНиП 23-05-95).
Площадь 
м2
Длина помещения 
м
Ширина помещения 
м
Высота помещения 
м
Источник света - люминесцентная
лампа ЛХБ-80
Тип светильника - ОД
Число ламп в светильнике 


м

Зная 
, 
и 
находим для светильника ОД
коэффициент использования:

%

светильников
Мощность осветительной установки:

Вт
Расчёт искусственного освещения
участка УМР.
Исходные данные:
Так как разряд зрительной работы
пятый, то нормативная освещенность Ен=200 лк. (определяется согласно
СНиП 23-05-95).
Площадь 
м2
Длина помещения 
м
Ширина помещения 
м
Высота помещения 
м
Источник света - люминесцентная
лампа ЛХБ-80
Тип светильника - ПВЛП
(пылезащищенный водонепроницаемый)
Число ламп в светильнике 


м

м

Зная 
, 
и 
находим для светильника ПВЛП
коэффициент использования:

%

светильников
Мощность осветительной установки:

Вт
Расчёт искусственного освещения
склада.
Исходные данные:
Так как разряд зрительной работы
пятый, то нормативная освещенность Ен=200 лк. (определяется согласно
СНиП 23-05-95).
Площадь 
м2
Длина помещения 
м
Ширина помещения 
м
Высота помещения 
м
Источник света - люминесцентная
лампа ЛХБ-30
Тип светильника - ОД (открытый
дневного света)
Число ламп в светильнике 


м

м

Зная 
, 
и 
находим для светильника ОД
коэффициент использования:

%

светильников
Мощность осветительной установки:

Вт
Число светильников, необходимое для
освещения остальных помещений сервисного центра приведены в таблице 16.
Таблица 16. Число светильников.
|
Наименование
помещения
|
Нормируемая
освещенность, лк
|
Число
светильников
|
Тип
светильника
|
Число
ламп в светильнике
|
Тип
лампы
|
Мощность
осветительной установки, Вт
|
Высота
подвеса, м
|
|
Участок
ТО и ТР
|
200
|
27
|
ОД
|
2
|
ЛХБ-80
|
4320
|
4,6
|
|
Участок
мойки
|
200
|
11
|
ПВЛП
|
2
|
ЛХБ-80
|
1920
|
4,6
|
|
Склад
|
200
|
7
|
ОД
|
2
|
ЛХБ-30
|
420
|
3,9
|
|
Комната
отдыха рабочих
|
200
|
3
|
ОД
|
2
|
ЛХБ-40
|
240
|
2,9
|
|
Клиентская
|
200
|
5
|
ОД
|
2
|
ЛХБ-30
|
300
|
3,9
|
|
Раздевалка
|
200
|
3
|
ОД
|
2
|
ЛХБ-40
|
240
|
2,9
|
|
Административное
помещение
|
200
|
2
|
ОД
|
2
|
ЛХБ-40
|
160
|
2,9
|
|
Душевая
комната
|
200
|
1
|
ПВЛП
|
2
|
ЛХБ-30
|
60
|
2,9
|
|
Коридор
второго этажа
|
75
|
2
|
ОД
|
2
|
ЛХБ-30
|
120
|
2,9
|
|
Электрощитовая
|
75
|
1
|
ОД
|
2
|
ЛХБ-40
|
80
|
3,9
|
|
Компрессорная
|
75
|
1
|
ОД
|
2
|
ЛХБ-40
|
80
|
3,9
|
|
Коридор
первого этажа
|
75
|
1
|
ОД
|
2
|
ЛХБ-30
|
60
|
3,9
|
|
Помещение
для очистной установки
|
75
|
2
|
ПВЛП
|
2
|
ЛХБ-40
|
80
|
3,9
|
|
Итого:
|
-
|
-
|
-
|
-
|
-
|
8080
|
-
|
Схема светильников приведена на рисунке 10.
4.4 Электробезопасность
Действующие на СТО электроустановки
эксплуатируются согласно следующим основным нормативным документам:
МПОТ (ПБ) ЭЭУ - Межотраслевые правила по охране
труда (правила безопасности) при эксплуатации электроустановок. ПОТРМ-016-2001.
РД 153-34.0-03.150 - 2000. Утверждены Министерством труда от 05.01.01 № 3 и
Министерством энергетики РФ от 27.12.2000 № 163.
ПТЭЭП - Правила технической эксплуатации
электроустановок потребителей. Приказ Минэнерго РФ от 13.01.03 № 6.
ПУЭ - Правила устройства электроустановок.
Приказ Минэнерго РФ от 20.06.2003 №242.
Требования, содержащиеся в нормативных
документах, распространяются на весь персонал СТО, работающий с
электрооборудованием, организующий и выполняющий в электроустановках монтажные
и ремонтные работы, испытания и измерения.
В соответствии с ПТЭЭП (приказ Минэнерго от
13.01.03 №6) для персонала установлено пять групп по электробезопасности.группа
присваивается неэлектротехническому производственному персоналу (обслуживающему
электропечи, ЭВМ и т.д., а так же электротехнический персонал с группой по
электробезопасности II - V, имеющий просроченные удостоверения или не прошедший
проверку знаний).группа присваивается квалификационной комиссией
электротехническому персоналу (обслуживающему установки и оборудование с
электроприводом, передвижные машины и механизмы с электроприводом, работающим с
ручными электрическими машинами и другими переносными электроприемниками и
т.д., практикантам моложе 18 лет не разрешается присваивать группу выше
II).группа присваивается только электротехническому персоналу (допуск к
самостоятельному обслуживанию, осмотру, подключению и отключению
электроустановок от сети напряжением до 1000 В).группа присваивается только
электротехническому персоналу (допуск к обслуживанию электроустановок
напряжением выше 1000 В).группа присваивается лицам, ответственным за
электрохозяйство, и другому инженерно-техническому персоналу (допуск к
обслуживанию электроустановок напряжением выше 1000 В, имеют право отдавать
распоряжения и руководить работами в электроустановках напряжением до 1000 В и
выше 1000 В).
Для обеспечения электробезопасности на СТО
соблюдаются следующие требования:
конструкция производственного
электрооборудования, включает устройство для обеспечения электробезопасности;
оборудование обеспечено защитой от случайного
прикосновения к частям, находящимся под напряжением;
ручки, рычаги и кнопки оборудования не находятся
под напряжением при повреждении изоляции;
шнур питания электрооборудования не подвергается
напряжению и скручиванию, в месте крепления к оборудованию;
двери помещений электроустановок (щитов)
постоянно заперты.
Мероприятия по защите персонала от поражения
электрическим током и средства защиты от электрического тока определены в
нормативных документах.
ГОСТ Р 50571.3-2009 «Электроустановки
низковольтные. Требования для обеспечения безопасности. Защита от поражения
электрическим током» - устанавливает основополагающие требования к защите от
поражения электрическим током людей и животных, включающей в себя основную
защиту и защиту при повреждении, координацию этих требований в соответствии с
внешними воздействиями и требования к применению дополнительной защиты.
ГОСТ EN 50274-2012 «Низковольтные комплектные
устройства распределения и управления. Защита от поражения электрическим током.
Защита от непреднамеренного прямого прикосновения к опасным токоведущим частям»
- распространяется на низковольтные комплектные устройства распределения и
управления с номинальным напряжением не более 1000 в переменного или 1500 в
постоянного тока.
ГОСТ Р 12.1.019-2009 «Система стандартов
безопасности труда. Электробезопасность. Общие требования и номенклатура видов
защиты» - распространяется на электроустановки производственного и бытового
назначения на стадиях проектирования, изготовления, монтажа, наладки, испытаний
и эксплуатации и устанавливает общие требования по предотвращению опасного и
вредного воздействия на персонал электрического тока, а также номенклатуру
видов защиты персонала.
ГОСТ IEC 61140-2012 «Защита от поражения
электрическим током. Общие положения безопасности установок и оборудования» -
устанавливает общие положения по обеспечению защиты людей и животных от
поражения электрическим током и включает в себя основные принципы и требования,
являющиеся общими для электрических установок, систем и оборудования или
необходимыми при их взаимодействии. Стандарт распространяется на электрические
установки, системы и оборудование без ограничения напряжения.
Таблица 17. Электрооборудование.
|
Наименование
электрооборудования
|
Напряжение
электрического тока, В
|
Потребляемая
мощность, кВт
|
Средства
защиты людей
|
|
1.Подъемник
двухстоечный
|
380
|
2,2
|
Заземление,
автоматическое отключение, изолирование токоведущих частей, соблюдение правил
ТБ
|
|
2.Подъемник
четырёхстоечный
|
380
|
2,2
|
Заземление,
автоматическое отключение, изолирование токоведущих частей, соблюдение правил
ТБ
|
|
3.Ручные
электроинструменты
|
-
|
-
|
Двойная
изоляция
|
|
4.Балансировочный
станок
|
220
|
0,75
|
Заземление,
соблюдение ТБ
|
|
5.Шиномонтажный
станок
|
220
|
0,55
|
Заземление,
соблюдение ТБ
|
4.5 Пожарная профилактика
Станция технического обслуживания легковых
автомобилей, согласно, Техническому регламенту о требованиях пожарной
безопасности, Федеральный Закон № 123-Ф3 от 22 июля 2008 г., относится к
категории пожароопасности B-Ia - в которых взрывоопасные смеси горючих газов
или паров ЛВЖ с воздухом могут образовываться только в случае аварий. Все
горючие вещества в сервисном центре находятся на складе.
Наиболее опасными в пожарном отношении являются
посты, поэтому они размещены изолированно от стоянки автомобилей и
административно - бытовых помещений станции. В помещениях для ремонта
автомобилей производится тщательная уборка по окончании каждого рабочего дня.
Разлитое масло и топливо убирается при помощи песка, обтирочные материалы
хранятся в безопасном в пожарном отношении месте поста. Для отдыха и курения
предусмотрена комната отдыха.
В торцах постов имеются огнетушители 2-ОХГ-10 и
2-051-5, а так же щит с пожарным оборудованием, ящик с песком и вывод пожарного
крана в комплекте с рукавами.
ремонт автомобиль трудоёмкость
сточный
5. Организационно-экономическая часть
.1 Определение предельно-необходимых затрат на
организацию сервисного технического центра
Предельно-необходимые затраты рассчитываются по
следующей формуле:

, (6.1)
где 
- стоимость строительства здания
центра;

- стоимость асфальтирования
прилегающей территории центра;

- стоимость приобретаемого
оборудования, инвентаря, приборов и приспособлений;

- затраты на транспортировку
оборудования;

- затраты на монтаж оборудования.
Строительство 1 кв.м здания стоит
15000 рублей.

руб
Стоимость укладки 1 кв.м асфальта
составляет 500 рублей.

руб
Стоимость приобретаемого
оборудования, инвентаря, приборов и приспособлений приведена в таблице 18.
Таблица 18. Смета затрат на
оборудование.
|
№
п/п
|
Наименование
|
Количество
единиц
|
Цена
единицы оборудования, руб.
|
Общая
цена, руб.
|
|
1
|
2
|
3
|
4
|
5
|
|
1
|
Подъемник
двухстоечный Trommelberg
TST 40C
|
3
|
141000
|
423000
|
|
2
|
Стенд
сход-развала HPA
C800 3D
|
1
|
390000
|
390000
|
|
3
|
Подъемник
четырехстоечный
Trommelberg TST 440B
|
1
|
309000
|
309000
|
|
4
|
Комплекс
автодиагностики КАД-400-02/ТК7
|
1
|
322000
|
322000
|
|
5
|
Сверлильный
станок Stalex
WTZ-13J
|
1
|
13000
|
13000
|
|
6
|
Установка
для сбора масла Trommelberg
UZM80
|
1
|
15000
|
15000
|
|
7
|
Пресс
напольный Nordberg N3612F
|
1
|
15000
|
15000
|
|
8
|
Тележка
инструментальная Nordberg
T7N
|
4
|
20100
|
80400
|
|
9
|
Пуско-зарядное
устройство Helvi
RAPID 280
|
1
|
6300
|
6300
|
|
10
|
Верстак
однотумбовый
|
4
|
11300
|
45200
|
|
11
|
Пеногенератор
Portotecnica SCO 50
|
2
|
18500
|
37000
|
|
12
|
Аппарат
высокого
давления
Portotecnica Optima-H D1310P M
|
2
|
155800
|
311600
|
|
14
|
Набор
инструментов Станкоимпорт CS-TK139PMQ
|
4
|
6700
|
26800
|
|
15
|
Пневмогайковерт
Chicago pneumatic CP7749
|
4
|
15600
|
62400
|
|
16
|
Балансировочный
стенд AE&T
BL520
|
1
|
45600
|
45600
|
|
17
|
Шиномонтажный
стенд AE&T 810
|
1
|
50700
|
50700
|
|
18
|
Тестер
|
1
|
2550
|
2550
|
|
19
|
Точильный
станок
|
1
|
3600
|
3600
|
|
20
|
Шкаф
гардеробный Верстакофф ШМ-22/800
|
8
|
5300
|
42400
|
|
Итого:
|
2201550
|
|
|
|
|
|
|
|
Затраты на транспортировку оборудования
принимаем равными 5% от стоимости оборудования:

руб
Затраты на монтаж оборудования равны
5-15% от стоимости оборудования. Принимаем 10% и находим по следующей формуле:

руб

руб.
5.2 Структура затрат на производство услуг
К затратам на производство услуг относятся:
- затраты на охрану труда, технику
безопасности и спецодежду;
- затраты на содержание здания
(освещение, отопление, водообеспечение, уборка помещений, амортизация здания и
оборудования, содержание и обслуживание оборудования);
- заработная плата работников.
Затраты на охрану труда, технику безопасности и
спецодежду принимаем равным 300 рублей на одного рабочего, т.е.:
Затраты на содержание здания 
рассчитываются исходя из площадей
всех помещений здания сервисного центра по следующей формуле:

, (6.2)
где 
- затраты на освещение помещений;

- затраты на отопление помещений;

- затраты на водообеспечение;

- затраты на уборку помещений;

- затраты на амортизацию здания и
оборудования;

- затраты на содержание и
обслуживание оборудования.
Затраты на освещение определим по
следующей формуле:

, (6.3)
где 
- расход электроэнергии на
освещение, кВт/ч;

- цена 1 кВт/ч электроэнергии (
руб/кВт-ч).

кВт×ч

руб
Так как проектируемый сервисный
центр использует централизованное отопление, то затраты на отопление определим
по следующей формуле:

, (6.4)
где 
- количество расходуемой тепловой
энергии, Гкал;

- стоимость 1 Гкал тепловой
энергии, 
руб/Гкал
Таблица 19. Продолжительность
эксплуатации светильников в год.
|
Квартал
|
Число
рабочих дней
|
Время
горения светильников в день, час
|
Общее
время горения светильников, час
|
|
I квартал
|
57
|
6
|
342
|
|
II квартал
|
62
|
4
|
248
|
|
III квартал
|
65
|
2
|
130
|
|
IV квартал
|
65
|
8
|
520
|
|
Итого:
|
|
|
1240
|
Тепловую энергию, расходуемую на отопление
здания вычислим по следующей формуле:

, (6.5)
где 
- норма потребления на отопление в
месяц, 
Гкал/кв.м;

- отапливаемая площадь здания.

Гкал

руб
Затраты на водоресурсы, потребляемые
работниками:

, (6.6)
где 
м3 - норма
водопотребления на один рабочий пост (ОНТП-01-91);

- число рабочих постов центра;

- тариф за 1 м3 воды, 
руб/м3;

- тариф по очистке 1 м3
стоков, 
руб/м3;

- число рабочих дней центра в году.

руб
Затраты на содержание и обслуживание
оборудования:

, (6.7)
где 
- затраты на электроэнергию на
производственные цели;

- затраты на ремонт оборудования.
Затраты на электроэнергию на
производственные цели вычислим по следующей формуле:

, (6.8)
где 
- расход электроэнергии на
производственные цели, кВт×ч;

- стоимость 1 кВт×ч
потребляемой электроэнергии.

, (6.9)
где 
- мощность электрооборудования,
кВт;

- действительный годовой фонд
рабочего времени единицы оборудования;

- число смен в сутки,
;

- коэффициент загрузки оборудования,
;

- коэффициент одновременности
работы оборудования,
;

- коэффициент полезного действия
сети,
;

- коэффициент полезного действия
установок (двигателей).
Мощность электрооборудования
приведена в таблице 19.
Действительный годовой фонд рабочего
времени оборудования в год:

, (6.10)
где 
- продолжительность смены, 
ч;

- процент потерь времени, связанных
с профилактикой и ремонтом оборудования,
.

ч

кВт×ч

руб
Затраты на ремонт оборудования
составляют 10% от стоимости оборудования:

руб

руб
Затраты на амортизацию 
складываются из величины
амортизационных отчислений на здание и оборудование.
Таблица 20.Мощность оборудования.
|
№
п/п
|
Наименование
оборудования
|
Марка
|
Кол-во
единиц
|
Мощность
электродвигателя, кВт
|
Общая
мощность, кВт
|
|
1
|
Подъемник
двухстоечный
|
Trommelberg TST 40C
|
3
|
2,2
|
6,6
|
|
2
|
Подъемник
четырехстоечный
|
Trommelberg TST 440B
|
1
|
2,2
|
2,2
|
|
3
|
Сверлильный
станок
|
Stalex WTZ-13J
|
1
|
0,375
|
0,375
|
|
4
|
Точильный
станок
|
Sturm BG60202
|
1
|
0,4
|
0,4
|
|
5
|
Пуско-зарядное
устройство
|
Helvi RAPID
280
|
1
|
0,3
|
0,3
|
|
6
|
Аппарат
высокого давления
|
Portotecnica OPTIMA-H D1310P M
|
2
|
3,3
|
6,8
|
|
7
|
Балансировочный
стенд
|
AE&T BL520
|
1
|
0,75
|
0,75
|
|
8
|
Шиномонтажный
стенд
|
AE&T 810
|
1
|
0,55
|
0,55
|
|
Итого:
|
17,98
|
Затраты на амортизацию здания определим по
следующей формуле:

, (6.11)
где 
- первоначальная стоимость здания;

- величина амортизационных
отчислений, определяемая по единым нормам амортизации основных фондов (ЕНАОФ),
.

руб
Затраты на амортизацию оборудования:

, (6.12)
где 
- стоимость оборудования; 
- величина амортизации, исходя из
ЕНАОФ,.

руб

руб

руб.
Фонд заработной платы
В проектируемом сервисном
техническом центре используется сдельно-премиальная система оплаты труда. Таким
образом, основной фонд заработной платы производственных рабочих равен:

, (5.13)
где 
- фонд заработной платы по тарифу;

- премия за производственные
показатели.
Фонд заработной платы по тарифу:

, (6.14)
где 
- часовая тарифная ставка;

- годовой объем работ участка;
,25 - северный коэффициент.
Премия за производственные
показатели:

(6.15)
Произведем расчет основного фонда
заработной платы для производственных рабочих по участкам:
- участок ТО и ТР
Часовая ставка равна 200
рублей.

руб

руб

руб
- участок мойки
Часовая тарифная ставка 130
рублей.

руб

руб

руб
Общий размер основного фонда
заработной платы для всех производственных рабочих равен сумме основных фондов
заработной платы каждого работника:

руб
Фонд дополнительной заработной платы
составляет 10 - 50% от основной заработной платы. Принимаем 10%. Тогда фонд
дополнительной заработной платы составит:

руб
Результаты расчета фонда заработной
платы работников сервисного центра приведены в таблице 21.
В смету затрат на заработную плату
также входят взносы в Пенсионный фонд на страховую и накопительную часть
пенсии, Фонд социального страхования, Федеральный фонд обязательного
медицинского страхования и территориальный фонд обязательного медицинского
страхования. Тарифы страховых взносов приведены в приложении .
Таблица 21. Годовой фонд заработной
платы работников сервисного центра.
|
Категория
работников
|
Основная
заработная плата, руб.
|
Дополнительная
заработная плата, руб.
|
Годовой
фонд заработной платы, руб.
|
|
ИТР
|
-
|
-
|
-
|
|
Производственные
рабочие
|
2460926,81
|
246092,68
|
2707019,49
|
|
Вспомогательные
рабочие
|
-
|
-
|
96000
|
|
Счетно-конторский
персонал
|
-
|
-
|
144000
|
|
Уборщица
|
|
|
108000
|
|
Итого:
|
3055019,49
|
Таблица 22. Затраты на производство услуг
|
Наименование
статьи затрат
|
Величина
затрат, руб.
|
Удельный
вес затрат, %
|
|
1
|
2
|
3
|
|
I.
Материальные затраты 1) затраты на охрану труда 2) затраты на содержание
здания, в том числе - затраты на освещение - затраты
на отопление - затраты на водопотребление - затраты
на содержание и ремонт оборудования - амортизация
здания - амортизация об-ния
|
1146189,93
2400 1143789,93 35067,2 117840
93091,14 307904,59 369732
220155
|
17,08
0,04 17,04 0,65 0,23 1,52 5,22 5,84 3,58
|
|
II.
Затраты на оплату труда 1) производственных рабочих 2) ИТР 3) вспомогательных
рабочих 4) счетно-конторского персонала 5) Уборщица
|
2707019,49
- 96000 144000
108000
|
31,40
- 1,30 1,95 1,56
|
|
III. Страховые
взносы 1) Пенсионный фонд 2) Фонд социального страхования 3) Федеральный фонд
обязательного медицинского страхования Итого:
|
672104,29
88595,57 155805,99 5117715,27
|
7,97
1,05 1,85 100
|
Размер взносов:
- Пенсионный фонд

руб
- Фонд социального страхования

руб
- Федеральный фонд обязательного
медицинского страхования

руб
Общая величина страховых взносов составляет:

руб
Затраты на производство услуг
приведены в таблице 19.
.3 Оценка экономической
целесообразности организации сервисного технического центра
Определим стоимость человеко-часа по следующей
формуле:

, (6.16)
где 
- затраты на производство услуг за
год, руб;

- годовой объем работ, выполняемых
в сервисном центре, чел.-ч.

руб
Вычислим стоимость нормо-часа:

, (6.17)
где 
- налог на добавленную стоимость,
%;

- налог на прибыль, 
%;

- наценка, 
%.

руб.
Выручку рассчитаем по следующей
формуле:

(6.18)

руб.
Чистый доход:

руб.
Определим рентабельность затрат на
производство услуг:
Рентабельность капитальных вложений:
Срок окупаемости:

, (6.19)
где 
- предельно-необходимые затраты на
организацию сервисного технического центра;

- чистый доход.

года
Из проведенного расчета и полученных
значений рентабельности капитальных вложений равной 
% и срока окупаемости равного 
года следует, что организация
сервисного технического центра целесообразна.
Заключение
В данной дипломной работе был
представлен проект станции технического обслуживания для легковых автомобилей
на улице Шоссейной в поселке Шексна. В результате проведённой работы для
данного парка автомобилей были рассчитаны и спроектированы участки технического
обслуживания и ремонта и уборочно-моечных работ. Был произведён расчёт штатного
количества сотрудников данного предприятия, которые участвуют в обслуживании и
ремонте автомобилей. Площади склада, административно-бытовых помещений, а также
стоянки для готовых к выдаче автомобилей были представлены в дипломном проекте.
Технологический расчёт проектируемой станции технического обслуживания легковых
автомобилей позволил определить годовую трудоёмкость работ по обслуживанию и
ремонту заявленного автомобильного парка. Расчеты, выполненные в экономической части
не дали усомниться в эффективности проектируемого предприятия, а также
позволили определить размер капитальных вложений, чистый доход за год, а также
рентабельности сервисного центра. Срок окупаемости станции технического
обслуживания составит 3 года. Это хороший показатель для нашего города.
Несмотря на некоторые трудности в организации процесса проектирование СТО можно
отнести к малозатратному, со средними показателями окупаемости и доходности.
В ходе дипломной работы выявлены
основные преимущества, а также риски в проектировании станции технического
обслуживания для легковых автомобилей. Из всего вышеперечисленного следует, что
цель достигнута и поставленные задачи решены. Можно ставить вопрос о реализации
дипломного проекта.
Литература
1. Александров Л.А.
Технологическое нормирование труда на автомобильном транспорте: учебник для
учащихся автотрансп. техникумов. - 2-е изд., перераб. и доп. - М.: Транспорт,
1986. - 207 с.
2. Анисимов А.П. Организация и
планирование автотранспортных предприятий: учебник. - 2-е изд. перераб. и доп.
- М.: Транспорт, 1982.-269с.
. Анисимов А.П., Юфин В.К.
Экономика, организация и планирование автомобильного транспорта: учебник для
учащихся ав-тотрансп. техникумов. - 2-е изд., перераб. и доп. - М.: Транспорт,
1986.-248 с.
. Голованенко С.Л. Экономика
автомобильного транспорта: учебник для вузов по спец. «Экономика и организация
автомобильного транспорта». - М.: Высш. школа, 1983. - 352 с.
. Ёлкин В.В., Тозик В.Т..
Инжененрая графика: учеб. пособие для студ. высш. учеб. заведений - 2-е изд.,
стер. - М.: Издательский центр «Академия», 2009. - 304 с.
. Иванов М.Н., Финогенов
В.А. Детали машин: Учебник для машиностроительных специальностей вузов - 12-е
изд. испр. - М.: Высш. шк., 2008. - 408 с.: ил.
. Крамаренко Г.В. Техническое
обслуживание автомобилей: Учебник для вузов/ Г.В. Крамаренко, И. В. Барашков. -
М.: Транспорт, 2005.
. Кузнецов Е С. Техническое
обслуживание и надежность автомобилей. - М.: Транспорт, 2002.
. Малышев А.И. Экономика
автомобильного транспорта: учебник для вузов. - М.: Транспорт, 1983. - 336 с.
. Напольский Г.М.
Технологическое проектирование автотранспортных предприятий и станций
технического обслуживания: учебник для вузов. - 2-е изд., перераб. и доп. - М.:
Транспорт, 1993.-271с.
. Напхоненко Н.В. Организация
и реконструкция автосервисных участков на предприятиях автомобильного
транспорта: учебно-метод. пособие / Юж. Рос. гос. техн. ун-т. Новочеркасск:
ЮРГТУ, 2003. - 34 с.
. ОНТП-01-91 Общесоюзные
нормы технологического проектирования предприятий автомобильного транспорта. -
М.: Гипроавтотранс, 1991. - 184 с.
. Положение о
технологическом обслуживании и ремонте подвижного состава автомобильного
транспорта / М-во автомоб. трансп. РСФСР. - М.: Транспорт, 1986. - 76 с.
. СНиП 2.04.05-91. Кратность
воздухообмена в производственных помещениях.
. СНиП 23-05-95.
Естественное и искусственное освещение.
. Устюгов И.И. Детали машин:
Учеб. пособие для учащихся техникумов. - 2-е изд., перераб. и доп. - М.: Высш.
Школа, 1981. - 399 с., ил.
. Федеральный закон № 212-ФЗ
от 24.07.2009 (ред. от 31.12.2014) «О страховых взносах в Пенсионный фонд
Российской Федерации, Фонд социального страхования Российской Федерации,
Федеральный фонд обязательного медицинского страхования и территориальные фонды
обязательного медицинского страхования».
. Хлявич А.И. Теоретические
основы, технология технического обслуживания и текущего ремонта автомобиля. -
М.: Транспорт, 2005.
. Чернавский С.А., Снесарев
Г.А., Козинцов Б.С. и др. Проектирование механических передач:
Учебно-справочное пособие для вузов - 5-е изд., перераб. и доп. - М.:
Машиностроение, 1984. - 560 с., ил.
. Н.И. Лихачев, И.И. Ларин,
С.А. Хаскин и др. Справочник проектировщика. Канализация населенных мест и
промышленных предприятий. Под ред. В.Н.Самохина.- 2-е изд., переработанное и
дополненное - М.:Стройиздат, 1981.