|
Максимальная
взлетная масса, кг
|
22000
|
|
Масса пустого,
кг
|
9816
|
|
Максимальная
скорость, км/ч
|
274
|
|
Дальность
полета, км
|
396
|
|
Статический
потолок, м
|
2105
|
|
Динамический
потолок, м
|
4925
|
|
Экипаж
|
3
|
|
Крейсерская
скорость, км/ч
|
232
|
|
Количество
лопастей несущего винта
|
6
|
|
Количество
лопастей рулевого винта
|
4
|
|
Длина фюзеляжа,
м
|
20,94
|
|
Диаметр
несущего винта, м
|
22,8
|
2.2
Расчет параметров вертолета
Расчет массы полезного груза
Формула (2.1) для определения массы полезной нагрузки:
, (2.1)
где mмг - масса полезной нагрузки, кг; mэк
- масса экипажа, кг;
- относительный километровый расход топлива,
;
- относительный часовой расход топлива,
; L - дальность полета, км; m0 -
максимальная взлетная масса вертолета, кг [3].
Масса полезной нагрузки:
Расчет параметров несущего винта вертолета
Радиус R, м, несущего винта вертолёта одновинтовой схемы
рассчитывается по формуле (2.2):
(2.2)
где g - ускорение свободного падения, равное 9,81 м/с2;
p - удельная нагрузка на площадь,
ометаемую несущим винтом, p = 3,14.
где Dср - среднее значение диаметра несущего
винта, м,
Величина окружной скорости wR концов лопастей определяется из диаграммы
изображенной на рисунке 2.3:
Рисунок 2.3 - Диаграмма зависимости концевой скорости лопасти от
скорости полета для постоянных значений М90 и μ
При Vmax = 274 км/ч wR = 225 м/с.
Угловую скорость w, и частота вращения несущего винта определяются по формулам (2.3)
и (2.4):
(2.3)
(2.4)
Расчет экономической скорости у земли и на динамическом
потолке
Определяется относительная площадь
эквивалентной вредной пластинки по формуле (2.5):
(2.5)
где Sэ - площадь эквивалентной вредной пластинки, м2, равная:
для вертолётов с убирающимися шасси (2.6):
(2.6)
Подставляя полученные значения в (2.5), тогда
:
.
Рассчитывается значение экономической скорости у земли Vз, км/час:
(2.7)
где I = 1,09…1,10 - коэффициент индукции.
Рассчитывается значение экономической скорости на динамическом
потолке Vдин, км/час:
, (2.8)
где
- относительная плотность воздуха на
динамическом потолке, вычисляется по формуле (2.9):
(2.9)
где
и ρ0, соответственно, плотности воздуха на динамическом потолке и на
уровне земли, берутся согласно ГОСТ 4401-81.
Далее рассчитываются относительные значения максимальной
скорости у земли и экономической скорости на динамическом потолке по формулам:
, (2.10)
. (2.11)
Вычисление коэффициента заполнения несущего винта
Заполнение несущего винта s рассчитывается для
случаев полета на максимальной и экономической скоростях:
(2.12)
(2.13)
где
и
- допускаемые отношения коэффициента тяги к коэффициенту
заполнения несущего винта для максимальной скорости у
земли и для экономической скорости на динамическом потолке при
:
(2.14)
(2.15)
Расчет коэффициентов тяги несущего винта у земли и на динамическом
потолке производится по формулам (2.16) и (2.17) соответственно:
(2.16)
(2.17)
В качестве расчетной величины заполнения s несущего винта принимается значение из
условия (2.18):
(2.18)
Следовательно, принимается
.
Длина хорды b и
относительное удлинение l лопастей
несущего винта будет равны (2.19) и (2.20) соответственно:
(2.19)
где
- число лопастей несущего винта.
(2.20)
2.3
Расчет мощности двигательной установки вертолета
Расчет мощности при висении на статическом потолке
Удельная мощность, потребная для привода несущего винта на
режиме висения на статическом потолке, рассчитывается как (2.21):
(2.21)
где NHст - потребная мощность, необходимая для висения на
статическом потолке, Вт;
- относительное увеличение тяги несущего
винта для уравновешивания аэродинамического сопротивления фюзеляжа и
горизонтального оперения, для одновинтового вертолёта можно принять Т =
1,04; η0 - относительный КПД несущего винта на
режиме висения, для современных вертолётов находится в диапазоне η0 = 0,7…0,75 (для одновинтовой схемы); DНст
- относительная плотность воздуха на высоте статического потолка (2.22):
(2.22)
где
и
, соответственно, плотности воздуха на динамическом потолке и на
уровне земли, берутся согласно ГОСТ 4401 - 81.
Расчет удельной мощности в горизонтальном полете на
максимальной скорости
Удельная мощность
, потребная для привода несущего винта в
горизонтальном полете на максимальной скорости, рассчитывается по
формуле (2.23):

(2.23)
где
- коэффициент индукции, при Vmax ≤ 275 км/ч (2.24):
; (2.24)
Расчет удельной мощности в полете на динамическом потолке с
экономической скоростью
Удельная мощность
для привода несущего винта на динамическом потолке равна (2.25):
(2.25)
Расчет удельной мощности в полете у земли на экономической
скорости в случае отказа одного двигателя при взлете
Удельная мощность
, необходимая для продолжения взлета с экономической скоростью при
отказе одного двигателя рассчитывается по формуле (2.26):
(2.26)
Расчет удельных приведенных мощностей для различных случаев
полета
Расчет удельной приведенной мощности при висении на
статическом потолке
Расчет удельной приведенной мощности при висении на
статическом потолке производится по формуле (2.27)
(2.27)
где
- удельная дроссельная характеристика:
x0 - коэффициент использования мощности двигательной установки на
режиме висения. Масса проектируемого вертолета составляет 22 тонны, то
,
Расчет удельной приведенной мощности в горизонтальном полете
на максимальной скорости
Расчет удельной приведенной мощности в горизонтальном полете
на
максимальной скорости производится по формуле (2.28)
, (2.28)
где
- коэффициент использования мощности на
максимальной скорости полета;
- дроссельные характеристики двигателей, зависящие от скорости
полета
:
Расчет удельной приведенной мощности в полете на динамическом
потолке с экономической скоростью
Расчет удельной приведенной мощности в полете на динамическом
потолке с экономической скоростью
проводится по формуле (2.29):
(2.29)
где
- степень дросселирования на номинальном
режиме,
= 0,9;
- степень дросселирования двигателей, зависящая от высоты
динамического потолка Ндин, рассчитываемая по формуле:
- степень дросселирования двигателей, зависящая от скорости
полёта, рассчитываемая по формуле:
- коэффициент использования мощности двигательной установки на
экономической скорости полёта, равный
Расчет удельной приведенной мощности в полете у земли с
экономической скоростью при отказе одного двигателя
Удельная приведенная мощность в полете у земли с
экономической скоростью определяется по формуле (2.30)
(2.30)
где
- коэффициент использования мощности на
экономической скорости полета;
- степень дросселирования двигателя на чрезвычайном режиме
работы; n = 2 - количество двигателей вертолета;
- степень дросселирования двигателя при
полете у земли с экономической скоростью:
Расчет потребной мощности двигательной установки
Для расчета потребной мощности двигательной установки
выбирается значение удельной приведенной мощности из условия (2.31):
(2.31)
Потребная мощность N двигательной
установки вертолета будет равна (2.32):
, (2.32)
где
- взлетная масса вертолета; g = 9,81 м2/с - ускорение свободного падения;
.
.4 Выбор двигателей
На вертолете планируется использовать два турбовальных двигателя Д
- 25В общей мощностью 2×4101 кВт
[8]. Условие
выполняется.
2.5
Определение массы узлов, агрегатов и топлива вертолета
Расчет массы лопастей несущего винта
Масса лопастей несущего винта определяется по формуле (2.33):
(2.33)
где
- относительная суммарная масса лопастей,
определяется (2.34):
(2.34)
где Кл - коэффициент, характеризующий некоторые
конструктивные особенности несущего винта: для средних и тяжёлых вертолётов со
стеклопластиковыми лопастями Кл = 11,5…13,6 кг/м2,7;
- коэффициент относительной массы лопастей
несущего винта (2.35):
(2.35)
Расчет массы втулки несущего винта
Масса втулки несущего винта рассчитывается по формуле (2.36):
(2.36)
где
- относительная масса втулки несущего
винта, равная (2.37):
(2.37)
где
- коэффициент относительной массы втулки
несущего винта 2.38):
(2.38)
- коэффициент втулки, для тяжелых вертолетов
= 0,0527 кг/кН1,35;
- коэффициент, учитывающий влияния числа лопастей
на массу втулки:
Расчет массы системы бустерного управления
В систему бустерного управления входят автомат перекоса,
гидроусилители, гидросистема управления несущим винтом. Расчет массы системы
бустерного управления проводится по формуле (2.39):
(2.39)
где
- коэффициент относительной массы системы бустерного управления
(2.40):
(2.40)
- коэффициент массы бустерного управления,
= 13,2 кг/м3.
Расчет массы системы ручного управления
Расчет массы системы ручного управления проводится по формуле
(2.41):
, (2.41)
где
- весовой коэффициент системы ручного
управления, принимаемый для транспортных одновинтовых вертолетов равным 18
кг/м.
Расчет массы главного редуктора
Масса главного редуктора рассчитывается по формуле (2.42):
(2.42)
где
- коэффициент относительной массы
главного редуктора (2.43):
(2.43)
Кгл.р - коэффициент массы главного редуктора,
для средних и тяжёлых вертолётов, Кгл.р = 0,0748 кг/(Н∙м);
- коэффициент использования мощности
двигательной установки, значение которого принимается в зависимости от взлетной
массы вертолета. Так как
, то
.
Расчет массы узлов привода рулевого винта
Из условия балансировки вертолёта, тяга рулевого винта
(2.44):
(2.44)
где
- крутящий момент на валу несущего винта;
- расстояние между осями несущего и
рулевого винтов. Расстояние
между осями
несущего и рулевого винтов равно сумме их радиусов и зазора d между концами их лопастей:
(2.45)
где
- зазор, принимаемый равным 0,15…0,25 м;
- радиус рулевого винта. Так как
, то
Максимальный крутящий момент на валу несущего винта равен
реактивному моменту, действующему на корпус вертолёта (2.46):
(2.46)
Масса промежуточного редуктора
рассчитывается как:
(2.47)
где
- коэффициент относительной массы
промежуточного редуктора (2.48):
(2.48)
- коэффициент массы промежуточного редуктора
Масса хвостового редуктора, вращающего рулевой винт (2.49):
(2.49)
где
- коэффициент относительной массы
хвостового редуктора (2.50):
(2.50)
Масса mв трансмиссионного вала (2.51):
(2.51)
где aт.в-коэффициент
относительной массы трансмиссионного вала (2.52):
(2.52)
Кт.в-коэффициент массы трансмиссионного вала,
для средних и тяжёлых вертолётов Кт.в = 0,0318 кг1/3с4/м7/3;
- угловая скорость трансмиссионного вала,
ωтв = 314 1/с.
Расчет массы и основных размеров рулевого винта
Масса рулевого винта складывается из массы его лопастей и
втулки (2.53):
(2.53)
где
- суммарная масса лопастей рулевого винта
(2.54):
(2.54)
где σрв - коэффициент заполнения рулевого винта,
.
Длина хорды
и относительное удлинение
лопастей рулевого винта рассчитывается по
формулам (2.55) и (2.56) соответственно:
, (2.55)
где
- число лопастей несущего винта,
(2.56)
Масса втулки рулевого винта
(2.57):
(2.57)
где
- весовой коэффициент, зависящий от числа
лопастей, при
≤ 4
; ωрвRрв
- окружная скорость рулевого винта, м/с, можно принять ωрвRрв ≈
ωR;
- относительная масса лопасти рулевого винта, вычисляется как
(2.58):
(2.58)
Расчет массы топлива
При расчёте массы топлива mт для полёта на
заданную дальность Lmax предполагается, что полёт совершается
на высоте Н = 500 м с крейсерской скоростью Vкр при ωR = const (2.59):
(2.59)
где
- относительная масса топлива второго
приближения, вычисляется как (2.60):
(2.60)
где Кт - коэффициент, учитывающий 5%-ный
навигационный запас топлива, расход топлива на переходных режимах, а также
запас топлива на возможные неточности расчёта и т.д., Кт ≈
1,19; Vкр - крейсерская скорость полёта вертолёта, Vкр
≈ 0,86Vmax ≈ 0,86 ∙ 274 = 236, км/ч; Nкр
- степень дросселирования на крейсерском режиме, Nкр =
0,76…0,81; Ce - удельный расход топлива при работе
двигателей на крейсерском режиме (2.61):
(2.61)
где
- коэффициент изменения удельного расхода
топлива в зависимости от режима работы двигателей,
- коэффициент изменения удельного расхода
топлива в зависимости от скорости полета, который определяется по формуле
(2.62):
(2.62)
- удельный расход топлива на взлетном режиме,
;
- коэффициент изменения удельного расхода топлива в зависимости
от температуры,
- коэффициент изменения удельного расхода
топлива в зависимости от высоты полета,
;
Расчет массы двигательной установки вертолета
Масса двигательной установки с системами и вспомогательной
силовой установкой рассчитывается по формуле (2.63):
(2.63)
где γдв - удельная масса двигателя, для
современных вертолётных двигателей большой мощности (свыше 2000 кВт) - γдв ≈ 0,08…0,12 кг/кВт; Кс -
коэффициент, учитывающий увеличение массы двигательной установки за счёт
систем: охлаждения, противопожарной, запуска, узлов крепления двигателей,
масляных систем двигателей и главного редуктора, масла, Кс ≈
0,04…0,05 кг/кВт; Ктс - коэффициент, характеризующий
увеличение массы двигательной установки за счёт топливной системы, Ктс
= 0,07…0,09;
- относительная масса вспомогательной
силовой установки (ВСУ),
= 0,005…0,008 (отсюда масса ВСУ
).
Исходя из формулы (2.63) масса одного двигателя будет
соответственно (2.64):
(2.64)
Масса топливной системы (2.65):
(2.65)
Расчет массы фюзеляжа и оборудования вертолета
Масса фюзеляжа вертолета рассчитывается по формуле (2.67):
(2.67)
где Кф - коэффициент относительной массы
фюзеляжа, Кф ≈ 1,7 кг0,75м1,76;
где
- площадь омываемой поверхности фюзеляжа,
которая определяется по по формуле (2.68):
(2.68)
Масса горизонтального оперения определяется по формуле (2.69):
(2.69)
где Sго - площадь горизонтального оперения
(стабилизатора), в проектных расчётах можно приближённо принять:
Кго - удельная масса горизонтального
оперения, Кго = 2,4…5,6 кг/м2.
Масса шасси вертолета равна (2.70):
(2.70)
где
- весовой коэффициент, зависящий от
конструкции шасси. Так как в проектируемом вертолете предусмотрено убираемое
шасси, то
Масса электрооборудования вертолета рассчитывается по формуле
(2.71):
(2.71)
где Кпров - коэффициент, учитывающий массу
единицы длины электропроводки, кг/м; Кэо - коэффициент массы
электрооборудования, определяемого функционированием противообледенительной
системы, кг/м2; FΣл - общая площадь лопастей, пропорционально связанная с площадью их
обогреваемой поверхности (2.72):
(2.72)
Массы прочего оборудования вычисляется по формуле (2.73):
(2.73)
2.6
Расчет взлетной массы вертолета второго приближения
Масса пустого вертолета равна сумме масс основных агрегатов
(2.74):
(2.74)
Взлетная масса вертолета второго приближения (2.75):
(2.75)
Определяется относительное отклонение масс первого и второго
приближения (2.76):
(2.76)
Относительное отклонение масс первого и второго приближения
удовлетворяет условию
. Это значит, что расчет параметров
вертолета выполнен верно.
.7 Описание компоновки вертолета
Проектируемый вертолет выполнен по одновинтовой схеме с
рулевым винтом, двумя ГТД и трехопорным убирающимся шасси.
Фюзеляж вертолета цельнометаллический, типа полумонокок.
Отдельные секции кабины экипажа изготовлены из композиционных материалов на
основе стекло-эпоксидного пластика. Кабина экипажа трехместная, с
расположенными рядом сиденьями летчиков и оператора. Остекление кабины
обеспечивает хороший обзор, правый и левый сдвижные блистеры снабжены
механизмами аварийного сбрасывания. Боковые обтекатели обеспечивают
дополнительную плавучесть и увеличивают поперечную устойчивость вертолета в
воде. В грузовой кабине размерами 9,14х1,98х2,29 м пол рассчитан на нагрузку
1480 кг/м2. В кабине размещается 38 пассажиров, в санитарном
варианте - 24 раненых на носилках и 4 санитара. Вделанные в пол крепежные
кольца рассчитаны на усилия 2270, 4535 и 3070 кг. Погрузочная рампа с
гидравлическим приводом рассчитана на нагрузку 1360 кг. В кабине имеются две
электрические грузовые лебедки с дистанционным управлением грузоподъемностью по
900 кг и буксировочная - грузоподъемностью 3175 кг с системой управления
скоростью подъема груза.
Шасси трехопорное, убирающееся, со сдвоенными колесами на
опорах: передняя опора убирается назад в фюзеляж, задние опоры убираются
вперед, в отсеки в боковых обтекателях. Предусмотрено регулирование высоты
фюзеляжа над землей в пределах 0,2 м путем изменения хода стоек главных опор
шасси. Колея шасси 3,96 м, база шасси 8 м.
Несущий винт шестилопастной, с шарнирным креплением лопастей,
имеет совмещенные вертикальные и горизонтальные шарниры. Лонжерон лопасти
овального сечения и ступица втулки выполнены из титанового сплава, сотовый
заполнитель лопасти изготовлен из стекловолокна, а обшивка - из композиционных
материалов на основе эпоксидного стеклопластика. Лопасти прямоугольной формы в
плане. Ось несущего винта отклонена от вертикальной оси вертолета вперед и вбок
на 3°. Хорда лопасти 0,752 м, окружная скорость концов лопастей 225 м/с.
Рулевой винт четырехлопастной, диаметром 4,56 м, с шарнирным
креплением лопастей. В конструкции рулевого винта использованы титановые
сплавы.
Силовая установка - 2 турбовальных двигателя Д-25В общей
мощностью 8202 кВт. Двигатели установлены на фюзеляже в мотогондолах. Боковые
панели гондол откидываются на шарнирах, образуя платформы для обслуживания.
Валы двигателей выходят под углом к центральному редуктору и отсеку
вспомогательных агрегатов. Выхлопные сопла двигателей отклонены наружу под
углом 24°.
Трансмиссия состоит из главного редуктора, промежуточного и
хвостового редукторов, хвостового вала, муфты свободного хода, тормоза несущего
винта, вала и редуктора вспомогательной силовой установки. В системе
трансмиссии используются титановые сплавы.
Топливная система включает два протектированных бака общей
емкостью 3256×0,7=4651,5 л, расположенные в
боковых обтекателях, и две помпы, находящиеся непосредственно у двигателей.
Электросистема состоит из двух изолированных цепей, одна из
которых питается от генератора переменного тока, создающего напряжение
115-120В, а вторая цепь питается от генератора постоянного тока с напряжением
28В. Генераторы приводятся от главного редуктора несущего винта.
Система управления бустерная, дублированная, с
гидроусилителями включает систему автоматической стабилизации с цифровым
вычислительным устройством. Пилотажный комплекс вертолёта ПКВ-26-1 состоит из
четырёхканального автопилота ВУАП-1, системы управления и гашения колебаний
груза на внешней подвеске. Вертолёт оборудован метеолокатором, средствами
связи, а также телевизионной аппаратурой для визуального наблюдения за
состоянием груза.
Система отопления и вентиляции обеспечивает подачу
подогреваемого или холодного воздуха в кабины экипажа и пассажиров, ПОС
защищает от обледенения лопасти несущего и рулевого винтов, передние стекла
кабины экипажа и воздухозаборники двигателей.
Радиоэлектронное и навигационное оборудование вертолёта
позволяет выполнять разнообразные задачи в сложных метеорологических условиях в
любое время суток. Входящий в его состав навигационный комплекс включает в себя
комбинированную курсовую систему «Гребень-2», пилотажный командный прибор
ПКП-77М, радиоэлектронную систему ближней навигации «Веер-М», радиовысотомер,
автоматические радиокомпасы и доплеровский измеритель скорости и угла сноса.
Вертолёт может быть использован для задач как военного, так и
гражданского характера, а также для проведения поисково-спасательных операций,
в том числе для эвакуации грузов или транспортных средств массой до 10 т.
Тяжелый вертолет одновинтовой схемы на базе прототипа
вертолета CH-53 с максимальной взлетной массой 22000 кг.
Расчеты выполняются по выбранным оптимальным данным
прототипов. Определяется необходимая мощность, исходя из рассчитанных
летно-технических характеристик вертолета и выбирается силовая установка - два
турбовальных двигателя Д-25В мощностью 2×4101
кВт. Далее
рассчитывается масса отдельных узлов, агрегатов и необходимая масса топлива
вертолета. В итоге сравниваются взлетные массы вертолета первого и второго
приближений, по отклонению которых определяется правильность выполненных
расчетов.
3. Анализ технологической оснастки для сборки
секции фюзеляжа вертолета
.1
Способ и установка для сборки секции фюзеляжа вертолета
Изобретение относится к способу изготовления летательных
аппаратов (ЛА). Во время изготовления ЛА оправку пропускают через шпангоуты.
Шпангоуты установлены в кассете. Во время пропускания шпангоуты перемещают на
оправке при помощи средств для перемещения, установленных в кассете.
Достигается упрощение сборки секции фюзеляжа, сокращение времени циклов сборки.

Рисунок 3.1 - Первая оправка установки

Рисунок 3.2 - Вторая оправка и кассеты установки
Рисунок 3.3 - Станина установки
Рисунок 3.4 - Общий вид установки
Рисунок 3.5 - Завершение второго этапа сборки фюзеляжа
Рисунок 3.6 - Установка, во время трех рабочих этапов,
увеличенный вид в разрезе по плоскости VIII-VIII
Рисунок 3.7 - Третий этап сборки фюзеляжа
Рисунок 3.8 - Установка панели обшивки
Рисунок 3.9 - Завершение сборки секции фюзеляжа
Изобретение относится к области изготовления летательных
аппаратов.
Из документа FR-2 894 869 известно изготовление
фюзеляжа самолета из шпангоутов, покрытых обшивкой. Шпангоуты имеют круглую
форму и образуют каркас фюзеляжа. Шпангоуты располагают один за другим на
оправке, которая поддерживает их в окончательном положении друг относительно
друга. Затем шпангоуты соединяют друг с другом и с другими деталями каркаса и
покрывают обшивкой. Однако такой способ требует значительных затрат времени и
средств на циклы сборки.
Задачей изобретения является сокращение времени циклов и
соответствующих расходов, а также упрощение сборки секции фюзеляжа за счет ее
автоматизации.
Поставленная задача решена в способе изготовления
летательного аппарата, в котором, по меньшей мере, одну оправку пропускают
через шпангоуты, установленные в кассете, и во время пропускания шпангоуты
перемещают на оправке.
Предпочтительно:
в кассету заправляют шпангоуты,
кассету доставляют, затем
кассета остается неподвижной, и оправку пропускают в
шпангоуты.
Таким образом, кассету можно загружать на удалении от
сборочной линии, затем эту кассету транспортируют до места сборки. Операция
заправки кассеты сама по себе не нарушает процесс сборки.
Предпочтительно оправку пропускают через кассету.
Действительно, предпочтительно иметь кассету, поддерживающую
шпангоуты на большей части их окружности, которая, как правило, является
замкнутой.
Предпочтительно перемещение осуществляют таким образом, чтобы
промежуток между шпангоутами на оправке превышал промежуток между ними в
кассете, причем промежуток между ними на оправке предпочтительно равен промежутку
между ними в летательном аппарате.
Таким образом, еще больше упрощают сборку и еще больше
способствуют ее автоматизации.
Предпочтительно через шпангоуты, установленные в двух
соответствующих кассетах, пропускают две оправки, перемещая оправки в направлении
друг к другу. Этот вариант осуществления является предпочтительным для случая,
когда секция фюзеляжа имеет относительно большую длину по сравнению с его
диаметром. Действительно, применение двух оправок позволяет уменьшить
консольность.
Предпочтительно оправки скрепляют друг с другом, в частности,
жестко соединяя их во вращении. За счет этого улучшают устойчивость всей
системы во время процесса изготовления.
Предпочтительно к шпангоутам присоединяют, по меньшей мере,
одну панель обшивки.
Поставленная задача решена также в установке для изготовления
летательного аппарата, содержащей:
по меньшей мере, одну кассету для шпангоутов,
по меньшей мере, одну оправку и
средства для перемещения на оправке шпангоутов, установленных
в кассете, во время пропускания оправки через шпангоуты.
Установка в соответствии с настоящим изобретением может
содержать, по меньшей мере, один из любых следующих отличительных признаков:
средства перемещения установлены на оправке;
оправка содержит средства крепления шпангоутов на оправке,
причем предпочтительно эти средства, по меньшей мере, частично образованы
средствами перемещения; и
средства крепления установлены на оправке с возможностью
перемещения между убранным положением и развернутым положением, в котором они
больше выступают из оправки, чем в убранном положении, при этом часть средств
крепления установлена, например, с возможностью вращения на оправке вокруг оси,
локально параллельной окружному направлению оправки.
Другие отличительные признаки и преимущества изобретения будут
более очевидны из нижеследующего описания варианта осуществления,
представленного в качестве неограничивающего примера, со ссылками на
прилагаемые чертежи, на которых:
на рисунке 3.1 показана первая оправка установки в
соответствии с настоящим изобретением, вид в перспективе;
на рисунках 3.2 - 3.3 показана вторая оправка, кассеты и
станины установки, вид в перспективе;
на рисунках 3.4 - 3.9 показаны этапы осуществления способа в
соответствии с настоящим изобретением при помощи установки, показанной на рисунках
3.1 - 3.3;
на рисунке 3.5 показана установка, изображенная на рисунке
3.4, во время трех рабочих этапов, увеличенный вид в разрезе по плоскости
VIII-VIII.
Далее следует описание варианта осуществления установки в
соответствии с настоящим изобретением для изготовления летательного аппарата. В
данном случае летательный аппарат является летательным аппаратом тяжелее
воздуха и в настоящем примере - вертолетом, содержащим фюзеляж 2, секция
которого показана на рисунках 3.4 - 3.9.
В дальнейшем будет использоваться традиционная система
координат X, Y и Z, в которой направление X
обозначает продольное направление фюзеляжа, направление Y - поперечное
горизонтальное направление, и направление Z - вертикальное направление.
Фюзеляж имеет в основном круглое сечение в плоскости,
перпендикулярной к продольному направлению X. Он состоит из нескольких
секций типа секции, изготовление которой будет описано ниже, причем эти секции
впоследствии будут скреплены встык.
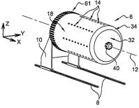
В целом установка 4 показана на рисунке 3.4. Как показано на
рисунке 3.1, в настоящем примере установка содержит первую оправку 6 и две
направляющих 8, параллельных направлению X и закрепленных на земле.
Оправка 6 закреплена на кронштейне 10, при помощи которого она установлена с
возможностью перемещения скольжением на направляющих 8 в направлении X.
Оправка содержит боковую сторону в основном цилиндрической формы, ось 12
которой параллельна направлению X, и сечение, перпендикулярное к этой
оси, имеет в основном круглую форму. Оправка установлена с возможностью
вращения вокруг своей продольной оси, которая соответствует оси 12 цилиндра. На
рисунке 3.1 слева показана передняя часть оправки, а на справа - задняя часть
оправки. Оправка 6 содержит плоскую фронтальную сторону 32, перпендикулярную к
оси 12. Фронтальная сторона 32 и боковая сторона 18 сопрягаются через скошенную
фаску 34.
На своей цилиндрической поверхности оправка содержит
отверстия 14, распределенные в несколько линий, параллельных оси 12. Каждая из
них содержит несколько отверстий, в данном случае девять отверстий в каждой
линии. Это число может меняться в зависимости от числа шпангоутов секции (см.
ниже), то есть от длины собираемой секции. Отверстия линий образуют окружные
ряды, расположенные в соответствующих последовательных плоскостях, перпендикулярных
к оси 12. Как показано на рисунке 3.6, каждое отверстие 14 имеет прямоугольную
форму. Оно содержит переднюю часть 14а и заднюю часть 14b,
отделенные друг от друга в направлении X частью стенки оправки 6.
Оправка 6 содержит средства 16, 20 крепления, соединенные с
оправкой и выполненные с возможностью удержания шпангоутов 52 фюзеляжа на
оправке, что будет описано ниже. Эти средства содержат элементы, установленные
подвижно на оправке с возможностью перемещения между убранным положением и
развернутым положением, в котором они больше выступают относительно оправки в
направлении, радиальном к оси 12, чем в убранном положении. В данном случае эти
элементы содержат штифты 16 удлиненной прямолинейной формы, ориентированные в
радиальном направлении. В убранном положении, показанном на рисунке 3.6 a, штифты находятся внутри
оправки, не выходя за пределы стороны 18 оправки. В развернутом положении,
показанном на рисунках 3.6 b и 3.6 с, часть штифтов 16 выступает
из этой стороны через часть 14b отверстия. Штифты 16 выполнены с
возможностью опоры на заднюю зону шпангоутов 52.
Средства крепления содержат также элементы 20, выполненные с
возможностью опоры на переднюю сторону шпангоутов. В данном примере эти
элементы содержат откидные зажимы 20 в виде крючка, наружный свободный конец
которого содержит площадку 24. Откидной зажим выполнен с возможностью поворота
вокруг оси 18, локально параллельной окружному направлению оправки. Таким
образом, он находится в плоскости, параллельной направлениям Y и Z.
Как показано на рисунках 3.6 а и 3.6 b, откидной зажим может
занимать убранное положение, в котором он расположен внутри оправки, не
выступая из стороны 18. В развернутом положении, показанном на рисунке 3.6
откидной зажим 20 проходит через переднюю часть 14а отверстия, выступая
из стороны 18 оправки. Таким образом, с каждым отверстием 14 оправки связан
узел из штифта 16 и откидного зажима 20.
Внутри оправки предусмотрен соответствующий механизм для
приведения этих элементов в действие в рамках способа, который будет описан
ниже. В частности, откидным зажимом можно управлять при помощи поворотной
рукоятки 26 и через тягу 29. Ось вращения рукоятки параллельна оси 28.
В данном случае установка 4 содержит вторую оправку 30,
которая выполнена так же, как и первая оправка 6, за исключением следующих
отличительных признаков. Вторая оправка 30 тоже содержит фронтальную сторону
32, но она расположена с отступом от переднего края боковой стороны 18, образуя
полость в передней части оправки. На второй оправке стороны 32 и 18 тоже сопряжены
скошенной фаской. При этом первая оправка 6 выполнена таким образом, что
образует охватываемую часть, а вторая оправка 30 образует охватывающую часть,
выполненную с возможностью захождения в нее охватываемой части первой оправки,
при этом фронтальные стороны 32 входят друг с другом в поверхностный контакт,
так же как и две конусные скошенные фаски 34. Таким образом, обе оправки можно
расположить коаксиально в продолжение друг друга.
Установка содержит средства для зацепления между двумя
оправками при вращении, например, если необходимо привести во вращение одну
оправку при помощи другой. В данном случае эти средства содержат зубчатое
колесо или кулачок 40, выступающий из фронтальной стороны 32 первой оправки и
выполненный с возможностью захождения в выемку 42 фронтальной стороны 32 второй
оправки. Выемка 42 имеет охватывающую форму, ответную охватываемой форме колеса
40. При соединении двух оправок колесо первой оправки зацепляется со второй за
счет зубчатого соединения с выемкой 42 во время вращения вокруг оси 12.
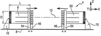
Как показано на рисунке 3.4, установка 4 содержит кассету 46
для первой оправки и вторую кассету 46, идентичную первой, для второй оправки.
Каждая кассета содержит корпус 48 в основном в виде прямоугольного
параллелепипеда. Этот корпус является плоским и в основном расположен в
плоскости, параллельной направлениям Y и Z. Он содержит в центре
проем 50. Кассета выполнена с возможностью размещения в ней шпангоутов 52
фюзеляжа. Шпангоуты 52 имеют плоскую и круглую форму. Они заходят в проем,
будучи расположенными, каждый, в вертикальной плоскости, перпендикулярной к
направлению X. Таким образом, шпангоуты расположены параллельно друг
другу и коаксиально друг с другом, входят друг с другом в контакт и следуют
один за другим.
Установка содержит также две станины 54, связанные с
соответствующими оправками 6 и 30. Каждая станина 54 содержит корпус 56,
имеющий форму, аналогичную форме корпуса 48 кассет. По меньшей мере, одна из
станин содержит приводные средства 58, позволяющие приводить во вращение соответствующую
оправку, когда она проходит через центральный проем 58 станины. Для этого эти
средства содержит зубчатое колесо, смежное с проемом, зубья которого могут
входить в зацепление с зубьями 61, выполненными в данном случае на заднем конце
боковой стороны 18 оправки. Достаточно, чтобы только одна из станин содержала
такие приводные средства, при этом другая станина выполняет простую функцию
направления во вращении. Вместе с тем такими средствами можно оборудовать обе
станины.
Как показано на рисунке 3.4, предпочтительно каждая оправка
имеет общую длину L, меньшую ее 2 - кратного габаритного диаметра D.
Предпочтительно эта длина L даже меньше 1,5 - кратного диаметра и,
например, меньше или равна этому диаметру. Это позволяет избежать слишком
большой консольности оправок, которая привела бы к прогибу этого инструмента
под собственным весом вместе с весом фюзеляжа.
Установка содержит также средства управления, которые могут
быть полностью или частично автоматизированы и которые позволяют применять
способ сборки, который представлен ниже со ссылками на рисунки 3.4 - 3.9.
На первом, не показанном этапе в каждую из кассет 46
заправляют несколько шпангоутов 52. В данном случае эту загрузку осуществляют
на удалении от сборочной линии, предварительно переместив оправку, чтобы
удалить ее от других узлов установки 4. После заправки кассеты ее устанавливают
на направляющие 8.
На втором этапе, показанном на рисунке 6, различные элементы
установки располагают на направляющих в следующем порядке, начиная слева:
первую оправку 6 с ее кронштейном 10 с левой стороны,
связанную с ней станину 54,
связанную с ней кассету 46,
затем отделенные пространством от этих первых элементов:
кассету 46, связанную со второй оправкой 30,
станину 54, связанную с этой второй оправкой, и
вторую оправку с ее кронштейном с правой стороны.
Оба кронштейна 10 являются частями установки, наиболее
удаленными друг от друга на направляющих 8. Станина 54, связанная с первой
оправкой, упирается в направлении X в заднюю сторону кассеты 46, которая
служит точкой отсчета положения. Передний конец первой оправки 6 заходит в
проем 58 станины, но не доходит до проема 50 кассеты. Элементы, связанные со
второй оправкой, в том числе сама оправка, являются симметричными с элементами,
связанными с первой оправкой 6, в установке относительно плоскости симметрии,
параллельной направлениям Y и Z.
На этой стадии изготовления и до показанного на рисунке 3.9
этапа включительно кассеты 46 и станины 54 жестко закреплены на направляющих 8
и остаются неподвижными относительно земли и относительно друг друга. В
дальнейшем только оправки 6 и 30 перемещаются на направляющих в направлении X.
Первоначально штифты 16 и детали 20 находятся в убранном положении.
Во время второго этапа, завершение которого показано на
рисунке 3.5, первую оправку 6 пропускают через станину 54 и через
соответствующую кассету 46, перемещая первую оправку на направляющих 8. Точно
так же поступают со второй оправкой, поэтому обе оправки перемещаются в
направлении друг к другу, пока не войдут в контакт и не соединятся друг с
другом, как показано на рисунке 3.5.
Во время этого перемещения для каждой оправки приводят в
действие средства 16 и 20 таким образом, чтобы штифты 16, находящиеся в первом
окружном ряду в каждой линии, располагались радиально в момент, когда они
окажутся напротив промежутка между первым и вторым шпангоутами 52 кассеты 46,
причем эти шпангоуты являются самыми удаленными от кронштейна 10. Это
выдвижение можно облегчить за счет выполнения скошенной формы на дальнем конце
штифтов 16. Таким образом, выдвижение штифтов 16 позволяет оправке во время ее
прохождения увлечь за собой первый шпангоут 52 из ряда. После начала этого
захвата откидной зажим 20 тоже переходит в свое развернутое положение. Таким
образом, шпангоут 52 жестко удерживается в положении на оправке на уровне своей
задней стороны штифтом 16 и на уровне своей передней стороны откидным зажимом
20. Можно также предусмотреть специальные средства для блокировки любого
вращения шпангоута относительно оправки вокруг оси X.
Когда отверстия 14 второго окружного ряда в линиях
оказываются напротив промежутка между двумя шпангоутами, находящимися первыми
среди остающихся в кассете, соответствующие штифты 16 переходят тоже в
развернутое положение, чтобы точно так же увлечь на оправке самый первый шпангоут
52. После этого соответствующие откидные зажимы 20 переходят в развернутое
положение.
Таким образом, различные шпангоуты постепенно перемещаются из
кассеты на соответствующую оправку. Во время этого перемещения шпангоуты
находятся напротив соответствующих отверстий 14. Таким образом, промежуток
между ними становится больше, чем промежуток, который был между ними в
положении хранения в кассете 46. В настоящем примере этот промежуток
соответствует промежутку, который будет между шпангоутами в конечном положении
на самолете.
Как показано на рисунке 3.5, в конце этого этапа все
шпангоуты 52 оказываются выгруженными из кассет (которые теперь являются
пустыми) и распределены на оправках. Оправки соединяют, и их стороны 18
образуют сплошную цилиндрическую поверхность.
На следующем этапе, показанном на рисунке 3.7, на установку
доставляют панель 60 обшивки, в данном случае сверху и в направлении,
радиальном к оси 12. Предпочтительно эта панель обшивки содержит предварительно
собранные на ней стрингеры. Панель обшивки располагают и крепят на шпангоутах
52. Стрингеры проходят в направлении X.
При помощи станин 54 поворачивают обе оправки со шпангоутами
и с закрепленной на них панелью 60 обшивки, как показано на рисунке 10. Это
вращение позволяет операторам получить лучший доступ к панели 60 обшивки. Ее
соединяют со шпангоутами, используя, например, глухие заклепки, которые можно
устанавливать только снаружи.
Как показано на рисунке 3.8, после этого устанавливают вторую
панель 60 обшивки так же, как показано на рисунке 3.7. Эта панель обшивки
занимает место в секции, смещенной в угловом направлении относительно места,
занимаемого первой панелью обшивки. Таким образом, все элементы обшивки
располагают в изготавливаемой секции.
Как показано на рисунке 3.9, затем под секцией фюзеляжа между
двумя кассетами располагают лоток 64, чтобы он поддерживал изготовленную таким
образом секцию. Затем, вернув в убранное положение штифты и откидные зажимы,
можно удалить кассеты одну за другой в направлении X и высвободить
секцию. После этого секцию на лотке удаляют из установки.
Затем эти же этапы можно применять для изготовления другой
секции 2 фюзеляжа.
Изобретение представляет особый интерес для изготовления
секций фюзеляжа с большеразмерными панелями обшивки, чтобы максимально использовать
автоматизацию (поэтому применяют две оправки для поддержания веса
инструментария), причем эти панели могут быть выполнены из композитного
материала или из металла.
Разумеется, не выходя за рамки изобретения, в него можно
вносить различные изменения.
Изобретение можно применять при помощи только одной оправки,
например, консольно установленной на направляющих 8.
В данном случае средства перемещения шпангоутов из кассет на
оправки образуют часть средств удержания шпангоутов на оправках. Однако можно предусмотреть
средства перемещения отдельно от средств удержания, которые, можно, например,
выполнить на кассетах.
Можно предусмотреть, например, индивидуальное дистанционное
управление приведением в действие средств перемещения со стороны оператора [1].
3.2 Нагружение и деформации элементов сборочных
приспособлений
Действующие нагрузки и допущения при расчетах
При прочностных расчетах требуется
определить жесткость элементов конструкции, гарантирующую их деформации не выше
допустимых, и прочность элементов крепления несущей системы приспособлений.
Таким образом, расчету подлежат каркасы СП.
С точки зрения строительной механики
каркасы СП являются пространственными, многократно статически неопределимыми
системами, распределение усилий в которых зависит как от внешних нагрузок, так
и от жесткости составляющих элементов.
Расчет каркасов ведется по статическим
нагрузкам. Возникающие динамические нагрузки от ударного инструмента при клепке
ни по величине, ни по характеру воздействия не могут оказать существенного
влияния на жесткость конструкции и ими обычно пренебрегают.
В общем случае на элементы конструкции СП
могут действовать следующие нагрузки, вызывающие деформации:
) Собственная масса балок с
установочными (стаканы, вилки, заливочные) элементами, Мб;
) Масса стапельных плит, ложементов
и других элементов, которые в процессе эксплуатации СП не снимаются, Мm;
) Масса колонн, кронштейнов,
поперечных балок и других несъемных элементов, входящих в конструкцию каркаса
СП, Мк;
) Масса деталей и узлов, которые снимаются
при эксплуатации СП, Мск;
) Масса собираемого изделия
(объекта сборки), Мос;
) Масса людей, работающих в
собираемом агрегате или находящихся на балках СП, Мр;
) Усилия распора и прижима
элементов собираемого изделия к элементам стапеля, Pp;
) Масса вспомогательной оснастки,
опирающейся на элементы каркаса СП (помосты, лестницы, подвесной инструмент,
привод подвижных элементов СП и т.д.), Мво.
Действующую нагрузку принято делить на
постоянную Рпн, в которую входят первые три выше указанных, и
переменную Рпр, включающую все остальные возможные виды
нагружения. Основной расчетной нагрузкой является переменная нагрузка Рпр.
Собственная масса балок Мб
может не учитываться, так как при их монтаже в инструментальном стенде (ИС)
балки находятся в рабочем состоянии и опоры их расположены в тех же местах, на
которые балки опираются в приспособлении.
Прогиб балок учитывает сам монтаж. Прочность стыков колонн,
кронштейнов с колоннами проверяют по сумме нагрузок
. Значит, действующие нагрузки следует
рассматривать конкретно, согласно принятой расчетной схеме. Важно правильно
распределить расчетную нагрузку.
В процессе расчета на жесткость обычно идут двумя путями:
1) По заданным допустимым деформациям
определяют необходимые сечения элементов каркаса;
) При выбранных ранее на базе
аналогов сечений элементов конструкции каркаса СП проверяются, не выходит ли
прогибы этих элементов за пределы допустимых.
В обоих случаях приходится при строгом
соблюдении расчета реальных конструкций раскрывать их статическую
неопределимость той или иной степени, что не всегда оказывается возможным.
Затрудняет расчеты и неопределенность характера заделки концов балок, так как
их в реальных конструкциях нельзя отнести ни к классическим шарнирам, ни к условиям
жесткой заделки [2].
В целях облегчения практических расчетов
используются упрощенные расчетные схемы с внедрением ряда допущений, приводящих
к некоторому дополнительному запасу жесткости. При этом весь каркас СП
расчленяют на простейшие элементы: балки, рамы, кронштейны и др., для которых
можно использовать разработанные расчетные таблицы и графики. Основные
допущения сводятся к следующему:
. Многопролетные неразрезные балки
заменяют системой однопролетных на двух шарнирных опорах (рис. 3.1, а);
. При всех вариантах конструкции
опор двухопорных балок они принимаются шарнирными;
. Концы балок считают защемленными,
если они закрепляются сверху на колонне или на нижней опоре, при креплении
балок к боковой стороне колонны не менее, чем по двум плоскостям (к колонне и
кронштейну) (рис. 3. 1,6);
. Если неразрезная балка закреплена
на нескольких промежуточных опорах по одной плоскости на каждой опоре, то
заделка
- балки; 2 - кронштейны; 3 - колонны; 4 -
ложемент; 5 - расчетная схема
Рисунок 3.1 - Расчетные схемы СП с учетом
принятых допущений считается защемленной для соседних с этими опорами пролетов
(рис. 4, в);
. В случае опирания балки на
короткие нижние опоры (стойки, тумбы) или колонны, жесткость которых EJоп значительно превышает
жесткость балки Е1б, деформациями опор пренебрегают. При
соизмеримости жесткостей их рассчитывают совместно.
. Если две балки связаны между собой
несъемными ложементами (рис. 3.1, г), то их считают работающими совместно.
. Если расчетную нагрузку Pпр трудно распределить
между балками, то каждая рассчитывается по всей Pпр.
Допустимые деформации элементов сборочных приспособлений
Сборочные приспособления представляют
собой нормальные калибры для собираемых в них изделий. Но для калибров точность
изготовления делают на порядок выше, чем изделия, которые ими проверяют, а
сделать то же самое для СП практически невозможно из-за сложности формы и
габаритов.
Производственный опыт показывает, что доля
погрешности СП в суммарной погрешности собираемых изделий в зависимости от
принятых средств увязки и методов базирования составляет 30…50%. Учитывая
допуски на обводы современных ЛА в зависимости от их назначения и
функционального назначения объекта сборки в пределах с = 1,0…1,5 мм,
можно установить суммарную погрешность СП, равную (3.1):
(3.1)
В расчетах точности суммарная погрешность СП представляется
выражением:
где δfk - погрешность, зависящая
от деформации каркаса приспособления; δfp - погрешность,
возникающая от деформации рубильников; δр - суммарная погрешность
изготовления обводообразующих фиксаторов (рубильников, ложементов).
Причем δρ зависит от погрешностей изготовления обводообразующих
фиксаторов δρизг и погрешности их
установки в СП δρ уст. Обе приведенные
погрешности величины случайные и независимы друг от друга, и величина δρ может быть определена (3.2):
(3.2)
Современное производство обеспечивает
изготовление рабочих поверхностей рубильников (ложементов) с погрешностью ± 0,1
мм и не выше 0,2 мм. Их установка в СП с использованием ИС производится с погрешностью,
не превышающей 0,2 - 0,3 мм.
Тогда величина δρ будет в пределах
а допустимая погрешность от деформации элементов СП остается не
более
Погрешность от деформации определяется величиной смещения в данном
направлении точки конструкции под влиянием деформации. Если fk - смещение, вызванное деформацией
каркаса, fρ -
смещение, вызванное деформацией рубильников, то (3.3):
(3.3)
Следует учесть, что смещение в заданном направлении, вызванное
деформацией каркаса fk,
определяется смещением от деформации продольной балки f1, от деформации поперечной балки f2 и от деформации колонн f3 (3.4):
(3.4)
При рассмотрении типовой конструктивно-силовой схемы сборочного
приспособления (рисунок 5) и его нагружения в общем случае распределенной
нагрузкой q при реальном соотношении размеров СП, то
можно определить значения составляющих fk и допустимые деформации элементов
конструкции.
В большинстве СП размеры l1, l2, l3 одного порядка и в первом
приближении можно принять l1 ≈ l2 ≈ l3 = l. Нагрузка на один
пролет продольной балки будет qi, на поперечную
балку также qi, а на колонну - ql/2. Прогибы продольных и
поперечных балок при принятом соотношении размеров и одинаковых заделках концов
можно принять y1 ≈ y2.
Деформация сжатия колонн будет значительно меньше деформаций
изгиба балок, которые принимаются соответственно yсж и yиз. Их значения в пределах
упругой деформаций можно записать (3.5):
(3.5)
где Pсж = ql/2, Pиз = ql - соответственно силы, сжимающая колонну СП
и изгибающая продольную балку; F -
площадь поперечного сечения колонны; J - момент инерции поперечного сечения балки; Е - модуль
упругости первого рода; А - коэффициент зависящий от вида нагрузки и
опор.
Соотношение рассматриваемых перемещений yсж/yиз определится с учетом (3.5):
(3.6)
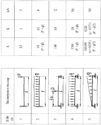
Для рассматриваемых задач величина А (табл. 3.1) не может
быть меньше А = 5/384 и, полагая сечения балки н колонны одинаковых
размеров, выполненных сваркой из двух швеллеров (рисунок 3. 1,6), можно
установить предельную величину деформаций СП.
Из (3.6) очевидно, что yсж/yиз увеличивается с увеличением
J/F и уменьшением длины
балки.
Как правило швеллеры для изготовления балок используются с H ≤ 300 мм. Для
такого профиля при Н = 300 мм имеем [3]:
а - схема нагружения; б - сечение балки; l1, l2, l3 -
соответственно ширина пролета, длина поперечной балки, высота колонн; H - высота балки
Рисунок 3.2 - Типовая силовая схема СП
а - прогиб f обшивки относительно поверхности рубильника; б -
расчетная схема; 1 - обшивка; 2 - рубильник; А, Б - точки касания поверхностей
обшивки и рубильника
Рисунок 3.3 - Нагружение рубильника от усилий распора и
расчетная схема
Рисунок 3.4 - Значения коэффициентов A, k и k/A в зависимости от вида
нагружения и типа опор балок
При l = 300 см, что является обычно наименьшей длиной
балки. По формуле (3.6) определяется:
Значит, деформация сжатия колонны практически на порядок меньше,
чем балки. Учитывая, что направление деформаций совпадает с направлением
смещений (по вертикали), величины у и f будут аналогичными. Поэтому f2 =
f1, а f3 = 0,12∙ f1.
Перемещение от деформации рубильников можно принять соизмеримым с
деформацией продольной балки fρ = f1.
Тогда полное смещение, вызванное деформацией (3.3)
или
Таким образом f1 = (ym)max = 0,1 мм. И чтобы
обеспечить требуемую точность обводов ЛА, геометрические размеры (сечения,
длина) продольных балок не должны допускать прогиб под нагрузкой f = 0,1 мм, что и
принимается во всех расчетах сборочных приспособлений на жесткость.
Обследование крутильных деформаций балок показало, что угол
закручивания не превышает 15’. Перевод в линейную деформацию дает перемещение
порядка 0,01…0,02 мм при радиусе R = 300 мм. Поэтому при нагружении балок с небольшим
эксцентриситетом, что соответствует их реальным условиям работы, кручение в
расчете можно не учитывать.
Соотношение допустимых деформаций и напряжений
При расчете СП на жесткость, как правило, проверочные расчеты не
ведутся. Это допустимо при определенных соотношениях напряжений и деформаций.
Из (3.5) максимальный прогиб балок при поперечном изгибе силой P
а максимальные напряжения в их сечении
Для балок с различным видом нагружения и опор Mmax можно представить в виде Mmax = kpl, а момент сопротивления - в виде
тогда:
(3.7)
В приведенных формулах: А, к - коэффициенты,
зависящие от вида нагрузки и опор балок (приводятся в таблице 1); l - длина балки; E - модуль упругости
первого рода; J - момент инерции сечения; a - расстояние от
нейтральной оси до наиболее удаленного контура сечения.
Чтобы определить длину балки l, у которой при
допустимом прогибе удоп напряжение не превзойдет допустимых
значений σmax ≤ σдоп, запишем соотношение:
(3.8 а)
Для принятых условий выражение (3.8а) примет вид
(3.8 б)
откуда
(3.8)
Так как величина прогиба пропорциональна длине балки во 2-й
степени, а напряжение - в 1-й степени, то при l, меньшей, чем вычислена по формуле (3.8) (при том же допустимом
прогибе), напряжение в балке окажется больше допустимого. Значит, чтобы «σ» не
превысила σдоп должно соблюдаться условие
(3.9)
При выполнении условия (3.9) расчет балок можно вести только на
жесткость. Можно установить значение lmin для расчета НСП в условиях удоп = 0,1
мм, что принято для всех расчетов на жесткость, из стали 3, из которой обычно
изготовляют каркасы приспособлений. Тогда σдоп = 120 МПа, Е = 2·105 Н/мм2
(МПа).
Чем больше k/a, тем большее значение lmin при заданных удоп,
σдоп. Из таблицы 1 k/a < 12 при тех же параметрах и длине,
напряжения будут меньше допустимых. Практически балки СП имеют высоту H от 100 до 400 мм. Для таких балок lmin получится в пределах:
1)
2)
Учитывая, что балки СП всегда имеют большую длину, чем
полученные значения lmin, их можно рассчитывать
только на прогиб, без расчета прочности.
Распределение нагрузки по элементам приспособления
Основными расчетными деформациями СП являются деформации от
вертикальных нагрузок в вертикальной плоскости. Возможные горизонтальные
нагрузки и создаваемые ими горизонтальные деформации обычно не учитывают.
Исключение могут составлять нагрузки от распора обшивок, в связи с трудностями
обеспечения их поверхности соответственно аэродинамическому контуру и
необходимости прижима к рабочим поверхностям обводообразующих фиксаторов, как
показано на рисунке 3.3.
Отклонение обшивок от рабочего контура рубильника обычно f = 1,0…2,0 мм, а lк находится в пределах от
400 до 1000 мм. Для представленной схемы прогиб f определяется формулой,
откуда интенсивность распределенной нагрузки (q) запишется:
Возникающее при этом добавочное внутреннее
напряжение Δσ мало, и им пренебрегают.
Лишь в случае монолитных обшивок, особенно вафельной конструкции усилия прижима
требуются значительной величины, и Δσ следует учитывать.
Распределение вертикальных нагрузок по
несущим элементам СП должно отражать реальное приложение сил, что делает расчет
поперечного изгиба балки громоздким. Для упрощения расчетов сосредоточенные
силы от рубильников и ложементов заменяются распределенной нагрузкой с
интенсивностью (q) постоянной или переменной величины в зависимости от
конструктивной схемы СП (рисунок 3.4). Так при сборке панелей крыла, оперения,
хвостовой части фюзеляжа верхняя балка СП (стапеля) наклонна, масса рубильников
(ложементов) с элементами ЗЭП Mp изменяется пропорционально их длине (в первом
приближении).
Нагружение балок принимают соответственно
рисунок 3.4, а, то есть по трапециевидному закону, а интенсивность
распределенной нагрузки подсчитывается как показано на рисунке 3.4, б.
Если m1, l1 - соответственно масса и
длина наименьшего рубильника, mk, lk - масса и длина наибольшего
рубильника при длине балки l между опорами, интенсивность нагрузки q
на прямоугольном участке схемы
(3.10 а)
где n - число входящих в нагрузку рубильников.
На треугольном участке
(3.10 б)
а наибольшая интенсивность qk определится
(2.10)
При наличии в пролетах балок рубильников с установленными на них
ЗЭП, масса которых существенно больше остальных, нагрузку от них принимается
сосредоточенной, что значительно усложняет расчеты балок.
Подобно предыдущему распределяется нагрузка от массы собираемого
узла (агрегата). При этом интенсивность нагрузки принимаются пропорциональной
площадям поперечных сечений собираемой конструкции. Для упрощения, учитывая,
что приведенная толщина обшивки по длине объекта сборки меняется незначительно,
можно значения q принять пропорционально периметрам П и высотам сечений H.
Распределение нагрузки между балками СП производится так, чтобы их
прогибы при этом были наибольшими из возможных, и зависит от схемы расположения
балок и типа подвески рубильников (ложементов).
Для стапелей двухбалочной схемы (рисунок 3.4, в) принимается:
а) при расчете верхней балки 1 -
массу рубильников Mp, массу объекта, сборки Mос с работающими в нем
людьми, а также массу установленных на ней фиксаторов;
б) при расчете нижней балки 2 - также
массу рубильников Mp, Mос с работающими, массу
фиксаторов, установленных на нижней балке.
в) при расчете верхних балок
учитывается масса правых и левых рубильников. Массу Mос обычно не учитывают;
г) при расчете нижних балок
учитывается масса боковых рубильников своей стороны, половина массы Mос и половинамассы нижних
рубильников.
Для стапелей четырехбалочных схем, что
имеет место при проектировании ТО сборки отсеков фюзеляжа (рисунок 3.4, д):
а) при расчете верхних балок - масса
боковых рубильников, прикрепленных к балке, и половина массы верхних
рубильников. Масса объекта сборки, как правило, не учитывается;
б) при расчете нижних балок
учитывается масса прикрепленных боковых рубильников, половина массы ложементов,
половина массы собираемого агрегата.
Замена сосредоточенных сил распределенной
нагрузкой вносит в расчеты погрешности: замена одной силы, приложенной в
середине пролета балки, равновеликой распределенной нагрузкой, приводит к
уменьшению приложения к балке расчетного прогиба в 1,6 раза, и он составляет
0,625 от действительного. В случае 8-10 сосредоточенных сил расчетный прогиб
составляет 85 - 90% от действительного, что может быть учтено при уточнении
значений.
- верхняя балка; 2 - нижняя балка; 3 -
рубильники; 4 - колонна; 5 - ложемент; 6 - боковые рубильники
Рисунок 3.5 - Распределение вертикальной
нагрузки между элементами СП
3.3
Расчет элементов сборочного приспособления на жесткость
Порядок прочностных расчетов сборочных
приспособлений
В условиях производства, прежде всего при
отсутствии аналогов существует следующий порядок расчета СП.
) По выбранной конструктивной
схеме, учитывая принимаемые допущения, выбирается расчетная схема
приспособления.
) Определяются расчетные нагрузки,
действующие на элементы СП.
) Из условий допустимых прогибов
находятся потребные сечения балок и рубильников стапеля.
) Производятся уточнения
конструкции и нагрузок.
) По уточненным нагрузкам
производится уточненный расчет сечений балок и вносятся необходимые коррективы.
) Проводится проверочный расчет
прогибов балок.
) Определяются нагрузки,
действующие на колонны и фундаменты.
) Выполняется расчет колонн и
фундаментов.
Для определения действующей нагрузки
выбирается материал элементов конструкции и подсчитывается их масса, используя
выбранные параметры СП. Расчеты начинаются с определения прогиба продольных
балок уиз = f ≤ fдоп.
Расчет на жесткость продольных балок
Определение величины деформаций (прогиба f)
производится в общем случае методом и по формулам сопротивления материалов. При
этом
(3.11)
где А, - коэффициент, учитывающий
характер распределения нагрузки и вид опор (см. таблицу 1); Pi -
величина каждой i-й нагрузки, Н; l - длина балки между
опорами в см (м); Е - модуль упругости первого рода в Н/см2
(МПа); Jх - момент инерции сечения балки относительно оси х-х в
см (см. рисунок 3.5, б); E∙JX - жесткость профиля, Н∙см2
(Н∙м2).
Для практических расчетов выполнено ряд
графических зависимостей основных расчетных схем для определения коэффициента А,
исходя из простейшего случая, когда балка свободно лежит на двух опорах, а Р
действует в середине балки и А = 1.
Как указано в таблице 3.1 для данного
случая
(3.12)
значит произведена замена коэффициента 1/48 на коэффициент А
= 1, что дает возможность пересчитать коэффициенты для любых случаев.
Таблица 3.1 - Типы и рекомендуемые сечения швеллерных балок
|
Тип балки
|
№ швеллера
|
12
|
14а
|
16
|
18а
|
20а
|
24а
|
27
|
30
|
|
№ сечения
параметры
|
1
|
2
|
3
|
4
|
5
|
7
|
8
|
|
Н, мм
|
120
|
140
|
160
|
180
|
200
|
240
|
270
|
300
|
|
B, мм
|
104
|
124
|
136
|
148
|
160
|
190
|
190
|
200
|
|
EJx∙107 Н∙м2
|
0,13
|
0,23
|
0,35
|
0,50
|
0,70
|
1,34
|
1,75
|
2,44
|
|
EJy∙107, Н∙м2
|
0,09
|
0,16
|
0,22
|
0,30
|
0,40
|
0,74
|
0,83
|
1,08
|
|
q∙10, Н/м
|
20,9
|
26,7
|
30,6
|
34,9
|
39,6
|
51,7
|
55,3
|
63,6
|
|
№ швеллера
|
20а
|
24а
|
24а
|
24а
|
30
|
30
|
30
|
30
|
|
Н, мм
|
250
|
250
|
300
|
350
|
300
|
350
|
400
|
500
|
|
В, мм
|
220
|
260
|
260
|
260
|
320
|
320
|
320
|
320
|
|
EJX-107, Н∙м2
|
1,48
|
1,77
|
2,82
|
4,19
|
3,39
|
5,00
|
6,95
|
12,1
|
|
EJy∙107, Н∙м2
|
1,67
|
2,72
|
3,05
|
3,37
|
5,06
|
5,57
|
6,07
|
7,07
|
|
q∙10, Н/м
|
12,5
|
84,6
|
92,4
|
100,0
|
104,5
|
112,2
|
120,0
|
136,6
|
По табл. 3.1 соответственно EJпотр
подбираются размеры сечений нормализованных балок (см. рисунок 3.4, б).
Для шарнирноопертых балок такие расчеты
приведены на рисунке 3.6, для защемленных - на рисунке 3.7, для рамных
конструкций - на рисунке 3.8.
В случае расчета элемента конструкции при
действии только собственной массы, равномерно распределенной по длине l
(3.13)
Задавшись допустимым значением f = fдоп =0,1 мм, можно построить кривые зависимостей А∙Рпр,
l и EJ. В расчетах основной
нагрузкой является переменная Рпр (рис. 3.10а, б). В
координатах l и А∙Рпр построены
кубические параболы для тех значений жесткости балки, которые соответствуют
прогибу f = 0,1 мм, при нагрузке балки Рпр
посередине пролета (А = 1). По этим графикам, найдя А∙Рпр
при заданной l находится потребная жесткость балки или
рамы EJпотр.
Рисунок 3.6 - Расчетные схемы и коэффициенты к расчету
шарнирноопертых балок СП
Рисунок 3.7 - Графики для подбора сечений балок и рам СП
Заключение
В данной выпускной квалификационной работе были
проанализированы перспективы развития тяжелых вертолетов одновинтовой схемы,
проведены расчеты летно-технических и геометрических характеристик тяжелого
транспортного одновинтового вертолета c максимальной взлетной массой 22000 кг, а также
выполнена компоновка вертолета. Также было рассмотрено перспективное
приспособление для сборки каркаса (шпангоутов) фюзеляжа вертолета. Целью
проектирования является определение оптимального сочетания основных параметров
вертолета и его систем, обеспечивающих выполнение заданных требований.
Список литературы
1 Способ
и установка для изготовления секции фюзеляжа летательного аппарата: пат.
2525590 Рос. Федерация: МПК B64F5/00 / Галлан Гийом (FR), Делаэй
Ромен (FR); заявитель и патентообладатель Эрбюс Операсьон (FR). -
№2011152862/11; заявл. 10.07.2013; опубл. 20.08.2014, Бюл. №23. - 13 с.: ил.
Богданов
Ю. С. Конструкция вертолетов: учебник для авиационных техникумов / Ю. С.
Богданов, Р. А. Михеев, Д. Д. Скулков. - М.: Машиностроение, 1990. - 272 с.
Колганов
И.М. Технология сборки самолетов: методические указания по проведению
практических занятий. Часть 3 / Колганов И.М., Томов П.Б. - Ульяновск: УлГТУ,
1999. - 55 с.
Кривцов
В.С. Проектирование вертолетов: учебник. / В.С. Кривцов, Л.И. Лосев, Я.С. Карпов.
- Харьков: Нац. аэрокосм. ун-т «Харьк. авиац. ин-т», 2003. - 344 с.
http://www.ato.ru/content/spros-na-vertolety-v-rossii-prodolzhaet-rasti
6 http://www.3e-club.ru/view_full.php?
id=17&name=helicopter
http://ru.wikipedia.org/wiki/CH-53
http://www.airwar.ru/enc/ch/ch53.html
http://www.propulsionplant.ru/dvigateli/aviacionnye-raketnye-morskie-promyshlennye/aviadvigatel-oao/d-25
v.html