Проект грузового автотранспортного предприятия смешанного типа на 127 автомобилей с детальной проработкой аккумуляторного участка

  • Вид работы:
    Дипломная (ВКР)
  • Предмет:
    Транспорт, грузоперевозки
  • Язык:
    Русский
    ,
    Формат файла:
    MS Word
    892,32 Кб
  • Опубликовано:
    2015-07-07
Вы можете узнать стоимость помощи в написании студенческой работы.
Помощь в написании работы, которую точно примут!

Проект грузового автотранспортного предприятия смешанного типа на 127 автомобилей с детальной проработкой аккумуляторного участка

МИНИСТЕРСТВО ОБРАЗОВАНИЯ И НАУКИ РЕСПУБЛИКИ КАЗАХСТАН

Костанайский социально-технический университет

имени академика Зулхарнай Алдамжар

Кафедра «Организация перевозок и транспорт»







Проект грузового автотранспортного предприятия смешанного типа на 127 автомобилей с детальной проработкой аккумуляторного участка

ДИПЛОМНЫЙ ПРОЕКТ


Руководитель

проекта преподаватель Сатыбалдин Т.Т.

Дипломник студент Ткач В.Н.








Костанай 2009

РЕФЕРАТ

Дипломный проект состоит из пояснительной записки объёмом:

страниц, 5 рисунков, 17 таблиц, 11 литературных источников

Ключевыми словами являются: АВТОМОБИЛЬ, АВТОМОБИЛЬНЫЕ ПЕРЕВОЗКИ, ОРГАНИЗАЦИЯ ПЕРЕВОЗОК, СТРУКТУРА АВТОМОБИЛЬНОГО ПАРКА, ВИД ТОПЛИВА, ЭКОЛОГИЯ, ВЫПУСКНЫЕ СИСТЕМЫ, ДВИГАТЕЛЬ, САЖЕВЫЙ ФИЛЬТР, ЭКОНОМИЯ, ЭФФЕКТИВНОСТЬ.

В разделах проекта описан анализ хозяйственной деятельности предприятия «Трансрудныйавто», выполняющего объемы перевозок пассажиров и грузов (руды). В качестве расчетного числа для проекта взяты 69 единиц автосамосвалов, вывозящих руду из карьеров. Приведена классификация грузовых перевозок и грузов, проанализирована перевозка навалочного груза. Осуществлены расчеты возможной производительности АТС, годовой пробег АТС, рассчитано повышение производительности АТП, с учетом возрастающей добычи руды, рассчитано необходимое число АТС для перевозки руды. Приведены показатели качества перевозок.

В конструктивной части проекта предложено новое техническое решение в виде сажевого фильтра, позволяющее осуществлять экономию топлива и защищать окружающую среду. Кроме того, разработаны мероприятия по охране труда и окружающей среды на автопредприятии.

Экономическая эффективность проекта составит 74209,3 тысячи тенге

СОДЕРЖАНИЕ

Введение

. Характеристика хозяйства

.1 Общие положения

.2 Анализ деятельности предприятия

.3 Обоснование проекта

. Классификация грузовых автомобильных перевозок

. Проектная часть

.1 Грузы и их классификация

.2 Выбор типа АТС для перевозки груза

.2.1 Расчет производительности АТС

.2.2 Расчет годового пробега с грузом

.2.3 Расчет повышения производительности АТП

.3 Себестоимость грузоперевозок

.4 Перевозки навалочных грузов

.5 Проектирование технологического процесса перевозки грузов

.5.1 Расчет необходимого числа АТС при перевозке руды

.6 Показатели качества перевозок

3.7 Технологическая планировка аккумуляторного участка

4. Конструктивная разработка

.1 Расчет крепления фильтра

.2 Расчет пружины фильтра

. Охрана труда

.1 Охрана труда на предприятии

.2 Анализ производственного травматизма и состояния охраны труда в

АТП

.3 Мероприятия по улучшению охраны труда

5.4 Расчёт защитного заземления

.5 Освещение участка и его расчёт

6. Охрана окружающей среды

6.1 Экологическая экспертиза всего предприятия

.2 Мероприятия по ликвидации последствий чрезвычайных ситуаций

7. Экономическая эффективность проекта

Заключение

Список литературы

Приложения

автотранспортный перевозка аккумуляторный фильтр

ВВЕДЕНИЕ

Спрос на грузовые автомобильные перевозки во многом определяется динамикой и структурой изменения объемов производства в стране, а также платежеспособностью предприятий и организаций всех отраслей экономики.

Следует учитывать, что экономика и перевозки взаимно влияют друг на друга. Как развитие экономики вызывает рост перевозок, так и высокий уровень и возможности перевозочных услуг благотворно влияют на уровень инвестиций и темпы роста экономики в регионе.

Автомобильным транспортом (AT) в Казахстане перевозится около 80 % общего объема грузов, перевозимых всеми видами транспорта, т.е. подавляющая часть грузов не может быть доставлена потребителям без AT. В то же время в общем грузообороте всех видов транспорта доля AT не составляет и нескольких процентов. Таким образом, основная сфера деятельности AT - это доставка продукции в городах и подвоз-вывоз грузов в транспортных узлах железнодорожного и морского транспорта.

Транспорт является частью производительных сил общества и представляет собой самостоятельную отрасль материального производства. Отсюда следует, что продукция транспорта имеет материальный характер и выражается в перемещении вещественного продукта других отраслей.

Эффективность взаимодействия AT с другими видами транспорта в транспортных узлах обеспечивается выполнением следующих мероприятий:

1.Единый технологический процесс переработки грузов устанавливает четкие правила взаимодействия и единые технологии работы для отдельных элементов транспортного узла и обслуживаемых организаций.

2.Совмещенные графики работы подвижного состава (ПС) различных видов транспорта позволяют снизить простои транспорта и имеют особую эффективность, если являются составной частью единого технологического процесса и увязаны с графиками работы погрузочно-разгрузочных механизмов (ПРМ).

3.Прямая перегрузка грузов с магистральных видов транспорта на AT позволяет сократить площадь транспортных узлов и сократить расходы на складские операции, но требует соблюдения графика подачи ПС под погрузку и своевременного оформления документов на груз.

4.Использование контейнеров позволяет решить проблемы технического взаимодействия и значительно снизить время на перегрузочные операции и повысить сохранность груза.

С точки зрения экономических отношений автомобильный транспорт неоднороден и делится на три группы.

Транспорт общего пользования выполняет коммерческие перевозки грузов сторонних организаций и физических лиц на договорной основе.

Транспорт предприятий и организаций перевозит свои грузы за собственный счет для производственных нужд на транспортных средствах, принадлежащих им на праве собственности или на ином законном основании.

Следует отметить, что в Казахстане транспортом этой группы, по официальным данным, выполняется порядка 90 % общих грузоперевозок по народному хозяйству, тогда, как, например, во Франции только 47 %.

Личный транспорт служит для удовлетворения потребностей исключительно владельца транспортного средства. Основное значение этот транспорт имеет для пассажирских перевозок.

Приведенное деление транспорта выделяет экономическое и правовое положение перевозчика в транспортном процессе и используется в нормативном обеспечении перевозочной деятельности. В то же время необходимо отметить наличие и другого подхода. Например, ГОСТ Р 51006 - 96 определяет транспорт общего пользования как транспорт, обеспечивающий перевозки и предоставление услуг транспортной экспедиции на основе уставов и кодексов соответствующих видов транспорта и иных федеральных законов и правовых актов. Грузовые автомобильные перевозки (ГАП) являются важным фактором развития экономики страны и обеспечения ее внешне экономических связей.

1. 
ХАРАКТЕРИСТИКА ХОЗЯЙСТВА


1.1    Общие положения

ТОО «Трансрудныйавто» автотранспортное предприятие основано в 1958 году и было реорганизовано в 1992. Первоначально оно было предназначено для перевозки строительных материалов в городских предприятиях, таких как: строительного и дорожно-ремонтных участков и т.д. Далее, по мере развития добывающей промышленности Кустанайской области, предприятие перешло на работы в карьерах, то есть на перевозки руды к железнодорожным составам.

Предприятие находится на юго-западе Костанайской области (8км южнее города Рудного) в умерено - холодной климатической зоне. Оно предназначено для перевозки грузов и пассажиров, а также для проведения работ в карьерах, хранению и материально-техническому обеспечению подвижного состава.

Предприятие имеет 3 категорию дорожных условий эксплуатации подвижного состава. Во главе предприятия стоит директор - Ширшов Константин Викторович, под его непосредственным руководством находятся: главный инженер, отдел технического контроля и механики колонн, обеспеченность кадрами в таблице 1.1.

Таблица 1.1 Обеспеченность предприятия кадрами

Группы работающих

Годы


2006

2007

2008

Всего работающих В т.ч. водители 1 класса 2 класса

244

236

235


131

128

129

Ремонтных рабочих

79

76

75

Вспомогательных рабочих

34

32

31

1.2 Анализ деятельности предприятия

Целью анализа является выявление недостатков и резервов в использовании автомобильного парка для снижения себестоимости перевозок т×км., количество человек, повышение коэффициентов технической готовности и использования парка.

Анализ использования подвижного состава начинается с определения объема грузоперевозок и пассажироперевозок (таблица 1.2 и таблица 1.3).

Таблица 1.2 Объем грузоперевозок

Годы

тонн

% к базовому году

Тыс.т×км

% к базовому году

2006

2900846

100

60972662

100

2007

2976305

102,5

60992468

100,1

2008

2964473

102,2

60868746

99,8


Увеличение объема пассажироперевозок в 2007 году связано с тем, что между руководством ТОО и городом Рудный был подписан договор о перевозке пассажиров. В 2008 году основные перевозки были связаны с заключением договоров с частными фирмами.

Таблица 1.3 Объем пассажироперевозок

годы

Пассажиры

% к базовому году

пас×км

% к базовому году

2006

360456

100

3640613

100

2007

332404

92,21

4360239

119

2008

312783

86,77

4243597

116


Уменьшение количества пассажиров связано с увеличением цен на билеты. Увеличение расстояний перевозок связано с тем, что люди начали искать работу в городе Рудном.

Для выполнения представленного объема работ в АТП имеется парк состоящий из: 69 грузовых автомобилей и 58 автобусов (на конец 2008 года).

Анализ использования автопарка представлен в таблице 1.4. Основными показателями работы автотранспорта предприятия являются:

· коэффициент технической готовности, aт;

· коэффициент использования парка, aи ;

· коэффициент выпуска, aв;

· коэффициент использования грузоподъемности, ag.

Они отражают работу системы ТО, состояние использование парка, а также работы инженерно-технической службы.

Таблица 1.4 Основные показатели работы парка

Показатели

Годы


2006

2007

2008

 aт

0,91

0,89

0,80

aи

0,71

0,7

0,8

aв

0,359

0,334

0,5

ag

1,66

1,58

1,6

tн :автомобили автобусы

77,1 133,9

36,7 127,1

21 121,2


Показатели сравнительно невысокие и незначительно они изменяются по годам. Невысокие показатели связаны прежде всего, с работой зон ТО и ТР, а также службы эксплуатации и производственно-технической службы.

Качество работы предприятия зависит от наличия основных фондов, их обновления, затрат на ТО и ТР, а также на запасные части и материалы.

Для определения состояния основных фондов вводим понятия коэффициент обновления (кобн.) и выбытия (квыб) основных фондов предприятия.

;  (1.1)

где ОФвв - ОФ вводимые в начале года;

ОФк.г - ОФ списанные в конце года;

ОФвыб - ОФ выбывшие за год;

ОФн.ч. - наличие ОФ на начало года.

Таблица 1.5 Стоимость ОФ предприятия

Годы

Стоимость ОФ тыс. тенге

Выбывшие ОФ  тенге

Вводимые  ОФ тенге

Кобн.

Квыб.

2006

478155

815580

1898675

0,015

0,006

2007

478560

1101480

4601245

0,005

0,008

2008

485060

2815975

4790915

0,023

0,03


Как видно из таблицы 1.5 степень обновления довольно низкая, это прежде всего связано с отсутствием у предприятия средств на приобретение ОФ, а в следствии этого довольно высокий процент износа подвижного состава, что в свою очередь влияет на затраты определяющие себестоимость грузоперевозок.

Затраты влияют на основные экономические результаты деятельности предприятия в целом. Из таблицы 1.6 видно, что затраты резко возрастают на: амортизацию, текущий ремонт ОФ, ремонт, замена резины. Увеличение этих затрат влечет за собой увеличение затрат на запасные части и материалы.

Таблица 1.6 Затраты по грузоперевозкам

Затраты тыс. тенге

2006

2007

2008

Затраты с начислениями

109740

128790

144810

ТСМ

11675

7465

16905

Амортизация ОФ

9650

12475

7600

Текущий ремонт ОФ

12540

13930

19200

Ремонт и замена авторезины

5580

7440

7975

Прочие расходы

6055

7345

11790


Таблица 1.7 Затраты на запасные части и материалы

Годы

Затраты в тенге.

% к базовому году

2006

15186000

100

2007

18172980

119

2008

20562150

135


Затраты на запасные части и материалы значительно возрастают от базового года. Это связано с большим износом основных органов и минимальный уровень их обновления, что в свою очередь увеличивает затраты на ТО и ТР в значительной степени.

Таблица 1.8 Затраты на ТО и ТР

Годы

Затраты, тенге

% к базовому году

2006

5067030

100

2007

5672685

111

2008

7698055

152


Затраты приведенные в таблицах 1.6; 1.7; 1.8 в первую очередь влияют на себестоимость перевозок.

Из таблицы 1.9 видно, что себестоимость грузоперевозок не постоянная и отличается от базового варианта. Это связано с увеличением затрат с одной стороны и изменением объема перевозок с другой стороны.

Таблица 1.9 Себестоимость перевозок

Годы

Себестоимость, тенге

% к базовому году

2006

155

100

2007

135

87

2008

150

97


Таблица 1.10 Результаты деятельности предприятия

Показатели

Годы


2006

2007

2008

Затраты всего, тыс. тенге

155020

177180

195935

Сумма прибыли, тыс. тенге

7905

18050

15170

Уровень рентабельности, %

5,2

13,4

11,06


На основе таблицы 1.10 делаем вывод, что предприятие работает с прибылью, но суммы затрат на перевозки грузов очень велики, велики и суммы затрат на ремонт и техническое обслуживание автомобильного парка.

1.3    Обоснование проекта

Из 69 единиц грузовых автомобилей, автомобили БЕЛАЗ и МАЗ используются на перевозках руды из карьеров, остальные автомобили используются на обслуживании городских предприятий.

Для расчета проекта оставляем подразделение, используемое на перевозках руды в условиях ТОО, то есть автомобили БЕЛАЗ и МАЗ.

Чтобы уменьшить затраты на перевозку руды из карьера к составам необходимо осуществить перерасчет планирования перевозок, организовать контроль и управление перевозками, наладить учет и анализ перевозок.

Для этого необходимо выбрать и рассчитать тип АТС для перевозки навалочного груза, подсчитать себестоимость грузовых перевозок, спроектировать технологический процесс перевозки руды, выявить показатели качества, повысить производительность АТП.

Кроме того для данного предприятия есть необходимость осуществить разработку конструкции сажевого фильтра для системы выпуска отработавших газов, что позволит уменьшить затраты на техническое обслуживание автомобилей, работающих на дизельном топливе.

2.     
КЛАССИФИКАЦИЯ ГРУЗОВЫХ АВТОМОБИЛЬНЫХ ПЕРЕВОЗОК

Производственный процесс AT заключается в перемещении грузов и пассажиров и называется автомобильными перевозками. Процесс выполнения автомобильных перевозок можно разделить на четыре этапа:

· планирование;

· организация;

· контроль и оперативное управление;

· учет и анализ результатов работы.

В связи с многообразием условий выполнения перевозок и видов грузов грузовые автомобильные перевозки различают по следующим признакам:

по отраслям (типы обслуживаемых предприятий и, следовательно, виды перевозимых грузов):

Промышленные грузы занимают около 30 % от общего объема перевозок. Это грузы промышленных предприятий, включая сырье, готовую продукцию, топливо, перевозимые между промышленными объектами, узлами внешнего транспорта и складскими территориями;

Строительные - 35 %. Это грузы промышленного и гражданского капитального строительства, включающие грузы строительной индустрии, сырьевые строительные материалы, строительное оборудование и машины, грунт и строительный мусор;

Сельскохозяйственные - 10 %. Это сельскохозяйственная продукция, семена, удобрения и т.п.;

Потребительские - 20%. Это грузы продовольственного, промтоварного снабжения и бытового обслуживания населения. К потребительской группе относятся также грузы очистки города от твердых бытовых отходов, снега и мусора, а также топливные грузы; прочие - 5 %;

по размеру партий груза:

массовые, для которых характерны перевозки большого объема однородного груза;

мелкопартионные, при которых масса партии груза не превышает половины грузоподъемности ПС;

по территориальному признаку:

технологические, выполняемые внутри предприятий или в пределах технологического цикла выпуска продукции; городские, выполняемые по территории города;

пригородные, выполняемые на расстоянии не далее 50 км от границ города;

междугородные, выполняемые далее 50 км от границ города;

международные, выполняемые между различными государствами;

по способу выполнения:

прямого сообщения, которые осуществляются от пункта отправления до пункта назначения одним автомобилем;

терминальные, выполняемые через систему грузовых автостанций (складов, терминалов);

смешанного сообщения (интермодальные, мультимодальные), которые осуществляются несколькими видами транспорта. Разновидностью этих перевозок являются комбинированные перевозки, осуществляемые несколькими видами транспорта без перегрузки (паромные переправы для перевозки ПС через водные преграды, контрейлерные перевозки ПС на железнодорожных платформах и т.п.);

по времени освоения:

постоянные, наиболее характерные для промышленных и торговых грузов;

сезонные, наиболее характерные для сельскохозяйственных грузов;

временные, наиболее характерные для строительных грузов;

по типу организации:

централизованные, когда перевозчик или специализированная фирма являются организаторами перевозок;

децентрализованные, когда каждый грузополучатель самостоятельно обеспечивает перевозку груза.

В зависимости от перечисленных условий сильно различаются требования к используемому ПС, технология и организация перевозок, методики планирования и средства контроля и управления движением ПС.

3. ПРОЕКТНАЯ ЧАСТЬ

3.1 Грузы и их классификация

Все предметы и материалы с момента принятия их к транспортировке и до сдачи получателю являются грузами. На AT перевозится практически вся номенклатура существующих грузов. От вида груза в значительной степени зависит тип используемого для перевозок ПС, погрузочно-разгрузочных машин или механизмов (ПРМ) и технология перевозок. На рис. 2.1 представлена транспортная классификация грузов и их влияние на тип используемого для перевозок ПС.

В зависимости от наличия упаковки грузы бывают бестарные и тарные.

Грузы, которые могут перекатываться, называются катными.

По степени опасности грузы делятся на следующие группы:

малоопасные (стройматериалы, пищевые продукты и т.п.);

опасные по своим размерам (длинномерные и крупногабаритные);

пылящие или горячие (цемент, минеральные удобрения, асфальт, битум и т.п.);

опасные грузы.

Перевозка опасных грузов регламентируется специальными нормативными документами.

Масса и габаритные размеры груза определяют его отношение к грузам большой массы (масса одного грузоместа более 250 кг для обычных грузов и более 400 кг для катных).

Тяжеловесным называется груз, который, будучи погружен в транспортное средство, вызывает превышение хотя бы одного из параметров по разрешенной максимальной массе ПС или осевым нагрузкам, определенных в нормативных документах. Крупногабаритным называется груз, который, будучи погружен в транспортное средство, вызывает превышение хотя бы одного из параметров по предельным габаритным размерам ПС, определенных в нормативных документах. Длинномерным называется груз, который, будучи погружен в транспортное средство, выступает за задний борт более чем на 2 м.

По степени загрузки ПС грузы делятся на четыре класса, сведения о которых приведены в таблице 3.1. Класс груза в значительной степени определяет эффективность использования ПС и уровень тарифов на перевозку.

Коэффициент использования грузоподъемности равен отношению:


где qф - фактическая грузоподъемность ПС;

qн - номинальная грузоподъемностьПС.

Рисунок 3.1 Транспортная классификация грузов

Таблица 3.1 Классы грузов

Класс

Коэффициент использования грузоподъемности γ


диапазон

среднее значение

1

0,91... 1,0

0,96

2

0,71 ...0,9

0,8

3

0,51...0,7

0,6

4

0,40... 0,5

0,45


В зависимости от режима хранения и требуемых условий перевозки грузы делятся на обычные, скоропортящиеся, антисанитаные и живность.

Физико-химические и биологические свойства грузов могут привести к изменению массы, объема или целости груза и снижению его качества.

Качество груза - это совокупность свойств, определяющих степень пригодности продукции к использованию по назначению. Основные показатели качества определены стандартами и техническими условиями производителя. Для проверки качества могут использоваться органолептический, лабораторный или натурный (обмер и взвешивание) методы.

Неизбежные потери грузов относятся к естественной убыли, которая при перевозках нормируется. Нормы устанавливаются производителем или потребителем продукции и соответствуют тем максимальным размерам естественной убыли, за которые перевозчик не несет ответственности. Как правило, нормы зависят от сезона, способа перевозки, дальности, региона и т.п.

Масса груза, кг, относящаяся к естественной убыли, при перевозках на расстояние до 100 км определяется по формуле:

Qу=Nуqф/100. (3.1..2)

При перевозках на расстояние свыше 100 км:

Qу=[Nу +kу(lе.r -100)/100] qф/100 (3.1.3)

где Ny - норма убыли на 1 кг груза, %;

qф - фактическая грузоподъемность АТС, т;

kу - коэффициент убыли на 1 кг груза на каждые 100 км, %;

lе.r - расстояние перевозки, км.

Основные факторы, связанные с сохранностью груза, определяются механическим воздействием на груз (в основном это величина вертикальных ускорений) и влиянием условий окружающей среды. Величины предельных вертикальных ускорений, допускаемых при перевозках грузов, приведены в таблице 3.2.

Таблица 3.2 Значения предельных вертикальных ускорений

Категория груза

Вертикальные ускорения, м/с2

Примеры

1

9

Стекло, электроника, опасные грузы

2

15

Мебель, электротовары

3

21

Песок, дрова


Наиболее вредное влияние на груз оказывает повышенная влажность воздуха и наличие в нем посторонних примесей. В связи с этим в процессе длительной транспортировки необходимо в грузовом отсеке контролировать абсолютную и относительную влажность воздуха и точку росы.

3.2 Выбор типа АТС для перевозки грузов

При организации ГАП существенное значение имеет выбор такого ПС, использование которого обеспечивало бы максимальную эффективность перевозок. В конкретных условиях выполнения перевозок на выбор типа ПС оказывают влияние свойства груза и требования, предъявляемые к его защите от воздействия внешних факторов, способ выполнения ПРР, дорожные условия и т.п. После выбора типа ПС при наличии у перевозчика нескольких моделей АТС данного типа необходимо выполнить расчет затрат. Наименьшие затраты будут соответствовать лучшей модели АТС для выполнения данных перевозок.

Схема влияния внешних условий на выбор типа ПС для перевозки грузов представлена на рисунке 3.2.

На выбор конкретной модели ПС существенное значение будет оказывать ситуация на рынке грузовых АТС.

Рисунок 3.2 Схема выбора типа подвижного состава для перевозки грузов

Тягачи для магистральных перевозок (long haul) имеют очень комфортабельную кабину и 10... 14-литровые двигатели мощностью от 300 до 500 л. с. Подвеска, как правило, пневматическая, предназначена для эксплуатации по очень хорошим дорогам.

Универсальные А ТС (general purpose) по внешнему виду близки к первой группе, но имеют кабину, не предназначенную для автономного проживания. Такие АТС, как правило, имеют усиленные лонжероны рамы, многолистовые рессоры в подвеске и коробки перемены передач с увеличенным количеством ступеней. Это позволяет эксплуатировать такие автомобили в разнообразных условиях.

Строительные А ТС (construction) имеют колесную формулу 6x6 или даже 8x4 и предназначены для передвижения и вне дорог с твердым покрытием. Как правило, в эту группу входят специализированные автомобили для перевозки навалочных грузов, бетона и т.п.

Развозные автомобили для городских и пригородных перевозок (distribution) рассчитаны на короткие маршруты и относительно хорошие дороги, имеют низкую кабину, двигатель объемом до 10 л мощностью 150...260 л.с.

В соответствии с европейской классификацией, установленной Комитетом по внутреннему транспорту ЕЭК ООН и принятой также в нашей стране, грузовые АТС делятся на следующие категории:

· N1 - грузовые автомобили с разрешенной максимальной массой до 3,5 т;

· N2 - грузовые автомобили с разрешенной максимальной массой свыше 3,5 до 12,0 т;

· N3 - грузовые автомобили с разрешенной максимальной массой свыше 12,0 т;

· 01 - прицепы с разрешенной максимальной массой до 0,75 т;

· 02 - прицепы и полуприцепы с разрешенной максимальной массой свыше 0,75 до 3,5 т;

· 03 - прицепы и полуприцепы с разрешенной максимальной массой свыше 3,5 до 10,0 т;

· 04 - прицепы и полуприцепы с разрешенной максимальной массой более 10,0 т.

Для седельных тягачей в качестве разрешенной максимальной массы рассматривают сумму массы тягача в снаряженном состоянии и массы, соответствующей максимальной статической вертикальной нагрузке, передаваемой тягачу от полуприцепа через седельно-сцепное устройство.

Для полуприцепов, сцепленных с тягачом, или прицепов с центральной осью в качестве разрешенной максимальной массы рассматривают массу, соответствующую максимальной статической вертикальной нагрузке на опорную поверхность от оси или осей, когда полуприцеп или прицеп с центральной осью присоединен к тягачу и максимально загружен.

Подвижной состав повышенной проходимости может иметь комбинированное обозначение, например N1G (автомобиль класса N1, имеющий полный привод).

Данная классификация в основном используется при разработке нормативных документов, регламентирующих требования к конструкции ПС и процедурам проверки соблюдения этих требований.

В Казахстане, в соответствии с отраслевой нормалью ОН 025 270-66, действует единая унифицированная система обозначения АТС, которая существенно облегчает понимание назначения автомобиля без обращения к его техническим характеристикам. В наименовании модели после сокращенного обозначения завода-изготовителя используется цифровой индекс, первые две цифры которого формируются в соответствии с таблице 3.3. Последующие цифры в индексе автомобиля указывают на номер модели, модификации и т.п., а прицепного состава - условный код диапазона полной массы.

Таблица 3.3 Система обозначения грузовых АТС

Тип АТС

Полная масса, т

Прицепы

Полуприцепы, роспуски


до 1,2

свыше 1,2 до 2,0

свыше 2,0 до 8,0

свыше 8,0 до 14,0

свыше 14,0 до 20,0

свыше 20,0 до 40,0

свыше 40,0



Бортовые

13

23

33

431

53

63

73

83

93

Тягачи

14

24

34

44

54

64

74

-

-

Самосвалы

15

25

35

45

55

65

75

85

95

Цистерны

16

26

36

46

56

66

76

86

96

Фургоны

17

27

37

47

57

67

77

87

97

Резерв

18

28

38

48

58

68

78

88

98

Специальные

19

29

39

49

59

69

79

89

99


Зарубежные изготовители АТС используют собственные системы обозначения производимых ими моделей АТС.

При выборе АТС также необходимо учитывать дорожные условия, в которых предстоит осуществлять перевозки. В первую очередь это относится к ограничению осевых нагрузок.

Производительность в тонна-километрах на 1 т грузоподъемности может определяться на количество автомобиле-тонна-часов наряда:

Wтч = ΣW/(qср ΣАЧ)=γβυ (3.2.1)

или на одну списочную автомобиле-тонну:

Wат = ΣW/(qср Асп)=γβυэТнДр, (3.2.2)

где qcp - средняя грузоподъемность списочного АТС;

АЧ - число автомобилечасов в наряде.

Количество АТС, необходимых для выполнения заданного объема работ, определяется из соотношения

Аэ = CEILING(Q/UPД), (3.2.3)

где CEILING - функция, возвращающая ближайшее большее целое значение; Q - заданный объем перевозки груза за смену.

3.2.1 Расчет производительности АТС

Автомобиль БЕЛАЗ (qH = 40 т) перевозит груз (γ = 1) на расстояние lеr = 10 км, при этом lх = 20 км, lн = 20 км, υэ = 20 км/ч, υт = 30 км/ч, Тн = 8,3 ч. Определить производительность ПС за смену (U и W).

Определяем время на нулевой пробег:

tн = /н/Ч= 10/30 = 0,3 ч.

Время работы на маршруте:

Тм = TH -tH = 8,3 - 0,3 = 8,0 ч.

Время одной ездки по формуле :

tе = (lе.r + lх)/υе = (20 + 20)/20 = 2ч.

Число ездок определяем по формуле:

nе = INT(Tм/ tе) = INT(8/2) = 4

Производительность за день:

Uр.д. = qнγnе = 40• 1 • 4 = 160 т

Аналогично определяем возможную производительность за день для автомобилей МАЗ - она будет равна 130 т .

При парке автосамосвалов в 69 единиц производительность за 305 рабочих дней составит (без учета простоев и поломок) - 3147600 тонн.

3.2.2 Расчет годового пробега с грузом

Автомобиль выезжает из АТО в 8 ч, а возвращается в 17 ч, продолжительность обеда 1 ч. Эксплуатационная скорость 20 км/ч; αв = 0,8; β = 0,6. Определить общий и груженый пробег этого автомобиля за год.

Время в наряде составит:

Тн= 17-8- 1 = 8ч.

За смену пробег автомобиля равен:

Lсут= Тнυэ = 8·20 = 160 км.

Общий пробег за год:

Lо6 = ДкαвLсут = 305·0,8·160 = 39040 км.

Пробег с грузом за год определим по формуле:

Lr = Lo6β = 39040 • 0,6 = 23424 км.

При парке автосамосвалов 69 единиц общий пробег составит (без учета простоев и поломок) - 1616256 км.

3.2.3 Расчет повышения производительности АТП

Автомобили МАЗ с двигателем, развивающим мощность 240 л. с. Из-за наличия на маршруте движения затяжных подъемов средняя скорость vT = 15 км/ч. Время работы на маршруте 7 ч; длина ездки с грузом 10 км; коэффициент использования пробега 0,5; время погрузки-разгрузки 1 ч. Необходимо рассчитать среднюю скорость движения АТС для получения прироста производительности.

Для прироста производительности необходимо увеличить количество оборотов:

п0 = INT(TMvT/(2 lе.r + vТ tп.р)) = INT(7*15/(2*10 + 15*1)) = INT{3,00) = 3 оборота.

Для выполнения в течение смены 4 оборотов время одного оборота необходимо сократить до величины:

tоМ/4= 7/4 = 1,75 ч

при этом значение скорости составит:

vТ = 2 lе.r /(tо - tп.р) =2*10/(1,75 - 1)= 26,7 км/ч.

Для повышения средней скорости движения необходимо использовать более мощные тягачи, например БЕЛАЗ.

3.3 Себестоимость грузовых перевозок

Затраты АТО на выполнение перевозок в денежной форме представляют эксплуатационные расходы, а рассчитанные на единицу транспортной продукции называются себестоимостью перевозок и на AT исчисляются в р./(т-км), р./км, р./т или р./ч в зависимости от способа фиксации величины работы АТС.

Структура себестоимости - это состав и соотношение статей расходов и элементов затрат в общих эксплуатационных расходах.

На AT принято рассчитывать и составлять отчеты по себестоимости перевозок по следующим статьям:

· основная и дополнительная заработная плата водителей с начислениями;

· затраты на топливо - учитывают кроме затрат на топливо, израсходованное при работе на линии, затраты на топливо, используемое на внутри гаражные нужды;

· затраты на смазочные и другие эксплуатационные материалы;

· затраты на износ и ремонт автомобильных шин;

· затраты на техническое обслуживание и ремонт ПС;

· амортизационные отчисления на восстановление ПС;

· накладные расходы на функционирование АТО.

Себестоимость перевозок определяет тарифы на перевозки с учетом необходимого уровня рентабельности работы АТО для возможности расширенного воспроизводства.

Снижение себестоимости перевозок является важным средством для снижения тарифов и, таким образом, привлечения дополнительных клиентов. Основные методы снижения себестоимости заключаются в повышении производительности ПС за счет увеличения количества груза, перевозимого за одну ездку, сокращения непроизводительных простоев и холостых пробегов, повышения скорости движения. Снижение затрат достигается за счет экономии автомобильного топлива, использования более нового и совершенного ПС, уменьшения накладных расходов и сокращения вспомогательного персонала АТО.

Себестоимость перевозок руды подсчитана в разделе 6 «Эффективность проекта».

3.4 Перевозки навалочных грузов

Перевозки навалочных грузов в больших объемах выполняются в строительстве, при разработке полезных ископаемых и в сельском хозяйстве.

Для перевозки навалочных грузов наиболее рационально использовать самосвалы или самосвальные автопоезда, которые обеспечивают быструю разгрузку. Тип самосвала должен соответствовать особенностям перевозимого груза (см. таблица 3.4). При значительных расстояниях перевозки, когда грузоподъемность ПС начинает играть главную роль, для перевозки навалочных грузов могут использоваться универсальные автопоезда.

Объем навалочного груза, который может быть перевезен в АТС, необходимо рассчитывать по формуле, учитывающей объем «шапки», образующейся над верхней поверхностью открытого кузова:

Vr = Vк + (bк/2)3 tдв,(3.4.1)

где VK - геометрический объем кузова;

bк - ширина кузова;

αдв - угол естественного откоса груза в движении.

Таблица 3.4 Характеристики основных навалочных грузов

Наименование

Плотность, т/м3

Угол откоса,о



в движении

в покое

Глина сухая Глина сырая Гравий Земля Зерно Картофель Песок Торф Уголь Шлак Щебень

1,8 2,0 1,7 1,6 0,6 0,6 1,6 0,5 0,8 0,7 1,8

40 20 30 17 28 20 30 40 30 35 35

 40 25 45 27 35 28 33 45 45 50 45


Максимальная масса перевозимого груза составит

Qr = vr ρ (3.4.2)

где ρ - плотность груза.

Если Qr > qн, то объем кузова не может быть использован полностью и в самосвал необходимо загрузить массу груза, соответствующую его номинальной грузоподъемности объемом Vr = qH/ ρ.

Если Qr < qH, то объем кузова недостаточен для полной загрузки данного ПС. Степень использования грузоподъемности будет определяться соотношением массы груза и номинальной грузоподъемности АТС.

Время погрузки самосвала зависит от времени цикла экскаватора и соотношения между грузоподъемностью ПС и ковша экскаватора. Для уменьшения времени погрузки желательно, чтобы вместимость ковша была кратной грузоподъемности ПС. При этом необходимо учитывать, что для уменьшения динамической нагрузки на шасси самосвала при ссыпании груза экскаватором его ковш должен находиться на высоте не более 1 м над днищем кузова. Следует соблюдать следующие соотношения между грузоподъемностью ковша экскаватора и ПС: мягкий, грунт - 3; тяжелый или смерзшийся грунт - 4; скальный грунт - 5.

Для автосамосвалов время простоя под погрузкой или разгрузкой можно ориентировочно рассчитывать исходя из 1 мин на каждую тонну груза. При погрузке или разгрузке вязких грузов (глина, строительный раствор, бетон, навоз) это время увеличивают до трех раз.

Перевозки однородных навалочных грузов от одного грузоотправителя в адрес одного грузополучателя оформляются одной ТТН и одним актом замера или взвешивания.

Характерными особенностями карьерных перевозок являются значительный объем перевозок, непостоянство прохождения дорог, повышенные требования к прочности ПС и т. п. Для таких перевозок используются карьерные самосвалы грузоподъемностью свыше 30 т.

Можно отметить следующие особенности использования АТС в карьерах:

· сложные условия движения со значительными уклонами до 8... 10 %, крутые повороты с радиусами 20...25 м на очень коротких маршрутах;

· необходимость частого проведения технического обслуживания и ремонта ПС в связи с тяжелыми условиями работы карьерных самосвалов;

· наличие нескольких технологических перерывов в течение смены для очистки и планировки забоя.

В карьере схема движения АТС может быть встречной (однополосной или двухполосной), тупиковой или кольцевой. Выбор схемы движения зависит от дальности перевозки, ширины рабочих площадок и схемы установки экскаваторов, интенсивности и безопасности движения, расходов на строительство дорог. На карьерных дорогах обгон запрещен.

При перевозках грузов в карьерах грузоотправитель обязан:

·        устраивать ограждение вдоль карьерной дороги со стороны нижнего откоса высотой не менее 0,7 м;

·        при наличии уклона дороги более 8° оборудовать участки длиной 50... 100 м с нулевым уклоном на расстоянии, не превышающем 100 м от начала подъема;

·        на погрузочных площадках, имеющих уклоны, устанавливать упоры под колеса АТС;

·        своевременно очищать дорогу и при необходимости поливать для удаления пыли;

·        освещать места работы внутри карьера для предотвращения ослепления водителей;

При использовании большого числа экскаваторов повысить эффективность использования ПС можно, не закрепляя самосвалы за конкретным экскаватором, а направляя АТС к наименее загруженному экскаватору. Это требует наличие диспетчерского поста на въезде в зону погрузки, но существенно снижает простои самосвалов в ожидании погрузки.

3.5 Проектирование технологического процесса перевозки грузов

Процесс перевозки грузов затрагивает большое число участников транспортного процесса и должен рассматриваться комплексно на основе технологии, согласованной всеми сторонами и базирующейся на нормативных документах или результатах инженерной подготовки перевозок.

Технология грузовых перевозок - это совокупность приемов и способов выполнения процесса доставки груза потребителю.

Для унификации технологических средств, методов и терминологии с 1975 г. в нашей стране в качестве государственного стандарта действует Единая система технологической документации (ЕСТД). В соответствии с ГОСТ 3.1109 - 82 технологический процесс является частью производственного процесса, содержащей целенаправленные действия по изменению предмета труда. При перевозках технологический процесс обычно представляется в виде описания процесса перевозки, инструкций по его выполнению, правил и ограничений, особых требований, графиков и т.д.

Технологический процесс перевозок грузов обычно содержит элементы, представленные на рисунке 3.3.

Рисунок 3.3 Основные этапы технологического процесса перевозок

Разработка технологического процесса перевозок грузов осуществляется в следующей последовательности:

·установление нормируемых характеристик перевозки (расчетная скорость движения, время выполнения погрузочно-разгрузочных работ, график или интенсивность подачи подвижного состава, суточный или почасовой объем перевозок и т.п.);

·выбор маршрута и технологии выполнения перевозок;

·разработка технологической документации;

·определение методов контроля качества и безопасности выполнения перевозок;

·анализ характеристик технологического проекта, который должен подтвердить выполнение нормируемых показателей, обеспечение безопасности и качества перевозок;

·утверждение технологического проекта руководящим составом АТО.

Основой для разработки технологического процесса перевозки является заявка на перевозки или договор (коммерческое предложение) с описанием требований к транспортной услуге заказчика перевозок. Для каждой характеристики транспортной услуги должны быть указаны приемлемые для потребителя и исполнителя значения. Технологический проект должен содержать конкретные требования по обеспечению безопасности перевозок.

Совершенствование технологического процесса является важнейшим условием повышения эффективности работы организации.

Эффективность выбранной технологии перевозок может оцениваться по следующим показателям:

·себестоимость перевозок;

·удельные затраты;

·производительность ПС;

·качество перевозок.

Процесс доставки груза может быть представлен в виде отдельных взаимосвязанных операций, выполняемых на каждом этапе, которые в зависимости от содержания работы классифицируются следующим образом.

Контрольно-учетная операция предусматривает оформление документов, поиск конкретного грузового места, осмотр грузов, опломбирование и т. п.

Строповочная операция предусматривает крепление и открепление штучных грузов при их перегрузке краном.

Грузовая операция связана с подъемом и опусканием груза при помощи ПРМ.

Операция перемещения - перемещение груза ПРМ.

Вспомогательная операция связана с дополнительными работами, которые необходимо выполнить перед или после погрузки грузов (открытие крышек, закрытие брезентом и т.п.).

Транспортная операция включает в себя движение ПС с грузом или без него.

Складская операция предусматривает подготовку груза к отправке, подбор и сортировку по партиям и т. п.

При выполнении ГАП выделяют несколько основных видов технологий, которые существенно отличаются друг от друга и в значительной степени зависят от типа прообразующего объекта - грузоотправителя. Особенности конкретного грузоотправителя влияют на количество используемых для доставки грузов АТС, вид ПС, возможность оптимизации маршрутов движения, необходимость согласования грузопотоков с другими видами транспорта, состав сопутствующих перевозке транспортно-экспедиционных услуг.

Число постов, необходимых для переработки заданного количества груза:

Nn=QсtТqн γηн/ Tн.(3.5.1)

Условием равномерной работы погрузочно-разгрузочного пункта является равенство его ритма работы и интервала прибытия АТС. Ритм работы ПРП рассчитывается по формуле

Rп = t(п)рηн /Nn,(3.5.2)

а интервал движения АТС:

Iа = tоэ(3.5.3)

Исходя из равенства выражений число постов, необходимых для бесперебойного обслуживания прибывающих под погрузку или разгрузку АТС:

Nn = Аэ t(п)рηн / tо (3.5.4)

Если из этого соотношения выразить необходимое число АТС, то, учитывая, что t(п)р = tTqнγ, получаем:

Аэ = Nn tо/(qн γ tнηн)

3.5.1 Расчет необходимого числа АТС при перевозке руды

При работе автосамосвалов МАЗ и многоковшовых погрузчиков Д-565, работающих 7 ч в сутки, для вывоза со склада ежесуточно примерно 900 т руды при следующих исходных данных:

· Д-565: скорость движения ленты с ковшами v = 0,75 м/с; объем ковша Vкш = 0,015 м3; шаг расположения ковшей а = 300 мм; коэффициент использования объема ковша kv = 0,9; коэффициент использования погрузчика ηи = 0,68.

· МАЗ-457040: номинальная нагрузка qн = 4,5 т; объем кузова VK= 3,8 м3; протяженность маршрута с грузом lеr = 15 км; техническая скорость vT = 30 км/ч; время разгрузки tp = 8 мин.

Производительность многоковшового погрузчика определяется так же, как для любого ПРМ непрерывного действия:

qi= Vкшρkv= 0,015*0,8*,9 = 0,0108 т;

Wэ = 3600qiυηи/а = 3600*0,0108*0,75*0,68/0,3 = 66,1 т/ч.

За смену один погрузчик переработает Wр.д = 66,1*7 = 462,7 т.

Необходимое число погрузчиков определяется по формуле:

Апр = CEΙLING(Qcyт/Wр.д) = CEΙLING (900/462,7) = CEILING(1,94) = 2 погрузчика.

Фактическую грузоподъемность автосамосвала при перевозке руды определяем:

V= VK + (bK/2)3tgαДВ = 3,8 + (2,3/2)3tg30° = 3,8 + 0,9 = 4,7 м3.

Следовательно, по формуле:

qф= Vρ= 4,7*0,8 = 3,76 т.

Время погрузки экскаватором Д-565 одного автосамосвала

tп = qф/Wэ = 3,76/70,4 = 0,05 ч = 3,2 мин.

Время оборота автосамосвала:

t0 = 2lе.r/vT + tп.р = 2*15/30 + 0,05 + 8/60= 1,18 ч.

Необходимое число АТС для бесперебойной работы погрузчиков

Аэ = CEILING(Wэ Аnptо /qф) = CEILING (70,4*2*1,18/3,76) = CEILING(A4,2) = 45 автосамосвалов.

Таким образом, для вывоза руды требуется 2 погрузчика и 45 автосамосвалов МАЗ.

При аналогичном подсчете получим необходимое число автомобилей БЕЛАЗ равное 16 единицам.

То есть, исходя из имеющихся расчетов можно сделать вывод, что предприятие ТОО «Трансрудныйавто», имеющее 69 самосвалов способно справиться с подобным объемом грузоперевозок руды.

Для повышения производительности подвижного состава необходимо использовать более мощные и грузоподъемные автомобили БЕЛАЗ.

Кроме того повышение производительности АТП, в составе 69 грузовых автомобилей возможно при увеличении скорости перевозок до 26,7 км/час.

3.6 Показатели качества перевозок

Выбор номенклатуры показателей качества ГАП обосновывают следующими факторами:

· характеристики и особенности перевозимого груза;

· используемый подвижной состав;

· наличие особых требований к экспедированию груза;

· наличие особых требований к перевозочному процессу;

· задачи управления качеством транспортных услуг;

· состав и структура свойств, характеризующих качество.

Показатели качества должны:

способствовать обеспечению соответствия качества ГАП потребностям потребителей;

характеризовать все свойства ГАП, обуславливающие их пригодность удовлетворять определенные потребности потребителей в соответствии с назначением перевозок;

сохранять стабильность в процессе оказания услуги;

иметь возможность реализации «обратной связи» для целенаправленного воздействия на качество ГАП;

исключать взаимозаменяемость (дублирование) отдельных показателей;

учитывать современные достижения науки и техники и основные направления научно-технического прогресса на транспорте и в сфере транспортных услуг.

3.7 Технологическая планировка аккумуляторного участка

Технологическая планировка аккумуляторного участка представляет собой план расстановки технологического оборудования, производственного инвентаря, подъёмно-транспортного и прочего оборудования и является технической документацией проекта, по которой расставляется и монтируется оборудование.

К технологическому оборудованию относятся стационарные и переносные станки, стенды, приборы, приспособления инвентарь (верстаки, стеллажи, столы, шкафы).

В соответствии с заданием осуществляем технологическую планировку аккумуляторного участка.

Принимаем согласно [1] технологическое оборудование для аккумуляторных работ и производим оценку механизации - уровня механизации и степени механизации. Базой для определения этих показателей является совместный анализ операций технологических процессов и оборудования, применяемого при выполнении этих операций.

Уровень механизации (У) определяется процентом механизированного труда в общих трудозатратах:

; (3.7.1)

где Тм - трудоёмкость механизированных операций процесса из применяемой технологической документации, чел.´мин;

То - общая трудоёмкость всех операций.

Уровень механизации равен (для ремонта аккумуляторной батареи):

.

Степень механизации (С) определяется процентом замещения рабочих функций человека применяемым оборудованием в сравнении с полностью автоматизированным технологическим процессом:

; (3.7.2)

; (3.7.3)

где Ч - максимальная звенность для АТП; Н - общее число операций; Z1…Z4 - звенность применяемого оборудования, равная соответственно 1¼4; М1¼М4 - число механизированных операций с применением оборудования со звенностью Z1…Z4.

Степень механизации С для ремонта аккумуляторной батареи равна:

.

Согласно рекомендациям [3] принимаем наименование механизированных операций и трудоёмкости ремонта.

Согласно рекомендациям [4] принимаем следующее оборудование для аккумуляторного участка.

Наименование оборудования

Модель, тип.

Кол-во

Габарит. размеры, мм

Общ. площ. м2

Приспособление для разлива кислоты

нестанд.

1

400х400

0,16

Стеллаж для деталей

нестанд.

1

700х900

0,63

Дистиллятор

Д-1 модель 734

1

Диаметр 200

-

Стеллаж для заряда АКБ

нестанд.

1

800х3000

2,40

Выпрямитель

ВСА-5

1

450х450

0,20

Стеллаж для бутылей

нестанд.

1

1500х800

1,20

Станок сверлильный


1

600х800

0,48

Ларь для отходов

нестанд.

1

500х500

0,25

Станок заточной


1

700х700

0,49

Ванна для промывки АКБ

нестанд.

1

800х750

0,60

Ванна для приготовления электролита

нестанд.

1

490х490

0,24

Верстак для плавки свинца

нестанд.

1

1200х750

0,90

Ванна для слива электролита

нестанд.

1

400х500

0,20

Ларь для обтирочных материалов

нестанд.

1

700х700

0,49

Пресс ручной, реечный

нестанд.

1

600х800

0,48

Стенд для проверки и разряда АКБ


1

900х900

0,81

Верстак для ремонта АКБ

нестанд.

1

1250х800

1,12

Стол для приборов

нестанд.

1

1250х800

1,00

Раковина эмалированная

станд.


600х300

0,18

итого




11,83


Площадь аккумуляторного участка равна:

м2; (принимаем 54 м2).

Аккумуляторное отделение выполняет ремонт, зарядку и подзарядку аккумуляторных батарей. У свинцово-кислотной аккумуляторной батареи возможны следующие неисправности и отказы: снижение уровня электролита в результате испарения или расплескивания; саморязряд, причинами которого могут быть поверхностное загрязнение батареи, замыкание пластин отпавшей активной массой, образование местных (паразитных) токов в результате попадания в электролит металлических примесей; сульфатация - образование на пластинах крупных кристаллов сернокислотного свинца (PbSO4); короткое замыкание пластин как результат разрушения сепараторов или большого выпадения активной массы на дно бака; механические повреждения. Указанные неисправности приводят к уменьшению электрической емкости, повышению внутреннего сопротивления и уменьшению напряжения при разряде. Механические повреждения могут привести к потере работоспособности аккумуляторной батареи.

Короткое замыкание в аккумуляторе вызывают саморязряд и понижение напряжения при заряде и разряде батареи, а неплотность контакта в зажимах - чрезмерный их нагрев, уменьшение напряжения разряда и повышение его при заряде. Низкая плотность электролита приводит к потере работоспособности батареи, а при низких температурах - к замерзанию электролита.

При диагностировании аккумуляторных батарей проверяют отсутствие трещин в баке и следов расплескивания электролита, чистоту поверхности батареи, крепление батареи в гнезде, прочность контактов наконечников проводов с клеммами батареи, чистоту вентиляционных отверстий, состояние штырей и зажимов, уровень электролита в каждом аккумуляторе, соответствие плотности электролита норме и работоспособность батареи под нагрузкой.

Загрязненную и залитую электролитом поверхность батареи протирают тканью, смоченным 10%-ным раствором нашатырного спирта или двууглекислой соды. Засоренные вентиляционные отверстия прочищают деревянной палочкой. Окисленные штыри и зажимы зачищают шабером. После затяжки гаек зажимы и штыри смазывают техническим вазелином или солидолом.

При пониженном уровне электролита в аккумуляторные батареи заливают дистиллированную воду. Электролит доливают лишь в случае, когда понижение его уровня вызвано утечкой или расплескиванием. Уровень электролита в аккумуляторных батареях проверяют зимой через 10 - 15 дней, летом в жаркую погоду - через 5 - 6 дней. В аккумуляторных батареях, имеющих на крышках вентиляционные штуцера, необходимый уровень электролита устанавливается автоматически при доливке.

Поступающие в цех аккумуляторы проверяются нагрузочной вилкой ЛЭ-2 и внешним осмотром. Батареи, поступившие в ремонт, предварительно моют снаружи горячим 3-5 процентным раствором кальцинированной соды, применяя волосяную кисть. После мойки батарею ополаскивают холодной водой и протирают ветошью.

Не плотности и трещины обнаруживают по просачиванию электролита или внешним осмотром. Ремонт батарей обычно осуществляется с использованием готовых деталей (пластин, сепараторов баков).

4. КОНСТРУКТИВНАЯ РАЗРАБОТКА

Достоинства конструкции современных двигателей внутреннего сгорания (ДВС) оцениваются не только их мощностными и экономическими показателями. Здесь нельзя не брать в расчет количество выбросов токсичных компонентов в атмосферу с отработавшими газами (ОГ). При катастрофическом ежегодном росте парка автомобилей в крупных городах уровень загрязнения воздушного бассейна приблизился к критическому и стал главной причиной частых болезней и низкой продолжительности жизни населения, деградации окружающей среды. Поэтому сегодня крайне необходимо создавать устройства, снижающие уровень выбросов токсичных веществ ДВС в атмосферу.

Одним из основных вредных веществ, выделяемых автотракторными дизелями, является сажа, определяющая своим присутствием дымность ОГ. Кроме неприятного запаха, частицам сажи свойственно адсорбировать и переносить на своей поверхности особо токсичные вещества, приносящие большой вред здоровью людей, даже при очень малых их концентрациях.

Учитывая, что современный уровень развития двигателестроения, существующие конструкции дизельных двигателей не обеспечивают выполнения жестких норм Евро III и тем более Евро IV, просто нельзя не оснащать выпускную систему дизельного двигателя сажевым фильтром.

Очистить ОГ от частиц сажи с помощью механических фильтров (ловушек) можно сравнительно легко. Однако фильтры при этом быстро забиваются, а противодавление на выпуске сильно возрастает. Очистка самих фильтров представляет собой очень сложную проблему. Ее можно решать или путем замены фильтрующих элементов, или путем их регенерации на борту автомобиля. В последнем случае используется электроэнергия или специальные горелки, обеспечивающие выжигание отложений на фильтре. Сложность и стоимость таких систем регенерации высоки, а надежность недостаточна.

В последнее время делается все больше попыток создать устройства для улавливания сажевых частиц, принцип работы которых заключается в использовании электрического поля высокой напряженности (электрофильтры) и центробежных сил (циклоны), а также их комбинации.

Применение циклонов в роли сажеуловителей связано с рядом трудностей. Во-первых, циклоны способны улавливать частицы, размеры которых превышают 10 мкм, а сажевые частицы дизельного выхлопа, кроме очень малой массы, редко превышают размер в 5 мкм.

Во-вторых, диапазон скоростей газа на входе в циклон, определяющий процесс эффективного отделения частиц, достаточно узкий, и поддержать его в условиях часто изменяющихся скоростных и нагрузочных режимов работы двигателя довольно сложно. При меньших скоростях движения ОГ величина центробежной силы будет недостаточна для отделения сажевых частиц от потока газа, а при больших - резко увеличивается сопротивление циклона, что способствует вторичному уносу сажи в атмосферу и ухудшению топливно-экономических показателей работы двигателя.

По сравнению с циклонами электрические фильтры обладают большей степенью очистки ОГ от сажи и оказывают незначительное сопротивление выхлопу двигателя. Работа электрофильтра основана на явлении коронного разряда. Очищаемые ОГ дизельного двигателя, поступая внутрь фильтра, подвергаются воздействию электрического поля высокой напряженности, образованного горением коронного разряда между коронирующим и некоронирующим электродами. Необходимо отметить, что оптимальная производительность электрофильтра достигается уменьшением расстояния между электродами, увеличением длины электродов электрофильтра, уменьшением скорости выхлопных газов и увеличением скорости перемещения частиц сажи за счет увеличения напряженности электрического поля между электродами. Поэтому производительность электрофильтра будет тем выше, чем больше времени ОГ находятся под действием поля.

Испытания работы электрофильтров выявили две главные проблемы, оказывающие большое влияние на эффективность очистки дизельного выхлопа от сажи: → быстрое загрязнение поверхности коронирующего электрода и электроизолятора сажей, что ведет к нарушению режима горения коронного разряда; → вторичный унос значительной части сажевых частиц с поверхности осадительного электрода потоком ОГ двигателя.

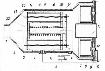
Для решения этих проблем была создана следующая конструкция электрофильтра. Устройство состоит из замкнутого стального корпуса 2 цилиндрической формы, крепящегося к штатной трубе глушителя двигателя и образующего две зоны 3 и 8. Зона ионной обработки 3 отработавших газов содержит впускной канал 1, коронирующие 16 и некоронирующий 15 электроды, подключенные через диэлектрические втулки 4 к источнику высоковольтного питания 5. Некоронирующий электрод 15 установлен в направляющих 18 и состоит из двух коаксиально расположенных цилиндров, соединенных между собой планками 20 и крышкой 14, которые выполнены из диэлектрического материала. Напротив впускного канала установлен подвижный диск 22, соединенный штоком 19 с шайбой 6. диск поджат к крышке пружиной. Коронирующие электроды 16 закреплены на диэлектрической шайбе б и снабжены очистителями сажи, имеющими форму пружины.

В зоне 8 осаждения сажи установлен сажесборник 7, закрепленный болтами 12 к крышке корпуса 10, через диэлектрические пластины 11. По оси крышки расположен выпускной канал 13, выполненный в виде патрубка. Крышка 10 отделена от корпуса 2 устройства и соединяется с ним через уплотнительную прокладку 9. Сажесборник 7 имеет форму большого и малого цилиндров с общей торцевой перегородкой и подключается к источнику высоковольтного питания 5.

Для повышения числа заряженных частиц сажи в конструкции устройства установлены четыре коронирующих электрода, равномерно расположенных в объеме очищаемых газов. С этой же целью скорость отработавших газов снижена на участке горения коронного разряда, путем установки напротив впускного канала подвижного диска. Для предотвращения загрязнения сажей наружных поверхностей коронирующих электродов последние проходят внутри очистителей и могут перемещаться в них за счет действия на подвижный диск давления потока отработавших газов двигателя.

Устройство работает следующим образом. Отработавшие газы через впускной канал 1 поступают в зону ионной обработки 3. Ввиду того, что подвижный диск 22 располагается напротив впускного канала 1 происходит заметное снижение скорости выхлопных газов двигателя на участке горения коронного разряда, что является необходимым условием для эффективного протекания процесса электрической зарядки частиц сажи. При подаче высокого напряжения к коронирующим электродам 16 между ними и некоронирующим электродом 15 зажигается коронный разряд, в результате чего межэлектродный промежуток будет заполнен в основном отрицательно заряженными ионами газа.

Отработавшие газы двигателя ионизируются в поле отрицательной короны, те. частицы сажи приобретают отрицательный заряд (вследствие адсорбции на них отрицательных ионов). Это обусловленно тем, что подвижность отрицательных ионов выше, чем положительных.

С потоком отработавших газов сажевые частицы поступают в зону осаждения. Для более полного улавливания частиц сажи в зоне осаждения сажесборник изготовлен в форме большого и малого цилиндров с общей торцевой перегородкой и располагается в зоне выпускного канала. Такая конструкция не будет способствовать вторичному уносу частиц сажи, осевших на поверхности сажесборника, так как поток газов при выходе в атмосферу совершает разворот на 1800. При этом частицы прижимаются струей газов к торцевой перегородке сажесборника. Так как сажесборник 7 подключен к положительному полюсу высоковольтного источника питания 5, частицы сажи осаждаются на его поверхности, а очищенные отработавшие газы двигателя выходят в атмосферу через выпускной канал 13. По мере накопления сажи необходимо очищать сажесборник 7. Для этого в конструкции устройства предусмотрена съемная крышка, вместе с которой он вынимается наружу и очищается от сажи и других отложений.

Разработанная конструкция устройства позволяет увеличить до 70% степень очистки ОГ дизельных двигателей от сажи, экономить топливо до 5-8% и обеспечить стабильность процесса электрической зарядки сажевых частиц (подобные фильтры опробованы в РГСХА, г. Рязань на тракторных ДВС)

Рисунок 4.1 Электрофильтр

- выпускной канал: 2 - корпус: 3,8 - зоны обработки: 4

- втулка: 5 - источник питания: 6- шайба. 7 - сажесборник: 9- прокладка. 10 -корпус крышки; 11 -диэлектрическая пластина: 12 - болт; 13 - выпускной канал: 14 - крышка; 15 --некоронирующий электрод; 16 -коронирующий электрод: 17 -пружина; 18 - направляющая; 19- шток; 20-планка: 21 - пружина: 22 - диск .

.1 Расчет крепления фильтра

Целью расчета является определение напряжений и коэффициента запаса прочности в резьбовом соединении крепления кронштейна фильтра.

Материал резьбового пальца (рисунок 4.2) - сталь 20 ГОСТ 1050-88,

σт= 750 МПа; σ-1= 5 МПа.

Диаметр резьбы М16×1,5.

Соединение затягивается моментом затяжки М3 = 170 Н-м.

Для определения коэффициента трения воспользуемся данными тензометрирования соединения при моменте затяжки М3 = 285 Н·м, согласно которому установлено, что напряжение в резьбовой части

σ1 = 501,6 МПа и

τ1 = 350 МПа.

Коэффициент трения на торце гайки определяется по формуле:

=(4.1.1)

где М3 - момент затяжки, Н-м;

Н - коэффициент определяющий d/d1

 - напряжение в резьбовой части, МПа;

d - наружный диаметр резьбы, см.;

 - касательное напряжение в резьбовой части, МПа;

1 - внутренний диаметр резьбы, см.

=

Коэффициент сопротивления в резьбе пальца

k=-(4.1.2)

где  - коэффициент, определяющий отношение D/d = 0,778

k =-0,778·0,086=0,1635.

Коэффициент соотношения момента сопротивления в резьбе и момента трения на торце гайки при затяжке:

=βТ ·µт/k =0,778·0,086/0,1635=0,41

Напряжение затяжки

σ=(4.1.3)

σ31=

Приведенное напряжение после снятия ключа определяется по формуле:

σn31(4.1.4)

σn31

Статический запас прочности определяется по формуле:

nТ=(4.1.5)

nT1=

Приведенное напряжение после затяжки (ω= 1)

σn131(4.1.6)


Рисунок 4.2 Резьбовое соединение

Коэффициент запаса прочности при затяжке вычислим по формуле:

nM=(4.1.7)

nM===1,68

Отношение коэффициентов nTi/nM = 1,6, показывает, что статический запас прочности после затяжки повысился на 60%.

Максимальное напряжение при переменной нагрузке определяется по формуле:

=(4.1.8)

где - приведенное напряжение при переменной нагрузке, = 58 МПа [ ]

=230=383МПа

Статический запас прочности по максимальному напряжению находится по формуле:

n==1,95

Это значение выше допускаемого, равного 1,5.

4.2 Расчет пружины фильтра

rо - внутренний радиус барабана, мм.

r - радиус вала пружины, мм.

r1 - внешний радиус заведенной пружины, равный внутреннему радиусуспущенной, мм.

S - толщина пружины, мм.

¥ - рабочее число оборотов барабана

n1 - число витков свободной пружины

n2 - число витков заведенной пружины

np - расчетное число витков пружины

L - длина развернутой пружины, мм

в - ширина пружины, мм

Мmax - максимальный момент на валу пружины, кг*с*мм

Мmin - минимальный момент на валу пружины, кгс*мм

[ό] - допустимое напряжение, кгс/мм²

E - модуль упругости, кгс/мм²

ŋ- КПД пружины

Заводная пружина должна иметь:

r о = 165 мм; Мmin = 1000 кгс*мм; ¥ = 16 об.

Материал пружины сталь 65 Г, модуль упругости Е = 2,1*10 кгс/мм²

смазка пружины: смазка масло касторовое с графитом, ŋ = 0,704

.        Берем пружину с нормальным отношением r/ r0

r = 1/3 rо = 1 165= 55 мм.

.        Толщина пружины

S = 0,157 rо

¥

Учитывая, трение в начале и конце работы добавляем один оборот, следовательно, ¥ = 16+1 = 17, тогда имеем

S = 0,157 * 165 = 1,5мм

Толщина пружины должна быть менее, чем r/15 то есть

,5<55 = 3,66

3.      Число витков спущенной пружины в барабане

n = 0,255* rо =0.255*165 = 28

S 1.5

4.      Число витков пружины заведенной в барабане

n = 0,412* rо =0,412*165 = 45,3

S 1.5

5.      Число витков пружины в свободном состоянии (вне барабана)

n1 = (0,3-0,372 n2)

Принимаем n1 = 0,32*45,3 = 14,5

6.      Длина пружины

L = П rо (1,745n + 0,67) = П*165 (1,745*28+0,67) = 25674 мм

. Расчетное число витков

np max = n2 - n1 =45.3-14.5 =20.8

np min = n- n1 = 28-14,5 =13,5

. Ширина пружины.

в = 6 М min* L = 73 мм

Пnp min *Е*S³*n

Принимаем материал на ленту сталь

Ст 65 ГОСТ 2283-79 в хS = 70*1,5

. Минимальный момент на пружине

Мmax = ПЕ*в*S³np max = П*2,1*10*70*1,5³*20,8 = 2104

6*L 6*25674

. Напряжение в материале пружины

Мmax ≤ [ό]

r*В*S

Для стали 65г [ό] = 70 кгс/мм²

2104 = 0,364 кгс/мм² ≤ 70 кгс/мм²

55*70*1,5

5. ОХРАНА ТРУДА

.1 Охрана труда на предприятии

 

Охрана труда - это система законодательных актов, социально-экономических и санитарно-гигиенических мероприятий обеспечивающих безопасность, сохранение здоровья и работоспособности человека в процессе труда.

Безопасность и безвредность работ в АТП в первую очередь зависит от организационной работы, которая проводится специалистами и профсоюзными работниками предприятия. По этому специалисты и руководство предприятия должны быть хорошо подготовленными к решению разнообразных задач охраны труда и пожарной профилактики на производстве. Все это, в конечном счете, способствует лучшему использованию машин и агрегатов, уменьшению их простоев, повышению их производительности. Внедрение мероприятий по охране труда приводит к росту среднегодовой выработки одного рабочего и экономии средств по социальному страхованию, сокращению трудовых потерь.

Задача этого раздела дипломного проекта разработка мероприятий, обеспечивающих безопасные и здоровые условия труда в ТОО «Трансрудныйавто».

5.2 Анализ производственного травматизма и состояния охраны труда в АТП

В АТП приказом директора ответственность за работу по охране труда возложена на инженера по охране труда. Вопросы по охране труда обсуждаются на рабочих и профсоюзных собраниях. Инструктаж при приеме на работу проводится главными специалистами. Периодически инструктажи на рабочих местах с рабочими разных мастерских проводится главным инженером регулярно и соответствующим образом оформляется в журнале.

Мероприятия по предупреждению производственного травматизма эффективны только тогда, когда они разработаны на основе глубокого и всестороннего анализа травматизма. Данные анализа позволяют разработать и провести конкретные, целенаправленные мероприятия по снижению травматизма.

При изучении травматизма в АТП воспользуемся статистическим методом. Метод оперирует двумя показателями: коэффициентом частоты травматизма - КЧ; коэффициентом тяжести травматизма - КТ.

Коэффициент частоты показывает число травм в расчете на каждую тысячу рабочих данного предприятия.

 , (5.1)

где n1- число пострадавших с утратой трудоспособности; n2 - средне статистическое число рабочих.

Показатель частоты травматизма дает возможность определить на каком предприятии чаще всего бывают травмы, но не может дать полного представления о характере травм.

Показатель тяжести травматизма определяется отношением суммы дней нетрудоспособности к числу травм за отчетный период.

, (5.2)

где Д - сумма дней неработоспособности; n2 - число травм [12].

Таблица 5.1 Распределение коэффициентов частоты (КЧ) и тяжести (КТ)

Годы

Средне-списочное число рабочих

Кол-во пострадавших

Потеря рабочих дней

КЧ

КТ





По АТП

По области

По АТП

По области

2006

244

2

42

8,19

5,1

21,0

26,3

2007

236

0

0

0

4,4

0

23,4

2008

235

3

51

12,77

3,8

17,8

27,7


Анализируя данные табл. 5.1 нельзя сказать, что в АТП все благополучно. Показатель частоты травматизма за 2 года вырос почти в два раза и превышает коэффициент частоты травматизма по области. Коэффициент тяжести травматизма снижается, что меньше аналогичного показателя по области. Из этого следует, что в АТП на низком уровне проводится работа по снижению числа пострадавших.

Важным фактором в анализе травматизма являются причины несчастных случаев (таблица 5.2).

Таблица 5.2 Причины несчастных случаев

Причины

2006

2007

2008

1

2

3

4

Неисправность машин , оборудования и инструмента

1

-

1

Нарушение технологического процесса

1

-

-

Использование рабочих не по специальности

-

-

-

Отсутствие заграждений

-

-

-

Недостатки в обучении безопасных условий труда

-

-

-

Прочие

-

-

 2


Анализируя данные таблицы 5.2 можно отметить, что основное число несчастных случаев произошло по следующим причинам: использование рабочими неисправного оборудования и инструмента и невнимательность людей.

Следовательно, для сокращения несчастных случаев в АТП необходимо постоянно изучать, повторять, напоминать рабочим основные меры предосторожности в зависимости от выполняемого вида работ. Необходимо чтобы работающие были обеспечены нормальными условиями труда, исправным инструментом и оборудованием, специальной одеждой и другими защитными средствами.

5.3 Мероприятия по улучшению охраны труда

В период работы необходимо уделять особое внимание вопросам правильной организации труда, рациональному режиму работы, правильному чередованию труда и отдыха. Главные специалисты предприятия должны строго следить за соблюдением правил техники безопасности, проявлять требовательность к подчиненным, своевременно пресекать различные нарушения и привлекать виновных к ответственности, регулярно проводить на должном уровне все предусмотренные инструктажи.

Технические мероприятия

Необходимо своевременно и качественно проводить ТО и ремонт машин и оборудования для поддержания его в исправном состоянии, установить эффективные заграждения опасных зон, соблюдать правила технологического процесса и правила эксплуатации транспортных средств.

Санитарно-гигиенические мероприятия

Необходимо уделять внимание защите рабочих от воздействия производственных вредных факторов, передаваемых через воздушную среду или путем непосредственного контакта, обеспечить нормальную освещенность, снизить шум и загазованность до допустимых норм и уровней.

Требования пожарной безопасности

·   Все автомобили должны быть оборудованы огнетушителями и искрогасителями;

·   Заправлять технику ТСМ следует только механизированным способом при неработающем двигателе с соблюдением правил пожарной безопасности;

·   Нужно постоянно следить за исправностью огнетушителя после использования сразу заменить новым;

·   Необходимо постоянно контролировать и защищать от повреждений все аппараты и провода электрооборудования, не допускать загрязнения их маслом и пылью. Поврежденные места следует незамедлительно заменить на новые и т.д.

Инструкция по охране труда при обслуживании и ремонте автомобилей.

Все операции по техническому обслуживанию и ремонту должны выполняться с соблюдением настоящих Правил.

Требования безопасности в аварийных ситуациях

При появлении посторонних шумов, запахов гари, дыма, искрений электрооборудования, повышений нагрева узлов немедленно остановить работу.

При загорании автомобиля по возможности отбуксировать его в безопасное место и приступить к тушению.

Перед началом работы

·   Надеть рабочую одежду так, чтобы она не стесняла движений и не имела развивающихся и свисающих концов.

·   Проверить состояние рабочего места водителя и привести его в порядок.

·   Убедится в наличии и исправности средств защиты

·   Проверить исправность органов управления, сигнализации, контрольно-измерительных приборов.

·   Получить у руководителя задание или наряд на выполнение работы.

Во время работы

- Выполнять указания рекомендованные заводом-изготовителем по эксплуатации.

·   Запрещается производить техническое обслуживание при работающем двигателе.

·   Перед запуском автомобиля убедиться, что его работа не причинит вреда окружающим. Дать предупредительный сигнал.

·   Во время выполнения работ на крутых склонах карьера соблюдать скоростные режимы.

·   Осуществлять рабочие операции по фиксации кузовов автосамосвалов.

В аварийных ситуациях требуется:

·   При возникновении каких-либо неисправностей остановить работу, и не возобновлять ее до устранения этих неисправностей.

·   При возникновении неисправностей сообщить об этом непосредственному руководителю работ.

По окончанию работы следует:

·   Привести рабочее место водителя в порядок.

·   Вымыть руки и лицо, принять душ.

Мероприятия при обслуживании сажевого фильтра

Обслуживание фильтра осуществлять при заглушенном двигателе.

Дождаться полного охлаждения деталей выпускной системы.

Отключить электрическое питание фильтра.

При работах по монтажу-демотажу фильтра применять исправный инструмент.

Сварные работы выполнять в соответствующих производственных помещениях.

При проверке работоспособности фильтра применять защитные средства.

5.4 Расчёт защитного заземления

Допустимое сопротивление заземляющего устройства - Rд = 4 Ом.

Удельное сопротивление грунта (чернозём) - ρ = 30 Ом · м.

Сопротивление растеканию тока с одного заземлителя:


Похожие работы на - Проект грузового автотранспортного предприятия смешанного типа на 127 автомобилей с детальной проработкой аккумуляторного участка

 

Не нашли материал для своей работы?
Поможем написать уникальную работу
Без плагиата!
Без нейросетей!