Проект автотранспортного предприятия для автомобилей ЗИЛ с детальной разработкой шиномонтажного участка

  • Вид работы:
    Дипломная (ВКР)
  • Предмет:
    Транспорт, грузоперевозки
  • Язык:
    Русский
    ,
    Формат файла:
    MS Word
    2,27 Мб
  • Опубликовано:
    2015-07-07
Вы можете узнать стоимость помощи в написании студенческой работы.
Помощь в написании работы, которую точно примут!

Проект автотранспортного предприятия для автомобилей ЗИЛ с детальной разработкой шиномонтажного участка

МИНИСТЕРСТВО ОБРАЗОВАНИЯ И НАУКИ РЕСПУБЛИКИ КАЗАХСТАН

Костанайский социально-технический университет имени академика Зулхарнай Алдамжар

Кафедра "Организация перевозок и транспорт"

ПРОЕКТ АВТОТРАНСПОРТНОГО ПРЕДПРИЯТИЯ ДЛЯ АВТОМОБИЛЕЙ ЗИЛ С ДЕТАЛЬНОЙ РАЗРАБОТКОЙ ШИНОМОНТАЖНОГО УЧАСТКА.

ПОЯСНИТЕЛЬНАЯ ЗАПИСКА


Руководитель проекта ст. преподаватель Сагимбаев Р.И.

Дипломник студент Смирнов В.Ю.





Костанай 2009

Содержание

Введение

1. Расчет производственной программы для АТП

1.1 Выбор исходных данных

1.2 Выбор и корректирование нормативной периодичности ТО и пробега до КР

1.2.1 Определение числа КР и ТО на один автомобиль за цикл

1.2.2 Определение числа ТО на один автомобиль и весь парк за год

1.2.3 Определение диагностических воздействий на весь парк за год

1.2.4 Определение суточной программы по ТО и диагностированию автомобилей

1.3 Выбор методов организации технологического процесса ТО автомобилей

1.4 Расчет годового объема работ по ТО и ТР

1.4.1 Выбор и корректирование нормативных трудоемкостей

1.5 Определение годового объема работ по ТО и ТР

1.6 Определение годового объема работ по самообслуживанию предприятия

1.7 Распределение объема ТО и ТР по производственным зонам и участкам

1.7.1 Распределение объема работ по самообслуживанию АТП

1.7.2 Расчет численности работающих

1.8 Выбор метода организации ТО и ТР автомобилей, режима работы зон ТО и ТР

1.8.1 Организационная структура АТП

1.8.2 Расчет числа постов и поточных линий для ТО и ТР подвижного состава

1.8.3 Расчет числа универсальных постов для ТО

1.8.4 Расчет числа постов и линий для зоны ЕО

1.8.5 Расчет числа постов ТР

1.8.6 Расчет числа постов ожидания

1.9 Определение потребности в технологическом оборудовании производственных участков

1.9.1 Годовые фонды времени оборудования

1.9.2 Определение потребности в технологическом оборудовании

1.10 Расчет площадей помещений

1.10.1 Расчет производственных помещений для ТО и ТР

1.10.2 Расчет площадей производственных помещений (участков)

1.10.3 Расчет площадей складских помещений

1.10.4 Расчет площади хранения (стоянки) автомобилей

2. Технологическая часть

2.1 Система питания дизельных двигателей

2.2 Применение модернизированного фильтра для очистки дизельного топлива двигателя автомобиля ЗИЛ-133ГЯ

2.3 Факторы, влияющие на расход топлива

2.4 Расчет расхода топлива автомобилями

2.5 Расчет норм расхода топлива для автомобиля ЗиЛ-133ГЯ

3. Конструкторская часть

3.1 Организация труда в шиномонтажном участке

3.2 Расчет единиц оборудования шиномонтажного участка

3.3 Расчет площади шиномонтажного участка

3.4 Расчет освещения шиномонтажного участка

3.5 Расчет вентиляции шиномонтажного участка

4. Охрана труда

4.1 Техника безопасности

4.2 Противопожарная безопасность

4.3 Меры безопасности при ТО автомобилей

4.4 Меры безопасности при обслуживании модернизированного фильтра

5. Охрана окружающей среды

6. Экономическая часть

Заключение

Список литературы

Введение


Рост народного хозяйства страны требует развития автомобильного транспорта до размеров, обеспечивающих полное удовлетворение потребностей в грузовых перевозках. Одни из главных условий, обеспечивающих перевозки, является высокий и устойчивый уровень технической готовности парка машин.

Для создания нормальных условий эксплуатации и обеспечения бесперебойной работы подвижного состава автомобильного транспорта необходимо располагать производственно-технической базой, состояние и развитие которой должны всегда соответствовать численности и потребности подвижного состава.

Техническое состояние подвижного состава, его надежность и работоспособность, а также регулярность и себестоимость перевозок зависят не только от конструктивных качеств и производственного исполнения, но и от состояния, организованности и оснащенности производственно-технической базы АТП, которое обеспечивает техническое обслуживание (ТО), ремонт и хранение автомобилей.

Уровень развития производственно-технической базы существенно влияет на показатели АТП. Производственно-техническая база АТП представляет собой совокупность зданий, сооружений, оборудования, инструмента для ТО и ремонта, хранения подвижного состава.

Совершенствование базы должно происходить за счет внедрения научной организации труда, научных основ управления и результатов научно-исследовательских работ, улучшения организации и технологии производственных процессов и повышения производительности труда путем использования современных методов диагностики автомобилей, высокопроизводительных средств механизации и автоматизации производственных процессов.

техническое обслуживание ремонт автомобиль

Решающее значение для совершенствования базы имеют: дальнейшее повышение качества производительности автомобилей,, а также повышение оснащенности предприятий основными фондами.

Эффективное использование основных фондов автомобильного транспорта является основной задачей в области капитального строительства на автотранспорте.

В основе проекта АТП лежат проектировочные решения по технологии и организации производства ТО и ТР, которые разрабатываются в процессе технологического проектирования предприятия, а также произведен расчет шиномонтажного участка.

1. Расчет производственной программы для АТП

1.1 Выбор исходных данных


Для расчета производственной программы и объема работ рассчитываемого нами комплексного АТП необходимы следующие исходные данные.

Тип подвижного состава - зависит от вида перевозок и рассчитывается на основе сопоставления годовых приведенных затрат на перевозку грузов тем или иным подвижным составом.

Количество подвижного состава для АТП принимаем - 200 шт. Количество подвижного состава (автомобилей, прицепов, полуприцепов) задается или определяется расчетом из объема перевозок, характера грузов, его порционности для грузовых АТП или исходя из числа жителей, подвижности населения, средней дальности езды для автобусных и таксомоторных АТП:

. ЗИЛ-130 - 50 шт. - бортовые автомобили.

. ЗИЛ-133ГЯ - 110 шт. - бортовые автомобили.

. УРАЛ-375 - 40 шт. - бортовые автомобили повышенной проходимости.

Среднесуточный пробег подвижного состава для всех автомобилей - 180 км.

Техническое состояние подвижного состава - характеризуется пробегом автомобилей до капитального ремонта с начала эксплуатации: свыше 0,5 до 0,75.

Категории условий эксплуатации в соответствии с "Положением о техническом обслуживании и ремонте подвижного состава автомобильного транспорта" характеризуются типом дорожного покрытия, типом рельефа местности и условиями движения.

Третья категория условий эксплуатации, т.е. возможно движение за пределами зоны в малых городах и в пригородных зонах, больших городах (более 100000 жителей) всевозможными типами рельефа, которые определяются высотой над уровнем моря:

·        равнинный - до 200 м;

·        слабохолмистый - 200… 300 м;

·        холмистый - 300…1000м;

·        гористый - 1000…2000 м;

·        горный - свыше 2000 м, а также с наиболее неблагоприятными типами дорожного покрытия;

·        Д4 - характеризуемое покрытием состоящим из булыжника, колотого камня, грунта и малопрочного камня.

Природно-климатические условия характеризуются среднемесячными температурами и климатом, и определяются для данного АТП на основе данных о районировании по климатическим районам: умеренно-холодный.

Режим работы подвижного состава определяется:

а) числом дней работы подвижного состава в году на линии: для грузового автотранспорта общего пользования 254 дня в году;

б) число смен работы автомобилей на линии: принимается в 2 смены;

в) продолжительность работы каждого автомобиля на линии: принимается равным 8,2 ∙ 2 = 16, 4 часа.

Режим (работы) ТО и ремонта подвижного состава определяется видами ТО и ремонта, их периодичностью и продолжительностью простоя автомобиля на ТО и ремонте.

Техническое состояние подвижного состава определяется коэффициентом технической готовности (λт), равным для данного АТП - 0,83.

1.2 Выбор и корректирование нормативной периодичности ТО и пробега до КР


Производственная программа АТП по ТО характеризуется числом технических обслуживаний, планируемых на определенный период времени. Сезонное техническое обслуживание (СО) проводится 2 раза в год, как правило, совместно с ТО-1 или ТО-2 и как отдельный вид планируемого обслуживания при определении производственной программы не учитывается.

Положением установлены нормативные значения пробегов подвижного состава автотранспорта до КР и периодичности ТО-1 и ТО-2 для определенных наиболее типичных условий, а именно: 1-й категории условий эксплуатации, базовых автомобилей, умеренно-климатического района.

Для конкретного АТП, данного в задании, эти условия отличаются, поэтому нормируемый пробег автомобиля по КР и периодичности ТО-1 и ТО-2 корректируется и определяется по формулам:

, (1.1)

, (1.2)

, (1.3)

где Lkh - нормативный пробег автомобиля до КР, км;

L1h - нормативная периодичность ТО-1, км;

L2h - нормативная периодичность ТО-2, км;

К1 - коэффициент категории условий эксплуатации;

К2 - коэффициент модификации подвижного состава;

К3 - коэффициент климатических условий

Результаты расчетов заносим в таблицу 2.1.

Для удобства последующих расчетов корректируем пробег между отдельными видами ТО и КР со среднесуточным пробегом при помощи показателя кратности, который округляется до целого числа:

, (1.4)

где Li - скорректированная периодичность соответствующего вида воздействия, км;

Lсс - среднесуточный пробег автомобиля, км.

Определяем расчетную периодичность или расчетный пробег соответствующего вида воздействия по формуле:

, (1.5)

Результаты расчетов заносим в таблицу 1.1.

Таблица 1.1.

Расчетные пробеги по видам воздействия

Модель подвижного состава

Вид пробега

Нормативный пробег L1h, км

К1

К2

К3

Расчетный пробег L1, км

ЗИЛ-130

Lкр L1 L2

200000 2500 12500

 0.7

 1

 0.9

147000 1960 9800

ЗИЛ-133ГЯ

Lkp L1 L2

250000 2500 12500

 0.7

 0.95

 0.9

149625 1662.5 8312.5

УРАЛ-375

Lkp L1 L2

320000 3000 12000

 0,7

 1

 0.9

201600 2520 10080



1.2.1 Определение числа КР и ТО на один автомобиль за цикл

Число технических воздействий на один автомобиль за цикл определяется отношением циклового пробега к пробегу данного вида воздействия. Т.к. цикловой пробег в расчете принят равным пробегу автомобиля до КР, то число КР, ТО-1, ТО-2 и ЕО за цикл на один автомобиль можно определить по формулам:

, (1.6)

Nk для всех моделей автомобилей (ЗИЛ-130, ЗИЛ-133ГЯ, УРАЛ-375), рассматриваемых в данной работе, будет одинаков - Nк = 1.

, (1.7)

, (1.8)

, (1.9)

Расчеты по определению числа воздействий на один автомобиль за цикл сводим в таблицу 1.2.

Таблица 1.2

Расчет числа воздействий на один автомобиль за цикл

Тип, модель автомобиля

Расчетные пробеги, L, км

Nk

N2

N1

Neo

ЗИЛ-130

Leo = Lcc = 180 L1 = 1960 L2 = 9800 Lk = 147000

− − − 1

− − 14 −

− 60 − −

525 − − −

ЗИЛ-133ГЯ

Leo = Lcc = 180 L1 = 1960 L2 = 9800 Lk = 166600

− − − 1

− − 16 −

− 68 − −

595 − − −

УРАЛ-375

Leo = Lcc = 180 L1 = 2520 L2 = 10080 Lk =110880

− − − 1

− − 10 −

− 33 − −

396 − − −

1.2.2 Определение числа ТО на один автомобиль и весь парк за год

Так как пробег автомобиля за год отличается от его пробега за цикл, а производственная программа предприятия обычно рассчитывается на год, то для определения ТО за год необходимо произвести перерасчет полученных значений NEO, N1, N2 за цикл, используя коэффициент перехода от цикла к году ηГ, для чего проведем следующие расчеты:

) Число дней простоя автомобиля за цикл в ТО и ремонте определяется по формуле:

, (1.10)

где

Дк = 22 - норма простоя подвижного состава в КР, дней (табл.5);

ДТОТР = 0,55 - норма простоя подвижного состава в ТО и ТР, дней;

Кк =1,3 - коэффициент корректирования числа дней простоя автомобиля в ТО-2, КР и ТР за цикл.

) В данном расчете число дней нахождения автомобиля в технически исправном состоянии определяется по формуле:

, (1.11)

) Коэффициент технической готовности задан для парка - αТ = 0,83.

) Годовой пробег автомобиля:

, (1.12)

где Драбг = 254 дн. - число дней работы предприятия в году.

Г = 254 ∙ 180 ∙ 0,83 = 37948 км

) Коэффициент перехода от цикла к году:

. (1.13)

Тогда годовое число воздействий на один списочный автомобиль и весь парк (группу) автомобилей одной модели составит:

1.      На один списочный автомобиль:

, (1.14)

, (1.15)

, (1.16)

2.      На весь парк (группу) автомобилей:

, (1.17)

, (1.18)

, (1.19)

где Аn - списочное число автомобилей (шт.).

1.2.3 Определение диагностических воздействий на весь парк за год

Согласно Положения, диагностирование, как отдельный вид обслуживания, не планируется и работы по диагностированию подвижного состава входят в объем работ ТО и ТР. При этом, в зависимости от метода организации, диагностирование автомобилей может производится на отдельных постах или быть совмещено с процессом ТО. Поэтому в данном случае число диагностических воздействий определяется для последующего расчета постов диагностирования и его организации.

На АТП, в соответствии с Положением, предусматривается диагностирование подвижного состава Д-1 и Д-2.

Число Д-1 на весь парк (группу) автомобилей одной модели определяется по формуле:

, (1.20)

Число Д-2 группы автомобилей одной модели и всего АТП за год определяется по формуле:

, (1.21)

1.2.4 Определение суточной программы по ТО и диагностированию автомобилей

Суточная производственная программа является критерием выбора метода организации ТО и служит исходным показателем для расчета числа постов и линий ТО. По видам ТО (ЕО, ТО-1, ТО-2) и диагностированию (Д-1, Д-2) суточная производственная программа определяется по формуле:

, (1.22)

где Ni - годовая программа по каждому виду ТО или диагностике в отдельности,

ДРабГ - годовое число рабочих дней зоны, предназначенной для выполнения того или иного вида ТО и диагностирования автомобилей.

1.3 Выбор методов организации технологического процесса ТО автомобилей


От принятых методов зависит трудоемкость ТО. Методы организации технологического процесса ТО автомобилей выбираются с использованием данных "Учебного пособия". При этом учитывается следующий фактор:

) Эксплуатируемые автомобили относятся к технологически совместимым группам, что позволяет использовать одну и ту же поточную линию, норму ТО-1 таким образом, чтобы сначала обслуживались автомобили одной марки, потом другой и т.д.;

Учитывая вышесказанное, подбираем методы организации технологического процесса ТО автомобилей.

Для ТО-1 выбираем поточный метод специализированных постов, т.к. количество ТО-1 за смену более 12, кроме того проездной пост при поточном методе исключает маневрирование между постами автомобиля тягача с полуприцепом. Сущность поточного метода заключается в том, что весь объем работ выполняют на нескольких последовательно расположенных специализированных постах.

Для ТО-2 выбираем операционно-постовой метод обслуживания, т.е. метод, когда весь объем работ данного вида выполняют на нескольких специализированных постах, имеющих независимые въезд и выезд. В процессе обслуживания автомобиль заезжает на каждый из них.

ЕО для всех моделей и типов автомобилей в проектируемом АТП проводится поточным методом.

1.4 Расчет годового объема работ по ТО и ТР


Годовой объем работ по АТП определяется в человеко-часах и включает объемы работ по ЕО, ТО-1, ТО-2, ТР и самообслуживанию предприятия.

Расчет годового объема ЕО, ТО-1и ТО-2 производится исходя из годовой производственной программы данного вида и трудоемкости обслуживания. Годовой объем ТР определяется исходя из годового пробега парка автомобилей и удельной трудоемкости ТР на 1000 км пробега.

1.4.1 Выбор и корректирование нормативных трудоемкостей

Для подвижного состава проектируемого АТП устанавливаем нормативную трудоемкость ТО и ТР в соответствии с Положением, а затем корректируем с учетом конкретных условий эксплуатации, соответствующими коэффициентами. При этом учитываем, что в соответствии с Положением, в нормативы трудоемкости ТО-1, ТО-2 и ТР входят трудоемкости Д-1 и Д-2.

Расчетная скорректированная трудоемкость ЕО определяется из выражения:

, (1.23)

где Theo - нормативная трудоемкость ЕО, чел. ч.;

К2, К5, Кm - коэффициенты, учитывающие соответственно модификацию подвижного состава, число автомобилей на АТП, снижение трудоемкости за счет механизации работ ЕО;

, (1.24)

где М - доля работ ЕО, выполняемых механизированным способом = 60%.

Расчетная скорректированная трудоемкость ТО-1 и ТО-2 определяется из выражения:

, (1.25)

где Thi - нормативная трудоемкость ТО-1 или ТО-2, чел. ч.

Расчетная скорректированная трудоемкость ТР определяется из выражения:

, (1.26)

где ThТТ - нормативная трудоемкость ТР / 1000 км,

К1, К3, К4 - коэффициенты, учитывающие соответственно категорию условий эксплуатации, климатический район, пробег подвижного состава с начала эксплуатации.

1.5 Определение годового объема работ по ТО и ТР


Объем работ по ЕО, ТО-1 и ТО-2 за год определяется из выражения:

, (1.27)

, (1.28)

, (1.29)

где

∑NЕОГ, ∑N1Г, ∑N - соответственно годовое число ЕО, ТО-1 и ТО-2 на весь парк (группу) автомобилей одной модели.

Годовой объем работ ТР определяется из выражения:

, (1.30)

1.6 Определение годового объема работ по самообслуживанию предприятия


В соответствии с Положением, кроме работ по ТО и ТР, в АТП выполняются вспомогательные работы, объем которых принимается в процентном соотношении от общего объема работ по ТО и ТР подвижного состава. В состав вспомогательных работ входят работы по самообслуживанию предприятия, которые выполняются в самостоятельном подразделении или на соответствующих производственных участках. Годовой объем работ по самообслуживанию предприятия определяется из выражения:

, (1.31)

где КВсп - объем вспомогательных работ предприятия = 25 %;

Ксам - объем работ по самообслуживанию = 45 %.

1.7 Распределение объема ТО и ТР по производственным зонам и участкам


Объем ТО и ТР распределяется по месту его выполнения по технологическим и организационным признакам.

ТО и ТР выполняются на постах и производственных участках (отделениях). К постовым относятся работы по ТО и ТР выполняемые непосредственно на автомобиле. Работы по проверке и ремонту узлов, механизмов и агрегатов, снятых с автомобиля, выполняются на участках.

1.7.1 Распределение объема работ по самообслуживанию АТП

При небольшом объеме (до 8 - 10 тыс. чел. - ч в год) работы по самообслуживанию частично могут выполняться на производственных участках. В этом случае при определении годового объема работ соответствующих производственных участков учитывается трудоемкость работ по самообслуживанию, примерное распределение по видам работ составляет, в процентном соотношении:

·        электрические - 25, механические - 10, слесарные - 16, кузнечные - 2, сварочные - 4, жестяницкие - 4, медницкие - 1, трубопроводные - 22, ремонтно-строительные и деревообрабатывающие - 16.

1.7.2 Расчет численности работающих

На эксплуатационном предприятии состав работающих делится на следующие категории:

·        производственные рабочие;

·        эксплуатационный персонал (водители);

·        вспомогательные рабочие;

·        инженерно-технические работники;

·        счетно-конторский персонал;

·        младший обслуживающий персонал.

К производственным рабочим относятся рабочие зон и участков, непосредственно выполняющих работы по ТО и ТР подвижного состава. Различают технологически необходимое и штатно (списочное) число производственных рабочих.

Явочное число производственных рабочих определяется так:

, (1.32)

Списочное число производственных рабочих определяется так:

, (1.33)

где ТГ - годовой объем работ по виду работ, зоне ТО, ТР или участку;

Фнр - нормальный годовой фонд времени рабочего, ч;

ФДР - действительный годовой фонд времени рабочего, ч;

Кнв - коэффициент перевыполнения нормы выработки, равный 1,1…1,2.

Номинальный годовой фонд времени рабочего:

, (1.34)

где К - количество календарных дней в году - 365,В - количество выходных дней в году - 104,П - количество праздничных дней в году - 7,Пр - количество часов за год, на которое сокращается рабочий день в праздничные дни - 5,Tсм - продолжительность рабочей смены = 8,2 ч для всех рабочих, за исключением аккумуляторщиков, маляров нитрокрасок, работающих в закрытых помещениях, для которых Тсм = 7,2 ч и 6 ч.

Действительный годовой фонд времени рабочего:

, (1.35)

где Tо - продолжительность отпуска, дней;

β - коэффициент, учитывающий потери времени по уважительным причинам.

Число эксплуатационного персонала, по каждой марке автомобиля определяется из выражения:

, (1.36)

где ТАГ - годовая продолжительность работы автомобиля, ч;

Фдв - годовой действительный фонд работы водителя.

, (1.37)

где Ат - эксплуатационное количество подвижного состава соответствующей марки;

Дэр - продолжительность работы подвижного состава за год, дн;

Tрд - продолжительность рабочего дня автомобиля в сутки, ч

. (1.38)

Численность инженерно-технических работников, счетно-конторского персонала, младшего обслуживающего персонала и вспомогательных рабочих определяется в процентном отношении к сумме численности производственных рабочих и эксплуатационного персонала.

Годовой номинальный фонд времени водителя:

, (1.39)

Годовой действительный фонд времени водителя:

, (1.40)

1.8 Выбор метода организации ТО и ТР автомобилей, режима работы зон ТО и ТР


От принятых методов зависит трудоемкость ТО. Для снижения трудоемкости работ следует принять прогрессивные методы. В настоящее время широко распространены методы универсальных и специализированных постов, различающихся по технологическому назначению. Сущность метода универсальных постов заключается в том, что весь объем работ данного ТО выполняется на одном тупиковом посту бригадой ремонтных рабочих различной квалификации и специальности. Однако смазочные работы целесообразно выполнять на специализированном посту смазки, т.е. метод универсальных постов можно применять с частичной специализацией.

При операционно-постовом методе весь объем работ данного вида обслуживания выполняют на нескольких специализированных постах, имеющих независимые въезды и выезды. В процессе обслуживания автомобиль заезжает на каждый из них.

Выбирая метод ТО для автопоездов, учитываем, что автопоезд не расчленяется при техническом обслуживании, т.е. обслуживание осуществляется одновременно и для автомобиля, и для полуприцепа, поэтому посты должны быть прямоугольными. Чем больше однотипных автомобилей и количество обслуживаний, тем больше появляется возможность механизировать технологический процесс.

Целесообразность применения универсальных и специализированных постов зависит от производственной программы и режима производства, трудоемкости обслуживания.

По способу установки автомобиля на пост различают тупиковые и проездные посты. Организация обслуживания на отдельных постах проще, чем на поточных линиях, т.к. позволяет выполнять неодинаковые виды работ при ТО различных марок автомобилей.

Наиболее прогрессивным является выполнение ТО на поточных линиях. Однако организация проведения ТО поточным методом требует соблюдения следующих условий:

. Технологическая совместимость обслуживаемой группы автомобилей.

. Соблюдение графика постановки автомобилей в ТО.

. Достаточная сменная производственная программа.

. Своевременное обеспечение запчастями и материалами.

. Выполнение текущего ремонта перед постановкой автомобиля на ТО-1 и ТО-2.

Для зоны ЕО выбор метода обслуживания зависит от количества обслуживаемых автомобилей в час. Принимаем поточный метод обслуживания с применением механизированных установок для мойки и сушки.

Если же ТО-1 и ТО-2 выполняют в разные смены, то для этих видов обслуживания используют одни и те же посты.

Постовые работы ТР выполняются на универсальных постах.

В проектируемом АТП имеем три технологически совместимые группы автомобилей, где под технологической совместимостью подвижного состава понимаются конструктивная общность моделей позволяющая организовать совместное производство работ с использованием одного и того же оборудования и оснастки.

Согласно установлено пять технологически совместимых групп, из которых принимаем три группы:

. ЗИЛ-130;

. ЗИЛ-133ГЯ;

. УРАЛ-375.

Продолжительность межсменного времени Тмс при равномерном выпуске автомобилей определяем из выражения:

, (1.41)

где Тн + То = 16,4 ч - время пребывания автомобиля на линии и обеденного перерыва водителя;

ТВ - продолжительность выпуска автомобилей на линию = 3 ч.

Т.е. межсменное время позволяет организовать полную третью смену для проведения ТО-1 и ЕО. ТО-2 выполняется преимущественно в дневную смену. Участок диагностики Д-1 работает одновременно с зоной ТО-1. Диагностирование Д-1 после ТО-2 и ТР проводим в дневное время.

Выбранный режим работы предприятия способствует максимальной производительности и не противоречит законодательству о труде.

Т.к. нормальное функционирование зоны ТО и ТР зависит от работы складов, то для нормальной работы необходим круглосуточный режим работы складов.

1.8.1 Организационная структура АТП

Осуществление системы планово-предупредительного технологического обслуживания и ремонта должно обеспечивать высокую техническую готовность подвижного состава при наименьших затратах на его содержание. Для надлежащей и четкой организации в производстве технической службы в крупных АТП получила распространение централизованная система управления производством. Это прогрессивная система, интенсивно внедряющаяся в современных АТП.

Централизованная система управления производством пришла на смену существующей ранее агрегатно-участковой форме организации производства, которая постепенно изживает себя.

Централизованная система управления производством ТО и ремонта подвижного состава предусматривает:

. Централизованное управление работой производственных подразделений отделом управления производством (ОУП)

. Формирование производственных подразделений по техническому принципу, при котором каждый вид технических воздействий выполняет специализированное подразделение

. Объединение производственных подразделений, выполняющих однородные работы, в производственные комплексы

. Восстановление комплексом подготовки производства работоспособности снятых с автомобилей прицепов, агрегатов, узлов

. Обмен информацией между отделом управления и всеми производственными подразделениями на основе двусторонней диспетчерской связи.

Техническая служба автотранспортных предприятий, объединения состоит из следующих отделов и подразделений:

·        производственно-технический отдел (ПТО);

·        отдел управления производством (ОУП);

·        отдел главного механика (ОГМ);

·        отдел материально-технического снабжения (ОМТС);

·        отдел технического контроля (ОТК);

·        комплекс подразделений, выполняющих техническое обслуживание и диагностику технического состояния автомобилей, их агрегатов и узлов (комплексный участок ТОД);

·        комплекс подразделений, производящих работы по подготовке производства ТО и ТР (комплексный участок ПП);

·        комплекс подразделений, выполняющих работы по ТР (участок ТР).

Производственно-технический отдел АТП выполняет следующие функции:

.        Организует, ведет учет и анализирует техническое состояние автомобилей (прицепов), их агрегатов, узлов;

2.      Корректирует режим механического обслуживания;

.        Составляет месячные (квартальные) планы работ ремонтного участка комплекса подготовки производства по восстановлению агрегатов, узлов, механизмов;

.        Составляет планы капитального ремонта автомобилей, агрегатов;

.        Разрабатывает планы и мероприятия по совершенствованию технологического процесса ТО и ТР подвижного состава;

.        Разрабатывает и проводит мероприятия по охране труда и ТБ.

Отдел управления производством - технического обслуживания и ремонта подвижного состава, обеспечивает сбор информации о наличии производственных ресурсов, объеме и характере работ, подлежащих выполнению.

Отдел главного механика обеспечивает содержание в технически исправном состоянии зданий, сооружений, энергосилового и санитарно-технического хозяйств, обслуживает и ремонтирует оборудование, оснастку, контролирует правильное их использование.

Отдел материально-технического снабжения осуществляет бесперебойное материально-техническое снабжение автотранспортного предприятия, составляет заявки по материально-техническому снабжению и обеспечивает правильную организацию работы складского хозяйства.

Отдел технического контроля осуществляет контроль качества работ, выполняемых всеми производственными подразделениями технической службы, в соответствии с техническими условиями и ТО и ремонт подвижного состава, а также качества продукции предприятий, услугами которых пользуется АТП.

Комплекс ТОД выполняет техническое обслуживание, сопутствующий ремонт и работы по диагностике подвижного состава.

Комплекс ТР объединяет участки, выполняющие работы по замене неисправных агрегатов, узлов, механизмов, крепежно-регулировочные и другие работы по текущему ремонту, технологически выполняемые непосредственно на автомобиле.

Комплекс ПП объединяет следующие подразделения: ремонтный участок, производящий работы по ремонту и обслуживанию снятых с автомобилей (прицепов) агрегатов, узлов, механизмов и изготовлению отдельных новых деталей.

1.8.2 Расчет числа постов и поточных линий для ТО и ТР подвижного состава


Для определения оптимального количества постов следует при назначении количества рабочих, одновременно работающих на постах, учитывать специфику работы поста и габариты автомобиля. Среднее число рабочих на одном посту зон обслуживания и ремонта принимаем согласно Положения.

Принятое число рабочих на одном посту зон обслуживания и ремонта сводим в таблицу 1.3.

Таблица 1.3

Среднее число рабочих на одном посту зон обслуживания и ремонта

Вид и метод обслуживания

Число одновременно работающих на посту


ЗИЛ-130

ЗИЛ-133ГЯ

УРАЛ-375


ЕО: уборка или обтирка, механизированная мойка

2

2

-

6


1

1



ТО-1

3

4

3

10

ТО-2

3

3

2

8

ТР

1

1

1

3


1.8.3 Расчет числа универсальных постов для ТО

Для универсального и операционно-постового метода ТО число постов определяется по формуле:

, (1.42)

где τni - такт поста данного вида ТО, мин.;

Ri - ритм производства данного вида ТО, мин.

Такт поста τni представляет собой среднее время занятости поста, оно складывается из времени простоя автомобиля под обслуживанием на данном посту и времени, связанного с установкой автомобиля на пост, вывешиванием его на подъемнике и т.п.

, (1.43)

где Тi - трудоемкость работ данного вида обслуживания, выполняемого на посту чел. ч;

Мn - число рабочих, одновременно работающих на посту;

Тn - время, затрачиваемое на передвижение автомобиля, tn - 1…3 мин.

, (1.44)

где ТСМ - продолжительность смены, ч;

У - число смен;

Nic - суточная производственная программа по каждому виду ТО.

Число постов ТО-2 (Х то-2) из-за относительно большой его трудоемкости, а также возможного увеличения времени простоя автомобиля на посту определяется с учетом коэффициента использования рабочего времени поста η2, = 0,85…0,9, т.е.:

, (1.45)

принимаем η2 = 0,9

Как видно из расчета, полученное число постов для ТО по каждой марке автомобиля не превышает единицы, поэтому ТО будет проведено на одном универсальном посту для каждой марки автомобилей. Учитывая вышесказанное, и, зная, что ТО-1 и ТО-2 выполняются в разные смены, для снижения производственной площади целесообразно выполнять ТО на одних и тех же постах.

Таблица 1.4

Число постов ТО-1, ТО-2 для автомобиля ЗИЛ-130

Показатели

Ед. изм.

Вид обслуживания



ТО-1

ТО-2

Продолжительность смены, Тсм

час

8,2

8,2

Число смен, У

ед.

1

1

Продолжительность работы зоны в сутки

мин.

492

492

Суточная программа, Nic

ед.

10

2

Трудоемкость обслуживания единицы подвижного состава, Т

чел. - ч

2,42

8,048

Среднее число рабочих одновременно работающих на посту

чел.

3,2

3

Время передвижения автомобиля, Тп

мин

2

2

Такт производства, τni

мин.

47,375

170,16

Ритм производства, Ri

мин.

49,2

246

Число постов, ХТО

ед.

0,962

0,768


Таблица 1.5

Число постов ТО-1, ТО-2 для автомобиля ЗИЛ-133ГЯ

Показатели

Ед. изм.

Вид обслуживания



ТО-1

ТО-2

Продолжительность смены, Тсм

час

8,2

8,2

Число смен, У

ед.

1

1

Продолжительность работы зоны в сутки

мин.

492

492

Суточная программа, Nic

ед.

5

1

Трудоемкость обслуживания единицы подвижного состава, Т

чел. - ч

5,687

16,86

Среднее число рабочих одновременно работающих на посту

чел.

4

3

Время передвижения автомобиля, Тп

мин

2

2

Такт производства, τni

мин.

87,305

339,2

Ритм производства, Ri

мин.

98,4

492

Число постов, ХТО

ед.

0,98

0,766


Таблица 1.6

Число постов ТО-1, ТО-2 для автомобиля УРАЛ-375

Показатели

Ед. изм.

Вид обслуживания



ТО-1

ТО-2

Продолжительность смены, Тсм

час

8,2

8,2

Число смен, У

ед.

1

1

Продолжительность работы зоны в сутки

мин.

492

492

Суточная программа, Nic

ед.

4

1

Трудоемкость обслуживания единицы подвижного состава, Т

чел. - ч

5,357

12,2

Среднее число рабочих одновременно работающих на посту

чел.

2,8

2

Время передвижения автомобиля, Тп

мин

2

2

Такт производства, τni

мин.

116,79

368

Ритм производства, Ri

мин.

123

492

Число постов, ХТО

ед.

0,95

0,83


1.8.4 Расчет числа постов и линий для зоны ЕО

При числе постов Хi ≥ 2 для проведения ежедневного обслуживания используют поточные линии. Поточные линии могут быть периодического и непрерывного действия. Линии непрерывного действия применяются для выполнения уборочно-моечных работ ЕО с использованием механизированных установок для мойки и сушки автомобилей.

Число поточных линий непрерывного действия рассчитывается по формуле:

, (1.46)

где τЕО - такт линии непрерывного действия, мин.;

REO - ритм производства ЕО.

На проектируемой линии непрерывного действия предусматривается механизация только моечных работ, а остальные выполняются вручную, поэтому такую линию рассчитывают с учетом скорости перемещения автомобиля (V = 2-3 м/мин), обеспечивающей возможность выполнения работ вручную в процессе движения автомобиля. В этом случае такт линии рассчитывается по формуле:

, (1.47)

где La - габаритная длина автомобиля (автопоезда), м;

а - расстояние между автомобилями, стоящими на двух последующих постах, м;

Vk - скорость передвижение, автомобиля конвейером, м/мин.

Расстояние а принимаем в соответствии со СНиП II-93-74. Габаритные размеры и категории подвижного состава представлены в таблице 1.8.

Таблица 1.8

Габаритные размеры и категории подвижного состава

Модель подвижного состава

Длина, мм

Ширина, мм

Габаритная площадь, м²

Категория автомобиля

Расстояние а, м

ЗИЛ-130

5395

2380

12,84

II

1,5

ЗИЛ-133ГЯ

5975

2730

16,31

III

1,5

УРАЛ-375

6340

3000

19,02

IV

2


Пропускная способность (авт/ч) линии ЕО:

, (1.48)

Число постов на линии ЕО следует назначать из условия специализации по видам работ, например, уборочные, моечные, обтирочные, дозаправочные.

Ритм производства определяется по формуле:

, (1.49)

где NEOС - суточная производственная программа по ЕО.

Число рабочих mео, занятых на постах ручной обработки зоны ЕО, определяется по формуле:

, (1.50)

где ТЕО - трудоемкость работ ЕО, выполняемых вручную, чел. ч.

Линии ЕО специализируем по категории обслуживаемого автомобиля, т.е. проектируем отдельную поточную линию для автопоездов (IV категория) и отдельную поточную линию для автомобилей II категории. Результат расчетов сводим в форме 1.9.

Число постов на линии ЕО назначаем из условия их специализации по видам работ. Организуем по три поста на каждой линии, из которых:

пост - уборочные работы,

пост - моечные работы,

пост - обтирочно-дозаправочные работы.

На первом посту работают два уборщика, на втором посту один оператор моечной установки, на третьем посту работы выполняет водитель за счет своего подготовительно-заключительного времени.

Рабочая длина линии обслуживания LЛ равна:

, (1.51)

Фактическая длина линии обслуживания обычно увеличивается за счет предусмотренных со стороны въезда дополнительного поста. Указанный пост оборудован в виде тамбура, примыкающего к поточной линии. Это обуславливается необходимостью иметь отапливаемый пост подпора со стороны въезда. Тамбуры служат для предотвращения интенсивного охлаждения автомобиля.

Таблица 1.9

Число линий ЕО

Показатели

Ед. изм.

Категория автомобиля



II

IV

Продолжительность работы зоны в сутки

мин.

492

492

Суточная производственная программа

ед.

125

42

Ритм производства

мин.

3,936

11,714

Габаритная длина автомобиля

м

12,84

16,31

Расстояние между автомобилями

м

1,5

2

Такт линии, τлЕО

мин.

3,64

8,83

Число линий, і

ед.

0,93

0,75

Пропускная способность линии, NЕО

авт ∕ ч

16,5

6,8

Скорость передвижения конвейера,

м ∕ мин

2,5

2

Продолжительность работы линии

мин.

457,5

369

Трудоёмкость работ ЕО выполняемых вручную, ТЕО

чел. - ч

0,076

0,12

Число рабочих занятых на постах ручной обработки

чел. - ч

2

2


Фактическая длина линии обслуживания с учетом указанного:

, (1.52)

1.8.5 Расчет числа постов ТР

Для расчета числа постов ТР используем годовой объем постовых работ ТР, т.к. число воздействий ТР не известно, однако расчет необходимого числа постов ТР только исходя из объемов работ, не отражает действительной потребности в постах, т.к. возникновение текущих ремонтов обусловлено техническими отказами и неисправностями, которые носят случайный характер. Колебания потребности ТР, как по времени возникновения, так и по трудоемкости весьма значительны, что вызывает длительные простои подвижного состава в ожидании постановки на пост.

Особенности расчета постов ТР:

. Для учета колебаний постановки машин ТР вводится коэффициент неравномерности поступления автомобилей на посты ТР. Значение коэффициента зависит от многих факторов, а также от числа автомобилей в АТП и интенсивности их эксплуатации. Для проектируемого АТП с числом автомобилей 200 штук коэффициент неравномерности φ равен 1,5.

. В связи с ограниченным фронтом работ, согласно нормам проектирования (ОНТП-АТП-СТО-86): число одновременно работающих на постах ТР принимаем в зависимости от типа подвижного состава по таблице.

. Учитывая значительные потери рабочего времени, связанные с уходом исполнителей на другие участки, а также из-за простоев в ожидании требуемых деталей, узлов и агрегатов вводится коэффициент использования поста ηП, который принимается в пределах 0,85…0,9.

Принимаем ηП= 0,9

Необходимое число постов для проведения ТР определяется:

, (1.53)

где  - годовой объем работ, выполняемых на постах ТР чел. ч.

Фп - годовой фонд времени поста, ч.

φ - коэффициент неравномерности поступления автомобилей (φ= 1,5),

ηп - коэффициент использования рабочего времени поста 0,85…0,9,mп - число рабочих на посту, работающих одновременно.

При работе постов в несколько смен с неравномерным распределением объема работ по сменам расчет числа постов производится для наиболее загруженной смены:

, (1.54)

где Ктр - коэффициент, учитывающий долю объема работ, выполняемых в наиболее загруженную смену (0,5…0,6).

Результаты расчета сводим в таблицу 1.10.

Таблица 1.10

Число постов ТР

Показатели

Ед. изм.

1-я группа

2-я группа

3-я группа

Годовая трудоёмкость зоны ТР

чел. - ч

7462

7783

5042

Число смен, У

ед.

2

Число рабочих на посту, mп

чел.

1

1

1

Число постов,  ед. 332





Всего постов в зоне ТР

ед.

8

1.8.6 Расчет числа постов ожидания

Посты ожидания - это посты, на которых автомобили нуждающиеся в том или ином виде ТО и ТР ожидают своей очереди Они обеспечивают бесперебойную работу зон ЕО, ТР, ТО. Посты ожидания могут предусматриваться раздельно для каждого вида обслуживания или вместе для всех видов обслуживания и размещаться как в производственном корпусе, так и на открытых площадках.

Согласно нормам технологического проектирования число постояв ожидания, определяется исходя из следующих нормативов:

. Посты ЕО - исходя из 15.25% часовой пропускной способности постояв (линий УЩ);

. Посты ТО-1 - исходя из 10.15% сменной программы

. Посты ТО-2 - исходя из 30-40% сменной программы

. Посты ТР - в количестве 20.30% от числа постояв ТР

1.9 Определение потребности в технологическом оборудовании производственных участков

1.9.1 Годовые фонды времени оборудования

Различают номинальный и действительный фонды времени оборудования. Номинальный фонд определяется по формуле:

, (1.55)

где У - число смен работы оборудования.

Действительный фонд определяется по формуле:

, (1.56)

где ηО = 0,75 ÷ 0,90 - коэффициент использования оборудования по времени.

1.9.2 Определение потребности в технологическом оборудовании

Под технологическим оборудованием понимается: станки, стенды, приборы и приспособления, производственный инвентарь, который обеспечивает выполнение производственного процесса АТП.

Технологическое оборудование по производственному назначению делится на основное, комплексное, подъемно-осмотровое, подъемно-транспортное, общего назначения и складское. Подбор оборудования выполняется по табелям технологического оборудования, каталогам и справочникам, в которых количество и номенклатура технологического оборудования установлена для усредненных условий. Поэтому номенклатура и число отдельного оборудования для проектируемого АТП следует скорректировать с учетом специфики работы предприятия и условий эксплуатации подвижного состава. Количество основного оборудования для каждого производственного участка определяют или по годовой трудоемкости работ и годовому фонду времени оборудования, или по степени использования оборудования и его производительности.

Число единиц основного оборудования по трудоемкости работ рассчитывается по формуле:


где ТОГ - годовой объем работ по данной группе или виду работ чел. ч;

m - число рабочих, работающих на одном оборудовании.

Количество производственного инвентаря, который используется практически в течение всей рабочей смены, определяют по числу работающих в наиболее загруженной смене.

Число единиц подъемно-осмотрового и подъемно-транспортного оборудования определяется числом постов ТО и ТР линий ТО, их специализацией по видам работ, а также предусмотренным в проекте уровнем механизации процессов ТО.

Оборудование по зонам ТО и ТР, производственного участка проектируемого АТП подбирается с учетом расчета и принятой технологии технического обслуживания и ремонта подвижного состава.

1.10 Расчет площадей помещений


Площади АТП по своему функциональному назначению подразделяются на три основные группы: производственно-складские, хранения подвижного состава и вспомогательные.

Для проектируемого АТП в зависимости от типа и количества подвижного состава, технического состояния автомобилей и их среднесуточного пробега, режимов работы подвижного состава, технического обслуживания и текущего ремонта определяем состав помещений и занимаемые ими площади.

1.10.1 Расчет производственных помещений для ТО и ТР

Площади производственных помещений определяют приближенно расчетом по удельной площади на единицу оборудования и более точно графически. На стадии выбора объемно-планировочных решений площадь зоны ТО и ТР рассчитывается по следующей формуле:

, (1.58)

где Ра - площадь, занимаемая автомобилем в плане (по габаритным размерам), м;

Х3i - число постов зоны;

Кh - коэффициент плотности расстановки постов.

Для проведения необходимых ТО и ТР применяем метод универсальных постов, поэтому при одностороннем расположении постов принимаем К = 6…7. Наименьшее значение Кh принимается для крупногабаритного подвижного состава.

Окончательно площади зон уточняем в процессе планировки производственного корпуса и указываем в экспликации, с условием, что отклонение может быть до 15% при площади до 50 м2 и до 10% при площади свыше 50 м2. Результат расчета сводим в таблицу 1.11.

Таблица 1.11

Площади зон ЕО, ТО и ТР

Вид воздействия

Число постов, Хзi

Площадь автомобиля в плане, м²

Площадь зоны, м²

ТО-1 (ТО-2) ЗИЛ-130 ЗИЛ-133ГЯ УРАЛ-375

 3

 12,84 16,31 19,02

870

ТР

8

19,02

955

ЕО

6

19,02

680


1.10.2 Расчет площадей производственных помещений (участков)

Площади производственных участков рассчитываем:

а) по площади, занимаемой оборудованием и коэффициенту кратности его расстановки:

, (1.59)

где ∑Робi - суммарная площадь оборудования соответствующего участка, м2;

Кhi - коэффициент плотности расстановки оборудования.

Суммарная площадь оборудования соответствующего участка определяем по последней колонке ведомости технологического оборудования.

Если в производственном участке предусмотрено место для автомобиля или кузова, то к площади, занимаемой оборудованием данного участка, добавляем площадь горизонтальной проекции автомобиля или кузова.

б) при отсутствии суммарной площади технологического оборудования других участков их площади определяем приближенным расчетом по удельной площади на одного работающего:

, (1.60)

где Р1 - удельная площадь, приходящаяся на первого рабочего в наибольшей смене;

Р2 - удельная площадь, приходящаяся на последующих рабочих в наибольшей смене;

mсп - списочное количество рабочих производственного участка.

Размер автомобильной площади принимаем по ЗиЛ-133ГЯ - 16,31 м2. Результаты расчетов заносим в таблицу 1.13.

Таблица 1.13

Расчетные площади производственных участков

Наименование участка

Число рабочих, mсп

Удельная площадь на одного работающего, м² (Р1 ∕ Р2)

Площадь участка расчетная, м²

Агрегатный (с учетом мойки)

15

15/12

316

Слесарно-механический

5

12/10

81

Электротехнический

3

10/5

30

Аккумуляторный

1

15/10

36

Топливной аппаратуры

2

8/5

18

Шиномонтажный

2

15/10

81

Кузнечно-рессорный

2

20/15

36

Медницкий

2

10/8

27

Сварочный с автоплощадкой

1

15/10

72

Жестяницкий

1

12/10

27

Арматурно-кузовной с автоплощадкой

-

38/20

92

Деревообрабатывающий

1

15/12

27

Обойный

1

15/10

40

Малярный с автоплощадкой

2

10/8

72

Итого по участкам:

39

-

955


1.10.3 Расчет площадей складских помещений

Площади складских помещений определяются 3-мя методами:

метод - по удельной площади складских помещений на 1 млн. км пробега подвижного состава;

метод - по площади, занимаемой оборудованием на складе и коэффициенту плотности оборудования;

метод - по удельной площади на один списочный автомобиль АТП.

Площади складов по удельной площади на млн. км пробега определяют по формуле:

, (1.61)

где LГ - среднегодовой пробег одного автомобиля, км;

Рy - удельная площадь данного вида склада на 1 млн. км пробега, м;

Кпс, Кр, Краз - коэффициенты, учитывающие, соответственно, тип подвижного состава, его число и разномарочность.

При наличии на АТП двух моделей автомобилей коэффициент Краз принимается равным 1,2, при наличии трех моделей - 1.3.

Площадь складов по удельной площади, приходящейся на один списочный автомобиль, определяют по формуле:

, (1.62)

где Рп - соответствующая площадь (удельная) складского помещения, на один автомобиль.

Принимаем пощади складских помещений по площади на 1 млн. км. пробега подвижного состава.

1.10.4 Расчет площади хранения (стоянки) автомобилей

Площадь зоны хранения зависит от числа автомобилей, находящихся на хранении, типа стоянки и способа расстановки в ней автомобилей.

Для стоянки применяем открытую площадку с подогревом, что обусловлено резко-континентальным климатом, характеризующимся среднемесячной температурой воздуха в январе - 20°…-40°С, в июле - + 25°…40°С. В зависимости от организации хранения подвижного состава на АТП автомобиле-места могут быть закреплены за определенными автомобилями или обезличены. Принимаем способ постановки автомобилей с закреплением их за автомобиле-местами, т.е.:

 

АСТ =АН, (1.63)

Площадь зоны хранения определяют по формуле:

, (1.64)

где Рo - площадь занимаемая автомобилем в плане, м;

Аст - число автомобиле-мест хранения;

Кпх - коэффициент плотности расстановки автомобиле-мест хранения; Кпх = 2,5…3,0.

Результаты расчета сводим в форму 1.14.

Таблица 1.14

Площадь зоны хранения подвижного состава (стоянки)

Марка автомобиля

Площадь автомобиле-места, м² (Ро)

Число автомобиле-мест, Аст

Коэф. плотности расстановки автомобиле-мест

Площадь зоны хранения, м² (Рх)

ЗИЛ-130

12,84

50

3

1926

ЗИЛ-133ГЯ

16,31

110

4

7176

УРАЛ-375

19,02

40

4

3043

Площадь зоны хранения

-

200

-

12145


2. Технологическая часть


2.1 Система питания дизельных двигателей


Система питания предназначена для очистки воздуха и топлива, приготовления из них горючей смеси определенного качества и подачи ее или раздельно топлива и воздуха в необходимом количестве в цилиндры двигателя.

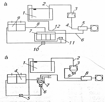
Системы питания дизелей мало различаются. Ниже в качестве примера рассматривается схема системы питания дизеля Д-245 (рисунок 1.1).

Рисунок 1.1 Схема системы питания дизеля Д-245:

- кран; 2 - топливный бак; 3, 5, 8, 10, 11 и 17 - топливопроводы низкого давления; 4 - фильтр грубой очистки топлива; 6 - топливоподкачивающий насос; 7 - топливный насос высокого давления (ТНВД); 9 - топливопровод высокого давления; 12 - фильтр тонкой очистки топлива; 13 - бачок: 14 - топливопровод к факельному подогревателю; 15 - факельный подогреватель; 16 - впускной трубопровод; 18 - форсунка; 19 - камера сгорания; 20 - головка цилиндров; 21 - турбокомпрессор; 22 - глушитель; 23 - воздухоочиститель.

Топливо, заливаемое в бак 2 через фильтр его горловины, при открытом кране 1 засасывается подкачивающим насосом 6 через топливопровод 3, фильтр 4 грубой очистки, топливопровод 5 и подается под давлением по топливопроводу 10 к фильтру 12 тонкой очистки. В фильтре 4 топливо очищается от крупных механических частиц и воды, а в фильтре 12 - от оставшихся мелких частиц. По топливопроводу 11 оно поступает в топливный насос 7 высокого давления (ТНВД), из которого под большим давлением подается по топливопроводам 9 к форсункам 18. Через форсунки топливо впрыскивается в камеры 19 сгорания.

Топливо, просачивающееся через зазоры сопрягаемых деталей форсунок, по сливному топливопроводу 17 отводится в бак 2. Излишки топлива из насоса 7 по топливопроводу 8 возвращаются в топливоподкачивающий насос 6 [4].

Воздух, необходимый для сгорания топлива, поступает в цилиндры через воздушный фильтр (воздухоочиститель 23) и впускной трубопровод 16,в котором установлен электрофакельный подогреватель 15. Количество поступающего в цилиндр воздуха увеличивает турбокомпрессор 21. Его турбину приводят в действие отработавшие газы, уходящие затем через глушитель 22 в окружающую среду.

2.2 Применение модернизированного фильтра для очистки дизельного топлива двигателя автомобиля ЗИЛ-133ГЯ


Загрязнения различных видов жидкого топлива абразивными частицами, водой и другими примесями приводит к преждевременному износу двигателей внутреннего сгорания, ухудшению процесса сгорания топлива, его перерасходу и увеличению загрязненности выхлопных газов.

Частичным решением этой проблемы стала разработка научно-исследовательской лабораторией Ульяновской государственной сельскохозяйственной академии фильтров преобразователей-подогревателей жидкого и газообразного топлива. Были изготовлены и успешно испытаны в лабораторных и производственных условиях фильтры преобразователи для легковых и грузовых карбюраторных автомобилей производительностью до 100 л/ч, для дизельных автотракторных двигателей производительностью до 200 л/ч, для автозаправочных станций производительностью до 5000 л/ч. Все разработки и способ очистки различных видов.

Кроме того, под действием магнитного поля топливо модифицируется - улучшается его сгорание и снижается детонация.

К числу вышеперечисленных положительных качеств данного фильтра можно отнести и то, что его фильтрующий элемент не меняется за весь срок службы за счёт самоочистки. Это важный фактор экономии при эксплуатации, а также решение проблем утилизации отработавших фильтрующих элементов эксплуатируемых в настоящее время фильтров, позволяющий экономить средства на ремонт и ТО двигателей внутреннего сгорания до 4 % на 100 км пробега.

Исходя из исследований УГСХА, нами предлагается фильтра ФПП (рисунок 2.1, поперечный разрез фильтра-подогревателя-преобразователя). В корпусе 1 с крышкой 2 помещается фильтрующий элемент 3, выполненный в виде расширяющегося вниз усеченного конуса, снабжённого в узкой части входным штуцером 5 с резьбовой щелью для подачи топлива, а в широкой - краном 7 (на рисунке 1 изображена заглушка) для сброса загрязнений. На внешней стороне конусообразного корпуса установлен магнит в виде катушки 4, имеющей также форму усечённого конуса, расширяющегося к верхней части, что обеспечивает создание сильного магнитного поля в верхней конусной части фильтрующего элемента по высоте. За счёт катушки 4 происходит подогрев топлива. На внешней стороне обмотки размещён защитный кожух 1, а в нижней крышке 6 корпуса, где осаждаются загрязнения, располагается кран.

Предлагаемый фильтр для очистки и подготовки (модификации) жидкого топлива к сгоранию работает следующим образом. Через входной штуцер 5 подаётся топливо, которое, проходя через резьбовую щель, получает заданный начальный импульс вращения вдоль стенки усечённого конуса фильтрующего элемента 3. По мере этого движения за счёт расширения скорость движения топлива падает в 3 - 4 раза. При этом изменяется порядок расположения различных фракций топлива - более тяжёлые стремятся занять среднюю часть конуса, а лёгкие фракции проходят в фильтрующий элемент в первую очередь. Одновременно на очищаемое топливо действует магнитное поле, создаваемое катушкой 4, расположенной на внешней стороне усечённого конуса, что также позволяет воздействовать на проходящие фракции топлива, модифицируя их в сторону повышения цетанового числа.

Очищенное и модифицированное топливо выводится через нижний выходной патрубок и поступает в камеру сгорания двигателя.

Рисунок 2.1 Фильтр для очистки и подготовки топлива к сгоранию:

- кожух, 2 - крышка, 3 - фильтрующий элемент, 4 - катушка, 5 - входной штуцер, 6 - нижняя крышка, 7 - кран-заглушка.

Рисунок 2.2 Включение фильтра нового типа в топливную систему питания дизельных двигателей:

а) штатная; б) с фильтром подогревателем - преобразователем

а): 1 - топливный бак; 2, 4, 8 - трубопроводы питательные; З - фильтр грубой очистки; 5 - электрический насос подачи топлива; 6 - трубопровод подачи топлива; 7 - фильтр тонкой очистки; 9 - ТНВД; 10 - перепускной клапан обратки с ТНВД; 11 - перепускной клапан обратки с фильтров.

б): 1 - топливный бак; 2 - трубопровод питательный; 3 - фильтр грубой очистки заменяется, на фильтр нового типа; 4 - ТНВД; 5 - перепускной клапан с ТНВД; 6 - перепускной клапан для сброса загрязнений через обратку в бак; 7 - электромагнитный фильтр-преобразователь с системой самоочистки; 8 - электрический насос подачи топлива; 9 - кран сброса загрязнений.

На рисунке 2.2 представлена общая схема включения фильтров нового типа в топливную систему питания дизельных двигателей автомобилей ЗИЛ - 133ГЯ, видно, что при минимальных затратах времени и средств, предлагаемый фильтр может быть использован в системах питания различных дизельных и карбюраторных двигателей.

2.3 Факторы, влияющие на расход топлива


Расход топлива автомобилями зависит от технических и организационных факторов. Основными из них являются:

·        улучшение технического состояния автомобилей (в первую очередь систем питания, зажигания, цилиндропоршневого и газораспределительного механизмов, трансмиссии и ходовой части);

·        улучшение условий использования автомобилей;

·        мастерство и квалификация водителя;

·        улучшение учета и нормирования расхода топлива.

Техническое состояние механизмов автомобилей оказывает решающее влияние на расход топлива через десятки различных факторов. На автомобиле нет второстепенных составных частей. Так, неисправность стеклоочистителя или неправильная регулировка фар хотя и не имеет прямого отношения к расходу топлива, но в определенных условиях затрудняет управление автомобилем, заставляет водителя снижать скорость, чаще тормозить. Поэтому экономия топлива может быть достигнута только при полной технической исправности механизмов автомобиля [5,6].

Системы питания двигателей современных автомобилей обеспечивают их работу на различных режимах за счет соответствующих устройств. Наличие неисправностей в этих устройствах не всегда приводит к полному отказу работы системы питания, зачастую даже не изменяет тяговых и динамических показателей автомобиля, а на ухудшение экономических характеристик, к сожалению, не всегда обращают должное внимание.

2.4 Расчет расхода топлива автомобилями


Индивидуальные нормы расхода топлива применяют внутри хозяйства автотранспортного предприятия. Они являются основанием для списания топлива, израсходованного в целом, как хозяйством, так и водителями, работающими на конкретных автомобилях. Нормы расхода представлены в таблице 2.1.

Групповые (плановые) нормы служат для планирования расхода и оценки эффективности использования топлива на транспортную работу в целом по хозяйству, району, области, республике, министерству, то есть на всех уровнях планирования.

Для грузовых бортовых автомобилей и автопоездов, работа которых учитывается в тонно-километрах, индивидуальные нормы расхода топлива слагаются из линейной нормы. На 100 км пробега и нормы на произведенную транспортную работу из расчета 2,0 л для автомобилей с карбюраторными двигателями и 1,3 л для автомобилей с дизельными двигателями на каждые 100 тонно-километров (для нормальных дорожных и климатических условий работы).

В соответствии с этим общий нормативный расход топлива конкретным автомобилем рассчитывают по линейной норме на пробег L и норме на транспортную работу Р по формулам:

, (2.1)

, (2.2)

где - нормативный расход топлива на пробег, л;

- нормативный расход топлива на транспортную работу, л;

- увеличение или снижение нормативного расхода топлива на особые условия работы, л;

НЛ - линейная норма расхода топлива, л/100 км;

НТ - норма расхода топлива на транспортную работу, л/100 ткм;

ΣΔУ - суммарное увеличение или снижение нормативного расхода топлива на особые условия работы, %.

Таблица 2.1. Топливная экономичность автомобилей (по расходу топлива на пробег)

Марка грузовых автомобилей

Скорость движения, км/ч

Расход топлива, 1л/100 км

Бортовые автомобили общего назначения (Дизель)

ЗИЛ-133ГЯ

30…40

36

Урал-377Н

40

46

КамАЗ-5320:



автомобиля

30…40

24

автопоезда

30…40

35

МАЗ-500А, МАЗ-5335

40

22

МАЗ-516Б, МАЗ-53352

40

30

КрАЗ-257Б1

40

36

Бортовые автомобили повышенной проходимости

Урал-375Д, Урал-375Н

40

45

Урал-4320

40

27

Седельные тягачи

КамАЗ-5410

30…40

35

Урал-375С-К1

40

57

МАЗ-504А

40

32

МАЗ-504В

40

40

КрАЗ-255В

40

45

КрАЗ-258Б1

40

50

КамАЗ-5511

40

26


Суммарное увеличение или снижение нормативного расхода топлива на особые условия работы определяется:

, (2.3)

Объем выполненной транспортной работы (ткм) равен:

, (2.4)

где GГР· - масса груза, т;

- пробег с грузом, км.

Для грузовых автомобилей-самосвалов норма расхода топлива слагается из нормы на пробег автомобиля (и нормы на каждую ездку с грузом, установленную в размере 0,25 л для всех моделей автомобилей-самосвалов (для нормальных климатических и дорожных условий). Общий нормативный расход топлива для автомобилей самосвалов рассчитывают по формулам:

, (2.5)

, (2.4)

где , НЕ - соответственно дополнительное количество и норма расхода топлива на каждую ездку с грузом, л;

N - количество ездок с грузом.

Нормы на 100 км пробега, утвержденной для базовой модели, увеличенной или уменьшенной на 2,5 л для автомобилей с карбюраторными двигателями и на 2 л - для автомобилей с дизельными двигателями на каждую тонну превышения или снижения веса специализированного автомобиля по сравнению с базовым автомобилем.

Нормы расхода топлива на работу оборудования специализированного автомобиля.

В тех случаях, когда на шасси бортовых автомобилей установлено специальное оборудование, не позволяющее автомобилю производить транспортную работу, норма расхода топлива слагается:

из нормы расхода топлива на передвижение, исходя из линейных норм и надбавок на превышение собственной массы;

из нормы расхода топлива на работу специального оборудования.

Для автомобилей с прицепами (при отсутствии норм) на каждую тонну собственной массы прицепа норму расхода топлива увеличивают:

с карбюраторными двигателями - на 2,5 л;

с дизельными - на 2 л.

Таким образом, основной нормируемый расход топлива определяют по индивидуальным нормам, которые составлены для каждого конкретного автомобиля или автопоезда при движении в заданном состоянии в летнее время по дороге с усовершенствованным покрытием, проложенной в равнинно-холмистой местности, при длине ездки более 20 км. Однако эти нормы не учитывают ряд эксплуатационных и природно-климатических факторов, которые влияют на расход топлива при автоперевозках. Эти отклонения от указанных выше условий эксплуатации учитываются соответствующими надбавками, которые устанавливают в процентах к нормируемому топливу.

Нормы расхода жидкого топлива для автомобилей могут быть увеличены или уменьшены в зависимости от времени года, климатических, дорожных и других условий.

Руководителям хозяйств и автотранспортных предприятий предоставляется право увеличивать нормы расхода топлива на 10%:

·        для автомобилей, условия работы которых, в черте населенного пункта требуют частых остановок (перевозка продуктов, вывоз мусора и др.);

·        при перевозке грузов, требующих пониженных скоростей движения;

·        при постоянной работе автомобилей на территории предприятий и цехов, а также для автомобилей (кроме автомобилей УАЗ), использование которых допускается с почасовой оплатой.

Для новых и вышедших из капитального ремонта автомобилей при пробеге первой тысячи километров норма расхода топлива может быть увеличена до 5%.

При работе в карьерах и тяжелых дорожных условиях, а также на поле норма расхода топлива автомобилем может быть увеличена до 20%.

При учебной езде - 25%.

На внутригаражные разъезды и технические надобности (технические осмотры, регулировочные работы, приработка деталей после ремонта и др.) разрешается расходовать до 0,5% топлива от общего его количества, потребляемого автомобилями хозяйства.

При погрузочно-разгрузочных работах, где по условиям противопожарной безопасности запрещается останавливать двигатель (нефтесклады, спецсклады и др.), на один час простоя автомобиля устанавливают дополнительный расход топлива исходя из нормы расхода на 5 км пробега.

Нормы расхода топлива снижаются при работе автомобилей на внегородских дорогах с усовершенствованным покрытием до 15%. Следует отметить, что при работе в условиях, требующих увеличения или снижения норм, норму расхода топлива следует изменять в равной степени, как на пробег, так и на транспортную работу.

При определении эффективности использования топлива фактический расход сопоставляют с нормативным расходом. Фактический расход топлива - это расход топлива конкретным автомобилем (автопоездом) при выполнении транспортной работы в заданных условиях [5].

2.5 Расчет норм расхода топлива для автомобиля ЗиЛ-133ГЯ


На бортовом грузовом автомобиле ЗИЛ - 133ГЯ при общем пробеге Lсс = 180 км выполнена транспортная работа Р = 450 ткм. Фактический расход топлива составил 64,8 л. Необходимо определить эффективность использования топлива на данной работе.

Для автомобиля ЗИЛ - 133ГЯ на 100 км пробега необходимо 36,0 л, на 100 ткм транспортной работы - 2,0 л. Нормативный расход топлива на пробег и транспортную работу определяют по формуле:

л.

Разность между общим нормативным и фактическим расходом топлива (73,8-64,8= 9,0 л) соответствует перерасходу топлива 13,9%.

Устранить потери топлива при эксплуатации автомобиля ЗИЛ - 133ГЯ возможно при модернизации системы питания.

3. Конструкторская часть


3.1 Организация труда в шиномонтажном участке


Под организацией труда следует понимать систему организационно-технических мероприятий, направленных на совершенствование метода и условий труда на основе новейших достижений культуры, техники и науки, обеспечивающих повышение производительности труда.

Основной задачей организации труда является повышение общей производительности труда во всех звеньях производства путем:

) применения более рациональной организации труда на основе изучения производственных операций, непроизводственных потерь времени, использования более совершенных средств производства (оборудования);

) внедрения таких норм труда, которые обеспечивают развитие отношений труда каждого коллектива;

) применения материальных и моральных стимулов и их сочетаний.

Сочетание организации труда при ежедневном обслуживании автомобилей проявляются в простое, трудовых затратах на их выполнение в себестоимости единицы продукции. Поэтому исходным моментом при внедрении организации труда является изучение использования рабочего времени при выполнении того или иного процесса. Объектом изучения являются так же данные учета оперативной и статистической отчетности. Полученные результаты наблюдения изучения использования рабочего времени позволяют выявить резервы рабочего времени на рабочих местах и в производственных подразделениях автохозяйства.

Полученные результаты изучения использования рабочего времени дают возможность наиболее целесообразно и эффективно вести работу по основным направлениям организации труда и совершенствовать производство в направлении более интенсивного использования средств производства. Наряду с этим необходимо изучать методы и приемы выполнения работ на каждом рабочем месте из каждой операции.

В целях более детального изучения операции, ее раскладывают на составные простейшие элементы и движения. Важным элементом изучения операции и проектирования нового метода является изучение рабочего поста при выполнении данной работы. Организация труда предусматривает организацию и обеспечение рабочих мест в трудовом процессе.

Главной задачей при планировании рабочего места является рациональное размещение оборудования, приспособлений, инструмента, исключение потери времени. Большое значение в интенсификации труда приобретает применение средств механизации и автоматизации в сочетании с организацией труда и экономической эффективностью применяемых средств.

Основой организации процессов является разделение труда и его кооперация. Разделение труда обуславливает специализацию рабочих, что является важнейшим фактором повышения производительности труда. Кооперация представляет с собой такую форму организации трудового процесса, когда в результате разделения труда отдельные операции, выполняемые определенными рабочими, требуют взаимной увязки в процессе всего производства.

Оценку условий труда производят по показателям температуры, скорости движения воздуха и освещенности в помещениях производства. Научно обоснованная окраска оборудования и помещения способствует повышению производительности труда до 20 %, сокращению травматизма на 35 … 40 % и снижению брака на производстве в два раза.

Составной частью организации труда являются вопросы технического нормирования, материального стимулирования, поощрения трудовой активности и творческой инициативы работников предприятия.

3.2 Расчет единиц оборудования шиномонтажного участка


Число единиц основного оборудования по трудоемкости работ рассчитывается по формуле:

, (3.1)

где ТОГ - годовой объем работ по данной группе или виду работ чел. ч;

ДРабГ - годовое число рабочих дней зоны = 254;

ТСМ - продолжительность смены = 8,2;

У - число смен работы оборудования;

ηО = 0,75 ÷ 0,90 - коэффициент использования оборудования по времени;

m - число рабочих, работающих на одном оборудовании.

Число единиц основного оборудования участка:


Принимаем по 1-ой единице.

В участке предлагается применить такое оборудование, как стенд для демонтажа монтажа колес - С 601, станок для очистки ободов, дисков - Р-101, приспособление для правки замочных колец и дисков - ЦКБ - И - 902, балансировочный станок - ГВ-4501.

3.3 Расчет площади шиномонтажного участка


, (3.2)

 

Кh = 3…4,Тогда площади проектируемого участка:


Принимаем Р = 81 м2;

3.4 Расчет освещения шиномонтажного участка


Количество светильников Nсв, ед, определяют по формуле

, (3.3)

где W - общая световая мощность ламп, Вт;

n1 - количество ламп в светильнике, ед;

w1 - световая мощность одной лампы, Вт.

Общую световую мощность W, Вт, определяют по формуле

, (3.4)

где F - площадь освещения, м²;

R - коэффициент освещения = 2,5;

К - коэффициент запыленности = 1,2.

,


Принимаем - 3 единицы.

3.5 Расчет вентиляции шиномонтажного участка


Производительность вентилятора , м³ / ч, определяется по формуле:

, (3.5)

где V - объем цеха, м³;

R - кратность обмена воздуха, R = 4 ч¹

м³ / ч.

4. Охрана труда


4.1 Техника безопасности


При шиномонтажных работах несчастные случаи возникают главным образом из-за срыва стопорного кольца или монтажных лопаток, разрыва шин. Опасности возникают и при переноске шин грузовых автомобилей и автобусов, использовании оборудования с электрическим приводом и аппаратов, работающих под давлением.

Шиномонтажные и демонтажные работы производят на шиномонтажном участке с применением специального оборудования, приспособлении и инструмента. При демонтаже шины с диска колеса воздух из камеры должен быть полностью выпущен. Шины, плотно прилегающие к ободу колеса, демонстрируют на специальных стендах или с помощью специальных приспособлений. Применять кувалды при демонтаже и монтаже шин запрещается.

Перед монтажом осматривают покрышку, удаляют из протектора мелкие камни, металлические и другие предметы, проверяют состояние бортов покрышки, замочного кольца и выемки для него на ободе колеса, состояние диска колеса Борта покрышки не должны иметь порезов, разрывов и других повреждений, обод - трещин, вмятин, заусенцев, ржавчины. Замочное кольцо должно надежно входить в выемку обода всей своей внутренней поверхностью.

В стационарных условиях снятые с автомобиля шины накачивают и подкачивают в местах оборудованных защитными ограждениями, предупреждающими вылет стопорного кольца. Подкачивать шину без демонтажа можно, если давление воздуха снизилось не менее на 40 % от нормального и при этом не нарушена правильность монтажа.

Все операции по снятию постановке и перемещению колес и шин автомобилей массой более 20 кг должны производиться с использованием средств механизации (тележек, подъемников и т.д.).

Все рабочие места должны содержаться в чистоте, не загромождаться деталями, оборудованием, инструментом, приспособлениями, материалами. Инструмент ударного действия (зубила, бородки и т.д.) должен иметь гладкую затылочную часть без трещин, заусенцев, наклепа и сколов. Для предупреждения травмирования рук длина инструмента не должна быть менее 150 мм.

При работе электроинструментом следует соблюдать меры электробезопасности. Сопротивление всех токоведущих путей один раз в год проверяют мегомметром.

Деревянные ручки инструмента (молотки, отвертки, кувалды) должны быть всегда сухими, без заусенцев и иметь удобную форму.

При накачивании шин грузовых автомобилей следует обязательно пользоваться предохранительной клетью.

Запрещается производить монтаж колес на шиномонтажном стенде, размер которых превышает максимальный размер, указанный заводом-изготовителем.

4.2 Противопожарная безопасность


Помещение шиномонтажного участка относится к категории Д по пожароопасности - помещение, в котором находятся или общаются негорючие вещества и материалы в холодном состоянии. В соответствии с действующим законодательством, ответственность за обеспечение пожарной безопасности на АТП несут их руководители. Таблички с указанием лиц, ответственных за пожарную безопасность, вывешивают на видных местах. В обязанность этих лиц входит: знание пожарной опасности применяемых в производстве веществ и материалов, технологического процесса производства; обучение работающих правилам пожарной безопасности; контроль за соблюдением правил пожарной безопасности на вверенных им участках; содержание в постоянной готовности всех имеющихся средств пожаротушения и извещения о пожарах; устранение нарушений правил пожарной безопасности и неисправности пожарного оборудования; разработка инструкций о мерах пожарной безопасности для своих подразделений. Они должны: не допускать загромождения пожарных подъездов к зданиям и сооружениям, к водоисточникам, подступам к пожарному оборудованию, проходам в зданиях, коридорам и лестничным клеткам; не допускать проведения работ с применением открытого огня, в том числе тщательно осматривать помещения перед закрытием, чтобы исключить условия возникновения пожара.

Для пожарной охраны АТП создают добровольные пожарные дружины (ДПД). На ДПД возлагают:

.        контроль за соблюдением противопожарного режима АТП и его производственных участках, складах и других объектах;

2.      разъяснительную работу среди рабочих и служащих с целью соблюдения противопожарного режима;

.        надзор за исправным состоянием первичных средств пожаротушения и готовность их к действию;

.        вызов пожарных команд в случае возникновения пожара и принятие немедленных мер к тушению пожара имеющимися средствами пожаротушения;

.        участие в случае необходимости в боевых расчетах в работе на пожарных автомобилях, мотопомпах и других передвижных и стационарных средствах пожаротушения, а также в исключительных случаях дежурства.

Численный состав ДПД определяет руководитель АТП. Комплектуют ДПД из работников предприятия не моложе 18 лет таким образом, чтобы в каждом цехе и смене имелись члены дружины.

Важную роль в проведении противопожарных профилактических мероприятий на АТП играют пожарно-технические комиссии. В состав комиссий входят: главный инженер, начальник пожарной охраны, главный механик, инженер по охране труда и другие лица по усмотрению руководителя предприятия.

В задачи пожарно-технической комиссии входит: выявление пожароопасных нарушений и недочетов в технических процессах ремонта автомобилей, в работе агрегатов, установок, производственных участках, на складах, которые могут привести к возникновению пожара, взрыва или аварии, и разработка мероприятий, направленных на устранение этих нарушений и недочетов; содействие пожарной охране (ДПД) предприятия в организации и проведении пожарно-профилактической работы и устранении строго противопожарного режима в производственных помещениях.

Все инженерно-технические работники, служащие и рабочие АТП при приеме на работу обязаны пройти первичный противопожарный инструктаж, а затем непосредственно на рабочем месте - вторичный противопожарный инструктаж. Первичный инструктаж проводит начальник пожарной охраны, а где их нет, специальное лицо из инженерно-технических работников, назначенное приказом по АТП. Повторный инструктаж проводят ежеквартально. Ответственный за пожарную безопасность ведет журнал учета средств пожаротушения с перечислением и указанием дат их испытания и очередных проверок.

Для извещения о пожаре на АТП используют электрическую пожарную сигнализацию, телефонную связь.

Для локализации и ликвидации небольших возгораний и пожаров в начальной стадии их развития на АТП применяют первичные средства пожаротушения, к которым относятся, прежде всего, переносные и передвижные огнетушители, ящики с песком, кошма, асбестовые покрывала, резервуары с водой.

Различают электрическую пожарную сигнализацию на автоматического и неавтоматического действия. Связь автоматического типа более совершенна, так как позволяет автоматически обнаружить возникший пожар и сообщить о нем в ближайшую пожарную часть.

В ней используются автоматические извещатели, которые подразделяются на тепловые, пламенные (световые), ультразвуковые и комбинированные.

Прекратить горение можно физическим и химическим способом. К физическим способам относятся охлаждение горючих веществ, изоляция веществ от зоны горения, разбавление реагирующих веществ с негорючими и не поддерживающими горение веществами. Химический способ заключается в торможении реакции горения из-за понижения в зоне реакции концентрации активных веществ.

Для локализации и ликвидации небольших пожаров и возгораний в начальной их стадии применяют первичные средства пожаротушения, к которым относятся переносные и передвижные огнетушители (ГОСТ 122047-86), ящики с песком, резервуары с водой и прочие средства пожаротушения.

4.3 Меры безопасности при ТО автомобилей


Для безопасности обслуживающего персонала на пунктах технического обслуживания применяются смотровые канавы.

Особая осторожность должна быть соблюдена при разборке и регулировке некоторых деталей и сборочных единиц двигателей, работающих на этилированном бензине. Все операции по ТО с ними необходимо проводить только после тщательной отчистки и промывки их в ванной с керосином. Следует помнить, что такие детали покрыты пленкой с концентрацией значительного количества тетраэтилсвинца, который при попадание в организм человека можем вызвать сильное отравление [3].

Дизельные топлива токсичнее, чем бензины. Однако, обладая более низкой испаряемостью, в парообразном состоянии они оказывают на организм человека меньшее отравляющее действие, чем бензины. Отмечают сильное раздражающее действие дизельных топлив в мелкораспыленном состоянии на слизистые оболочки. Предельно допустимая концентрация дизельных топлив в воздухе 0,3 мг/л.

Длительный и систематический контакт кожи с жидким дизельным топливом вызывает у человека различные кожные заболевания, резкие боли и отеки. Особенно сильное раздражающее действие оказывают сернистые дизельные топлива, и чем больше содержится в них серы, тем болезненнее поражение кожи (вплоть до омертвения тканей).

Ядовитость выхлопных газов общеизвестна. Наиболее опасна из всех их составляющих окись углерода СО, предельно допустимая концентрация которой в воздухе составляет 0,02 мг/л.

Профилактика отравлений окисью углерода в условиях АТП заключается в систематическом контроле ее содержания в воздухе на рабочих местах и стоянках автомобилей обеспечении хорошей вентиляции. Для предупреждения поступления выхлопных газов в помещения необходима герметизация трубопроводов выхлопных систем. На автомобилях, предназначенных для перевозки людей, глушитель должен быть выведен из-под кузова, а щели в полу тщательно заделаны.

Категорически запрещается обогреваться в кабине автомобиля при работе двигателя в режиме холостого хода (т.е. на богатой смеси), так как постепенно проникающие в кабину отработавшие газы создают опасную ситуацию. Отравление окисью углерода происходит незаметно и часто приводит к смертельному исходу. Для оказания первой помощи (до прибытия врача) пострадавшего необходимо срочно вынести на свежий воздух, укрыть чем-нибудь теплым и попытаться напоить горячим чаем. Если дыхание остановилось, необходимо делать искусственное дыхание до появления признаков жизни.

Смазочные масла и гидравлические жидкости на минеральной основе также являются токсичными веществами. К маслам, которые содержат присадки, нужно относиться с большей осторожностью, чем к маслам без присадок, так как действие токсичных веществ, содержащихся в них (серы, хлора, фосфора, цинка, свинца и др.), изучено еще недостаточно. При нарушении правил обращения с маслами и личной гигиены они могут вызывать экзему, фолликулярные поражения кожи и даже более тяжелые заболевания.

Этиленгликоль и его водные растворы - антифризы также весьма токсичны. При попадании внутрь организма они поражают центральную нервную систему и почки. Аналогичным токсичным действием обладают тормозные жидкости на гликолевой основе "Томь", "Роса", "Нева" и др. Смертельная доза этиленгликоля составляет всего 50 г (около 100 г антифриза).

При отравлении этиленгликолем охлаждающей или тормозной жидкостями - пострадавшему следует немедленно оказать первую помощь: тщательно промыть желудок водой или 2% -м раствором питьевой соды, искусственно вызвать рвоту, согреть и немедленно вызвать врача.

Для предупреждения отравлений охлаждающими и тормозными жидкостями необходимо строго контролировать их хранение, перевозку и расходование. На таре, в которой хранятся эти жидкости, обязательно должна быть четкая надпись "Яд".

Растворители и разбавители, которые используются на АТП, также токсичны и обладают высокой испаряемостью. Меры предосторожности при работе с ними и с лакокрасочными материалами, в которых они присутствуют, те же, что и при работе с бензинами.

При отравлении метиловым спиртом или дихлорэтаном пострадавшему оказывают такую же помощь, как и при отравлении тормозными и охлаждающими жидкостями.

4.4 Меры безопасности при обслуживании модернизированного фильтра


Фильтр установлен в систему питания двигателя ЗИЛ-133ГЯ, для его обслуживания и установки на двигатели внутреннего сгорания необходимо соблюдать следующие условия:

)        двигатель надо заглушить, затем дождаться полного охлаждения;

2)      осуществить операции по отключению электрического питания;

)        выполнить, соответственно инструкции по эксплуатации, операции по снятию и разборке фильтра;

)        далее осуществить обслуживание фильтра с соблюдением мер охраны труда при работе с легковоспламеняющимися продуктами, то есть топливами;

)        сборку фильтра и установку на двигатель проводить в обратном порядке, при этом операции необходимо выполнять с применением специальных приспособлений и в условиях ремонтной мастерской;

)        ответственность за монтаж несут в равной мере, как исполнители, так и инженер по технике безопасности, руководитель предприятия.

5. Охрана окружающей среды


Природные ресурсы - это важнейшие компоненты окружающей человека естественной среды, используемые в процессе общественного производства.

Окружающая среда - это совокупность природных, экономических, социальных условий и факторов, воздействующих на человека. Экологические показатели характеризуют состояние окружающей среды и ее основных элементов - воды, воздуха, земли.

Проливы и утечки нефтепродуктов являются значительными факторами загрязнения окружающей среды.

Загрязнение атмосферного воздуха вызывает большую озабоченность, чем любой другой вид разрушения природной среды.

Научно-техническая революция вызывает глубокие преобразования и изменения, затрагивающие самые различные стороны жизни общества, принося человечеству многочисленные блага. Однако революция научно-технических достижений в различных областях человеческой деятельности сопровождается и рядом негативных явлений. Во-первых, интенсивное потребление природных ресурсов, количественное и качественное, которое ставит перед человечеством уже серьезные проблемы. Второе негативное влияние - интенсивное загрязнение воздушного пространства, морей, пресноводных водоемов и суши. В настоящее время наблюдается тенденция сокращения содержания кислорода в атмосфере. Особенно сильное воздействие на окружающую среду оказывает автомобильный транспорт. По сравнению с другими видами транспорта он более агрессивен по отношению к окружающей среде, является мощным источником ее химического, шумового и механического загрязнения.

Проблема защиты окружающей среды на автотранспорте имеет комплексный характер и должна решаться совместными усилиями специалистов в области автомобилестроения, технической эксплуатации автомобилей, организации автомобильных перевозок, дорожного движения.

В результате бурного развития промышленности и автомобильного транспорта возникла проблема защиты окружающей среды от загрязнения ее токсичными веществами. Особенно опасным источником загрязнения атмосферы является интенсивная автомобилизация, происходящая во многих странах. В значительной степени именно она обусловила загрязнение воздуха отработавшими газами в городах, населенных пунктах и промышленных районах.

Наличие токсичных компонентов (окиси углерода, окислов азота, углеводородов и др.) в отработавших газах автомобильных двигателей, выбрасываемых в атмосферу, создает опасность для здоровья людей и, в частности, по исследованиям онкологов, является причиной распространения раковых заболеваний. Токсичность отработавших газов автомобильных двигателей обуславливается их конструктивными и регулировочными факторами, видом используемых топлив и масел.

Поэтому решение проблемы защиты окружающей среды от загрязнения токсичными компонентами в значительной мере зависит от совместных усилий заводов автомобильной промышленности и АТП [9].

Продукты сгорания топлив содержат целый ряд токсичных веществ, неблагоприятно действующих на живые организмы. В них входят такие опасные для здоровья человека соединения, как окись углерода СО (до 10% по объему в отработавших газах бензиновых двигателей и до 0,5% в отработавших газах дизельных двигателей), окислы азота NOx (соответственно до 0,8 и до 0,4%), углеводы СН (до 3 и до 0,1%) и другие вещества.

В частности, особенно опасным компонентом отработавших газов, вызывающих раковые заболевания у людей, является продукт полициклического ароматического ряда СН - бензапирен, содержащийся в отработавших газах бензиновых двигателей до 0,02 мг/м3 и дизельных до 0,01 мг/м3.

Указанные выше токсичные компоненты, попадая в организм человека, вызывают различные признаки отравления: головную боль, удушье, судороги, потерю сознания, отек легких и др.

В научно-технической сфере борьба с токсичностью реализуется в трех направлениях:

.        Совершенствование рабочего процесса двигателей;

2.      Снижение концентрации вредных компонентов в отработавших газах;

.        Разработка новых двигателей, работающих на новых видах топлива.

6. Экономическая часть


Экономическую эффективность проекта АТП определим с использованием модернизированного фильтра для очистки дизельного топлива.

Затраты на изготовление фильтра определим по формуле:

, (6.1)

где СИзгД - стоимость изготовления деталей, тенге;

СПокД - стоимость покупных деталей и запасных частей, тенге;

ССбР - полная заработная плата производственных рабочих, занятых на сборочных операциях, тенге;

СОП - общепроизводственные и накладные расходы на изготовление фильтра, тенге.

Затраты на изготовление деталей определим по формуле:

, (6.2)

где СПрн - заработная плата рабочих, тенге;

СМ - стоимость материалов заготовок, тенге.

Заработная плата рабочих определяется по формуле:

, (6.3)

где СПр - основная заработная плата производственного рабочего, тенге;

СДоп - дополнительная заработная плата производственного рабочего, тенге;

ССоц - социальный налог, тенге.

Основная заработная плата производственного рабочего определяется по формуле:

, (6.4)

где ТСр - средняя трудоемкость изготовления деталей, чел. - ч., ТСр = 4,6 чел. - ч;

СЧ - часовая тарифная ставка, тенге/ч, СЧ = 330 тенге/ч;

Кg - коэффициент, Кg = 1,025;

 тенге.

Дополнительная заработная плата определяется по формуле:

, (6.5)

 тенге.

Социальный налог определяется по формуле:

, (6.6)

 тенге,  тенге.

Стоимость заготовок на изготовление деталей определяется по формуле:

, (6.7)

где СЗ - стоимость 1 кг материала заготовки, тенге, СЗ = 270 тенге;

- масса заготовки, кг, = 1,3 кг;

 тенге;

 тенге

Полная заработная плата производственных рабочих, занятых на сборке конструкции:

, (6.8)

Основная заработная плата определяется по формуле:

, (6.9)

где Тсб - нормативная трудоемкость сборки, чел. - ч.

Нормативная трудоемкость сборки определяется по формуле:

, (6.10)

где

КС - коэффициент, учитывающий соотношение между полным оперативным временем сборки, КС = 1,08;

∑TСб - суммарная трудоемкость сборки конструкции, TСб = 10,38 чел. - ч.;

 тенге.

Дополнительная заработная плата на сборку равна:


Социальный налог равен:

 тенге;

 тенге.

Общие производственные расходы определяют по формуле:

, (6.11)

где С’ПР - основная заработная плата рабочих,оп - процент общепроизводственных расходов.

, (6.12)

 тенге;

 тенге.

Таким образом, можно вычислить затраты на модернизацию системы

 тенге

Капитальные вложения на модернизацию системы составляют [10]:

 тенге.

Для того чтобы определить ожидаемую экономическую эффективность капитальных вложений и срок окупаемости, необходимо определить ожидаемую годовую экономию от использования модернизированной системы.

Годовая экономия от использования модернизированной системы будет зависеть от экономии на ремонт системы питания двигателя внутреннего сгорания и обслуживание. При старой системе затраты на ремонт системы и обслуживание составляли: 2 процента от затрат на 100 км пробега. Для автомобиля ЗИЛ - 133ГЯ норма топлива - 36 литров по 65 тенге.

При новой системе - 2% (50 тенге).

Экономия составит на 100 км пробега автомобиля:

 тенге.

Среднесуточный пробег можно принять 180 км и более, то суточная экономия средств на один автомобиль составит в среднем:

 тенге.

При цене топлива 71 тенге за литр срок окупаемости системы составит:

, (6.13)

где

ЭГ - годовой экономический эффект от разработки, тенге:

, (6.14)

где ЭД - стоимость сэкономленного топлива за день = 27 тенге;

ДР - количество рабочих дней в году = 254 дней;

 тенге,

 года.

Для хозяйства, имеющего 110 автомобилей ЗИЛ - 133ГЯ годовой экономический эффект соответственно увеличится соразмерно затратам, то есть будет равен:

 тенге.

Основные технико-экономические показатели занесены в таблицу 6.1.

Таблица 6.1. Основные технико-экономические показатели.

Показатели

Базовый вариант

Модернизированный вариант

Капитальные вложения, тенге

---

19972

Затраты, тенге

65

50

Экономия, тенге на один автомобиль на 100 км пробега

---

15

Экономический эффект, тенге на один автомобиль

---

6858

Годовой экономический эффект на 110 автомобилей ЗиЛ-133ГЯ

---

754380

Срок окупаемости капитальных вложений, лет для 1 авто

---

2,91



Заключение


При проектировании автотранспортного предприятия были использованы бортовые автомобили ЗиЛ-130 в количестве 50 единиц и ЗиЛ-133ГЯ в количестве 110 единиц, а также автомобили повышенной проходимости УРАЛ-375 в количестве 40 единиц. Произведен расчет производственной программы для автотранспортного предприятия, с детальной разработкой шиномонтажного участка.

Для экономической эффективности проекта автотранспортного предприятия произведена модернизация существующего фильтра очистки дизельного топлива для двигателей внутреннего сгорания автомобилей ЗиЛ-133ГЯ, так как существующие системы питания дизельных двигателей внутреннего сгорания работают на тяжелых сортах топлива. Качество топлива очень низкое, выброс в атмосферу вредных веществ зачастую превышает все нормы, отсюда очень часто выходят из строя элементы систем питания.

Таким образом, исходя из условий эксплуатации автомобилей ЗИЛ - 133ГЯ с дизельными двигателями внутреннего сгорания при применении модернизированного фильтра экономическая эффективность на один автомобиль составит 6858 тенге, при эксплуатации 110 автомобилей ЗИЛ - 133ГЯ в АТП годовой экономический эффект составит 754 380 (семьсот пятьдесят четыре тысячи триста восемьдесят) тенге.

Список литературы


1.      Положение о техническом обслуживании и ремонте подвижного состава автомобильного транспорта. - М.: Транспорт, 1985 - 65 с.

2.      Напольский Г.Н. Техническое проектирование автотранспортных предприятий и станций технического обслуживания: Учебник для вузов. - М.: Транспорт, 1985. - 231с.

.        Руководство по диагностике технического состояния подвижного состава автомобильного транспорта; РД-200-РСФСР-15-0150-81. М.: ЦБНТИ Минавтотранса РСФСР, 1982. - 87 с.

.        Напольский Г.М. Методические указания по технологическому расчету и планировке автотранспортных предприятий. - М.: МАДИ, 1980. - 127 с.

.        Напольский Г.М. Организация и технологическое проектирование станций технического обслуживания автомобилей: Учебное пособие. - М.: МАДИ. 1981. - 84 с.

.        СНиП II-93-74: Предприятия по обслуживанию автомобилей /Госстрой СССР. - М.: Стройиздат, 1975. - 18 с.

.        Техническая эксплуатация автомобилей: Учебник для ВУЗов / Ю.П. Баранов, А.П. Болдан, В.М. Власов, Г.В. Крамаренко, Г.М. Напольский. Под ред.Г. В Крамаренко, - 2-у изд. Переработанное и дополненное - М.: Транспорт, 1983. - 488 с.

.        Григорьев М.А. и др. Качество нефтепродуктов и надежность двигателей. - М. Издательство стандартов. 1981 г. - 170 с.

.        Томушев М.М. Устройство автомобилей. Издательство. Львов. 1990 - 420с.

.        Кузьмин А.В., Чернин И.М., Козинцев Б.С. Расчеты деталей машин: Справочное пособие. /Под ред.Ж.И. Васюка. Минск: Высшейшая школа, 1986. - 400с.

.        Методическое указание к выполнению раздела "Охрана труда" в дипломных проектах (работах) и экспертизы безопасности проектов (работ). Костанай, 1996. - 24с.

.        Шкрабак В.С., Казлаускас Т.К. Охрана труда. / Под ред. Н.Д. Нагайцева. - М.: Агропромиздат, 1989. - 480с.

.        Когай Э.И., Хамкин В.А. Охрана труда на предприятиях автомобильного транспорта. / Под ред. Н.В. Пинчук. - М.: Транспорт, 1984. - 253с.

.        Стандарт предприятия. Общие требования к оформлению текстового и графического материала. СТП 132.10-99. - Костанай, 1999. - 40с.

Похожие работы на - Проект автотранспортного предприятия для автомобилей ЗИЛ с детальной разработкой шиномонтажного участка

 

Не нашли материал для своей работы?
Поможем написать уникальную работу
Без плагиата!
Без нейросетей!