Однокорпусная выпарная установка для концентрирования водного раствора NaOH
Министерство образования и науки
Российской Федерации
ГОУВПО "Ивановский
Государственный Химико-Технологический Университет"
Кафедра процессов и аппаратов
химической технологии
Расчётно-пояснительная записка к
курсовому проекту
на тему:
"Однокорпусная выпарная
установка для концентрирования водного раствора NaOH"
Выполнил: Валов С.В., гр. №3-31.
Проверил: Овчинников Л.Н.
Иваново 2014
Содержание
1. Задание
2. Введение
2.1 Выпаривание
2.2 Назначение и классификация выпарных аппаратов
2.3 Технологическая схема выпарного аппарата
3. Технологический расчет
4. Конструктивный расчет аппарата
4.1 Определяем число труб в трубной решетке
4.2 Определяем диаметр корпуса обечайки греющей камеры
4.3 Расчет толщины стенки обечайки и днища (крышки)
4.4 Расчет трубной решетки
4.5 Выбор днищ и крышек
4.6 Выбор фланцев
4.7 Определение основных размеров штуцеров выпарного аппарата и их
подбор по нормалям
5. Расчет сепарационного пространства
6. Расчет толщины тепловой изоляции
7. Расчет и подбор опор аппарата
7.1 Масса греющей камеры с жидкостью
7.2 Масса сепаратора с жидкостью
8. Расчет барометрического конденсатора
9. Определение высоты барометрической трубы
10. Определение производительности вакуум-насоса
11. Список используемой литературы
1. Задание
Министерство образования и науки Российской Федерации
Ивановский государственный химико-технологический университет
Кафедра ПиАХТ
Задание на курсовой проект № 2-31-14
cтуденту: Валову Сергею Владимировичу
курса 31 группы
1. Тема проекта и исходные данные:
Спроектировать однокорпусную выпарную установку для
концентрирования водного раствора NaOH от начальной концентрации 12% (масс.),
до конечной 30% (масс.). Производительность установки по исходному раствору
2,8кг/с. Обогрев осуществляется насыщенным водяным паром давлением 0,18 МПа.
Давление в барометрическом конденсаторе 0,02 МПа. Температура поступающего
раствора 90ºС. Тип аппарата выбрать самостоятельно.
2. Задание на специальную разработку.
Выполнить: материальный, тепловой, конструктивный расчёт
аппарата.
3. Обьём выполнения.
Расчётно-пояснительная записка (20-25 листов).
Чертёж аппарата в 2-х проекциях с разработкой 5 узлов
крепления труб в трубной решётке, размещение труб (при выполнении графической
части проекта использовать методические указания кафедры графики).
4. Рекомендуемая литература и материалы:
1. Основные процессы и аппараты химической технологии / Под
ред. Ю.И. Дытнерского. - М.: Химия, 1983 (1991). - 272c.
. Лебедев В.Я. и др. Расчёт и проектирование
теплоиспользующего оборудования. Методические пособия кафедры (методичка №94)
. Гусев Е.В., Овчинников Л.Н. Расчёт и проектирование
выпарных установок. Учебное пособие. 1999.
. Срок сдачи законченного
проекта______________________________
. Дата выдачи задания_________________________________________
. Консультант: Овчинников Л.Н.
. Задание принял к исполнению
___________студент______________
2. Введение
2.1
Выпаривание
Выпариванием называется процесс концентрирования растворов
твёрдых веществ при температуре кипения путём частичного удаления растворителя
в парообразном состоянии. В подавляющем большинстве случаев выпариванию
подвергают водные растворы твёрдых веществ, и удаляемый растворитель
представляет собой водяной пар, носящий название вторичного пара. Этот процесс
получил широкое распространение в химической и смежных с ней отраслях
промышленности при концентрировании растворов кислот, щелочей, минеральных
солей, сахарных сиропов, опреснении морской воды и т.д. Иногда выпаривание
завершают кристаллизацией веществ (выделение твёрдой фазы) из растворов, у
которых удалена часть растворителя. На выпаривание растворов расходуется
огромное количество тепла, а на создание выпарных установок - десятки тысяч
тонн углеродистых и легированных сталей, никеля и других металлов. Поэтому в
каждом конкретном случае необходима рациональная организация процесса
выпаривания, что позволяет обеспечить максимальную производительность выпарной
установки при минимальных затратах тепла и металла.
Способы выпаривания разнообразны. К ним относятся:
простое (однокорпусное) выпаривание;
многокорпусное выпаривание;
выпаривание с использованием теплового насоса;
Выпаривание производят в выпарных аппаратах различных
конструкций. Их можно классифицировать по следующим признакам:
по расположению поверхности нагрева (на горизонтальные,
вертикальные);
по способу действия (на периодические и непрерывные);
по характеру движения кипящей жидкости (с естественной и
принудительной циркуляцией раствора);
по кратности циркуляции (с однократной и многократной
циркуляцией).
2.2 Назначение
и классификация выпарных аппаратов
Наибольшее распространение в промышленности получили выпарные
аппараты, обогреваемые конденсирующимся водяным паром, реже - топочными газами
и высококипящими органическими теплоносителями, очень редко - электрическим током.
Наиболее простыми являются выпарные аппараты в виде
вертикальных полых цилиндров или чашеобразные, снабжённые нагревательными
рубашками или спиральными змеевиками. Эти аппараты отличаются, однако, малой
удельной поверхностью нагрева (на единицу рабочего объёма), поэтому они
громоздки, малопроизводительны и находят применение только в маломасштабных
производствах.
Широко используются в химической промышленности выпарные
аппараты с внутренними вертикальными нагревательными камерами. Последние
представляют собой вертикальный пучок труб, концы которых развальцованы в двух
трубных решётках. В межтрубном пространстве конденсируется греющий пар.
Выпариваемый раствор (его верхний уровень расположен несколько выше верхней
трубной решётки), закипая внутри нагревательных труб, выбрасывается в виде
более лёгкой парожидкостной смеси в сепарационный объём аппарата. Здесь
вторичный пар отделяется и покидает аппарат, освобождаясь по пути от брызг и
капель, а раствор опускается вниз по центральной трубе большого диаметра в
пространство под нижней трубной решёткой, вновь попадает в нагревательные
трубы, снова закипает и т.д.
выпарная установка конденсатор барометрический
Скорость циркуляции раствора в нагревательных трубах зависит
от его физических свойств, тепловой нагрузки поверхности нагрева и
гидравлического сопротивления циркуляционного контура. Пространство аппарата
над уровнем кипящей жидкости (высотой 1,5-2,5 м) называется сепарационным и
служит для отделения брызг и капель раствора, уносимых потоком вторичного пара.
Это пространство обычно оканчивается дополнительным брызгоуловителем.
Для обеспечения большей компактности нагревательной камеры
применяют аппараты с наружными циркуляционными трубами, характеризующиеся,
однако, несколько большим гидравлическим сопротивлением циркуляционного
контура.
Преимуществом подвесной нагревательной камеры являются
меньшая опасность нарушения плотности развальцовки нагревательных труб
вследствие деформаций и несколько более интенсивная циркуляция раствора
благодаря кольцевому каналу между корпусом аппарата и нагревательной камерой.
Недостатки аппарата: меньшая компактность, а также усложнение узлов входа
греющего пара и выхода конденсата.
Интенсивность циркуляции выпариваемого раствора в
нагревательных трубах способствует уменьшению скорости инкрустации поверхности
нагрева в случаях, когда концентрирование раствора сопровождается выпадением
твёрдого осадка (частичная кристаллизация). Движущей силой естественной
циркуляции является разность гидростатических давлений жидкости в циркуляционной
трубе или кольцевом канале и парожидкостной смеси, т.е. gH (ρж - ρсм), где Н - высота
циркуляционного контура. Следовательно, увеличение скорости циркуляции раствора
возможно путём удлинения нагревательных труб.
Это привело к созданию выпарных аппаратов с выносными
нагревательными камерами, позволяющих ещё к тому же наиболее компактно
сосредоточить большую поверхность нагрева в одном аппарате благодаря большой
длине труб (5…7 м). В промышленности нашли применение такие аппараты двух
типов: с соосными и выносными (рассредоточенными) нагревательными камерами.
Нередко применяются выпарные аппараты с двумя выносными
нагревательными камерами, присоединёнными к общему сепаратору. Достоинством
таких аппаратов, помимо увеличенной поверхности нагрева, является возможность
отключения на рабочем ходу одной камеры для ремонта или замены. При
концентрировании кристаллизующихся растворов к нижней части сепаратора
присоединяется сборник для твёрдого осадка и, кроме того, вход в спускные
циркуляционные трубы экранирован коническим фартуком для частичного
предохранения от попадания твёрдых частиц.
Скорость естественной циркуляции раствора в рассмотренных
аппаратах редко превышает 1м/с,
что недостаточно для полного предотвращения инкрустации
поверхности нагрева при выпаривании кристаллизирующихся растворов. Один из
путей борьбы с этим явлением состоит в выносе зоны кипения за пределы
нагревательной камеры, т.е. последней отводится роль перегревателя раствора (а
не кипятильника). Конструктивно это достигается расположением над
нагревательной камерой трубы вскипания, высота которой выбирается с таким
расчётом, чтобы за счёт избыточного гидростатического давления раствор лишь
перегревался в нагревательной камере относительно его температуры насыщения в
сепараторе. Кипение же перегретого раствора должно происходить в верхней части
трубы вскипания. Если это условие выдерживается, то аппарат может длительное
время работать без инкрустации поверхности нагрева. Опыт показывает, что
инкрустация поверхности нагрева при концентрировании кристаллизирующихся
растворов может быть полностью практически исключена при высокой скорости
циркуляции раствора в нагревательных трубках (2,5-3,0 м/с). Такой рабочий режим
(принудительная циркуляция раствора) может быть создан в выпарном аппарате любой
конструкции, обычно - в аппаратах с соосными или выносными насосами.
Для выпаривания термолабильных и вспенивающихся растворов
нашли применение плёночные аппараты, состоящие из длиннотрубной (до 6-7 м)
вертикальной нагревательной камеры и соосного сепаратора. Уровень заполнения
нагревательных труб раствором, поступающим снизу, составляет обычно ¼ их высоты. Образовавшийся в этой зоне вторичный пар увлекает
тонкую плёнку раствора и перемещает её вверх благодаря поверхностному трению с
большой скоростью по всей внутренней поверхности труб. На этом пути раствор
выпаривается и в смеси со вторичным паром на выходе из нагревательных труб
ударяется о поверхность горизонтально расположенного вогнутого диска,
снабжённого изогнутыми лопатками. Здесь парожидкостная смесь получает
вращательное движение, отбрасывается центробежной силой к периферии, в
результате чего вторичный пар отделяется и, пройдя через брызгоулавливатель в
верхней части сепаратора, удаляется; таким образом, отличительной особенностью
рассматриваемого аппарата является однократный проход раствора через
нагревательную камеру (отсутствует циркуляция), продолжающийся 60-90с.
Для уменьшения общей высоты аппарата при некотором увеличении
занимаемой площади применяют не соосное, а рассредоточенное расположение
сепаратора и нагревательной камеры.
Наконец, при выпаривании очень вязких растворов используют не
аппараты с восходящим (всползающим), а аппараты с нисходящим движением плёнки.
В этом случае исходный раствор поступает в верхнее сечение нагревательной
камеры и отводится в смеси со вторичным паром из нижнего сечения; сепаратор
располагается уже не вверху, а внизу.
Преимуществами плёночных аппаратов являются кратковременный
контакт раствора с поверхностью нагрева и некоторый рост коэффициента
теплопередачи. К числу их недостатков относятся большая высота,
затруднительность ремонта и чистки, большая чувствительность к содержанию
твёрдых частиц в выпариваемом растворе и относительно небольшой объём
последнего, обуславливающий неустойчивость рабочего режима (колебания
производительности и конечной концентрации). Поверхность нагрева плёночных
аппаратов достигает 2500м2.
2.3
Технологическая схема выпарного аппарата
Схема установки для выпаривания раствора гидроксида натрия
представлена на рис. 1. Установка работает следующим образом.
Рис. 1.
Исходный раствор из емкости (1) насосом (2) подается в напорный
бак (3), откуда непрерывно поступает в подогреватель (5). Расход раствора
измеряется ротаметром (4). В подогревателе раствор нагревается до температуры
кипения или близкой к ней и направляется в выпарной аппарат (6), в котором
происходит выпаривание. В нижней части аппарата раствор воспринимает тепло
греющего пара, поступающего в нагревательную камеру аппарата и растворитель
испаряется. Образующийся вторичный пар освобождается от брызг жидкости в
сепарационной зоне аппарата и, проходя брызгоуловитель, поступает в
барометрический конденсатор (9). В нем конденсируется вторичный пар, который
смешиваясь с охлаждающей водой удаляется через баромeтрическую трубу (11) в канализацию. Упаренный раствор
перекачивается насосом (7) в сборник готового продукта (8).
Рис. 2.3.1 Схема установки простого выпаривания непрерывного
действия
- емкость; 2 - насос; 3 - напорный бак; 4 - измеритель расхода; 5
- подогреватель; 6 - выпарной аппарат; 7 - насос; 8 - сборник готового
продукта; 9 - барометрический конденсатор; 10 - ловушка; 11 - барометрическая
труба; 12 - барометрический сборник.
3.
Технологический расчет
Количество испаряемой воды определяется из материального
баланса.
, где
-производительность установки по исходному раствору, кг/с;
- начальная и конечная концентрация водного раствора.

Определим производительность установки по упаренному раствору:

Для определения поверхности теплопередачи выпарного аппарата,
рассчитываемого по уравнению
, необходимо знать значение полезности
, коэффициент теплопередачи и тепловую
нагрузку.
Полезную разность температур рассчитывают по уравнению.
, где
- температура кипения раствора
По таблицам [2,549-550] находим параметры насыщенного водяного
пара.
Согласно табличным данным (с учётом линейной интерполяции):
Давление пара Pгп =1,8атм=0,18 МПа
температура греющего пара tг. п. =
116,3°С;
плотность греющего пара ρг. п. = 1,003 кг/м3;
теплосодержание iг. п. = 2709 кДж/кг;
теплота парообразования rг.
п. = 2217 кДж/кг;
Давление вторичного водяного пара Pвп
=0,2атм=0,02 М Па, поэтому:
температура вторичного пара tв. п. =59,7°С;
плотность пара ρв. п. = 0,1283 кг/м3;
теплосодержание iв. п. = 2607 кДж/кг;
теплота парообразования rв.
п. = 2358 кДж/кг;
Затем определяем последовательно различные виды температурных
потерь. Величину температурной депрессии при давлении вторичного пара
, пользуясь поправкой Тищенко.
- нормальная температурная депрессия при
[5] с.817
- температура кипения воды при
Потери полезной разности температур от гидростатического давления
рассчитывают на середину слоя раствора,
находящегося в аппарате.
Давление на середину слоя
жидкости равно:
, где
- давление вторичного пара;
- плотность раствора конечной
концентрации; [7] с.98
Hур -
высота оптимального уровня раствора в аппарате;
Hур = ψопт ∙ Нтр = ( (26+0,14 (ρр - ρв)) /100) ∙Нтр = (
(26+0,14 (1292 - 983)) /100) ∙4 = 2,77м
- высота труб по ГОСТ 11987-81 для
аппаратов с сосной греющей камерой и солеотделением;
Температура испарения воды при 
составляет 
, следовательно, гидростатическая депрессия равна
Таким образом, температура кипения раствора будет равна

Расход греющего пара определяют из теплового
баланса.
Начальные и конечные значения теплоёмкостей раствора NaOH:
[7]
Тепловой баланс
Цель: определить необходимый расход греющего пара.
, где
- расход греющего пара;
Потери теплоты в окружающую среду и на дегидратацию
(обезвоживание) принимаем 5%

Составим таблицу теплового баланса.
|
Приход теплоты
(Вт)
|
Расход теплоты
(Вт)
|
С греющим паром:
С вторичным паром:
С
С исходным раствором:
С упаренным раствором:
|
|
|
|
C конденсатом:
|
|
Теплопотери в
окружающую среду и на дегидратацию:
|
|

|
|
Определим погрешность расчётов:
, где
- среднее арифметическое значение между приходом и расходом
теплоты.
(Вт)
%
определяем удельный расход пара на 1
испаряемой воды:
Определим тепловую нагрузку из уравнения теплового баланса
:
Проверим значение тепловой нагрузки другим способом (через
значение расхода пара):
Вт
После расчета тепловой нагрузки определяем величину коэффициента
, с этой целью строят зависимость удельной
теплоты нагрузки от полезной разности температур
.
Построение зависимости
начинают с определения коэффициентов теплопередачи
и
, предварительно задаваясь различными тепловыми нагрузками.
Коэффициент теплопередачи
рассчитывают по формуле:
, где
- коэффициент, учитывающий физико-химические свойства конденсата.
- высота кипятильной трубы.
- удельный тепловой поток.
, где:
- коэффициент теплопроводности
- плотность конденсата
- удельная теплота испарения конденсата
- удельная вязкость конденсата
Коэффициент
рассчитывается по формуле:
, где
- теплопроводность раствора при

- плотность раствора при
- поверхностное натяжение при

- теплоемкость раствора
- динамическая вязкость
- плотность вторичного пара
- плотность вторичного пара при атм.
давлении
- теплота парообразования вторичного пара
Результаты расчёта коэффициентов теплоотдачи, теплопередачи и
полезной разности температур при различных удельных тепловых нагрузках
представлены в таблице.
Результаты расчёта практического коэффициента
|
Величина
|

|
|
|
, 100005000075000100000
|
|
|
|
|
|
9647,85672,449624512,6
|
|
|
|
|
|
1518,13987,25085,46043,5
|
|
|
|
|
|
1311,72341,42511,52583,5
|
|
|
|
|
|
; 983,81756,11883,61937,6
|
|
|
|
|
|
10,228,539,851,6
|
|
|
|
|
Используя табличные данные, строим зависимость q=f (∆tпол), из которой, по
определенному ранее значению полезной разности температур ∆tпол=38,55°С, находим
величину рабочей тепловой нагрузки.
Рис. 3.1 Зависимость ∆tпол от
тепловой нагрузки q.
Полезной разности температур ∆tпол=38,55
соответствует удельная тепловая нагрузка
Определяем поверхность теплопередачи.
Выбираем тип выпарного аппарата в соответствии с ГОСТ 11987-81
[1].
Выбираем выпарной аппарат с естественной циркуляцией и соосной
греющей камерой и солеотделением (тип 1, исполнение 3), с поверхностью
теплообмена Fстанд ≥1,1∙F=1,1∙55,84=61,4м2.
Примем аппарат с поверхностью теплообмена Fстанд =63м2.
Рис. 3.2 Выпарной аппарат с сосной греющей камерой и
солеотделением (тип 1, исполнение 3).
Общая характеристика аппарата:
Поверхность т/о
при
и длине 4000
Диаметр греющей камеры, не менее
|
Диаметр сепаратора не более Диаметр циркуляционной трубы, не более Высота аппарата, не более Масса аппарата, не более M,
|
|
|
|
|
|
|
63
|
800
|
1600
|
500
|
15500
|
3500
|
4.
Конструктивный расчет аппарата
4.1
Определяем число труб в трубной решетке
, где
В соответствии с данными таблицы 7.6 [3] при размещении труб в
трубной решетке по вертикали равносторонних треугольников применяем ближайшее значение
числа труб
Параметры, характеризующие размещение труб в трубной решетке.
Шаг между трубами:
, где
- коэффициент, который определяется в зависимости от
по таб. 7.7 [3]
Число труб на диаметре решетки:
Принимаем стандартное значение
по табл. 7.6 [3].
4.2
Определяем диаметр корпуса обечайки греющей камеры
, где
- коэффициент использования трубной решетки [3]
А - коэффициент, учитывающий наличие в трубной решётке
циркуляционной трубы.
А=0
или
Принимаем
в соответствии с ранее выбранным аппаратом. По ГОСТ для аппарата
(тип1, исп,3) F=63м2 Dк ≥800
мм.
4.3 Расчет
толщины стенки обечайки и днища (крышки)
Принимаем материал аппарата сталь 15Х5М с нормативным допускаемым
напряжением
по табл.6.2 [3].
, где
- поправочный коэффициент для взрывопожароопасных сред
- внутренний диаметр обечайки аппарата
- коэффициент сварного шва [2] для автоматической двухсторонней
сварки
- прибавка на коррозию для материала аппарата
- период эксплуатации
- коррозионная проницаемость
Из практических рекомендаций принимаем толщину стенки обечайки
[3].
Толщину стенок днищ (крышек) можно принять равной толщине стенки
обечайки. Принимаем δдн=δкр=δ=8 мм
4.4 Расчет
трубной решетки
Толщина трубной решетки:
, где
- коэффициент, зависящий от типа решетки;
- давление в межтрубном пространстве.
Принимаем тип решетки III,
тогда
;
- допускаемое напряжение на изгиб для материала трубной решетки;
- коэффициент ослабления решетки отверстиями;
Dп - диаметр
прокладки;
Для решётки типа 3: Dп = (Dн +Dв) /2= (0,816+0,8) /2=0,808 м
Толщину трубной решетки необходимо проверить исходя из надежности
закрепления в ней труб, так как при развальцовке труб:
- наружный диаметр труб
Условие выполняется. Принимаем
4.5 Выбор
днищ и крышек
Для выпарного аппарата выбираем крышку эллиптическую, днище
эллиптическое соответственно по ГОСТ 6533 - 78 и ГОСТ 12619 - 78 [4]. Выбираем
эллиптическое отбортованное днище 800 х8-Сталь 15Х5М по ГОСТ 6533-78 (для
аппаратов, работающих под давлением до 10МПа).
Рис. 4.5.1 Днище эллиптическое ГОСТ 6533-78
Табл. 4.5.1 Конструктивные размеры днища по ГОСТ 6533-78.
|
Dвн, мм
|
S, мм
|
hн, мм
|
h, мм
|
V, дм3
|
m, кг
|
|
800
|
8
|
200
|
25
|
79,3
|
48,6
|
4.6 Выбор
фланцев
Соединение царг между собой и с днищами осуществляется с
помощью плоских приварных фланцев с по ГОСТ 28759.2-90 (Р<1,6МПа)
Рис. 4.6.1 Фланец "аппаратный" ГОСТ 28759.2-90
(исполнение 1)
Табл. 4.6.1 Конструктивные размеры фланца
"аппаратного" ГОСТ 28759.2-90
|
Dобеч, мм
|
D1,мм
|
D2,мм
|
D3,мм
|
D4,мм
|
а, мм
|
D5,мм
|
а1,мм
|
b, мм
|
S, мм
|
d, мм
|
Ø, мм
|
n, шт
|
Рмакс,
МПа
|
|
800
|
920
|
880
|
842
|
852
|
14
|
841
|
12
|
25
|
8
|
23
|
М20
|
28
|
0,3
|
4.7
Определение основных размеров штуцеров выпарного аппарата и их подбор по
нормалям
Для расчета внутреннего диаметра штуцеров задают:
скорость раствора - Wж=
м/с
скорость пара - Wпара=
м/с
Диаметр штуцера для ввода греющего пара:
, где 
Принимаем
Диаметр штуцера для выхода конденсата:
Принимаем
Диаметр штуцера для выхода вторичного пара:
Принимаем
Диаметр штуцера для входа и выхода раствора:
Принимаем
Все штуцера снабжаются плоскими приварными фланцами по ГОСТ
12820-80, конструкция и размеры которых приводятся ниже, мм:
|
dусл
|
D
|
D2
|
D1
|
d
|
h
|
n
|
dотв
|
|
200
|
295
|
268
|
219
|
24
|
8
|
22
|
|
400
|
535
|
495
|
457
|
416
|
30
|
20
|
23
|
|
65
|
160
|
130
|
110
|
76
|
14
|
4
|
14
|
|
40
|
145
|
110
|
88
|
45
|
18
|
4
|
18
|
Рис. 4.7.1 Фланец ГОСТ 12820-80
5. Расчет
сепарационного пространства
Скорость пара в паровом пространстве.
Dc ≤1600мм - диаметр сепаратора по ГОСТ 11987-81.
Определяем критерий Рейнольдса.
где
- диаметр капли
Коэффициент гидравлического сопротивления.
При
Скорость витания в паровом пространстве.
Допустимая скорость пара.
Допустимая скорость пара в зависимости от абсолютного давления
в сепарационном пространстве определяют по рис 3.3 [1].
5
;
Объем парового пространства.
- допускаемое напряжение парового
пространства
Для растворов
при атмосферном давлении
Объем парового пространства
м2
Диаметр сепаратора.
м
Примем стандартное значение Dс=1600 мм.
Высота сепаратора.
м
-объём парового пространства
6. Расчет
толщины тепловой изоляции
Толщину тепловой изоляции рассчитывают из равенства удельных
тепловых потоков.
, где

- коэффициент теплоотдачи от изоляции к воздуху
- температура изоляции со стороны воздуха
- температура воздуха
- температура стенки аппарата
- коэффициент теплопроводности материала
изоляции
В качестве материала тепловой изоляции выберем стекловату, имеющую
коэффициент теплопроводности lиз =0,09 Вт/м×К. Принимаем температуру наружной поверхности стенки tст2=40°С; температуру
окружающей среды tвозд = 20°С.
Примем δиз = 32мм
7. Расчет и
подбор опор аппарата
Для закрепления вертикальных аппаратов устанавливаемых в
помещении обычно используются подвесные опорные лапы, которые рекомендуется
располагать выше центра тяжести аппарата.
7.1 Масса
греющей камеры с жидкостью
mг. к. +ж= mг. к + mж
mг. к - вес греющей камеры;
mж - вес жидкости.
H = 1,5∙Hтр = 1,5∙4 = 6 м




Выбираем 2 опоры с G=25000
по ОН 26-01-69-78 для аппарата с
теплоизоляцией. Нагрузка на каждую опору составит G´=47443/2=23722
Условное обозначение: Опора ОВ-II-Б-2500 ОН 26-01-69-68 [4 с.673]
Рис. 7.1 Опорная лапы для вертикальных аппаратов по ОН
26-01-69-68.
Табл. 7.1 Конструктивные размеры опорных лап по ОН 26-01-69-68.
Допускаемая нагрузка,
исполнениеL3,ммS1,ммL1,ммL2,ммb1,ммb,
ммd,
ммH1,ммВ,
|
мм
|
|
|
|
|
|
|
|
|
|
|
|
2500
|
II (с теплоизоляцией)
|
250
|
10
|
160
|
130
|
90
|
22
|
24
|
410
|
255
|
7.2 Масса
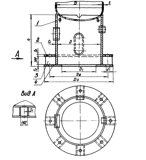
сепаратора с жидкостью
Mсеп. +ж= mсеп+ mж




Принимаем по АТК 24.200.04-90 для сепаратора с обечайкой D=1,6 мм и максимальной массой Qmax <0,5 МН:
внутренний диаметр опорного кольца D1 = 1,5 м,
диаметр осевой окружности болтов D2=1,76 м, наружный диаметр опорного кольца D3 = 1,88 м, диаметр отверстий под болты d=60 мм, диаметр болтов М36, количество болтов n=10 шт.
Площадь опорного кольца
А = 0,785 (D32 - D12)
= 0,785 (1,882 - 1,52) =1,0 м2
Удельная нагрузка опоры на фундамент
s = Q/A =
0,15/1,0 = 0,15 МПа < [s] = 15 МПа - для бетонного фундамента.
Рис. 7.2.1 Опора цилиндрическая согласно АТК 24.200.04-90.
8. Расчет
барометрического конденсатора
Из теплового баланса определяем расход охлаждающей воды
Из уравнения расхода рассчитываем диаметр барометрического
конденсатора
Wвп - скорость
паров, м/с
При остаточном давлении в конденсаторе порядка 104 Па
скорость паров Wвп=15÷25 м/с.
По таблице 9.1 [1] выбираем диаметр барометрического конденсатора
9.
Определение высоты барометрической трубы
Скорость воды в барометрической трубе равна
Зная скорость воды, находим значение критерия Рейнольдса
Коэффициент трения в гладких трубах
. Коэффициент местных сопротивлений на входе и на выходе из трубы
равны:
Высоту барометрической трубы рассчитывают по формуле:
10.
Определение производительности вакуум-насоса
Производительность вакуум-насоса определяется количеством
отсасываемого воздуха из конденсатора.
Температура воздуха рассчитывается по формуле
Объемная производительность вакуум-насоса

Давление воздуха составляет:
ат
Рп - давление сухого насыщенного пара при tвозд = 28,0°С;
Зная необходимую объемную производительность
и остаточное давление
подбираем вакуум-насос ВВН-12
производительностью 12 м3/мин.
11. Список
используемой литературы
1. Расчет
и проектирование теплоиспользующего оборудования: Учеб. пособие / В.Я. Лебедев,
Е.П. Барулин, Т.М. Веренина; Иван. гос. хим. - технол. ун-т.; Иваново, 1992. -
156 с.
2. Павлов
К.Ф., Романков П.Г., Носков А.А. Примеры и задачи по курсу процессов и
аппаратов химической технологии: Учебное пособие для вузов. Под ред. чл. -
корр. АН России П.Г. Романкова. - 11-е изд., стереотипное. Перепечатка с изд.
1987 г. - М.: ООО "РусМедиаКонсалт", 2004. - 576 с.
. Расчёт
и проектирование выпарных установок: учебное пособие. Овчинников Л.Н., Гусев
Е.В. - ИГХТУ; Иваново, 2005-104 стр.
. Альбом
примеров выполнения чертежа общего вида химического аппарата / ИГХТУ-Иваново,
1997-20с.
. Процессы
и аппараты химической технологии: учеб. пособие/ Плановский А.Н., Рамм В.М.,
Каган С.З. - ГОСХИМИЗДАТ, 1962, 845 стр.
. Расчёты
теплоиспользующего оборудования: Учебн. пособ. /Е.П. Барулин, В.Н. Исаев, А.И.
Исаев; ИГХТУ; Иваново, 2009 - 100с.
. Зайцев
И.Д., Асеев Г.Г. Физико-химические свойства бинарных и многокомпонентных
растворов неорганических веществ. Справ. изд. - М.: Химия, 1988. с. 416. - ISBN 5-7245-0036-1.
. Лащинский
А.А., Толчинский А.Р. "Основы конструирования и расчета химической
аппаратуры". - Л.: Машиностроение, 1973 - 752 с.
. "Основные
процессы и аппараты химической технологии”: Пособие по проектированию Г.С.
Борисов, В.П. Брыков, Ю.И. Дытнерский и др. Под редакцией Ю.И. Дытнерского. -
М.: Химия, 1991 - 496 с.