Система управления базой данных 'Структура ВУЗа'

  • Вид работы:
    Курсовая работа (т)
  • Предмет:
    Информационное обеспечение, программирование
  • Язык:
    Русский
    ,
    Формат файла:
    MS Word
    332,33 Кб
  • Опубликовано:
    2015-06-08
Вы можете узнать стоимость помощи в написании студенческой работы.
Помощь в написании работы, которую точно примут!

Система управления базой данных 'Структура ВУЗа'

Аннотация

база данные программа управление

Система управления базой данных "Структура ВУЗа".

Техническое задание на систему управления базой данных Структура ВУЗа. Составлено и оформлено согласно ГОСТ 19.201-78. Страниц 23.

Содержит основные сведения об объекте разработки - его функциональные возможности и область применения.

Содержание

Введение

. Основания для разработки

.1 Документ, на основании которого ведется разработка

.2 Организация, утвердившая этот документ, и дата его утверждения

.3 Наименование темы разработки

. Назначение разработки

. Требования к программе

.1 Требования к функциональным характеристикам

.1.1 Состав выполняемых функций

.1.2 Организация входных и выходных данных

.1.3 Временные характеристики

.2 Требования к надежности

.2.1 Требования к надежному функционированию

.2.2 Контроль входной и выходной информации

.2.3 Время восстановления после отказа

.3 Требования к эксплуатации

.4 Требования к составу и параметрам технических средств

.5 Требования к информационной и программной совместимости

.5.1 Требования к информационным структурам на входе

.5.2 Требования к информационным структурам на выходе

.5.3 Требования к методам решения

.5.4 Требования к языкам программирования

.5.5 Требования к программным средствам, используемым программой

.6 Требования к маркировке и упаковке

.6.1 Требования к маркировке программного изделия

.7 Требования к транспортированию и хранению

. Требования к программной документации

. Технико-экономические показатели

. Стадии и этапы разработки

. Порядок контроля и приемки

.1 Виды испытаний

.2 Общие требования к приемке

Приложение

Введение

Наименование программного продукта

Полное наименование "Система управления базой данных структуры ВУЗа". В дальнейшем будем использовать краткое название - система.

Область применения

Система предназначена для использования в ВУЗах и других учебных заведениях.

1. Основания для разработки

.1 Документ, на основании которого ведется разработка

Разработка ведется на основании задания на курсовую работу.

.2 Организация, утвердившая этот документ и дата его утверждения

Задание на курсовое проектирование выдано преподавателем кафедры САПР ВолгГТУ Олейниковым Д.П. 6 сентября 2008 года.

.3 Наименование темы разработки

Наименование темы разработки: "система управления базой данных структуры ВУЗа".

2. Назначение разработки

Данная система представляет собой базу данных, содержащую информацию о структуре ВУЗа и предназначена для выполнения следующих функций:

1)   добавление информации в базу данных;

2)   удаление информации из базы данных;

3)   добавление редактирование информации в базе данных;

4)   просмотр информации в базы данных;

5)   поиск по указанным полям;

6)   отбор по указанным полям;

7)   сортировка по указанным полям;

8)   сохранение информации в файл;

9)   формирование отчеты в приложениях Word и Excel;

10)разграничение доступа пользователей к БД;

11)обеспечивать корректный выход из программы.

3. Требования к программе

.1. Требования к функциональным характеристикам

.1.1 Состав выполняемых функций

Программа должна выполнять следующий набор функций:

)         хранение, добавление, удаление и изменение информации о факультетах;

)         хранение, добавление, удаление и изменение информации о группах;

)         хранение, добавление, удаление и изменение информации о кафедрах;

)         хранение, добавление, удаление и изменение информации о преподавателях;

)         хранение, добавление, удаление и изменение информации о расписании предметов и экзаменов;

)         хранение, добавление, удаление и изменение информации о рейтинге;

)         хранение, добавление, удаление и изменение информации о специальностях;

)         составление запроса на поиск необходимой пользователю информации о расписании по полям: Факультет, Группа, Неделя, День.

.1.2 Организация входных и выходных данных

Организация входных данных

Входными данными программы является информация о структурах университета: названия факультетов, названия кафедр, ФИО преподавателей, списки групп, ФИО студентов, изучаемые предметы, информация о расписании занятий и экзаменов, рейтинг студентов.

Организация выходных данных

Выходными данными программы являются:

1)   файлы базы данных (в формате mdb);

2)   выбранная пользователем информация базы данных.

.1.3 Временные характеристики и размер занимаемой ОП

Время работы в программе определяется желанием пользователя. Объем занимаемой ОП определяется объемом базы данных и выполняемым в текущий момент приложением.

.2 Требования к надежности

.2.1 Требования к надежному функционированию

Во время работы программы возможны сбои из-за неисправностей аппаратуры, частичной потери данных, неверно настроенных вспомогательных программных средств. Программа должна нормально функционировать при нормальном функционировании. При возникновении сбоя аппаратуры восстановление программы должно происходить после перезапуска ОС и запуска исполняемого файла программы.

.2.2 Контроль входной и выходной информации

Программа должна контролировать:

)         соблюдение типов данных при заполнении полей;

)         операции изменения;

)         операции удаления;

)         операции сохранения;

)         выход из программы.

3.2.3 Время восстановления после отказа

Время восстановления после отказа должно состоять из:

)         времени перезапуска операционной системы;

)         времени запуска исполняемого файла;

)         времени загрузки базы данных;

)         времени восстановления данных.

3.3 Условия эксплуатации

Программа должна храниться в 2-х экземплярах - эталонном и рабочем. Эталонный экземпляр программы должен храниться на лазерном диске. Диск должен храниться в соответствии с условиями хранения дисков данного типа. Рабочий экземпляр программы должен храниться на диске винчестера в соответствии с условиями хранения и эксплуатации магнитных накопителей данного типа. Пользователь должен иметь навыки практической работы на ПК с операционной системой типа Windows.

.4 Требования к составу и параметрам технических средств

Программа должна корректно работать на ЭВМ, сертифицированных на работу под управлением операционной системы Windows XP (Версии 5.1.2600). Объем оперативной памяти ЭВМ должен быть не менее 128 Мб, объем жесткого диска ЭВМ должен быть не менее 20 Мб.

.5 Требования к информационной и программной совместимости

.5.1 Требования к информационным структурам на входе

Исходный файл программы для хранения данных должен соответствовать формату файла MDB базы данных Microsoft Access .

3.5.2 Требования к информационным структурам на выходе

Выходной информацией являются информация, полученная в результате удаления, изменения, добавления записей пользователем.

.5.3 Требования к методам решения

Методы решения должны обеспечить проектирование базы данных. Выбор методов реализации программы осуществляется разработчиком без согласования с заказчиком.

.5.4 Требования к языкам программирования

Программа должна быть написана средствами Microsoft Access и Visual Basic.

.5.5 Требования к программным средствам, используемым программой

Для нормального запуска программы необходима операционная система Windows95/98/NT/XP, программа Microsoft Access версии 2002 и выше.

.6.Требования к маркировке и упаковке

Диск, на котором храниться эталонный экземпляр, должен иметь маркировку, наносимую специальным маркером на нерабочую сторону диска. Упаковка должна соответствовать условиям хранения диска. На упаковке должно быть указано название программы.

3.7 Требования к транспортированию и хранению


Условия транспортирования, места хранения и сроки хранения программного продукта, записанного на лазерный диск, должны соответствовать условиям транспортирования и хранения этого носителя, указанным на упаковке.

4. Требования к программной документации

В состав программной документации должны входить данное техническое задание.

5. Технико-экономические показатели

В рамках данной разработки оценка технико-экономических показателей не проводится.

6. Стадии и этапы разработки

Разработка программы должна проводиться по следующим этапам:

)         разработка, согласование и утверждение технического задания;

)         разработка программы.

7. Порядок контроля и приемки

.1 Виды испытаний

Испытания программы и верификация документации должны производиться заказчиком.

Для проверки правильности работы системы должны быть выполнены испытания проверки правильности работы всех функциональных блоков программы.

.2 Общие требования к приемке

Приемка системы должна производиться заказчиком. Программа должна считаться годной, если она удовлетворяет всем требованиям данного технического задания и в процессе контроля не выявлено ошибок в функционировании программы.

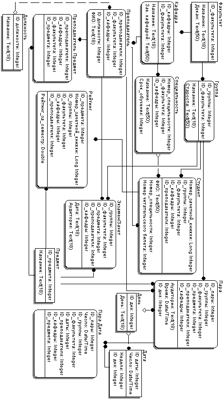
Приложение 1

Схема базы данных

Логическая модель данных:

Физическая модель данных:


Схема данных Access:

Приложение 2

Макеты экранных форм

Рис. 1. Форма "Факультет".

Рис. 2. Форма "Группа".

Рис. 3. Форма "Студент".

Рис. 4. Форма "Кафедра".

Рис. 5. Форма "Преподаватель".

Рис. 6. Форма "Предмет".

Рис. 7. Форма "Преподаватель-Предмет".

Рис. 8. Форма "Пара".

Рис. 9. Форма "Экзамен".

Рис. 10. Форма "День".

Рис. 11. Форма "Дата".

Рис. 12. Форма "Специальность".

Рис. 13. Форма "Должность".

Рис. 14. Форма "Рейтинг".

Рис. 15. Форма "Расписание".

Рис. 16. Форма "Вход".

Приложение 3

Сценарий работы программы

При запуске ярлыка программы появляется окно входа. Окно входа предлагает ввести свой логин и пароль, соответствующие определенной группе пользователей программы.

Пользователи программы делятся на три группы: пользователь, сотрудник, программист. Каждой группе соответствует свой уровень доступа к СУБД.

Если вы - простой пользователь, то после ввода соответствующего логина и пароля, вам становится доступен просмотр базы данных магазина. Вы не имеете права изменять данные, изменять путь к данным, изменять структуру данных.

Если вы - сотрудник, то вы имеете, помимо прав пользователя, право на изменение данных. Вы можете с помощью специальных средств удалять, добавлять, редактировать данные.

Если вы - программист, то вам доступна возможность указывать путь к базе данных, изменять структуру данных, редактировать функции управления базой данных, изменять интерфейс экранных форм. Также вам доступны возможности сотрудника и пользователя.

После успешной авторизации появится панель навигации по базе данных. На ней размещены кнопки вызова отдельных экранных форм для просмотра данных, поиска, экранных форм для работы с данными и экранной формы для настройки пути к базе данных. Соответственно для пользователя отображаются только кнопки вызова форм для просмотра и поиска данных, для рабочего дополнительно - для работы с данными, для программиста - весь набор кнопок.

Просмотр данных по какой-либо теме осуществляется путем вызова соответствующей экранной формы и перехода по отдельным записям внутри нее. В некоторых случаях из одной формы можно вызывать другую.

Поиск данных осуществляется путем вызова соответствующей экранной формы и ввода искомого значения какой-либо записи базы данных.

Добавление записи происходит путем вызова соответствующей экранной формы и ввода в специальные пустые поля всех необходимых значений для записи базы данных.

Настройка пути к базе данных осуществляется путем вызова соответствующей экранной формы и ввода пути в специальное поле.

Выход из базы данных осуществляется нажатием на кнопку выхода.

Приложение 4

Примеры SQL-запросов

Получение списка групп университета:

SELECT Group.ID, Group.Name[Group] ORDER BY [Name];

Получение списка пар для формы "Расписание":

SELECT Pair.ID, Pair.Time, Subject.Name, Pair.Auditorium, Teacher.FamilyPair, Group, Subject, TeacherPair.Group = Group.ID AND Pair.Week = Week.Value AND Pair.Day = Day.Text AND Pair.Subject = Subject.ID AND Pair.Teacher = Teacher.ID BY Time

Добавление факультета:

INSERTFaculty Name, Head("ФЭВТ", "Горобцов")

Удаление студента с заданной фамилией:

DELETEStudentSurname = "& Фамилия &"

Смена старосты группы:

UPDATE Group

SET Head = "Черкис"

WHERE Name = "ИВТ-363"

Похожие работы на - Система управления базой данных 'Структура ВУЗа'

 

Не нашли материал для своей работы?
Поможем написать уникальную работу
Без плагиата!
Без нейросетей!