Особенности конструкции и эксплуатации системы смазки двигателя автомобиля МАЗ-5551

  • Вид работы:
    Курсовая работа (т)
  • Предмет:
    Транспорт, грузоперевозки
  • Язык:
    Русский
    ,
    Формат файла:
    MS Word
    1,9 Мб
  • Опубликовано:
    2015-12-04
Вы можете узнать стоимость помощи в написании студенческой работы.
Помощь в написании работы, которую точно примут!

Особенности конструкции и эксплуатации системы смазки двигателя автомобиля МАЗ-5551

Содержание

1. Введение

. Техническая характеристика автомобиля МАЗ-5551

. Конструктивные особенности системы смазки

. Принцип действия системы смазки

. Эксплуатационные материалы

. Теория автомобиля

. Мероприятия по охране труда и технике безопасности

. Заключение

. Список литературы и интернет-ресурсы

1. Введение

В автомобилях смазочной системой двигателя называется та, которая обеспечивает к трущимся деталям непрерывную подачу масла.

Система смазки служит для снижения трения и преждевременного износа деталей двигателя, а также для охлаждения и защиты от коррозии трущихся деталей и устранения с их поверхностей образовавшихся продуктов износа.

В автомобильных двигателях чаще применяется комбинированная система смазки различных типов.

Система смазки двигателя называется комбинированной, если осуществляет смазывание трущихся деталей двигателя под давлением и разбрызгиванием. Масляный насос создает давление, а разбрызгивается масло коленчатым валом и другими быстровращающимися деталями двигателя.

В первую очередь под давлением смазываются наиболее подверженные трению (нагруженные) детали двигателя - это опорные подшипники распределительного вала, коренные и шатунные подшипники коленчатого вала, а также подшипники вала привода масляного насоса.

В свою очередь разбрызгиванием смазываются внутренние стенки цилиндров, поршни с поршневыми кольцами, поршневые пальцы, детали газораспределительного механизма (ГРМ), в зависимости от устройства двигателя его цепной или шестеренчатый привод и другие детали. В моторах со смазочной системой, не имеющей масляного радиатора, охлаждение масла, которое греется в процессе работы, почти полностью происходит в масляном поддоне.

Наличие в системе смазки масляного радиатора обеспечивает охлаждение масла не только в масляном поддоне, но и в масляном радиаторе, который активно включается в работу при продолжительном движении автомобиля на высоких скоростях и при эксплуатации автомобиля жаркую погоду.

В системе смазки двигателя, имеющей открытую вентиляцию картера, газы, которые состоят из горючей смеси, а также продуктов сгорания, удаляются в атмосферу.

С закрытой вентиляцией картера двигателя такие газы принудительно направляются в цилиндры мотора на догорание, тем самым предотвращая риск отравления организма человека, при попадании их в салон автомобиля или кабины грузового автомобиля и снижает выброс ядовитых веществ в атмосферу.

Для смазки автомобильных двигателей применяются специальные минеральные моторные масла, которые производят из нефти, а также синтетические. Разнообразие марок моторных масел весьма велико. Вязкость, маслянистость и чистота (что говорит об отсутствии механических примесей и кислот) являются их основными свойствами. Чистота масла, его текучесть, а также способность проникать в небольшие зазоры между трущимися деталями - характеризуется вязкостью. Маслянистость характеризует свойство моторного масла обволакивать трущиеся между собой детали масляной пленкой. С целью повышения качества моторных масел в них добавляют специальные присадки, способствующие повышению смазывающих свойств масел.

2. Техническая характеристика автомобиля МАЗ-5551

Самосвал МАЗ-5551 выпускается с 1988 г. на базе агрегатов и узлов МАЗ-53371 <#"870456.files/image001.gif">

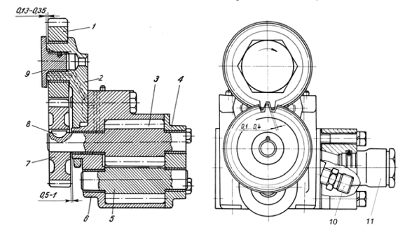
Рис. 1. Масляный насос: 1 - ведущая шестерня основной секции; 2 - ведущий валик основной и радиаторной секции; 3 - ведомая шестерня привода насоса; 4 - болт крепления промежуточной шестерни привода насоса; 5 - промежуточная шестерня привода насоса; 6 - ведущая шестерня радиаторной секции; 7 - ведомая шестерня радиаторной секции; 8 - предохранительный клапан; 9 - ведомая шестерня основной секции; 10 - редукционный клапан;

При вращении шестерен обеих секций их зубья захватывают масло и гонят его по стенкам корпуса насоса к выходным отверстиям масляной магистрали и к радиатору. Производительность насоса 140 л в минуту.

Для обеспечения нормальной работы системы смазки в ней установлены редукционный, предохранительный, сливной и перепускной клапаны.

Редукционный клапан 10 (см. рисунок 1) укреплен на корпусе основной секции. Он служит для ограничения давления масла в системе. Редукционный клапан открывается и перепускает масло в поддон при давлении на выходе из насоса более 7,0-7,5 кгс/см2. Регулировка клапана осуществляется при помощи установки под пружину со стороны колпачка регулировочных шайб.

Предохранительный клапан 8 (см. рисунок 1) установлен в корпусе радиаторной секции и служит для защиты маслопроводных трубок и масляного радиатора от повреждения при засорении трубок или при пуске двигателя в холодное время. Предохранительный клапан открывается при давлении на выходе из насоса 0,8-1,2 кгс/см2.

Масляный поддон картера служит для размещения в нем масла двигателя. Он изготовлен из листовой стали и прикреплен к нижней части блока цилиндров болтами через пробковую прокладку.

Масляный поддон разделен перегородкой на два отсека, которые сообщаются через отверстия в перегородке (рисунок 2). Перегородка служит для сохранения необходимого уровня масла для маслозаборника на спусках и подъемах. В каждом отсеке имеется пробка для слива отработавшего масла.

Рис. 2. Масляный поддон картера: 1 - картер масляный; 2 - прокладка пробки; 3 - пробка сливная; 4 - прокладка картера; 5 - прокладка; 6 - заглушка; 7 - шайба; 8, 9 - болт

Маслозаливная горловина служит для заливки масла в поддон картера. Она вварена в крышку головки блока цилиндров.

Указатель уровня масла служит для определения уровня масла в поддоне. Он установлен в передней части с левой стороны блока в трубке, приваренной к блоку. Метки на указателе В и Н указывают верхний и нижний пределы уровня масла в двигателе.

Сливной клапан предназначен для разгрузки системы в случае повышения давления в ней масла более 4,7-5 кгс/см2 (см. карту эскизов 1). Излишки масла при этом сливаются в поддон картера. Сливной клапан установлен на нижней плоскости блока и включен в канал подачи масла к коленчатому валу. Необходимое давление регулируется при помощи установки под пружину со стороны колпачка регулировочных шайб.

Фильтр предварительной очистки масла (рисунок 3) щелевого типа установлен в передней части двигателя с левой стороны и включен в систему смазки последовательно.

Рис. 3. Фильтр предварительной очистки масла: 1 - винт; 2 - гайка; 3 - шайба; 4 - шайба; 5 - шайба-изолятор; 6 - втулка уплотнительная; 7 - корпус пробки; 8 - контакт сигнализатора; 9 - болт; 10 - шайба; 11 - пробка; 12 - корпус фильтра; 13 - прокладка корпуса; 14 - штуцер корпуса; 15 - крышка замковая; 16 - элемент фильтрующий; 17 - колпак с пружиной; 18 - кольцо; 19 - прокладка; 20 - пружина; 21 - шайба; 22 - корпус сигнализатора; 23 - шток сигнализатора; 24 - пружина сигнализатора; 25 - пружина клапана

Фильтр состоит из корпуса, закрытого колпаком, и двух фильтрующих элементов - наружного и внутреннего. В корпусе фильтра установлен перепускной клапан. В нижней части корпуса фильтра имеется пробка для спуска отстоя масла.

Перепускной клапан 25 (см. рисунок 3) установлен в корпусе фильтра предварительной очистки масла. Он включен параллельно фильтру при разности давлений до и после фильтра в 2,0-2,5 кгс/см2 вследствие загрязненности фильтра, большой вязкости масла, а также при больших оборотах коленчатого вала, когда пропускная способность фильтра недостаточна, клапан открывается и часть неочищенного масла, минуя фильтр, поступает в масляную магистраль.

Фильтр тонкой очистки масла центробежного типа установлен на левой стороне двигателя, включен в систему параллельно основной масляной магистрали (рисунок 4).

Рисунок 4. Фильтр тонкой очистки масла центробежного типа:

- шайба; 2 - гайка; 3 - прокладка; 4 - колпак фильтра; 5 - шайба; 6 - гайка; 7 - ротор; 8 - гайка; 9 - шайба; 10 - колпак ротора; 11 - отражатель; 12 - корпус ротора; 13 - жиклер; 14 - кольцо уплотнительное; 15 - ось ротора; 16 - корпус фильтра; 17 - фильтр центробежный; 18 - прокладка; 19 - шайба; 20 - болт.

Фильтр состоит из корпуса 16, колпака 4, отлитых из алюминиевого сплава, и ротора 7, свободно установленного на оси, вращающейся в двух латунных втулках, и на упорном шарикоподшипнике. В корпус ротора 7 запрессованы две маслозаборные трубки для подачи масла к двум жиклерам 13. Жиклеры 13 ввернуты в отверстия приливов нижней части корпуса ротора. Выходные отверстия сопел обращены в разные стороны. Принцип работы фильтра тонкой очистки заключается в выделении из масла твердых частиц под действием центробежной силы при вращении ротора.

Масло по вертикальному каналу в блоке цилиндров и полую ось ротора через имеющиеся отверстия попадает в полость ротора (см. карту эскизов 4). Заполнив полость ротора и пройдя через сетку, масло под давлением поступает в маслозаборные трубки, из которых оно через жиклеры сильными струями выбрасывается наружу и стекает в нижнюю полость корпуса фильтра. Далее масло самотеком поступает в поддон картера, смазывая при этом распределительные шестерни. Вращение ротора осуществляется за счет реактивной силы фонтанирующих из сопел в противоположные стороны струй масла. Скорость вращения ротора 5000-7000 об/мин. Под действием центробежной силы, имеющиеся в масле, твердые частицы отбрасываются к стенкам корпуса фильтра, на котором оседают плотным слоем. Фильтр тонкой очистки перепускает 10 л масла в минуту. Таким образом, через несколько минут все масло двигателя проходит тонкую очистку.

Вентиляция картера служит для снижения давления в картере и удаления из него отработавших газов, прорывающихся из цилиндров (рисунок 5).

Рисунок 5. Вентиляция картера:

- крышка головки цилиндра; 2 - прокладка; 3 - крышка; 4 - крышка; 5 - прокладка; 6 - сапун с патрубком;7 - цепочка; 8 - сапун; 9 - кольцо уплотнительное; 10 - патрубок сапуна; 11 - экран сапуна; 12 - болт

Вентиляция картера осуществляется через сапун, расположенный в задней части левого ряда цилиндров и сообщающий картер двигателя с атмосферой.

Масляный радиатор (рисунок 6) воздушного охлаждения трубчатого типа, служит для охлаждения масла. Он расположен впереди радиатора системы охлаждения двигателя. Включается при температуре воздуха 15°С и выше с помощью краника, установленного на левой стороне блока цилиндров двигателя. Главным охлаждающим элементом радиатора является его сердцевина, состоящая из тонких латунных трубок и пластин.

Рисунок 6. Масляный радиатор:

- шланг отводящий; 2 - шланг подводящий; 3, 9, 10, 14 - кронштейны; 4, 19 - гайки; 5, 6, 17 - шайбы; 7, 16, 27 - болты; 8 - кронштейн верхний; 11 - радиатор; 12 - кронштейн нижний; 13, 18 - хомуты; 15, 20, 26 - кляммеры; 21 - шланг L = 1500 мм; 22, 24 - фланцы; 23 - кран; 25 - шланг L = 1300 мм; 28 - прокладка

4. Принцип действия

Система смазки двигателя - смешанная, масляный насос (см. карту эскизов 2) через всасывающую трубу с заборником засасывает масло из картера и подает его в систему через, последовательно включенный масляный радиатор [8]. В корпусе теплообменника (пластинчатого) установлен перепускной клапан. Если разность давлений до и после теплообменника достигает 274±40 КПа (2,8±0,40 кгс/см2), клапан открывается и часть масла подается непосредственно в масляную магистраль.

Рис.7.Система смазки: 1 - масляный картер; 2 - маслозаборник; 3 - масляный насос; 4 - редукционный клапан;5 - жидкостно-масляный теплообменник; 6 - фильтр очистки масла; 7 - перепускной клапан; 8 - сигнальная лампа фильтра; 9 - фильтр центробежной очистки масла; 10 - распределительный вал; 11 - ось толкателей; 12 - коленчатый вал; 13 - предохранительный клапан; 14 - форсунка охлаждения поршней; 15 - дроссель; 16 - турбокомпрессор; 17 - сливной клапан теплообменника; 18 - включатель привода вентилятора; 19 - привод вентилятора; 20 - ТНВД

Далее через трубку и каналы в блоке часть масла через втулку (дроссель с калиброванным отверстием) поступает к форсункам охлаждения поршней и затем сливается в картер. На двигатели ЯМЗ-236Н, Б вместо дросселя установлен клапан прекращающий подачу масла к форсункам при давлении масла в системе смазки ниже 300-350 кПа (3,0-3,5 кгс/см2). Другая часть поступает в масляный фильтр (см. карту эскизов 3). В корпусе фильтра установлен перепускной клапан. Когда разность давлений до и после фильтра достигает 200-250 кПа (2,0-2,5 кгс/см2), клапан открывается и часть неочищенного масла подается непосредственно в масляную магистраль. К моменту начала открытия перепускного клапана произойдет замыкание подвижного и неподвижного контактов сигнализатора. В этот момент в кабине водителя загорается сигнальная лампочка, соединенная с клеммой сигнализатора. Такое повышение давления может произойти тогда, когда засорен элемент фильтра или масло имеет большую вязкость (например, при пуске двигателя в холодное время года).

Фильтрующий элемент масляного фильтра изготавливается либо из нетканого материала, натянутого на металлический каркас, либо из специальной фильтровальной бумаги. Из фильтра масло поступает в центральный масляный канал, а оттуда через систему каналов в блоке к подшипникам коленчатого и распределительного валов. От подшипников коленчатого вала через масляные каналы в коленчатом валу и шатунах масло подается к подшипникам верхних головок шатунов. От распределительного вала масло пульсирующим потоком направляется в ось толкателей, а оттуда по каналам толкателей, полостям штанг и коромысел поступает ко всем трущимся парам привода клапанов, а по наружной трубе - к подшипникам турбокомпрессора, регулятора частоты вращения и топливного насоса высокого давления.

Под давлением смазывается также подшипник промежуточной шестерни привода масляного насоса. Шестерни привода агрегатов, кулачки распределительного вала, подшипники качения, гильзы цилиндров смазываются разбрызгиванием.

В корпусе насоса установлен редукционный клапан, перепускающий масло обратно в картер при давлении на выходе из насоса свыше 700-750 (7,0-7,5 кгс/см2). Для стабилизации давления в систему смазки двигателя включен дифференциальный клапан, отрегулированный на начало открытия 490-520 (4,9-5,2 кгс/см2).

Фильтр центробежной очистки масла (см. карту эскизов 4) включен параллельно после фильтра очистки масла и пропускает до 10% масла, проходящего через систему смазки. Очищенное масло сливается в картер. Дополнительная центробежная очистка масла производится и в полостях шатунных шеек коленчатого вала.

Радиаторная секция двухсекционного масляного насоса подает масло к установленному на машине воздушно-масляному теплообменнику. Охлажденное в теплообменнике масло сливается в картер. Предохранительный клапан радиаторной секции открывается при давлении на выходе из насоса свыше 100-130 кПа (1,0-1,3 кгс/см2). На двигателях с воздушно-масляным теплообменником может быть применен односекционный масляный насос с разделением потока масла на воздушно-масляном теплообменнике через дроссель с предохранительным клапаном 100-130 кПа (1,0-1,3 кгс/см2). Контроль давления масла осуществляется в центральном масляном канале.

5. Эксплуатационные материалы

Моторные масла

Надежная работа двигателя гарантируется при использовании только рекомендуемых заводом эксплуатационных материалов. Для двигателей ЯМЗ могут применяться топлива, смазочные материалы и охлаждающе жидкости как российских производителей, так и соответствующие им продукты производства других стран [8]. Рекомендуемые для эксплуатации классы вязкости моторных масел по ГОСТ 17479.1-85 в зависимости от температуры окружающего воздуха приведены на рисунке 1.

Рисунок 1. Классы вязкости моторных масел


Таблица 2 - Рекомендуемые марки моторных масел

Марка масла

Номер стандарта

Предприятие-изготовитель

1

2

3

М-10-Д2 (м) М-8-Д2 (м)

ГОСТ 8581-78

ООО «ЛУКойл-Пермнефтеоргсинтез»



ОАО «Завод им. Шаумяна»



ОАО «Славнефть- Ярославнефтеоргсинтез»



АО «Азмол» г. Бердянск



ОАО «Ангарская нефтехимическая компания»

Consol М-10-Д2 (м) Consol М-8-Д2 (м)

ГОСТ 8581-78

ООО «ВИАЛ ОЙЛ», г. Москва

Омскойл-Турбо 2 (М-10-Д2 (м))

ТУ 38.301-19-110-97

ОАО «Омский НПЗ»

СамОйл-4126 М-10 Д2 (м)

ТУ 38.301-13-008-97

ОАО «Новокуйбышевский НПЗ»

СамОйл-4127 М-6з/14-Д(м)



ЛУКОИЛ-Супер (SAE 15W-40, API CD/SF)M-5з/14-Д (м)

СТО 00044434-001-2005

ООО «ЛУКойл-Волгограднефтепереработка»


Для двигателей с турбонаддувом экологических нормативов Евро-0, Евро-1 допускается использование масел групп ЯМЗ-4-02 (см. табл. 3).

Для двигателей ЯМЗ, удовлетворяющих экологическим нормативам Евро-1, срок смены рекомендованных масел по сравнению с двигателями Евро-0 выше в 2 раза и равен 500 часов.

Для двигателей ЯМЗ с турбонаддувом, работающих за рубежом, допускается применение импортных моторных масел с уровнем эксплуатационных свойств по API не ниже группы CF-4, классов вязкости, указанных на рисунке 1.

Таблица 3 - Масла для двигателей с турбонаддувом удовлетворяющих экологическим нормативам ЕВРО-2

Марка масла

Номер стандарта

Предприятие-изготовитель

Ютек Супердизель (SAE 10W-40, 15W-40, API CF-4/SG) М-4з/14-Е, М-5з/14-Е

ТУ 0253-312-05742746-2003

ОАО «Ангарская нефтехимическая компания»

ЛУКОЙЛ-Супер (SAE 15W-40, API CF-4/SG) М-5з/14-Е

СТО 00044434-001-2005

ООО «ЛУКойл-Пермнефтеоргсинтез»

Рольс Турбо (SAE 15W-40, API CF-4/SF) М-5з/14-Е

ТУ 38.301-41- 185-99

ОАО «Рязанский НПЗ»

Спектрол Чемпион (SAE 15W-40, API CF-4/SG) М-5з/14-Е

ТУ 0253-15- 06913380-98

ЗАО ПГ «Спектр- Авто» г. Москва

Для двигателей ЯМЗ, удовлетворяющих экологическим нормативам Евро-2, рекомендуется работа только на указанных выше всесезонных маслах со сроком смены 1000 часов.

Для двигателей ЯМЗ с турбонаддувом, удовлетворяющих экологическим нормативам Евро-2, допускается использование масел групп ЯМЗ-2-97; ЯМЗ-3-02 со сроком смены вдвое меньшим, чем для масел групп ЯМЗ-4-02.

Для двигателей ЯМЗ с турбонаддувом, удовлетворяющих экологическим нормативам Евро-2 и работающих за рубежом, допускается применение импортных моторных масел с уровнем эксплуатационных свойств по API не ниже группы CG-4, классов вязкости.

автомобиль моторный масло конструктивный

6. Теория автомобиля

.1 Сопротивление движению автомобиля

Тяговая мощность, Рт, развиваемая двигателем автомобиля расходуется на преодоление [4]:

силы сопротивления воздуха Рв, Н;

силы инерции Ри, Н;

силы сопротивления движению Рд, Н:

                                          (1)

При установившемся движении (в том числе и при максимальной скорости) силы инерции равны нулю, поэтому тяговая мощность двигателя определяется:

                                    (2)

где Рп - сопротивление движению на подъем, Н;

Рк - сопротивление качению, Н.

Сила сопротивления воздуха, зависит от скорости автомобиля и его обтекаемости и площади лобовой проекции. Сопротивление воздуха при движении автомобиля в упрощенных расчетах определяем:

                                         (3)

где КВ - (Сх в иностранной литературе) коэффициент обтекаемости, численно равный силе сопротивления воздуха созданного одним квадратным метром лобовой площади автомобиля при его движении со скоростью 1 м/с; принимаем КВ = 0,9 [3, табл. 2.1];- площадь лобовой проекции автомобиля проектируемого автомобиля, м2;- скорость автомобиля, м/сек, соотносится со скоростью км/часопределяется по приближенной формуле для грузового автомобиля:

                                             (4)

где Ва - ширина автомобиля, м;

На - высота автомобиля, м;

Расчеты проводим для диапазона 0-83 км/час скоростей с шагом в 5 км/час.

Результаты расчетов сводим в таблицу 4.

км/ч

0

5

10

15

20

25

30

35

40

м/с

0

1,4

2,8

4,2

5,6

6,9

8,3

9,7

11,1

Рв

0

12,88

51,51

115,89

206,04

312,80

452,61

618,17

809,49

км/ч

45

50

55

60

65

70

75

80

83

м/с

12,5

13,9

15,3

16,7

18,1

19,4

20,8

22,2

23,1

Рв

1026,56

1269,39

1537,97

1832,31

2152,4

2472,69

2842,44

3237,96

3505,82


Таким образом, при скорости 83 км/час сопротивление воздуха автомобиля прототипа равно 3505,82 Н.

6.2 Сопротивление движению автомобиля складывается из сопротивления движению автомобиля на подъем Рп и сопротивления качению Рк, Н

Сопротивление движению автомобиля на подъем определяется:

                                        (5)

где ma - вес автомобиля, Н;

αД - угол преодолеваемого автомобилем подъема на заданной скорости, по заданию 5 градусов.

Вес автомобиля определяется:

                                            (6)

где Gа - полная масса автомобиля, кг;- ускорение свободного падения, м/с2.

Полная масса автомобиля включает его снаряженную массу, массу груза и пассажиров. Автомобиль прототип, имеет пассажировместимость n = 2 человек, снаряженную массу - 7580 кг, грузоподъемность - 8500 кг (см. задание). Полную массу автомобиля определяем:


где Gсн - снаряженная масса, кг;сн - масса груза, кг;- вес одного человека, принимаем в среднем 75 кг;- вес багажа одного человека, (20-25кг).

Полная масса (масса автомобиля с водителем, пассажирами и грузом):

По формуле (6) определяем вес автомобиля:

По формуле (5) определяем силу сопротивления движению автомобиля на подъем:


.3 Сила сопротивления качению автомобиля

Сила сопротивления качению зависит от деформации шины и дороги, а также от трения шины о дорожное покрытие. Принимая коэффициент f равным для всех колес автомобиля по формуле (8), получаем силу сопротивления качению автомобиля:

                                            (8)

где f - коэффициент сопротивления качению.

Коэффициент сопротивления качению, определяем:

                                         (9)

где f0 - коэффициент сопротивления качения при движении автомобиля на малых скоростях; значения f0 принимаем равным 0,015 для асфальто- и цементобетонного шоссе в хорошем состоянии [2, стр. 32];

аk - эмпирический коэффициент сопротивлению движения при малых скоростях движения, зависящий от типа и состояния шин и равный в среднем 1400-1600, принимаем равным 1600.

Результаты расчетов сопротивления качению сводим в таблицу 5.

Сила сопротивления качению при скорости 23,1 м/с, равна 2986,5 Н.

Тогда сила тяги у прототипа, при установившемся движении на скорости 83 км/ч по формуле (2):


Таблица 5 - Зависимость сопротивления качению от скорости движения автомобиля

Км/ч

0

5

10

15

20

25

30

35

40

м/с

0

1,4

2,8

4,2

5,6

6,9

8,3

9,7

11,1

f

0,0140

0,0140

0,0141

0,0142

0,0143

0,0144

0,0146

0,0148

0,0151

Рк, H

2235,9

2235,9

2251,9

2267,8

2283,8

2299,8

2331,7

2363,7

2411,6

Км/ч

45

50

55

60

65

70

75

80

м/с

12,5

13,9

15,3

16,7

18,1

19,4

20,8

22,2

23,1

f

0,0154

0,0157

0,0160

0,0164

0,0169

0,0173

0,0178

0,0183

0,0187

Рк, H

2459,5

2507,4

2555,3

2619,2

2699,0

2762,9

2842,8

2922,6

2986,5


7. Мероприятия по охране труда и технике безопасности

Система смазки в зависимости от сложности выполнения работ ремонтируют на различных зонах и участках ремонтного предприятия, в том числе и на моторном участке [6].

Для повышения знаний техники безопасности (ТБ) на моторном участке рабочим зачитываются инструкции по ТБ в следующем порядке: вновь прибывшему рабочему общий и вводный инструктаж и, соответственно, по предприятию в целом и по участку в частности, целевой инструктаж, касающийся рабочего места.

Проводятся периодические проверки знаний правил техники безопасности. Каждые три месяца рабочим зачитываются повторные инструктажи.

Необходима также наглядная агитация: по стенам в стратегических местах расположены плакаты.

Для обеспечения безопасности работы слесаря-моториста необходимо соблюдать следующие требования:

Все станки и стенды должны быть обязательно заземлены, во избежание вероятности поражения током.

При работе с кран-балкой запрещается находиться непосредственно под грузом и балкой.

При работе на стендах для ремонта двигателей необходимо надежно закреплять двигатель в нужном положении.

Установку детали на станок для притирки клапанов осуществлять только в выключенном положении.

Запрещается загромождать проходы между оборудованием и выходом из помещения.

Использованные обтирочные материалы должны немедленно убираться.

Разлитое масло или топливо необходимо собирать при помощи песка или опилок, которые после следует ссыпать в металлические ящики с крышкой, установленные вне помещения.

Мероприятия по охране труда на моторном участке имеют немаловажное значение в процессе повышения производительности труда, безопасности рабочих мест.

Большую роль в мероприятиях по охране труда играют соблюдение норм производственной санитарии: естественное и искусственное освещение удовлетворяет нормы. Имеющаяся приточно-вытяжная вентиляция обеспечивает необходимую частоту воздуха. В целях противопожарной безопасности размещаем щит с противопожарной оснасткой и имеем ящик с песком, защищенный от проникновения влаги. Таблички, с указанием ответственных за пожарную безопасность, вывешиваются на видных местах.

Из первичных средств пожаротушения в моторном участке должно быть:

огнетушители углекислотные - 2 шт.;

асбестовое или войлочное полотно - 1 шт.;

лом - 1 шт.;

багры - 2 шт.;

топоры - 2 шт.;

лопаты - 2 шт.;

ведра пожарные - 2 шт.

Моторный участок относится к категории Д по взрывопожарной и пожарной безопасности, в котором находятся или обращаются негорючие вещества и материалы в холодном состоянии.

Все работники моторного участка должны знать места расположения средств пожаротушения и уметь ими пользоваться.

Каждый работающий, обнаруживший загорание или пожар, должен немедленно сообщить об этом в объектовую или городскую пожарную охрану, принять меры к вызову руководителей предприятия и приступить к тушению пожара имеющимися средствами.

При выполнении различных видов работ необходимо знать и помнить, что возгорание и несчастные случаи наиболее часто могут происходить при:

промывке деталей, агрегатов и двигателя легковоспламеняющимися жидкостями (бензином, дизельным топливом и др.);

подаче топлива в карбюратор движущегося автомобиля из открытой емкости «самотеком»;

сварке или пайке непромытой и непропаренной емкости из-под легковоспламеняющихся жидкостей;

неправильной транспортировке и хранении легковоспламеняющихся веществ;

применении нестандартных или не соответствующих номинальному току электропредохранителей;

неисправной электропроводке;

работе в загрязненной горюче - смазочными материалами специальной одежде;

работе с открытым огнем вблизи легковоспламеняющихся веществ;

тушении пожара на автомобиле без использования средств пожаротушения.

Во избежание пожара на автомобиле пуск двигателя производить при установленном воздушном фильтре.

Для мойки двигателя снаружи использовать только пожаробезопасные моющие средства.

Запрещается: использовать для этой цели бензин и другие легковоспламеняющиеся жидкости;

допускать скопления на двигателе грязи, масла и топлива;

подогревать двигатель и другие агрегаты открытым огнем.

Необходимо знать устройство огнетушителя и уметь им пользоваться.

При тушении пожара на моторном участке необходимо соблюдать личную осторожность - использовать огнетушители, рукавицы, не допускать загорания одежды и ожога лица, рук и т.д.

Пролитое при ремонте двигателя топливо или масло необходимо сразу же убирать с помощью песка или опилок.

Мойку снятых агрегатов и деталей автомобиля следует производить в строго установленном месте.

Отработанные масла и отстой топлива из топливных баков необходимо сливать только в специальную тару.

Хранение, слив и заправку горюче-смазочных материалов следует осуществлять только в специально предназначенных для этой цели местах.

Перед ремонтом (сваркой, пайкой) емкость из-под легковоспламеняющихся веществ необходимо опорожнить, отсоединить и снять все трубопроводы, в которых может находиться легковоспламеняющаяся жидкость. Опорожненную емкость, а также трубопроводы необходимо тщательно промыть горячей водой, продуть паром до полного удаления следов этих жидкостей.

Курить на территории моторного участка запрещается.

Загрязненную горюче - смазочными материалами специальную одежду следует своевременно сдавать в химчистку (стирку).

Запрещается:

работать в специальной одежде, облитой топливом;

подходить к открытому огню, курить и зажигать спички, если руки и специальная одежда облиты топливом;

пользоваться бензином для стирки одежды, мытья рук, отмывания стен и пола;

пользоваться открытым огнем в помещениях, предназначенных для технического обслуживания, ремонта и стоянки, а также на открытых стоянках;

хранить на рабочем месте промасленный обтирочный материал, легковоспламеняющиеся вещества, кроме предназначенных для этой цели металлических ящиков с крышками;

применять самодельные нагревательные электроприборы.

На участке должен быть умывальник, чем соблюдается производственная гигиена. Так же имеется урна для мусора, куда в процессе ремонтных работ складируются все отходы.

Кроме всех перечисленных мероприятий необходимо создать соответствующий интерьер помещения и организовать комнату психологической разгрузки, где рабочие могут отдохнуть во время обеденного перерыва и во время регламентированных перерывов для отдыха.

Заключение

Значение автомобильного транспорта в жизни страны трудно переоценить. Увеличивающаяся дальность автобусных и грузовых перевозок в сочетании с совершенствованием эксплуатационных качеств автомобилей, улучшением состояния существующих автодорог и строительством новых делают доступными дальние регионы страны, отдаленные сельские и горные населенные пункты. Во многих регионах автомобильный транспорт является основным средством передвижения и перевозки грузов.

Предмет «Устройство автомобилей» - первый и основной раздел, с которого студенты учебных заведений начинают изучение дисциплины под общим названием «Автомобили». Знание устройства автомобилей позволяет организовать качественное обслуживание и ремонт, а также эксплуатацию автомобильного транспорта.

Данная курсовая работа выполнена мною для закрепления знаний по действующей учебной программе по предмету «Устройство автомобилей» с учетом требований Государственного образовательного стандарта

В работе рассматривается устройство и принцип работы системы смазки двигателя автомобиля МАЗ-5551.

Список литературы и интернет-ресурсы

 

1. Вахламов В.К. Автомобили: эксплуатационные свойства. - М.: «Академия», 2010 г.

2. Вахламов В.К. Конструкция, расчет и эксплуатационные свойства автомобилей. - М.: «Академия», 2010 г.

3. Кузнецов <#"870456.files/image025.gif">

1  -  масляный картер; 2 - маслозаборник; 3 - масляный насос; 4 - редукционный клапан; 5 - жидкостно-масляный теплообменник; 6 - фильтр очистки масла; 7 - перепускной клапан; 8 - сигнальная лампа фильтра; 9 - фильтр центробежной очистки масла; 10 - распределительный вал; 11 - ось толкателей; 12 - коленчатый вал; 13 - предохранительный клапан; 14 - форсунка охлаждения поршней; 15 - дроссель; 16 - турбокомпрессор; 17 - сливной клапан теплообменника; 18 - включатель привода вентилятора; 19 - привод вентилятора; 20 - ТНВД

- промежуточная шестерня; 2 - ось промежуточной шестерни; 3 - вал-шестерня ведущая; 4 - крышка корпуса; 5 - вал - шестерня ведомая; 6 - корпус; 7 - шестерня привода; 8 - шпонка; 9 - фланец упорный; 10 - штуцер (присутствует только на двигателях без водомасляного теплообменника); 11 - редукционный клапан

- корпус фильтра; 2 -  прокладка колпака; 3 - замковая крышка; 4 - колпак фильтра; 5 - фильтрующий элемент; 6 - головка колпака; 7 - прокладка фильтрующего элемента; 8 - плунжер клапана; 9 - пружина клапана; 10 - пружина сигнализатора; 11 - подвижный контакт сигнализатора; 12 - неподвижный контакт; 13 - клемма

1 - колпак фильтра; 2, 7 - шайбы; 3 - колпачковая гайка; 4 - гайка крепления ротора; 5 - упорная шайба; 6 - гайка ротора; 8, 14 - втулки ротора; 9 - колпак ротора; 10 - ротор; 11 - отражатель; 12 - уплотнительное кольцо; 13 - прокладка колпака; 15 - ось ротора; 16 - корпус фильтра; 17 - сопло ротора; А - из системы под давлением; Б - слив масла в картер

- шланг отводящий; 2 - шланг подводящий; 3, 9, 10, 14 - кронштейны; 4, 19 - гайки; 5, 6, 17 - шайбы; 7, 16, 27 - болты;  8 - кронштейн верхний;  11 - радиатор; 12 - кронштейн нижний; 13, 18 - хомуты; 15, 20, 26 - кляммеры; 21 - шланг L = 1500 мм; 22, 24 - фланцы; 23 - кран; 25 - шланг L = 1300 мм; 28 - прокладка

Похожие работы на - Особенности конструкции и эксплуатации системы смазки двигателя автомобиля МАЗ-5551

 

Не нашли материал для своей работы?
Поможем написать уникальную работу
Без плагиата!
Без нейросетей!