Модель жіночих штанів для повсякденного призначення
Вступ
На сучасному етапі відносин в
Україні перед працівниками легкої промисловості стоїть відповідальне завдання -
задовольнити потреби населення асортиментом високоякісних, гарних тканин та
швейних виробів, що користуються попитом. Вирішення цього завдання не може бути
повною мірою забезпечене без інженерних кадрів, які повинні досконально знати
технологічні процеси виготовлення тканин, асортимент і технологію виготовлення
одягу, обладнання і устаткування галузі, вміти прогнозувати високоефективні
методи виготовлення швейних виробів на основі досягнень техніки і науки, робити
техніко - економічні розрахунки, проводити аналіз, обґрунтування та вибір
оптимальних технологічних процесів [1].
Сучасна швейна промисловість
характеризується доволі високим рівнем техніки, технології та організації
виробництва, наявністю великих спеціалізованих підприємств і виробничих
об'єднань. У швейній промисловості створено фабрики, виробничі об'єднання,
фірми, спільні підприємства. Швейні підприємства є в кожному великому населеному
пункті. Перевезення тканин і ниток дешевше, аніж готових виробів.
Удосконалення швейного виробництва
передбачає ширше впровадження високопродуктивного обладнання, потокових ліній,
розширення асортименту і поліпшення якості одягу, випуск виробів, що користуються
підвищеним попитом, відповідають кращим сучасним зразкам. Технологія сучасного
швейного виробництва все більше стає механізованою.
Розширення асортименту випуску
жіночого одягу, покращення його якості можливе за рахунок використання нових
технологій і техніки як в процесі виготовлення виробів, так і при підготовці
виробництва, одним з елементів якої є розробка ескізів моделей, конструкцій
деталей одягу, технічної документації.
Штани - дуже зручний одяг для
роботи, заняття спортом і відпочинку. Моделі жіночих штанів дуже різноманітні.
За призначенням бувають повсякденного (для роботи і дому), святкового,
спортивного, або мати спеціальне призначення. Вони можуть бути складовою
частиною костюма і виготовлятись разом з жакетом чи жилетом. Форма, довжина і
силует штанів залежать в основному від напрямку моди. Штани можуть бути широкі
по всій довжині чи вузькі на окремій ділянці (по лінії стегон, колін, тощо),
звуженими чи розширеними до низу, довгими чи короткими.
Штани можуть бути з широким чи
вузьким поясом, або без нього. Вони можуть виготовлятись з хомутиками для пояса
різної форми, або без них, з бічними швами чи без них, з застібкою спереду чи в
бічному шві, з петлями на ґудзики чи застібку-блискавку. Низ штанів може
оброблятись манжетами, або без них, з складками, з оборками на еластичній
тасьмі чи шнурках, з бічними кишенями в бічних швах, прорізними на передніх
половинках (в рамку, з листочкою), розташованими в швах передніх половинок чи
накладними кишенями.
Основними деталями штанів є передні та
задні половинки. За конструкцією передні та задні половинки штанів можуть бути
з виточками чи защіпами, відрізними в області коліна, з кокетками різної форми.
Оздоблення штанів може виконуватись строчками, кантами тощо
[3].
Метою курсового проекту є розробка
технологічної послідовності виготовлення жіночих штанів для забезпечення їх
конкурентоспроможності.
1. Вибір, обґрунтування та опис
зовнішнього вигляду моделі виробу, що проектується
У теплу пору сама природа вимагає
яскравих фарб, вишуканих силуетів і легких тканин. Всім основним актуальним
тенденціям сезону підкоряються і модні жіночі штани. Елегантність, жіночність і
пристрасть сучасної жінки виражаються через строгу форму з високою лінією
талії, оригінальну фактуру і оновлену відтіночну палітру.
Ідеальна модель штанів - це та, яка
вигідно підкреслює достоїнства фігури, приховуючи усі недоліки. У сучасній моді
дизайнери запропонували безліч варіантів для кожної жінки. Для офісу або пляжу,
для вечірки або активного міського життя - на кожен випадок є свої штани.
Актуальними залишаються облягаючі брюки-скіні, а також легінси. Особливу увагу
слід звернути, що в моді висока талія.
Популярні звужені до низу
штани-банани завдовжки до кісточки, ця модель пасує всім без винятку, а разом з
туфлями на високих підборах робить фігуру стрункою, зорово видовжуючи фігуру.
Штани у весняно-літньому сезоні 2014 року можуть
мати складний незвичайний крій: плавно переходити у блузку, або тільки з одною
штаниною, друга більше схожа на спідницю [4].
Неможливо уявити теплу пору року без
укорочених штанів і всіляких шортів. Вибір правильної моделі залежить виключно
від вашого смаку і особливостей фігури. Актуальні всі фасони від ультра-міні до
шортів чоловічого типу. Щодо тканин, то у моді матеріал з ефектом «металік», також
шкіра не втрачає свої позиції. Легкий одяг вимагає ретельного підбору тканин.
Рекомендується віддавати перевагу натуральним матеріалам, тим більше що льон,
тонка бавовна, шовк, а також денім завжди в пошані у дизайнерів.
Тонкий сатин, шифон, фатин, мереживо
в різноманітних поєднаннях панують на подіумах світу, але носити прозорі фасони
радять з обов’язковими чохлами.
Традиційно найпопулярніший колір
весни-літа - білий. Класичне поєднання чорного з білим також ніколи не втратить
актуальності. Крім
білого, модна кольорова палітра жіночих штанів пропонує всі відтінки синього,
зеленого, жовтого, помаранчевого, червоного, рожевого.
Дуже актуальні штани з контрастним
поєднанням кольорів, виконані з несподіваними ефектами, градієнтними
переходами. Вибираючи різнокольорові штани, слід уважно розглянути малюнок,
адже переходи кольору можуть як підкреслити достоїнства, так і зіпсувати силует
[4].
Складно уявити колекції штанів без
улюблених багатьма флористичних і анімалістичних принтів. Особливий шик - штани
з яскравими великими тропічними квітами. Крім квітів і леопарда, дуже
популярними залишаються абстрактні картини, фантазійні хусткові забарвлення, а
також газетний принт.
Велике різноманіття моделей, тканин,
забарвлень від світових кутюр’є робить вибір модних жіночих штанів приємним і
комфортним.
Сьогодні - ніяких заборон і
обмежень. Штани відповідають будь-яким напрямам і займуть гідне місце у всякому
гардеробі. Їх можна носити з блузою і жакетом або сорочкою і светром, доречні
майки-топи і навіть сукні.
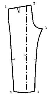
Рисунок 1 - Ескіз жіночих штанів
Штани жіночі молодіжні, довгі ,
прямі звуженні до низу, з лавсанової тканини з домішками віскози.
Верхній край понижено кроєм на 5 см
та оброблено відрізним поясом - кокеткою шириною 4 см.
На передніх половинках 2 талієві
виточки. Бічні кишені з відрізним бочком. Лінія входу в кишеню пряма.
На задніх половинках 2 талієві
виточки та дві кишені-обманки прорізні з однією обшивкою.
Застібка на потайну тасьму -
блискавку розміщена у бічному шві.
Лінія входу в кишені оброблена в
чистий край. Низ оброблено швом у підгин з відкритим зрізом, який попередньо
обметаний.
Таблиця 1.1 - Специфікація деталей
швейного виробу
|
Номер деталі
|
Назва та ескіз деталі
|
Назва зрізів, направлення нитки основи
|
Кількість деталей
|
|
|
|
В лекалах
|
В крої
|
|
Деталі крою з матеріалу верху
|
1 Передня
половинка штанів
1-2 верхній
зріз
-3
зріз банта
-4
середній зріз
-5
кроковий зріз
-6
зріз низу
-7
бічний зріз
-1
вхід у кишеню
|
Нитка основи проходить паралельно лінії, що
з’єднує точки середини ширини половинки штанів внизу і на рівні коліна12
|
|
|
|
|
|
2
|
Задня половинка штанів
|
1-2 верхній зріз 2-3 середній зріз 3-4
кроковий зріз 4-5 зріз низу 5-1 бічний зріз Нитка основи проходить паралельно
лінії, що з’єднує точки середини ширини половинки штанів внизу і на рівні
коліна
|
1
|
2
|
|
3
|
Відрізний
бочок суцільновикроєний з нижньою частиною підкладки кишені
|
1-2 верхній зріз 2-3 внутрішній зріз 3-4
нижній зріз 4-1 бічний зріз Нитка основи співпадає з напрямом нитки основи
передньої половинки штанів
|
1
|
2
|
|
4
|
Пояс-кокетка та підкокетка
|
1-2 верхній зріз 2-3 згин пояса 3-4 нижній
зріз 4-1 бічний зріз Нитка основи проходить паралельно лінії перегину кокетки
|
1
|
2
|
|
5
|
Обшивка в задню кишеню
|
1-2 верхній зріз 2-3, 4-1 бічні зрізи 3-4
нижній зріз Нитка основи проходить паралельно зрізу деталі, вздовж якої вона
пришивається
|
1
|
2
|
|
9
|
Підзор
|
1-2 верхній зріз 2-3, 4-1 бічні зрізи 3-4
нижній зріз Нитка основи проходить паралельно довшому зрізу деталі
|
1
|
2
|
|
10
|
Обшивка бічної кишені
|
1-2 верхній зріз 2-3 внутрішній зріз 3-4
нижній зріз 4-1 вхід у кишеню Нитка основи проходить паралельно довшому зрізу
деталі
|
|
|
|
Деталі крою з підкладкового матеріалу
|
|
10
|
Верхня підкладка кишені
|
1-2 верхній зріз 2-4 внутрішній зріз 4-3
нижній зріз 1-3 зріз входу в кишеню Нитка основи співпадає з напрямом нитки
основи передньої половинки штанів
|
1
|
4
|
|
Деталі крою з прокладкового матеріалу
|
|
11
|
Прокладка входу в кишеню
|
1-2 верхній зріз 2-3 внутрішній зріз 3-4
нижній зріз 4-1 вхід у кишеню Нитка основи проходить паралельно довшому зрізу
деталі
|
1
|
2
|
|
12
|
Прокладка кишень задніх половинок штанів
|
1-2 верхній зріз 2-3, 4-1 бічні зрізи 3-4
нижній зріз Нитка основи проходить паралельно зрізу деталі, вздовж якої вона
пришивається
|
1
|
2
|
|
13
|
Прокладка підкокетки
|
1-2 верхній зріз 2-3 згин пояса 3-4 нижній
зріз 4-1 бічний зріз
|
1
|
2
|
|
14
|
Прокладка в обшивку
|
1-2 верхній зріз 2-3 бічний зріз 3-4 нижній
зріз 4-1 бічний зріз Нитка основи проходить паралельно зрізу деталі, вздовж
якої вона пришивається
|
1
|
2
|
|
|
|
|
|
|
2. Вибір, обґрунтування та
характеристика матеріалів
Для даної розробляємої моделі
пропонується костюмна тканина «Кама», до складу якої входять 67
%
лавсану та 33 %
віскози. Маючи таку суміш волокон, тканина має високі показники
гігроскопічності, світлостійкості, теплостійкості та є стійкою до дії води та
хімічних речовин.
Тканина синього кольору, приємна на
дотик завдяки лавсановим волокнам. Відповідає всім естетичним та економічним
властивостям. Завдяки комбінованому переплетенню створюється велика
повітропроникність, забезпечується вентиляція навколо тіла в спеку. Тканина
синього кольору відповідає сучасній моді і надає стрункий вигляд. Технологічні
властивості тканини ураховують при виготовленні виробу і сприяють його якості.
Для підкладки пропонується матеріал
із бавовни та віскози,оскільки саме віскоза та бавовна відповідають найкращим
фізико - механічними властивостями [2].
Тканина для підкладки виготовлена із
саржевим переплетенням, це робить її поверхню гладкою та стійкою до тертя. Має
добру гігроскопічність й високу міцність, мало електризується та не зсідає
завдяки спецобробці. Для виготовленя кишень в жіночих штанах підкладка
підбирається під колір тканини верху.
Прокладкова тканина, яка
пропонується для виробу, має добру пластичність при волого - тепловій обробці
та стійкість наданої їй форми. Також прокладка володіє такими властивостями, як
міцність, мало розтяжність, жорсткість. Значення зсідання співпадає із
значенням зсідання тканини верху. Клейове покриття забезпечує якісне з'єднання
деталей та достатню повітропроникність. Характеристика цих матеріалів наведена
у таблиці 2.1.
Таблиця 2.1 - Характеристика
матеріалів
|
№ п/п
|
Назва матеріалів
|
Артикул матеріалів
|
Поверхнева щільність, г/м2
|
Ширина, см
|
Лінійна щільність, текс
|
Сировинний склад, %
|
|
|
|
|
|
основа
|
уток
|
|
|
1
|
«Кама»
|
арт. 82150
|
212
|
110
|
25 текс·2
|
25 текс·2
|
67% лавсан, 33% віскоза
|
|
2
|
Підкладка саржева
|
арт. 42165
|
149
|
100
|
13,3
|
25
|
88% бавовна, 60% віскоза
|
|
3
|
Прокладка (флізелін)
|
Арт.915502
|
90-110
|
90
|
-
|
-
|
Поліефір 100%
|
При пошитті штанів пропонується
використовувати лавсанові нитки. Ці нитки теплостійкі, без усадочні, еластичні,
але поступаються капроновим за показниками міцності та стійкості до стирання,
мають мале зсідання, середню стійкість до дії мікроорганізмів та мають гарний
зовнішній вигляд. Застібка витримує високу температуру, не пошкоджуються
корозією, зносостійка та світлостійка, а також економічна.
Таблиця 2.2 - Характеристика ниток
|
Сировинний склад ниток
|
Умовний номер
|
Лінійна щільність, текс
|
Розривне навантаження, сН
|
Розривне видовження, %
|
|
Бавовняні
|
40
|
54
|
981
|
4,4
|
|
Лавсанові
|
22Л
|
24,5
|
687
|
32
|
В таблиці 2.3 представлено
характеристику фурнітури, яка використовується при виготовленні жіночих штанів.
Таблиця 2.3 - Характеристика
фурнітури і оздоблення
|
Назва
|
Технічна характеристика
|
Область використання
|
|
Потайна застібка-блискавка
|
Довжина 180 мм, ширина замкнутих ланок 30 мм,
з пластмасовими ланками
|
Для виготовлення жіночих штанів та легкого
одягу
|
3 Характеристика технологічної
обробки виробів
Технологічний процес, як частина
виробничого процесу, являє собою виробничу систему, що об’єднує виконавців,
робочі місця, предмети праці, що піддаються обробці переміщуються з одного
місця на інше. Процес виготовлення виробів розробляють на основі вибору методів
обробки і технологічного обладнання.
При проектуванні технологічних процесів
вибір методів обробки має вирішальне значення для випуску виробів високої
якості, підвищення продуктивності праці і ефективності процесів.
Структура процесу характеризується
наявністю і кількістю спеціалізованих секцій, ділянок і груп. Також вона ділиться
на несекційні і секційні процеси.
Ділення процесів на секції
забезпечує підвищення його гнучкості і мобільності. Необхідною умовою ділення є
потужність процесу.
Вибір методів обробки здійснюється з
урахуванням багатьох факторів, які можна умовно поділити на дві групи:
а) вид, модель,
конструкція виробу, матеріали, що використовуються;
б) організаційно-технічні
умови виробництва:
) тип виробництва;
) методи організації
виробництва;
) потужність
підприємства.
Застосування високопродуктивного
спеціального обладнання, інструменту і оснащення, спеціалізація робочих місць,
використання прогресивної технології та оптимальних режимів роботи обладнання
знижують трудомісткість продукції, що випускається. Раціональна система
обслуговування робочих місць, відсутність або зведення до мінімуму простоїв
через переналагодження обладнання, чіткий режим роботи потокових ліній
забезпечують найбільш повне використання робочого часу, зростання
продуктивності праці. При потоковій організації виробництва скорочуються всі
елементи тривалості виробничого циклу, зокрема технологічного - за рахунок
зростання продуктивності праці, транспортного - за рахунок розташування робочих
місць по ходу технології, відсутності міжопераційного простежування
напівфабрикатів, застосування паралельного поєднання операцій, суміщення
технологічних, транспортних і контрольних операцій, застосування
високопродуктивних транспортних пристроїв. Зменшення тривалості виробничого
циклу призводить і до скорочення відділів, величини оборотних коштів і прискорення
їх оборотності.
.1 Вибір та обґрунтування обладнання
і засобів малої механізації для виготовлення швейного виробу
Особливістю масового виробництва
одягу є те, що одяг випускається великими партіями. Об’єктом для проектування
технологічного процесу є моделі, що затверджені на художньо - погоджувальній
раді. Відповідність моделей напрямку моди є загальною умовою і не залежить від
типу виробництва.
При проектування технологічних
процесів важливо обирати раціональні ступені обробки виробів.
Вибір методів обробки залежить від
кількості виробів і трудомісткості. При виборі методів обробки, в першу чергу
оцінюють ефективність використання сучасних зшивних і спеціальних швейних
машин, машин напівавтоматів, нових покращених клейових прокладкових матеріалів,
засобів малої механізації та інше.
Деталі одяг обробляють різними
методами, в залежності від операцій машин, що застосовуються, інструментів та
пристосувань.
Сучасна технологія виготовлення
одягу є механічною і базується на механізованій праці. Отже вибір методів
обробки припускає і вибір відповідного обладнання і засобів технічного
забезпечення.
При виготовленні жіночих штанів
використовують напівсинтетичні тканини. У даному випадку обрана діагональ, тому
що її фізико-механічні властивості найбільш повно задовольняють перерахованим
вище вимогам. Характеристика тканин подана в таблиці 3.7, характеристика
швейних ниток в таблиці 3.8. При виборі методів обробки, в першу чергу оцінюють
ефективність використання сучасних зшивних і спеціальних швейних машин, машин напівавтоматів,
нових покращених клейових прокладкових матеріалів, засобів малої механізації.
Деталі одягу обробляють різними методами, в залежності від застосованих
операцій машин, інструментів і пристосувань. В табличних формах приводяться
технологічні характеристики швейного обладнання (таблиця 3.1), обладнання для
волого-теплової обробки (ВТО) та клейового з’єднання (таблиця 3.2.) і засобів
малої механізації (таблиця 3.3).
Таблиця 3.1 - Характеристика
швейного обладнання
|
№ п/п
|
Клас, обладнання, фірма виробника
|
Призначення
|
Швидкість обертання головного вала, об/хв
|
Механізм пересування матеріалів
|
Товщина матеріалів, мм
|
Додаткові відомості
|
|
11
|
757F-516M2-35(55) “SIRUBА”
|
Зшивання з одночасним обметуванням зрізів
|
7500
|
рейка
|
До 0,3
|
Ширина між голками - 3(5)мм, підйом лапки -
6,0мм, ширина обметування 5мм
|
|
22
|
АТ «Орша» 1022кл. Білорусь
|
Одноголкова універсальна машина для зшивання
деталей виробів
|
4000
|
рейка
|
До 0,4
|
Строчка двониткового однолінійного прямого
човникового стібка
|
|
33
|
737F-50M1-15 «SIRUBA»
|
Обметування
|
7500
|
рейка
|
До 0,4
|
Ширина обметування - 1,5мм, підйом лапки -
5,5мм
|
Вибір обладнання для волого-теплової
обробки (преси, прасувальні столи) необхідно здійснювати відповідно до
властивостей використовуваних матеріалів та з урахуванням технологічних операцій
деталей та вузлів, що характерні для проектованого виробу.
Таблиця 3.2 - Характеристика
обладнання для ВТО і клейового з’єднання
|
№ п/п
|
Тип і марка обладнання, фірма виробник
|
Тип приводу
|
Тиск, МПа
|
Тип і марка подушки
|
Температура нагрівання прасувальної поверхні,
°С
|
Призначення
|
Додаткові відомості
|
|
1
|
Дублювальний прес TRS5050 «Примула»
|
електропаровий
|
0,45
|
-
|
0-200
|
Для дублювання деталей крою
|
Відкриття і закриття верхньої подушки
проводиться вручну з допомогою важеля. Є звуковий сигнал про закінчення
процесу дублювання. Робоча поверхня 500х400мм
|
|
2
|
Промисловий парогенератор PG036/1 LELIT
|
електропаровий
|
0,8
|
-
|
150-170 термостат 60-215
|
Універсальний для всіх операцій
|
Паро-електро шланг 2,2м., регулюючий, ILME
роз’єм для підключення до парогенератора:LELIT
PS09N,PG036,PGAUT05NEW,PGAUT09.
|
|
3
|
Пароповітряний манекен 8710 фірми «Вайт»
|
паровий
|
Пари - 0,38, повітря - 0,3-0,45
|
-
|
95-115
|
Для кінцевого пропарювання штанів.
|
Пропарює виріб гарячою парою та надає форму за
допомогою продування повітря
|
|
|
|
|
|
|
|
|
|
Використання пристроїв малої
механізації, характеристика яких представлена у таблиці 3.3, сприяє покращенню
умов виконання певних технологічних операцій, за їх допомогою забезпечується
висока якість виготовлення і підвищується продуктивність праці.
Таблиця 3.3 - Характеристика засобів
малої механізації
|
№ п/п
|
Марка пристрою
|
Схема шва
|
Клас машин
|
Область застосування
|
|
1
|
Лапка для пришивання потайної застібки -
блискавки 3-37 ЦНДІШП
|
|
Зшивна машина 862 кл
|
Пришивання потайної тасьми у плечових і
поясних виробах
|
|
2
|
Пристрій для підгину низу з відкритим зрізом
2-34 ЦНДІШП
|
|
Зшивна машина 862 кл
|
Підгинання низу виробу, рукавів та штанів
|
.2 Аналіз, вибір та обґрунтування
методів технологічної обробки деталей та вузлів виробу
На сучасному виробництві робота по
вдосконаленню технологічних операцій ведеться в наступних напрямках:
скорочення області застосування
методів виконання тимчасових з'єднань, а також нанесення крейдяних ліній і
ручне підрізання напівфабрикатів;
скорочення будь-яких ручних робіт
(механізація і автоматизація ручних робіт);
підвищення точності викроювання
деталей за рахунок використання автоматизованих розкрійних комплексів в
розкрійному цеху з метою скорочення обсягу робіт по ручному підрізанню деталей;
розширення області застосування
клейового з'єднання замість ниткового для внутрішнього закріплення швів,
надання формостійкості деталям і вузлам одягу, для обробки деталей аплікаціями
та інших робіт;
удосконалення технології на базі
застосовуваних швейних машин з набором автоматизованих функцій.
Для виготовлення жіночих штанів були
обрані промислові методи обробки, що дозволяють застосовувати нове
високоефективне обладнання і пристосування малої механізації.
Оцінка методів обробки вузлів
виконується за показниками скорочення затрат часу (СЗЧ) та зростання
продуктивності праці (ЗПП), які розраховуються за формулами:
СЗЧ=
∙100% (3.1)
ППП==
∙100%, (3.2)
де Т1 - затрати часу за першим
варіантом технологічної обробки,
Т2 - затрати часу за другим варіантом
технологічної обробки.
Таблиця 3.4 - Порівняльна
технологічна послідовність обробки моделі виробу
|
№ операції
|
Назва неподільної операції
|
Перший метод обробки
|
Другий метод обробки
|
|
|
Фах
|
Розряд
|
Затрати часу, с
|
Обладнання, пристрої, інструменти
|
Фах
|
Розряд
|
Затрати часу, с
|
Обладнання, пристрої, інструменти
|
|
Обробка верхнього зрізу штанів поясом-кокеткою
|
|
1
|
Обметати нижній припуск поясу-підкокетки
|
С
|
ІІ
|
0,50
|
Машина для обметування 737F-50M1-15 “SIRUBA”
|
-
|
-
|
-
|
-
|
|
2
|
Запрасувати нижній припуск поясу-підкокетки
|
-
|
-
|
-
|
-
|
Пр
|
ІІ
|
1,50
|
Промисловий парогенератор PG036/1 LELIT
|
|
3
|
Обшити кокетку підкокеткою
|
М
|
ІІ
|
2,26
|
Одноголкова універсальна машина АТ «Орша»
1022кл.Білорусь
|
М
|
ІІ
|
2,26
|
Одноголкова універсальна машина АТ «Орша»
1022кл. Білорусь
|
|
4
|
Вивернути пояс-кокетку обшиту підкокеткою на
лицьовий бік
|
Р
|
ІІ
|
1,2
|
-
|
Р
|
ІІ
|
1,2
|
-
|
|
5
|
Припрасувати верхній зріз пояса-кокетки
|
Пр
|
ІІ
|
1,3
|
Промисловий парогенератор PG036/1 LELIT
|
Пр
|
ІІ
|
1,3
|
Промисловий парогенератор PG036/1 LELIT
|
|
5
|
Пришити кокетку до верхнього зрізу штанів
|
М
|
ІІІ
|
1,4
|
Одноголкова універсальна машина АТ «Орша»
1022кл.Білорусь
|
М
|
ІІІ
|
1,4
|
Одноголкова універсальна машина АТ «Орша»
1022кл. Білорусь
|
Настрочити припуски обшивання на підкокетку
|
М
|
ІІ
|
1,30
|
Одноголкова універсальна машина АТ «Орша»
1022кл. Білорусь
|
М
|
ІІ
|
1,30
|
Одноголкова універсальна машина АТ «Орша»
1022кл. Білорусь
|
|
7
|
Намітити лінію підгину поясу-підкокетки та
запрасувати нижній зріз підкокетки
|
-
|
-
|
-
|
-
|
Р, Пр
|
ІІ
|
2,15
|
Промисловий парогенератор PG036/1 LELIT
|
|
8
|
Настрочити нижній зріз підкокетки в шов
пришивання поясу-кокетки
|
М
|
ІІ
|
2,4
|
Одноголкова універсальна машина АТ «Орша»
1022кл.Білорусь
|
М
|
ІІ
|
2,4
|
Одноголкова універсальна машина АТ «Орша»
1022кл.Білорусь
|
|
9
|
Припрасувати кокетку
|
Пр
|
ІІ
|
3,20
|
Промисловий парогенератор PG036/1 LELIT
|
Пр
|
ІІ
|
3,20
|
Промисловий парогенератор PG036/1 LELIT
|
|
Всього
|
|
|
13,09
|
|
|
|
16,24
|
|
|
Обробка бічної кишені
|
|
1
|
Обметати нижній зріз обшивки
|
С
|
І
|
0,46
|
Машина для обметування 737F-50M1-15 “SIRUBA”
|
-
|
-
|
-
|
-
|
|
2
|
Обшити вхід у кишеню обшивкою одночасно
пришиваючи верхню частину підкладки
|
М
|
ІІІ
|
1,76
|
Одноголкова універсальна машина АТ «Орша»
1022кл.Білорусь
|
-
|
-
|
-
|
-
|
|
3
|
Обшити вхід у кишеню обшивкою
|
-
|
-
|
-
|
-
|
М
|
ІІІ
|
1,5
|
Одноголкова універсальна машина АТ «Орша»
1022кл. Білорусь
|
|
4
|
Настрочити припуски обшивання на обшивку
|
М
|
ІІ
|
1,15
|
Одноголкова універсальна машина АТ «Орша»
1022кл. Білорусь
|
-
|
-
|
-
|
-
|
|
5
|
Прокласти оздоблюючу строчку по краю кишені
|
-
|
-
|
-
|
-
|
М
|
ІІ
|
2,40
|
Одноголкова універсальна машина АТ «Орша»
1022кл.Білорусь
|
|
6
|
Настрочити нижній припуск обшивки на підкладку
|
М
|
І
|
1,07
|
Одноголкова універсальна машина АТ «Орша»
1022кл.Білорусь
|
-
|
-
|
-
|
-
|
|
7
|
Зшити частини підкладки двома строчками
|
-
|
-
|
-
|
-
|
М
|
ІІ
|
3,82
|
Одноголкова універсальна машина АТ «Орша»
1022кл.Білорусь
|
|
8
|
Зшити частини підкладки одночасно обметуючи їх
зрізи
|
С
|
ІІІ
|
3,0
|
Зшивання з одночасним обметуванням зрізів
757F-516M2-35(55) “SIRUBА
|
-
|
-
|
-
|
-
|
|
9
|
Обметати частини підкладки
|
|
|
|
|
С
|
ІІ
|
1,69
|
Машина для обметування 737F-50M1-15 “SIRUBA”
|
|
10
|
Зшити бічний зріз одночасно обметуючи зрізи
|
С
|
ІІІ
|
5,30
|
Зшивання з одночасним обметуванням зрізів
757F-516M2-35(55) “SIRUBА
|
-
|
-
|
-
|
-
|
|
11
|
Зшити бічний зріз
|
-
|
-
|
-
|
-
|
М
|
ІІ
|
4,10
|
Одноголкова універсальна машина АТ «Орша»
1022кл. Білорусь
|
|
12
|
Припрасувати бічні кишені
|
Пр
|
ІІ
|
1,45
|
Промисловий парогенератор PG036/1 LELIT
|
-
|
-
|
-
|
-
|
|
Всього
|
|
|
14,2
|
|
|
|
14,96
|
|
|
|
|
|
|
|
|
|
|
|
|
|
|
|
Т1=49,3 с
Т2=66,06 с
ППП=33,9%
СЗЧ=33,9%
За результатами підрахунку при
обробці виробу доцільно використовувати перші методи обробки вузлів, так як він
найбільш економічно вигідний і при мінімальних трудових та матеріальних
затратах забезпечують високу якість виготовлення деталей, вузлів і самого
виробу в цілому.
Обробку пояса-кокетки краще
обробляти першим способом, за рахунок обметування зрізів у першому випадку,
адже зменшується кількість операцій та використання процесів ВТО.
При обробці бічних кишень з
відрізним бочком вибрано перший метод обробки, так як при цьому методі
зменшується потовщення кишені ,за рахунок використання верхньої частини
підкладки з підкладкової тканини.
При обробці прорізних кишень з
листочкою краще застосовувати перший метод обробки, бо при цьому методі
зменшується кількість операцій,за рахунок використання у обробці
суцільнокрійної обшивки та пришивання підзору в один прийом з настрочуванням
нижнього зрізу до припусків пришивання обшивки.
Для обробки тасьми-блискавки у
бічному шві використовують перший метод, адже зменшується кількість операцій та
ВТО, за рахунок того, що тасьма пришивається до зрізів штанів з допомогою
засобів малої механізації.
При обробці низу штанів краще
застосовувати перший метод обробки,адже значно зменшується час обробки, за
рахунок використання спеціальних пристроїв малої механізації та процесу
обметування.
.3 Характеристика способів та
режимів з’єднання деталей виробу
Деталі одягу з`єднують різними
способами: нитковим, клейовим, зварювальним, комбінованим, заклепувальним.
Застосування того чи іншого способу з'єднання в кожному конкретному випадку
залежить від вимог, що пред'являються до отриманих з'єднань, виду з'єднувальних
матеріалів.
Під нитковим способом з'єднання
деталей одягу розуміють з'єднання двох або декількох шарів матеріалу, деталей
та їх частин ручними або машинними стібками.
Елементами ниткових з`єднань є
стібок, строчка, шов. Стібок - це відстань між двома проколами матеріалу голкою
шляхом переплетення однієї або декількох ниток. Строчка - послідовний ряд
повторюваних однорідних стібків. Шов - поєднання двох або декількох шарів
матеріалу строчками.
Стібки і строчки можуть бути
виконані ручним або машинним способом і тому отримали назву ручних і машинних.
У масовому виробництві одягу в
основному застосовуються машинні строчки як найбільш ефективні по швидкості
виконання і якості. Ручні стібки використовуються в тих випадках, коли через
складне взаємне розташування деталей машинну строчку виконати важко. Машинні
строчки мають достатню міцність, еластичність, гарний зовнішній вигляд.
Нитковий спосіб є універсальним.
Нитковим способом можна з'єднувати різні по товщині матеріали від 0,1 мм до 10
мм, а іноді і більше, використовуючи стібки довжиною від 1 мм до 10 мм і
змінюючи швидкість переміщення матеріалів при з'єднуванні від 2 м/хв до 25
м/хв.
Довжина стібків визначається
довжиною нитки і інтервалу на лицьовій стороні матеріалу. Вона залежить від
виду стібка і товщини оброблюваного матеріалу.
Кількість ниток, що беруть участь в
утворенні стібка, може бути різною. У зв'язку з цим стібки мають різну будову.
Усі стібки повинні бути рівними і
однорідними, відстань між ними як з лицьової сторони, так і з виворітної -
однакова, а нитки затягнуті рівномірно. Розміри і частота стібків можуть бути
різними. При визначенні частоти стібків підраховують кількість стібків на 1 см
або на 5 см строчки.
До показників якості з'єднань
відносяться наступні: міцність строчки (розривне навантаження), зносостійкість
і довговічність, стійкість до поверхневого стирання, жорсткість й еластичність,
посадка і стягування тканин після прокладання ниткових стібків, зовнішній
вигляд, стійкість до хімчистки, прорубуваність матеріалу голкою.
При виборі та обґрунтуванні ниткових
з’єднань необхідно враховувати вид виробу, структуру, властивості матеріалів,
класи обладнання, на якому можуть бути виконані ці з’єднання відповідно до
розділу 3.1 (таблиця 3.1). Режими обробки ниткових з’єднань приведено у таблиці
3.5.
Таблиця 3.5 - Режими виконання
ниткових з’єднань
|
№ пп
|
Вид матеріалів
|
Вид переплетення ниток в строчці, клас стібків
|
Тип, група та номер голки
|
Сировинний склад та номер ниток
|
Частота строчки (кількість стібків в 1 см)
|
Ширина строчки, мм
|
Клас машини, фірма-виробник
|
|
1
|
Тканина верху, «Кама»
|
двонитковий однолінійний прямий човниковий 301
|
0220-26, № 80
|
Лавсан 22Л № 40
|
4
|
10-15 мм
|
757F-516M2-35(55) “SIRUBА”
|
|
2
|
Тканина верху, «Кама»
|
однонитковий потайний ланцюговий 103
|
0860, № 90
|
Лавсан 22Л № 40
|
2-3
|
2-2,5 мм
|
СМ-2 «Паннонія»
|
|
3
|
Тканина верху, «Кама»
|
двонитковий обметувальний ланцюговий 503
|
0220-26, № 70
|
Лавсан 22Л № 40
|
3-5
|
5 мм
|
737F-50M1-15 “SIRUBA”
|
Для моделі, що проектується,
виконано аналіз можливості використання машин напівавтоматичної дії при
виконанні окремих операцій та вузлів, режими їх виконання наведені у формі
таблиці 3.6.
Таблиця 3.6 - Режими виконання операцій
на машинах напівавтоматичної дії
|
№ п/п
|
Вид матеріалів
|
Операція
|
Тип, група, номер голки
|
Сировинний склад та номер ниток
|
Розмір закріпки, нитки, ґудзики, їх вид (схема
виконання)
|
Вид переплетення ниток в строчки, вид стібка
|
Клас обладнання, фірма-виробник
|
|
1
|
Підкладковий матеріал
|
зшивання з одночасним обметуванням зрізів
|
0220-26, № 80
|
Лавсан 22Л № 40
|
|
Чотирьохнитковий двохлінійний
зшивально-обметувальний ланцюговий 514
|
«Juki» - МО-6745S-CD4-360/NO77
|
|
2
|
Тканина верху «Кама»
|
Зшивання виточок у штанах
|
0220-26, № 80
|
Бавовняні № 40
|
|
Човникове переплетення 301
|
«Пфафф» 3546-1/12
|
Режими волого-теплової обробки
впливають на якість та товарний вигляд швейних виробів. При виборі цих режимів
необхідно враховувати вид виробу, структуру та сировинний склад матеріалів і
продуктивність обладнання. Режими ВТО для виробу, що проектується, представлені
в формі таблиці 3.7.
Таблиця 3.7 - Режими волого-теплової
обробки
|
№ пп
|
Вид матеріалів
|
Тип та марка обладнання
|
Назва операції, її умовне позначення
|
Температура нагрівання прасувальноїповерхні, ºС
|
Зусилля пресування
|
Час дії, с
|
Зволоження, %
|
|
|
|
|
|
|
праски
|
преси
|
|
|
1
|
Тканина верху «Кама»
|
Дублювальний прес TRS5050 «Примула»
|
Дублювання
|
0-200
|
0,45 МПа
|
-
|
10-15
|
10
|
|
2
|
Тканина верху «Кама»
|
Промисловий парогенератор PG036/1 LELIT
|
Зшивний у розпрасування
|
150-170
|
0,8 МПа
|
5-10
|
-
|
15
|
|
3
|
Тканина верху «Кама»
|
Паропровітряний маникен 8710 фірми «Вайт»
|
Кінцева обробка
|
95-115
|
Пара 0,38 МПа повітря 0,3 МПа
|
-
|
-
|
30
|
З урахуванням вибраних і
обґрунтованих способів з’єднань, методів обробки деталей та вузлів
характеристика швів представлена у таблиці 3.8.
Таблиця 3.8 - Характеристика швів
|
№ п/п
|
Назва шва
|
Графічне зображення
|
Умовне зображення
|
Код шва згідно з ДСТУ ISO 4916:2005
|
Область використання
|
|
1
|
Зшивний з обметаним краєм
|
|
|
1.01.02
|
Бічні та крокові зрізи
|
|
2
|
Зшивний в розпрасування
|
|
|
1.01.05
|
Середній і бантовий зрізи
|
|
3
|
Накладний з відкритими зрізами
|
|
|
5.30.02
|
Настрочування обшивки бічної кишені на верхню
підкладку кишені
|
|
4
|
В підгин з закритим зрізом
|
|
|
6.03.04
|
Обробка низу виробу
|
|
5
|
Зшивний шов
|
|
|
1.01.01
|
Зшивання листочок, поясу і підпояса
|
|
6
|
Обшивний в «чистий край»
|
|
|
2.02.03
|
Обробка верху пояка-кокетки
|
|
7
|
Настрочний з обметаними зрізами
|
|
|
2.02.04
|
Обробка верхнього зрізу штанів поясом-кокеткою
|
|
8
|
Настрочування тасьми чи кромки на деталь
|
|
|
7.02.01
|
Обробка тасьми блискавки у бічному шві
|
|
9
|
Застрочування складки, виточки
|
|
|
6.06.02
|
Обробка виточок
|
Якість і зовнішній вигляд виробів
залежать від якості виконання з`єднувальних швів, вибору машин та засобів що
скорочують час обробки та волого-теплової обробки, за допомогою якої виробу
надають потрібну об'ємну форму, розпрасовують або запрасовують шви, усувають
місцеві заломи на тканині і т. д.
Тому для даного виробу було
підібрано нитки і голки для зшивання, вибрано шви для обробки, та обладнання з
допомогою якого буде оброблятись виріб, та обладнання на якому буде
здійснюватись ВТО.
4. Розробка технологічної
послідовності виготовлення швейного виробу
Аналіз існуючої обробки виробу
проводиться з точки зору трудомісткості і якості (без зміни зовнішнього вигляду
виробу) по вузлах та розробка нової, більш прогресивної, на основі
удосконалення методів обробки та застосування прогресивного обладнання.
Проектовані методи обробки повинні
бути тісно пов'язані з призначенням виробу та фізико-механічними властивостями
застосовуваних матеріалів.
Таблиця 4.1 - Технологічна
послідовність обробки моделі виробу
Зміст неподільної операції
|
Спеціальність
|
Розряд
|
Затрати часу, с
|
Обладнання, пристрої
|
|
Запуск деталей крою у потік
|
|
1
|
2
|
3
|
4
|
5
|
6
|
|
1
|
Перевірити якість деталей крою
|
Р
|
ІІ
|
16
|
Стіл запуску
|
|
2
|
Скомплектувати деталі по пачках і рознести по
робочих місцях
|
Р
|
ІІ
|
60
|
Стіл запуску
|
|
3
|
Запустити деталі в потік
|
Р
|
ІІ
|
50
|
Стіл запуску
|
|
4
|
Зареєструвати деталі крою в журналі запуску
|
Р
|
ІІ
|
14
|
Журнал обліку
|
|
5
|
Нарізати стрічку з зображенням фірмового знаку
|
Р
|
І
|
14
|
Ножиці
|
|
6
|
Нарізати стрічку з вмістом волокон і розміром
виробу
|
Р
|
І
|
15
|
Ножиці
|
|
7
|
Намітити виточки на передніх і задніх
половинках штанів
|
Р
|
ІІ
|
56
|
Стіл, крейда, лекало
|
|
8
|
Намітити місце розташування кишень на задніх
половинках штанів
|
Р
|
ІІ
|
38
|
Стіл, крейда, лекало
|
|
Дублювання деталей крою
|
|
9
|
Продублювати пояс-кокетку
|
П
|
ІІ
|
20
|
Дублювальний прес TRS5050 «Примула»
|
|
10
|
Продублювати підкокетку
|
П
|
ІІ
|
20
|
Дублювальний прес TRS5050 «Примула»
|
|
11
|
Продублювати обшивки в бічні кишені
|
П
|
ІІ
|
19
|
Дублювальний прес TRS5050 «Примула»
|
|
12
|
Продублювати лінію входу в кишеню на передній
половинці штанів
|
П
|
ІІ
|
15
|
Дублювальний прес TRS5050 «Примула»
|
|
13
|
Продублювати листочки в задні кишені
|
П
|
ІІ
|
10
|
Дублювальний прес TRS5050 «Примула»
|
|
14
|
Продублювати вхід у кишеню на задніх
половинках штанів
|
П
|
ІІ
|
15
|
Дублювальний прес TRS5050 «Примула»
|
|
15
|
Обметати обшивку бічної кишені
|
С
|
ІІ
|
15
|
Машина для обметування 737F-50M1-15 “SIRUBA”
|
|
16
|
Обметати нижній припуск підкокетки передніх і
задніх половинок штанів
|
С
|
ІІ
|
60
|
Машина для обметування 737F-50M1-15 “SIRUBA”
|
|
Початкова обробка передніх половинок штанів
|
|
17
|
Зшити виточки на передніх половинках штанів
|
Н/а
|
ІІІ
|
51
|
«Пфафф» 3546-1/12
|
|
18
|
Запрасувати талієві виточки на передніх
половинках штанів в бік зрізу банту
|
Пр
|
ІІІ
|
50
|
Промисловий парогенератор PG036/1 LELIT
|
|
19
|
ВТО передніх половинок штанів
|
Пр
|
ІІІ
|
90
|
Промисловий парогенератор PG036/1 LELIT
|
|
20
|
Обметати бічні, крокові зрізи, бантів та
середній зрізи передніх половинок штанів
|
С
|
ІІІ
|
180
|
Машина для обметування 737F-50M1-15 “SIRUBA”
|
|
Початкова обробка задніх половинок штанів
|
|
21
|
Зшити виточки на задніх половинках штанів
|
Н/а
|
ІІІ
|
51
|
«Пфафф» 3546-1/12
|
|
22
|
Запрасувати талієві виточки на задніх
половинках штанів в бік середнього зрізу
|
Пр
|
ІІІ
|
50
|
Промисловий парогенератор PG036/1 LELIT
|
|
23
|
ВТО задніх половинок штанів
|
Пр
|
ІІІ
|
120
|
Промисловий парогенератор PG036/1 LELIT
|
|
24
|
Обметати бічні, крокові та середній зрізи
задніх половинок штанів
|
С
|
ІІІ
|
180
|
Машина для обметування 737F-50M1-15 “SIRUBA”
|
|
Обробка кишені на передніх половинках штанів
|
|
25
|
Настрочити обшивку на верхню частину підкладки
кишені
|
М
|
ІІ
|
40
|
Одноголкова універсальна машина АТ «Орша»
1022кл.
|
|
26
|
Пришити обшивки бокових кишень до передніх
половинок штанів, підкладаючи під строчки верхню частину підкладки кишень
|
М
|
IV
|
139
|
Одноголкова універсальна машина АТ «Орша»
1022кл.
|
|
27
|
Вивернути припуски шва обшивання входу в бічну
кишеню, виправити, утворюючи кант
|
Р
|
І
|
27
|
-
|
|
28
|
Припрасувати шов обшивання
|
Пр
|
ІІ
|
ІІ
|
Промисловий парогенератор PG036/1 LELIT
|
|
29
|
Настрочити припуски швів обшивання на обшивку
|
М
|
ІІІ
|
130
|
Одноголкова універсальна машина АТ «Орша»
1022кл.
|
|
30
|
Уточнити довжину лінії входу в кишеню,
суміщаючи зрізи верхньої частини підкладки кишені і нижньої
|
Р
|
ІІ
|
56
|
-
|
|
31
|
Настрочити передню половинку штанів на відрізний
бочок у верхній частині паралельно верхньому зрізу штанів та по бічному зрізу
|
М
|
ІІ
|
80
|
Одноголкова універсальна машина АТ «Орша»
1022кл.
|
|
32
|
Зшити зрізи підкладки кишені з одночасним
обметуванням зрізів і бічного зрізу відрізного бочка
|
С
|
ІІІ
|
121
|
«Juki» - МО-6745S-CD4-360/NO77
|
|
33
|
Припрасувати бічні кишені штанів в готовому
вигляді
|
Пр
|
ІІІ
|
74
|
Промисловий парогенератор PG036/1 LELIT
|
|
Обробка кишені на задніх половинках штанів
|
|
34
|
Запрасувати обшивку навпіл
|
П
|
ІІ
|
15
|
Промисловий парогенератор PG036/1 LELIT
|
|
35
|
Пришити обшивку до задньої половинки штанів
|
М
|
ІІ
|
90
|
Одноголкова універсальна машина АТ «Орша»
1022кл.Білорусь
|
|
36
|
Пришити підзор до задньої половинки штанів
|
М
|
ІІ
|
90
|
Одноголкова універсальна машина АТ «Орша»
1022кл.Білорусь
|
|
37
|
Розрізати вхід у кишеню
|
Р
|
ІІІ
|
125
|
Ножиці
|
|
38
|
Вивернути, виправити обшивку і підзор
|
Р
|
ІІ
|
66
|
-
|
|
39
|
Вифастригувати задню кишеню з обшивкою
|
Р
|
ІІ
|
250
|
Голка, нитка
|
|
40
|
Припрасувати задню кишеню
|
Пр
|
ІІ
|
50
|
Промисловий парогенератор PG036/1 LELIT
|
|
41
|
Пришити нижній зріз підзору до припусків пришивання
обшивки
|
М
|
ІІІ
|
90
|
Одноголкова універсальна машина АТ «Орша»
1022кл.Білорусь
|
|
42
|
Закріпити кути обшивки
|
М
|
ІІІ
|
92
|
Одноголкова універсальна машина АТ «Орша»
1022кл.Білорусь
|
|
43
|
Обметати підзор по бічних зрізах, верхньому і
нижньому зрізу
|
С
|
ІІІ
|
65
|
Машина для обметування 737F-50M1-15 “SIRUBA
|
|
44
|
Видалити нитки вифастригування
|
Р
|
І
|
30
|
Ножиці
|
|
45
|
Припрасувати задню кишеню в готовому вигляді
|
Пр
|
ІІ
|
50
|
Промисловий парогенератор PG036/1 LELIT
|
|
Монтаж виробу
|
|
46
|
Зшити правий бічний зріз штанів
|
М
|
ІІІ
|
87
|
Одноголкова універсальна машина АТ «Орша»
1022кл.Білорусь
|
|
47
|
Розпрасувати бічний зріз штанів
|
Пр
|
ІІІ
|
70
|
Промисловий парогенератор PG036/1 LELIT
|
|
48
|
Зшити крокові зрізи штанів
|
М
|
ІІІ
|
87
|
Одноголкова універсальна машина АТ «Орша» 1022
кл. Білорусь
|
|
49
|
Розпрасувати крокові зрізи штанів
|
Пр
|
ІІІ
|
70
|
Промисловий парогенератор PG036/1 LELIT
|
|
50
|
Зшити зріз банта і середній зріз передніх і
задніх половинок штанів з одночасним обметуванням зрізів
|
С
|
ІІ
|
80
|
Одноголкова універсальна машина АТ «Орша»
1022кл.
|
|
51
|
Запрасувати припуски зшивання зрізу банта і
середнього зрізу
|
Пр
|
ІІ
|
50
|
Промисловий парогенератор PG036/1 LELIT
|
|
Обробка верхнього зрізу і застібки
|
|
52
|
Зшити бічний зріз поясу-кокетки
|
М
|
ІІ
|
80
|
Одноголкова універсальна машина АТ «Орша»
1022кл.Білорусь
|
|
53
|
Пришити пояс-кокетку до передньої половинки
штанів
|
М
|
ІІІ
|
44
|
Одноголкова універсальна машина АТ «Орша»
1022кл.
|
|
54
|
Намітити місце розташування тасьми-блискавки
|
Р
|
ІІ
|
25
|
Крейда, лінійка
|
|
55
|
Пришити тасьму-блискавку
|
М
|
ІІІ
|
83
|
Одноголкова універсальна машина АТ «Орша»
1022кл.Білорусь Спеціальна лапка для пришивання тасьми-блискавки
|
|
56
|
М
|
ІІ
|
70
|
Одноголкова універсальна машина АТ «Орша»
1022кл.Білорусь
|
|
57
|
Розпрасувати припуски бічного шва
|
П
|
ІІІ
|
40
|
Промисловий парогенератор PG036/1 LELIT
|
|
58
|
Припрасувати тасьму-блискавку в готовому
вигляді
|
П
|
ІІІ
|
40
|
Промисловий парогенератор PG036/1 LELIT
|
|
59
|
Обшити пояс-кокетку під кокеткою, пришиваючи
її до бічних зрізів і застібки-блискавки з виворотного боку
|
М
|
ІІІ
|
146
|
Одноголкова універсальна машина АТ «Орша»
1022кл.Білорусь
|
|
60
|
Настрочити припуски обшивання на підкокетку
|
М
|
ІІІ
|
93
|
Одноголкова універсальна машина АТ «Орша»
1022кл.Білорусь
|
|
61
|
Вивернути пояс-кокетку, обшиту підкокеткою на
лицьовий бік
|
Р
|
ІІ
|
74
|
Кілочок
|
|
62
|
Припрасувати верхній зріз пояса-кокетки
|
Пр
|
ІІ
|
50
|
Промисловий парогенератор PG036/1 LELIT
|
|
Обробка низу штанів
|
|
63
|
Обметати зріз низу
|
С
|
ІІІ
|
120
|
Машина для обметування 737F-50M1-15 “SIRUBA”
|
|
64
|
Запрасувати підгин припуску
|
П
|
ІІ
|
63
|
Промисловий парогенератор PG036/1 LELIT
|
|
65
|
Підшити припуск
|
С
|
ІІІ
|
129
|
Одноголкова універсальна машина АТ «Орша»
1022кл.Білорусь, пристрій для підгину низу
|
|
66
|
Припрасувати низ штанів
|
П
|
ІІІ
|
65
|
Промисловий парогенератор PG036/1 LELIT
|
|
Оздоблення виробу
|
|
67
|
Запустити напівфабрикат в оздоблюючу ділянку
|
Р
|
ІІІ
|
67
|
Стіл ручний
|
|
68
|
Вивернути штани на лицьовий бік
|
Р
|
І
|
10
|
-
|
|
69
|
Почистити штани від виробничого сміття та
крейди
|
Р
|
ІІ
|
10
|
Стіл, ножиці, щітка
|
|
70
|
Видалити процесні талони з деталей штанів
|
Р
|
І
|
22
|
Кілочок
|
|
71
|
Кінцеве ВТО штанів
|
П
|
ІІІ
|
192
|
Паропровітряний маникен 8710 фірми «Вайт»
|
|
72
|
Повішати вішак на виріб
|
Р
|
І
|
12
|
Стіл ручний
|
|
73
|
Повішати штани на вішак
|
Р
|
І
|
8
|
Кронштейн
|
|
74
|
Запакувати штани в пакет і скомплектувати
|
Р
|
І
|
60
|
Стіл ручний, поліетиленовий пакет
|
|
|
|
|
|
|
|
|
|
Висновки
Метою курсового проекту була
розробка технологічної послідовності виготовлення жіночих штанів для
забезпечення їх конкурентоспроможності.
У результаті виконання роботи було обрано модель
жіночих штанів для повсякденного призначення.
Відповідно до цього був обраний асортимент основних матеріалів і пакет
прикладних матеріалів (підкладкові, прокладкові тканини; швейні нитки;
фурнітура), які повною мірою відповідають пред'явленим до виробу вимогам.
Відповідно до обраних матеріалів,
фурнітури та ниток підібрано обладнання та засоби малої механізації з урахуванням
сучасних досягнень в галузі технології виготовлення швейних виробів, які
суттєво впливають на процес виготовлення даного виробу. При виготовленні
обраного виробу було застосовано нове високопродуктивне обладнання та
вдосконалені методи обробки, які дозволили скоротити витрати часу виконання
окремих операцій на 15%, і, відповідно, підняти продуктивність праці на 33,9%.
Проаналізувавши можливі методи
обробки основних вузлів було вибрано варіанти, які є більш ефективними з
наступним розрахунком показників економічної ефективності та дозволяють значно
скоротити витрати часу на виконання операцій.
З урахуванням вибраних методів
обробки та обладнання було розроблено технологічну послідовність виготовлення
швейного виробу.
Таким чином, підсумком проведеної
роботи є розробка технологічної послідовності і побудова граф-процесу
виготовлення обраного виробу.
деталь режим модель швейний
Література
1.
ДСТУ 2027-92. Вироби швейні і трикотажні. Терміни та визначення. - На заміну
ГОСТ 13017-73; чинний від 1993-01-01. - К. : Держстандарт України, 1992. - 22
с.
.
ДСТУ 2023-91 Деталі швейних виробів. Терміни та визначення. - Чинний від
1993-01-01 - К. : Держспоживстандарт України, 1992. - 20 с.
.
ДСТУ 2162-93. Технологія швейного виробництва. Терміни та визначення. Чинний
від 1993-01-01. - К.: Держстандарт України, 1993. - 24 с.
.
Бондар К. І. Довідник швейного обладнання провідних фірм: Навч. посіб. / К. І.
Бондар, Т. Д. Терещенко, В. С. Дубач. - Хмельницький: ТУП, 2010. - 214 с.
.
Савостицкий Н.А. Материаловедение швейного производства / Н.А. Савостицкий,
Э.А. Эмирова. - Ростов-на-Дону:
Феникс, 2002. - 288 с.
.
Першина Л. Ф. Технология швейного производства / Л. Ф. Першина, С.
В.
Петрова. - М. : Легпромбытиздат, 1991. - 416 с.
.
Кокеткин П. П.
Промышленная технология одежды: Справочник / П.
П.
Кокеткин,
Т. Н. Кочегура, В.
И.
Барышникова. - М. : Легпромбытиздат, 1988. 640 с.
.
Реут Т.М. Технология изготовления швейных изделий по индивидуальным заказам: учеб.
для
сред. спец. учеб. заведений. - 2-е изд., перераб.
и доп. - М.: Легпромбытиздат, 1989. - 320 с.
.
Труханова А. Т. Основы промышленной технологии поузловой обработки легкой
женской и детской одежды: Учебник для средн. ПТУ. - М.: Легкая индустрия, 1985.
- 206 с.
.
Силаева М. А.
Пошив изделий по индивидуальным заказам: Учебник для нач. проф. образования
/
М.
А. Силаева. - 2-е изд.
- М.: Издетельский центр «Академия», 2003. - 528 с.
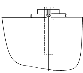
Додаток А
Рисунок А.1
- Обробка верхнього зрізу штанів поясом-кокеткою

І спосіб ІІ
спосіб
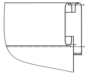
Рисунок А.2
- Обробка бічної кишені на передніх половинках штанів

І спосіб ІІ
спосіб
Рисунок А.3
- Обробка прорізної кишені з однією обшивкою

І спосіб ІІ
спосіб
Рисунок А.4
- Обробка потайної тасьми-блискавки у бічному зрізі

І спосіб ІІ
спосіб
Рисунок А.5
- Обробка низу штанів