Миксеры для временного хранения запаса жидкого чугуна

  • Вид работы:
    Реферат
  • Предмет:
    Другое
  • Язык:
    Русский
    ,
    Формат файла:
    MS Word
    512,2 Кб
  • Опубликовано:
    2016-02-05
Вы можете узнать стоимость помощи в написании студенческой работы.
Помощь в написании работы, которую точно примут!

Миксеры для временного хранения запаса жидкого чугуна

ОГЛАВЛЕНИЕ

ВВЕДЕНИЕ

. Устройство миксерных отделений

. Конструкция стационарных миксеров и их механизмов

2.1 Механизм открывания заслонки сливного носка

.2 Механизм открывания крышки заливочного отверстия

.3 Машины для скачивания шлака

. Передвижные миксеры

ЗАКЛЮЧЕНИЕ

БИБЛИОГРАФИЧЕСКИЙ СПИСОК


ВВЕДЕНИЕ

Миксеры предназначены для временного хранения запаса жидкого чугуна [1], благодаря чему создаются независимые от хода доменных печей условия работы сталеплавильных агрегатов.

Системы доставки жидкого чугуна из доменного цеха, хранения и его подачи к сталеплавильным агрегатам различаются в зависимости от типа применяемых миксеров - стационарных и передвижных. В системах со стационарными миксерами чугун из доменного цеха в миксерное отделение транспортируют составами несамоходных чугуновозов, заливку чугуна в миксеры осуществляют миксерными кранами, а от миксеров к сталеплавильным агрегатам чугун подают самоходными или несамоходными чугуновозами. В системах с передвижными миксерами, являющимися одновременно чугуновозами, чугун доставляют из доменного цеха локомотивами в отделение переплава, в котором из него заполняют ковш самоходных чугуновозов, подающих чугун к сталеплавильным агрегатам. При этом передвижной миксер находится в отделении переплава до конца полного слива, выполняя при этом функцию емкости для временного хранения чугуна.

Помимо своего основного назначения (хранения чугуна) в стационарных миксерах происходит выравнивание его температуры и химического состава, а при определенных условиях удаление вредных примесей.


. УСТРОЙСТВО МИКСЕРНЫХ ОТДЕЛЕНИЙ

На рисунке 1, а и б приведены план и разрез миксерного отделения с двумя миксерами вместимостью по 2500 т, входящего в состав кислородно-конвертерного цеха с конвертерами 350 т [1]. В миксерном отделении установлено два миксера 5, 10 с механизмами их поворота и механизмами открывания крышек заливочных отверстий и сливных носков, два миксерных (заливочных) крана 1, 11, машины 15 для скачивания шлака из миксеров, расположенные напротив сливных носков, машина 8 для скачивания шлака из чугуновозных ковшей, установки 16 для улавливания графита, весы 2 для взвешивания жидкого чугуна, стенды 7 для шлаковых ковшей и тельфер 17 для проведения ремонтных работ.


Рисунок 1 - План (а) и разрез (б) миксерного отделения

Система улавливания графита снабжена зондами, расположенными над заливочными отверстиями и сливными носками миксеров. Железнодорожные пути 3, 4 служат для подачи чугуновозов 14, прибывающих из доменного цеха. Рельсовые пути 12, 13 широкой колеи предназначены для передвижения самоходных чугуновозов 9, доставляющих чугун к конвертерам.




2. КОНСТРУКЦИЯ СТАЦИОНАРНЫХ МИКСЕРОВ И ИХ МЕХАНИЗМОВ

Конструкция миксера вместимостью 2500 т приведена на рисунке 2 [2].

Рисунок 2 - Стационарный миксер вместимостью 2500 т

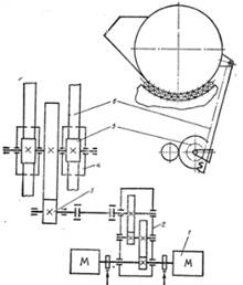
Корпус 1 миксера представляет собой металлический кожух, внутри футерованный огнеупорным кирпичом. Между кожухом и футеровкой помещен слой теплоизоляционного материала. Кожух образуют клепаная цилиндрическая обечайка и два торцевых сферических днища 2, изготовленных из гнутого листового металла. Для удобства проведения работ, связанных с ломкой и кладкой футеровки миксера, днища выполняются отъемными и соединяются с обечайкой болтами. В верхней части днищ предусмотрены смотровые окна 13, закрываемые крышками, и установлены газовые горелки 3 для подогрева чугуна. Заливочное отверстие миксера снабжено быстросменяемой футерованной обоймой и сверху закрывается поворотной крышкой 6, уравновешенной противовесом. Сливной носок 16 выложен внутри огнеупорным кирпичом, обогревается газовой горелкой и закрывается заслонкой 17.

Опорно-поворотная часть состоит из двух эксцентричных опорных бандажей 18, закрепленных на корпусе миксера, двух обоим 19 с опорными роликами и дугообразных опор 20, установленных на фундаменте. В каждой обойме заключены шестнадцать чередующихся ребордных и безребордных роликов. Бандажи выполнены секционной конструкции. Каждый бандаж состоит из четырех частей, соединенных болтами. Между собой бандажи связаны винтовыми стяжками.

Эксцентричные бандажи смещают геометрический центр корпуса миксера на 140 мм ниже оси вращения и на такую же величину по направлению к носку. Вследствие этого, при повороте миксера на слив металла возникает восстанавливающий момент от веса корпуса и металла, обеспечивающий его самовозвращение в исходное положение при прекращении подачи электроэнергии или выходе из строя механизма поворота. Разжатие колодок тормоза в приводе осуществляется рычажно-канатным механизмом 4 ручного управления тормозами. Ограничение возвратного хода миксера и фиксирование корпуса при проведении капитальных ремонтов производятся пружинными буферными устройствами, установленными на дугообразных опорах. Поворот миксера осуществляют реечным механизмом 12, состоящим из узла 11 реечной качающейся обоймы и привода 7. Приводы всех механизмов миксера расположены в стороне от корпуса на фундаментных рамах в безопасном и удобном для обслуживания месте.

Крышка заливочного отверстия миксера поворачивается механизмом, состоящим из барабанной лебедки 9 и канатной системы 14 с направляющими блоками, установленными на верхней площадке корпуса. Лебедка снабжена электродвигателем, тормозом и цилиндрическим редуктором. Механизм перемещения заслонки носка миксера состоит из барабанной лебедки 10, каната 15 и системы направляющих блоков. Вращение барабан получает от электродвигателя через червячный редуктор.

Газ в горелки поступает от цеховой магистрали, а воздух подается вентилятором 8. Подвод газа и воздуха осуществляется трубопроводами, расположенными по оси вращения миксера, через вертлюговые соединения 5 и разводку труб на корпусе.

Реечный механизм поворота миксера показан на рисунке 3.

В этом механизме имеется два узла - приводной и реечный, соединенные между собой промежуточным валом 3 с зубчатыми муфтами. Приводной узел состоит из двух реверсивных электродвигателей 1 постоянного тока, двухступенчатого цилиндрического редуктора 2 и двух тормозов. Реечный узел установлен на массивной фундаментной раме по середине корпуса и состоит из открытой передачи 3, на выходном валу которой закреплены приводные шестерни 5, входящие в зацепление с зубчатыми рейками 6. Последние верхними концами шарнирно соединены с проушинами на кожухе миксера. При вращении приводных шестерен рейки получают поступательное движение, поворачивая миксер на роликовых опорах. Качающиеся обоймы 4 посажены свободно на выходной вал и обеспечивают правильное зацепление реечных передач при различных углах наклона реек.

Рисунок 3 - Кинематическая схема реечного механизма поворота миксера

Из двух электродвигателей привода один является рабочим, а второй - резервным с независимой панелью управления. В случае выхода из строя одного из электродвигателей работает второй. Привод снабжен командоаппаратами, дающими команду на остановку электродвигателя при достижении миксером предельных углов поворота.

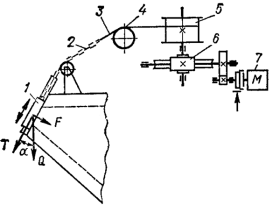
.1 Механизм открывания заслонки сливного носка

Рисунок 4 - Кинематическая схема механизма открывания заслонки сливного носка миксера

Привод открывания механизма заслонки сливного носка (рисунок 4) обеспечивает перемещение заслонки 1 в его направляющих. Лебедка, установленная на рабочей площадке, включает электродвигатель 7, червячно-цилиндрический редуктор 6, барабан 5. Канат 3, огибая блоки соединяется посредством цепи 2 с заслонкой.

.2 Механизм открывания крышки заливочного отверстия

Привод механизма открывания и закрывания крышки заливочного отверстия (рисунок 5) устанавливается на фундаментной площадке. Он состоит из электродвигателя 8, червячного редуктора 9, открытой зубчатой пары 7 и барабана 6. Канат 4 сначала огибает блок 5, установленный на кожухе миксера по оси поворота, затем систему блоков 3 на верхней площадке и соединяется с крышкой 1 при помощи цепи 2. Один из блоков 3 обеспечивает движение верхней ветви каната 4 по радиусу, что предохраняет от произвольного открывания крышки при повороте миксера.

Рисунок 5 - Кинематическая схема открывания крышки заливочного отверстия миксера

.3 Машины для скачивания шлака

Длительное пребывание чугуна в контакте со шлаком и попадание его в сталеплавильный агрегат приводит к переходу серы из шлака в металл. Кроме того скачивание шлака улучшает условия десульфурации чугуна, повышения стойкости футеровки и продолжительности кампании миксера и чугуновозных ковшей.

В миксерах для скачивания шлака применяют скребковые машины. Машина (рисунок 6) состоит из рамы 9, на которой установлена тележка 8 с вертикальными направляющими 7, и механизма передвижения тележки 6. Гребок 1 закреплен на каретке 5, перемещающейся вращением винта 4 по вертикальным направляющим. Привод винта осуществляется электродвигателем 3 через червячный редуктор 2. С поверхности чугуна гребок удаляет шлак через сливной носок миксера при передвижении тележки. Механизм передвижения тележки состоит из электродвигателя, червячного и цилиндрического редукторов и цепной передачи.

Рисунок 6 - Машина для скачивания шлака из миксера

Для миксера вместимостью 2500 т применяют модернизированную машину. Она установлена стационарно, винтовой механизм перемещения каретки заменен кривошипно-ползунным, увеличена мощность электродвигателей подъема каретки и перемещения тележки.

Несмотря на усовершенствования конструкции машины для скачивания шлака из миксера они пока работают неэффективно, не обеспечивают полного удаления шлака, их надежность недостаточна. Поэтому шлак приходится удалять из чугуновозных ковшей.

Скачивание шлака из чугуновозных ковшей обычно производят в миксерных отделениях с использованием шлакоскачивающих машин. Однако при большом объеме чугуна, доставляемого в кислородно-конвертерные цехи, наметилась тенденция строительства отдельных шлакоскачивающих отделений, располагаемых в непосредственной близости к миксерным отделениям и оснащенных шлакоскачивающими машинами гидравлического типа. В настоящее время для скачивания шлака из ковшей в отечественных сталеплавильных цехах используют в основном машины канатного типа, за рубежом - гидравлические.

Гидравлическая машина для скачивания шлака из ковшей (рисунок 7), разработанная институтом ВНИИМехчермет, обладает рядом преимуществ по сравнению с машиной канатного типа - большая гибкость в работе, лучшие условия управления машиной и наблюдения за процессом скачивания шлака, использование гидравлических приводов механизмов.

Механизмы машины обеспечивают следующие движения гребка: горизонтальное возвратно-поступательное движение (ход В = 5500 мм), подъем гребка на высоту 700 мм при ходе вперед и его опускание в слой шлака перед рабочим ходом, поворот гребка в горизонтальной плоскости в обе стороны от центрального положения на 20°.

Поворотная платформа 15 снабжена четырьмя гладкими роликами 14, помещенными между верхним 20 и нижним 19 опорными кольцами, закрепленными в основании 13. Горизонтальные нагрузки воспринимает центральная ось 16, на которую посажена на подшипниках платформа. Поворот платформы осуществляется горизонтальным качающимся гидроцилиндром 17 двухстороннего действия, шарнирно соединенным с основанием и платформой. На платформе закреплены две колонны 6, между которыми помещена стрела 3, связанная с кареткой. Последняя снабжена восемью ребордными роликами 7, опирающимися на направляющие колонн.

Рисунок 7 - Машина для скачивания шлака из ковшей

Механизм вертикального перемещения стрелы имеет два гидроцилиндра 18 двухстороннего действия, шарнирно связанных со стрелой и платформой.

Трубчатая штанга 5, несущая гребок 1, опирается в передней части стрелы на роликовую опору, состоящую из двух пар цилиндрических опорных роликов 2, заключенных в балансиры. Задний конец штанги снабжен четырьмя опорными роликами 9, расположенными под углом 90° друг к другу и опирающимися на внутреннюю поверхность трубчатой стрелы. Для выбора зазоров ролики выполнены подпружиненными. В концевой головке штанги и сверху штанги закреплены двухсторонние пружинные амортизаторы; к амортизатору 8 присоединены концы тяговой пластинчатой цепи 4. Приводная звездочка 10 получает вращение от гидродвигателя 12 через понижающую цепную передачу 11. Холостая звездочка 21 имеет винтовое натяжное устройство.

Тяговое усилие на гребке - 30 кН, скорость перемещения гребка - 0,3-1,2 м/с, скорость стрелы - 0,15 м/с, продолжительность скачивания шлака из ковша - 3-5 мин, масса машины 8,9 т.

миксер чугун поворотный сталеплавильный

3. ПЕРЕДВИЖНЫЕ МИКСЕРЫ

Передвижной миксер вместимостью 420 т [3] (рисунок 8) состоит из корпуса 9 сигарообразной формы, выложенного внутри огнеупорным кирпичом, приводного 8 и неприводного 12 опорных узлов, механизма поворота с навесным приводом, ходовой части с тормозной системой, кабины 4 и системы централизованной смазки. Корпус миксера сварной конструкции изготовлен из пяти обечаек - трех цилиндрических (центральных) и двух конических (концевых). К корпусу с торцов приварены приводная и неприводная цапфы. В цилиндрической части корпуса выполнены заливочное окно 10, к раме которого приварен сменный носок для слива чугуна, и два вспомогательных окна 11, используемых при кладке, ломке и сушке футеровки. В рабочем состоянии миксера вспомогательные окна закрыты футерованными крышками. Снизу к корпусу приварены кронштейны 14 для его подъема домкратами при проведении ремонтов опорных узлов.

Рисунок 8 - Передвижной миксер вместимостью 420 т

Каждый опорный узел по кинематической структуре представляет собой пространственный шарнир, в котором корпус с двумя коническими роликоподшипниками опирается на две колонны со сферическими подпятниками, в результате чего компенсируются угловые перекосы ходовых тележек в горизонтальной плоскости.

Механизм поворота миксера снабжен навесным многодвигательным приводом, состоящим из тихоходного редуктора 7, насаженного на приводную цапфу, четырех быстроходных трехступенчатых редукторов 6, посаженных на выходные концы валов-шестерен тихоходного редуктора и четырех электродвигателей 5 со встроенными тормозами. Корпуса быстроходных редукторов фиксируются по отношению к корпусу тихоходного редуктора пружинными буферами со сферическими шарнирами. Корпус тихоходного редуктора связан с платформой ходовой тележки посредством вертикального пружинного буферного устройства. Применение в приводе электродвигателей постоянного тока с широким диапазоном регулирования скорости вращения обеспечивает поворот миксера с частотой, изменяющейся от 0,02 до 0,5 мин-1. Конструкции опор и навесного привода механизма поворота миксера аналогичны подобным узлам конвертера вместимостью 350 т. Для наблюдения (на пульте управления в отделении перелива чугуна) за скоростью и углом поворота миксера его привод снабжен тахогенераторами и сельсин-датчиками. Привод и приводной опорный узел закрыты кабиной с футерованной крышей для их защиты от брызг металла и действия атмосферных осадков.

Ходовая часть миксера состоит из двух ходовых восьмиосных тележек, тормозной системы с пневматическими колодочными тормозами и автосцепки 13 железнодорожного типа. Ходовые тележки связывает непосредственно усиленный корпус миксера, играющий роль рамы.

Каждая ходовая тележка собрана из четырех двухосных тележек 3 железнодорожного типа, связанных попарно шарнирами с промежуточными балансирами 2. Последние в свою очередь шарнирно соединены с главным балансиром (платформой) 1. Двухосные тележки установлены на роликоподшипниках с центральной рессорной подвеской. Балансирная конструкция ходовой части обеспечивает равномерное распределение давлений колесных пар на рельсовый путь.

Угол поворота миксера для полного слива чугуна - 95°, полный - ±180°, масса миксера без футеровки - 306 т.

Увеличение вместимости передвижных миксеров позволяет улучшить технико-экономические показатели - снизить удельные капитальные затраты, уменьшить коэффициент тары и сократить потери теплоты. Миксер вместимостью 600 т (рисунок 9) предназначен для приемки всей плавки доменной печи объемом 5500 м3 и транспортировки внутри завода жидкого чугуна из доменного цеха в конвертерный по железнодорожному пути. Основными узлами и механизмами миксера являются: корпус 3, имеющий внутри огнеупорную кладку, два опорных узла 2, механизм поворота с приводом 6 и поводком 5, ходовая часть с тормозной системой и система централизованной смазки механизмов. Корпус миксера выполнен ступенчатой цилиндрической формы с двумя переходными коническими участками и снабжен съемными сферическими днищами 1.

Рисунок 9 - Передвижной миксер вместимостью 600 т

Металлоконструкция корпуса состоит из ряда гнутых листовых обечаек, сваренных между собой. Средняя часть изготовлена из металла большей толщины с целью придания корпусу повышенной жесткости. По центру корпуса установлена литая горловина 4 с двумя сливными носками. По обе стороны от горловины в средней части корпуса предусмотрены два окна, закрываемых крышками и служащих для подачи материалов при кладке футеровки. В местах стыковки крышек корпус усилен кольцевыми поясами жесткости. Создание напряженного соединения крышек с корпусом, не раскрываемого под действием ферростатического давления и динамических воздействий жидкого чугуна при разгоне и торможении миксера, достигают их предварительным сжатием посредством специального гидравлического устройства. Применение в конструкции корпуса отъемных днищ позволяет механизировать на специальном стенде ломку и уборку изношенной футеровки с применением машин и ускорить проведение футеровочных работ.

Ходовая часть состоит из двух ходовых двенадцатиосных тележек 8, связанных корпусом миксера. Каждая ходовая тележка включает в себя четыре трехосных тележки 7, соединенных между собой и с платформой системой вспомогательных балансиров, которые обеспечивают равномерное распределение нагрузок между скатами и вписывание тележек в кривые железнодорожного пути. Трехосные тележки снабжены буксами с роликоподшипниками. Тормозная система оснащена пневматическими колодочными тормозами с односторонним нажатием.

Опорно-поворотная часть миксера состоит из двух бандажей, насаженных на корпус миксера, и двух роликоопор, включающих опорные и упорные ролики. Каждый бандаж опирается на четыре ролика, попарно установленных в балансирах и служащих для восприятия вертикальных нагрузок от веса корпуса и жидкого металла. Балансирная подвеска опорных роликов обеспечивает их равномерное нагружение. Горизонтальные тяговые и инерционные нагрузки воспринимают четыре упорных ролика, попарно расположенных с боковых сторон бандажа и также заключенных в балансиры. Бандажи выполнены эксцентричной формы и закреплены на корпусе со смещением 25 мм по отношению к его геометрической оси. Этим создается при повороте восстанавливающий момент от веса корпуса и жидкого металла, обеспечивающий самовозвращение миксера в исходное положение при отказе в работе привода. Бандажи защищены от попадания металла и шлака, а также от воздействия атмосферных осадков съемными экранами.

В механизме поворота миксера применен полунавесной привод (рисунок 10) со стационарным тихоходным редуктором 1, установленным на платформе ходовой тележки, и четырьмя навесными быстроходными редукторами 2, посаженными на хвостовики валов-шестерен 3 тихоходного редуктора. Быстроходные трехступенчатые редукторы связаны зубчатыми муфтами с электродвигателями 9 со встроенными тормозами. Использование электропривода постоянного тока позволяет регулировать частоту вращения миксера в пределах 0,02 - 0,5 мин-1. Корпуса быстроходных редукторов связаны с корпусом тихоходного редуктора пружинными буферами 5. Приводные шестерни тихоходного редуктора находятся в зацеплении с общим зубчатым колесом 4. На выходной вал 13 тихоходного редуктора посажен поводок 14, несущий на оси 8 захваты 7. Ролики 6 захватов входят в продольные направляющие кронштейнов, приваренных к корпусу миксера.

Рисунок 10 - Механизм поворота передвижного миксера

Поводковый механизм обеспечивает равномерное распределение нагрузок между пальцами корпуса, компенсирует взаимное перемещение привода и корпуса за счет наклона тяг в шарнирах, поворот торсионного вала в подшипниках балки, а также для разгрузки крышки и быстрого демонтажа.

Рисунок 11 - Опорно-поворотный узел миксера

Ограничение предельного угла поворота миксера производится двумя командоаппаратами 12, из которых один дублирующий. Дистанционная передача угла поворота миксера на пульт управления осуществляется сельсин-датчиком 10. Последний получает вращение вместе с командоаппаратом от вала шестерни тихоходного редуктора через кинематический редуктор 11. Скорость поворота миксера определяется тахогенераторами, соединенными с выходными валами быстроходных редукторов. Тахогенераторы для надежности дублируют работу друг друга. Привод механизма поворота миксера сверху закрыт кабиной.

Бандажи корпуса 600-тонного миксера опираются на катки опор, каждая из которых установлена на шкворне рамы двенадцатиосной тележки. Опора состоит из основания 1 (рисунок 11), на цапфах которого смонтированы блоки балансиров с катками 3 и роликами 2. Колесные пары установлены на подшипниках качения. На каждом конце блока балансиров установлена пара катков, объединенных траверсой; в верхней части имеется шкворень с подвижно установленными двумя парами роликов 2.


Миксеры предназначены для временного хранения запаса жидкого чугуна, благодаря чему создаются независимые от хода доменных печей условия работы сталеплавильных агрегатов.

В системах со стационарными миксерами чугун из доменного цеха в миксерное отделение транспортируют составами несамоходных чугуновозов, заливку чугуна в миксеры осуществляют миксерными кранами, а от миксеров к сталеплавильным агрегатам чугун подают самоходными или несамоходными чугуновозами. В системах с передвижными миксерами, являющимися одновременно чугуновозами, чугун доставляют из доменного цеха локомотивами в отделение переплава, в котором из него заполняют ковш самоходных чугуновозов, подающих чугун к сталеплавильным агрегатам. При этом передвижной миксер находится в отделении переплава до конца полного слива, выполняя при этом функцию емкости для временного хранения чугуна.

Помимо своего основного назначения (хранения чугуна) в стационарных миксерах происходит выравнивание его температуры и химического состава, а при определенных условиях удаление вредных примесей.

БИБЛИОГРАФИЧЕСКИЙ СПИСОК

1. Механическое оборудование металлургических заводов. Механическое оборудование конвертерных и мартеновских цехов: Учебник / В.М. Гребеник, Ф.К. Иванченко, Б.А. Павленко и др. - К.: Вища шк., 1990. - 288 с.: ил.

. Машины и агрегаты металлургических заводов. В 3-х томах. Т. 2. Машины и агрегаты сталеплавильных цехов. Учебник для вузов / Целиков А.И., Полухин П.И., Гребеник В.М. и др. 2-е изд., перераб. и доп. - М.: Металлургия, 1988. - 432 с.

. Механическое оборудование сталеплавильных цехов / М.В. Левин, В.Я. Седуш, В.И. Мачикин и др. - Киев; Донецк: Вища шк. Головное изд-во, 1985. - 168 с.

Похожие работы на - Миксеры для временного хранения запаса жидкого чугуна

 

Не нашли материал для своей работы?
Поможем написать уникальную работу
Без плагиата!
Без нейросетей!