Организация работы автоконтрольного пункта автотормозов (АКП) пассажирского вагонного депо

  • Вид работы:
    Дипломная (ВКР)
  • Предмет:
    Транспорт, грузоперевозки
  • Язык:
    Русский
    ,
    Формат файла:
    MS Word
    1,71 Мб
  • Опубликовано:
    2015-06-27
Вы можете узнать стоимость помощи в написании студенческой работы.
Помощь в написании работы, которую точно примут!

Организация работы автоконтрольного пункта автотормозов (АКП) пассажирского вагонного депо

Содержание

Введение

. Технологическая часть

.1 Назначение, состав, расположение и технологическая связь автоконтрольного пункта с другими подразделениями

.2 Расчет производственной программы автоконтрольного пункта и параметров производственного процесса

.3 Установление режима работы автоконтрольного пункта и обоснование метода ремонта

.4 Разработка технологического процесса ремонта воздухораспределителя

.5 Выбор потребного оборудования, подъемно-транспортных устройств, средств механизации и автоматизации

.6 Разработка плана размещения оборудования и определение основных размеров автоконтрольного пункта

.7 Расчет контингента работников автоконтрольного пункта

.8 Расчет потребного количества материалов, покупных полуфабрикатов и сырья

.9 Описание и расчет применяемых систем энергоснабжения, вентиляции и канализации в автоконтрольном пункте

.10 Разработка схемы управления автоконтрольным пунктом

.11 Разработка механизированного приспособления для ремонта воздухораспределителя и определение его экономической эффективности

. Охрана труда

.1 Разработка санитарно-гигиенических условий труда в автоконтрольном пункте

.2 Разработка мероприятий по технике безопасности

.3 Разработка мероприятий по противопожарной безопасности

.4 Мероприятия по охране окружающей среды

. Реальная часть

.1 Назначение, конструкция и принцип работы штангена базового размера

.2 Определение себестоимости штангена базового размера

Заключение

Библиографический список

Введение

Вагонное хозяйство железных дорог России представляет собой сложное многоотраслевое хозяйство, в состав которого входят железные дороги и предприятия, а также административно-хозяйственные, культурно-бытовые и медицинские учреждения, научные и учебные институты, техникумы, школы.

Главной задачей вагонного хозяйства является полное удовлетворение потребности государства в перевозках грузов и пассажиров. Для выполнения этой задачи в первую очередь необходимо иметь такой вагонный парк, который по своему техническому уровню и условиям прочности отвечал бы перспективным требованиям эксплуатации, кроме того, необходимо иметь такую систему ремонта и технического содержания вагонов, которая бы обеспечила надежную работу вагона в период между плановыми ремонтами.

Значение автотормозной техники все больше возрастает по мере повышения максимальных скоростей движения и увеличения веса поездов.

Для обеспечения бесперебойного действия автотормозной техники подвижного состава в сложных метеорологических условиях и при большой грузонапряженности много делают работники АКП, постоянно совершенствуя технологию ремонта тормозного оборудования, обеспечивая высокую надежность и устойчивость его действия в поездах.

В современных условиях эксплуатации и на ближайшую перспективу особое значение приобретает автоматизация обслуживания различных узлов тормозной системы, приспособление ее для дистанционного управления с машинистом и другими устройствами.

Для успешного решения этих задач необходимо всемерно расширять и укреплять творческое содружество инженерно-технических работников тормозо-строительных заводов, линейных предприятий вагонного и локомотивного хозяйств, а также научных работников, связанных с созданием и эксплуатацией автотормозной техники. Требуется также всесторонне и критически изучать опыт зарубежных стран и вести углубленную научно-исследовательскую работу для создания более совершенных перспективных тормозных систем.

ОАО «РЖД» занимает исключительно важное положение в российской экономике. На железную дорогу приходится 80% грузовых перевозок и 40% пассажирских перевозок. Поскольку от работы железной дороги зависит развитие экономики даже не регионов, а целых частей страны, ОАО «РЖД» поставило перед собой следующие задачи: создание инфраструктурных условий потенциальных точек роста, преодоление критического уровня износа основных фондов, ликвидация технического отставания в железнодорожной технике. На данный момент мы можем наблюдать завершение инновационного этапа. На сегодняшний день ускорена модернизация подвижного состава, нижнее ограничение скорости повышено до 60 км/ч, построено более 3 000 км железных дорог, электрифицировано около 3 000 км железных дорог.

Также предусматривается внедрение глобальной навигационной системы ГЛОНАСС на железных дорогах, цифровой связи радиочастотного диапазона 900 МГц, создание системы моделирования процесса движения в режиме реального времени, а также создание подвижного состава и инфраструктуры движения поездов со скоростью 350 км/ч.

С 2016 года запланировано динамичное расширение сети железных дорог: строительство 22,3 тысяч км железных дорог, увеличение контейнерного транзита до 1 млн. контейнеров в год.

Таким образом, вагонное хозяйство железных дорог, развивая современную техническую базу для обслуживания и ремонта вагонов, приобретает прочную индустриальную основу для обеспечения высокого уровня работоспособности вагонного парка в современных и перспективных условиях его эксплуатации.

От четкой, слаженной работы автоконтрольного пункта во многом зависят бесперебойность и безопасность движения поездов, своевременное обеспечение перевозок технически исправным подвижным составом. Надёжность и эффективность работы вагонного парка без преувеличения можно назвать основой экономики всей железнодорожной отрасли.

1. Технологическая часть

.1 Назначение, состав, расположение и технологическая связь автоконтрольного пункта с другими подразделениями

Автоконтрольный пункт тормозов (АКП) предназначен для ремонта тормозного оборудования, снятого с вагонов при плановых видах ремонта и техническом обслуживании вагонов. Отделение, где ремонтируют компрессоры, оборудованы подъемно-транспортными средствами, станками токарными, сверлильными и для шлифовки колец, дефектоскопами для выявления трещин в деталях, измерительными, слесарными и специальными инструментами.

АКП обеспечиваются сжатым воздухом с давлением не ниже 0,7 Мпа. При АКП обычно имеется компрессорное отделение, обеспечивающие потребности в воздухе и пунктов технического обслуживания (ПТО) вагонов. Рядом с АКП располагаются главные резервуары объемом не менее 5 м3, которые соединены с разводящей воздухопроводной сетью. Трубопроводы прокладывают с уклоном 0,003 - 0,005, для сбора влаги устанавливают конденсационные баки.

При укладке наземных трубопроводов предусматривают температурные компенсаторы с учетом возможных деформаций воздухопровода при изменении температуры. Применяют преимущественно П-образные компенсаторы с радиусом изгиба труб не менее четырех их диаметров. Диаметр трубопровода выбирают таким, чтобы в самом удаленном месте при максимальном расходе сжатого воздуха давление не снижалось более чем на 0,05 Мпа по сравнению с расчетным в месте подключения к главному резервуару.

В состав АКП входят следующие отделения:

наружной очистки;

разборки тормозных приборов;

ремонта ВР, ТЦ, тормозной арматуры, соединительных рукавов;

испытания тормозных приборов;

кладовая готовых тормозных приборов;

комната отдыха;

комната мастера;

механическое;

компрессорное.

АКП пассажирского депо расположен по одной стороне вдоль ВСУ со следующими цехами (отделениями): отделением ремонта автосцепки (КПА), участком с радиоотделением, участком ремонта холодильного оборудования вагонов, отделением ремонта устройств отопления и водоснабжения, кровельно-жестяницким отделением, столярным отделением, обойно-стекольным отделением, отделением ремонта устройств кондиционирования воздуха и слесарно-механическим отделением.

Для выполнения работ по ремонту тормозных приборов отделения АКП оснащены технологическим оборудованием и инструментом согласно перечню и укомплектован штатом квалифицированных слесарей. Руководят работой АКП мастер автоматно-заготовительного участка и бригадир по испытанию тормозных приборов. АКП работает в одну смену.

Технология ремонта тормозных приборов производится в полном соответствии с технологическими картами.

Ремонт тормозного оборудования осуществляется при строгом обеспечении следующих основных условий:

неисправные воздухораспределители, краны, соединительные рукава и другие детали автотормоза заменяют заранее отремонтированными или новыми;

при ремонте тормозного оборудования выполняются требования правил ремонта тормозного оборудования и технических указаний на ремонт и изготовление вагонных деталей;

ремонтная бригада обеспечивается комплектом необходимого инструмента и технологической оснастки;

труд бригады по ремонту тормозного оборудования организуется согласно настоящего технологического процесса при строгом соблюдении техники безопасности и промышленной санитарии;

обеспечивается не снижаемый технологический запас основных деталей, узлов и материалов путем правильной организации работы автоматно-заготовительного участка.

Ремонт тормозного оборудования, не демонтированного с вагонов при их ремонте (тормозные цилиндры, запасные, дополнительные, рабочие резервуары и воздухопровод), производят слесаря по ремонту тормозного оборудования, которые входят в комплексную бригаду, ремонтирующую вагоны в вагоносборочном участке депо (ВСУ) и работают под руководством мастера и бригадира ВСУ.

Все остальные детали и узлы тормозного оборудования слесаря ВСУ снимают с вагонов и отправляют в АКП.

Основным условием обеспечения высокого качества ремонта является строгое соблюдение Инструкции по ремонту тормозного оборудования, а также технических указаний на изготовление и ремонт деталей и узлов. Исполнители работ по ремонту тормозного оборудования осуществляют самоконтроль качества выполняемых работ. Постоянный контроль качества ремонта в процессе ремонта и по его окончанию осуществляют:

- на АКП (мастер и бригадир);

- на вагоне (бригадир и мастер ВСУ).

Начальник пассажирского вагонного депо, заместитель начальника по ремонту, приёмщик вагонов, мастер периодически осуществляют контроль качества ремонта тормозного оборудования в АКП, а в ВСУ производят приёмку отремонтированного вагона и сдачу его приёмщику вагонов, который производит окончательную приёмку отремонтированного вагона.

1.2 Расчет производственной программы автоконтрольного пункта и параметров производственного процесса

Фронт работ определяется по формуле:

Фр. = , (1)

где N - годовая программа в вагонах;

t - простой вагона в ремонте;

n - число смен;

Fоб.д. - действительный годовой фонд времени работы оборудования.

Фр. =  = 8,54 (воз.)

Принимаю 9 воздухораспределителей. Действительный годовой фонд времени работы оборудования определяется по формуле:

Fоб.д. = Fн.  kр., (2)

где Fн. - номинальный фонд времени работы оборудования;

kр. - коэффициент, учитывающий простой оборудования, по техническим неисправностям и в ремонте (0,95 - 0,98).

Fоб.д. = 1 971  0,95 = 1 872,45 (час.)

Принимаю 1 872,45 час.

Номинальный годовой фонд работы оборудования определяется по формуле:

Fн. = (Дкал - Дпр - Двых)  t см - Дпред.пр., (3)

где Дкал - количество календарных дней в году; Дпр - количество праздничных дней в году; Двых - количество выходных дней в году; tсм - продолжительность рабочей смены; Дпред.пр.- количество предпраздничных дней в году.

Fн. = (365 - 118)  8 - 6 = 1 971 (час.)

Корректировка годовой программы:

N = , (4)

N =  = 2 106,51 (воз.)

Принимаю 2 106 воздухораспределителей.

Месячная программа ремонта определяется по формуле:

Nм. = , (5)

где 12 - количество месяцев в году.

Nм. =  = 175,5 (воз.)

Принимаю 176 воздухораспределителей.

Суточная программа ремонта определяется по формуле:

Nсут. = , (6)

где b - количество рабочих дней в году.

Nсут. =  = 8,63 (воз.)

Принимаю 9 воздухораспределителей.

Сменная программа ремонта определяется по формуле:

Nсм. = , (7) Nсм. =  = 9 (воз.)

Ритм выпуска продукции определяется по формуле:

R = , (8)

R =  = 1,12 (воз./час.)

Такт выпуска продукции определяется по формуле:

Т = , (9)

где а - количество единиц выпускаемой продукции одновременно.

Т  = 0,89 (час.)

Все полученные данные сводятся в таблицу 1.

Таблица 1 Программы ремонта

N, воз.

Nм., воз.

Nсут., воз.

Nсм., воз.

2 106

176

9

9


1.3 Установление режима работы автоконтрольного пункта и обоснование метода ремонта

Под режимом работы понимают определенное чередование времени работы и отдыха.

Понятие режим работы определяет: прерывность или непрерывность производства, число рабочих дней в году и в неделе, число праздничных дней в году, продолжительность рабочей недели в часах, число смен работы в сутки, продолжительность смены в часах.

При выборе режима роботы для депо следует исходить из 40-часовой прерывной двухсменной пятидневной рабочей недели.

В вагонных депо, их участках и отделениях могут быть использованы следующие режимы работы:

.        Ежедневная двухсменная пятидневная рабочая неделя с двумя выходными и продолжительностью смены 8 часов;

.        Скользящий график с чередованием двух дней работы и двух дней отдыха, в две или одну смену продолжительностью 12 часов;

.        Круглосуточная работа - день, ночь по 12 часов и отдыхом после ночной смены 48 часов.

Для АКП установлен следующий режим работы:

Ежедневная односменная пятидневная рабочая неделя с двумя выходными и продолжительностью смены 8 часов.

Ремонт тормозных приборов в современных АКП организован по поточному методу.

При поточном методе ремонта весь технологический процесс осуществляют на поточных линиях. Сборочные узлы и детали собираются из отремонтированных или новых деталей. Сборку тормозных приборов осуществляют из готовых (собранных) и испытанных деталей. Линии ремонта, сборки и проверки узлов и деталей размещают в технологической последовательности.

Поточный метод ремонта характеризуется непрерывностью технологического процесса, обеспечивающего ритмичность производства, что достигается:

расчленением технологического процесса ремонта на равные или кратные по трудоемкости и продолжительности операции;

закреплением операций за рабочими местами;

одновременным выполнением операции на рабочих местах;

передачей с минимальными перерывами ремонтируемых деталей с одного рабочего места на другое.

Этот метод ремонта обеспечивает высокую производительность работы ремонтного предприятия, широкую специализацию оборудования и производственных рабочих, механизацию и автоматизацию процесса ремонта деталей, благодаря чему продолжительность простоя вагонов в ремонте и его стоимость ремонта сокращаются.

Поточно-узловой метод ремонта отличается от поточного тем, что на общей линии осуществляют сборку узлов только из готовых отремонтированных и испытанных деталей, полученных из других отделений.

Поточный метод ремонта осуществляется специализированными бригадами.

1.4 Разработка технологического процесса ремонта воздухораспределителя

Процесс ремонта ВР состоит из следующих этапов:

обмывка и обдувка;

разборка;

дефектация узлов и деталей;

устранение дефектов;

сборка;

испытание.

Рабочее место для ремонта ВР должно быть оснащено специальными приспособлениями и инструментом для их разборки и сборки, средствами контроля деталей и узлов, стендом для испытания ВР.

Рабочее место для ремонта воздухораспределителей должно быть организовано с учетом требований ГОСТ 12.2.033-78 «ССБТ. Рабочее место при выполнении работ стоя. Общие эргономические требования», ГОСТ 12.2.032-78 «ССБТ. Рабочее место при выполнении работ сидя. Общие эргономические требования»; ГОСТ 12.2.049-80 «ССБТ. Оборудование производственное. Общие эргономические требования».

Разборку, сборку, проверку деталей ВР, их испытание должны производить аттестованные работники.

Рабочее место и приспособления для ремонта ВР, стенды для их испытания должны отвечать требованиям безопасности в соответствии с ГОСТ 12.2.061-81 «Оборудование производственное. Общие требования безопасности к рабочим местам» и ГОСТ 12.2.003-91 «ССБТ. Оборудование производственное. Общие требования безопасности».

При ремонте ВР необходимо соблюдать общие меры безопасности и все меры безопасности, оговоренные в эксплуатационной документации на приспособления и стенды, применяемые при этом.

Все поступающие в ремонт ВР должны быть снаружи очищены от пыли, грязи и другого загрязнения. ВР, поступившие в ремонт с заводскими пломбами и прослужившие не более 1,5 лет со времени их изготовления, не имеющие наружных повреждений и сильного загрязнения, а также подлежащие постановке на вагон новые с заводской пломбой, срок хранения, которых превышает 6 месяцев со времени их изготовления, должны быть испытаны без предварительной их обмывки и ремонта.

При положительных результатах испытания на прибор должна быть установлена бирка с сохранением заводской пломбы. В случае отрицательных результатов испытания на прибор должен быть составлен акт-рекламация, а заводу-изготовителю установленным порядком должны быть предъявлены претензии.

Отремонтированные ВР, срок хранения которых превышает 6 месяцев со времени их ремонта, могут быть установлены на вагон только после испытания их при условии удовлетворительных результатов.

Все остальные ВР поступившие в ремонт должны быть очищены снаружи, способом струйной обмывки горячей водой 55-70 С под давлением не менее 0,3 МПа (3 кгс/см2) в специальных моечных установках. Допускается при сильном загрязнении производить наружную обмывку приборов с применением 3-5% раствора каустической соды технической ГОСТ 5100-85 или водного раствора «Ламбомида» с последующей промывкой их чистой водой. Не допускается применение для наружной очистки керосина, бензина и других агрессивных веществ. При обмывке, для защиты от попадания во внутрь корпуса ВР воды или растворов, ВР должен быть защищен специальным щитком со стороны привалочного фланца, а на патрубок ускорителя должен быть надет колпак.

После обмывки ВР следует разобрать, все узлы и детали протереть технической салфеткой без ворса, дроссельные отверстия и воздушные каналы прочистить капроновой нитью и продуть сжатым воздухом.

Все фильтры и пылеулавливающие сетки ВР после его разборки в соответствии с технологическим процессом, соблюдая технику безопасности, промыть керосином и продуть сжатым воздухом.

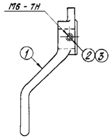
Разборка ВР 292:

ВР 292 установить в приспособлении для сборки-разборки.

Рис. 1 Воздухораспределитель 292

1 - магистральная часть, 2 - болт костыльковый с гайкой, 3 - прокладка, 4 - крышка с фильтром, 5 - ускоритель, 6 - болт костыльковый с гайкой, 7, 8 - прокладка.

Отвернуть гайки костыльковых болтов 2 и удалить их; отделить магистральную часть 1 от крышки с фильтром 4; отвернуть гайки костыльковых болтов 6 и удалить их; отделить магистральную часть 1 от ускорителя 5; снять прокладки 3, 7, 8. Разборка магистральной части:

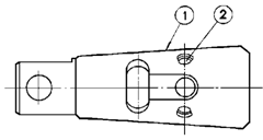
Магистральную часть воздухораспределителя 292 установить в приспособлении для разборки.

Рис. 2 Магистральная часть

- золотник, 2 - пружина, 3 - пружина или пружина с роликами, 4 - золотник в сборе, 5 - поршень в сборе с кольцом, 6 - кольцо поршневое, 7 - штифт-ось, 8 - ниппель атмосферный, 9 - пружина, 10 - заглушка-упорка, 11 - втулка пробки, 12 - пробка переключателя, 13 - винт М6 х 10 ГОСТ 1476-93, 14 - ручка, 15 - фильтр в сборе, 16 - втулка золотниковая, 17 - фильтр в сборе, 18 - пружина, 19 - упорка, 20 - упорка, 21 - корпус со втулками.

Из корпуса 21 вынуть фильтр 15; вывернуть упорку 19 и снять фильтр 17, удалить пружину 18 и упорку 20; вывести из корпуса 21 поршень 5 с пружинами 2 и 3, с золотниками 1 и 4; из золотника 4 вынуть штифт-ось 7 и снять пружину 3, снять с поршня 5 золотники 1 и 4, удалить пружину 2; снять с поршня 5 кольцо поршневое 6; из корпуса 21 вывернуть ниппель атмосферный 8; вывернуть винт 13 и снять ручку 14; из корпуса 21 вывернуть заглушку упорку 10 и удалить пружину 9, вынуть из втулки пробки 11 пробку переключателя 12.

После разборки внутренние полости корпуса 21 промыть и продуть сжатым воздухом. Фильтры 15 и 17 промыть и продуть сжатым воздухом.

Разборка крышки с фильтром:

Крышку с фильтром установить в приспособлении для разборки.

Рис. 3 Крышка с фильтром

- толкатель, 2 - пружина, 3 - фильтр, 4 - заглушка крышки, 5 - заглушка, 6 - крышка.

Отвернуть заглушку крышки 4; вынуть из корпуса крышки 6 фильтр 3, пружину 2, толкатель 1; отвернуть заглушку 5.

После разборки внутренние полости крышки 6 промыть и продуть сжатым воздухом. Фильтр 3 промыть и продуть сжатым воздухом.

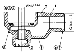
Разборка ускорителя:

Ускоритель установить в приспособлении для разборки.

Рис. 4 Ускоритель

- пружина, 2 - втулка поршневая, 3 - поршень, 4 - манжета, 5 - гайка накидная, 6 - наконечник, 7 - прокладка, 8 - фильтр, 9 - втулка направляющая, 10 - уплотнение клапана, 11 - гнездо, 12 - пружина, 13 - корпус ускорительной части в сборе, 14 - прокладка.

Вынуть пружину 1 из поршня 3; удалить из корпуса ускорителя 13 втулку поршневую 2, поршень 3 с манжетой 4, пружину 12, гнездо 11 с направляющей 9 и уплотнением клапана 10; вывернуть направляющую 9 из гнезда 11 и удалить уплотнение 10; удалить из поршня 3 манжету 4; отвернуть гайку 5 и вынуть из корпуса ускорителя 13 прокладку 14 и фильтр 8; удалить из гайки 5 прокладку 7 и наконечник 6.

После разборки ускорителя полости корпуса ускорительной части 13 промыть и продуть сжатым воздухом. Фильтр 8 промыть и продуть сжатым воздухом.

Ремонт и замена деталей и узлов ВР 292 должны производиться в соответствии с требованиями Инструкции по ремонту тормозного оборудования вагонов.

Выбраковываются детали ВР, имеющие дефекты не подлежащие восстановлению.

Требования на дефектацию.

Пружины сжатия:

Дефектацию пружины произвести в соответствии с таблицей 2.

Рис. 5 Пружина сжатия

Проконтролировать силовые параметры пружины: по двум заданным высотам пружины определить усилия сжатия. Проверку необходимо производить на машине для испытания пружин, имеющей следующие параметры:

диапазон измерения нагрузки от 1 до 100Н (от 0,1 до 10кгс),

предел измерения высоты пружины не менее 100мм,

предел относительной погрешности измерения силы 2,5%,

предел погрешности измерения высоты пружины 0,25мм.

Таблица 2 Дефекты пружин сжатия

№ дефекта

Возможный дефект

Метод установления дефекта и средство его измерения

Заключение и рекомендуемые методы ремонта

1.

Отколы, трещины, изломы

Визуальный осмотр

Пружину заменить

2.

Просадка пружины

Штангенциркуль ШЦ-I-125-0,1 ГОСТ 166-89 Машина для испытания пружин МИП-1110/2,5

Пружину заменить


В случае если результаты контроля не совпадают с данными диаграммы, пружину необходимо заменить.

Допускается контролировать пружину по ее просадке. Для этого необходимо измерить высоту пружины в свободном состоянии Н0.

В случае, если результаты контроля не совпадают с номинальными параметрами, пружину необходимо заменить.   

Пружины кручения:

Рис. 6 Пружина кручения

- ролик, 2 - пружина.

Дефектацию пружины произвести в соответствии с таблицей 3.

Таблица 3 Дефекты пружин кручения

№ дефекта

Возможный дефект

Метод установления дефекта и средство его измерения

Заключение и рекомендуемые методы ремонта

1.

Отколы, трещины, изломы

Визуальный осмотр

Пружину заменить

2.

Просадка пружины

Штангенциркуль ШЦ-I-125-0, 1 ГОСТ 166-89

Пружину заменить

3.

Отколы и трещины роликов

Визуальный осмотр

Пружину заменить


Проконтролировать силовые параметры пружины, как показано на рисунке 7.

Рис. 7 Контроль силового параметра пружины

В случае если результаты контроля не совпадают с данными таблицы 4, пружину необходимо заменить.

Таблица 4 Контрольные значения параметров пружин кручения

Номер пружины

d, мм

D, мм

n=n1

L, мм

h, мм

P, Н (кгс)

292.141-1

1,4

6,3

3

70,5

8,5

49 - 78,4 (58)

292.038

1,4

6,3

3

70,5

3,5

49 - 68,6 (57)


Резиновые изделия (прокладки, уплотнения и манжеты, кольца).

Не допускаются к применению резиновые изделия имеющие:

разрывы;

трещины;

подрезы;

разбухания;

расслоения;

кольцевые выработки более 0,3 мм.

Не зависимо от состояния, при просроченном сроке годности резиновое изделие заменить.

Сроки годности резиновых изделий:

манжеты всех типов в тормозных приборах - 3 года;

прокладки (уплотнения) всех типов в тормозных приборах - 5 лет;

кольца уплотнительные в тормозных приборах- 3 года.

Рис. 8 Корпус: 1 - корпус магистральный, 2 - втулка золотниковая, 3 - втулка поршневая, 4 - втулка пробки.

Срок службы резиновых изделий исчисляют от даты изготовления (рельефный оттиск на детали), не считая год изготовления.

Резиновые изделия, не пригодные к эксплуатации или срок годности которых истекает в гарантийный межремонтный период, при плановых ремонтах и ревизиях заменить новыми.

Прокладки, уплотнения и кольца уплотнительные, не имеющие клейма - оттиска с датой изготовления, ставить в тормозной прибор в зависимости от состояния.

Корпус:

Дефектацию корпуса произвести в соответствии с таблицей 5.

Таблица 5 Дефекты корпуса

№ дефекта

Возможный дефект

Метод установления дефекта и средство его измерения

Заключение и рекомендуемые методы ремонта

1.

Отколы, трещины

Визуальный осмотр

Заменить корпус

2.

Срыв резьбы

Визуальный осмотр

Заменить корпус

3.

Засорены отверстия 1,25+0,05 мм и подходящий канал к отверстиям

Визуальный осмотр, продувка воздухом

Прочистить и продуть сжатым воздухом отверстия и подходящий канал

4.

Изменение отверстия поршневой втулки 3 по диаметру

Калибр чертеж Т287.00 ПКБ ЦВ МПС

Заменить корпус если диаметр отверстия более 1,35 мм

5.

Засорены каналы и полости корпуса 1

Визуальный осмотр

Каналы и полости корпуса прочистить и продуть сжатым воздухом

6.

Не плотность запрессовки поршневой втулки 3

Визуальный осмотр. Проверить при сборке

Заменить корпус

7.

Износ по диаметру поршневой втулки 3

Нутромер НИ-50-100 - 1 ГОСТ 868-82

Отремонтировать корпус

8.

Конусность поршневой втулки 3

Нутромер НИ-50-100 - 1 ГОСТ 868-82

При разности диаметров, замеренных по концам втулки, более 0,06 мм корпус ремонтировать

9.

Овальность поршневой втулки 3

Нутромер НИ-50-100 - 1 ГОСТ 868-82

При разности диаметров, замеренных перпендикулярно относительно друг друга, более 0,04 мм корпус ремонтировать

10.

Риски, задиры, заусенцы поршневой втулки 3

Визуальный осмотр

Ремонтировать корпус

11.

Не плотность запрессовки золотниковой втулки 2

Визуальный осмотр. Проверить при сборке

Заменить корпус

12.

Риски, задиры, заусенцы золотниковой втулки 2

Визуальный осмотр. Нутромер НИ-18-50 - 1 ГОСТ 868-82

Ремонтировать корпус

13.

Не плотность запрессовки втулки пробки 4

Визуальный осмотр. Проверить при сборке

Заменить корпус

14.

Риски, задиры, заусенцы втулки пробки 4

Визуальный осмотр

Ремонтировать корпус



Произвести по следующим ремонтным градациям обработку втулок развертками в зависимости от износа по диаметру: градация - 89,25+0,07 мм;градация - 89,50+0,07 мм;градация - 89,75+0,07 мм.

В соответствии с этими размерами втулок при сборке подбирать по диаметру кольца магистрального поршня. При диаметре поршневой втулки более 90,5 мм корпус заменить.

Риски, задиры, заусенцы и местные износы поршневой втулки корпуса, при необходимости, вывести шлифовальными брусками ГОСТ 2456-82, зачистить шкуркой шлифовальной тканевой ГОСТ 5009-82 или бумажной ГОСТ 6456-82.

Поршень с кольцом в сборе:

Рис. 9 Поршень с кольцом в сборе

- поршень, 2 - кольцо поршневое.

Дефектацию поршня с кольцом в сборе произвести в соответствии с таблицей 6.

Таблица 6 Дефекты поршня с кольцом в сборе

№ дефекта

Возможный дефект

Заключение и рекомендуемые методы ремонта

1.

Отколы, трещины поршня 1

Визуальный осмотр

Заменить поршень

2.

Разработка канавки поршня 1, наличие задиров и забоин

Набор щупов ТУ2-034-0221197-011-91

Ремонтировать

3.

Износ поршня 1 по диаметру

Штангенциркуль ШЦ-1-150-0,05 ГОСТ 166-89

Поршень с диаметром менее 88 мм заменить

4.

Засорено отверстие 2 +0,12 на цилиндрической поверхности торцевой проточки поршня 1 со стороны хвостовика

Визуальный осмотр

Прочистить и продуть отверстие сжатым воздухом

5.

Изменение отверстия по диаметру на цилиндрической поверхности торцевой проточки поршня 1 со стороны хвостовика

Калибр чертеж Т287.00 ПКБ ЦВ МПС

Поршень заменить при диаметре отверстия более 2,1 мм

6.

Наличие рисок, задиров и забоин на торцевой поверхности поршня 1

Визуальный осмотр

Ремонтировать

7.

Биение хвостовика штока поршня 1

Головка мод. 1МИГ ГОСТ 9696-82

При биении хвостовика более 1 мм ремонтировать

8.

Износ кольца поршневого 2 по диаметру

Штангенциркуль ШЦ-1-150-0,05 ГОСТ 166-89

Кольцо поршневое с диаметром менее 88,2 мм заменить

9.

Увеличен зазор в замке кольца поршневого 2

Набор щупов ТУ2-034-0221197-011-91

Ремонтировать

10.

Отколы, трещины кольца поршневого 2

Визуальный осмотр

Кольцо заменить


При необходимости вывести шлифовальными брусками ГОСТ 2456-82, зачистить шкуркой шлифовальной тканевой ГОСТ 5009-82 или бумажной ГОСТ 6456-82. При наличии забоин опрессовать поршень с применением калиброванных полуколец толщиной 2,8 мм. При разработке канавки более 3,2 мм поршень заменить.

Поршень установить в механизм вращения. Поворачивая поршень в механизме вращения проверить биение хвостовика по индикаторной головке мод. 1МИГ ГОСТ 9696-82 установленной в стойке или штативе по ГОСТ 10197-70. При биении хвостовика штока поршня более 1 мм хвостовик выправить. При невозможности выправить - заменить.

Зазор в замке кольца поршневого, надетого на магистральный поршень должен быть не более 1,5 мм. При большем зазоре кольцо заменить. При установке нового поршневого кольца в поршень при сборке деталей зазор в рабочем состоянии должен быть выдержан не менее 0,01мм и не более 0,4 мм.

Золотник с заглушками:

Рис. 10 Золотник с заглушками

- золотник - 1 шт., 2 - заглушка 2 3,5 х 3,5 СТП 217-72 - 2 шт., 3 - заглушка - 1 шт.

Дефектацию золотника с заглушками произвести в соответствии с таблицей 7.

При необходимости вывести шлифовальными брусками ГОСТ 2456-82, зачистить шкуркой шлифовальной тканевой ГОСТ 5009-82 или бумажной ГОСТ 6456-82.

Таблица 7 Дефекты золотника с заглушками

№ дефекта

Возможный дефект

Метод установления дефекта и средство его измерения

Заключение и рекомендуемые методы ремонта

1, 2.

Риски, задиры, заусенцы

Визуальный осмотр

Ремонтировать золотник

3, 4, 5, 6.

Засорены дроссельные отверстия и каналы золотника

Визуальный осмотр, продувка воздухом

Прочистить и продуть отверстия и каналы сжатым воздухом

7.

Засорены канавки золотника

Визуальный осмотр, продувка воздухом

Удалить загрязнения канавок, промыть и продуть сжатым воздухом


Пробка переключательная:

Рис. 11 Переключательная пробка

Дефектацию пробки переключательной произвести в соответствии с таблицей 8.

Таблица 8 Дефекты переключательной пробки

№ дефекта

Возможный дефект

Метод установления дефекта и его средство измерения

Заключение и рекомендуемые методы ремонта

1.

Риски, задиры, заусенцы

Визуальный осмотр

Отремонтировать пробку переключательную

2.

Засорены отверстия пробки

Визуальный осмотр, продувка воздухом

Прочистить и продуть отверстия сжатым воздухом


При необходимости зачистить шкуркой шлифовальной тканевой ГОСТ 5009-82 или бумажной ГОСТ 6456-82.

Заглушка-упорка:

Рис. 12 Заглушка-упорка

Дефектацию заглушки-упорки произвести в соответствии с таблицей 9.

Таблица 9 Дефекты заглушки-упорки

№ дефекта

Возможный дефект

Метод установления дефекта и его средство измерения

Заключение и рекомендуемые методы ремонта

1.

Отколы, трещины

Визуальный осмотр

Заменить заглушку-упорку

2.

Срыв резьбы

Визуальный осмотр

Заменить заглушку-упорку


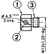
Ниппель атмосферный:

Рис. 13 Атмосферный ниппель

Дефектацию ниппеля атмосферного произвести в соответствии с таблицей 10.

Таблица 10 Дефекты ниппеля атмосферного

№ дефекта

Возможный дефект

Метод установления дефекта и его средство измерения

Заключение и рекомендуемые методы ремонта

1.

Отколы, трещины

Визуальный осмотр

Заменить ниппель атмосферный

2.

Срыв резьбы

Визуальный осмотр

Заменить ниппель атмосферный

3.

Засорены атмосферные отверстия ниппеля 6,5+0,36 мм

Визуальный осмотр. Продувка воздухом

Прочистить и продуть отверстия сжатым воздухом


Ручка:

Рис. 14 Ручка

Дефектацию ручки произвести в соответствии с таблицей 11.

Таблица 11 Дефекты ручки

№ дефекта

Возможный дефект

Метод установления дефекта и его средство измерения

Заключение и рекомендуемые методы ремонта

1.

Отколы, трещины

Визуальный осмотр

Заменить ручку

2.

Срыв резьбы

Визуальный осмотр

Заменить ручку


Штифт-ось:

Рис. 15 Штифт-ось

Дефектацию штифта-оси произвести в соответствии с таблицей 12.

Таблица 12 Дефекты штифта-оси

№ дефекта

Возможный дефект

Метод установления дефекта и его средство измерения

Заключение и рекомендуемые методы ремонта

1.

Изломы, трещины

Визуальный осмотр

Заменить штифт-ось

2.

Изогнутость

Визуальный осмотр

Выправить в оправке


Упорка:

Рис. 16 Упорка

Дефектацию упорки произвести в соответствии с таблицей 13.

Таблица 13 Дефекты упорки

№ дефекта

Возможный дефект

Метод установления дефекта и его средство измерения

Заключение и рекомендуемые методы ремонта

1.

Отколы, трещины

Визуальный осмотр

Заменить упорку

2.

Срыв резьбы

Визуальный осмотр

Заменить упорку


Крышка:

Рис. 17 Крышка

Дефектацию крышки произвести в соответствии с таблицей 14.

Таблица 14 Дефекты крышки

№ дефектаВозможный дефектМетод установления дефекта и его средство измеренияЗаключение и рекомендуемые методы ремонта




1.

Отколы, трещины

Визуальный осмотр

Заменить крышку

2, 3.

Срыв резьбы

Визуальный осмотр

Заменить крышку


Заглушка крышки:

Рис. 18 Заглушка

Дефектацию заглушки крышки произвести в соответствии с таблицей 15.

Таблица 15 Дефекты заглушки

№ дефектаВозможный дефектМетод установления дефекта и его средство измеренияЗаключение и рекомендуемые методы ремонта




1.

Отколы, трещины

Визуальный осмотр

Заменить заглушку

2.

Срыв резьбы

Визуальный осмотр

Заменить заглушку


Толкатель:

Рис. 19 Толкатель

Дефектацию толкателя произвести в соответствии с таблицей 16.

Таблица 16 Дефекты толкателя

№ дефектаВозможный дефектМетод установления дефекта и его средство измеренияЗаключение и рекомендуемые методы ремонта




1.

Отколы, трещины

Визуальный осмотр

Заменить толкатель


Корпус ускорительной части:

Рис. 20 Корпус ускорительной части

- корпус ускорительной части, 2 - уплотнение клапана, 3 - втулка.

Дефектацию корпуса ускорительной части произвести в соответствии с таблицей 17.

Таблица 17 Дефекты корпуса ускорительной части

№ дефекта

Возможный дефект

Метод установления дефекта и его средство измерения

Заключение и рекомендуемые методы ремонта

1.

Отколы, трещины корпуса 1

Визуальный осмотр

Заменить корпус

2.

Забоины, вмятины на седле втулки 2

Визуальный осмотр

Заменить корпус

3.

Заусенцы и задиры на внутренней поверхности втулки 3

Визуальный осмотр

Зачистить шкуркой шлифовальной тканевой ГОСТ 5009-82 или бумажной ГОСТ 6456-82

4.

Износ отверстия втулки 2

Нутромер НИ-10-18 - 1 ГОСТ 868-82

Корпус заменить при размере диаметра втулки более 16,5 мм

5.

Разбухания, трещины, расслоения уплотнения клапана 2. Отслоения уплотнения клапана 2 от корпуса 1

Визуальный осмотр

Заменить уплотнение

6.

Срыв резьбы корпуса 1

Визуальный осмотр

Заменить корпус

7.

Забита резьба корпуса 1

Визуальный осмотр

Прорезать резьбу G17/8” - В головкой резьбонарезной трубной ТУ 3925-003-45560363-83


Замену уплотнения клапана проводить в следующем порядке:

удалить уплотнение клапана;

очистить и продуть сжатым воздухом место под уплотнение;

новое уплотнение клапана зачистить протереть и поставить в гнездо корпуса ускорителя на клей 88-СА ТУ105 1760-89.

Поршень в сборе:

Рис. 21 Поршень в сборе

- поршень, 2 - манжета 135.05.21А

Дефектацию поршня в сборе произвести в соответствии с таблицей 18.

Таблица 18 Дефекты поршня в сборе

№ дефекта

Возможный дефект

Метод установления дефекта и его средство измерения

Заключение и рекомендуемые методы ремонта

1.

Отколы, трещины поршня 1

Визуальный осмотр

Заменить поршень


Задиры и заусенцы поверхности поршня 1

Визуальный осмотр

Зачистить шкуркой шлифовальной тканевой ГОСТ 5009-82 или бумажной ГОСТ 6456-82

2.

Засорены отверстия поршня 1: 0,8 мм и 1,5 мм

Визуальный осмотр, продувка воздухом

Прочистить и продуть отверстия сжатым воздухом

3.

Разрывы, подрезы, трещины, разбухания манжеты 2

Визуальный осмотр

Заменить манжету


Гнездо в сборе:

Рис. 22 Гнездо в сборе

1 - гнездо, 2 - уплотнение клапана.

Дефектацию гнезда в сборе произвести в соответствии с таблицей 19.

Таблица 19 Дефекты гнезда в сборе

№ дефекта

Возможный дефект

Метод установления дефекта и его средство измерения

Заключение и рекомендуемые методы ремонта

1.

Срыв резьбы гнезда 1

Визуальный осмотр

Заменить гнездо

2.

Разрывы, трещины, разбухания, расслоения уплотнения клапана

Визуальный осмотр

Заменить уплотнение клапана


Втулка поршневая:

Рис. 23 Втулка поршневая

Дефектацию втулки поршневой произвести в соответствии с таблицей 20.

Таблица 20 Дефекты поршневой втулки

№ дефекта

Возможный дефект

Метод установления дефекта и его средство измерения

Заключение и рекомендуемые методы ремонта

1.

Отколы, трещины

Визуальный осмотр

Заменить поршневую втулку

2.

Риски, заусенцы и задиры на внутренней поверхности втулки

Визуальный осмотр

Зачистить шкуркой шлифовальной тканевой ГОСТ 5009-82 или бумажной ГОСТ 6456-82


Гайка накидная 216.1494 А:

Рис. 24 Гайка накидная 216.1494 А

Дефектацию гайки накидной 216.1494 А произвести в соответствии с таблицей 21.

Таблица 21 Дефекты гайки накидной 216.1494 А

№ дефекта

Возможный дефект

Метод установления дефекта и его средство измерения

Заключение и рекомендуемые методы ремонта

1.

Трещины, отколы

Визуальный осмотр

Заменить гайку

2.

Срыв резьбы

Визуальный осмотр

Заменить гайку


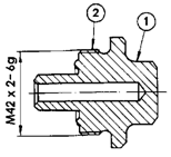
Наконечник 216.1495 Б:

Рис. 25 Наконечник 216.1495 Б

Дефектацию наконечника 216.1495 Б произвести в соответствии с таблицей 22.

Таблица 22 Дефекты наконечника 216.1495 Б

№ дефектаВозможный дефектМетод установления дефекта и его средство измеренияЗаключение и рекомендуемые методы ремонта




1.

Трещины, отколы

Визуальный осмотр

Заменить наконечник

2.

Срыв резьбы

Визуальный осмотр

Заменить наконечник


Фильтр грубой очистки:

Рис. 26 Фильтр грубой очистки

Дефектацию фильтра грубой очистки произвести в соответствии с таблицей 23.

Таблица 23 Дефекты фильтра грубой очистки

Возможный дефект

Метод установления дефекта и его средство измерения

Заключение и рекомендуемые методы ремонта

1.

Разрывы сетки и изломы обоймы

Визуальный осмотр

Заменить фильтр

2.

Вмятины сетки

Визуальный осмотр

Выправить на оправке

3.

Забиты отверстия сетки

Визуальный осмотр

Промыть и продуть сжатым воздухом

Фильтр 145.02 в сборе:

Рис. 27 Фильтр 145.02 в сборе

1 - кольцо 145.02.03, 2 - сетка фильтра 145.02.05, 3 - обойма наружная, 4 - набивка фильтра , 5 - обойма внутренняя.

Дефектацию фильтра 145.02 в сборе произвести в соответствии с таблицей 24.

Таблица 24 Дефекты фильтра 145.02 в сборе

№ дефекта

Возможный дефект

Метод установления дефекта и его средство измерения

Заключение и рекомендуемые методы ремонта

1.

Разрывы и деформации наружной обоймы и других составных частей фильтра

Визуальный осмотр

Заменить фильтр


Сборка ВР 292:

При сборке ВР 292 и его узлов запрещается устанавливать обезличенные детали и узлы: при сборке должны устанавливаться только те детали и узлы, которые стояли в ней до разборки, за исключением замененных из-за неисправностей.

Сборка крышки с фильтром:

Крышку с фильтром (рис. 3) установить в приспособлении для сборки. Сборку производить в последовательности обратной разборке: завернуть заглушку 5; установить в корпус крышки 6 толкатель 1 с пружиной 2, фильтр 3: завернуть заглушку крышки 4.

Сборка ускорителя:

Ускоритель (рис. 4) установить в приспособлении для сборки. Сборку производить в последовательности обратной разборке:

установить в гайку 5 прокладку 7 и наконечник 6;

установить в корпус ускорителя 13 фильтр 8 и прокладку 14;

завернуть на корпус ускорителя 13 гайку 5 с прокладкой 7 и наконечником 6;

установить манжету 4 на поршень 3;

установить уплотнение 10 в гнездо 11, ввернуть направляющую 9 в гнездо 11;

установить во втулку поршневую 2 поршень 3 с манжетой 4;

установить в поршень 3 гнездо 11 с пружиной 12;

установить в корпус ускорителя 13 втулку поршневую 2 в сборе;

установить пружину 1 в поршень 3.

При сборке поверхности втулок, а также посадочные поверхности клапанов смазать тормозной смазкой.

Сборка магистральной части ВР 292:

Перед сборкой, используя пасту ГОИ-54п ГОСТ 3276-89, притереть узлы и детали (рис. 28):

Б - золотник 292.014 к золотнику 292.106;

В - золотник 292.014 к втулке золотниковой 292.102 корпуса магистральной части;

Г - кольцо поршневое 216.1442 А поршня к поршневой втулке корпуса магистральной части;

Д - пробку переключательную к втулке пробки корпуса магистральной части с применением станка притирочного.

По завершению притирки удалить пасту технической салфеткой без ворса.

При сборке смазать тонким слоем тормозной смазкой притертые поверхности: золотника 292.014 и золотника 292.106, золотника 292.014 и втулки золотниковой, втулки пробки и пробки переключательной. Также смазать втулку поршневую. Кольцо поршневое 216.1442 А не смазывать.

Сборка:

Рис. 28 Магистральная часть

При сборке магистральную часть ВР 292 установить в приспособление для сборки. Сборку производить в последовательности обратной разборке:

установить во втулку пробки 11 корпуса 21 пробку переключателя 12, пружину 9;

завернуть в корпус 21 заглушку упорку 10;

установить на пробку переключателя 12 ручку 14 и завернуть винт 13;

завернуть в корпус 21 ниппель атмосферный 8;

установить в золотник 1 пружину 2 установить на поршне 5 с кольцом поршневым 6 золотник 1 с пружиной 2 и золотник 4;

установить в золотник 4 штифт-ось 7 с надетой пружиной 3;

ввести в корпус 21 собранный поршень 5 с поршневым кольцом 6, пружинами 2 и 3,золотниками 1 и 4;

При установке собранного поршня поршневое кольцо 6 плотно пригнать по втулке магистрального корпуса и канавке поршня 5, чтобы оно перемещалось и полностью прилегало к рабочей поверхности втулки. Зазор в замке старого поршневого кольца 6 в рабочем состоянии должен быть не более 1,5 мм. Зазор в замке нового поршневого кольца 6 в рабочем состоянии должен быть выдержан не менее 0,01мм и не более 0,4 мм.

установить упорку 20, пружину 18, фильтр 17;

завернуть упорку 19;

установить в корпуса 21 фильтр 15.

Проверка сборки магистральной части:

Проверку ВР 292 проводить в приспособлении.

Плотность поршневого кольца 6 магистральной части поршня в сборе с золотниками 1 и 4, проводить на приспособлении. Поршень установить поочередно в крайнее отпускное положение, но с перекрытием питательного отверстия, в среднее и крайнее тормозные положения на расстоянии 3 мм от прокладки. Если величина снижения давления в резервуаре объемом 8 л в каждом из трех положений не превышает 0,1 МПа (1,0 кгс/см2) (измеряется с 0,5 до 0,4 МПа (с 5,0 до 4,0 кгс/см2)) в течение 70 с, то плотность поршня считается удовлетворительной.

Поршень с золотниками должен перемещаться во втулке под усилием не более 60 Н (6,0 кгс).

Проверить обмыливанием плотность переключательной пробки при давлении не менее 0,6 МПа (6,0 кгс/см2). Между корпусом и втулкой пропуска воздуха не должно быть, а между втулкой и пробкой допускается образование мыльного пузыря, удерживающегося не менее 10 с. Одновременно проверить открытие каналов переключательной пробки при всех положениях.

Сборка узлов ВР 292:

Магистральную часть ВР (рис. 2) установить в приспособлении для сборки-разборки. Сборку производить в последовательности обратной разборке:

установить прокладку 3 на крышку с фильтром 4;

установить костыльковые болты 2 в корпус магистральной части 1;

надеть крышку с фильтром 4 на костыльковые болты 2 и свинтить корпус магистральной части 1 с крышкой с фильтром 4;

установить костыльковые болты 6 в корпус ускорителя 5 и надеть прокладку 7;

надеть магистральную часть 1 на костыльковые болты 6 и свинтить корпус магистральной части 1 с ускорителем 5;

с противоположной стороны ручки и противоположной стороны патрубка установить бирку;

установить на корпус магистральной части 1 прокладку 8.

На установленной бирке должны быть указаны номер АКП и дата ремонта (месяц и две последние цифры года).

Каждый отремонтированный ВР должен быть испытан на функционирование. При испытании ВР должны быть проверено:

время зарядки запасного резервуара;

плотность золотников и седла клапана ускорителя экстренного торможения;

действие ВР при ступени торможения;

действие ВР при служебном и экстренном торможениях в режимах короткосоставный и длинносоставный;

времени отпуска ВР после экстренного торможения в режимах короткосоставный и длинносоставный;

проверка мягкости действия ВР.

Испытание ВР производить на стенде унифицированной конструкции. При проведении испытания ВР на автоматических устройствах с регистрацией параметров испытания проводить в соответствии с руководством по эксплуатации на это устройство. При этом автоматическое устройство должно быть допущено к применению Департаментом пассажирских сообщений.

ВР, не выдержавший испытание, возвратить на позицию ремонта для устранения неисправностей. После чего он должен быть испытан по полной программе.

После проверки на стенде унифицированной конструкции результаты испытания должны быть записаны в журнале ВУ-47. После проверки на автоматическом устройствах с регистрацией параметров результаты испытаний, сохранять в памяти ПЭВМ, а также в печатном виде. В журнале ВУ-47 записывается дата и номер принятого прибора с росписью мастера или бригадира.

После испытаний на ВР проверить наличие установленной бирки с указанием даты ремонта и клейма, присвоенного АКП или отделению. Опломбировать тормозной прибор. Установить на фланце предохранительный щиток, а на входном патрубке ускорителя - колпачок на время хранения и транспортировки.

Испытание ВР 292:

Все испытания ВР производятся на стенде для испытания ВР пассажирских вагонов СТ.441462.701.

Назначение стенда:

Стенд предназначен для проверки основных характеристик ВР пассажирских вагонов в соответствии с требованиями «732-ЦВ- ЦЛ Общее руководство по ремонту тормозного оборудования вагонов» в условиях вагонных депо и вагоноремонтных заводов.

Функциональные возможности:

проведение испытаний в автоматическом режиме;

испытание ВР 292, 242 и ЭВР 305;

зарядное давление в магистральном резервуаре (5,0 + 0,2) кгс/см2;

все режимы изменения давления, задаваемые краном машиниста (имитирующее устройство);

снижение давления с 5,0 до 4,5 кгс/см2 в течение 75 с.;

80 с. (темп проверки мягкости действия) через отверстие 0,9 мм;

снижение давления с 5,0 до 4,0 кгс/см2 в течение 2,5-3 с. (темп служебного торможения) через отверстие диаметром 5 мм;

снижение давления темпом 0,8 кгс/см2 за 1 с. через отверстие диаметром 8 мм;

повышение давления с 4,5 до 4,6 кгс/см2 в течение 10-15 с. через отверстие диаметром 0,8 мм;

регулировка напряжения;

система обработки и хранения информации о проведенных испытаниях, реализована с помощью ПО, установленного на ПК или ноутбук.

Требования предъявляемые при вводе стенда в эксплуатацию и дальнейшей эксплуатации:

сжатый воздух должен соответствовать 4 классу чистоты воздуха в соответствии со стандартом DIN ISO 8573-1, либо 3 классу в соответствии с ГОСТ 17433-80;

для увеличения ресурса стенда и благоприятной работы рекомендуется установить выделенный компрессор и осушитель воздуха;

давление сжатого воздуха должно быть не меньше 1,6 МПа.

Осмотр и ремонт стенда производятся через каждые 3 месяца. Результаты осмотра и ремонта следует записывать в книгу формы ВУ-47.

Порядок испытания ВР:

При испытании ВР необходимо:

проверить время зарядки ЗР. При зарядном давлении в магистральном резервуаре зарядить ЗР с начального давления 3,8 кгс/см2. При этом повышение давления с 4,0 до 4,5 кгс/см2 должно произойти за время от 15 до 25 с.;

проверить плотность золотников и седла клапана экстренного торможения. При проверке плотности обмыливанием атмосферных отверстий отключить ВР в зарядном положении от ТЦ. Допускается образование воздушного пузыря, удерживающегося не менее 5 с.;

разрешается проверять плотность по падению давления в золотниковой камере при наличии манометра на канале золотниковой камеры испытательного стенда. При этом отключить ВР в зарядном положении от ТЦ, запасного и магистрального резервуаров. Падение давления за 60 с. допускается не более чем на 0,2 кгс/см2;

проверить действие ВР при ступени торможения. Снизить давление в магистральном резервуаре на 0,3 кгс/см2. Образовавшееся в ТЦ давление (не менее 0,4 кгс/см2) не должно изменяться в течение 1 мин. более чем на  0,1 кгс/см2;

после этого произвести дополнительное снижение давления в магистральном резервуаре на 0,3 кгс/см2. Затем медленным темпом через отверстие диаметром 0,8 мм зарядить магистральный резервуар. Полный отпуск со снижением давления в ТЦ ниже 0,4 кгс/см2, а в тормозном резервуаре ниже 0,5 кгс/см2 для короткосоставного режима должен произойти не более чем за 70 с.;

проверить действие ВР при служебном и экстренном торможении. При снижении давления в магистральном резервуаре с зарядного давления до 3,5 кгс/см2 через отверстие 5 мм ускоритель экстренного торможения не должен срабатывать. При снижении давления в магистральном резервуаре с зарядного давления до 3,5 кгс/см2 через отверстие 8 мм ускоритель должен сработать на экстренное торможение, при этом время наполнения ТЦ или тормозного резервуара от начала торможения до давления 3,5 кгс/см2 должно быть от 5 до 8 с. для короткосоставного режима и от 10 до 16 с. - для длиносоставного;

проверить время отпуска тормоза после экстренного торможения. Время от начала выпуска воздуха из ТЦ до установления давления в нем 0,4 кгс/см2, а для тормозного резервуара - 0,5 кгс/см2 должно быть от 9 до 13 с. для короткосоставного режима и от 19 до 27 с. - для длиносоставного. Начало отпуска должно произойти при повышении давления в магистрали не более чем на 0,2 кгс/см2 по отношению к давлению в запасном резервуаре;

проверить мягкость действия ВР. После полной зарядки ЗР снизить давление в магистральном резервуаре через отверстие 0,9 мм с зарядного до 4,5 кгс/см2. При этом ВР не должен прийти в действие.

Отремонтированные и испытанные ВР должны храниться на стеллажах в помещении, не содержащем паров кислот, щелочей и других агрессивных веществ, вредно действующих на резиновые детали и лакокрасочные покрытия.

Помещение, предназначенное для хранения тормозных приборов, должно отвечать требованиям не ниже группы С по ГОСТ 15150-69.

Отремонтированные ВР, срок хранения которых превышает 6 месяцев со времени их ремонта, могут быть установлены на вагон только после испытания их при условии удовлетворительных результатов.

В течение всего срока хранения привалочные фланцы ВР должны быть закрыты предохранительными щитками, а патрубок ускорителя - предохранительным колпаком.

1.5 Выбор потребного оборудования, подъемно-транспортных устройств, средств механизации и автоматизации

Потребное оборудование выбирается по требованиям технологического процесса с учетом его производительности.

Выбранное оборудование приведено в таблице 25.

Таблица 25 Потребное оборудование

№ п.п.

Наименование оборудования

Коли-чество

Габаритные размеры, мм

Мощность, кВт

Общая мощность, кВт

1.

Подъемник с монорельсом

1

5 500  150  4 600

11

11

2.

Стеллаж-накопитель поршней ТЦ

1

1 050 450  1 150

-

-

3.

Вращающийся стеллаж-накопитель

3

900 900  1 150

2,5

7,5

4.

Подъемник

2

4 800  150  4 600

10

20

5.

Приемник-накопитель тормозных приборов

1

12 600  200  1 150

2,3

2,3

6.

Стенд для разборки соединительных рукавов

1

525  375  1 150

0,5

0,5

7.

Моечная установка

1

1 350  1 050 1 050

7,5

7,5

8.

Рольганг для перемещения тормозных приборов

1

9 750  150  4 600

0,8

0,8

9.

Приспособление для проверки винтов

1

1 050  500  1 500

-

-

10.

Верстак

1

1 200  6 300 1 200

-

-

11.

Передвижной стеллаж для отремонтиро-ванных узлов

1

1 200 × 450 × 1 050

1,5

1,5

12.

Стенд для проверки и ремонта поршневых узлов

1

1 650 × 600 × 1 200

-

-

13.

Монорельс

1

3 600 × 150 × 1 050

6

6

14.

Стеллаж для отремонтиро-ванных поршней ТЦ

1

1 050 × 1 050 × 1 200

-

-

15.

Стеллаж-накопитель для ВР

1

1 350 × 1 125 × 1 200

-

-

16.

Верстак для разборки ВР

1

975 × 300 × 1 050

-

-

17.

Бак для моющего раствора

1

900 × 600 × 1 500

-

-

18.

Рольганг-накопитель для кассет

1

2 550 × 600 × 1 200

0,8

0,8

19.

Машина для обмывки и продувки деталей

1

1 200 × 1 050 × 1 200

15

15

20.

Пульт управления моечной машиной

1

600 × 150 × 1 650

3

3

21.

Установка для очистки и пропитки колец

1

1 350 × 600 × 1 200

5

5

22.

Стенд-верстак для ремонта главной части ВР

3

1 500 × 600 × 1 200

-

-

23.

Стенд-верстак для ремонта магистральной части ВР

3

1 500 × 600 × 1 200

-

-

24.

Верстак для ремонта ВР

1

2 550 × 750 × 1 200

-

-

25.

Гидравлический пресс

1

750 × 450 × 1 750

4

4

26.

Стеллаж-витрина с контрольно-измерительным инструментом

1

2 100 × 900 ×1 600

-

-

27.

Установка для проверки пружин

1

750 × 600 ×1 750

0,2

0,2

28.

Ленточный конвейер

1

17 550 × 600 ×1 050

10

10

29.

Рольганг

1

2 700 × 450 ×1 200

1,5

1,5

30.

Стенд для испытания ВР

1

1 800 × 900 ×1 200

0,5

0,5

31.

Стол выдачи готовой продукции

1

1 350 × 600 × 1 050

0,3

0,3

32.

Рабочий стол

1

900 × 450 × 1 050

-

-

33.

Стеллаж для узлов ВР

2

 4 650 × 900 × 1 200

-

-

34.

Станок для притирки и доводки золотников

1

900 × 900 ×1 200

3

3

35.

Вертикально-доводочный станок

1

600 × 450 × 1 200

2,2

2,2

36.

1

600 × 450 × 1 200

3

3

37.

Токарно-винторезный станок

1

2 550 × 1 350 × 1 750

1

1

38.

Заточный станок

1

450 × 450 ×1 200

0,5

0,5

39.

Сверлильный станок

1

1 050 × 750 ×1 200

1

1

40.

Слесарный верстак

1

1 350 × 750 ×1 200

-

-

41.

Верстак с ванной для окраски соединительных рукавов

1

1 200 × 450 ×1 200

-

-

42.

Стенд для испытания рукавов

1

1 425 × 375 ×1 750

1

1

43.

Приспособление для проверки электрической части рукавов № 369 А

1

1 050 × 300 ×1 050

-

-

44.

Приспособление для проверки рукавов световым лучом

1

1 050 × 450 ×1 050

0,1

0,1

45.

Стенд для комплектования рукавов

1

1 650 × 750 × 1 750

-

-

46.

Станок для притирки пробок кранов

1

1 650 × 750 ×1 500

0,3

0,3

47.

Стенд для испытания концевых кранов

1

600 × 525 × 1 750

1

1

48.

Верстак для ремонта концевых кранов

1

1 650 × 750 × 1 200

-

-

49.

Стенд для разборки рукава

1

1 200 × 675 ×1 750

1,5

1,5

50.

Насосная установка

1

2 100 × 2 100 × 4 000

15

15


Итого: 127 кВт

Перечень необходимого инструмента для АКП:

Киянки, молотки слесарные, металлические щетки, напильники, наборы гаечных ключей, ножовки по металлу, шлифовальные бруски, шкурки шлифовальные тканевые или бумажные, индикаторная головка мод. 1МИГ, оправка, приспособления для сборки/разборки тормозных приборов.

Перечень необходимого измерительного инструмента:

Складные мерные металлические линейки, металлические рулетки, штанген-циркули, глубиномеры, омметры.

1.6 Разработка плана размещения оборудования и определение основных размеров автоконтрольного пункта

Площадь и габаритные размеры АКП определяются с учетом габаритных размеров оборудования, ширины проходов, проездов и расстояний до стен.

Таблица 26 Строительные нормы

Наименование объекта

Ширина объекта, м.


минимальная

максимальная

Проходы

1

не ограничивается

Коридоры

1,4

не ограничивается

Двери

0,8

2,4

Марши и площадки лестниц

1,15

2,4


Длина определяется по формуле:

L = g1 + g2 + g3 + g2 + g3 + g4 + g2 + g5 + g2 + g6 + g7 + g8 + g9, (10)

где g1 - длина комнаты отдыха;

g2 - расстояние между станками (от стены до станка);

g3 - длина рабочего стола;

g4 - ширина стола выдачи готовой продукции;

g5 - длина ленточного конвейера;

g6 - длина пульта управления моечной машины;

g7 - длина машины для обмывки и продувки деталей;

g8 - длина рольганга-накопителя для кассет;

g9 - ширина бака для моющего раствора.

L = 3,75 + 0,1 + 0,9 + 0,1 + 0,6 + 2,7 + 0,1 + 17,55 + 0,1 + 0,6 + 0,9 + 1,8 + 0,75 = 29,95 (м.)

Длина АКП должна отвечать требованиям действующих строительных норм и быть кратна 6 или 12.

Принимаю 30 метров.

Ширина определяется по формуле:

B = b1 + b2 + b3 + b4 + b3 + b5 + b3 + b6 + b7 + b8 + b9, (11)

где b1 - ширина стенда для комплектования рукавов;

b2 - ширина длина стенда для испытания рукавов;

b3 - расстояние между станками;

b4 - длина верстака с ванной для окраски соединительных рукавов;

b5 - ширина стенда для разборки рукавов;

b6 - расстояние от станка до стены;

b7 - ширина прохода;

b8 - длина стеллажа для узлов воздухораспределителей;

b9 - длина стола выдачи готовой продукции.

B = 0,75 + 1,5 + 0,1 + 1,05 + 0,1 + 0,6 + 0,1 + 0,1 + 1,2 + 4,73 + 1,35 = 11,58 (м.)

Ширина АКП должна отвечать требованиям действующих строительных норм и быть кратна 6.

Принимаю 12 м.

Высота АКП устанавливается из условия оснащения его подъемно-транспортными устройствами.

Н = 4,8 (м.)

Площадь участка определяется по формуле:

S = L x B, (12)

S = 29,95 x 11,58 = 346,82 (м2.)

Объем участка определяется по формуле:

V = S x H, (13)

V = 346,82 x 4,8 = 1664,73 (м3.)

где Н - высота участка.

Полученные данные сводим в таблицу 27.

Таблица 27 Габаритные размеры

L

B

H

S

V

30 м

12 м

4,8 м

346,82 м2

1 664,73 м3


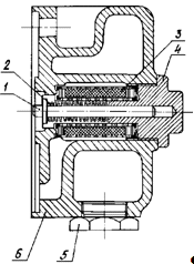
Схема 1 План АКП с размещением оборудования

1 - подъемник с монорельсом, 2 - стеллаж-накопитель тормозных цилиндров, 3 - вращающийся стеллаж-накопитель, 4 - подъемник, 5 - приемник-накопитель тормозных приборов, 6 - стенд для разборки соединительных рукавов, 7 - моечная установка, 8 - рольганг для перемещения тормозных приборов, 9 - приспособление для проверки винтов, 10 - верстак для разборки/сборки головки и тягового стакана, 11 - передвижной стеллаж для отремонтированных узлов, 12 - стенд для проверки и ремонта поршневых узлов, 13 - монорельс, 14 - стеллаж для отремонтированных поршней тормозных цилиндров, 15 - стеллаж-накопитель для воздухораспределителей, 16 - верстак для разборки воздухораспределителей, 17 - бак для моющего раствора, 18 - рольганг-накопитель для кассет, 19 - машина для обмывки и обдувки деталей, 20 - пульт управления моечной машиной, 21 - установка для очистки и пропитки колец, 22 - стенд-верстак для ремонта главной части воздухораспределителей, 23 - стенд-верстак для ремонта магистральной части воздухораспределителей, 24 - верстак для ремонта воздухораспределителей, 25 - гидравлический пресс, 26 - стеллаж-витрина с контрольно-измерительном инструментом, 27 - установка для проверки пружин, 28 - ленточный конвейер, 29 - рольганг, 30 - стенд для испытания воздухораспределителей, 31 - стол выдачи готовой продукции, 32 - рабочий стол, 33 - стеллаж для узлов воздухораспределителей, 34 - станок для притирки и доводки золотников, 35 - вертикально-доводочный станок, 36 - горизонтально-притирочный станок, 37 - токарно-винторезный станок, 38 - заточный станок, 39 - сверлильный станок, 40 - слесарный станок, 41 - верстак с ванной для окраски соединительных рукавов, 42 - стенд для испытания рукавов, 43 - приспособление для проверки электрической части рукавов № 369А, 44 - приспособление для проверки рукавов световым лучом, 45 - стенд для комплектования рукавов, 46 - станок для притирки пробок кранов, 47 - стенд для испытания концевых кранов, 48 - верстак для ремонта концевых кранов, 49 - стенд для разборки рукавов, 50 - насосная установка; I - отделение наружной очистки, II - отделение ремонта тормозных цилиндров, III - отделение разборки тормозных приборов, IV - отделение ремонта воздухораспределителей, V - отделение испытания тормозных приборов, VI - кладовая готовых приборов, VII - комната отдыха, VIII - комната мастера, IX - женский гардероб, X - мужской гардероб, XI - механическое отделение, XII - отделение ремонта арматуры, XIII - насосное отделение.

1.7 Расчет контингента работников автоконтрольного пункта

Численность производственных рабочих определяется по формуле:

Rяв. =  , (14)

где N - годовая программа ремонта;

H - трудоемкость;

Фяв. - номинальный годовой фонд рабочего времени одного рабочего;

К - коэффициент выполнения норм (1,0 - 1,2).

Rяв. =  = 5,48 (чел.)

Фяв. = (Дк. - Днр.)  tсм. - Дпред.пр, (15)

где Дк. - количество календарных дней в году;

Днр. - количество нерабочих (выходных и праздничных) дней в году;

tсм. - продолжительность рабочей смены;

Дпред.пр.- количество предпраздничных дней в год.

Фяв. = (365 - 118)  8 - 6 = 1971 (час.)

Rсп. = Rяв. Кз., (16)

Rсп. = 5,48  1,13 = 6,19 (чел.)

Принимаю 7 человек.

Определение численности рабочих по видам работ производится по величине трудоемкости данного вида работ. Величина трудоемкости определяется из типового графика технологического процесса ремонта тормозного оборудования. Разряды рабочих определяются по сложности выполняемых работ.

Для расчета производственных рабочих составляем таблицу 27 и сводим в нее данные:

Таблица 27 Расчет производственных рабочих

№ п.п.

Профессия

Количество человек

Разряд

1.

Слесарь по ремонту тормозного оборудования

2

IV

2.

Слесарь по ремонту тормозного оборудования

2

V

3.

Слесарь по ремонту тормозного оборудования

2

VI

4.

Уборщица

1

-


Цеховой персонал определяется по штатному расписанию вагонного депо. Для расчета цехового персонала составляем таблицу 28 и сводим в нее данные:

Таблица 28 Расчет цехового персонала

№ п.п.

Профессия

Количество человек

1.

Мастер

1

2.

Бригадир

1


1.8 Расчет потребного количества материалов, покупных полуфабрикатов и сырья

Потребность в материалах и запчастях определяется по формуле на основании норм расхода материалов и запасных частей для ремонта пассажирских вагонов в вагонных депо и годовой программы ремонта.

Таблица 29 Расчёт материалов и запасных частей

№ п.п.

Наименование материалов  и запасных частей

Норма расходов на один вагон, кг

Стоимость единицы материала, запасной части, руб.

Стоимость материала, запасной части на ремонт одного вагон

1.

Болты с гайками

0,1

64

6,4

2.

Мыло хозяйственное

0,1

37,5

3,75

3.

Сода каустическая

0,3

15

4,5

4.

Обтирочный материал

0,3

12

3,6

5.

Керосин

0,5

18

9

6.

Резервуар запасной 78л ГОСТ 1561-75

0,002

4 120

8,24

7.

Кран разобщительный

0,07

600

42

8.

Кран концевой

0,06

1 200

72

9.

Клапан выпускной

0,011

43

0,47

10.

Рукав соединительный

0,5

750

375

11.

Головка соединительного рукава

0,2

290,4

58,08

12.

Наконечник рукава

0,03

1 271

38,13

13.

Цилиндр тормозной

0,004

12 500

50

14.

Прокладка

0,25

230

57,5

15.

Поршень в сборе

0,01

1 670

16,7

16.

Гнездо в сборе

0,01

890

8,9

17.

Поршневая втулка

0,01

340

3,4

18.

Накидная гайка

0,03

18

0,54

19.

Наконечник 216.1495Б

0,01

27

0,27

20.

Фильтр

0,03

35

1,05

21.

Фильтр 145.02

0,03

400

12

22.

Пружина сжатия

0,03

16

0,48

23.

Пружина кручения

0,03

23

0,69

24.

Корпус ВР

0,01

3 000

30

25.

Заглушка-упорка

0,01

35

0,35

26.

Переключательная пробка

380

3,8

27.

Золотник с заглушками

0,05

1 150

57,5

28.

Атмосферный ниппель

0,05

80

4

29.

Ручка ВР

0,01

150

1,5

30.

Штифт-ось

0,01

35

0,35

31.

Упорка

0,01

28

0,28

32.

Крышка ВР

0,05

450

22,5

33.

Заглушка ВР

0,03

30

0,9

34.

Толкатель

0,01

57

0,57

35.

Корпус ускорительной части ВР

0,01

1 700

17


Итого: 911, 45 (руб.)

Р = С  N, (21)

где С - общая стоимость материала или запасной части одного вагона;

N - годовая программа ремонта.

Р = 911,45  2 106 = 1 919 513,7 (руб.)

1.9 Описание и расчет применяемых систем энергоснабжения, вентиляции и канализации в автоконтрольном пункте

Система освещения и энергоснабжения.

Освещение отделения должно предусматриваться естественным освещением для светлого времени суток, и искусственным освещением, соответственно, для темного времени суток.

Естественное освещение может осуществляться через окна.

Искусственное освещение с применением ламп накаливания и люминесцентных ламп может быть равномерным или групповым.

Потребность в электроэнергии на освещение определяется в кВтчас по формуле:

Эос. = , (22)

где К - количество осветительных точек;

М - мощность осветительных точек;

Т - число часов освещения в год, определяется по количеству смен, (час.)

Эос. =  = 8 274 (кВтчас.)

По техническим нормам на 1м2 требуется мощность N = 12 Вт.

К = , (23)

где S - площадь цеха, м2,

N - мощность ламп, приходящихся на 1м2;

М - мощность осветительных точек, (Вт.)

К =  = 6,93 (шт.)

Принимаю 7 штук.

Потребность в силовой электроэнергии определяется в кВтчас по формуле:

Эоб = Nэ  Fдоб  Ксп  η, (24)

где Nэ - установленная мощность оборудования по группам, (кВт);

Fдоб - действительный годовой фонд времени работы оборудования;

Ксп - коэффициент спроса (0,5);

ηз - коэффициент загрузки по видам оборудования, (0,3 - 0,9).

Эоб = 127  1 872,45  0,5  0,6 = 71 340,34 (кВтчас.)

Система канализации.

Необходимо разрабатывать эффективные мероприятия и применить технические средства, исключающие попадания в канализационную сеть агрессивных жидкостей, масел и механических примесей, а также отходов производства.

Целесообразно предусматривать устройства изолированных канализационных отводов, выполненных из керамических труб с выводом их в отстойник, имеющих фильтры и устройства для нейтрализации вредных примесей и улавливания различных масел.

Система вентиляции. Система вентиляции зависит от характера производимых работ, норма его интенсивности принимается в зависимости от объема помещения, приходящегося на одного рабочего.

Кроме общей вентиляции могут быть предусмотрены отсос воздуха, загрязненного пылью, газами и парами непосредственно в местах размещения технологического оборудования. Расчет и выбор вентилятора и мощности электродвигателя вентилятора производим следующим образом, определяем, объем вентилируемого воздуха помещения:

V = Vп.  Kр., (25)

где: Vп. - объём отделения; р. - кратность воздухообмена на участке, (2).

V = 1664,73  2 = 3 329,46 (м3.)

В соответствии с объемом вентилируемого воздуха принимаем 4вентилятора с подачей воздуха 8 500 м3/ч.

Мощность каждого вентилятора определяется по формуле:

Nв. = , (26)

где Нп. - полный напор вентилятора, (6);

в. - КПД вентилятора, (0,45).

Nв. =  =0,12 (кВт.)

1.10 Разработка схемы управления автоконтрольным пунктом

Схема управления автоконтрольным пунктом показана в следующей схеме:

Схема 2 Структура управления АКП

В обязанности мастера входит:

обеспечения выполнения участком в установленный срок планов заданий по объему производства продукции высокого качества, повышения производительности труда;

своевременное доведение производственных заданий бригадам;

создание условий для выполнения рабочими участка норм выработки и норм заданий;

своевременный пересмотр норм трудовых затрат;

внедрение передовых методов и приёмов труда, средств механизации и автоматизации производственных процессов;

проведение производственных инструктажей рабочим обеспечение контроля за выполнением производственных операций;

создание в трудовом коллективе обстановки взаимной помощи;

осуществление мероприятий по повышению культуры производства.

Мастер имеет право:

участвовать в разработки и обсуждении текущих, перспективных, а также встречных планов;

производственную расстановку рабочих в соответствии с технологическим процессом, их квалификации и специальности;

принимать участие в работе, а также в работе комиссии по превышению квалификационных разрядов;

вносить предложения о привлечении рабочих участка дисциплинарной ответственности за нарушение трудовой ответственности.

Бригадир руководит группой рабочих, если он, не освобождённый от производственной работы, получающий за выполнение своих обязанностей доплату к тарифной ставки. Он подчинён мастеру и обязан обеспечить выполнение плановых заданий, высокое качество работ, эффективное использование и сохранность оборудования, приспособлений и инструмента, экономичное расходование материалов.

Бригадир проводит инструктаж рабочих и оказывает им техническую помощь выполнении работ. Назначают бригадира начальник депо по докладу мастера производственного участка.

Слесарь по ремонту тормозного оборудования должен:

выполнять только входящую в их обязанности или порученную мастером (бригадиром) работу;

владеть безопасными приемами труда;

соблюдать меры пожарной безопасности, обладать практическими навыками использования противопожарного оборудования и инвентаря;

содержать в исправном состоянии и чистоте инструмент, приспособления, инвентарь, СИЗ;

внимательно следить за сигналами и распоряжениями руководителя работ (мастера, бригадира) и выполнять его команды;

выполнять требования запрещающих, предупреждающих, указательных и предписывающих знаков, надписей и сигналов;

соблюдать правила внутреннего трудового распорядка и установленный режим труда и отдыха;

уметь оказывать первую помощь при травмах, пользоваться аптечкой первой помощи.

1.11 Разработка механизированного приспособления для ремонта воздухораспределителя и определение его экономической эффективности

Стенд контроля качества пассажирских ВР модели СИА.1 РП.

Стенд предназначен для проверки после ремонтных работ ВР 292, 292М и ЭВР 305 на соответствие требованиям, приведенным в Инструкции № ЦВ-ЦЛ-945 от 27.07.2003 г., в условиях вагонных депо.

Рис. 29 Стенд испытательный контроля качества модели СИА.1 РП

Стенд обеспечивает:

проведение проверок и контроль параметров пассажирских ВР и ЭВР в автоматическом и пооперационном режимах;

проведение диагностики оборудования стенда с выявлением отказов и возможных неисправностей;

формирование протоколов испытаний и хранение протоколов в энергонезависимой памяти;

визуальное представление измеряемых параметров стендов в табличном и графическом виде;

вывод сформированных протоколов испытаний на печатающее устройство.

Технические характеристики стенда контроля качества пассажирских ВР модели СИА.1 РП представлены в таблице № 30.

Таблица 30 Технические характеристики стенда

Наименование параметра

Величина параметра

Диапазон измеряемых давлений, кгс/см2

0-10

Допускаемая абсолютная погрешность измерения давления, кгс/см2

± 0,05

Диапазон формируемых временных интервалов, с

1-630

Допускаемая абсолютная погрешность формирования временных интервалов, %.

± 0,3

Вместимость магистрального резервуара (МР), л

55,0 ± 1,65

Вместимость запасного резервуара (ЗР), л

78,0 ± 2,35

Вместимость тормозного резервуара (ТР), л

20,0 ± 0,6

Вместимость резервуара рабочей камеры (РК), л

1,5 ± 0,001

Параметры цепи управления электромагнитами вентилей:


- род тока

Постоянный

- номинальное напряжение, В

50

- диапазон изменения напряжения в цепи управления, В

0-60

Масса, кг

800

Напряжение питания, В

220

Частота, Гц

50±2

Потребляемая мощность, В

1000


Условия эксплуатации стенда представлены в таблице № 31.

Таблица 31 Условия эксплуатации

Давление сжатого воздуха в деповской пневматической сети, кгс/см2

не менее 6,5

Температура окружающей среды, °С

От +15 до +25

Относительная влажность воздуха, %

30-80

Атмосферное давление

630-795 ммрс


При определении эффективности применяемого приспособления, сравниваются расходы, затраченные на работу без приспособления и с применением приспособления. Определяем расходы на выполнение работ за сутки. Исходными данными для расчета заработной платы являются расценки на работу (операцию), нормы времени, а также квалификации (разряд) и количество рабочих.

Заработная плата рассчитывается по формуле:

Рп = r  tв  n,  (27)

где r - часовая тарифная ставка (руб.);

tв - время выполнения данной работы, за сутки (час);

n - количество рабочих, занятых выполнением операции (чел.).

Рп = 65,10  0,4  12  3 = 937,44 (руб.)

Определяем расходы на выполнения работы вручную за год по формуле:

Рв = Рп  Драб,              (28)

где Драб - количество рабочих дней в году.

Рв = 937,44  247 = 231 547,68 (руб.)

Определяем расходы на выполнения данной работы с применением приспособления:

Рм = r  tм  n Драб,         (29)

где r - часовая тарифная ставка (час.);

tм - время выполнения данной операции с применением приспособления за сутки (час.);

n - количество рабочих дней,

Рм = 65,10  0,3  12  2247 = 115 773,84 (руб.)

В зависимости от того, какого вида энергия используется для работы приспособления, применяются следующие формулы:

Для расхода на электроэнергию необходимо знать мощность электродвигателя, фактическое использование и стоимость потребляемой энергии. Определяем расход электроэнергии в смену:

Эл.с = Т  Nэ  К  Цэ,      (30)

где Т- время работы в смену (час.);

К - коэффициент использования;

Цэ - цена единицы электроэнергии (1кВт*ч.).

Эл.с = 8 1 0,4  4 = 12,8 (руб.)

Расходы электроэнергии за год подсчитываем по формуле:

Эл = Эл.с  Драб,            (31)

где Драб - количество рабочих дней в году.

Эл = 12,8  247 = 3 161,6 (руб.)

Рассчитываем экономическую эффективность применяемого приспособления:

Э = Рв - (Рмл ), (32)

Э = 231547,68 - (115773,84 + 3161,6) =112 612,24 (руб.)

2. Охрана труда

.1 Разработка санитарно-гигиенических условий труда в автоконтрольном пункте

Метеорологические условия (микроклимат), чистота воздушной среды, производственные излучения, освещение, шум, вибрация - важные факторы производственной среды, оказывающие большое влияние на самочувствие и работоспособность человека.

Для создания благоприятных условий труда и жизнедеятельности работающих, все санитарно-гигиенические факторы производственной среды подлежат нормированию. Несоответствие их существующим нормам отрицательно влияет на работающих, понижает производительность труда, а при длительном воздействии может привести к тяжелым профессиональным заболеваниям.

Допускаемые в производственных помещениях метеорологические условия: температура, относительная влажность и скорость движения воздуха, а также предельно допустимые концентрации содержания в воздухе вредных паров, газов на постоянных рабочих местах и в рабочей зоне* производственных помещений - нормируются «Санитарными нормами проектирования промышленных предприятий» и «Строительными нормами и правилами».

Оздоровление воздушной среды достигается механизацией и автоматизацией производственных процессов, герметизацией оборудования и аппаратуры, изоляцией работ с пыле-газовыделением в особые помещения, применением агрегатов, улавливающих и удаляющих вредные вещества, дистанционным управлением процессами с выделением вредных веществ. Улучшить микроклимат можно также путем совершенствования приточно-вытяжной вентиляции, кондиционирования воздушной среды, регулирования влажности воздуха, а также проведением ряда мероприятий, препятствующих распространению пыли, газов, излучений непосредственно на рабочих местах.

Уровень шума в помещениях и на территории промышленных предприятий нормируется документом «Гигиенические нормы допустимых уровней звукового давления и уровней звука на рабочих местах».

Производственные условия считаются благоприятными при уровне громкости низкочастотных шумов до 90 дБ, среднечастотных 76 дБ, высокочастотных 65 дБ и недопустимыми, когда уровень низкочастотных шумов свыше 115 дБ, среднечастотных - свыше 100 дБ, высокочастотных - свыше 90 дБ.

Методами борьбы с шумом являются:

ликвидация шума в источнике его возникновения путем применения звукопоглощающих материалов в конструкции шумящих механизмов и изменения технологических процессов;

изоляция шумящего оборудования в боксах с выносом пультов в другие помещения;

применение звукоизолирующих кожухов;

облицовка помещений (потолка и стен) звукоизолирующими и звукопоглощающими материалами (поропластом, минеральной ватой, шлаковатой, стекловатой и т.п.);

применение звукоизолирующих передвижных экранов, штучных звукопоглотителей.

Изоляцией рабочего места можно значительно ограничить распространение шума за его пределы. Применение для этих целей фанеры толщиной 3 мм уменьшает силу звука на 17 дБ; пробковой плиты толщиной 60 мм - на 20 дБ; стекла толщиной 3-4 мм - на 28 дБ; стенка из двух листов сухой штукатурки, укрепленных на расстоянии 60 мм один от другого, сокращает силу звука на 49 дБ, а с промежутком в 110 мм на 51 дБ.

Предельно допустимые величины общей вибрации на рабочих местах определяются санитарными нормами.

Санитарные нормы и правила устанавливают:

предельно допустимые величины вибрации;

условия измерения нормируемых величин;

предельно допустимую массу инструментов и силу нажатия на рукоятки вибрирующих инструментов (оборудования);

условия работы с виброинструментом;

мероприятия по снижению вибраций, передаваемых на руки работающих;

лечебно-профилактические меры по предотвращению вибрационной болезни.

Масса вибрирующего оборудования или его частей, удерживаемых руками в различных положениях во время работы (при работе в паспортном режиме), не должна превышать 10 кг, а сила нажима работающего на вибрирующее оборудование или его части не должна превышать 200 Н (если технологические требования не налагают более жестких ограничений).

Рукоятки должны быть удобны, обеспечивать наибольшую площадь контакта с ладонью и равномерное распределение на ней силовой нагрузки.

Выхлопы сжатого воздуха или отработанных паров должны быть направлены в сторону от работающего.

При разработке нового и модернизации существующего оборудования, инструментов, механизмов и приспособлений необходимо конструктивными и технологическими мерами - изменением кинематической схемы, рабочего цикла, уравновешенности масс, изменением масс и жесткостей, применением пружинных и резиновых амортизаторов, прокладок, облицовок рукояток и другими мерами - уменьшать вибрацию в источнике ее образования и на пути ее распространения.

Для предупреждения вибрационной болезни рекомендуется водные процедуры, массаж, лечебная гимнастика.

СИЗ при работе с виброинструментом являются антивибрационные рукавицы и противошумные наушники.

Один из важнейших факторов производственной среды - освещение. Рациональное и гигиеническое освещение создает благоприятные условия для работы, повышает безопасность и производительность и качество работы.

Производственное освещение нормируется СНиП «Искусственное освещение. Нормы проектирования». Уровень освещенности производственного помещения зависит от категории точности производимых в нем работ.

Большое значение для обеспечения качества освещения имеет выбор источника света. При системе общего освещения в помещении, где выполняются работы I-V и VII разрядов, следует использовать, как правило, газоразрядные лампы (люминесцентные, ДРЛ и ДРИ). При выполнении работ I-IV, Va и V6 разрядов следует применять систему комбинированного освещения, т. е. сочетать общее освещение интерьера с местным (источник света на рабочем месте).

При устройстве освещения нужно помнить, что оно нормируется не только по уровню освещенности, но и по показателям ослепленности и яркости рабочей поверхности.

2.2 Разработка мероприятий по технике безопасности

Вредные и опасные производственные факторы.

При ремонте тормозного оборудования пассажирских вагонов на рабочих могут воздействовать опасные и вредные производственные факторы:

транспортные средства и механизмы, подвижные части производственного оборудования;

повышенная запыленность и загазованность воздуха рабочей зоны;

повышенная или пониженная температура поверхностей оборудования;

повышенная или пониженная температура воздуха рабочей зоны;

повышенный уровень шума на рабочем месте;

повышенный уровень вибрации;

повышенная или пониженная влажность воздуха;

повышенная или пониженная подвижность воздуха;

повышенное значение напряжения в электрической цепи, замыкание которой может произойти через тело человека;

острые кромки, заусенцы и шероховатость на поверхностях заготовок, инструментов и оборудования;

расположение рабочего места на значительной высоте относительно поверхности пола;

химические опасные и вредные производственные факторы, воздействующие на организм человека через дыхательные пути, пищеварительную систему и кожный покров;

нервно-психические перегрузки при выполнении работ в замкнутых объемах.

Индивидуальные средства защиты (СИЗ).

Рабочие должны обеспечиваться следующими СИЗ:

костюмом хлопчатобумажным;

сапогами на полиуретановой подошве или ботинками юфтевыми на маслобензостойкой подошве;

головным убором летним;

рукавицами комбинированными;

жилетом сигнальным со световозвращающими накладками;

каской защитной (дежурной);

очками защитными.

Перед каждым применением СИЗ работник обязан проверить его исправность, отсутствие внешних повреждений, загрязнения, проверить по штампу срок годности.

Пользоваться СИЗ с истекшими сроками годности запрещается.

Рабочие должны:

знать правила пользования и способы проверки исправности СИЗ;

следить за исправностью и целостностью заземления (зануления) корпусов электроприборов, электрических машин и оборудования;

содержать в чистоте свое рабочее место, в исправном состоянии и чистоте оборудование, инструмент, приспособления, а также спецодежду, обувь и другие СИЗ.

Требования к производственному персоналу.

К работе по ремонту тормозного оборудования допускаются лица, достигшие возраста 18 лет, прошедшие обучение и проверку знаний по специальности и охране труда, прошедшие обязательный предварительный при поступлении на работу медицинский осмотр, вводный и первичный инструктажи на рабочем месте по охране труда, противопожарный инструктаж, стажировку и первичную проверку знаний требований охраны труда.

В процессе работы работники должны проходить в установленном порядке периодические медицинские осмотры, повторный инструктаж не реже одного раза в 3 месяца, а также внеплановый и целевой инструктажи по охране труда, обучение по охране труда, периодическую и внеочередную проверку знаний требований охраны труда. Рабочие должны проходить периодическое, не реже одного раза в год, обучение оказанию первой помощи пострадавшим.

Вновь принимаемые на работу проходят обучение по оказанию первой помощи пострадавшим в сроки, установленные работодателем (или уполномоченным им лицом), но не позднее одного месяца после приема на

Рабочие должны:

выполнять только входящую в их обязанности или порученную мастером (бригадиром) работу;

владеть безопасными приемами труда;

соблюдать меры пожарной безопасности, обладать практическими навыками использования противопожарного оборудования и инвентаря;

содержать в исправном состоянии и чистоте инструмент, приспособления, инвентарь, СИЗ;

внимательно следить за сигналами и распоряжениями руководителя работ (мастера, бригадира) и выполнять его команды;

выполнять требования запрещающих, предупреждающих, указательных и предписывающих знаков, надписей и сигналов;

быть предельно внимательными в местах движения транспорта;

проходить по территории депо и железнодорожных станций по установленным маршрутам, пешеходным дорожкам, проходам и переходам;

соблюдать меры безопасности при переходе железнодорожных путей для осмотра и ремонта вагонов;

соблюдать правила внутреннего трудового распорядка и установленный режим труда и отдыха;

уметь оказывать первую помощь при травмах, пользоваться аптечкой первой помощи.

Рабочие должны знать:

технологию ремонта тормозного оборудования пассажирских вагонов;

действие на человека опасных и вредных производственных факторов, возникающих во время работы, способы защиты и правила оказания первой помощи;

требования производственной санитарии, электробезопасности и пожарной безопасности;

правила применения и использования противопожарного оборудования и инвентаря;

видимые и звуковые сигналы, обеспечивающие безопасность движения, знаки безопасности;

места расположения аптечки или сумки с необходимыми медикаментами и перевязочными материалами.

Рабочим запрещается:

находиться под поднятым и перемещаемым грузом;

наступать на электрические провода и кабели;

прикасаться к оборванным проводам и другим легко доступным токоведущим частям;

находиться на территории и в помещениях депо в местах, отмеченных знаком "Осторожно! Негабаритное место", а также около этих мест при прохождении подвижного состава.

Выходя на железнодорожный путь из помещения, а также из-за зданий, ухудшающих видимость железнодорожного пути, рабочие должны предварительно убедиться в отсутствии движущегося по нему подвижного состава, а в темное время суток, кроме того, подождать, пока глаза привыкнут к темноте.

Рабочие, обнаружившие обрыв проводов или других элементов контактной сети, а также свисающие с них посторонние предметы, обязаны немедленно сообщить об этом мастеру (бригадиру), а в его отсутствие - вышестоящему руководителю.

До прибытия ремонтной бригады опасное место следует оградить любыми подручными средствами и следить, чтобы никто не приближался к оборванным проводам на расстояние менее 8 м.

В случае попадания в зону "шаговых напряжений" необходимо ее покинуть, соблюдая следующие меры безопасности: соединить ступни ног вместе и, не торопясь, мелкими шагами, не превышающими длину стопы, и не отрывая ног от земли, или прыжками выходить из опасной зоны.

Рабочие должны знать и соблюдать правила личной гигиены. Личную одежду и спецодежду следует хранить отдельно в шкафчиках гардеробной. Выносить СИЗ за пределы предприятия запрещается.

Рабочие должны следить за исправностью спецодежды, своевременно сдавать ее в стирку, химчистку и ремонт, а также содержать шкафчики гардеробной в чистоте и порядке.

Принимать пищу следует в столовых и буфетах или в специально отведенных для этого комнатах, имеющих соответствующее оборудование. Хранить и принимать пищу на рабочих местах не допускается.

Воду пить следует только кипяченую, хранящуюся в специальных закрытых бачках, защищенных от попадания пыли и других вредных веществ. Допускается использование некипяченой воды из хозяйственно-бытового водопровода при наличии разрешения центра государственного санитарно-эпидемиологического надзора по железнодорожному транспорту.

Перед едой необходимо тщательно мыть руки теплой водой с мылом.

Рабочие должны уметь оказать первую помощь пострадавшему при несчастном случае.

В случае получения травмы или заболевания рабочие должны прекратить работу, поставить в известность мастера (бригадира) и обратиться за помощью в медпункт.

При обнаружении нарушений вышеперечисленных требований или неисправностей оборудования, механизмов, инвентаря, инструмента, защитных приспособлений, СИЗ и пожарной безопасности, рабочие должны сообщить об этом мастеру (бригадиру), а в его отсутствие - вышестоящему руководителю и далее выполнять его указания.

Рабочие, не выполняющие вышеперечисленные требования несут ответственность в соответствии с законодательством Российской Федерации.

Требования безопасности к производственному процессу и оборудованию.

Перед сменой ВР, выпускных клапанов, деталей тормозного оборудования, резервуаров, подводящих трубок к ВР, перед вскрытием ТЦ и регулировкой рычажной передачи ВР должен быть выключен, а воздух из запасного и двухкамерного резервуаров выпущен.

Перед сменой разобщительного крана и подводящей трубки от тормозной магистрали до разобщительного крана тормозную магистраль вагона следует разобщить с источником питания перекрытием концевых кранов.

Стягивание тормозной рычажной передачи при ее регулировке следует производить с помощью специального приспособления.

Для совмещения отверстий в головках тяг и рычагах тормозной рычажной передачи необходимо пользоваться бородком и молотком. Проверять совпадение отверстий пальцами рук запрещается.

При продувке тормозной магистрали необходимо убедиться в отсутствии рядом работников и во избежание удара соединительным рукавом придерживать его рукой возле соединительной головки.

Ручку концевого крана открывать плавно.

Для разборки поршня после извлечения его из ТЦ необходимо крышкой ТЦ сжать пружину настолько, чтобы можно было выбить штифт головки штока и снять крышку, постепенно отпуская ее до тех пор, пока пружина будет полностью разжата.

Выемка и установка поршня тормозного цилиндра должна производиться с использованием специального приспособления.

Перед сменой концевого крана необходимо отключить (разобщить) тормозную магистраль вагона от источника питания.

Ручной слесарный инструмент и приспособления повседневного применения должны быть закреплены за работающими для индивидуального или бригадного пользования.

При работе зубилом, крейцмейселем и другим подобным инструментом следует надевать защитные очки.

Отвинчивание гаек, требующее применения больших усилий, следует производить с помощью гайковертов или ключей, имеющих удлиненную рукоятку. Не допускается наращивание ключей и заполнение зазора между губками ключа и гайкой прокладками.

Запрещается отворачивать гайки при помощи зубила и молотка.

Ручной электрифицированный инструмент должен подключаться на напряжение не более 42 В. В случае невозможности обеспечить подключение электроинструмента на напряжение до 42 В, допускается использование его с напряжением до 220 В включительно, при наличии устройств защитного отключения или наружного заземления корпуса электроинструмента с обязательным использованием защитных средств (коврики, диэлектрические перчатки).

Присоединять электроинструмент к электрической сети необходимо при помощи штепсельных соединений, имеющих заземляющий контакт.

При работе с электроинструментом необходимо соблюдать следующие требования:

работать в резиновых перчатках и диэлектрических галошах или на диэлектрическом коврике при работе с электроинструментом класса I;

не подключать электроинструмент к распределительным устройствам, если отсутствует надежное штепсельное соединение;

предохранять провод, питающий электроинструмент, от механических повреждений;

не переносить электроинструмент за провод, пользоваться для этого ручкой;

при прекращении подачи электрического тока, заклинивании сверла на выходе из отверстия или перерыве в работе электроинструмент отсоединить от электросети.

Работникам, пользующимся электроинструментом и ручными электрическими машинами, не разрешается:

передавать ручные электрические машины и электроинструмент, хотя бы на непродолжительное время, другим работникам;

разбирать ручные электрические машины и электроинструмент, производить какой-либо ремонт;

держаться за провод электрической машины, электроинструмента, производить замену режущего инструмента, касаться вращающихся частей или удалять стружку, опилки до полной остановки инструмента или машины;

натягивать и перегибать провод (кабель) электроинструмента, допускать его пересечение со стальными канатами машин, электрическими кабелями, проводами, находящимися под напряжением, или шлангами для подачи кислорода, ацетилена и других газов.

Шланг перед присоединением к пневмоинструменту должен быть продут. При продувке шланга струю воздуха из шланга следует направлять только вверх. Направлять струю воздуха на людей, на пол или на оборудование запрещается.

Присоединение шланга к пневмоинструменту должно производиться при помощи штуцера с исправными гранями и резьбой, ниппелей и стяжных хомутов. Соединять отрезки шланга между собой следует металлической трубкой, обжимая ее поверх шланга хомутами. Крепление шланга проволокой запрещается.

Шланги к трубопроводам сжатого воздуха должны подключаться через вентили. Подключать шланги непосредственно к воздушной магистрали не допускается. При отсоединении шланга от инструмента необходимо сначала перекрыть вентиль на воздушной магистрали.

Перед присоединением воздушного шланга к пневматическому инструменту необходимо выпустить конденсат из воздушной магистрали.

Кратковременным открытием клапана продуть шланг сжатым воздухом давлением не выше 0,05 МПа (0,5 кгс/кв. см).

Для проверки пневматического инструмента перед работой следует до установки сменного инструмента (сверло, зубило) включить его на непродолжительное время на холостом ходу.

В работу пневматический инструмент можно включать только тогда, когда сменный инструмент (сверло, зубило) плотно прижат к обрабатываемой детали.

Перед работой с пневматическим инструментом слесарь должен проверить его исправность и убедиться в том, что:

воздушные шланги не имеют повреждений и закреплены на штуцере, сверла, отвертки, зенкера и другие сменные инструменты правильно заточены и не имеет выбоин, заусенцев и прочих дефектов, а хвостовики этого инструмента ровные, без скосов, трещин и других повреждений плотно пригнаны и правильно центрированы;

набор сменных инструментов хранится в переносном ящике;

пневматический инструмент смазан, корпус инструмента без трещин и других повреждений;

абразивный круг на пневматической машине имеет клеймо испытания и огражден защитным кожухом.

Пневматический инструмент следует предохранять от загрязнения. Пневматический инструмент запрещается бросать, подвергать ударам, оставлять без присмотра.

Работники, занятые на работах с использованием ручного пневматического инструмента ударного или вращательного действия, должны быть обеспечены рукавицами с антивибрационной прокладкой со стороны ладони.

2.3 Разработка мероприятий по противопожарной безопасности

Мероприятия по пожарной профилактике разделяются на:

организационные;

технические;

режимные;

эксплуатационные.

Организационные мероприятия: предусматривают правильную эксплуатацию машин, правильное содержание зданий, территории, противопожарный инструктаж.

Технические мероприятия: соблюдение противопожарных правил и норм при проектировании зданий, при устройстве электропроводов и оборудования, отопления, вентиляции, освещения, правильное размещение оборудования.

Режимные мероприятия - запрещение курения в неустановленных местах, запрещение сварочных и других огневых работ в пожароопасных помещениях и тому подобное.

Эксплуатационные мероприятия - своевременная профилактика, осмотры, ремонты и испытание технологического оборудования.

Согласно Правилам пожарной безопасности на каждом предприятии приказом (инструкцией) должен быть установлен соответствующий их пожарной опасности противопожарный режим в том числе:

определены и оборудованы места для курения;

определены места и допустимое количество единовременно находящихся в помещениях сырья, полуфабрикатов и готовой продукции;

установлен порядок уборки горючих отходов и пыли, хранения промасленной спецодежды;

определен порядок обесточивания электрооборудования в случае пожара и по окончании рабочего дня;

Регламентированы:

порядок осмотра и закрытия помещений после окончания работы;

действия работников при обнаружении пожара;

Определены порядок и сроки прохождения противопожарного инструктажа и занятий по пожарно-техническому минимуму, а также назначены ответственные за их проведение.

В АКП должны быть разработаны и на видных местах вывешены планы (схемы) эвакуации людей в случае пожара, а также предусмотрена система (установка) оповещения людей о пожаре.

Инженер по охране труда в дополнение к схематическому плану эвакуации людей при пожаре обязан разработать инструкцию, определяющую действия персонала по обеспечению безопасной и быстрой эвакуации людей, по которой не реже одного раза в 6 месяцев должны проводиться практические тренировки всех задействованных для эвакуации работников.

Горючие отходы, мусор и т.п. следует собирать на специально выделенных площадках в контейнеры или ящики, а затем вывозить.

Около оборудования, имеющего повышенную пожарную опасность, следует вывешивать стандартные знаки (аншлаги, таблички) безопасности.

Одно из условий обеспечения пожаро- и взрывобезопасности любого производственного процесса - ликвидация возможных источников воспламенения.

Рабочие должны соблюдать требования пожарной безопасности:

не подходить с открытым огнем к легковоспламеняющимся жидкостям, материалам и окрасочным камерам;

не прикасаться к кислородным баллонам руками, загрязненными маслом;

курить в отведенных для этой цели местах, имеющих надпись "Место для курения", обеспеченных средствами пожаротушения и оснащенных урнами или ящиками с песком;

не применять для освещения открытый огонь (факелы, свечи, керосиновые лампы);

не применять нестандартные (самодельные) электронагревательные приборы;

не пользоваться электроплитками, электрочайниками и другими электронагревательными приборами без подставок из негорючих материалов;

не оставлять без присмотра включенные в сеть электронагревательные приборы.

При возникновении пожара, не связанного с электрооборудованием, тушение производится с помощью огнетушителей ОХП - 10, ОУ - 5 или водой. Во время тушения пожара, связанного с электрооборудованием или в местах, где находятся токоведущие части, необходимо пользоваться огнетушителем ОУ - 5, рассчитанного для тушения электрооборудования напряжением до 1000 В.

О возникновении пожара немедленно сообщить мастеру, руководству депо и вызвать пожарную команду.

К пожарным средствам относятся:

переносные, передвижные, стационарно установленные (самосрабатывающие) огнетушители;

пожарный инвентарь (бочки с водой, вёдра пожарные, ткани асбестовые, ёмкости с песком);

пожарный инструмент (багры, топоры, лопаты, крючки);

пожарное оборудование (пожарные колонки, стволы, рукава, мотопомпы).

К средствам пожаротушения относятся:

огнетушители (углекислотные ОУ - 5, ОУ - 8), вёдра, металлические лопаты, багры, топоры, ломы, ящики с песком, а также пожарная сигнализация.

О зарядке или перезарядке огнетушителей, испытании баллонов делается соответствующая отметка на бирке, подвешенной на огнетушителе. Перезарядка углекислотных огнетушителей с запорно - пусковым устройством вентильного типа ОУ - 5 производится 1 раз в 3 месяца, пистолетного типа ОУ - 8 1 раз в год.

Тушение пенным огнетушителем и водой горящих электропроводов и электрических машин, находящихся под напряжением, категорически запрещается. Для тушения электропроводки применяются углекислотные огнетушители и сухой песок. При пользовании углекислотными огнетушителями касаться раструба руками нельзя, так как температура его резко понижается.

Огнетушители следует крепить в доступных местах на специальных кронштейнах, обеспечивающих возможность быстрого снятия их при необходимости.

Чтобы привести огнетушитель в действие, необходимо снять его с кронштейна, повернуть ручку вверх до конца на 180º, направить струю в очаг пожара.

Огнетушитель порошковый ОН - 10, закачной. Подготовка его к действию состоит в следующем: подвести огнетушитель к месту загорания на расстояние 1-4 метра, выдернуть чеку, направить насадку на горящую поверхность и нажать на рычаг. Тушение очага пожара производить с наветренной стороны.

2.4 Мероприятия по охране окружающей среды

Приказом начальника пассажирского вагонного депо ответственным за организацию производственного экологического контроля назначается главный инженер депо; уполномоченными за осуществление производственного экологического контроля назначаются главный механик и инженер производственно-технического отдела.

Основными задачами производственного экологического контроля являются:

проверка выполнения и соблюдения законодательства Российской Федерации об охране окружающей среды;

контроль за обращение с опасными веществами, отходами;

контроль за соблюдение лимитов допустимых выбросов загрязняющих веществ в атмосферный воздух, лимитов размещения отходов производства;

контроль за учётом номенклатуры и количества загрязняющих веществ, поступающих в окружающую среду от хозяйственной деятельности предприятия;

контроль за обеспечение своевременной разработки (пересмотра) нормативов в области охраны окружающей среды;

контроль за работой природоохранного оборудования и сооружений;

контроль за получением информации для ведения документации по охране окружающей среды;

контроль за ведением документации по охране окружающей среды;

проверка выполнения мероприятий по рациональному использованию природных ресурсов и охране окружающей среды;

проверка выполнения предписаний территориальных органов Министерства природных ресурсов и охраны окружающей среды Российской Федерации;

установление и устранение причин и условий, способствующих совершению правонарушений в области охраны окружающей среды, привлечения виновных к ответственности.

Мероприятия по рациональному использованию природных ресурсов и охраны окружающей среды разрабатываются сроком на 1 год, утверждаются начальником депо и согласовываются в центре гигиены и эпидемиологии отделения железной дороги.

Мероприятия направлены на уменьшение выбросов загрязняющих веществ в атмосферу, уменьшение вредных веществ в воздухе рабочей зоны, выполнение нормативно -правовых актов по обращению с отходами.

В мероприятиях указываются ответственные исполнители и сроки исполнения.

Контроль за выполнение мероприятий по охране окружающей среды возлагается на главного инженера и производится ежеквартально. В случае непредвиденных ситуаций, которые могут привести к вредным воздействиям на окружающую среду, немедленно сообщается начальнику депо и принимаются меры по ликвидации чрезвычайных ситуаций. При превышении нормативов в области охраны окружающей среды, случаи расследуются комиссией под председательством главного инженера, ответственного за организацию производственного экологического контроля в депо и разрабатываются мероприятия по устранению нарушений, назначаются сроки исполнения и ответственные исполнители, принимаются меры по предупреждению возникновения ситуаций, могущих привести к вредному воздействию на окружающую среду.

3. Реальная часть

.1 Назначение, конструкция и принцип работы штангена базового размера

Штанген базового размера предназначен для измерения расстояния между наружными направляющими буксовых проемов рамы тележки грузового вагона. Также данный шаблон служит наглядным пособием для студентов при изучении материала и самостоятельной работе по конструкции вагонов и ремонту узлов. Шаблон для измерения базы грузовой тележки будет находиться в аудитории и студент может обратиться к нему при изучении материала по дисциплинам «Конструкция подвижного состава» и «Ремонт вагонов», а также использовать данный шаблон на практических занятиях на полигоне для измерения базы грузовой тележки.

В процессе разработки дипломного проекта мной был изготовлен штанген базового размера. Шаблон имеет следующие составные части:

штангу с двумя боковыми упорами, расположенными на противоположных гранях штанги, и измерительной шкалой;

неподвижный упор, жестко закрепленный на конце штанги;

подвижный упор с фиксатором, свободно перемещающийся по штанге с измерительной шкалой в пределах заднего и боковых упоров.

Принцип работы штангена базового размера:

Штанген своими упорами устанавливается между наружными направляющими буксовых проемов рамы тележки грузового вагона, подвижный упор перемещают по штанге до упора и закрепляют фиксатором. После чего по измерительной шкале снимают базовый размер рамы тележки грузового вагона.

3.2 Определение себестоимости штангена базового размера

Себестоимость штангена базового размера складывается из заработной платы дипломанта, расходов на материалы и общехозяйственных расходов.

Расчет заработной платы дипломанта:

Определяем часовую тарифную ставку по формуле:

Ч = , (33)

где ЗПд. - заработная плата дипломанта, (ЗПд. = 3 300 руб.);

Тм. - количество отработанных часов в месяц, (Тм. = 165 ч.).

Ч =  = 20 (руб.)

Определяем заработную плату дипломанта по формуле:

ЗПд. = Ч  Т, (34)

где Ч - часовая тарифная ставка;

Т - количество отработанных часов.

Составляем таблицу затраченных часов на выполнение реальной части дипломного проекта.

Таблица 32 Количество затраченных часов на выполнение реальной части

№ п.п.

ФИО

Май

Июнь

Итого часов

1.

Тилигузов Андрей Андреевич

30

6

36


ЗПд. = 20  36 = 720 (руб.)

Расчет стоимости материалов:

Для определения стоимости материалов составляем таблицу материалов, затраченных на изготовление реальной части дипломного проекта. автоконтрольный пункт воздухораспределитель штанген

Таблица 33 Материалы, затраченные на изготовление реальной части

№ п.п.

Наименование материала

Единица измерения

Цена, руб.

Коли-чество

Стоимость, руб.

1.

Труба ВПГ 30  3,2 мм

м

105

3

315

2.

Труба 20  20  2 мм

м

40

1

40

3.

Кисточка

шт

45

1

45

4.

Уайт-спирит

л

90

1

90

5.

Ветошь

кг

50

0,4

20

6.

Грунтовка по металлу, серая

л

315

0,3

94,5

7.

Электроды ЛЭЗ МР-3С 3 мм

кг

70

3

210


Итого: 814,5 (руб.)

Расчет общехозяйственных расходов:

В общехозяйственные расходы входят расходы на электроэнергию, отопление и воду.

Общехозяйственные расходы Робщ. определяются в процентах от заработной платы (20).

Робщ. = ЗПд.  20, (35)

Робщ. = 720  0,2 = 144 (руб.)

Себестоимость реальной части дипломного проекта определяется по формуле:

С = ЗПд. + Рм. + Робщ., (36)

где ЗПд. - заработная плата дипломанта;

Рм. - расходы на материалы;

Робщ. - общехозяйственные расходы.

С = 720 + 814,5 + 144 = 1 678,5 (руб.)

Заключение

Дипломный проект выполнен в соответствии с заданной темой: «Организация работы автоконтрольного пункта пассажирского депо», и состоит из пояснительной записки и графической части.

Пояснительная записка содержит данные по трем разделам:

технологической части;

охране труда;

реальной части.

В технологической части описаны организация работы автоконтрольного пункта, технологический процесс ремонта воздухораспределителей, расчет производственной программы, расчет потребного оборудования и контингента, приведены расчеты и планировка автоконтрольного пункта.

В разделе «Охрана труда» описаны санитарно-гигиенические условия труда и рассмотрены мероприятия по охране окружающей среды, противопожарной безопасности и по технике безопасности в автоконтрольном пункте, требования к персоналу и к инструменту.

В реальной части описаны назначение и конструкция устройства, представлены расчеты его себестоимости.

В период выполнения дипломного проекта я ознакомился с типовыми технологическими процессами работы депо и автоконтрольного пункта. Эти сведения были использованы при выполнении дипломного проекта.

Библиографический список

Основная литература:

. Стрекалина Р.П. Экономика, организация вагонного хозяйства. Учебник для техникумов и колледжей ж.д. транспорта .-М.: Маршрут, 2005;

. Иноземцев В.Г.,Казаринов В.М., Ясенцев В.Ф. Автоматические тормоза. Учебник для вузов ж.д. транспорта. -М.: Транспорт, 1981;

. Быков Б,В, Пигарев В.Е. Технология ремонта вагонов .Учебник для средних учебных заведений ж.д. транспорта. -М.: Желдориздат, 2001.

Дополнительная литература:

. Дмитреев Г.А. Экономика железнодорожного транспорта. -М.: Транспорт, 1996;

. Крутяков А.А., Сибаров Ю.Г. Учебник для техникумов ж.д. транспорта, охрана труда на ж.д. транспорте. -М.: Транспорт, 1993;

. Либман А.З., Демченков Г.И. Вагонное хозяйство. Пособие по дипломному проектированию. -М.: Транспорт, 1983 г;

. Устич П.А., Хаба И.И., Иванов В.А. Вагонное хозяйство: Учебник для вузов ж.д. транспорта. -М.: Маршрут, 2003;

Электронные ресурсы:

1.   Воздухораспределители 292 и 292М. Руководство по ремонту Р 013 ПКБ ЦВ-2001 РК - http://fullref.ru/job;

2.      Правила по охране труда при техническом обслуживании и ремонте грузовых вагонов и рефрижераторного подвижного состава ПОТ РО-32-ЦВ-400-96 - http://base.consultant.ru/cons/cgi/online.

Похожие работы на - Организация работы автоконтрольного пункта автотормозов (АКП) пассажирского вагонного депо

 

Не нашли материал для своей работы?
Поможем написать уникальную работу
Без плагиата!
Без нейросетей!