Организация вагонопотоков

  • Вид работы:
    Курсовая работа (т)
  • Предмет:
    Транспорт, грузоперевозки
  • Язык:
    Русский
    ,
    Формат файла:
    MS Word
    65,92 Кб
  • Опубликовано:
    2015-07-23
Вы можете узнать стоимость помощи в написании студенческой работы.
Помощь в написании работы, которую точно примут!

Организация вагонопотоков

1. Определение гружёных вагонопотоков

Схема направления А - Е - З представлена на рис. 1 задания. Гружёные вагонопотоки определяются согласно учебному шифру по табл. 1 - 10 задания. Таблица своего шифра приводится в пояснительной записке, в данном разделе будет табл. 1.1.

Таблица 1.1. Гружёные среднесуточные вагонопотоки на направлении А - Е - З

Из/на

А

Б

В

В-Г

Г

Г-Д

Д

Е

Г-Ж

Ж

З

Итого отправление

А

-

406

432

-

268

3

259

325

4

117

265

2079

Б

311

-

64

6

39

5

119

76

5

211

7

843

В

115

40

-

4

47

-

163

155

-

181

178

883

В-Г

19

6

-

-

-

9

4

2

7

-

-

47

Г

156

3

109

-

-

-

209

106

5

-

131

719

Г-Д

-

-

4

23

-

-

4

-

164

-

17

64

Д

483

156

239

-

92

-

-

361

-

20

206

1557

Е

319

297

172

3

51

-

79

-

-

29

137

1087

Г-Ж

2

4

3

14

-

7

3

3

-

-

-

36

Ж

137

27

49

-

6

-

34

21

-

-

12

286

З

253

161

85

-

51

6

24

82

-

83

-

745

Итого прибытие

1795

1100

1157

50

554

30

898

1131

37

641

953

8346


2. Маршрутизация вагонопотоков с мест погрузки

Маршруты с мест погрузки подразделяются:

) по условиям формирования:

-   отправительские;

-   ступенчатые;

) по назначению:

-   прямые;

-   в распыление.

Определение эффективности назначения маршрутов с мест погрузки заключается в сравнении затрат при отправлении вагонов маршрутами по сравнению с немаршрутными отправлениями. 

Необходимые условия:

) суммарный суточный объём погрузки N по всем грузам всех грузоотправителей, участвующих в организации маршрута данного назначения должен быть не менее нормы длины состава маршрута mм;

) суммарная выгрузочная способность за сутки у всех грузополучателей по всем грузам, включаемым в данный маршрут должна быть не менее N;

) между станцией погрузки маршрута и станцией его назначения должна быть хотя бы одна техническая станция, на которой по плану формирования поездов предусмотрена переработка вагонопотока данного назначения.

Если маршрут формируется на подъездном пути, то от этой работы должна освобождаться станция примыкания [1]]

Если необходимые условия соблюдаются, то проверяется достаточное условие - дополнительные затраты на организацию маршрута на станциях погрузки и выгрузки по сравнению с немаршрутным отправлением не должны превышать экономии в пути следования для данного вагонопотока.

Достаточное условие может выражаться:

) в деньгах - при этом используются расходные ставки на 1 вагоно-час, 1 локомотиво-час, 1 бригадо-час;

) в приведённых вагоно-часах за сутки - при этом все виды затрат с помощью экономических эквивалентов приводят к вагоно-часам. В этом случае достаточное условие выражается в виде формулы:

             (2.1)

                  (2.2)

 (2.3)

                   ……… (2.4)

Для определения погрузки исходя из данных табл. 1.1 и пунктов 1-7 задания составляются табл. 2.1 и 2.2. Количество вагонов в составе маршрута mм принимается согласно пункту 7 задания.

Так как согласно данных табл. 2.1 размеры погрузки вагонов на участках и станциях направления назначением на участки В-Г, Г - Д, Г - Ж не отвечают первому необходимому условию, возможность маршрутизации вагонопотоков назначением на отдельные станции а, б, в, г, д участка В-Г не рассматривается [2].

Таблица 2.1. Погрузка на станциях и участках направления (вагонов за сутки)

Из/на

Станции и участки выгрузки


А

Б

В

В-Г

Г

Г-Д

Д

Е

Г-Ж

Ж

З

А

-

81

86

-

54

1

52

65

1

23

53

Б

156

-

32

3

20

3

60

38

3

106

4

В

58

20

-

2

24

-

82

78

-

91

89

В-Г

19

6

-

-

-

9

4

2

7

-

-

Г

156

3

109

-

-

-

209

106

5

-

131

Г-Д

-

-

4

23

-

-

4

-

16

-

17

Д

242

78

120

-

46

-

-

181

-

10

103

Е

64

59

34

1

10

-

16

-

-

6

27

Г-Ж

2

4

3

14

-

7

3

3

-

-

-

Ж

69

14

25

-

3

-

17

11

-

-

6

З

51

32

17

-

10

1

5

16

-

17

-

Таблица 2.2 (а). Распределение погрузки по промежуточным станциям участка В-Г

Из/на

Станции и участки выгрузки


А

Б

В

В-Г

Г

Д

Е

Г-Ж

Ж

З

а

1

1




1

1

1

1



б

1

1




1

1

-

1



в

1

1




1

-

-

1



г

1

1




1

1

-

1



д

15

2




5

1

1

3



Итого

19

6




9

4

2

7



Таблица 2.2 (б). Распределение выгрузки по промежуточным станциям участка В-Г

Из/на

Станции и участки выгрузки


А

Б

В

В-Г

Г

Г-Д

Д

Е

Г-Ж

Ж

З

а


1

1



5


1

3



б


1

-



5


-

3



в


-

-



5


-

3



г


-

-



5


-

3



д


1

1



3


-

2



Итого


3

2



23


1

14



Размеры погрузки вагонов на участках назначением на станции не отвечают первому необходимому условию, поэтому возможность маршрутизации вагонопотоков назначением на отдельные станции не рассматривается.

По данным табл. 2.1 выполняются расчёты по определению эффективности маршрутов с мест погрузки [3]

Результаты расчётов представляются в табл. 2.3. На основании данных табл. 2.3 определяется план формирования маршрутов с мест погрузки и представляется в виде табл. 2.4.

Таблица 2.3. Маршрутизация вагонопотоков с мест погрузки

Назначение вагонопотока

Кол-во ваг\сут

ΣТэк

tпэк

tвэк

ΔЭп

ΔЭв

ΔЭп+ ΔЭв≤ ΔЭслэк



станции

значения






из А на В

86

Б

5

0

0

258

344

602≤430

из А на Г

54

Г

3,5

0

0

162

216

378≤189

из А на Д

52

Г

3,5

0

0

156

208

364≤182

из А на Е

65

Г

3,5

0

0

195

260

455≤228

из А на З

53

Г

3,5

0

0

159

212

371≤186

из Б на Д

60

В, Г

10,8

0

0

180

240

420≤648

из Б на Ж

106

В, Г

10,8

0

0

318

424

742≤1145

из В на А

58

Б

5

0

0

174

232

406≤290

из В на Д

82

Г

3,5

0

0

246

328

574≤287


Таблица 2.4. План формирования маршрутов с мест погрузки

Станция формирования

Станция назначения

Количество вагонов в среднем за сутки

Количество вагонов в составе поезда

Количество поездов в среднем за сутки

Б

Д

60

51

1,18

Б

Ж

106

51

2,08

Г

А

156

51

3,06

Г

З

131

51

2,57

Д

Б

78

51

1,53

Е

Б

59

51

1,16


3. Организация порожних вагонопотоков

При организации порожних вагонопотоков необходимо определить станции и участки зарождения порожних вагонопотоков, где наблюдается избыток порожних вагонов и станции погашения вагонопотоков, где наблюдается недостаток порожних вагонов и установить пункты формирования маршрутов из порожних вагонов [4]

В общем случае порожние вагоны включаются в состав:

) маршрутов из порожних вагонов;

) комбинированных поездов.

Исходными данными для расчёта эффективности маршрутов из порожних вагонов является табл. 3.1, а также маршруты следования порожних вагонопотоков. Таблица 3.1 составляется по данным таблицы 1.1. По данным об избытке и недостатке порожних вагонов строится схема исходных порожних вагонопотоков (рис 3.1).

В общем виде целесообразность выделения отдельных струй порожних вагонопотоков в самостоятельные маршруты из порожних вагонов определяется выражением:

 приведённых вагоно-часов / сутки (3.1)

Условие эффективности маршрутизации порожних вагонопотоков (3.1) проверяется только для тех струй вагонопотоков, мощность которых превышает состав маршрута, и которые от пункта избытка до пункта недостатка порожних вагонов следуют в единственном числе. По данным таблицы 3.1 такой струи нет. Приняв сп = 10, mп = 59.

Т Бэк = 5      Т Вэк = 7,3   Т Гэк=3,5     Т Дэк=5,9    Т Жэк=7

Таблица 3.1. Избыток и недостаток порожних вагонов на станциях и участках направления

Станции и участки

Отправление вагонов

Прибытие вагонов

Избыток

Недостаток

А

2079

1795


284

Б

843

1100

257


В

883

1157

274


В-Г

47

50

3


Г

719

554


165

Г-Д

64

30


34

Д

1557

898


659

Е

1087

1131

44


Г-Ж

36

37

1


Ж

286

641

355


З

745

953

208


Итого

8346

8346

1142

1142

Если между пунктами избытка и недостатка порожних вагонов следуют несколько струй порожних вагонов, то рассматривают две расчётные схемы:

) возрастание размеров порожних вагонопотоков;

) убывание размеров порожних вагонопотоков.

При возрастании размеров порожнего вагонопотока последовательно проверяют для пунктов избытка целесообразность формирования маршрутов из порожних вагонов (если Nпор mп) по условию:

 приведённых вагоно-часов / сутки (3.2)

Для условия (3.2) Тэк берётся по первому попутному пункту избытка, где порожний вагонопоток возрастает. Для рис 3.1 возрастание размеров порожних вагонопотоков имеет место для струй: а) 2 из В на А и 1 из Б на А; б) 8 из З на Д и 7 из Ж на Д.

Рассмотрим струи 2 и 1. Для струи 2 условие (3.2) не проверяется, т.к. 27 < 59, т.е. 27 вагонов струи 2 будут включаться в составы комбинированных поездов и следовать от В до Б вместе с гружёными вагонами. Проверим целесообразность формирования на станции Б маршрутов из (257 + 27) порожних вагонов по условию (3.2):

· (0+0,5+4,5) ≥ 10·59

≥590

Так как условие выполняется, то из 284 порожних вагонов на станции Б будут формироваться маршруты из порожних вагонов и следовать до станции А.

Проверим целесообразность формирования из струи 8 маршрутов из 208 порожних вагонов из З на Д по условию (3.2):

· (10,5+[0,5+ 0,5+0,5]+4,5) ≥ 10·59

≥590

Условие выполняется, т.е. на станции З устанавливается формирование маршрутов из порожних вагонов назначением на станцию Д. Если бы условие не выполнилось, то порожние вагоны в комбинированных поездах передавались на станцию Ж, где были бы добавлены к 355 порожним вагонам струи 7 [5].

При убывании размеров порожнего вагонопотока рассматривается целесообразность формирования маршрутов в совокупности из всех струй порожних вагонов, для которых Nпор jmп, по условию:

 приведённых вагоно-часов /сутки (3.3)

Для рис 3.1 убывание размеров порожних вагонопотоков имеет место для струй:

а) 3 и 4 со станции В;

б) 5 и 6 со станции В.

Для струй 3 и 4 условие (3.3) имеет вид:

∙ (0+(0,5/2)+4,5)+161 · (0+0,5+4,5) ≥ 10·59

,25 ≤ 590

Условие выполняется, т.е. со станции В устанавливается формирование маршрутов из порожних вагонов назначением на станцию Г и участок В-Г.

Для струй 5 и 6 условие (3.3) имеет вид:

(34 ∙ (3,5+(0,5+0,5/2)+4,5)+52 · (3,5+(0,5+0,5)+4,5) ≥ 10∙59

.5 ≤ 590

Условие выполняется, т.е. со станции В устанавливается формирование маршрутов из порожних вагонов назначением на станцию Д и участок Г - Д.

Порожние вагоны струй 9 и 10 будут следовать в комбинированных поездах, т.к. для них Nпор < mп.

Полученный в результате расчётов план формирования маршрутов из порожних вагонов представляется в виде табл. 3.2.

Таблица 3.2. План формирования маршрутов из порожних вагонов

Станция формирования

Станция назначения

Количество вагонов в среднем за сутки

Количество вагонов в составе поезда

Количество поездов в среднем за сутки

Б

А

284

59

4,8

В

Д

86

59

1,5

В

Г

164

59

2,8

Ж

Д

355

59

6,02

З

Д

59

3,5



4. Расчет плана формирования одногруппных сквозных поездов

.1 Определение исходных вагонопотоков

поезд вагонопоток порожний маршрутизация

Для определения исходных вагонопотоков отдельно чётного и нечётного направления следования составляются таблицы 4.1 и 4.2, в которые заносятся вагонопотоки из табл. 1.1 за вычетом вагонопотоков, вошедших в план формирования отправительских маршрутов (с мест погрузки) (см табл. 2.4) и с прибавлением порожних вагонопотоков, показанных на рис. 3.1, которые не были включены в план формирования маршрутов из порожних вагонов (см. табл. 3.2).

Таблица 4.1. Исходные вагонопотоки для расчёта плана формирования одногруппных сквозных поездов в чётном направлении следования

На  Из

Б

В+ (В-Г)

Г+(Г - Д)+(Г - Ж)

Д

Е

Ж

З

А

406

432

275

259

325

109

265

Б

-

70

49

59

76

103

7

В

-

-

81

215

155

183

178

Г + (В-Г) + (Ж - Г)

-

-

-

216

111

-

131

Г + (В-Г) + (Д - Г)

-

-

-

-

-

-

148

Д + (Г - Д)

-

-

-

-

361

-

223

Ж + (Г - Ж)

-

-

-

-

-

-

12


Таблица 4.2. Исходные вагонопотоки для расчёта плана формирования одногруппных сквозных поездов в нечётном направлении следования

На Из

Ж

Д + (Д - Г)

Г+(Г - В)+(Г - Ж)

В

Б

А

З

83

54

41

85

161

253

Ж

-

389

6

49

27

137

Е

29

123

54

172

238

319

Д

20

-

92

239

78

483

Г + (Г - Д) + (Г - Ж)

-

-

-

116

7

158

В + (В-Г)

-

-

-

-

46

134

Б

-

-

-

-

-

311


Расчёт плана формирования одногруппных сквозных поездов чётного направления следования

Расчёт плана формирования одногруппных сквозных поездов может производиться любым известным аналитическим методом, в частности, методом непосредственного аналитического расчёта профессора В.М. Акулиничева. Суть метода состоит в следующем:

) производится классификация струй (основные, дополнительные, вспомогательные, присоединяемые) [6];

) формируются варианты объединения струй;

) выбирается вариант с минимальной суммой затрат приведённых вагоно-часов за сутки, связанных с накоплением составов поездов и переработкой вагонопотоков в пути следования:

                          (4.1)

Основные - это струи, отвечающие общему достаточному условию (ОДУ):

 (4.2)

Основные струи сразу заносятся в оптимальный вариант плана формирования поездов.

Дополнительные - струи, отвечающие необходимому условию (НУ):

 (4.3)

Дополнительные струи могут следовать самостоятельно, если они отвечают достаточному условию (ДУ) относительно всех более коротких струй, включённых в данный вариант плана формирования, иначе они должны объединяться с более короткими струями:

 (4.4)

Вспомогательные назначения - это объединение нескольких струй, которые вместе образуют суммарную струю, отвечающую необходимому условию (4.3). Эта суммарная струя всегда совпадает с самой короткой из объединяемых струй. Вспомогательные назначения рассматриваются также, что и дополнительные.

Остальные или присоединяемые - это струи, которые всегда присоединяются к другим струям, в том числе и к участковым [6].

Формирование вариантов производится по следующим правилам:

) основные струи включаются во все варианты;

) дополнительные струи объединяются с более короткими, относительно которых не выполняется достаточное условие (4.4), при этом выбирается такое объединение, которое даёт наименьшую переработку, т.е. минимальную Тэк j по станции переработки;

) вспомогательные назначения (если они остались) рассматриваются также как дополнительные струи.

Присоединяемые струи присоединяются также как и дополнительные.

Рассматриваются следующие возможные варианты:

) объединение, т.е. переработка струи по станции с наименьшей Тэк;

) сохранение более дальних назначений (в том числе и вспомогательных назначений).

По данным табл. 4.1 строится исходный поструйный ступенчатый график вагонопотоков чётного направления следования, представленный на рис. 4.1. Значения с, Тэк, m принимаются согласно пунктов 3, 4, 8 задания.

Рис. 4.1 Исходные вагонопотоки для расчёта плана формирования одногруппных сквозных поездов в чётном направлении.

Выявим основные струи, отвечающие условию (4.2):


струя: 432 · 5 ≥ 51 · 10,9                                   2160 ≥ 556 основная

струя: 275 · 3,5 ≥ 51 · 10,9                                963 ≥ 556 основная

струя: 117 · 3,5 ≥ 51 · 10,9                                410 ≥ 556 не основная

струя: 259 · 3,5 ≥ 51 · 10,9                                907 ≥ 556 основная

струя: 325 · 3,5 ≥ 51 · 10,9                                1138 ≥ 556 основная

струя: 265 · 3,5 ≥ 51 · 10,9                                928 ≥ 556 основная

струя: 49· 3,5 ≥ 51 · 9,0                                     172 ≥ 459 не основная

струя: 59 · 3,5 ≥ 51 · 9,0                                    207 ≥ 459 не основная

струя: 76 · 3,5 ≥ 51 · 9,0                                    266 ≥ 459 не основная

струя: 105 · 3,5 ≥ 51 · 9,0                                  368 ≥ 459 не основная

струя: 7 · 3,5 ≥ 51 · 9,0                                      25 ≥ 459 не основная

струя: 215 · 3,5 ≥ 51 · 9,8                                  753 ≥ 499,8 основная

струя: 155 · 3,5 ≥ 51 · 9,8                                  543 ≥ 499,8 основная

струя: 181 · 3,5 ≥ 51 · 9,8                                  634 ≥ 499,8 основная

струя: 178 · 3,5 ≥ 51 · 9,8                                623 ≥ 499,8 основная

струя: 216 · 3,5 ≥ 51 · 10,6                      756 ≥ 541 основная

струя: 148 · 7 ≥ 51 · 10,6                         1036 ≥ 541 основная

струя: 111 · 5.9 ≥ 51 · 10,6                      654.9 ≥ 541 основная

струя: 361 · 7 ≥ 51 · 9.3                           2527 ≥ 474.3 основная

струя: 12 · 5.9 ≥ 51 · 8                    70.8 ≥ 408 не основная

Далее выявим дополнительные струи, которые должны удовлетворять условию:


струя: 117 · (5+7,3+3,5) ≥ 51 · 10,9                  1848,6 ≥ 555,9 дополнительная

струя: 49 · 7,3 ≥ 51 · 9,0                                    357,7 ≥ 459 не дополнительная

струя: 59 · (7,3+3,5) ≥ 51 · 9,0                          637,2 ≥ 459 дополнительная

струя: 76 · (7,3+3,5+5,9) ≥ 51 · 9,0         1269,2 ≥ 459 дополнительная

струя: 105 · (7,3+3,5) ≥ 51 · 9,0               1134 ≥ 459 дополнительная

струя: 7 · (7,3+3,5+5,9) ≥ 51 · 9,0           116,9 ≥ 459 не дополнительная

струя: 12 · 5,9 ≥ 51 · 8          70,8 ≥ 408 не дополнительная

Вспомогательные назначения должны удовлетворять условию:


Струя (9+13): (49+7) · 7,3 ≥ 51 · 9,0                408,8 ≥ 459

Струя (13+25): (7+12) · 5,9 ≥ 51 · 8,0              112,1 ≥ 408

Условие не выполняется, следовательно, струя (9+13), (13+25) не является вспомогательным назначением.

Таким образом, струи 9, 13,25 являются остальными или присоединяемыми струями.

Формируем возможные варианты объединения струй плана формирования поездов.

Вариант 1 получается путём присоединения к основным струям всех других струй при невыполнении для них достаточного условия (4.4) с обеспечением наименьшей переработки, т.е. минимальной Тэк по станциям переработки. В первую очередь рассматриваются дополнительные струи, затем - вспомогательные назначения.

Для 4 струи проверяем достаточное условие (4.4) относительно струй 2 и 18:

∙ 3.5 ≥ 51 ·10.9                       409.5 ≥ 555.9

Условие не выполняется, следовательно, струя 4 не может следовать самостоятельно.

Для 10 струи проверяется ДУ относительно 8 и 16 струй:

∙ 7,3 ≥ 51 · 9,0                        430,7 ≥ 459

Условие не выполняется, следовательно, струя 10 не может следовать самостоятельно.

Для 11 струи проверяется ДУ относительно 8 и 17 струй:

∙ 7.3 ≥ 51 · 9,0                        554,8 ≥ 459

Условие выполняется, следовательно, струя 11 может следовать самостоятельно.

Для 12 струи проверяется ДУ относительно 8 и 18 струй:

∙ 7,3 ≥ 51 · 9,0                        767 ≥ 459

Условие выполняется, следовательно, струя 12 может следовать самостоятельно.

Струя 9 объединяется с 8 и 15 струями.

Струя 13 объединяется с12 и 25 струями.

Вариант 1 представлен на рис. 4.2.

Затраты на накопление по 1 варианту составят:


Затраты на переработку по 1 варианту составят:


Суммарные затраты на накопление и переработку по 1-му варианту составят:

 приведённых вагоно-часов / сутки

Рис. 4.2 Вариант 1 объединения струй плана формирования одногруппных сквозных поездов в чётном направлении

Другие варианты объединения струй получаются путём сохранения более дальних назначений за счёт объединения между собой дополнительных струй (при невыполнении ДУ) и выделения в качестве самостоятельных вспомогательных назначений (при выполнении для них ДУ).

В связи с тем, что 11 и 12 струи следуют самостоятельно, и нет струй, которые можно было бы объединить с 5-й струёй, чтобы она следовала самостоятельно, а также в связи с отсутствием вспомогательных назначений 2-го варианта плана формирования одногруппных сквозных поездов (с сохранением более дальних назначений) - нет.

Таким образом, вариант 1 - оптимальный вариант плана формирования одногруппных сквозных поездов (рис. 4.2) чётного направления следования.

Расчёт плана формирования одногруппных сквозных поездов нечётного направления следования

Исходные вагонопотоки для расчёта плана формирования одногруппных сквозных поездов в нечётном направлении (цифры условные).

Выявим основные струи в нечётном направлении, отвечающие условию (4.2):

струя: 311· 5 ≥ 51 · 9,0                                      1555 ≥ 459 основная

струя: 134 · 5 ≥ 51 · 9,8                           670 ≥ 499,8 основная

струя: 158 · 3,5 ≥ 51 ·10,6                       553 ≥ 541 основная

струя: 483 · 3,5 ≥ 51 · 9,3                                  1691 ≥ 474,3 основная

струя: 78 · 3,5 ≥ 51 · 9,3                                    273 ≥ 474,3 не основная

струя: 239 · 3,5 ≥ 51 · 9,3                        836,5 ≥474,3 основная

струя: 319 · 3,5 ≥ 51 · 11                         1117 ≥ 561 основная

струя: 238 · 3,5 ≥ 51 · 11                                   833 ≥ 561 основная

струя: 172 · 3,5 ≥ 51 · 11                                   602 ≥ 561 основная

струя: 54 · 3,5 ≥ 51 · 11                                     189 ≥ 561 не основная

струя: 123 · 5,9 ≥ 51 · 11                                   725,7 ≥ 561 основная

струя: 137 · 3,5 ≥ 51 · 8                                     480 ≥ 408 основная

струя: 27 · 3,5 ≥ 51 · 8                    94,5 ≥ 408 не основная

струя: 49 · 3,5 ≥ 51 ·8                     171,5 ≥ 408 не основная

струя: 253· 3,5 ≥ 51 · 11,4                      885,5 ≥ 581,4 основная

струя: 161 ·3,5 ≥ 51 · 11,4                       563,5 ≥ 581,4 не основная

струя: 85 ·3,5 ≥ 51 · 11,4                         5297,5≥ 581,4 не основная

струя: 51 ·3,5 ≥ 51 · 11,4                         178,5 ≥ 581,4 не основная

струя: 83 ·5,9 ≥ 51 · 11,4                         489,7 ≥ 581,4 не основная

Далее выявим дополнительные струи, которые должны удовлетворять условию (4.3):

струя: 78 · (3,5+7,3) ≥ 51 · 9,3                          842 ≥ 474 дополнительная

струя: 54 · 5,9 ≥ 51 · 11 318,6 ≥ 561 не дополнительная

струя: 27 · (3,5+7,3) ≥ 51 · 8                    291,6 ≥ 408 не дополнительная

струя: 49 · 3,5 ≥ 51 · 8                             172 ≥ 408 не дополнительная

струя: 161 · (5,9+3,5+7,3) ≥ 51 ·11,4                2689 ≥ 581 дополнительная

струя: 85 · (5,9+3,5) ≥ 51 · 11,4                        799 ≥ 581 дополнительная

Далее выявим вспомогательные назначения, которые должны удовлетворять условию (4.3):

Струя (42 + 43.): (27+49) · 3,5 ≥ 51 · 8            266 ≥ 408

Условие не выполняется, т.е. струи 42 и 43 являются присоединяемыми.

Формируем возможные варианты объединения струй плана формирования поездов в нечётном направлении.

Для 33 струи проверим условие (4.4) относительно 28, 31 и 35:

·(7.3+3,5) ≥ 51 ∙ 9.3     842.4 ≥ 474.3

Условие выполняется, следовательно, струя 33 может следовать самостоятельно.

Струя 46 объединяется со струями 28, 31 и 48

·(7.3+3,5) ≥ 51 ∙ 11,4 1738 ≥ 581,4

Условие выполняется, следовательно, струя 46 может следовать самостоятельно.

Струя 47 объединяется со струями 31, 44 и 49

·(3,5+7) ≥ 51 ∙ 11,4      892,5 ≥ 581,4

Условие выполняется, следовательно, струя 47 может следовать самостоятельно.

Струя 39 объединяется со струями 35 и 40

·5,9 ≥ 51 ∙ 11       318,6 ≥ 561

Условие не выполняется, следовательно, струя 39 не может следовать самостоятельно.

Рис. 4.3. Объединение струй плана формирования одногруппных сквозных поездов в нечётном направлении

Вариант 1 представлен на рис. 4.4.

Затраты на накопление по 1 варианту составят:


Затраты на переработку по 1 варианту составят:


В целом, затраты на накопление и переработку по 1-му варианту составят:


Рассмотрим угловые вагонопотоки на направлениях Е - Г - З и З - Г - Е относительно более коротких струй уже имеющихся в оптимальном варианте.

Исходные вагонопотоки на направлении З - Г - Е представлены на рис. 4.4.

Рис. 4.4. Исходные вагонопотоки на направлении З - Г - Е

Выявим основные струи, которые должны отвечать условию (4.2):

струя: 51 · 7 ≥ 51 · 11,4                                     357 ≥ 581,4 не основная

струя: 238 · 3,5 ≥ 51 · 11,4                      833 ≥ 581,4 основная

струя: 82 · 3,5 ≥ 51 · 11,4                                  287 ≥ 581,4 не основная

струя: 389 · 3,5 ≥ 51 · 8                                     1361,5 ≥ 408 основная

струя: 21 · 3,5 ≥ 51 · 8                    73,5 ≥ 408 не основная

струя: 216 · 5,9 ≥ 51 · 10,6                      1274,4 ≥ 540,6 основная

струя: 111 · 5,9 ≥ 51 · 10,6                      654,9 ≥ 540,6 основная

Выявим дополнительные струи, отвечающие условию (4.3):

струя: 51 · 7 ≥ 51 · 11,4                                     357 ≥ 581,4 не дополнительная

52 струя: 82 ∙ (7 + 3,5 + 5,9) ≥ 51 ∙ 11,4           1344,8 ≥ 581,4 дополнительная

струя: 21 ∙ (3,5 + 5,9) ≥ 51 ∙ 8                           197,4 ≥ 408 не дополнительная

Далее выявим вспомогательные назначения, которые должны удовлетворять условию (4.3)

Проверяем достаточное условие (4.4) для струи 52 относительно 49, 53, 20:

· (7+3,5) ≥ 51 ∙ 11,4                         861≥ 581,4

Условие выполняется, следовательно, струя 52 может следовать самостоятельно.

Для 50 струи проверим условие ДУ относительно 49,53:

·7 ≥ 51 ∙ 11,4 357 ≥ 581,4

Условие не выполняется, следовательно, струя 50 не может следовать самостоятельно.

Для 55 струи проверим условие ДУ относительно 54, 23:

·5,9 ≥ 51 ∙ 8 123,9 ≥ 408

Условие не выполняется, следовательно, струя 55 не может следовать самостоятельно.

Данный вариант объединения струй будет единственным и оптимальным (рис. 4.5).

Рис. 4.5. Оптимальный вариант угловых вагонопотоков на направлении З - Г - Е

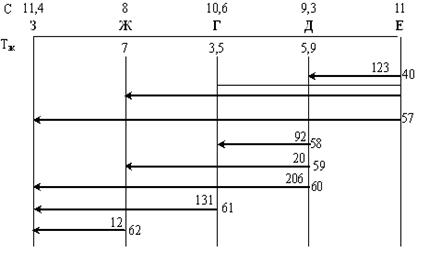
Рассмотрим угловые вагонопотоки на направлении Е - Г - З.

Рис. 4.6. Исходные вагонопотоки на направлении Е - Г - З

Выявим основные струи, которые должны отвечать условию (4.2):

струя: 54 · 5,9 ≥ 51 · 11                                     318,6 ≥ 561 не основная

струя: 29 · 3,5 ≥ 51 · 11                  101,5 ≥ 561 не основная

струя: 137 · 3,5 ≥ 51 · 11                                   479,5 ≥ 561 не основная

струя: 20 · 3,5 ≥ 51 · 9,3                                    70 ≥ 474,3 не основная

струя: 206 · 3,5 ≥ 51 · 9,3                        721 ≥ 474,3 основная

струя: 131 · 7 ≥ 51 · 10,6                         917 ≥ 540,6 основная

струя: 62 · 7 ≥ 51 · 8                       434 ≥ 408 основная

Выявим дополнительные струи, отвечающие условию (4.3):

струя: 54 ∙ 5,9 ≥ 51 ∙ 11                            318,6 ≥ 561 не дополнительная

струя: 29 · (5,9+3,5) ≥ 51 · 11                  272,6 ≥ 561 не дополнительная

струя: 137 · (5,9+3,5+7) ≥ 51 · 11  2246,8 ≥ 561 дополнительная

59 струя: 20 ∙ 3,5 ≥ 51 ∙ 9,3                      70 ≥ 474,3 не дополнительная

Далее выявим вспомогательные назначения, которые должны удовлетворять условию (4.3):

Струя (39 + 56.): (54+29) · 5,9 ≥ 51 · 11          489,7 ≥ 561

Условие не выполняется, т.е. струи 39 и 56 являются присоединяемыми.

Все присоединяемые струи должны объединяться с основными и участковыми струями.

Проверяем достаточное условие (4.4) для струи 57 относительно 39, 61:

· 3,5 ≥ 51 ∙ 11                         479,5≥ 561

Условие не выполняется, следовательно, струя 57 не может следовать самостоятельно.

Других вариантов нет, оптимальный вариант представлен на рис. 4.7.

Рис. 4.7. Оптимальный вариант угловых вагонопотоков на направлении Е - Г-З

. План формирования групповых поездов

Групповыми называют поезда, составляемые из вагонов нескольких назначений, каждое из которых подобрано в отдельную группу. Организация групповых поездов взамен двух одногруппных назначений поездов сокращает простой вагонов под накоплением, а формирование групповых поездов взамен одногруппных, имевших назначение на ближайшую участковую станцию, позволяет заменить сортировочную работу на этой участковой станции обменом групп в групповом поезде [2].

В качестве критерия организации вагонопотоков принимается сумма годовых приведённых затрат Еприв, связанных с накоплением и формированием составов поездов и их переработкой в пути следования.

 тг/год (5.1)


6. Организация сборного и участкового вагонопотоков

Общие положения

При наличии на участке сборного и участкового вагонопотоков (сборно-участкового потока), существует, как известно, три схемы их организации в поезда. Схемы представлены на рис. 6.1.


Nуч





1)

Nсб










2)

Nсб + Nуч












Nуч - ΔNуч





3)

Nсб + ΔNуч

Рис. 6.1 Варианты организации сборно-участкового потока в поезда

В первой схеме участковый поток и сборный отправляются в раздельных поездах. Во второй схеме - сборный и участковый потоки отправляется в совместных поездах. В третьей схеме выделяется участковое назначение и часть участкового потока используется для пополнения сборных поездов до нормы.

Каждая из приведенных схем имеет свои преимущества и недостатки. Так при отправлении сборного и участкового потоков в совместных поездах по сравнению с раздельным сокращается простой вагонов под накоплением, ускоряется процесс доставки груза грузополучателям, сокращается простой местных вагонов на промежуточных станциях в ожидании прицепки к сборному поезду. Однако в тоже время создаются наихудшие условия для продвижения участкового потока, т.е. замедляется его продвижение по участку[3].

При назначении участковых и сборных поездов должен быть решен вопрос о том, целесообразно ли участковый вагонопоток выделять в специальные участковые поезда или же этот вагонопоток должен включаться в сборные поезда. Вопрос этот возникает в связи с тем, что выделение участковых поездов как самостоятельного назначения специализации при ма лом вагонопотока может в ряде случаев вызвать слишком большую затрату времени на накопление.

При включении участковых вагонов в сборные поезда время накопления участкового поезда устраняется, но зато замедляется продвижение этих вагонов по участку. Когда сборные поезда пополняются до установленной весовой нормы вагонами назначением на следующую участковую станцию, то участковые поезда целесообразно выделять в том случае, если

 (6.1)

где - суточная затрата Вагоно-часов на накопление участкового поезда;

 - его вагонопоток;

 - разность времени хода по участку сборного (tсб) и участкового (tуч) поездов;

 - разность времени переработки (не считая накопления) сборного и участкового поездов.

Дополнительно следует произвести проверку, удовлетворит ли подобный порядок формирования уставным срокам доставки грузов.

Условие (6.1) является приближенным. Окончательное решение о назначении участковых поездов производится на основе составления плана-графика местной работы участков.

Сборные поезда формируются с подборкой вагонов по станциям участка, причем сборно-раздаточные вагоны ставятся отдельной группой.

Похожие работы на - Организация вагонопотоков

 

Не нашли материал для своей работы?
Поможем написать уникальную работу
Без плагиата!
Без нейросетей!