Конструкция и назначение разрыхлительно-очистительного агрегата

  • Вид работы:
    Реферат
  • Предмет:
    Другое
  • Язык:
    Русский
    ,
    Формат файла:
    MS Word
    238,24 Кб
  • Опубликовано:
    2014-08-20
Вы можете узнать стоимость помощи в написании студенческой работы.
Помощь в написании работы, которую точно примут!

Конструкция и назначение разрыхлительно-очистительного агрегата

1. Разрыхлительно-очистительный агрегат


Хлопковое волокно, поступает на прядильные фабрики в кипах в спрессованном виде. Поступающее на предприятие волокно в кипах необходимо, прежде всего разрыхлить, очистить от сорных примесей и подвергнуть смешиванию для создания однородней смеси.

Процессы разрыхления, очистки, смешивания протекают на машинах, входящих в автоматизированный разрыхлительно-очистительный агрегат. Волокнистый материал на этом агрегате разрыхляется и очищается от примесей в основном ударным методом воздействия на волокно.

В разрыхлительно-очистительный агрегат могут входить машины разной конструкции, обладающие различным характером воздействия на волокнистый материал и обеспечивающие определенную степень разрыхления и очистки волокон. Для разрыхления, описки и смешивания средневолокнистого хлопка машинного сбора в кардной системе прядения используют разрыхлительно-очистительный агрегат высокой очистительной способности.

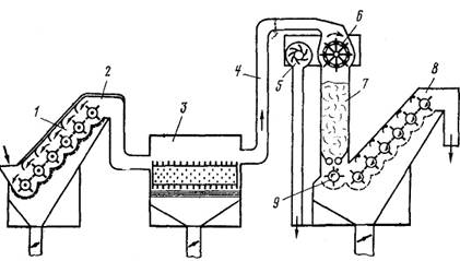
На рис. 1 приведена схема разрыхлительно-очистительного агрегата, на котором осуществляются интенсивное разрыхление и очистка волокон, эффективное перемешивание их и формирование равномерного по структуре и линейной плотности слоя волокон, образующего паковку - холст.

Рис. 1. Схема разрыхлительно-очистительного агрегата 1 - Автоматический кипоразрыхлитель РКА-2Х; 2 - Быстроходный конденсор КБ-3, КБ-4; 3 - Дозирующий бункер ДБ-1; 4 - Головной питатель ПГ-5; 5 - Наклонный очиститель ОН-6-3; 6 - Чиститель осевой ЧО; 7 - Наклонный очиститель ОН-6-4; 8 - Пневматический распределитель волокна РВП-2; 9 - Трепальная машина МТ, Т-16, МТБ

 

.1 Автоматический кипоразрыхлитель


Основной задачей кипоразрыхления является создание непрерывного равномерного потока разрыхленных волокон.

На автоматическом кипоразрыхлителе РКА-2X происходит разрыхление волокон путем воздействия разрыхляющих барабанов непосредственно на распакованную кипу, очистка от сорных примесей волокон и частичное их смешивание.

Две распакованные кипы волокна автопогрузчиком загружаются в контейнер 1 (рис. 2).

Контейнер движется вoзвратно-поступательно вдоль машины со скоростью около 1 м/мин. Кипы опираются на поддерживающие решетки 2 и 10. Решетки ограничивают провисание нижних слоев кипы в зоне отбора клочков, тем самым предотвращают отбор крупных клочков из кипы разрыхляющими колковыми барабанами 3. Барабаны вращаются с постоянной скоростью, но в разных направлениях. Колки на планках барабанов расположены так, что обеспечивается равномерное срабатывание по ширине.

Рис.2 Технологическая схема автоматического кипоразрыхлителя РКА-2Х

Очистка волокна происходит при взаимодействии клочков с колосниковыми решетками 4, состоящими из трехгранных прутков. Под решетками расположены камеры 5 для сбора отходов. Клочки волокна, отобранные колками разрыхляющих барабанов, протаскиваются по колосникам решеток и сбрасывается на конвейер 7, который выводит разрыхленное волокно к патрубку 6 пневмопровода для подачи на следующую машину. На конвейере осуществляется частичное смешивание волокон, отбираемых от двух кип.

Отходы из камер удаляется автоматически. По сигналу системы удаления отходов сдвигаются клинки 9 и отходы падают на конвейер 7, который в этот момент переключается на обратный ход и выводит отходы в патрубок 8. Во время удаления отходов прекращается движение кип.

 

.2 Дозирующий бункер


В разрыхлительно-очистительном агрегате на каждую пару кипоразрыхлителей устанавливают один дозирующий бункер ДБ-1. Он предназначен для выравнивания по массе потока волокон от кипоразрыхлителей, смешивания, разрыхления и частичной очистки волокна от сорных примесей.

Волокна к дозирующему бункеру подаются конденсером. Вентилятор 1 (рис. 3 ) конденсера через боковые каналы отсасывает воздух и создает разрежение в зоне сетчатого барабана 2. Сетчатый барабан, вращаясь, подводит волокна к съемному барабану 3, который кожаными лопастями сбрасывает их в бункер 5. Выпускные валики 6 извлекают волокна из бункера, уплотняют их и подают в виде бородки к быстровращающемуся барабану 7.

Рис. 3 Технологическая схема дозирующего бункера ДБ-1

В результате ударного воздействия колков барабана по зажатой бородке происходит разрыхление волокон. Колки на барабане установлены в шахматном порядке, и за один его оборот удары по бородке будут нанесены по всей ее ширине.

Клочки волокон подхватываются колками барабана 7 и протаскиваются по колосниковой решетке, испытывая дополнительные удары о колосники и колки. Происходит разрыхление клочков в свободном состоянии. В результате ударов нарушаются связи между нецепкими сорными примесями и волокнами. Сорные примеси имеют меньшие размеры и большую плотностъ, чем клочки, поэтому под действием центробежной силы они выпадают через колосниковую решетку в камеру 8. Разрыхленные клочки уносятся потоком воздуха к следующей машине. Дня транспортирования волокон к последующей машине конденсером камера 8 имеет жалюзи, через которые поступает воздух из помещения. Потоки воздуха проходят через колосники навстречу выделяющимся примесям, подхватывают клочки волокон и увлекают их.

Для достижения равномерности выходящего потока волокон в бункере 5 установлен регулятор уровня. Уровень наполнения бункера волокном влияет на плотность слоя в нижней его части, что отражается на производительности бункера.

Производительность бункера, кг/ч,


При переполнении бункера 5 волокном контейнеры с кипами в кипоразрыхлителях, работают в паре с дозирующим бункером, останавливаются, и подача волокна прекращается. Выпускные валики 6 дозирующего бункера продолжают работать, а уровень волокна понижается, что приводит к отклонению балансирной вилки 4 регулятора уровня и включению кипоразрыхлителей. В бункер 5 вновь поступает волокно.

 

.3 Наклонные очистители (ОН-6-3, ОН-6-4)


Машины предназначены для разрыхления и очистки хлопковых волокон в свободном состоянии. Разрыхление клочков волокон в наклонных очистителях осуществляется на поверхности колосниковой решетки при сравнительно малой скорости рабочих органов. При этом исключаются дробление сорных примесей, повреждение и перенапряжение волокон. Сорные примеси попадают в герметичную камеру для отходов.

Диаметр ножевых барабанов равен 450 мм. Колосники решеток под ножевыми барабанами изготовлены из специального гнутого профиля, что предотвращает выпадение волокна в камеру. Возможна регулировка разводок между колосниками (4-6 мм) и между ножами и колосниками (8-15 мм).

Между ножевыми барабанами установлены разделительные ножи, которые обеспечивают направление потока волокон в зоны взаимодействия соседних барабанов. Разрыхление клочков волокон и очистка от сорных примесей происходят в зоне взаимодействия двух соседних барабанов.

Наклонный очиститель 0Н-6-4 отличается от очистителя 0Н-6-3 тем, что имеет резервный бункер 7 (см. рис. 4) с выпускными валиками, ножевым барабаном 9 и конденсером КБ-4. Перфорированный барабан 6 конденсера разделен внутри глухой перегородкой на: две части - верхнюю и нижнюю. Таким образом, нижняя часть сетчатого барабана изолирована от вентилятора 5.

Рис. 4 Технологическая схема разрыхлительно-очистительного агрегата

Летящие в трубопроводе 4 клочки оседают на верхней половине сетчатого барабана 6. При вращении сетчатого барабана волокна под действием собственного веса и центробежных сил отделяются от поверхности барабана и падают в бункер 7, не зажгучиваясь.

 

.4 Трепальная машина


От разрыхлительно-очистительного агрегата волокно по трубопроводу поступает к пневматическому распределителю РВП-2. Пневматический распределитель с помощью конденсеров распределяет поток волокон по двум трепальным машинам.

В настоящее время применяются трепальные машины двух типов - холстовые T-16, и бесхолстовые МТБ с резервным питателем ПРЧ-1. Бесхолстовые трепальные машины устанавливаются в поточных линиях, где разрыхлительно-очистительный агрегат сагрегирован с чесальными машинами.

На трепальной машине осуществляются дальнейшая очистка, разрыхление волокнистого материала и формирование равномерного потока волокон на выходе. На холстовых трепальных машинах равномерный слой волокон на выходе навивается на скалку, образуется рулон, так называемая, холст.

Волокнистый материал очищается от сорных примесей в результате ударного воздействия рабочего органа по волокну. Особенность этого способа для трепальных машин состоит в том, что удар рабочего органа происходит одновременно по всей ширине волокнистого материала, зажатого в питающих цилиндрах. При ударном воздействии одновременно происходит и разрыхление. Рассматриваемый способ очистки волокнистого материала называют трепанием, поэтому машины и называют трепальными.

На этих машинах в зависимости от засоренности смеси, длины волокон и других факторов применяют трехбильные, планочные, игольчатые, комбинированные шестибильные трепала. Для тонковолокнистого хлопка можно использовать ножевое трепало (т.е. ножевой барабан, диаметр которого равен диаметру трепала).

Трехбильное планочное трепало 1 (рис. 5) наносит удары по бородке волокон 7, зажатой питающими цилиндрами 8. Колосники колосниковой решетки 5 расположены на некотором расстоянии от бил трепала, и по ходу движения обычно разводка между билами трепала и колосниками увеличивается от 10 до 20 мм для снижения скорости потока воздуха.

Рис. 5 Схема взаимодействия трехбильного планочного трепала со слоем волокна

Частота вращения трепала высока (около 1000 мин-1), и вокруг него создается воздушный поток, который может засасывать клочки волокон под крышку 2, где создается разрежение. Поэтому по ходу вращения трепала на малом расстоянии от бил трепала установлен отбойный нож 3.

Способ воздействия на зажатый материал обладает большей интенсивностью по сравнению со способом разрыхления материала в свободном состоянии.

При ударе клочков о колосниковую решетку выделяются сорные примеси. Клочки волокнистого материала центробежной силой отбрасываются на колосниковую решетку, ударяются о нее, и значительная часть сорных примесей выпадает через промежутки в камеру 6. Некоторые клочки несколько раз подвергаются ударам бил трепала.

Трепальная холстовая машина состоит из секции горизонтального разрыхлителя, секции предварительного трепания, окончательной секции с резервным бункером и педальным регулятором и холстообразующего прибора.

От быстроходного конденсера 1 (рис. 6) волокно подается в бункер 2. Под действием собственного веса хлопковые волокна опускаются и зажимаются деревянными валиками 3, которые уплотняют волокно и формируют непрерывный слой. Питающие цилиндры 19 имеют большую скорость, чем валики, в результате чего слой натягивается, исключая образование складок в слое.

Питающие цилиндры подводят слой волокон к ножевому барабану 4, который разрыхляет и очищает их, нанося удары по зажатой бородке и воздействуя на свободные клочки.

При обработке волокнистого материала на трепальной машине соблюдается один из важных принципов агрегирования машин - постепенное увеличение интенсивности воздействия на волокно. Ножи ножевого барабана закреплены на дисках по винтовой линии, и поэтому наносят удар по бородке не по всей ее ширине одновременно, а только в отдельных точках, но за один обо-рот барабана будет нанесен по всей ширине бородки.

Сорные примеси выделяются в камеру для отходов 18, а клочки волокна подсасываются к сетчатым барабанам 5, внутри которых вентилятор 17 создает разрежение. Так как сила тяги воздуха в сетчатых барабанах обратно пропорциональна сопротивлению, клочки присасываются к свободным или покрытым тонким слоем волокна местам сетки. На поверхности сетчатых барабанов формируется равномерный слой волокон, а сложение двух слоев с нижнего и верхнего барабанов усиливает выравнивание слоя по линейной плотности. Валики снимают слой с сетчатых барабанов и направляют его к питающим цилиндрам 6 трехбильного планочного трепала, где происходит дальнейшее разрыхление волокон и очистка их от сорных примесей.

Волокнистый материал, разрыхленный трехбильным планочным трепалом, конденсором 7 подается в резервную камеру 8 следующей секции трепальной машины. Из резервной камеры хлопковое волокно направляется к игольчатому трепалу 10 с помощью валиков камеры и цилиндра 9 педального регулятора 16. Игольчатое трепало 10 обрабатывает волокнистый материал с большей интенсивностью, чем планочное. Игла игольчатого трепала разделяет бородку на более мелкие равномерные по массе клочки. Однако при переработке длинноволокнистого хлопка за счет обвивания волокнами игл трепала в момент удара увеличивается количество узелков, выявляемых в прочесе на чесальных машинах.

Рис. 6 Технологическая схема холстовой трепальной машины

Резервная камера 8 обеспечивает равномерное питание последней секции трепальней машины, отчего в большой степени зависит ровнота холстов. Для этого наполнение резервной камеры поддерживается постоянным. Осуществляет это автоматический регулятор с балансирной вилкой, играющей роль датчика уровня волокна в камере. При переполнении камеры балансирная вилка отклоняется, электрическая цепь размыкается и все органы первых двух секций машины, кроме ножевого барабана, трепала и вентиляторов, останавливаются. Поступление волокон в резервную камеру прекращается. Для более точной регулировки уровня устанавливают две балансирные вилки (одну ниже другой). Когда резервная камера переполнена и уровень волокна достигает первой вилки, она отклоняется, в результате чего частота вращения соответствующего электродвигателя автоматически уменьшается с 1430 до 360 мин-1. Скорость перемещения волокнистого материала в первой и второй секциях машины уменьшается и соответственно уменьшается его поступление в резервную камеру.

Если все же уровень волокна в резервной камере достигнет верхней балансирной вилки, она отклонится и рабочие органы, от которых зависит поступление волокна в камеру, остановятся. Уровень волокна в резервной камере начнет снижаться, и все остановленные рабочие органы при обратном отклонении балансирной вилки автоматически начнут работать (сначала на пониженной скорости, а затем на рабочей). На машинах последних моделей вместо балансирных вилок установлены фотоэлементы.

Слой хлопкового волокна, сформированный на второй паре сетчатых барабанов, поступает в холстообразуоющий прибор.

Слой пропускается между четырьмя плющильными валами 11, уплотняются, получая определенную структуру. Два скатывающих вала 13, вращающихся в одну сторону, наматывают слой на трубку. Наматывание происходит под давлением укатывающего валика 12, образуется холст. Все холсты вырабатываются определенной расчетной длины, что обеспечивается специальным механизмом, по сигналу которого увеличивается скорость скатывающих валов, и слой волокла разрывается в зоне валиков 15.

Производительность трепальной машины характеризуется массой холстов, выработанных за 1 час. При определении фактической производительности вводится коэффициент полезного времени (КПВ), учитывающий потери времени на простои машины, связанные с ликвидацией ее разладок. Этот коэффициент всегда меньше 1.

Производительность трепальной машины, кг/ч:


Производительность трепальной машины составляет 160-280 кг/ч, диаметр холста до 500 мм, масса до З0 кг и ширина холста 1000 мм.

 

.5 Педальный регулятор


Слой волокон, выходящий из резервной камеры 6, неравномерен по линейной плотности.

Поэтому на машине устанавливается педальный регулятор 16, который обеспечивает подачу постоянного количества волокнистого материала в единицу времени (Q=const):



Между педальным цилиндром 1 (рис.7) и педалями 2 зажат слой со средней высотой h, м. Если принять, что ширина зажатого слоя и плотность его постоянны, то:


Это основное уравнение регулирования: с изменением средней высоты слоя следует обратно пропорционально изменять скорость подачи слоя к игольчатому трепалу.

Рис. 7 Схема педального регулятора

По ширине слоя расположено 16 педалей, которые под действием груза и веса рычагов сжимают слой, проходящий под педальным цилиндром. Каждая педаль представляет собой двуплечий рычаг, опирающийся на призму. На длинных концах педалей подвески, нижние концы которых соединены мостиками суммирующего рычага 3 пропорционально средней толщине слоя волокна между педалями и педальным цилиндром. Суммирующий рычаг связан с отводкой ремня и при изменении толщины слоя перемещает ремень на барабанчиках вариатора скорости для изменения скорости педального цилиндра.

Вариатор скорости представляет собой два барабанчика определенного профиля, соединенные ремнем. Нижний барабанчик ведущий и имеет при данной заправке машины постоянную частоту вращения. Верхний барабанчик ведомый и он кинематически связан с педальным цилиндром и выпускными валами резервной камеры.

Для выработки холста заданной линейной плотности необходимо рассчитать скорость педального цилиндра при заданной скорости скатывающих валов и установить эту скорость путем подбора сменных шестерен в передаче движения к ведущему барабанчику и педальному цилиндру при условии, что ремень находится посередине конических барабанчиков. В небольших пределах линейную плотность холста можно регулировать гайкой 4 (см. рис.7), при ее повороте ремень смещается в ту или другою сторону относительно среднего положения.

 

Литература

разрыхлительный очистительный бункер трепальный

1.       А.Г. Севостьянов Лабораторный практикум по механической технологии текстильных материалов. М., Легкая индустрия, 1976

2.      А.Г. Севостьянов Механическая технология текстильных материалов. М., Легпромбытиздат, 1989

Похожие работы на - Конструкция и назначение разрыхлительно-очистительного агрегата

 

Не нашли материал для своей работы?
Поможем написать уникальную работу
Без плагиата!
Без нейросетей!