Неисправности системы пуска двигателя на автомобиле Ваз 2106

  • Вид работы:
    Дипломная (ВКР)
  • Предмет:
    Транспорт, грузоперевозки
  • Язык:
    Русский
    ,
    Формат файла:
    MS Word
    3,72 Мб
  • Опубликовано:
    2015-07-21
Вы можете узнать стоимость помощи в написании студенческой работы.
Помощь в написании работы, которую точно примут!

Неисправности системы пуска двигателя на автомобиле Ваз 2106

СОДЕРЖАНИЕ

I. ВВЕДЕНИЕ

II. ОСНОВНАЯ ЧАСТЬ

.Назначение, устройство и принцип работы системы пуска

.Техническое обслуживание системы пуска двигателя ВАЗ-2106

3.Ремонт системы пуска двигателя ВАЗ-2106

.1 Возможные неисправности системы пуска двигателя ВАЗ-2106 и способы устранения

3.2 Диагностика системы пуска двигателя ВАЗ-2106

.3 Замена муфты свободного хода стартера двигателя ВАЗ-2106

III. ИНСТРУМЕНТЫ, ПРИСПОСОБЛЕНИЯ И МАТЕРИАЛЫ, ПРИМЕНЯЕМЫЕ ПРИ ТО И РЕМОНТЕ

IV. ОРГАНИЗАЦИЯ РАБОЧЕГО МЕСТА И ОХРАНА ТРУДА ПРИ Т.О. И РЕМОНТЕ

ЗАКЛЮЧЕНИЕ

ИСПОЛЬЗУЕМАЯ ЛИТЕРАТУРА

пуск двигатель муфта стартер

I. ВВЕДЕНИЕ

Автомобиль - самое распространенное в современном мире механическое транспортное средство.

На заре автомобилизации непременным атрибутом автомобилиста был «кривой стартер» - изогнутая пусковая рукоятка. Довольно быстро на помощь водителю пришло электричество - раскручивать ДВС стал небольшой, но сильный электромотор, который с тех пор стал основным пожирателем амперов из аккумуляторной батареи. Но главное осталось неизменным: чтобы пустить мотор, его нужно предварительно раскрутить. В настоящее время происходит интенсивное совершенствование конструкций транспортных средств, повышение их надежности и производительности, снижение эксплуатационных затрат, повышение всех видов безопасности. Осуществляется более частое обновление выпускаемых моделей, придание им более высоких потребительских качеств, отвечающих современным требованиям. 

Широкое применение находят электрические системы пуска и воздушный, или цилиндровый пуск. Менее распространены пусковые устройства с вспомогательным двигателем внутреннего сгорания. Ручной пуск, пуск пневмостартером и инерционным стартером встречаются сравнительно редко.

Электрические системы пуска с питанием от аккумуляторной батареи удобны в эксплуатации и требуют минимальных затрат на обслуживание; в этом их главные преимущества.

Своевременно проведенный Т.О. и ремонт продлевает срок службы агрегата и автомобиля в целом.

II. ОСНОВНАЯ ЧАСТЬ

.Назначение, устройство и принцип работы системы пуска

На автомобильных, тракторных и транспортных двигателях используются предназначенные только для пуска электрические двигатели постоянного тока с последовательным возбуждением - электростартеры. Крутящий момент с вала электростартера предается на коленчатый вал двигателя посредством шестерни, которая во время пуска вводится в зацепление с зубчатым венцом на маховике двигателя.Стартеры бывают с дистанционным приводом и с не дистанционным.

Основными частями стартера (рис.1) являются: корпус, якорь с обмотками и коллектором, две крышки, щетки и щеткодержатели.

Рис.1 Схема стартера ВАЗ-2106

-крышка со стороны привода;2-поводковое кольцо;3-упорное кольцо;4-замковое кольцо;5-привод;6-якорь;7-корпус;8-щетка; 9-траверса;10-упорная шайба;11-регулировочная шайба;12-стопорная шайба;13-крышка со стороны коллектора; 14- контактный болт;15-контактная пластина;16-крышка реле;17-возвратная пружина;18-шток;19-якорь реле;20-компенсирующая пружина;21-буферная пружина;22-шестерня;23-винт М5х14;24-гайка стяжной шпильки;25-винт М6х16;26-гайка М8;27-ввод катушек реле;28-винт М6х30;29-рычаг;30-гайка М8;31-ось рычага

В связи с потреблением стартером значительной силы тока обмотки возбуждения и якоря выполнены из толстого провода. Четыре секции обмотки возбуждения включены последовательно обмоткам якоря двумя параллельными ветвями по две обмотки возбуждения в каждой. Щетки для лучшей проводимости сделаны медно-графитными. Две щетки соединены с массой, а две с обмотками возбуждения. Закрепленные в щеткодержателе щетки прижимаются к коллектору пружинами. Для приведения во вращение коленчатого вала двигателя стартер оборудован приводом, соединяющим вал стартера с зубчатым венцом маховика. Стартер включают при помощи выключателя зажигания. Работа стартера основана на взаимодействии магнитных полей обмоток возбуждения и якоря при прохождении по ним электрического тока.

Привод стартера должен обеспечивать соединение шестерни стартера с венцом маховика только на время пуска двигателя. После пуска вал стартера должен немедленно отключаться, в противном случае венец маховика будет вращать якорь стартера с очень большой частотой и витки обмотки якоря могут под действием центробежной силы выйти из пазов.На автомобиле ВАЗ-2106 применяют стартер СТ-221 с дистанционным управлением и электромагнитным включением ( рис.2). Привод состоит из реле включения, тягового реле с двумя обмотками - втягивающей и удерживающей, рычага с вилкой, кольца, пружины, шлицованной втулки и муфты. Втягивающая обмотка включена последовательно обмотке якоря, а удерживающая - параллельно.

Рис.2 Схема включения стартера

Муфта свободного хода состоит (рис.3) из ведущей обоймы, перемещающейся на шлицах вала, и ведомой обоймы с шестерней и четырьмя клинообразными выемками. В клинообразных выемках помещены ролики с пружинами. Вращение ведущей обоймы вызывает перемещение роликов в узкую часть выемки и заклинивание ведомой обоймы на ведущей. Если вращать по ходу ведомую обойму относительно ведущей, то ролики перемещаются в более широкую часть выемок и ведомая обойма будет свободно вращаться на ведущей.

Для включения стартера необходимо повернуть ключ зажигания вправо до отказа, при этом замыкается цепь обмотки реле включения. Созданное обмоткой реле магнитное поле проводит к замыканию контактов реле, в результате втягивающая и удерживающая обмотки тягового реле включаются в электрическую цепь. Под действием магнитного поля обмоток втягивается сердечник тягового реле и рычагом, связанным с ним, вводит в зацепление шестерню привода с венцом маховика. Одновременно медный контактный диск на другом конце стержня после включения шестерни замкнет силовую электрическую цепь стартера. При повороте ключа зажигания в исходное положение цепь удерживающей обмотки размыкается, и сердечник тягового реле, а с ним рычаг и медный диск включения вернутся в исходное положение, стартер  выключится.

Рис.3 Муфта свободного хода; в - ролики и толкатели; г - работа муфты свободного хода.

2.Техническое обслуживание системы пуска двигателя ВАЗ-2106

Основной задачей технического обслуживания автомобиля является поддержание его в надлежащем внешнем виде и технически исправном состоянии. Основным отличием технического обслуживания от ремонта является то, что оно является профилактическим мероприятием. Что касается ремонта, то он выполняется при возникновении такой необходимости, т.е. когда явно обозначилась какая-либо неисправность или поломка, затрудняющая либо исключающая возможность эксплуатации транспортного средства.

Техническое обслуживание включает в себя следующие виды работ:

смазочные;

регулировочные;

контрольно-диагностические;

крепежные;

заправочные;

электротехнические.

Помимо перечисленных, при проведении технического обслуживания современного автомобиля могут выполняться и иные виды работ - в зависимости от марки машины, ее состояния, и иных специфических факторов. Отметим, что при техническом обслуживании не обязательно выполняются сразу все перечисленные виды работ - все определяется текущей необходимостью, условиями эксплуатации и рекомендациями завода-изготовителя. В зависимости от периодичности выполнения работ, их количеству, сложности и трудоемкости существуют следующие виды технического обслуживания автомобилей:

ежедневное (ТО);

первое (ТО-1);

второе (ТО-2);

сезонное (СО).

Задача ежедневного технического обслуживания заключается в том, чтобы поддерживать автомобиль в надлежащем внешнем виде, отслеживать его заправку топливом, маслом, иными расходными материалами и визуальный осмотр, а также контролировать обеспечение безопасности дорожного движения.

Первое и второе техническое обслуживание (соответственно ТО-1 и ТО-2) подразумевают выполнение крепежных, очистительных, смазочных, контрольно-диагностических и регулировочных работ. Их необходимо выполнять через определенный пробег автомобиля, в соответствии с указаниями, имеющимися в руководстве по эксплуатации. Кроме этого, важным фактором, влияющим на периодичность выполнения ТО-1 и ТО-2, являются условия эксплуатации автомобиля: тот же воздушный фильтр при езде по пыльным грунтовым дорогам следует менять чаще, чем при езде по качественному асфальтовому покрытию.

Что касается сезонного технического обслуживания, то оно выполняется два раза в год, чтобы подготовить автомобиль к эксплуатации в холодное и в теплое время года. Например, частью СО является «переобувание» автомобиля в зимнюю резину - перед наступлением холодного времени года, и в летнюю - по окончании зимнего сезона. В некоторых российских регионах (как правило, северных) вместо летнего моторного масла заливают зимнее, в преддверии зимы многие водители выполняют антикоррозийную обработку кузова, и т.д.

Техническое обслуживание № 1 (ТО-1), стартера заключается в периодической подтяжке креплений проводов и очистке наружных поверхностей от загрязнений. Для обеспечения надежной работы стартера рекомендуется через каждые 45 000 км пробега проводить техническое обслуживание №2 (ТО-2):

снять стартер с двигателя, осмотреть состояние коллектора, рабочая поверхность которого должна быть гладкой и не иметь подгаров. В случае загрязнения или подгара коллектор протереть тряпочкой, смоченной в бензине или керосине с последующей протиркой. Если подгар не устраняется протиркой зачистить коллектор мелкой шкуркой.

В случае сильного подгара якорь вынимают и протачивают;

проверить электро-щетки на свободное, без заеданий перемещение в щеткодержателе;

замерить высоту электро-щеток и при необходимости заменить;

проверить затяжку винтов, крепящих наконечники щеточных канатиков к щеткодержателям, и при необходимости подтянуть их;

проверить состояние контактов реле стартера. При подгаре рабочих поверхностей болтов и диска их необходимо зачистить шлифованием шкуркой. При большом подгаре контакты болтов и диска можно зачистить напильником с последующей шлифовкой мелкой шкуркой. При зачистке необходимо следить, чтобы не нарушилась параллельность контактных поверхностей болтов и диска. При значительном износе контактных поверхностей болтов их нужно повернуть вокруг своей оси на 180˚ а контактный диск перевернуть на другую сторону. Имеющиеся оплавления по периметру болтов и диска зачистить напильником. Контактный диск должен свободно вращаться на штоке якоря;

проверить надежность крепления тягового реле к корпусу стартера. При необходимости подтянуть крепежные болты и законтрить их замковыми шайбами;

залить в масленки по 10 капель моторного масла;

протереть стартер ветошью.

Если при внешнем осмотре и осмотре щеточно-коллекторного узла окажется, что состояние стартера хорошее, то стартер разбирать не следует. Необходимо только произвести смазку подшипников.

3.Ремонт системы пуска двигателя ВАЗ-2106

.1 Возможные неисправности системы пуска двигателя ВАЗ-2106 и способы устранения

Неисправности и способы устранения приведены в таблице №1.

Таб. №1

Возможные неисправности стартера и способы их устранения

Причина неисправности

Способ устранения

Сгорел предохранитель № 1

Заменить предохранитель

Неисправно промежуточное реле

Проверить и заменить реле

Разряжены аккумуляторные батареи

 подзарядить батареи

Обрыв втягивающей обмотки тягового реле

Проверить реле и заменить

Обрывы проводов в цепях стартера

Определить цепи по схеме и устранить неисправности

Реле стартера срабатывает, но якорь стартера не вращается (свет фар автомобиля при включении стартера слабеет).

Плохой контакт на выводных клеммах аккумуляторных батарей или на клеммах стартера

Зачистить выводные клеммы батарей и затянуть болты. Подтянуть болты крепления проводов к стартеру

Разряжены аккумуляторные батареи

Подзарядить аккумуляторные батареи

Короткое замыкание внутри стартера

Снять и отремонтировать стартер

Обрыв соединений внутри стартера

Снять и отремонтировать стартер

Стартер слабо проворачивает вал двигателя.

Низкая температура двигателя (зимой)

Прогреть двигатель

Разряжены или неисправны аккумуляторные батареи

Проверить и подзарядить аккумуляторные батареи

Подгар контактов тягового реле

Снять стартер и зачистить контакты реле

Якорь стартера вращается с большой скоростью, но не проворачивает двигателя.

Поломка зубьев венца маховика

Сменить венец маховика

Разогнут рычаг или поломан палец рычага

Исправить рычаг рихтовкой или заменить его

Нарушена регулировка привода стартера

Отрегулировать привод

Тяговое реле стартера работает с перебоями (включает стартер и тут же выключает)

Обрыв удерживающей обмотки тягового реле

Заменить реле

Короткое замыкание в стартере

Снять и отремонтировать стартер

Шестерня привода систематически не входит в зацепление с венцом маховика при нормальной работе тягового реле.

Забиты торцы зубьев венца маховика

Зачистить зубья

Нарушена регулировка стартера

Отрегулировать привод стартера

Заедание шестерни на валу из-за закоксовывания смазки на шлицах вала якоря

Очистить шлицы от закоксовавшейся смазки и смазать вал смазкой ЦИАТИМ-203

 

3.2 Диагностика системы пуска двигателя ВАЗ-2106

Включает в себя проверку работоспособности на стенде, разборку, проверку деталей и сборку.

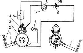
Проверка стартер производится на специальном стенде в режиме холостого хода и под нагрузкой. Электрическая схема включения стартера при проверке приведена на (рис.4). Соединительные провода к батарее и амперметру должны иметь сечения не менее 16 мм. При подводимом напряжении 12 В стартер должен на холостом ходу потре блять ток в пределах 70…85 А, а частота вращения якоря должна быть в пределах 5000 оборотов в минуту.

Рис. 4 Схема включения при испытании стартера:

- рычаг; 2 - динамометр; 3 - стартер; 4 - втягивающее реле стартера; 5 - выключатель; 6 - вольтметр; 7 - указатель тока; 8 - шунт указателя тока; 9 - аккумуляторная батарея.

Повышенный потребляемый ток, пониженная частота вращения, а также шум во время работы свидетельствуют об электрических или механических неисправностях. Уменьшенный потребляемый ток и пониженная частота вращения якоря при нормальном напряжении на клеммах стартера свидетельствуют о нарушении контактов в соединениях проводов или в щеточном узле.

Для испытания стартера под нагрузкой в режиме полного торможения на шестерню привода надевают зажимное приспособление с рычагом, соединенное с динамометром, и определяют тормозной момент. Для этого производится кратковременное включение стартера и измерение развиваемого им усилия по шкале динамометра. При умножении измеренной динамометром величины усилия на длину плеча рычага определяют развиваемый стартером крутящий момент, который должен соответствовать паспортным данным стартера.

Проверка деталей стартера на замыкание производится при помощи индикатора и источника питания или авто тестера. При обнаружении замыкания по загоранию лампы индикатора дефектная деталь подлежит замене.

Якорь стартера не должен иметь механических повреждений шлицев и повышенного износа коллектора. При значительной шероховатости и износе коллектора его протачивают и зачищают мелкозернистой шлифовальной шкуркой.

Замкнутые катушки возбуждения можно заменить, отвернув при помощи пресс-отвертки винты их крепления к корпусу стартера. При заворачивании винтов при сборке их головки зачеканивают во избежание самопроизвольного отворачивания.

Муфта свободного хода проверяется по проворачиванию ее шестерни на ступице: шестерня должна свободно проворачиваться относительно ступицы в одну сторону и не проворачиваться в другую сторону. Зубья шестерни не должны иметь следов выкрашивания и сколов. Небольшие забоины на заходной части шестерни можно удалить шлифовкой мелкозернистым шлифовальным кругом.

Крышки стартера не должны иметь сколов и трещин, изношенные втулки вала якоря перепрессовываются.

Щетки должны свободно перемещаться в щеткодержателях и при повышенном износе их необходимо заменить.

.3 Замена муфты свободного хода стартера двигателя ВАЗ-2106

Для того чтоб заменить муфту свободного хода стартера двигателя ВАЗ-2106 требуется выполнить следующие действия.

Для выполнения качественного ремонта, необходимо снять стартер <#"869639.files/image005.gif">

Рис.5 Снятие втягуешего реле старетра ВАЗ-2106.

Стартер снят и положен на чистый верстак. Первым делом необходимо снять втягивающее реле. Для этого гаечным ключом отворачиваем гайку крепления клеммы статорной обмотки к нижнему контакту реле. Теперь, крестовой отверткой отворачиваем три винта крепления втягивающего к корпусу стартера. Снимаем реле(Рис.5).

Откручиваем два винта крепления кожуха, снимаем стопорную шайбу и регулировочные прокладки. Далее отворачиваем две гайки крепления задней крышки и снимаем ее(Рис.6).

Рис.6 Снятие регулировочных прокладок, стопорной шайбы и крепления задней крышки.

Теперь можно располовинить стартер на части. Снимаем заднюю крышку, снимаем со шпилек корпус статорной обмотки.

Далее отсоединяем якорь от корпуса, для этого торцовым ключом отворачиваем контрящую гайку эксентриковой оси рычага привода стартера и с обратной стороны отворачиваем ось плоской отверткой и вынимаем ее из корпуса(Рис.7).

Рис.7 Снятие эксентриковой оси рычага привода стартера.

Теперь можно снимать со стяжных шпилек корпус якоря стартера, предварительно выведя его из зацепления с вилкой рычага привода бендикса.

Далее необходимо снять с оси якоря бендикс, для этого, воспользовавшись молотком и плоской отверткой, спресовываем с оси стопорное кольцо и снимаем муфту свободного хода(Рис.8).

Рис.8 Снятие муфты свободного хода.

Теперь, когда стартер ВАЗ-2106 разобран <#"869639.files/image009.gif">

Рис.9 Отвертка с съемными наконечниками.

Рис.10Штангенциркуль электронный

Рис.11 Мультимер

Рис.12 Пассатижи

Рис.13 Молоток

Рис.14 Авто-тестер

Рис.15 Ключи рожковые

IV. ОРГАНИЗАЦИЯ РАБОЧЕГО МЕСТА И ОХРАНА ТРУДА ПРИ ТО И РЕМОНТЕ

Создание безопасных условий труда должно быть определяющим в любой сфере производственной деятельности человека. И тем более там, где работа связана с повышенной опасностью для здоровья человека.

В России существует государственная Система стандартов безопасности труда, устанавливающая общие требования безопасности работ, которые проводятся на автотранспортных предприятиях, станциях ТО и специализированных центрах при всех видах технического обслуживания (ТО) и текущего ремонта (ОР) грузовых и легковых автомобилей, автобусов, тягачей, прицепов и полуприцепов, предназначенных для эксплуатации на дорогах общей сети России.

За обеспечением безопасных условий труда ведут наблюдение прокуратура, госсанинспекция, гортехнадзор, пожарная инспекция и другие службы государственного контроля. Ответственность за выполнение всего объема задач по созданию безопасных условий труда возлагается на руководство автотранспортного предприятия в лице директора и главного инженера.

Все лица, поступающие на работу, проходят вводный инструктаж по технике безопасности и производственной санитарии, который является первым этапом обучения технике безопасности на данном предприятии. Вторым этапом обучения является инструктаж на рабочем месте, проводимый с целью усвоения рабочим безопасных приемов труда непосредственно по той специальности и на том рабочем месте, где он должен работать. При выполнении работ повышенной опасности проводятся повторные инструктажи через определенные промежутки времени, но не реже одного раза в 3 месяца.

Дополнительный (внеплановый) инструктаж проводится при нарушении работающим правил и инструкций по технике безопасности, технологической и производственной дисциплины, а также при изменении технологического процесса, вида работ и типа обслуживаемых автомобилей. Все виды инструктажей записываются в специальные журналы, которые хранятся у руководителя предприятия, цеха или производственного участка.

Слесарь по ремонту автомобилей должен уметь оказать первую помощь при несчастных случаях, поражении током до прибытия скорой медицинской помощи или доставки пострадавшего в медицинское учреждение.

К производственному травматизму относятся увечья, ранения, ожоги, поражения электрическим током, отравления и профессиональные заболевания, связанные с выполнением своих трудовых обязанностей.

 Производственный травматизм возникает вследствие недостатков в организации труда, пренебрежения правилами безопасности и отсутствия должного контроля за их выполнением.

На участке ремонта электрооборудования выполняют техническое обслуживание и текущий ремонт приборов, электрооборудования, поступающих, цеха капитального ремонта автомобилей, автопарка, цеха капитального ремонта двигателей.

Оборотный фонд электрооборудования создаётся за счёт поступления новых, а также годных приборов и агрегатов со списанных машин. Работники промежуточного склада выдают новый или отремонтированный прибор после сдачи в ремонт неисправных приборов и агрегатов того же наименования и количества, что и выдаваемые.

Неисправное электрооборудование, поступившее на участок с промежуточного склада, распределяют по рабочим местам, очищают от пыли и грязи, разбирают на узлы и детали. Детали без обмоток моют в машине раствором препарата МЛ, обдувают сжатым воздухом и тщательно протирают.

После чистки детали дефектуют, проверяют их основные геометрические размеры и электрические параметры. В соответствии с техническим состоянием деталей их сортируют на годные, требующие ремонта и негодные. Годные детали используют при сборке, требующие ремонта - ремонтируют. Генераторы, стартеры для капитального ремонта отправляют на специализированные цеха.

Перед сборкой детали направляют на участок окраски.

Из отремонтированных, годных, новых и окрашенных деталей собирают приборы и агрегаты электрооборудования на специализированных постах. Регулируют и испытывают электрооборудование на контрольно-испытательных стендах.

После сборки, регулировки и испытания приборы и агрегаты электрооборудования, требующие окраски, направляют на участок окраски. Оттуда отремонтированные изделия сдают на промежуточный склад.

Технологическая планировка участка ремонта электрооборудования показана на Рис.17.

Рис.17 Схема технологической планировки участка ремонта электрооборудования:1 - моечная машина, 2 - верстак монтажный с приспособлениями и оборудованием, 3 - контрольно-испытательный стенд, 4 - стеллаж для приборов, узлов и деталей, 5 - контрольно-испытательный стенд для проверки прерывателя распределителя, 6 - подставка. 7 - стенд для проверки роторов, 8 - станок фрезерный. 9 - контрольно-испытательный для стартеров и генераторов, 10 - заточный станок.

На участке могут быть установлены в зависимости от типа обслуживаемых машин: универсальный прибор для проверки электрооборудования автомобилей, прибор для проверки установки фар, набор инструментов электрика, передвижной столик электрика, машина для мойки деталей; контрольно-испытательный стенд для проверки генераторов, реле-регуляторов и стартеров, стенд для проверки приборов системы зажигания, прибор для проверки контрольно-измерительных приборов автомобиля, прибор для очистки и проверки свечей зажигания; прибор для проверки якорей, генераторов и стартеров; станок для проточки коллекторов якорей генераторов и стартеров, набор инструментов электрика, паяльник электрический 90 Вт, верстаки, стеллажи, подставки, тележка для транспортирования агрегатов.

ЗАКЛЮЧЕНИЕ

Письменная экзаменационная работа выполнена по теме система пуска (стартер) который предназначен для запуска двигателя.

Стартер является средством дистанционного запуска двигателя. При помощи поворота ключа в замке зажигания замыкает электрическую цепь стартера, вращаясь он заводит двигатель.

В процессе эксплуатации возникают неисправности которые подробно описываются в работе. Техническое обслуживание и ремонт проводятся согласно пробегу автомобиля при котором и устраняются все неисправности.

При ремонтных работах необходимо соблюдать охрану труда для создания безопасных условий и сохранения здоровья.

Своевременный ремонт и Т.О. обеспечивают работу без отказов, меньшему простою техники в ремонте, способствуют увеличению срока службы агрегата, увеличению прибыли автопредприятия.

Диагностика может продлить долговечность вашей системе, либо агрегату.

ИСПОЛЬЗУЕМАЯ ЛИТЕРАТУРА

1. Ю.Т. Чумаченко Автослесарь, Ростов-на-Дону, «Феникс» 2004

. С.М. Мараков Устройство, ТО и ремонт легковых автомобилей, Москва, «Компас» 1987

. А.С. Орлин ДВС, Москва «Машиностроение» 1981

. С.М. Круглов Устройство, ТО и ремонт легковых автомобилей, Москва, «Высшая школа» 1987

. И.П. Копылова и Б.К. Кдокова «Справочник по электрическим машинам», Москва, Энергоатомиздат, т.1, 1988

6. Туревский И.С. Техническое обслуживание автомобилей. Книга 1. Техническое обслуживание и текущий ремонт автомобилей: Учебное пособие. - М.: ФОРУМ: ИНФРА - М. 2005 - 432 с.

. Епифанов Л.И., Епифанова Е.А. Техническое обслуживание и ремонт автомобилей: Учебник. - М.: ФОРУМ - ИНФРА-М. 2002 - 280 с.

Похожие работы на - Неисправности системы пуска двигателя на автомобиле Ваз 2106

 

Не нашли материал для своей работы?
Поможем написать уникальную работу
Без плагиата!
Без нейросетей!