Натяжное устройство
МОСКОВСКИЙ
ГОСУДАРСТВЕННЫЙ УНИВЕРСИТЕТ
ПУТЕЙ
СООБЩЕНИЯ (МИИТ)
Кафедра:
«Путевые, строительные машины и робототехнические
комплексы»
Курсовая
работа
по
дисциплине:
«Машины
непрерывного транспорта»
Выполнил:
ст.гр.ТДМ-411
Тестов
А.А.
Проверил
преподаватель :
Капырина
В.И.
Москва 2013
Введение
Эффективность эксплуатации оборудования
современного предприятия, предназначенного для транспортирования и переработки
насыпных грузов, во многом определяется надежностью, работоспособностью и
экономическими показателями транспортных систем, основу которых составляют
конвейерные линии.
Скребковые конвейеры являются наиболее
распространенным непрерывного транспорта, благодаря ряду технико-экономических
показателей: герметичность, перемещение горячих и токсичных грузов, возможность
промежуточной загрузки и разгрузки, реализация трасс с большими углами наклона
(до 40о), возможность полной автоматизации управления работой
конвейера.
Благодаря широкому применению, основные элементы
скребковых конвейеров унифицированы и нормализованы: тяговые цепи, привода,
натяжные, загрузочные устройства.
Машины непрерывного транспорта, перемещающие
груз скребками по желобу или трубе волочением, называются скребковыми
конвейерами. Форма и высота скребка являются главными признаками, по которым
скребковые конвейеры разделяют на конструктивные типы. Различают конвейеры со
сплошными и контурными (фигурными) скребками. Сплошные скребки бывают высокие и
низкие; высота высоких скребков примерно равна высоте желоба и в несколько раз
больше высоты тяговой цепи; высота низких скребков близка к высоте цепи и
значительно (в 3-6 раз) меньше высоты желоба. Принципиальная схема скребкового
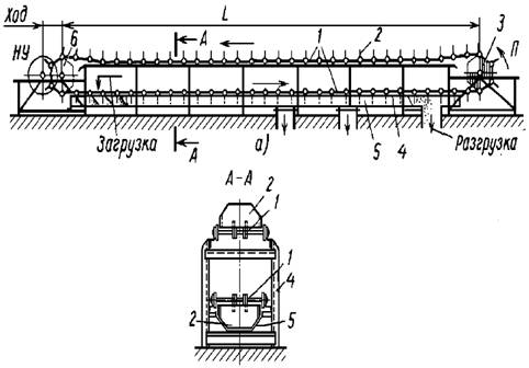
конвейера с высокими скребками представлена на рисунке 1.
Скребковый конвейер со сплошными высокими
скребками (рисунок 1) состоит из открытого желоба 5, укрепленного на станине 4,
вдоль которого движется вертикально замкнутая тяговая цепь (или две цепи) 1 с
укрепленными на ней скребками 2, огибающая концевые (приводную и натяжную)
звездочки. Движение тяговая цепь получает от привода 3, а первоначальное
натяжение - от натяжного устройства 6. Транспортируемый груз засыпается в желоб
конвейера в любом месте по его длине и проталкивается скребком по желобу.
Разгрузка конвейера может производиться в любом месте по его длине через
отверстия в дне желоба, перекрываемые шиберными задвижками или затворами.
Последние открываются при помощи электромеханического (винтового),
пневматического или гидравлического привода с ручным или дистанционным
управлением. Для конвейеров малых типоразмеров иногда применяют ручной привод.
Груз может транспортироваться по нижней ветви,
верхней ветви (при консольных скребках) или одновременно по верхней и нижней ветвями
разных направлениях (при симметричных скребках).
Скребковые конвейеры с высокими скребками в
основных исполнениях являются вертикально замкнутыми и перемещают груз в
горизонтальном (рисунок 2, а), наклонном (рисунок 2, 6),
наклонно-горизонтальном (рисунок 2, в) и горизонтально-наклонном (рисунок 2, г)
направлениях. Комбинированные трассы (рисунок 2, в и г) возможны только для
конвейеров с двумя тяговыми цепями (рисунок 3) или же с одной цепью, снабженной
опорными катками для направления ходовой части на поворотном участке
Рисунок 2 - Схемы трасс скребковых конвейеров с
высокими скребками
Угол наклона скребковых конвейеров обычно не
превышает 30-40°, так как с его увеличением производительность конвейера
значительно снижается. При использовании специальных, так называемых ящичных,
скребков с подвижными боковыми стенками угол наклона конвейера увеличивается до
50°. У конвейеров этого типа внутренние звенья тяговых цепей изготовляют из
листов одинаковой высоты со скребком. Такая конструкция образует
последовательный набор движущихся открытых ящиков без дна; дном служит
неподвижный желоб конвейера. Груз в ящиках не трется о боковые стенки
неподвижного желоба, не заклинивается между ними и скребком. Это уменьшает
сопротивление перемещению груза и позволяет применять ящичные скребки для
транспортирования кусковых грузов
Исходные данные
1. Транспортируемый груз: мелкокусковый
уголь
2. Производительность конвейера: 100 т/ч
. Угол подъема: b=40
. Длина конвейера = 150 м
. Начальная скорость = 0.5 м/с
Расчеты
Определение параметров желоба
Ширина желоба (м) для обеспечения
производительности определяется по формуле
м
где
=2,4…4,5 - коэффициент высоты
желоба.
- коэффициент уменьшения
производительности; принимается равным 0,7;
- коэффициент заполнения желоба;
= 0,7- 0,8
Предварительно принимаю ширину желоба В=800 мм.
Для кусковатых грузов ширина желоба должна
проверяться по характерному размеру частиц груза amax
по формуле
где кК - коэффициент
кусковатости груза
amax -
максимальный размер типичных кусков, мм.
Высота желоба hЖ
определяется по формуле
Окончательное значение hж выбирается
из нормального ряда равным 250 мм
Ширина скребка (мм)
мм
где
= 5-10 мм - зазор между желобом и
скребком
Высота скребка (мм) при консольном креплении
мм
Шаг скребков принимается кратным
шагу цепи
где i = 1, 2,
3,...
В первом приближении можно принимать
ас = 1;ц.
Окончательно шаг скребков принимают после определения длины тела волочения, но
кратным шагу цепи. Ходовая часть скребкового конвейера представлена на рисунке
4.
Выбор тяговой цепи
Тип цепи. Наиболее распространенными для
скребковых конвейеров порционного волочения являются пластинчатые
втулочно-катковые цепи, параметры которых регламентированы ГОСТ 588-91 .
Шаг цепи
не зависит
от прочностных характеристик последней и его рекомендуют принимать в диапазоне
160, 200, 250, 315, 400 мм.
Типоразмер цепи определяется по
разрушающей нагрузке SP, зависящей
от расчетной нагрузки Sрасч, действующей на цепь
=8*40690.5=325524 H
где n -
коэффициент запаса прочности; n = 8..
.10 Н
Расчетная нагрузка (Н), действующая на цепь
=40690.5
Где: кН - коэффициент
неравномерности распределения нагрузки между цепями;
Smax -
максимальная нагрузка в тяговом элементе;
Sдин -
динамическая нагрузка.
желоб груз вал двигатель
Для определения Sрас
необходимо предварительно вычислить ряд параметров: распределенные нагрузки от
груза qг и ходовой
части конвейера q0,
горизонтальную Lг и вертикальную Н проекцию трассы
конвейера.
Линейная сила тяжести (Н/м)
насыпного груза
(Н/м)
Линейная сила тяжести (Н/м) ходовой части
(Н/м)
где Kq = 0,5...0,6
Коэффициент бокового давления
где kC -
коэффициент стационарности, kc = 1 для
стационарных конвейеров.
f -
коэффициент внутреннего трения груза
Коэффициент сопротивления движению груза по
желобу
где fB
- коэффициент трения груза о материал желоба;
h - усредненная
высота слоя груза в желобе.
Усредненную высоту слоя груза h
в желобе можно приближенно принимать равной
мм
Коэффициент сопротивления движению ходовой части
на пластинчатых цепях с катками w
принимается в зависимости от условий работы конвейера в пределах w
= 0,1.. .0,15.
Сила тяжести (Н) тела волочения Gi
определяется по формуле
Минимальное натяжения тягового элемента (Н) при
верхнем креплении скребка к цепям определяется по формуле
(Н)
Максимальное натяжение (Н) тягового органа
Где Lr
- горизонтальная проекция длины конвейера,149.6 м;
Н - высота подъема груза,4.1 м.
wo -
обобщенный коэффициент сопротивления перемещению тягового элемента=0.78
При Н < Lrw
последний член формулы принимают равным нулю
2179.14
Н
Динамическое натяжение (Н) тяговой
цепи
где КИ = 0,75...1,5 - коэффициент,
учитывающий интерференцию упругих волн;
к' = 0,3...0,5 - коэффициент участия в
колебательном процессе массы перемещаемого груза;
к" = 1 - коэффициент участия в
колебательном процессе массы ходовой
части конвейера;
mГ
- масса груза, находящаяся на конвейере (кг)
X
- масса ходовой части конвейера (кг)
ц - шаг цепи, м;
L - длина трассы
конвейера (м)
Выбираем цепь ПР-63,5-354
Тяговый расчет
Окончательный выбор тягового элемента и
параметров приводной станции производится на основании подробного тягового
расчета, позволяющего определять усилия натяжения в произвольной точке контура
ленты в зависимости от сил сопротивления движению тягового элемента. Подробный
тяговый расчет выполняется последовательным суммированием сил сопротивления
движению ленты по всей трассе конвейера.
Силы сопротивления движению тягового элемента на
различных участках трассы делят на распределенные по длине конвейера и
сосредоточенные (местные). К сосредоточенным относятся силы сопротивления на
поворотных участках, в местах загрузки, промежуточной разгрузки, на очистных
устройствах, местах огибания переходных кривых и др.
Распределенные сопротивления при движении
тягового элемента рассчитываются на прямолинейных участках трассы конвейера.
Они складываются из следующих сопротивлений: сопротивления движению цепи,
сопротивления перемещения груза по желобу волочением. На наклонных участках еще
добавляется продольная составляющая силы тяжести ленты и лежащего на ней груза.
Сила сопротивления на прямолинейном участке
рабочей ветви
на порожней ветви
где l -
горизонтальная проекция участка, м;
h -
вертикальная проекция участка, м;
знак «+» принимается при подъеме груза, а «-»
при спуске.
Сосредоточенные сопротивления. Наряду с
распределенными силами сопротивления возникают различные сосредоточенные силы
сопротивления. Основными из них являются сопротивления на отклоняющих
звездочках, в местах загрузки и разгрузки на криволинейных участках трассы.
Натяжение цепи за пунктом местного сопротивления
можно определять используя следующую зависимость
где k -
коэффициент сопротивления.
Сопротивление на поворотном или отклоняющем
устройстве (звездочка) складывается из сил трения в опорах и сопротивления
изгибу цепи. Наиболее употребительна в этом случае зависимость
где k -
коэффициент сопротивления на поворотном или отклоняющем барабане
Сопротивление на криволинейном участке трассы
где - коэффициент сопротивления на
роликовых батареях
Сопротивления на очистных устройствах
определяется по формуле
где wOT
- удельная сила сопротивления очистительного устройства;
wOT
= 300...500 Н/м;
zOT
- число очистительных устройств на конвейере.
Сопротивление загрузочного устройства (Н)

Натяжение ленты в каждой последующей
точке контура равно сумме натяжения в предыдущей точке и сил сопротивления на
участке между этими точками
i+1 =
Si + W(i+D_i) (i
= 1,2,...,n)
где Si
- натяжение ленты в точке i;
W(i+1)-i
- силы сопротивления движению ленты на участке между точками i
+ 1 и i.
Формула (10) является алгебраической, т. е.
Определяя и суммируя все действующие
на участках трассы распределенные и сосредоточенные силы сопротивления, находят
суммарную силу сопротивления движению (тяговое усилие), равную разности усилий
в набегающей и сбегающей ветвях на приводной барабан
Составим уравнения для тягового
расчета в характерных точках для расчетной схемы, L^w > H.
Тяговое усилие (Н)
k = 1.06 -
коэффициент увеличения натяжения цепи при огибании звездочки.
Параметры привода
Мощность электродвигателя (кВт)
где кЗ =1,1-1,2 -
коэффициент запаса
- к. п. д. привода; в работе
принимается
= 0,85
В приводных станциях скребковых конвейеров
широко используются трехфазные асинхронные электродвигатели.
Параметры выбранного электродвигателя:
тип 4А132М4УЗ
мощность 11 кВт
число оборотов 1460 об/мин
момент инерции 4.0* 10^-2кг м
Вращающий момент на приводном валу (Н-м)
Число зубьев приводных звездочек принимают из
диапазона z
зв = 6...12.
Делительный диаметр (мм) приводной звездочки
где tЦ -шаг цепи, мм.
Делительный диаметр звездочки
является расчетным параметром и вычисляется с точностью два знака после запятой
Число оборотов звездочки
Передаточное число привода
Вращающий момент (Нм) на приводном валу
конвейера (тихоходном валу редуктора)
Редуктор приводной станции скребкового конвейера
подбирается по передаточному числу, мощности двигателя (или вращающему моменту
на тихоходном валу) и режиму работы (если в техническом задании не указано на
проектирование специального редуктора). В приводах скребковых конвейеров
основное применение находят цилиндрические Ц2, Ц3 и цилиндро-конические редукторы
КЦ1, КЦ2. Параметры выбранного редуктора записываются в виде таблицы:
· тип редуктора - Ц2-250;
· передаточное число u
= 24,9;
· номинальный крутящий момент на
выходном валу при тяжелом режиме Mкр
= 1500 Нм;
Муфты.
В приводном механизме в качестве быстроходной муфты применяем муфту упругую
втулочно-пальцевую (МУВП), в качестве тихоходной муфты применяем зубчатую (МЗ).
Тормоза и остановы. В данном конвейере не
устанавливается тормоз, так как угол наклона конвейера не превышает 6 градусов.
Проверка двигателя на время пуска
При проверке электродвигателя на пуск необходимо
определить сопротивление перемещению тягового элемента с коэффициентами
сопротивления перемещению тягового элемента и груза по желобу
где кп - коэффициент увеличения
статических сопротивлений при пуске, принимается кп = 1 ,5.
Натяжения тягового элемента в характерных точках
контура при пуске конвейера определяются методом обхода трассы по точкам, как
уже рассмотрено в вышеприведенном примере.
Тяговое усилие при пуске
где SНБ П и п
соответственно усилия при пуске в набегающей и сбегающей ветвях цепного
контура.
Статический момент (Н*м) при пуске,
приведенный к валу двигателя
Приведенная масса (кг) движущихся частей
конвейера
где кс = 0,5...0,7 - коэффициент,
учитывающий уменьшение средней скорости вращающихся масс по сравнению со
скоростью v;
ку = 0,85.. .0,95 - коэффициент,
учитывающий упругое удлинение цепей;
Gv
- сила тяжести (Н) вращающих частей конвейера (без привода), ориентировочно Gv
можно определить по формуле
Масса вращающихся частей звездочек
где
- число звездочек по контуру трассы
конвейера
- толщина зуба звездочки (в
расчетах можно принять равной внутренней ширине цепи Ьвн);
- плотность материала звездочки
(для стали р = 7,8 т/м ).
где Jp
- момент инерция ротора, кг-м2;
Jм - момент инерции муфты, кг-м2;
= 1,15 - коэффициент, учитывающий
момент инерции деталей привода, вращающихся медленнее, чем вал двигателя;
Средний пусковой момент (Нм)
Угловое ускорение вала ЭДВ
Динамическое усилие (Н) при пуске
Максимальное усилие в цепи при пуске
привода Smax
Параметры натяжного устройства
На скребковых конвейеров с трассой простой
конфигурации размещают винтовые натяжные устройства схема которого представлена
на рисунке 8.
Натяжное устройство обычно размещают на одном из
поворотных устройств (звездочке), расположенном на участке малого натяжения
тягового элемента. Звездочку устанавливают не в крайнем переднем положении
натяжного устройства, а отступив от него на некоторую величину хО,
обеспечивающую возможность стыкования тягового элемента.
Величина хода натяжного устройства зависит от
шага цепи и определяется по формуле :
м
Общую длину винта принимаю Lоб
= L+0.4 = 0.72 м.
Принимаю материал для винта - сталь 45 с
допускаемым напряжением на срез []ср
= 100 Н/мм2 и пределом текучести sТ
= 320 Н/мм2. Тип резьбы выбираю прямоугольный (ГОСТ 10177-82).
Принимаю материал для гайки - бронзу Бр. АЖ9-4 с
допускаемым напряжением на срез []ср
= 30 Н/мм2, на смятие []см
= 60 Н/мм2, на разрыв sР
= 48 Н/мм2. Тип резьбы тот же.
Средний диаметр резьбы винта определяю по
формуле:
мм,
где: y = 2 - отношение
высоты гайки к среднему диаметру;
[p]
= 10 Н/мм2 - допускаемое напряжение в резьбе, зависящее от трущихся
материалов, при трении стали по бронзе [p]
= 8...12 Н/мм2;
K = 1.3 -
коэффициент, учитывающий неравномерность нагрузки натяжных витков;
мм
Внутренний диаметр резьбы определяю
по формуле:
мм,
Учитывая, что длинна винта большая и требуется
большая устойчивость, принимаю d1
= 36 мм.
Шаг резьбы определяю по формуле:
мм
Уточненное значение среднего диаметра резьбы
определяю по формуле:
мм
Наружный диаметр резьбы определяю по формуле:
мм
Угол подъема резьбы определяю по формуле:
Произвожу проверку надежности самоторможения,
для чего должно выполняться условие:
,
где: f
= 0.1 - коэффициент трения стали по бронзе.
Условие выполняется.
Произвожу проверку на устойчивость.
Условием устойчивости является:
,
где: j - коэффициент
скольжения допускаемых напряжений сжатия, при расчете на устойчивость
определяется как функция гибкости винта (l).
[s-1P]
- допускаемое напряжение сжатия.
Допускаемое напряжение сжатия определяю по
формуле:
Н/мм2,
Гибкость винта определяю по формуле:
,
где: m =2 - коэффициент
приведенной длинны.
j
= 0.22. Подставляю полученные данные:
Условие выполняется.
Так как винт работает на растяжение,
то проверку на устойчивость производить не обязательно.
Произвожу проверку винта на
прочность, условие прочности:
,
где:
(определено
выше);
M1 - момент
трения в резьбе (Н мм);
M2 - момент
трения в пяте (упоре) (Н мм);
Момент трения в резьбе определяю по
формуле:
Н мм
Момент трения в пяте определяю по формуле:
Н мм,
где: dn
= 20 мм - диаметр пяты, принимается меньше d1.
Н мм.
Подставляю полученные данные в
условие 2.29:
Условие выполняется.
Высоту гайки определяю по формуле:
мм
Количество витков резьбы в гайке определяю по
формуле:
Произвожу проверку прочности резьбы гайки на
срез, условие прочности:
Условие выполняется
Расчет валов и подбор подшипников
Приводной вал.
В качестве материала вала принимаю
сталь 45 (диаметр заготовки более 120 мм), предел прочности sВ = 730 Н/мм2,
пределы выносливости: s -1
= 0.43sB = 314 Н/мм2,
t -1
= 0.58 s -1
= 182 Н/мм2
Ориентировочный минимальный диаметр
вала определяю из расчета только на кручение по формуле:
мм,
где: M
= 1263 Нм - крутящий момент на валу (определен ранее);
[]k
= 25 Н/мм2 - допускаемое напряжение на кручение для стали 45.
мм.
Из стандартного ряда (ГОСТ 6636-69 R40) выбираю
ближайшее значение диаметра dпв = 100 мм.
Принимаю этот диаметр под подшипники. Под крепление приводных звездочек
принимаю диаметр d = 120 мм. Ширину ступицы приводной
звездочки определяю исходя из необходимой длинны шпонки для передачи вращающего
момента. Длину шпонки определяю из условия смятия и прочности:
,
где: l
- длинна шпонки, мм;
d - диаметр вала в
месте установки шпонки, мм;
h, b,
t1,
- размеры поперечного сечения шпонки, мм;
[s]см -
допустимое напряжение смятия, для стальных ступиц 100-120 Н/мм2.
Также,определяю параметры шпонки для
присоединительного конца вала, диаметр которого принимаю d
= 95 мм и длину l = 115 мм
(ограничения муфты). Значения всех геометрических размеров шпонок привожу в
таблице.
Таблица.
|
d, мм
|
l, мм
|
h, мм
|
t1, мм
|
b, мм
|
|
Приводные
звездочки
|
100
|
180
|
18
|
11
|
32
|
|
Присоединительный
конец вала
|
95
|
115*
|
16
|
10
|
28
|
*
Применяю две шпонки, расположенные под углом 180о.
Исходя из длинны шпонок под приводные звездочки,
длину ступиц последних выбираю lст
= 200 мм.
Принимая во внимание выше перечисленные размеры,
а также габариты крепежных элементов конструктивно принимаю расстояние между
центрами подшипников 1260 мм.
Расчетная схема приводного вала и эпюра
изгибающих моментов имеет вид (весом звездочек пренебрегаю):
Рисунок 4.
где: R1
и R2
- реакции опор в подшипниках, Н;
P - нагрузка на
звездочки, определяется по формуле:
Н.
В связи с симметричностью схемы и нагрузок
реакции опор R1
= R2
= P = 3481 Н.
Проверочный расчет вала на прочность
Условием прочности вала является запас
прочности, определяемый по формуле:
,
где: ns
- запас прочности по нормальным напряжениям;
ns
- запас прочности по тангенциальным напряжениям.
[n]
= 2.5 - минимально допустимый запас прочности.
Запас прочности по нормальным напряжениям, при
условии отсутствия осевых нагрузок определяю по формуле:
,
где: ks
= 1.75 эффективный коэффициент концентраций напряжений;
es = 0.7 масштабный фактор для
нормальных напряжений;
su - амплитуда нормальных напряжений
изгиба, Н/мм2, определяется по формуле:
,
где: W
- момент сопротивления изгибу, мм3, определяется по формуле:
мм3
Запас прочности по тангенциальным напряжениям
определяю по формуле:
,
где: k
= 1.6 эффективный коэффициент концентраций напряжений кручения;
e = 0.59 масштабный фактор для нормальных
напряжений;
,
где: Wк
- момент сопротивления кручению, мм3, определяется по формуле:
мм3
Подставляю значения в формулы
мм3.
мм3.
Н/мм2.
Н/мм2.
Условие выполняется.
Подбор подшипников.
Так как при монтаже на раме
конвейера отдельно стоящих корпусов подшипников имеет место нарушение их
соосности и перекос вала выбираю шарикоподшипники радиальные сферические
двухрядные 1320 (ГОСТ 5720-75 и 8545-75) со следующими параметрами:
d = 100 мм
(внутренний диаметр)
D = 215 мм
(наружный диаметр)
B = 47 мм
(ширина)
C = 113 кН
(Динамическая грузоподъемность)
Проверяю подшипники по
долговечности, которую определяю по формуле:
ч,
где: n
= 39 об/мин - частота вращения вала;
Pэ
- эквивалентная нагрузка на подшипник, при условии отсутствия осевых нагрузок
определяется по формуле:
Н,
где: V
= 1 - коэффициент, учитывающий вращение колец;
KT
= 1 - температурный коэффициент;
Ks
= 2.0 - коэффициент нагрузки.
Н
ч
Долговечность достаточная.
Вал натяжного устройства
Расчет произвожу аналогично.
В качестве материала вала принимаю
сталь 45 (диаметр заготовки более 100 мм), предел прочности sВ = 730 Н/мм2,
пределы выносливости: s -1
= 0.43sB = 314 Н/мм2,
t -1
= 0.58 s -1
= 182 Н/мм2
Диаметр вала конструктивно принимаю
0.8 от диаметра приводного вала d = 80 мм
Расчетная схема вала аналогична.
Н.
Принимаю этот диаметр под подшипники. Под
крепление приводных звездочек принимаю диаметр d
= 100 мм. Ширину ступицы приводной звездочки принимаю конструктивно.
Проверку вала на прочность произвожу только по
изгибающим напряжениям, т.к. момент на валу минимальный (31.4 Нм).
мм3.
Н/мм2.
Запас более чем достаточный.
Подбор подшипников.
Так как при монтаже на раме
конвейера отдельно стоящих корпусов подшипников имеет место нарушение их
соосности и перекос вала выбираю шарикоподшипники радиальные сферические
двухрядные 1218 (ГОСТ 5720-75 и 8545-75) со следующими параметрами:
d = 80 мм
(внутренний диаметр)
D = 160 мм
(наружный диаметр)
B = 30 мм
(ширина)
C = 44.7 кН
(Динамическая грузоподъемность)
Н
ч
Долговечность достаточная.
Расчет звездочек.
Известные параметры:
· делительный диаметр звездочек de
= 320 мм;
· количество зубьев z
= 6;
· шаг зубьев t
= 160 мм.
· диаметр роликов цепи Dц
= 120 мм.
Диаметр наружной окружности определяю по
формуле:
мм,
где: К=0.7 - коэффициент высоты зуба.
мм.
Диаметр окружности впадин определяю
по формуле:
мм,
Смещение центров дуг впадин определяю по формуле:
= 0.01 .. 0.05 t
= 8 мм.
Радиус впадин зубьев определяю по формуле:
= 0.5(Dц
-
0.05t) = 50 мм.
Половина угла заострения зуба g
= 15о.
Угол впадины зуба
= 86o.
Радиус закругления головки зуба определяю по
формуле:
мм.
мм.
Ширину зуба определяю по формуле:
bf
= 0.9(50 - 10) - 1 = 35 мм.
Ширину вершины зуба определяю по формуле:
= 0.6bf
= 21 мм.
Диаметр венца определяю по формуле:
мм,
где: d5
= 150 мм - диаметр реборды катка цепи;
h = 70 мм - ширина
пластины цепи.
мм
ЛИТЕРАТУРА
1.
Барышев А.И., Стеблянко В.Г., Хомичук В.А. Механизация ПРТС работ. Курсовое и
дипломное проектирование транспортирующих машин: Учебное пособие/ Под общей
редакцией А.И. Барышева - Донецк: ДонГУЭТ, 2003 - 471 с., ил.
.
Барышев А.И., Механизация погрузочно-разгрузочных, транспортных и складских
работ в пищевой промышленности. Часть 2. Транспортирующие машины. - Донецк:
ДонГУЭТ, 2000 - 145 с.
.
С.А. Чернавский Курсовое проектирование деталей машин, М.: Машиностроение,
1979. - 351 с.
.
Ануфриев В.И. Справочник конструктора - машиностроителя в трех томах, М.:
Машиностроение, 2001.
.
Яблоков Б.В., Белов С.В Методические указания к курсовому проекту по
подъемно-транспортным устройствам (пластинчатые конвейеры), Иваново, 2002 г.