Механизированное производство капитальных путевых работ
Введение
Развитие железнодорожного транспорта нашей
страны требует повышения эффективности его производства и непрерывности его
обновления на основе ускорения научно-технического прогресса. Увеличение
мощности пути железных дорог, требует усовершенствования технологии и
организации ремонтно-путевых работ. Своевременный и качественный ремонт пути,
снижение затрат времени, труда и эксплуатационных расходов, повышение
производительности труда достигается локальной механизацией путевых работ.
На магистралях нашей страны используется большой
парк путевых машин и механизмов. По ряду параметров они превосходят лучшие
зарубежные образцы аналогичных машин. К таким машинам относятся
хоппер-дозаторы, электробаластеры, путеукладчики, щебнеочистительные машины,
выправочно-подбивочные машины.
Электробалластер - путевая машина, применение
которой облегчает трудоемкие работы при подъемке пути для укладки его на
балласт и при подсыпке щебня под шпалы. Эта машина является надежным помощником
путейцев при строительстве, ремонте и текущем содержании пути, потому что может
выполнять еще целый ряд сложных работ: рихтовку рельсо-шпальной решетки при ее
установке, выверку по уровню при перекосе, дозирование балласта, планировку
откосов, очистку рельсов и шпал от щебня. Все рабочие органы машины приводятся
в действие с центрального поста. Оператор нажимает на кнопки, которые включают
электрический привод соответствующего исполнительного рабочего органа.
В данной курсовой работе мы рассмотрим
электробалластер ЭЛБ-4С
1. Общие сведения.
Классификация
Основные работы по формированию балластной
призмы, или балластировочные работы, сводятся к направлению балластного
материала: в зону под шпалами поднимаемой путевой решетки, в шпальные ящики
(промежутки между двумя соседними шпалами), в откосно-плечевые или междупутные
зоны (на многопутных участках) с планированием поверхности балластной призмы,
уборкой и перераспределением излишков балласта. Одновременно с подъемкой
путевой решетки для достижения требуемого положения производится ее сдвиг в
плане и установка по уровню, т.е. возвышение одного рельса над другим (в
кривых).
Рисунок 1 - Технология
дозирования балласта машинами
Направление материала в балластную призму с
одновременным его перераспределением, называется дозированием балласта. Рабочие
органы машин, предназначенные для его выполнения, называются дозаторами.
Технология дозирования балласта машинами, в основном, сводится к двум случаям.
В первом случае балласт предварительно выгружается из подвижного состава
(думпкары, платформы) на обочины пути (рис. 1, а), а затем направляется к оси
пути на путевую решетку (рис. 1, б). Во втором случае балласт выгружается на
путевую решетку сверху из хоппер-дозаторов, оснащенных специальными
разгрузочно-дозирующими устройствами (рис. 1, в), т.е. разгрузка и дозирование
совмещены.
Рисунок 2 - Способы подведения
балласта
После дозирования балластного материала он
подается под подошвы шпал. Для этого путевая решетка поднимается в рабочей зоне
на необходимую высоту (рис. 2, а), после чего образовавшееся пространство
заполняется материалом. На практике используются несколько способов такого
заполнения. Балласт, находящийся выше подошв шпал, проваливается сквозь
шпальные ящики под действием силы тяжести. Если он зависает в шпальных ящиках,
то используются специальные рабочие органы - пробивщики. Под подошвами шпал
балласт разравнивается натянутыми поперечно пути стержнями - струнками, или
планировочными ножами плугового типа. Принудительную подачу балласта в зону под
подошвами шпал осуществляют уплотнительными рабочими органами. В зависимости
от высоты вывешивания путевой решетки в рабочей зоне, различают: способ
подведения балласта при «плавающих» шпалах (рис. 2, б), когда высота вывешивания
относительно невелика, поэтому шпалы погружены в призму, и способ «свободных»
шпал (рис. 2, в), когда они полностью приподнимаются над балластным основанием.
Первый способ характерен для работ по выправке продольного профиля пути, а
второй - для постановки пути на балластное основание.
Технологический процесс подъемки пути состоит из
вывешивания путевой решетки на необходимую высоту Hвыв (см. рис. 2, а), сдвига
Sсдв базового и возвышение hвоз (рис. 2, г) небазового рельса относительно
первоначального уровня в сечении расположения подъемного рабочего органа,
подведения балластного материала в образовавшееся пространство под подошвами
шпал с одновременным планированием поверхности опирания шпал и опускания. В
результате путевая решетка поднимается на новый уровень, расположенный выше
первоначального на высоту технологической подъемки hпод.
Рисунок 3 - Классификация машин
для балластировки и подъемки пути
В соответствии с используемой технологией
разработаны принципиальные конструктивные схемы машин (рис. 3), реализующие
методы работы:
а) с полной опорой на рельсы с дозированием и
вывешиванием путевой решетки на участке между двумя опорно-ходовыми
устройствами: хоппер-дозаторы; электробалластеры (ЭЛБ-3М, ЭЛБ-3МК, ЭЛБ-4С);
прицепные однопролетные путеподъемники (МПП-5, МРП-600 и др.);
б) с опорой на земляное полотно или лежащий
балластный материал - путеподъемники циклического действия (МПТС-1К, ПРМ-3Г и
др.).
Большинство путевых машин используют метод с
опорой на балласт с двух сторон участка вывешивания, т.к. прижатие путевой
решетки в двух точках стабилизирует ее положение во время работы с способствует
более точной установке. Методы с частичной опорой на рельсы и с опорой на
основание используются реже, т.к. в этом случае положение путевой решетки на
участке вывешивания недостаточной фиксируется, поэтому она ложится на балласт
менее точно.
2. ПАТЕНТНЫЙ АНАЛИЗ
Патент № 149805. Для более лучшей очистки
рельсов от грязи на нашу электробалластер устанавливают данное съемное
устройство. Оно включает в себя перемещаемые вручную по рельсовому пути
монтированные на тележке приводные механизмы с двумя вращающимися навстречу
друг другу щетками, регулировка которых осуществляется с помощью пружины и
штока.
Отличительной особенностью описываемого
устройства является то, что рельсовые щетки установлены на поворотных
кронштейнах, а их оси расположены под углом к вертикали. Кронштейны с помощью
гибкой связи взаимодействуют с рычагом. которым управляют вручную и
осуществляют разведение щеток на стыках.
Устройство такой конструкции обеспечивает
качественную очистку рельсов и стыков.
Рисунок 4 - Общий вид устройства а) вид спереди;
в) вид сверху; б) расположение щеток во время очистки рельса.
Две вращающиеся навстречу друг другу щетки 1
через червячный редуктор 2 и клиноременную передачу 3 приводятся во вращение от
двигателя 4. Оси щеток укреплены в поворотных кронштейнах 5, которые выполнены
в виде двуплечных рычагов. С помощью пружины 6 щетки во время очистки
прижимаются к рельсу, Оптимальное прижатие щеток к рельсу осуществляется штоком
7, который выполнен в вице регулируемого по длине стержня. укрепленного в
кронштейнах. При прохождении стыка и чистке стыкового соединения кронштейны
щеток могут быть разведены на необходимую величину рычагом 8 через гибкую связь
9. Тележка перемещается на опорных катках 10. установленных в вилках 11, Вилки
могут поворачиваться вокруг осей 12 и фиксироваться пальцами 13 в различных
положениях по высоте, что позволяет очищать рельсы любых типов. Очищаемая с
рельсов грязь выбрасывается за пределы колеи. На кронштейнах щеток установлены
защитные кожухи 14, которые предотвращают попадание очищаемой с рельсов грязи
на рабочего.
Опытный образец описываемого устройства
изготовлен и прошел эксплуатационные испытания. Результаты испытаний
удовлетворительные.
Патент E01B27/17
<#"869477.files/image005.jpg">
Рисунок 5 - Общий вид подъемно-рихтовочного
агрегата
Подъемно-рихтовочный агрегат путевой машины
содержит балку 1 с горизонтальными цапфами 2 для поворота кареток 3 вдоль
продольной оси машины в вертикальной плоскости. Каретки 3 имеют не менее двух
опорных элементов 4, выполненных в виде роликов с ребордой, вращающихся на
горизонтально расположенных осях, и захваты 5 для рельсов, смонтированные в
рычагах 6 с возможностью поворота в вертикальной плоскости вокруг
горизонтальных осей и расположенные как с внутренней, так и с наружной стороны
железнодорожного пути. На каретке 3 также установлены элементы 7 контроля и
управления подъемом рельсошпальной решетки и закреплены одним концом
гидроцилиндры 8 подъема, верхние части которых соединены с рамой 9 машины.
Гидроцилиндры 10 управляют захватами рельсов 5. Гидроцилиндры 10 поворота
захватов закреплены одними концами на каретке 3, а другими на рычагах захватов
рельсов 6. Гидроцилиндры 11 рихтовки закреплены одними концами на балке 1, а
другими на раме 9 машины. Балка 1 связана с рамой 9 машины рычагами 12. Захваты
5 для рельсов выполнены в виде оси с роликами 13 с ребордами 14 для
взаимодействия с нижней частью головок рельсов, вращающихся вокруг вертикальной
оси.
Устройство работает следующим образом. Машину
останавливают в начале проведения работ и гидроцилиндрами 8 устройство опускают
вниз для установки его опорными элементами 4 на головки рельсов рельсошпальной
решетки. Элементы 7 контроля и управления подъемом рельсошпальной решетки
выдают сигнал о касании опорных элементов 4 головок рельсов и разрешают поворот
захватов 5 вокруг горизонтальных осей гидроцилиндрами 10 поворота захватов. При
повороте захватов 5 ролики 13 прижимаются к головкам рельсов, а их реборды 14
заходят под головки рельсов. Гидроцилиндры 8 подъема поднимают каретки 3 с
рельсошпальной решеткой вверх. При зарядке устройства боковое его перемещение
осуществляется гидроцилиндрами 11 рихтовки. Зарядку устройства выполняют в
наладочном режиме. После зарядки машина переходит в режим автоматического
управления и начинает перемещение вдоль рельсошпальной решетки. Автоматическое
управление высотой подъемки всей рельсошпальной решетки и любой ее стороны
осуществляется автоматически от измерительной системы машины (например, при
нивелировке железнодорожного пути). Рихтовку в плане осуществляют с помощью
измерительной системы гидроцилиндрами 11 рихтовки. При непрерывном движении
машины возможен случайный срыв головок рельсов с реборд 14 пары смежных
захватов 5, и происходит провисание соответствующей стороны рельсошпальной
решетки. При этом машина продолжает работу в автоматическом режиме подъемки рельсошпальной
решетки, удерживая ее оставшимися в зацеплении с головкой рельса захватами 5, а
удержание рельсошпальной решетки на заданной высоте подъема обеспечивается
гидроцилиндром 8 подъема, расположенным у другой пары захватов 5 на каретке 3.
Элемент 7 контроля и управления, установленный на стороне срыва, выдает сигнал
на разведение соответствующих захватов 5 и переключение соответствующего
гидроцилиндра подъема 8 из системы автоматического управления в режим
опускания. С помощью гидроцилиндра 8 опускают каретку 3, поворачивая ее вокруг
цапфы балки до тех пор, пока ее опорный элемент 4 не опустится на головку
рельса. Элемент 7 контроля и управления подъемом рельсошпальной решетки
фиксирует установку каретки 3 на головку рельса, подает сигнал на закрытие
захватов 5 и переключение гидроцилиндра 8 подъема на режим автоматического
управления подъемом. Таким образом, повышается эффективность работы машины за
счет надежного прохода стыковых соединений рельсов, вследствие чего исключаются
затраты времени на остановку машины для перезарядки устройства.
3. ЭЛЕКТРОБАЛЛАСТЕР ЭЛБ-4С
Электробалластер - универсальная
многооперационная высокопроизводительная машина непрерывного действия,
предназначен для постановки пути на балластное основание при выполнении работ по
строительству и техническому обслуживанию пути, предусмотренных действующей
системой ведения путевого хозяйства. Электробалластер выполняет дозировку
балласта, предварительно выгруженного вдоль пути, срезку балласта у торцов
шпал, планировку откосов и междупутных зон призмы, подъемку путевой решетки на
формируемый балластный слой. Производит грубую выправку и рихтовку пути,
оправку обочин земляного полотна, работы на щебеночных базах для формирования
штабелей балластных материалов, подъемку пролетных строений малых мостов при
ремонте.
Рисунок 6 - Электробалластер ЭЛБ-4С
База для размещения рабочего оборудования у всех
электробалластеров принципиально одинакова. Электробалластер ЭЛБ-4С (рис. 6, а)
состоит из двух секций - направляющей и рабочей. Экипажную часть направляющей
секции составляет сварная ферма 4 с двумя балками двутаврового сечения,
соединенными поперечными связями. В передней части ферма опирается на двухосную
ходовую тележку 34, а в средней части - на четырехосную ходовую тележку 29.
Экипажная часть рабочей секции включает сварную ферму 7 аналогичного
устройства. Ферма в задней части опирается на путь посредством двухосной
ходовой тележки 13, а в передней части - на ферму направляющей секции через
сферический шарнир 27, позволяющий обеспечить компенсацию относительных угловых
смещений ферм при движении в кривых, через переломы продольного профиля, а
также по неровностям. Максимальное значение угла относительного поворота ферм
jmax = 17° 24¢, что позволяет электробалластеру
проходить кривые радиусом R = 100 м и более. Фермы соединены друг с другом
двумя тягами 5 с пружинными амортизаторами. Тяги располагаются выше шарнира и
служат для повышения поперечной устойчивости рабочей секции за счет передачи
части опрокидывающих моментов на направляющую секцию, а также для
предотвращения чрезмерного поперечного раскачивания рабочей фермы при движении.
Электробалластер оборудован автосцепками 11, тормозной системой с
пневматическим приводом и сигнальными устройствами.
Основное технологическое рабочее оборудование
электробалластера включает дозатор 33, размещенный на ферме направляющей
секции, подъемно-рихтовочное устройство 20 (ПРУ), балластерные рамы 21, рабочий
орган рихтовки пути (рихтующая балка) 22 и рабочий орган для динамической
стабилизации пути 17 с электроприводом 16, расположенные на ферме рабочей
секции.
Кроме того, электробалластер оснащён
вспомогательными рабочими органами. Безопасное движение ходовых тележек по
рельсовой колее обеспечивают пассивные 32 и активные 31 рельсовые щетки и
пассивные шпальные щетки 14, которые сбрасывают балласт с рабочих поверхностей
головок рельсов и сметают его с поверхностей шпал. Устройство 19 для пробивки
балласта в шпальных ящиках предотвращает его зависание при вывешивании путевой
решетки. Для уплотнения балласта у торцов шпал служат два виброуплотнителя 30,
по конструктивному устройству аналогичные уплотнителям машины ВПО-3-3000.
Контрольно-измерительная система рихтовки пути
содержит измерительные тележки 28, 26, 23. 15 и трос-хорду 18. Устройством 25
обеспечивается прижим РШР при рихтовке пути в четырехточечном режиме.
При работе машина передвигается тепловозом.
Управление рабочими процессами производится из передней 2 и центральной 6
кабин, и пультов управления 24, расположенных под центральной кабиной. Задняя
кабина 10 используется для бытовых нужд экипажа машины.
Источником энергии служит дизель-электрический
агрегат 1 переменного тока. Машина имеет два насосных агрегата 3, 9. Для
привода рабочих органов применены электрические, гидравлические и
пневматические трансмиссии. В нестандартных ситуациях используется
дополнительный дизель-электрический агрегат 8. Кинематическая схема вписывания
электробалластера в круговую кривую (5, б) обеспечивает нахождение ПРУ всегда
по оси пути в круговой кривой и на прямой, т.к. конструктивные расстояния между
шкворневыми сечениями ходовых тележек, осью междуферменного шарнира и ПРУ
выбраны с учетом осевой симметрии в плане относительно междуферменного шарнира.
Это упрощает управление корректировочными
смещениями ПРУ при работе в кривых.
При работе в переходных кривых и проходе
сопряжений пути необходимо производить дополнительные корректировочные смещения
ПРУ для предотвращения одностороннего сдвига пути с проектной оси.
Технические характеристики:
· минимальный радиус проходимых
участков пути - 100 м;
· минимальный радиус рихтовки кривых
постоянной кривизны - не менее 350 м;
· коэффициент сглаживания
четырехточечной рихтовочной системы - не менее 6,5;
· скорость при дозировке балласта - не
более 15 км/ч;
· скорость при подъемке пути - не
более 10км/ч;
· скорость при рихтовке пути - не
более 5 км/ч;
· скорость при стабилизации пути - не
более 3 км/ч;
· высота подъема рельсошпальной
решетки - +10/350/250 мм;
· величина сдвига пути - +10/200/-32
мм;
· перекос пути в обе стороны - 200/+10
мм;
· грузоподъемность электромагнитного
подъемника - 32 т/с;
· транспортная скорость - 50 км/ч;
· масса - 140 т;
. РАБОЧИЕ ОГРАНЫ, УСТРОЙСТВА И ПРИНЦИП РАБОТЫ
Подъемно-рихтовочное устройство (ПРУ) электробалластера
служит для установки путевой решетки в требуемое положение и выполняет:
вертикальные перемещения в продольном профиле (вывешивание) базового рельса;
сдвиг в горизонтальном направлении (в плане); возвышения небазового рельса над
базовым. Для выполнения этих функций ПРУ имеет: захватные устройства, и
механизмы подъема, сдвига и перекоса путевой решетки.
На злектробалластерах в качестве захватных
устройств применены электромагнитно-роликовые захваты, позволяющие удерживать с
требуемым усилием прижатия рельс. ПРУ электробалластера ЭЛБ-4С имеет восемь
таких захватов, подвешенных через систему балансирных балок на механизме
сдвига, подъема и перекоса путевой решетки. Каждый захват имеет два ролика,
которые при работе катятся по рельсам. Корпус выполнен из электротехнической
стали, и является одновременно ш-образным сердечником для обмоток
электромагнитов. К корпусу прикреплены полюсные наконечники. Расстояние между
полюсными наконечниками - 1 мм от поверхности катания головки рельса
регулируется эксцентриками опорных роликов захвата. Обмотки всех
электромагнитов ПРУ соединены последовательно через перемычки и питаются
постоянным током напряжением 220 В. Каждый такой захват сверху закрыт кожухом
из немагнитного материала (алюминия).
Механизм подъема, сдвига и перекоса путевой
решетки электробалластера ЭЛБ-4С (рис. 7) включает в себя два червячных
редуктора 4, установленных на раме 2, входные валы которых через муфту
соединены с электродвигателями 3 переменного тока. Внутри червячное колесо
каждого редуктора имеет винтовую нарезку, которая взаимодействует с винтом 5.
Винты, в свою очередь, соединены с пружинными амортизаторами 6, внутри которых
также имеется разрушаемый элемент предельного вертикального усилия, которое
может возникнуть при прижиме путевой решетки и отказе концевых выключателей.
Амортизаторы установлены в вертикальных направляющих и через шарнирные узлы 7
соединены с вертикальными тягами 8. Тяги через шарнирные узлы 17 соединяются с
поперечной балкой 12. В результате образуется шарнирный параллелограммный
механизм, позволяющий производить боковой сдвиг путевой решетки без нарушения
ее положения по уровню.
Привод сдвига осуществляется от четырех
гидроцилиндров 15, которые проушинами корпусов через кронштейны 16 и шарнирные
узлы соединены с фермой 1, а проушинами штоков - с центральной осью 21. В
средней части на оси установлен каток 20, взаимодействующий с вертикальными
тягами 8. Ось через катки 14 опирается на поперечные направляющие.
Восемь электромагнитно-роликовых захватов 9
подвешены на поперечной балке 12 через балансирную систему, позволяющую е
компенсировать вертикальный изгиб путевой решетки при ее вывешивании. Система
включает продольную балансирную балку 11, подвешенную через шарнирные узлы 18
на балке 12, и балансиры 10, установленные на поперечных осях балки 11. На них
шарнирно закреплены захваты. Усилие сдвига пути передается через горизонтальные
рихтующие ролики 19, оси которых установлены на балке 11.
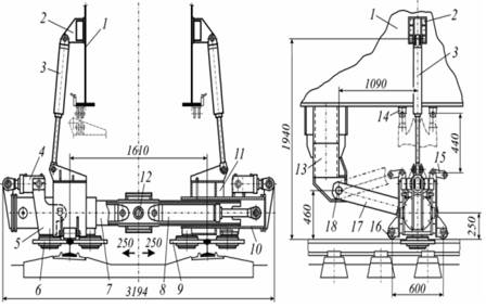
Рисунок 7 - Подъемно-рихтовочное устройство
- ферма рабочей секции; 2 - рама; 3, 4 -
электродвигатели и червячно-винтовые редукторы привода подъема; 5 - винты; 6 -
амортизаторы с ограничителями вертикальных нагрузок, установленные в
вертикальных направляющих; 7, 17, 18 - шарнирные узлы; 8 - вертикальные тяги; 9
- электромагнитно-роликовые захваты; 11, 12 - продольная балансирная и
поперечная балки; 13 - поперечные направляющие балки; 14 - катки центральной
оси, установленные в направляющих; 15, 16 - гидроцилиндры сдвига и кронштейны
крепления; 19 - рихтующие ролики; 20 - каток передачи усилия сдвига пути; 21 -
центральная ось
Дозатор электробалластера (рис. 8) монтируется
на ферме направляющей секции и состоит из центрального щита 12, установленного
в вертикальных направляющих, позволяющих ему перемещаться вертикально с помощью
двух гидроцилиндров 8, единенных с ним шарнирно через штоки. Корпуса
гидроцилиндров через другие шарнирные узлы подвешены на неподвижных 1
кронштейнах 6. На центральном щите через петлевые шарниры 14 установлены правое
и левое составные шарнирные крылья. Каждое крыло включает в себя корневую часть
19, соединенную с центральным щитом петлевыми шарнирами 14, к корневой части
через шарнирные узлы снизу прикреплено крыло 20, а сверху - тяга 3. Эти же
элементы через другие шарнирные узлы соединены с подкрылком 2, образуя в
вертикальной плоскости шарнирный параллелограммный четырехзвенник, позволяющий
нижней рабочей кромке подкрылка сохранять неизменную ориентацию относительно
горизонта при опускании крыла. К подкрылку через вертикальный шарнир
присоединен козырек 1, предотвращающий при работе дозатора потери балласта.
Подъем и опускание крыла производится
телескопической наклонной тягой 4 с приводом от гидроцилиндра. для раскрытия и
прикрытия крыла служит механизм, состоящий из наклонной тяги 15, которая через
универсальные шарнирные узлы 11, 18 соединена с крылом 20 и ползуном 10. Ползун
установлен на продольных направляющих 9 и соединен шарнирно с гидроцилиндром
13. При движениях штока этого гидроцилиндра происходит поворот крыла в плане
для изменения ширины захвата балласта на обочинах.
Конструкцией дозатора предусмотрена работа как в
прямом направлении движения - рабочей секцией вперед, так и в обрат ном. При
движении назад производится срезка излишков балласта. Возможна также работа по
дозированию при развороте крыльев в другую сторону. В этом случае снимаются
тяги 15, а удержание крыла под напором балласта в требуемом положении
осуществляется цепью, закрепляемой на проушине крыла и на ферме.
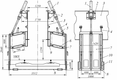
Рисунок 8 - Дозатор
- козырек; 2 - подкрылок; 3 - параллелограммные
тяги; 4 - наклонная тяга с гидроцилиндром подъема крыла; 5, 6 - поворотный и
неподвижный кронштейны крепления наклонной тяги; 7 - ферма направляющей секции;
8, 13 - гидроцилиндры подъема дозатора и раскрытия крыльев; 9 - направляющие;
10 - ползуны; 11, 18 - универсальные шарнирные узлы; 12 - центральный щит; 14 -
петлевые шарниры; 15 - тяги раскрытия крыльев; 16, 17 - кронштейны закрепления
крыльев в транспортном положении
Балластерные рамы (рис. 9) состоят из двух рам 7
с рассекателями 11, на которых при работе стержней 10 закрепляются струнки 8,
представляющие собой стальные стержни круглого сечения с дополнительными
звеньями, предотвращающими излом струнок. Подъем рам и опускание их в рабочие
положения осуществляется механизмами, состоящими из верхней 5 и нижней 6
параллелограммных рам, соединенных через шарнирные узлы с одной стороны с
балластерной рамой 7, а с другой - с кронштейном 9, неподвижно установленным на
ферме 3. Эти элементы образуют шарнирный параллелограммный четырехзвенник,
обеспечивающий вертикальное положение рам 7. Подъем и опускание каждой рамы
осуществляется гидроцилиндром 1, закрепленным корпусом через шарнирные узлы на
кронштейне 2, и соединенным с рамой проушиной штока шарнирно. Балластерные рамы
установлены по оси расположения ПРУ и работают с ним совместно, обеспечивая
разравнивание и подведение балласта под шпалы при вывешивании путевой решетки.
Рисунок 9 - Балластерные рамы
, 2 - гидроцилиндры вертикального перемещения
рам с кронштейнами на ферме; 3 - фермы рабочей секции; 4 - кронштейн
транспортного запора; 5, 6 - верхние и нижние параллелограммные рамы; 7 -
балластерные рамы; 8 - струнки; 9 - кронштейны крепления верхних и нижних рам;
10 - стержни крепления струнок; 11 - рассекатели
Рабочий орган рихтовки пути (рис. 10) состоит из
захватной части, включающей в себя правый и левый кронштейны 11 с выдвижными
балками 10, которые при работе опираются на рельсы через ролики 16 с ребордами.
Горизонтальный захват рельсовых нитей за головки с внутренней стороны
производится рихтующими роликами 9, а с наружной - прижимными роликами 6.
Рихтующие ролики установлены на выдвижных балках, а прижимные - на объемлющих
рычагах. Гидроцилиндрами 4 производится поворот рычагов 5 для отвода или
прижима роликов 6. Принципиально, устройство механизма сдвига пути аналогично
устройству механизма сдвига ПРУ машины ВПО-3-3000С (см. рис. 10.68). Внутри
центральной балки 7 установлены гидроцилиндры 8, соединяющие ее через шарнирные
узлы с выдвижными балками. Этими гидроцилиндрами производятся необходимые
сдвиги путевой решетки при рихтовке и движения выдвижных балок при приведении
рабочего органа в транспортное и рабочее положения. Реактивные усилия,
возникающие при рихтовке, передаются на ферму 1 машины через шарнирный узел 12,
реактивный кронштейн 17, шарнирные узлы 18 и кронштейн 13. Гидроцилиндры 3,
закрепленные через универсальные шарнирные узлы на кронштейнах 2, служат для
вертикального перемещения рабочего органа, а также, при необходимости, для
прижима путевой решетки.
Усилие сдвига при рихтовке, значение которого
может достигать 110 кН, передается на путевую решетку через две рельсовые нити,
что снижает вероятность повреждения скреплений.
Рисунок 10 - Рабочий орган рихтовки пути
(рихтующая балка)
- ферма рабочей секции; 2 - кронштейны крепления
гидроцилиндров; 3 - гидроцилиндры подъема; 4 - гидроцилиндры привода прижимных
роликов; 5 - рычаги; 6 - прижимные ролики; 7 - поперечная балка; 8 -
гидроцилиндры рихтовки пути; 9 - рихтующие ролики; 10, 11 - выдвижные балки с
кронштейнами; 12 - центральный шарнирный узел; 13 - опорный кронштейн; 14, 15 -
проушины и серьги транспортных фиксаторов; 16 - опорные ролики; 17, 18 -
реактивный кронштейн и шарнирные узлы крепления
. РАСЧЕТ ЭЛЕКТРОБАЛЛАСТЕРА
.1 Определение производительности машины
Для расчета технической производительности
электробалластера как машины непрерывного действия необходимо учитывать
характер производимых работ, то есть, если производится подъемка пути на
заданную высоту, то расчет производительности ЭЛБ производится по формуле (1):
(1)
где
-рабочая скорость машины км/ч;
- площадь поперечного сечения:
для рельсов типа Р65,
для рельсов типа Р75,
При расчете эксплуатационной
производительности электробалластера необходимо учитывать технические и
технологические особенности проводимой операции. Одной из особенностей является
неравномерная скорость прохождения участка подъема пути, в начале и конце
участка скорость падает до 3..5 км/ч, а также при прохождении подъема спуска.
Поэтому эксплуатационную производительность ЭЛБ будем определять по формуле
(2):
(2)
где V - объем работ (измерителя) предусмотренный
нормами единицы продукции;
- техническая норма времени работы
машины на измеритель машино-мин.;
- коэффициент использования
внутрисменного времени.
Коэффициент использования
внутрисменного времени определяется находится из зависимости
(3)
где
- полезное время работы машины
внутри смены, время технологического «окна»,
;
- число часов работы машины внутри
смены,
Для определения эксплуатационной
производительности нам будет удобнее воспользоваться зависимостью
(4)
где
- коэффициент перехода от
технической к эксплуатационной производительности
Учитывая перечисленные выше
особенности технологического процесса, можно сказать, что
, принимая
, получаем
согласно (4) для рельсов типа Р65:
.
для рельсов типа Р75
.2 Определение сопротивления
передвижению машины
При движении путевых машин по
рельсовому пути возникают сопротивления: от сил трения в опорах осей и трения
качения колес по рельсам, уклона пути, криволинейности пути, трогания с места,
взаимодействия рабочих органов с элементами железнодорожного пути. Если путевая
машина перемещается локомотивом, сопротивления рассчитываются с целью
определения тягового усилия и подбора локомотива из условия:
(5)
где W
- сумма всех сопротивлений возникающих при движении путевых машин;
μ - коэффициент заноса,
μ
= 1.2
Суммарное сопротивление будет складываться из
следующих составляющих:
(6)
где
- сопротивление от трения;
- сопротивление от уклона;
- сопротивление при движении в
кривой;
- сопротивление при трогании с
места;
- сумма проекций на ось пути сил
приложенных к одновременно работающим органам.
Сопротивление от сил трения
определяется по формуле:
(7)
где
- масса электробалластера
- ускорение свободного падения;
- основное удельное сопротивление,
зависящее от типа подшипников, колесных пар, нагрузки на ось, скорости
движения,
.
Сопротивление от уклона пути определяется по
формуле:
(8)
где
- удельное сопротивление от уклона
пути,
- масса электробалластера;
- ускорение свободного падения;
.
Сопротивление при движении в кривой
определяется по формуле:
(9)
где
- удельное сопротивление от
движения в кривой, здесь радиус кривой
;
В итоге получаем
Сопротивление при трогании с места
определяется по формуле:
(10)
где
- удельное сопротивление от
движения в кривой,
В итоге получаем
При совмещении работ по дозировке и
подъемке пути сумма проекций на ось пути сил приложенных к одновременно
работающим органам будет определяться следующим образом:
(11)
где
- сопротивление дозатора;
- сопротивление от струнок;
- сопротивление от подъемных
магнитов.
Сопротивление от струнок определяется по
формуле:
(12)
где
- удельное сопротивление балласта
резанию для щебня,
;
- диаметр струнки,
;
- длина струнки,
;
- количество струнок,
.
Подставив значения, получим
.
Сопротивление от подъемных магнитов
определяется следующим образом:
(13)
где
- нагрузка на ролики магнитов;
- подъемная сила электромагнитного
подъемника;
- усилие подъема путевой решетки;
- коэффициент трения в подшипниках
скольжения роликов, 0.1;
- коэффициент трения качения ролика
по рельсу,0.06;
- диаметр цапфы,
;
- коэффициент учитывающий трение
ребер ролика о боковую грань головки рельса,
;
- диаметр ролика,
.
Наибольшая сила подъема, действующая
на пару винт-гайка
(14)
где
- сила подъема путевой решетки;
- сила подъема подвижных частей
механизма (вес траверс, поперечной балки, параллелограмных тяг и
электромагнитов),
;
- сила подъема электромагнита.
Сила подъема путевой решетки
определяется по формуле
(15)
где
- модуль упругости рельсовой стали,
;
- момент инерции рельса Р65
относительно горизонтальной оси,
;
- высота подъема пути,
;
- погонное сопротивление подъему
путевой решетки,
;
- погонный вес путевой решетки,
;
- сопротивление балласта на 11 см
путевой решетки в начальный момент подъема,
;
- коэффициент, зависящий от объема
дозировки и типа верхнего строения пути,
;
- высота вывешивания пути,
.
Подставляя полученные значения в
(15) получим
.
Сила подъема электромагнита состоит
из веса поднятой на определенную высоту путевой решетки. Вес поднятой путевой
решетки определяется из соотношения (16):
(16)
где:
- длина поднятой путевой решетки;
- вес одного погонного сантиметра
решетки,
.
Длина поднятой путевой решетки равна
длине хорды искривления путевой решетки и определяется по формуле:
(17)
где
среднее сопротивление подъему
путевой решетки,
;
- безразмерная функция,
.
Согласно (17) длина путевой решетки
будет равна:
,
откуда, согласно (16), получаем
вернувшись к (14), получим
Учитывая что
, определяем
величину сопротивления подъемных магнитов по формуле (13)
.
.3 Расчет геометрических параметров
механизма сдвига путевой решетки
Определяем усилие сдвига
,H,без
сопротивления балласта
; (18)
где
- момент инерции двух рельсов
относительно вертикальной оси;
E - модуль
упругости рельсовой стали
- коэффициент жесткости путевой
решетки, учитывающий влияние шпал и скреплений
,=
Затем определяем усилие
,Н, которое
необходимо развить винтом механизма сдвига
(19)
где a
- расстояние от траверсы до низа магнитов;
b - расстояние от
траверсы до оси винта механизма сдвига.

=
;
(20)
кВт
.4 Расчет электробалластера на устойчивость
электробалластер путь призма производительность
При движении электробалластера по железнодорожному
пути устойчивость его может быть нарушена вследствие действия боковых сил от
рабочих органов, инерционных сил, ветровой нагрузки и пр. Электробалластер
рассчитывается на продольную и поперечную устойчивости.
Поперечная устойчивость электробалластера
определяется по формуле:
(21)
где Муд - момент удерживающих сил;
(22)
где G
- масса машины, G = 140 т.
b - расстояние по
осям рельсов, м.
Мопр - момент опрокидывающих сил.
(23)
где Q
- поперечная сила действующая на балластер, принимаемая равной
Q = 0,4∙G
= 0,4∙140 = 56 Т.
h - плечо силы
приложенной в центре тяжести машины, м.
(24)
где ∑М - сумма моментов от веса отдельных
частей машины относительно головки рельса.
Подставляя значения h
и Q получим:
;
отсюда:
Следовательно сумма моментов от веса
отдельных частей машины не должны превышать 190,5 Т∙м. Отсюда высота
центра тяжести машины не должна превышать:
Продольная устойчивость электробалластера
проверяется относительно средней тележки по формуле:
(25)
Момент удерживающих сил:
(26)
где GII
- масса II фермы
электробалластера GII
= 40.3 т.
l - расстояние между
1 и 2 тележками l = 27 м.
;
.
Момент опрокидывающих сил:
(27)
где Рш - усилие передаваемое от фермы
1 через шарнир ферме II.
Gbш
- масса части фермы от т.в до шарнира ш; Gbш
- 6,3 т.
(28)
где G1
- масса фермы I
G1
= 99,7 т;
Qп
- усилие подъема путевой решетки;
т;
, подставляем в формулу Рш
получим:
6. ТЕХНИКА БЕЗОПАСНОСТИ
Механизированное производство капитальных
путевых работ представляет собой сложный комплексный процесс, при котором на
сравнительно коротком протяжении сосредотачивается большое количество машин и
механизмов, а также значительное количество машинистов и монтеров пути. В этих
условиях очень важно обеспечить полную безопасность движения поездов и личную
безопасность работающих.
При проведении работ на двухпутных и многопутных
участках путевые машины ограждаются переносными сигналами остановки также и по
соседним путям. К моменту пропуска поезда, идущего по соседнему пути, работа
балластера и других машин, работающих в комплексе, должна быть полностью
приостановлена.
При механизированном выполнении работ
запрещается:
приступать к работе до ограждения участка работ
в строгом соответствии с требовании ПТЭ и инструкцией МПС;
снимать сигналы, ограждающие место производства
работ, до полного окончания работ, проверки состояния пути и соблюдения
габарита;
работать машинами и механизмами, не прошедшими
освидетельствования в установленные сроки инспекцией котлонадзора;
допускать машинистов к управлению машинами и
механизмами при отсутствии у них на это специальных прав;
- находиться на межпутье при пропуске поездов по
соседним действующим путям;
перемещать машины в рабочей зоне и работать ими
без команды руководителя, которая может быть подана только после проверки, что
все рабочие находятся в безопасном месте.
Во время дозировки балласта электробалластером
запрещается идти впереди или сзади крыльев дозатора. При движении
электробалластера в рабочем состоянии не следует садиться или становиться на
рабочие органы машины, а также переходить под ее фермой с одной стороны на
другую. При зарядке и перезарядке электромагнитов, полюсные решетки следует
очищать не рукой, а скребком с ручкой.
Приводить в движение рабочие органы машины можно
после того, как рабочие отойдут на расстояние не менее 5 метров. Перед каждым
движением рабочих органов или всей машины машинист должен подавать звуковой
сигнал.
Струнки переносят для их зарядки или после
работы в горизонтальном положении. Это особенно важно на электрифицированных
участках, где расстояние от человека или предмета, который он держит, до
контактного провода должно быть не менее 2 метров. Заряжаются струнки только
после захвата поднятой путевой решетки цепями.
Большое внимание вопросам безопасности движения
следует уделять на участках скоростного движения поездов, при этом особенно
строго должны выполнятся требования ПТЭ, инструкции по сигнализации на железных
дорогах и инструкции по обеспечению безопасности движения поездов при
производстве путевых работ.
Не менее строго надо следить за выполнением
Правил по технике безопасности и производственной санитарии при производстве
работ в путевом хозяйстве.
СПИСОК ЛИТЕРАТУРЫ
1.
Путевые машины/ под ред. С. А. Соломонова. - М.: Транспорт, 1977. - 392 с.
.
Путевые машины/ под ред. С. А. Соломонова. - М.: Транспорт, 1985. - 375 с.