Разработка регулятора-стабилизатора переменного напряжения
ВВЕДЕНИЕ
Для работы аппаратуры требуются напряжения как постоянного, так и
переменного тока различных номиналов с более высокой стабильностью, чем ее
могут обеспечить первичные источники электропитания. Поэтому стабилизированные
источники вторичного электропитания находят широкое применение в составе
различных радиотехнических устройств, автоматики, аппаратуры связи,
вычислительной и измерительной техники.
Повышение надежности и экономичности работы, снижение массы, размеров и
стоимости радиоэлектронной аппаратуры в большой степени зависят от правильного
выбора и проектирования источников вторичного электропитания.
Широкое многообразие различных требований к качеству выходных напряжений
стабилизированных источников, необходимость преобразования энергии постоянного
и переменного тока, широкий диапазон выходных мощностей, большие различия в
режимах работы и условиях эксплуатации привели к созданию большого числа
различных схемотехнических решений стабилизированных источников вторичного
электропитания. В связи с этим вопросы совершенствования источников вторичного
электропитания (ИВЭП)- улучшение их энергетических, надежностных, удельных по
массе и объему показателей - являются весьма актуальными в настоящее время.
В отличии от существующего набора широко распространенных непрерывных и
импульсных стабилизаторов регуляторов и преобразователей напряжения существует
новое направление- создание дискретных источников вторичного электропитания, в
основе схемотехнических решений которых лежит применение трансформаторов,
работающих как на основной, так и на повышенной частоте, с дискретно
изменяющимся коэффициентом трансформации в строго регламентированные
(дискретные) моменты времени.
Использование трансформаторов с дискретно изменяющимся коэффициентом
трансформации в момент прохождения тока нагрузки через нулевой уровень
позволяет получить регулирование в широком диапазоне напряжения переменного
тока или его стабилизацию с минимальным коэффициентом нелинейных искажений
напряжения первичной сети, что немаловажно, так как все больше расширяется
количество устройств, которые не допускают электропитания напряжением с
искаженной формой синусоиды. В конечном итоге это способствует повышению
надежности аппаратуры, питающейся от вторичных источников.
1. Технико-экономическое обоснование темы
Требования к технико-экономическим показателям вторичных источников
электропитания устанавливаются существующими стандартами, нормами и
техническими условиями в зависимости от конкретных потребителей.
На
сегодняшний день характерно, что к энергетическим показателям источников
электропитания (cos
, к.п.д. и др.) требования непрерывно повышаются. В
частности, это заключается в увеличении быстродействия стабилизаторов,
уменьшении их массы, увеличении к.п.д. и соs
,
обеспечение высокой функциональной надежности.
Многие
современные системы работают неудовлетворительно, если питание их производится
искаженным синусоидальным напряжением. При этом неизбежны искажения формы и
сдвиг фазы входного тока и выходного напряжения из-за наличия искажающих
гармоник. Фильтрация этих гармоник крайне затруднительна и приводит к снижению
быстродействия, увеличению массы и габаритных размеров системы в целом.
Низкое
быстродействие стабилизаторов также влияет на работу питающихся от них
устройств, снижая время их безотказной работы.
При
питании различных устройств и систем от первичной сети на долю блоков питания
приходится 30-50% веса всей аппаратуры.
Одним
из перспективных путей снижения веса, уменьшения габаритов, увеличения
быстродействия источников вторичного электропитания является построение их по
таким схемам, где регулирующие элементы работают в ключевом режиме.
Самыми
экономичными и малогабаритными стабилизаторами такого типа являются трансформаторно-тиристорные.
Огромный
интерес вызывают трансформаторно-тиристорные стабилизаторы с цифровым
управлением. Они имеют достаточную точность регулирования, улучшенные
весо-габаритные показатели, хорошую надежность.
Вопросам
разработки и исследования цифрового стабилизатора переменного напряжения
посвящена тема данного дипломного проекта.
Основным
материалоемким блоком в стабилизаторе является регулирующий орган. Главным
образом он один влияет на массу и габариты стабилизатора. Поэтому ручной расчет
параметров регулирующего органа уже не может удовлетворять все более критичным
показателям качества стабилизатора. Вследствие чего возникает необходимость в
программно-алгоритмическом обеспечении расчета регулирующего органа,
позволяющий реализовать многовариантный анализ для выбора приемлемого варианта.
Данный
цифровой регулятор-стабилизатор может использоваться как источник вторичного
электропитания для различных электро- и радиотехнических устройств.
регулятор
стабилизатор напряжение трехфазный
2. Разработка функциональной схемы регулятора
стабилизатора
2.1 Анализ способов построения регуляторов
сетевого напряжения и выбор схемы РО
.1.1 Стабилизаторы переменного напряжения
Стабилизаторы переменного напряжения (СПН) - это устройства,
автоматически поддерживающие на стороне потребителя напряжение с заданной
степенью точности с частотой питающей сети.
Основными факторами, вызывающими изменение напряжения на стороне
потребителя, являются колебания входного питающего напряжения, изменение тока
нагрузки потребителя, колебания частоты сети, изменения температуры окружающей
среды и т.п. Стабилизаторы могут классифицироваться по назначению, как
стабилизаторы общего назначения для обеспечения стабильных режимов работы
аппаратуры. В этом случае СПН должны обеспечивать стабильный режим работы в
течении длительного времени. Стабилизаторы специального назначения. К таким
СПН, например, можно отнести СПН для обеспечения стабильности питания при
проверке электро- и радио измерительных приборов. Такие СПН имеют высокую стабильность
выходного напряжения в течении небольшого промежутка времени (в течении времени
проверки). По роду стабилизируемой величины различают стабилизаторы напряжения,
стабилизаторы тока и стабилизаторы мощности. По степени точности
стабилизируемой величины различают стабилизаторы:
а) Низкой точности с нестабильностью выходной величины 2,5% и выше;
б)
Средней точности 05%
2,5%;
в)
Высокой точности 0,1%
0,5%;
г)
Прецизионные с нестабильностью выходной величины <0,1%.
2.1.2 Магнитные стабилизаторы напряжения переменного
тока
В
зависимости от типа регулирующего органа и элементов различают
полупроводниковые, магнитные и магнитополупроводниковые, магнитные
стабилизаторы напряжения переменного тока. Другие типы стабилизаторов, такие,
как электромеханические, феррорезонансные, получившие широкое распространение
среди СПН, ввиду того, что они достаточно широко представлены в различной
литературе и поэтому не представляют собой новизны как с теоретической точки
зрения, так и практических их воплощений в конкретной конструкции, здесь
рассматриваться не будут. В связи с этим можно перейти к обзору наиболее
перспективных способов стабилизации и стабилизаторов, использующих эти способы.
В
настоящее время известно много схемотехнических решений, позволяющих
реализовать регулирование и стабилизацию переменного напряжения. Наибольший
уровень технико-экономических показателей, таких, как к.п.д., cos
,
коэффициент нелинейных искажений (КНИ), время восстановления выходного
напряжения при скачкообразном изменении напряжения сети и нагрузки
; Весогабаритные показатели и относительную
погрешность стабилизации требуемого уровня сетевого напряжения
Uн и, в конце
концов, стоимость СПН могут обеспечить трансформаторно - ключевые схемы [3,4].
Для
классификации многообразия известных трансформаторно - ключевых схем, имеющих
возможность регулирования и стабилизации сетевого напряжения, необходимо
выделить основные признаки, характеризующие данные СПН [1,2]. К таким основным
признакам следует отнести следующие, наиболее характерные для трансформаторно-
ключевых стабилизаторов:
)
реализуемые законы регулирования переменного напряжения (ШИР, ШИМ, цифровое
регулирование и т.д.);
)
возможность выделения регулируемой мощности;
)
возможность реализации регулирующего органа на одном магнитопроводе.
Использование
этих признаков позволяет оценивать предельные возможности схемотехнических
решений. Предельные возможности подразумевают значения СПН при идеальном
исполнении всех элементов схемы стабилизатора. Реальное исполнение элементов
схемы стабилизатора обычно вызывает отклонение от предельных значений
показателей лишь в худшую сторону. Все это позволяет производить анализ
известных вариантов исследованием их основных признаков, что ускоряет
рассмотрение известных трансформаторно-ключевых схем [4].
Далее
разбираются характерные решения и анализируются предельные возможности рассматриваемых
схемотехнических решений СПН.
2.1.3 Регулирующий орган с широтно-импульсным
регулированием на частоте сети
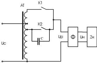
Схема
регулирующего органа с ключами в цепи нагрузки, осуществляющего
широтно-импульсное регулирование на частоте сети (ШИР), показана на рис.2.1,
где: Zн- нагрузка; Ф-фильтр; АТ-автотрансформатор; К1, К2-
управляемые ключи; Uс- напряжение сети, Up-регулируемое
напряжение, Uн- напряжение нагрузки.
Работает
схема регулирующего органа следующим образом. В начале каждого полупериода
замыкается ключ К2, затем в моменты времени ti(i=1,2,3…)
ключ К2 выключается , а ключ К1 включается. На выходе фильтра в идеальном
случае напряжение Up изменяется скачком от уровня U2,
соответствующего отводу автотрансформатора АТ для ключа К2, до уровня U1,
соответствующего отводу для ключа К1 при данном напряжении сети. Переход от
уровней U2 до U1 показан на рис.3.2. Фильтр Ф выделяет первую
гармонику напряжения Up, обеспечивая требуемый уровень нелинейных искажений
напряжения Uн, подаваемого на нагрузку Zн. В реальном
случае во время коммутации ключей К2, К1 напряжение Up падает до
нуля. Это приводит к увеличению габаритов фильтра.
Рис.2.1
Схема РО с ключами в цепи нагрузки, осуществляющего ШИР на частоте сети
Рис.2.2
Временная диаграмма
Рис.2.3
Модифицированная схема РО с ключами в цепи нагрузки, осуществляющего ШИР на
частоте сети
Несмотря
на относительную простоту схемы она используется редко, так как ей присущи
следующие недостатки:
а)
коммутация полного тока iн(t) в моменты времени ti, близкие к
его амплитудным значениям сопровождается повышенными коммутационными потерями,
что требует применения громоздких радиаторов для ключей;
б)
выделение первой гармоники из скачкообразного напряжения Up(t),
пульсирующего с частотой сети, требует также громоздких массивных LC
фильтров, увеличивающих
до (5
10) Tc,
где Тс - период сетевого напряжения;
в)
импульсное потребление тока ic(t) из сети приводит к нелинейным искажениям сетевого
напряжения, что недопустимо в связи с правилами энергопотребления. Чтобы
избежать этого, в схему требуется введение еще одного фильтра, сглаживающего
пульсации сетевого тока;
г)
ключи, коммутирующие большой мгновенный ток, являются источниками
электромагнитных излучений, что требует тщательной их экранизации.
Для
устранения некоторых из этих недостатков разработана модификация схемы
регулирующего органа, реализующая широтно- импульсное регулирование ШИР на
частоте сети [2].
Схема
изображена на рис.2.3. Отличительной особенностью этой схемы от предыдущей
является включение конденсатора С параллельно ключу К2 и изменение алгоритма
работы ключей К1-К2. В начале каждого полупериода сетевого напряжения
включается ключ К1 (рис.3.2). Конденсатор С заряжается напряжением, равным
разности напряжений на отводах К1 и К2 . Если в некоторый момент времени t1,
расположенный внутри рассматриваемого полупериода, ключ К1 выключить то конденсатор
в течении времени
t разрядится до
нуля, обеспечивая плавный переход напряжения Up с уровня U1 до
уровня U2. В момент времени t1+
t включается
ключ К2, обеспечивая питание нагрузки от отвода К2 до конца полупериода.
Затягивание фронта перехода напряжения Up с уровня U1 на
уровень U2 уменьшает коммутационные потери на ключах. В связи с
этим уменьшается спектр пульсаций сетевого тока, а значит, и габариты фильтра.
Однако возникают дополнительные трудности, связанные с включением конденсатора.
В частности, алгоритм переключения ключей К1 и К2 требует полной управляемости
ключа К1. Такой алгоритм можно реализовать с помощью транзисторов, но наиболее
удобен вариант с использованием запирающих тиристоров. Далее, для реализации
положительных эффектов которые обеспечивает включение конденсатора С, последний
должен накапливать значительную энергию, т.е. иметь емкость не менее, чем
мкФ. Учитывая это, создается серьезное препятствие
внедрения данной схемы и создания на ее основе мощных СПН.
Стремление
снизить разрывную мощность ключей привело к схемам, в которых выделяется регулируемая
мощность. Схема такого РО, реализующего этот принцип, показана на рис.3.4.
Схема
позволяет реализовать три режима работы регулирующего органа [1,2,4]:
)
режим непосредственной передачи, когда Up
Uc;
)
режим регулируемой вольтодобавки, когда Up=Uc+Uвд;
)
режим регулируемой вольтоотбавки, когда Up=Uc-Uвд;
Осуществляются
эти режимы посредствам реализации алгоритмов включения ключей.
)
Ключ К1 постоянно разомкнут, К2, К3 постоянно замкнуты - режим непосредственной
передачи.
)
Ключ К1 разомкнут в начале каждого полупериода сетевого напряжения, ключи К2,
К3 замкнуты. Затем в моменты ti происходит замыкание ключа К1 и размыкание ключа К3.
Ключ К2 остается замкнутым. В этом случае изменением положения моментов ti
внутри полупериодов осуществляется режим регулируемой вольтодобавки. При этом
необходимо, чтобы число витков w1 при выбранных размерах сечения магнитопровода было
таким, чтобы имелась возможность уравновесить напряжение Uc=Uco.
Рис.2.4 Схема с выделяемой регулируемой мощностью
Рис.2.5 Временная диаграмма поясняющая работу схемы
Рис.2.6 Временная диаграмма накладывания импульсов вольтодобавк и
вольтоотбавки на напряжение сети многократно
) Ключ К1 разомкнут в начале каждого полупериода Uc(t), а ключи К2,К3
замкнуты. Затем, в моменты ti
происходит замыкание ключа К1 и размыкание К2. При этом реализуется режим
регулируемой вольтоотбавки.
К регулирующему органу РО в большинстве случаев можно подключать нагрузку
лишь тогда, когда он оснащён качественным фильтром Ф, выделяющему первую
гармонику напряжения Up(t).
Стремление уменьшить габариты фильтра приводит к тому, что регулирующие
импульсы имеют повышенную частоту. В этом случае закон регулирования с
добавочными короткими высокочастотными импульсами - ШИМ представлен эпюрами
напряжения Up(t), Uc(t) на рис.3.6. Данный ШИМ- закон
реализуется за счёт высокочастотной коммутации ключей внутри каждого
полупериода сетевого напряжения Uc(t). Низкочастотная гармоника
напряжения Uc(t), имеющая частоту сетевого напряжения и другие гармонические
составляющие этого напряжения имеют разное по частоте, тем больший, чем выше
частота коммутации ключей. Это благоприятно сказывается на габаритных
характеристиках фильтра. Однако при любой частоте коммутации ключей
трансформатор, используемый в РО, будет работать на частоте напряжения сети,
поэтому частота коммутации не сказывается на его габаритах. Для уменьшения
габаритов трансформатора в рассматриваемых схемах используют схемы
широтно-импульсного регулирования на промежуточной высокой частоте. Схема,
использующая такой принцип, показана на рис.2.7. Для получения высокочастотных
импульсов из напряжения сети используется инвертор И, состоящий из обмотки w1 и ключей К1, К2, К3, К4.
Согласование высокочастотных импульсов с напряжением сети осуществляет
демодулятор Д, состоящий из обмотки w2 и ключей К5, К6, К7, К8. В инверторе с помощью коммутации пар ключей
К1, К4 и К2, К3 на обмотке w1
формируются высокочастотные импульсы из сетевого напряжения, трансформирующиеся
в обмотку w2.
Рис.2.7
Схема ШИР на промежуточной высокой частоте
С помощью ключей демодулятора из высокочастотных импульсов вырабатываются
импульсы Uвд (t), которые могут складываться с напряжением сети, либо
вычитаться из него, при этом будет осуществляться изменение длительности
импульсов, формируемых инвертором И. В связи с этим будет иметь место соотношение:
Относительная
длительность импульсов, формируемых демодулятором.
Исследования
РО, реализующих ШИР на промежуточной высокой частоте, показывают, что
несиметрия коэффициентов
входящих
в выражение для описания регулируемого напряжения в схемах ШИР (1) и (2),
привело к тому, что в рассматриваемую схему ввели дополнительный симметризующий
трансформатор.
(1)
(2)
С
учетом этого схему РО покажем на рис.2.8.
Рис.2.8 Модифицированная схема РО, реализующая ШИР на промежуточной
высокой частоте
Симметризующий трансформатор может работать как на основной, так и на
повышенной частоте.
При работе на повышенной частоте его следует дополнить модулятором и
демодулятором, что усложнит в двое схему регулирующего органа. Такая схема не
нашла широкого применения, так как не удается выполнить РО стабилизатора на
мощность Рн >16кВА [2].
Рассмотренные выше схемы регулирующих органов стабилизаторов характерны
тем, что они позволяют иметь соответствующем управление и любой коэффициент
передачи К из диапазона (Кmin, Kmax), определяемого выражениями:
(3)
(4)
Такие
РО называют непрерывными. Известны регулирующие органы, которые могут иметь
лишь дискретный набор значений коэффициента К из диапазона (Кmin, Kmax).
Такие регулирующие органы называются дискретными или цифровыми.
2.1.4 Дискретные регулирующие органы СПН
Схема дискретного РО изображена на рис.210. Общее свойство всех цифровых
РО заключается в возможности переключения ключей К1-Кn лишь в моменты перехода тока iн (t)
через нулевой уровень. Таким образом, РО, схема которого показана на рис.3.10,
позволяет получить лишь n
значений коэффициента передачи К из диапазона (Кmin, Kmax),
причем К min соответствует включенному состоянию
ключа К1 при разомкнутых остальных, а Кmax при Кn.
Возможности
дискретных РО в данной схеме определяется числом ключей и используемой схемой
кодирования. Данная схема реализует позиционную схему кодирования. Для
обеспечения требуемого коэффициента передачи К
[Kmin,
Kmax] следует включать лишь один ключ, а остальные должны
быть разомкнуты. Такое кодирование представляет практический интерес для
случаев, когда требуемое число N значений К невелико (N=8
10). Если вместо позиционного кодирования применить
двоичное кодирование, то можно обеспечить число N значений коэффициента
передачи при числе Nк ключей, равном 2n<N.
Из
условия N=
(5) следуют значения числа N, которые
сведены в таблицу1. Из нее видно, что эффективность двоичной и позиционной схем
кодирования одинакова лишь при числе ключей Nк
4.
Рис.2,9
Схема дискретного РО
Рис.2.10
Алгоритм перемены значений К в зависимости от изменения напряжения сети
Схема
РО, в котором используется двоичное кодирование, приведена на рис.3.12. В
данной схеме вся вольтодобавочная обмотка разбивается на n
секций с числом витков:
w1=x;
w2=2x;
wn=
;
Рис.2.11
Схема РО, в котором используется двоичное кодирование
Каждая
секция коммутируется двумя ключами по принципу “включено-выключено”.
Для
выключения секции из набора замыкается ее нижний ключ, а для включения - ее
верхний ключ. Однако, стоит заметить, что одновременное включение двух ключей
хотя бы в одной секции вызывает аварийный режим в РО аналогичный короткому
замыканию в нагрузке [4].
Двоичное
кодирование позволяет только увеличивать или уменьшать напряжение, снимаемое с
отвода А, сетевой обмотки. Для увеличения этого напряжения витки секций
включаются согласно, для уменьшения - встречно виткам сетевой обмотки. Для
рассматриваемой схемы РО стабилизатора более широкие возможности
предоставляются при использовании троичного кодирования витков вольтодобавочной
обмотки. Схема РО, использующею троичное кодирование, приведена на рис.3.13.
Вольтодобавочная обмотка разбивается на секции, в каждой из которых делается
отвод, делящий общее число витков секции на две равные части. Число витков в
секциях выбирается по следующему правилу:
w1=2x;
w2=
;
wn=
;
Рис.2.12
Схема РО, использующая троичное кодирование
В
этом случае получаются максимальные комбинации витков вольтодобавочной обмотки.
Значения этих комбинаций сведены в табл. 2.
Таблица
1
|
Nк
|
2
|
4
|
6
|
8
|
10
|
12
|
14
|
16
|
18
|
|
N
|
2
|
4
|
8
|
16
|
32
|
64
|
128
|
256
|
512
|
|
N/Nк
|
1
|
1
|
1,3
|
2
|
3,2
|
5,3
|
9,1
|
10,5
|
---
|
Таблица 2
|
Nк
|
3
|
6
|
9
|
12
|
15
|
18
|
|
Wimax
|
x 4x 13x 40x 121x 364x
|
|
|
|
|
|
|
N
|
3
|
9
|
27
|
81
|
243
|
729
|
Однако анализ и сравнение данных числа комбинаций двоичного и троичного
кодирования показывают, что предпочтение следует отдать схемам РО с двоичным
кодированием. Кроме того, следует иметь в виду, что управлять состоянием РО с
двоичным кодированием не вызывает никаких затруднений при использовании
двоичного кода, содержащим число разрядов, равным числу секций. Троичное же
кодирование требует усложнения схемы управления за счет введения дополнительных
дешифраторов, переводящих двоичный код в троичный, пригодный для управления
состоянием РО с троичным кодированием.
При
анализе РО с двоичным кодированием выполненном по схеме, имеем следующее.
Цифровой закон регулирования с естественной коммутацией ключей в моменты
прохождения тока в них через нулевой уровень вносит наименьшие искажения в
регулируемое напряжение, поэтому во многих случаях к цифровым РО можно
подключать нагрузку без применения согласующих фильтров. Однако для РО,
выполненного по данной рассматриваемой схеме при питании от него нагрузки,
содержащей реактивные элементы, требуется применение фильтра. Ключи, включаемые
последовательно с нагрузкой, начинают включаться при
где
- ток
удержания. Выключаются данные ключи при
. В эти
промежутки наблюдаются “просечки” напряжения, что является недостатком
рассматриваемого РО.
Как
уже было отмечено, регулирующие органы с ключами в цепи нагрузки не выделяют
регулируемой мощности, что приводит к перегрузкам ключей. Поэтому в цифровых РО
также целесообразно выделение регулируемой мощности.
Известен
целый ряд схемотехнических решений, учитывающих это явление. В литературе
[1,2,3,4] рассмотрены наиболее характерные из них.
Не
вдаваясь в подробности, можно отметить, что в этом плане наблюдаются тенденции
использования РО стабилизаторов с цифровым управлением, состоящих из нескольких
магнитопроводов с обмотками. В литературе [4] подробно рассмотрен РО с двумя
трансформаторами, где второй трансформатор работает в режимах вольтодобавки и
вольтоотбавки. Далее, для увеличения точности регулирования таких РО,
предлагается увеличивать число вольтоотбавочных трансформаторов, так как
обеспечить необходимую точность лишь за счет увеличения числа ключей не
удается.
При
анализе таких РО, освещенном в [4], можно отметить следующие моменты:
увеличение числа вольтоотбавочных трансформаторов даже до трех недостаточно для
обеспечения заданной точности регулирования.
Авторы
считают, что необходим четвертый трансформатор, при этом вопросы разделения
функций этих трансформаторов и вопросы обеспечения устойчивости становятся
наиболее актуальными для них. Считается, что целесообразно рассмотреть другой
подход к построению регулирующего органа, обеспечивающего регулирование и
стабилизацию сетевого напряжения, выделяя при этом регулируемую мощность и
реализуемый на одном магнитопроводе. Такой РО предпологает использование трех
стержневого трансформатора.
Схема
РО, использующего этот принцип, показана на рис.2.13. Здесь ключи вынесены в
специальную цепь регулирования, образованную обмотками w2 и w1.
Ток
Ip протекающий через ключи в этой схеме при постоянных
напряжениях нагрузки Uн и самой нагрузке примерно постоянен и определяется
выражением Ip=IнWn/W2, причем для рассматриваемого
регулятора-стабилизатора коэффициент
, что
благоприятно сказывается на мощности, рассеиваемой замкнутыми ключами.
Рис.2.13
Схема РО использующая трех стержневый трансформатор
Принцип
действия рассматриваемого РО заключается в регулировании величины магнитного
потока Фн, проходящего через стержень с обмотками w2, wn.
Если
включить все правые ключи в секциях обмотки w1, то обмотка w2
окажется закороченной, поэтому из условия dФ/dt=0
для w2 следует, что напряжение Uн
вольтодобавки, снимаемое с обмотки wn, равно нулю, а напряжение Un
нагрузки, равно напряжению Ua, снимаемому с отвода А.
Если
включить все левые ключи секций обмотки w1, к обмотке w2
будет приложено напряжение U1, снимаемое со всех последовательно соединенных
секций обмотки w1. В этом случае магнитный поток Фн будет таким, чтобы
и
;
Следовательно,
напряжение Uн=Uа+Un.
Из
этого следует, что
Un=
(6)
где
Un пропорционально числу витков
обмотки
1,
присоединённых ключами к выводам обмотки
.
При
этом, как уже отмечалось, секции w
обмотки w1 удобно кодировать по двоичному
закону:
11=x; w12=2x; … w1n=
где
x-число витков, обеспечивающее заданную погрешность
стабилизации напряжения Uн, определяемое из выражения (6).
Из
приведенных здесь схем РО можно сделать следующие свойства обобщения и выводы:
Для
проектируемого стабилизатора наиболее целесообразно использовать РО по схеме,
показанной на рис.3.15, так как для нее характерны следующие свойства:
а)
регулирование переменного напряжения с минимально возможным уровнем нелинейных
искажений напряжения сети;
б)
выделение регулируемой мощности и возможность полного согласования параметров
ключевых элементов с условиями регулирования, что выражается в снижении тока
через ключи;
в)
возможность реализации РО на одном магнитопроводе;
г)
минимальные весогабаритные показатели.
В
литературе [4] приведен подробный анализ РО, выполненного по данной схеме,
указанны незначительные недостатки, в связи с чем произведена модификация РО,
позволяющая сгладить недостатки схемы, показанной на рис.3.15.
Схема
модифицированного РО показана на рис.3.16. Рассмотрим основные положения,
которые легли в основу модификации.
В
приведенной выше таблице 1 указано, что возможности позиционного и двоичного
кодирования при равном числе ключей одинаковы, если число ключей не превышает
четырех. В связи с этим появляется возможность объединения каждой пары двоичных
секций в одну с позиционным кодированием.
Это
можно пояснить схемой, показанной на рис.2.14, где изображена пара двоичных
секций с числом витков
=
и
и одна
двоично-позиционная секция.
Суммарное
число витков для обоих случаев одинаково. Для первого соединения имеем
, аналогично и для второго соединения. Одинаково и
число использованных ключей. Однако, каждый из наборов 0;
;
;
чисел витков подключается к выводам с помощью двух
ключей в двоичном случае и с помощью одного ключа в двоично-позиционном случае.
Рис. 2.14 Модифицированная схема РО, использующая трех стержневый
трансформатор
Таким образом, заменяя каждую пару двоичных секций одной
двоично-позиционной, добиваемся снижения числа последовательно включаемых
ключей вдвое и, соответственно, уменьшения потерь мощности на них.
Понятно, что при этом замена всех двоичных секций эквивалентными
двоично-позиционными, возможна лишь тогда, когда число двоичных секций четное.
При этом каждая двоично-позиционная секция имеет два внутренних отвода,
разбивающих число витков секции на три равные части, с числами витков
w1=3x; w2=12x; …wn=
(7)
Для нечетного числа витков двоичных секций возможны три подхода.
1. Исключение младшей секции и объединение оставшихся в пары. При
этом вдвое увеличивается погрешность стабилизации, что недопустимо.
2. Добавление новой младшей секции и объединение полученных секций в
пары. При этом вдвое уменьшается погрешность стабилизации, но увеличивается на
пару число ключей и, возможно, возникнут трудности с реализацией младшей секции
при целом числе витков.
. Младшую секцию оставляют без изменений, а остальные объединяют в
пары, которые заменяют соответствующими двоично-позиционными секциями. Число
витков в секциях будет определяться при этом следующим выражением:
w1=x; w2=
; w3=
; …wn=
(8)
При
этом можно выделить следующие моменты.
1. По обычной методике определяется требуемое число двоичных секций,
исходя из закона регулирования и заданной погрешности стабилизации.
2. При нечетном числе в пары объединяются все двоичные секции кроме
младшей с последующей заменой их на двоично-позиционные секции.
. При четном числе двоичные секции объединяются в пары и
заменяются двоично-позиционными с числами витков, определяемых выражением (7).
. В тех случаях, когда оправдано изменение точности стабилизации,
младшую двоичную секцию можно либо отбросить, либо добавить.
Как видно, модифицированная схема РО, использующая двоично-позиционное
кодирование является наиболее перспективной при разработке новых
стабилизаторов. Данный обзор способов стабилизации позволил выявить недостатки
одних схем и преимущества других и выбрать наиболее приемлемые способы
стабилизации.
2.2 Разработка функциональной схемы
регулятора-стабилизатора
Функциональную схему регулятора-стабилизатора с однофазной нагрузкой
можно представить в виде одноконтурной САР (системы автоматического
регулирования), показанной на рис.3.2.1, в котором:
З-задатчик
входного сигнала, задающего уровень стабилизируемого напряжения для РС
напряжения или мощности для РС мощности. Задатчик выдает сигнал
,удобный для дальнейшего использования,
пропорциональный управляющему сигналу X, получаемому от внешнего
управляющего устройства.
-сравнивающее
устройство, предназначеное для определения рассогласования:
;
-регулятор.
Реализует выбранный закон регулирования.
Часто
это И-закон, где:
,
если
реализована непрерывная САР, или:
,
если реализована дискретная САР.
РО-
регулирующий орган, реализующий функции РС, используя сигнал
и сигналы от блока управления.
Н-
нагрузка, задающая величину и характер тока на выходе РС.
И-
измеритель, измеряющий величину стабилизируемого параметра. В РС напряжения
измеряемый параметр - среднеквадратичное значение напряжения. В РС мощности -
мощность нагрузки Рн.
Часто
измеритель реализует аппаратурно выражение:
где
Uн(t), in(t) - мгновенные значения напряжения и тока нагрузки.
СУ
- схема управления, предназначенная для выполнения двух функций.
Первая
функция заключается в синхронизации и согласовании работы блоков З, Р, РО и
регулятора- стабилизатора.
Вторая
функция - реализация алгоритмов, улучшающих условия эксплуатации РС в целом. К
ним могут относиться контроль напряжения сети и отключения РС, если оно выходит
за пределы учитываемого диапазона, контроль состояния нагрузки, контроль
работоспособности отдельных блоков и т.п. Значительную часть СУ могут составить
схемы защиты РС и нагрузки. Для трехфазных нагрузок РС должен содержать три
канала регулирования-стабилизации по каждому фазному или линейному напряжению.
При
разработке РС следует стремиться к тому, чтобы каналы работали независимо друг
от друга. Связанность каналов ведет, как правило, к увеличению длительности
процессов стабилизации, т.е. к увеличению времени восстановления заданного
уровня выходного напряжения.
3. Разработка программы расчета регулирующего
органа
Блок схема программы представлена на рис.4.1. Данная программа
предназначена для расчета регулирующего органа регулятора-стабилизатора по
методике, предложенной в работе [4]. Причем в регулирующем органе используется
двоично- позиционное кодирование секций обмоток управления. Опишем работу
программы.
Программа
начинается с ввода параметров РС, таких как:
Потом
происходит расчет оценки габаритных напряжений, токов и мощностей обмоток. К
этому списку относятся: предельно допустимые напряжения сети и нагрузки Ucmin,
Ucmax, Uнmin, Uнmax; напряжение на отводе сетевой обмотки Uo;
напряжение на обмотке Wm, минимальный коэффициент усиления, напряжение на
обмотке Wn, наибольшая погрешность обусловлена шагом квантования
- проводится также проверка, сравнивая эту погрешность с допустимой
погрешностью РС. Дальше рассчитывается число двоичных секций РО. Потом идет
расчет токов, напряжений и габаритных мощностей в обмотках. В блоке 3
происходит расчет и выбор сечения магнитопровода. Расчет числа витков обмотки W1
идет в блоках 4,5,6,7. Причем в блоке 5 происходит анализ младшей секции обмотки
W1; двоичная секция или двоично-позиционная. Анализ
строится на четности или нечетности числа двоичных секций, если n-четное,
то секция двоично-позиционная, если n-нечетное, то секция двоичная. В
остальных блоках идет простой числовой расчет параметров обмоток W0, W1, W2, Wn и Wm, а
также расчет намотки и расчет магнитопровода и характеристик РО: мощности
потерь, к.п.д. и
На
базе данной программы можно создать программу по оптимизации
за счет изменения диаметра проводов обмоток и за счет
изменения коэффициента сечения магнитопровода. На базе данной программы был
проведен многовариантный анализ РО.(см.далее)
Рис.3.1
Блок схема программы расчета регулирующего органа
4. Выбор и обоснование параметров регулирующего
органа
Была разработана конструкция регулятора-стабилизатора сетевого напряжения.
Внешний вид передней панели показан на рис.4.1.
Конструктивно прибор представляет собой отдельный блок, на передней
панели расположены органы управления и контроля. В нижней части прибора
размещен РО и трансформатор блока питания. На задней стенки расположены разъемы
для подключения нагрузки и прибора в сеть. Остальные элементы конструкции
расположены внутри блока на шасси, выполненных в виде отдельных печатных плат с
разъемами для подключения в основную кросс плату, которая разведена в
соответствие с принципиальной схемой. Для улутшения условий охлаждения по бокам
и сверху прибора имеются пирфорации.
Рис.4.1 Регулятор-стабилизатор сетевого напряжения
Расчет электрических параметров РО
Расчет РО выполняется на ЭВМ, программа (см. приложение) выполняет все
необходимые вычисления.
На базе данной программы выбран вариант РО имеющий наименьшую массу,
среди рассмотренных вариантов. Результаты сведены в таблицу 3.
По
результатам (см. таблицу 3) видно, что наиболее приемлемым выбором является
провод диаметром d=5,5 мм, сечением
,
удельным весом G=211 г/м. Наиболее оптимальные параметры Gуд и
К.П.Д. становятся при числе слоев обмотки n=5. При этом Gуд -
самый минимальный (Gуд=2,29 кг/кВА), а К.П.Д. не хуже заданного (
).
Таблица
3
|
Параметры РО
|
n=3
|
n=4
|
n=5
|
n=6
|
n=7
|
|
Удельная масса активных
материалов Gуд, кг/кВА.
|
3.18
|
2.38
|
2.29
|
2.32
|
2.52
|
|
К.П.Д.
|
0.977
|
0.980
|
0.981
|
0.980
|
0.979
|
|
Коэффициент сечения
магнитопровода 4.054.553.053.054.05
|
|
|
|
|
|
|
Диаметр провода d, мм.
|
6
|
6
|
5.5
|
5.5
|
5.5
|
5. Разработка принципиальных схем
регулятора-стабилизатора
.1 Измеритель напряжения (ИН)
Как отмечалось выше, на выходе измерителя нам необходимо получить текущее
значение оценки среднеквадратичного напряжения:
;
Согласно
этому выражению, измеритель должен реализовывать функции возведение в квадрат,
интегрирования и извлечение квадратного корня. Как показывает практика,
значения среднеквадратичного напряжения с достаточной степенью точности можно
получить, использовав функции возведения в квадрат и интегрирования. Согласно
этому измеритель напряжения содержит в своём составе схему возведения в квадрат
выходного напряжения стабилизатора и интегратор.
Схема
измерителя приведена на рис.5.1. Напряжение нагрузки Uн подается на
аналоговый перемножитель сигналов , реализованный на микросхеме К525 ПС2. Затем
сигнал, возведенный в квадрат, подается на вход интегратора, выполненного на
микросхеме КР140 УД8. С выхода интегратора напряжение, поступает на схему
сравнения.
Интегрирующая
емкость С2 разрежается через ключ , выполненный на транзисторе VT1.
Импульс сброса на ключ поступает с выхода формирователя датчика тока.
5.2 Датчик тока (ДТ)
Датчик
тока формирует импульсы , управляющие работой всей схемы управления РО.
Ток
регулирования, протекающий через ключи и обмотки управления РО, создает падения
напряжения на диодах, которое через резистор подается на первичную обмотку
дифференцирующего трансформатора. Снимаемое со вторичной обмотки напряжения
выпрямляется диодным мостом и подается на инвертирующий вход компоратора. На
прямой вход его подается опорное напряжение, устанавливаемое резистором. В
моменты прохождения тока регулирования через нулевой уровень на выходе
компоратора формируются прямоугольные импульсы.
5.3 Схема управления (СУ)
Основными
элементами СУ являются счетчики, ЦАП, сравнивающее устройство, компораторы
сигналов “больше” и “меньше”, а также регистр памяти. Счетчик собран на
микросхемах. На входах устанавливается цифровой код, соответствующий
задаваемому напряжению на выходе РС. С выходов счетчиков этот код поступает на
12-ти разрядный ЦАП, который работает совместно с операционным усилителем.
С
выхода через резистор , это напряжение подается на вход, сюда же через резистор
поступает напряжение от измерителя. На выходе получается разность напряжений
измерителя и напряжения ЦАП, которая подается на входы компораторов. Пороги
срабатывания компораторов устанавливаются резисторами. Если разность напряжений
на выходах компораторов не выходит за пределы порогов срабатывания, на выходах
устанавливается уровень лог.”0”. В противном случае - уровень лог “1”. При
уровне “1” на входы счетчика, выполненного на микросхемах от генератора
тактовых импульсов через схему ограничения, сложения и вычитания на логических
элементах на соответствующие входы (+1 или -1) поступают тактовые импульсы,
которые изменяют состояние счетчиков (микросхемы). Так как счетные входы
счетчиков соединены вместе так, что при увеличении содержимого счетчика
содержимое другого уменьшается и наоборот, пока компораторы (соответствующий из
них) не вернутся в сходное состояние.
Содержимое
счетчиков подается на входы буферного регистра на микросхеме. Он необходим для
устранения наложений моментов включения ключей РО с моментами формирования кода
управления.
5.4 Схема управления ключами РО
С
выхода буферного регистра восьмиразрядный двоичный код поступает на входы
дешифраторов, которые преобразуют двоичный код в позиционный, необходимый для
управления ключами РО. Выходы дешифраторов нагружены на оптотиристорные модули,
которые и выполняют роль ключей. Ключи включаются или выключаются в
соответствии с кодом поступающим с дешифратора. Наличие оптотиристоров в схеме
управления ключами позволяет добиться гальванической развязки между силовыми
цепями и схемой управления, что повышает безопасность пользования прибором.
5.5 Схема блока питания
Все
цепи схемы управления требуют питающих напряжений. Для питания операционных
усилителей и компораторов требуется двуполярный источник постоянного напряжения
В; для питания цифровых микросхем требуется постоянное
напряжение +5В. Обеспечивает это напряжение источник питания. Он состоит из
силового трансформатора Тр, который имеет две понижающие обмотки, одна из них
со средней точкой, выпрямителей на диодных мостах VD28, VD31
и сглаживающих фильтров - конденсаторов С5, С8 и С11.
Полученное
после фильтров постоянное напряжение стабилизируется параметрическими
стабилизаторами, выполненными на микросхемах D1 и D2,
для +5В и +15В, а также выполненного на стабилитроне VD30 и
транзисторе VT3, для -15В. Принципиальная схема источника питания
приведена на рис.5.1.
Рис.5.1
Схема блока питания
6. Анализ динамических свойств процесса
стабилизации
Проектируемый регулятор-стабилизатор (РС) переменного тока является
системой автоматического регулирования, состоящей из цифровых и аналоговых
элементов. Рассмотрим подробнее эти элементы.
Измеритель
напряжения состоит из делителя напряжения с коэффициен-том передачи
, квадратора, реализующего зависимость
и интегратора, интегрирующего в течении полупериода
сетевого напряжения.
Сигнал на выходе измерителя описывается выражением
где
Un(t)- напряжение на нагрузке стабилизатора. Из этого
выражения видно, что выбранная схема измерителя позволяет измерить квадрат действующего
напряжения. Учитывая заданный диапазон его изменения, можно отметить, что
стабилизация квадрата действующего напряжения эквивалентна стабилизации
действующего напряжения.
Измеренное
напряжение поступает на устройство сравнения, ту даже и подается напряжение,
формируемое ЦАП из эталонного кода, записанного в счетчике С1.
В
зависимости от знака рассогласования на входы счетчика С1 и счетчика- сумматора
С2 поступает такое количество импульсов от тактового генератора, которое
позволяет уровнять измеренное напряжение и напряжение снимаемое ЦАП.
После
выравнивания напряжений счетчики не изменяют своего состояния до начала
следующего цикла измерений. При этом содержимое счетчика- сумматора С2
переписывается в регистр памяти, с которого цифровой код уже снимается для
управления состоянием ключей РО.
Схема
настраивается таким образом, что считывание информации с регистра памяти может
произойти в моменты времени как после окончания цикла измерения, так и во время
цикла измерения. Временной сдвиг считывания зависит от сдвига фаз тока и
напряжения нагрузки и определяется характером нагрузки.
Пренебрегая
длительностью переходных процессов в РО, которая мала по сравнению с
длительностью периода сетевого напряжения, напряжение нагрузки можно описать
выражением:
,
где:
Ко- коэффициент, учитывающий нерегулируемую часть напряжения;
Ку-
коэффициент, учитывающий регулируемую часть напряжения.
В
соотношение не учтено влияние падения напряжения на выходном сопротивлении РО,
но это учтено при расчете РО, за счет выбора витков и соответствующего диаметра
провода выходной обмотки.
Теперь
рассмотрим уравнения элементов схемы стабилизатора.
Сравнивающее
устройство:
Преобразователь
рассогласования в число импульсов
N(nT)=
;
Счетчик
сумматор:
Ncr(nT)=
;
Регистр
памяти (РП);
Nрп(nT)=Ncr((n-1)T) ;
Оконечные
усилители:
Ку(nT)=
;
Регулирующий
орган:
н(nT)=[Ko+Ky(nT)]Uc(nT)
Где
Uн(nT)- действующее значение напряжения в течении n-го
периода. Измеритель напряжения:
вых
и (nT)=KиU
(nT);
Согласно
уравнениям, приведенным выше, структурную схему стабилизатора как системы
автоматического регулирования можно изобразить, как показано на рис.6.1.
Рис.6.1 Структурная схема стабилизатора как системы автоматического
регулирования
Определим передаточные функции элементов схемы.
Преобразователь
рассогласования в число импульсов: W
=К1.
Счетчик-
сумматор С2: W2=
;
Регистр
памяти: W3=Z
;
Оконечные
усилители с ключевыми элементами: W4=Kв
;
Регулирующий
орган является параметрическим элементом, коэффициент передачи которого зависит
от изменения динамических свойств системы, будем считать, что:
Uc(t)=Uco+
Uc(t)
где
Uco=Ucном=220B/
Тогда
действующее значение напряжения в нагрузке будет равно:
н(nT)=(Ko+Ky(nT))(Uco+
Uc(nT));
Для
линеаризации зависимости пренебрегаем членами выражения, содержащими
Uc, тогда
отклонение напряжения нагрузки
Uн(nT)=
описывается следующим выражением:
Передаточную
функцию РО в этом случае можно представить в виде:
(Z)=Ко
Для
дискретных элементов времени, соответствующих концу циклов измерений, уравнение
измерителя напряжения будет иметь вид:
Uвых и (nT)=Kи(Uно+
Uн(nT))
;
Для
линеаризации зависимости пренебрегаем членами выражения, содержащими
, отсюда будем иметь:
вых
и (nT)=
;
Возьмем
опорный сигнал Uo=
, тогда будем иметь:
где:
Следовательно,
для моментов измерения, структурная схема системы приводится к виду,
изображенному на рис.6.2.
Рис.6.2 Структурная схема системы для моментов измерения
Передаточная функция замкнутого контура стабилизатора будет иметь вид:
Ф
(Z)=
;
Система
будет устойчивой, если полюса ПФ определяемые из уравнения
будут лежать внутри окружности единичного радиуса,
т.е. чтобы выполнялось условие
<2.
При
=1 переходный процесс заканчивается через tn=T,
где Т-период сети.
При
<1 временная характеристика имеет апериодический
характер.
Практически
при
<1 переходной процесс считается закончившимся через
промежуток времени равный tn=3T. При
=1
передаточная функция замкнутой системы будет иметь вид:
Передаточная
функция по возмущению имеет вид:
Ф
.
Обозначим
1-
=d, тогда:
Ф
.
Для
определения переходной характеристики по возмущению ее Z- изображение Ф
разложим в ряд по степеням “Z
”. В результате получим
Ф
=
;
где
при d=0 передаточная функция будет равна 1.
При
любом d
[0,1] получаем, что
где
y
(nT)=Z
{Ф
(Z)
}
где
Z
-символ
обратного Z- преобразования.
Вид
переходной характеристики системы показан на рис.6.3.
Рис.6.3
Переходная характеристика системы
Проверенный
анализ динамических свойств регулятора- стабилизатора, как системы
автоматического регулирования показывает, что наибольшим быстродействием
стабилизатор будет обладать при
=1.
Длительность переходного процесса в этом случае равна периоду Т сетевого
напряжения. При
<1 длительность переходного процесса увеличивается.
На
основании этого можно сделать вывод, что при настройке регулятора-стабилизатора
следует добиваться
=1, для получения наилучшего быстродействия системы.
7. Расчет надежности
В схеме регулятора-стабилизатора соединение элементов последовательное,
так как нет резервирования, используемое для повышения надежности.
Считаем, что отказы элементов случайные, внезапные и независимые друг от
друга события. Считаем, что для элементов справедлив экспоненциальный закон
надежности.
Для расчета составим таблицу 7, данные для таблицы взяты из [18].
Как видно из таблицы интенсивности отказов:
1/час,
1/час,
1/час,
Таким
образом Тср будет равно:
Tcpmin=1/
=0,41
час.
Tcpср=1/
=0,22
час.
Tcpmax=1/
=0,1
час.
График
зависимости вероятности безотказной работы представлен на рис.7.1.
Рис.7.1 График зависимости вероятности безотказной работы
Таблица 7
|
№п/п
|
Наименование и тип
элементов
|
x10 часNi x10 час x10 час x10 час x10 час x10 час
|
|
|
|
|
|
|
|
1.
|
Микросхема
|
0,5
|
23
|
11,5
|
18,4
|
0,8
|
1,5
|
34,5
|
|
2.
|
Оптотиристоры
|
0,2
|
16
|
3,2
|
9,6
|
0,6
|
1,4
|
22,4
|
|
3.
|
Резисторы
|
0,11
|
39
|
4,29
|
9,75
|
0,25
|
0,57
|
22,23
|
|
4.
|
Потенциометры
|
0,1
|
14
|
1,4
|
3,5
|
0,25
|
0,75
|
10,5
|
|
5.
|
Конденсаторы
|
0,016
|
10
|
0,16
|
0,25
|
0,025
|
0,034
|
0,34
|
|
6.
|
Диоды
|
0,15
|
16
|
2,4
|
3,2
|
0,20
|
0,25
|
4
|
|
7.
|
Трансформатор силовой
импульсный
|
0,065
|
1
|
0,065
|
0,15
|
0,15
|
0,235
|
0,235
|
|
8.
|
Трансформатор
|
0,07
|
1
|
0,07
|
0,2
|
0,2
|
0,62
|
0,62
|
|
9.
|
Провод соединительный
|
0,01
|
30
|
0,3
|
0,45
|
0,015
|
0,025
|
0,75
|
|
10.
|
Соединение паянное
|
0,002
|
250
|
0,5
|
1
|
0,004
|
0,007
|
1,75
|
,
,
|
.
|
8. Экономическая часть
Данный раздел дипломного проекта посвящен разработке плана выполнения
научно- исследовательской работы (НИР) и расчету цены НИР.
8.1 План выполнения НИР
Для разработки плана выполнения
научно-исследовательской работы (НИР) прежде всего составляется перечень всех
основных этапов и видов работ, которые должны быть выполнены. При этом особое
внимание должно быть уделено определению общей продолжительности их проведения
с наименьшими затратами.
Разработка планов подготовки производства
осуществляется с использованием различных моделей, основными из которых
являются ленточные и сетевые графики.
Ленточный график процесса подготовки производства -
это его графическая модель с указанием перечня и организационно-экономических
характеристик всех работ, сроков и последовательности их исполнения, отражаемых
совокупностью упорядоченных во времени горизонтальных линий.
Построение ленточных графиков требует расчетов
трудоемкости и продолжительности каждой работы и количества исполнителей.
Достоинствами ленточного графика являются простота, наглядность,
возможность отображения содержания и многих организационно-экономических
характеристик работ.
Временной цикл разработки продукта можно разделить на несколько этапов.
Это требуется для оценки трудоемкости работ, более точного определения
себестоимости проекта. Разделение на этапы также полезно с организационной
стороны, т. к. оно позволяет рационально использовать имеющиеся трудовые
ресурсы.
План выполнения данной работы представлен в таблице 8.1.
Ленточный график позволяет осуществить наиболее
эффективную организацию работы по выполнению намеченных планом, контроль за
ходом НИР и получаемыми результатами. Применение графика дает возможность
маневрирования в ходе исследовательских работ кадрами и материальными
ресурсами. Целью составления графика является планирование проведения НИР в
кратчайшие сроки и с минимальными затратами. Ленточный график позволяет
наглядно представить последовательность и взаимосвязи различных стадий
разработки, а также может оказать помощь в планировании сроков проведения
научных исследований в целом.
Таблица 8.1
|
№ этапа
|
Наименование этапов работ
|
Исполнители
|
Дни
|
|
1
|
Составление и утверждение
задания
|
С.Н.С
|
3
|
|
2
|
Обзор литературы
|
Инженер
|
24
|
|
3
|
Разработка функциональной
схемы регулятора-стабилизатора
|
Инженер
|
15
|
|
4
|
Разработка принципиальной
схемы регулятора-стабилизатора
|
Инженер и С.Н.С
|
25
|
|
5
|
Разработка программно-алгоритмического
обеспечения расчета регулирующего органа
|
Инженер и С.Н.С.
|
20 3
|
|
6
|
Анализ динамических свойств
процесса стабилизации
|
Инженер
|
5
|
|
7
|
Выбор
конструктивно-технологических и электрических параметров регулирующего органа
|
Инженер и С.Н.С
|
4
|
|
8
|
Расчет надежности
регулятора-стабилизатора
|
Инженер
|
5
|
|
9
|
Оформление отчета
|
Инженер
|
5
|
|
10
|
Сдача работы
|
Инженер и С.Н.С
|
4
|
Итого 110 дней
На рис. 8.1 показан ленточный график разработки
регулятора-стабилизатора и программно- алгоритмического обеспечения расчета
регулирующего органа.
Рис.8.1 Ленточный график разработки регулятора-стабилизатора.
При построении ленточного графика продолжительность
каждой работы Тп будет определяться по формуле:
,
Где Ti - трудоемкость работ, человеко-дни;
ni -
численность исполнителей, человек.
8.3 Смета затрат на проведение НИР
Себестоимость продукции (работ, услуг) представляет
собой стоимостную оценку используемых в процессе производства продукции (работ,
услуг) природных ресурсов, сырья, материалов, топлива, энергии, основных
фондов, трудовых ресурсов, а также других затрат на ее производство и
реализацию.
Затраты, образующие себестоимость продукции (работ,
услуг), группируются в соответствии с их экономическим содержанием по следующим
элементам:
·
затраты на оплату
труда;
·
социальные
взносы;
·
амортизация
основных фондов;
·
прочие затраты.
Затраты на оплату труда начисляются исходя из ставки разработчика и
времени затрачиваемого на выполнение работы.
Где Т - тарифная ставка;
Д - количество дней работы.
Оклад Зокл для старшего научного сотрудника (С.Н.С)
составляет 10000 рублей, для инженера - 5000 рублей.
Заработная плата С.Н.С и инженера:
ЗПрук = 10000 / 22 39 = 17727,3 руб.,
ЗПисп = 5000 / 22 107 = 24318,2 руб.
Фонд оплаты труда составит:
Фзп = 17727,3 + 24318,2 = 42045,5 руб.
Отчисления на социальные нужды (ОСН) составляют 30,2 % от затрат на
оплату труда:
ОСН = 42045,5 0,302 = 12697,6 руб.
В нашем случае рассчитывается сумма затрат на амортизацию оборудования за
время его использования по теме научно-исследовательской работы. Эта сумма
учитывается в сметной стоимости научно-исследовательской и опытно-конструкторской
работы и рассчитывается по следующей формуле:
Анир = Фп Tи A / Фэф
где: Фп - первоначальная балансовая стоимость
оборудования;
Ти - время использования оборудования при проведении работ;
А - норма амортизации;
Фэф - годовой эффективный фонд времени работы оборудования, для
односменной работы он составляет Фэф = 260 дней.
Амортизационные отчисления для устройства стоимостью в
30000 рублей составят:
Анир =30000 192 0,3 / 260 = 6646,15 руб.
Общие прямые затраты составят следующую сумму:
Зпрям = Фзп + Анир + СВ+ СНС = 42045,5 + 6646,15 +
12697,6 = 61389,25 руб.
Прочие расходы берутся от величины прямых общих затрат
в установленном размере. Для разработки устройства они составят (15%):
Зн = 61389,25 0,15 = 9208,39 руб.
Общие затраты на разработку составят:
= 3прям + 3н = 61389,25 + 9208,39 = 70597,64 руб.
Необходимые расходы сведены в таблицу 8.2.
Таблица 8.2
|
Наименование
калькуляционных статей расходов
|
Сумма, руб.
|
Удельный вес, %
|
|
Затраты на заработную
плату, Фзп
|
42045,5
|
59,55
|
|
Отчисления на социальные
нужды , СВ+СНС
|
12697,6
|
18,00
|
|
Амортизация оборудования,
Анир
|
6646,15
|
9,41
|
|
Прочие расходы, Зн
|
9208,39
|
13,04
|
|
Общие затраты, З
|
70597,64
|
100
|
Планируемая прибыль 10% от общих затрат, т.е. 7060 руб.
Цена НИР=Прибыль+Затраты.
Цена НИР= 7060 + 70597,64=78000 руб.
Вывод по эффективности проекта
Спроектированный регулятор-стабилизатор предназначен как для стабилизации
так и для регулирования напряжения трехфазной сети.
В
режиме стабилизации регулятор-стабилизатор обеспечивает для питаемой аппаратуры
диапазон напряжения 220
0,5 В, при параметрах питающей сети 187-242 В, частота
сети 50
1 Гц, тем самым, сберегая аппаратуру от выхода из
строя, так как некачественное электропитание может стать причиной остановки
технологического процесса, поломки оборудования на производстве, или выхода из
строя аппаратуры и техники в доме.
В
режиме регулирования регулятор-стабилизатор способен при тех же параметрах
питающей сети обеспечивать напряжение выдаваемое в нагрузку, в пределах от 187В
до 242В, что дает возможность использования регулятора-стабилизатора в
испытаниях новой аппаратуры на сопротивляемость изменения напряжения в сети.
Явными достоинствами источника вторичного электропитания
по сравнению с выпускаемыми аналогами являются:
ü применение стандартного
магнитопровода РО, используемого в трёхфазных силовых трансформаторах;
ü применение двоично-позиционного
кодирования регулирующих обмоток;
ü автотрансформаторное включение обмотки
регулирования.
ü высокие показатели устойчивой работы
при низких и высоких температурах.
ü сравнительно низкая стоимость проекта
Использование
данного трансформаторно-тиристорного регулятора-стабилизатора с цифровым
управлением, который является экономичным и малогабаритным, позволяет заказчику
улучшить энергоснабжение отдельного потребителя или локальной группы
потребителей при отклонениях питающей сети
до
уровня
.
9. Безопасность и экологичность проекта
В сложных условиях производственных отношений встает задача повышения
эффективности производства. Это возможно только в том случае, если труд
человека будет протекать в благоприятных условиях способствующих развитию всех
его способностей и обеспечивающих высокую производительность труда, кроме того,
в процессе труда человек не должен заболеть или получить травму. Руководству
каждого предприятия необходимо проявлять неустанную заботу о здоровье
трудящихся и обеспечивать безопасные и высокопроизводительные условия труда.
В дальнейшем необходимо последовательно проводить линию на значительное
уменьшение ручного труда, существенное сокращение, а в перспективе ликвидацию
монотонного, тяжелого физического и малоквалифицированного труда, обеспечение
здоровых санитарно-гигиенических условий и внедрение современной техники
безопасности, устраняющих производственный травматизм и профессиональные
заболевания.
Среди глобальных проблем видное место занимает охрана окружающей среды.
Развитие материального производства и других сфер хозяйственной деятельности
сопутствует все более интенсивное внедрение новейших научно-технических
достижений. Но одновременно быстрыми темпами увеличивается и загрязнение
окружающей среды - воды, почвы, воздуха. Это пагубно воздействует на здоровье
людей, на состояние животного и растительного мира.
Разрабатываемый трехфазный регулятор-стабилизатор переменного напряжения
имеет широкий спектр применений. В том числе и в промышленности относящейся к
взрывоопасным и пожароопасным производствам.
Рассмотрим опасные, вредные и производственные факторы: ГОСТ 12.0.003-74.
9.1 Выбор и обоснование рабочего места
В дипломном проекте исследуется модель регулятора-стабилизатора в
помещении лаборатории персональных ЭВМ № 430 на кафедре АИТУ, имеющем следующие
характеристики:
площадь помещения 10х6 метров;
белый потолок (высота 4м) и стены светло-голубого цвета;
в помещении находится 5 рабочих мест с ПЭВМ, 2 окна и 1 дверь;
5 мониторов с диагональю 17 дюймов на основе ЭЛТ;
12 светильников.
В данном помещении источником опасности является: повышенные уровни
переменного электромагнитного и электростатического полей (их источниками
является дисплей, процессор, клавиатура, вокруг компьютера образуется электромагнитное
поле с диапазоном частот от 5 до 400 кГц.).
Помещения для эксплуатации ПЭВМ должны иметь
искусственное и естественное освещение, которое должно соответствовать
требованиям действующей нормативной документации. Прямой солнечный свет не
должен попадать на экран. По отношению к сидящему за столом окно, по
возможности, должно быть слева или спереди.
9.2 Анализ опасных и вредных производственных
факторов
В настоящее время общепринятой является классификация
опасных и вредных факторов, которые согласно ГОСТ 12.0.003-74* ССБТ по
характерным видам воздействий, оказываемых на организм человека, подразделяют
на физические, химические, биологические и психофизиологические.
При работе с ПЭВМ на пользователя в той или иной
степени могут воздействовать следующие физические факторы: повышенные уровни
переменного электромагнитного и электростатического полей (их источниками
является дисплей, процессор, клавиатура, вокруг компьютера образуется
электромагнитное поле с диапазоном частот от 5 до 400 кГц.); повышенное
содержание положительных аэроионов; повышенный или пониженный уровень
освещённости рабочей зоны; мерцание экрана, воспринимаемое пользователем как
сверхнизкочастотное; повышенный уровень шума; повышенные или пониженные
температура, влажность и подвижность воздуха рабочей зоны; повышенное значение
напряжения в электрической цепи, замыкание которой может произойти через тело
человека; пожарная опасность.
Наличие химических опасных и вредных факторов в
помещениях с ПЭВМ в основном обусловлено широким применением полимерных и
синтетических материалов для отделки интерьера, при изготовлении мебели,
ковровых изделий, радиоэлектронных устройств и их компонентов, изолирующих
систем электропитания. Технология производства ПЭВМ предусматривает применение
покрытий на основе лаков, красок, пластиков. При работе ПЭВМ нагреваются, что
способствует увеличению концентрации в воздухе таких вредных веществ как
формальдегид, фенол, аммиак, двуокись углерода, озон и др.
К группе биологических факторов, которые могут привести
к заболеванию или ухудшению состояния здоровья пользователя, относится
повышенное содержание в воздухе патогенных микроорганизмов, особенно в
помещении с большим количеством работающих при недостаточной вентиляции, в
период эпидемий.
Психофизиологические факторы, воздействующие на пользователя, приводят к
его физическим и нервно-психическим перегрузкам.
Характерной при работе с ПЭВМ является такая физическая перегрузка, как
длительное статическое напряжение мышц. Оно обусловлено вынужденным
продолжительным сидением в одной и той же позе, часто неудобной, необходимостью
постоянного наблюдения за экраном (напрягаются мышцы шеи, ухудшается мозговое
кровообращение), набором большого количества знаков за рабочую смену
(статическое перенапряжение мышц плечевого пояса и рук). При этом возникает
также локальная динамическая перегрузка пальцев и кистей рук. Статическим
перенапряжениям мышц способствуют неудовлетворительные эргономические параметры
рабочего места и его компонентов (отсутствие подлокотников, пюпитра, подставки
для ног), отсутствие возможности регулировки параметров рабочего стула, высоты
рабочей поверхности стола, неудобное расположение клавиатуры и дисплея,
отсутствие регламентированных перерывов, невыполнение специальных упражнений
для снятия напряжения и расслабления мышечных групп плечевого пояса, рук, шеи,
спины, улучшения кровообращения.
Нервно-психические перегрузки являются следствием информационного
взаимодействия в системе «пользователь - ПЭВМ». К основным нервно-психическим
перегрузкам относятся повышенные зрительные напряжения; умственные и
нервно-эмоциональные перегрузки; длительная концентрация внимания; монотонность
труда (однообразие трудового процесса, повторяемость операций, отсутствие
возможности переключения внимания или изменения вида работы).
К факторам, приводящим к нервно-психическим перегрузкам, можно отнести
повышенные пульсации световых потоков источников искусственного освещения и
экрана дисплея. [2]
Рассмотрим наиболее опасные из факторов.
9.2.1 Опасность поражения электрическим током
Данный фактор особо опасен, так как электрический ток невидим, без цвета
и запаха. Воздействие электрического тока на человека может привести к местным
электротравмам (ожоги) или к электрическому удару. Тяжесть поражения
электрическим током зависит от значения силы тока, электрического сопротивления
тела человека, длительности протекания через него тока, рода и частоты тока и
других факторов. В таблице 3 приведены предельно допустимые значения напряжений
прикосновения и токов в аварийном режиме работы электрической сети (ГОСТ
12.1.038 - 82*)[19].
Таблица 3.
|
Продолжительность действия
электрического тока, с.
|
Производственные
электроустановки
|
|
Uпд, В
|
Iпд , мА
|
|
0.01 - 0.08
|
550
|
650
|
|
0.2
|
160
|
190
|
|
0.4
|
120
|
140
|
|
0.6
|
95
|
105
|
|
0.8
|
75
|
75
|
|
1.0
|
60
|
50
|
|
Свыше 1.0
|
20
|
6
|
В лаборатории применяется электрооборудование. Поражение человека
электрическим током может произойти в следующих случаях:
при однофазном (однополюсном) прикосновении, не изолированного от земли
человека к неизолированным токоведущим частям электроустановок, находящихся под
напряжением;
при одновременном прикосновении человека к двум неизолированным полюсам;
при прикосновении человека, не изолированного от земли, к токоведущим
частям, оказавшимся под напряжением, из-за замыкания на корпус;
при освобождении другого человека оказавшегося под напряжением.
Поражение человека при случайном прикосновении к токоведущим частям
электроцепи зависит от схемы прикосновения человека, напряжения сети, режима
нейтрали сети, качества изоляции токоведущих частей от земли.
Предельно допустимые уровни напряжений прикосновения и токов установлены
для путей тока от одной руки к другой и от руки к ногам. Напряжение
прикосновения и токи, протекающие через тело человека при нормальном режиме
работы электроустановки не должны превышать значений.
Переменный 50Гц U=2B I=0.3мА
Переменный 400Гц U=3B I=0.4мА
Постоянный U=8B I=1мА
Для обеспечения электробезопасности должны применяться отдельно или в
сочетании друг с другом следующие технические способы и средства: защитное
заземление, выравнивание потенциалов, малое напряжение, защитное отключение,
изоляция токоведущих частей, компенсация токов замыкания на землю,
оградительные устройства, предупредительная сигнализация.
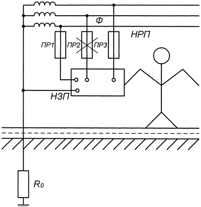
Так как стабилизатор переменного напряжения замыкается от трехфазной сети
с глухозаземленной нейтралью, то в соответствии с ГОСТ 12.1.03.0-82 для защиты
от получения поражения электрическим током используется зануление.
Прикосновение, возможное в такой сети показано на рисунке 1.
Рис.1
Поскольку сопротивление заземления нейтрали R0 невелико (R0 4 Ом), его
можно не учитывать. Тогда ток Ih, протекающий через тело человека (при
сопротивлении тела человека 1000 Ом) будет равен 220 mА. Такой ток при
продолжительности воздействия более 0.3 с. является смертельно опасным (ГОСТ
12.1.038 - 81 *) [12]. Согласно ГОСТ 12.1.030 - 81 * основными техническими
способами и средствами защиты от поражения электрическим током я вляются:
защитное заземление, зануление, выравнивание потенциалов, малое напряжение,
электрическое разделение цепей, защитное отключение, изоляция токоведущих
частей, изолирующие защитные и предохранительные приспособления. Наиболее
распространенным техническим средством защиты является зануление. В
соответствии с правилами эксплуатации электроустановок (ПУЭ) [13] занулением
называется преднамеренное электрическое с оединение с нулевым защитным проводом
металлических нетоковедущих частей, которые могут оказаться под напряжением.
Защита человека от поражения электрическим током в схемах с занулением
осуществляется тем, что при замыкании фазы на корпус и, следовательно, на
зануленный проводник в цепи фазы возникает ток короткого замыкания, который
воздействует на токовую защиту (плавкий предохранитель ПР2), в результате чего
происходит отключение аварийного участка цепи (Рис. 2).
Рис.2
Кроме того, при занулении в течение интервала времени, начиная с момента
возникновения замыкания до момента полного разрыва цепи замыкания (с помощью
ПР2), ток короткого замыкания вызывает перераспределение падений напряжения на
элементах электрической цепи, обеспечивающее определённое снижение напряжения
прикосновения. Напряжение прикосновения представляет собой разность потенциалов
корпуса электроустановки и земли или потенциала эквивалента земли. Таким
образом, зануление уменьшает напряжение прикосновения и ограничивает время, в
течение которого человек может находиться под воздействием тока.
Расчёт зануления.
Зануление представляет собой способ защиты от поражения электрическим
током исключительно в сетях с заземлённой нейтралью напряжением не выше 1 кВ.
Это связано с тем, что в сетях с заземлённой нейтралью напряжением менее 1 кВ
защитное заземление не эффективно и не обеспечивает требуемого уровня защиты [19].
Нулевой защитный проводник не должен нагреваться при прохождении через
него тока короткого замыкания. Он должен обладать малым активным и индуктивным
сопротивлением. Для нулевого защитного проводника (НЗП), нулевого рабочего
проводника (НРП) и фазного проводника (Ф) выбираем медный провод [19].
Рис. 3. Упрощённая эквивалентная схема для расчёта тока короткого
замыкания на корпус электроустановки
Поскольку
система стационарная, длину провода берем равной
.
Сопротивление
провода:
так
как длины нулевого и фазного проводов равны, то и равны их сопротивления.
Где
- удельное сопротивление алюминия.
- модуль
сопротивления петли фаза - нуль.
- ток
короткого замыкания на корпус.
Время
воздействия такого напряжения на человека допустимо не более 0.5 с (согласно
ГОСТ 12.1.038-82) [20].
Чтобы
обеспечить быстрое отключение аварийного участка, ток короткого замыкания
должен быть не менее чем в три раза больше, чем номинальный ток предохранителя,
что в нашем случае выполняется:
В
данном устройстве используется предохранитель типа ВП1-1 [9] с номинальным
током 0.5А (ОЮ 0.480.003 ТУ), имеющий время отключения при коэффициенте
кратности тока
не более 0.014 секунды. Таким образом, время
воздействия напряжения на человека получаем меньше допустимого равного 0.5 с.
9.2.2 Освещенность на рабочем месте
Недостаточное
освещение на рабочем месте затрудняет работу, ухудшает зрение, вызывает быструю
утомляемость работающего, что может привести к травме. Для обеспечения
оптимальных условий зрительной работы производится нормирование освещённости
рабочих мест. Восприятие наблюдаемого объекта определяется угловым размером объектом
различения с фоном, яркостью фона. Для заданного зрительного восприятия
объектов с различными размерами различения яркость должна быть тем больше, чем
меньше их угловые размеры и контрасты с фоном.
Из-за
трудностей, возникающих при расчете и измерении яркости, на практике
нормирование осуществляется не по яркости, а по освещенности при одновременной
регламентации коэффициента отражения фона.
В
настоящее время искусственное освещение нормируется согласно Строительным
Нормам и Правилам (СНиП 23 - 05 - 95) [9] в зависимости от характеристик
зрительной работы: наименьшего размера объекта различения при условии, что
расстояние между объектом и органами зрения не превышает 0.5 м. Для зрительной
работы высокой точности наименьший размер объекта различения от 0.3 до 0.5 см,
чему соответствует III разряд зрительной работы (см. табл. 1. III разряд -
высокая точность). III-му разряду соответствует IIIб подразряд зрительных
работ.
|
Разряд зрительной работы
|
Контраст объекта с фоном
|
Характеристики
|
Искусственное освещение
|
|
|
|
Освещенность,лк
|
Сочетание нормированных
величин P,% и Kn,%
|
|
|
|
Общее
|
P,%
|
Kn,%
|
|
IIIб
|
Малый Средний
|
Средний Темный
|
300 200
|
40 20
|
15 15
|
Освещенность ЕНОРМ = 300 лк обеспечивается с помощью люминесцентных ламп.
9.2.3 Шум
В лаборатории, описанной в данном проекте, используется 5 компьютеров.
Уровень шума исправного современного компьютера находится в пределах от 35 до
50 дБА.
Повышенный уровень шума отвлекает внимание работающего, вызывает быстрое
утомление. Допустимые значения параметров шума регламентируются (СН
2.412.1.8.562-96 "Шум на рабочих местах, в помещениях жилых, общественных
зданий и на территории жилой застройки") [10]. Допустимые значения
параметров шума устанавливаются в зависимости от видов трудовой деятельности и рабочих
мест с учётом характера шума ГОСТ 12.1.001-75.
Определяем в соответствии с типом производства значение уровня звука для
нашей работы в лаборатории = 50 дБ = LАЭ норм.
Путем измерения с помощью шумометра Center 322 уровня звука получаем LАЭ р.м. = 47,5 дБА.АЭ р.м.
< LАЭ норм
Так как LАЭ р.м. < LАЭ норм никаких дополнительных мер обеспечения
безопасности не требуется.
9.3 Параметры микроклимата
В помещении, где находятся рабочие, необходимо поддерживать микроклимат:
благоприятную температуру, влажность, подвижность воздуха. Эти параметры
отдельно и в комплексе влияют на человека, определяя его самочувствие,
функциональное состояние, работоспособность и здоровье.
Температура воздуха в помещении - данный фактор воздействует на людей и
приборы. При повышенной температуре воздуха усиливается утомляемость, падает
внимание, человек быстро устаёт, при пониженной температуре требуется
дополнительная одежда, возникает возможность профессиональных заболеваний. При
использовании приборов и аппаратов в нашем случае это может привести к неточным
измерениям или даже выходу их из строя.
Основные нормы на параметры температуры в рабочем помещении для данного
вида работ в соответствии с ГОСТ 12.1.005-88 "Общие
санитарно-гигиенические требования к воздуху рабочей зоны" и СанПиН 2.2.4.548
- 96 [14]. При лёгкой работе и энергозатратах до 139 Вт действует категория 1а,
для которой оптимальные условия: температура в холодный период 22-24°С и в
тёплый период 23-25°С, а допустимые нормы температуры соответственно 20-25°С и
21-28°С.
Влажность воздуха должна быть в пределах 40-60%. Скорость движения
воздуха в холодный и теплый периоды года - 0,1м/с.
Оптимальные микроклиматические условия установлены по критериям
оптимального теплового и функционального состояния человека. Они обеспечивают
общее и локальное ощущение теплового комфорта в течение 8-часовой рабочей смены
при минимальном напряжении механизмов терморегуляции, не вызывают отклонений в
состоянии здоровья, создают предпосылки для высокого уровня работоспособности и
являются предпочтительными на рабочих местах.
Допустимые микроклиматические условия установлены по критериям
допустимого теплового и функционального состояния человека на период 8-часовой
рабочей смены.
Они не вызывают повреждений или нарушений состояния здоровья, но могут приводить
к возникновению общих и локальных ощущений теплового дискомфорта, напряжению
механизмов терморегуляции, ухудшению самочувствия и понижению
работоспособности.
Допустимые величины показателей микроклимата устанавливаются в случаях,
когда по технологическим требованиям, техническим и экономически обоснованным
причинам не могут быть обеспечены оптимальные величины.
Для поддержания оптимальных параметров микроклимата в
лаборатории, необходимо использовать систему отопления в холодное время года, и
систему кондиционирования в летнее время года.
Систему кондиционирования в целях экономии
электроэнергии допускается отключать после окончания работ (на ночь), и
включать за некоторое время до начала работ (если работы ведутся в одну или две
смены).
9.4 Оценка пожароопасности объекта
В рабочем помещении, в котором проводятся исследования
регулятора-стабилизатора, находятся пожароопасные объекты, такие как столы,
стулья, компьютеры. Как известно в современных радиоэлектронных устройствах, в
том числе и в ПЭВМ, очень высокая плотность размещения элементов электронных
схем и они располагаются в непосредственной близости друг от друга. При
протекании по ним электрического тока выделяется значительное количество
теплоты, что может привести к повышению температуры отдельных узлов до 80-100ºС. Всё это может вызвать оплавление
изоляции соединительных проводов, их оголение и, как следствие, короткое
замыкание, которое сопровождается искрением, ведёт к недопустимым температурным
перегрузкам элементов схем, их сгоранию с выделением дыма. Напряжение к ПЭВМ
подаётся по силовым электрическим сетям, которые представляют особую пожарную
опасность. Наличие горючего изоляционного материала, вероятных источников
зажигания в виде электрических искр и дуг, разветвлённость и труднодоступность
делают их местом наиболее вероятного возникновения и развития пожара.
9.4.1 Мероприятия по предотвращению пожара на
объекте
Меры по снижению пожарной опасности заключаются в
своевременном проведении пожарной профилактики - суммы мероприятий, направленных
на предупреждение пожара, предотвращение распространения огня в случае
возникновения пожара и создания условий, способствующих его быстрой ликвидации.
Согласно ГОСТ 12.1.004-91, чтобы исключить тяжелые
последствия пожара, помещение должно иметь не менее двух эвакуационных выходов,
причем через помещение не должны проходить пути эвакуации других отделов
одновременно. Материалы, применяемые для ограждения конструкции и отделки
помещений, должны быть огнестойкими.
Системы вентиляции и кондиционирования воздуха должны
изготавливаться из материалов, исключающих образование искр, и иметь надёжное
заземление. Правильно рассчитанная и выполненная вентиляционная установка
снижает опасность возникновения пожаров, так как исключает возможность
образования пыле-, газо-воздушных концентраций, опасных в пожарном отношении.
В целях защиты аппаратуры от выхода из строя и
противопожарной безопасности используют плавкие предохранители,
быстродействующие системы защиты и др.
Помещение должно быть оборудовано пожарной
сигнализацией. В качестве датчика могут использоваться автоматические пожарные
извещатели.
Необходимо предусмотреть наличие средств тушения
пожаров первой необходимости. В соответствии с ГОСТ 12.1.004-91 и ППБ-03,
пожарная безопасность в помещениях с ПЭВМ достигается системами предотвращения
пожара, пожарной защиты, которые должны обеспечить:
1. предотвращение образования горючей
среды;
2. предотвращение образования в горючей
среде или внесение в неё источников зажигания;
3. предотвращение распространения пожара за пределы
очага, т.е. устройство противопожарных преград, пожарная сигнализация и т.п.;
4. предотвращение гибели людей при пожаре.
К первичным средствам пожаротушения в помещениях с
ПЭВМ относятся различные углекислотные, аэрозольные, порошковые огнетушители,
предназначенные для тушения загорания и пожаров в начальной стадии их развития.
Требования к пожарной безопасности устанавливаются ГОСТ 12.1.004-91 «Общие
требования».
Исходя
из норм пожарной безопасности для лаборатории площадью до
м2 (в нашем случае
м2)
требуется один огнетушитель типа ОУ - 5, с помощью которого можно тушить
возгорания различных материалов и электроустановок напряжением до 1000В (вместо
углекислотного огнетушителя допускается использование порошкового огнетушителя,
например ОП -10).
Необходимо установить определённый противопожарный
режим -совокупность определённых мер и требований пожарной безопасности,
подлежащих обязательному выполнению. Он включает в себя: содержание помещения и
рабочего места в чистоте и порядке, выполнение технологических операций,
порядок осмотра и закрытия помещениях после окончания работы, содержание путей
и порядок эвакуации людей и т.д.
Весь этот комплекс организованных и технологических
мероприятий должен обеспечивать вероятность возникновения пожара не более
0,000001 в год в расчете на отдельную установку или узел ПЭВМ.
В связи с тем, что помещения с ПЭВМ существенно
отличаются друг от друга, как по структуре, так и по пожарной опасности,
мероприятия для предотвращения пожаров для каждой из них должны быть строго
индивидуальны и учитывать особенности устройства данной установки.
9.4.2 Система пожарной защиты при эксплуатации
объекта
При эксплуатации объекта при возникновении пожара
очень важно обеспечить своевременное его устранение. Поэтому в помещении
необходимо установить автоматические средства пожаротушения и различные
средства пожарной сигнализации.
В последнее время находят широкое применение
автоматические установки порошкового пожаротушения. Указанные установки автоматически
срабатывают при превышении контролируемым фактором пожара установленных
пороговых значений в защищаемой зоне и подают огнетушащий порошок в зону
горения. Так же большое значение имеет своевременное сообщение о пожаре и месте
его возникновения.
Для этого используются городская и местная телефонная
связь, электрическая пожарная сигнализация (ЭПС) и звуковые системы (сирена,
гудок). Данная электрическая пожарная сигнализация используется в рабочем
помещении. Различные системы ЭПС предназначены для обнаружения самой начальной
стадии пожара и сообщения о месте его возникновения. Основными элементами ЭПС
являются пожарные извещатели, устанавливаемые на объектах, приёмные станции,
регистрирующие начавшийся пожар, линии связи, источники питания, звуковые или
световые сигнальные устройства. Большое внимание так же следует уделить
системам оповещения и управления (СОУЭ) людей при пожарах в зданиях и
сооружениях. СОУЭ - это комплекс организационных мероприятий и технических
средств, предназначенный для своевременного сообщения людям информации о
возникновении пожара и необходимости и путях эвакуации. Оповещение и управление
эвакуацией людей при пожаре должно осуществляться одним из следующих способов
или их комбинацией:
подачей звуковых или световых сигналов во все
помещения здания с постоянным или временным пребывание людей;
трансляцией специально разработанных текстов,
направленных на предотвращение паники и других явлений, усложняющих эвакуацию;
размещение эвакуационных знаков безопасности на путях
эвакуации;
включением эвакуационных знаков безопасности;
дистанционным открыванием дверей эвакуационных
выходов. [6]
9.5 Экологичность
В последнее время все больше внимания уделяется вопросам экологии. Это
связано с тем, что на данном этапе развития производства и технологий,
человечество столкнулось с нарастающими по масштабам разрушительными
воздействиями на природу. При выполнении операций по настройке, регулировке и
испытанию лабораторного макета основными вредными факторами воздействия на
окружающую среду являются пары свинца, шумы от работающих приборов. Величина
электромагнитных полей при правильном использовании и подключении приборов
невелика. Уровень шума, создаваемый аппаратурой незначителен. Величина тепловых
выбросов в помещении невелика, так как в данном случае избыточное тепло
выделяется только за счёт приборов, а оно невелико. Для определения допустимых
доз паров свинца воспользуемся ПДК (предельно допустимая концентрация примесей)
- это максимальная концентрация примеси в атмосфере, отнесённая к определённому
времени усреднения, которая при периодическом воздействии или на протяжении
всей жизни человека не оказывает ни на него, ни на окружающую среду в целом
вредного воздействия (включая отдельные последствия). Максимальная разовая ПДК
- основная характеристика опасности вредности вещества. Она устанавливается для
предупреждения рефлексных реакций у человека при кратковременном воздействии
атмосферных примесей. Среднесуточная разовая ПДКсс установлена для
предупреждения общетоксического канцерогенного, мутагенного и другого влияния
на организм человека. В соответствии с данными для свинца и его соединений
ПДКсс = 0.0003. По классу опасности свинец относится к первой группе. В
вентиляционный воздух на участках пайки и лужения выделяются токсичные газы, аэрозоли.
Удельное выделение аэрозолей свинца (размер частиц 0.7 - 7 мкм) при лужении и
пайке оловянно-свинцовым припоем ПОС-61 при ручной пайке электропаяльниками:
0.02 - 0.04 мг/100 паек.
В целом негативное воздействие на окружающую среду при изготовлении
регулятора-стабилизатора не является опасным вследствие небольшого объёма
производства. При конструировании регулятора-стабилизатора мы не будем
использовать легковоспламеняющиеся материалы, а также материалы, которые при
воздействии высоких температур выделяют вредные для здоровья окружающих
вещества.
Заключение
Настоящий дипломный проект посвящен разработке регулятора- стабилизатора
переменного напряжения трехфазной сети, который по данным расчетов обеспечивает
показатели.
При
колебаниях сети в пределах Uc=220(+0,2;-0,25)%B и температуры
окружающей среды -20
+50
С
колебания напряжения на нагрузке не превышает
Uн=0,5В. Мощность в нагрузке составляет Рн=100кВА; при
этом коэффициент полезного действия с учетом всех потерь не хуже
=0,985.
Проделан
анализ известных технических решений построения стабилизаторов. На основе
анализа выбран принцип цифрового регулирования, позволяющий наиболее полно
удовлетворить заданным требованиям. Использование в качестве регулирующего
органа трансформатора на трехстержневом магнитопроводе с распределенными
обмотками позволило снизить массогабаритные показатели, повысить К.П.Д.
Разработана
структурная и принципиальная схемы РС, разработана программа расчета
регулирующего органа. Описана конструкция стабилизатора.
Произведен
анализ динамических свойств РС. В экономической части разработан ленточный
график, а также рассчитаны затраты на разработку макета.
Рассмотрены
вопросы безопасности и экологичности, осуществлен расчет одного из вредных
факторов, влияющий на условия труда.
Список литературы
1. Миловзоров
В.П., Мусолик А.К. “Дискретные стабилизаторы и формирователи
напряжения”-М.:Энергоатомиздат, 1986г.-248с.
2. Кобзев
А.В., Лебедев Ю.М. и др. “Стабилизаторы переменного напряжения с
высокочастотными широтно- импульсным регулированием”. М.: Энергоатомиздат,
1986г.-152с.
. Липковский
К.А. “Трансформаторно-ключевые исполнительные структуры преобразователей
переменного напряжения”, - Киев, Наукова думка,1983г.
. Уваев
А.И. “Проектирование регулирующего органа регулятора-стабилизатора трехфазного
напряжения”. Рязань: РРТИ. 1987-32с.
. Бессекерский
В.А. “Руководство по проектированию систем автоматического управления
-М.:Высшая школа, 1983г.-296с.
. Мишин
Д.Д. “Магнитные материалы”- М.:Высшая школа, 1985г.-305с.
. Горский
А.Н. и др.-“Расчет электромагнитных элементов источников вторичного
электропитания”.-М.:Радио и связь, 1988г-176с.
. Белопольский
И.И., Каретникова Е.И., Пикалова Л.Г. “Расчет трансформаторов и дросселей малой
мощности.” М.:Энергия, 1983г.
. Додик
С.Д и др.”Источники электропитания на полупроводниковых приборах”. М.Советское
радио.1969г.
. Голомедова
А.В. “Справочник по полупроводниковым диодам,стабилитронам и тиристорам”.
Москва: Радио связь. 1988г.
. Горошков
Б.Н.”Элементы радиоэлектронных устройств” Москва,Радио и связь,1988г-176с.
. Якубовский
С.В., Ниссельсон Л.И, Кулекова В.И. и др “Цифровые и аналоговые интегральные
микросхемы” : справочник.; Под ред.С.В.Якубовского:-М.:Радио исвязь,
1989г.-496с.
. Шило
В.Л. “Популярные цифровые микросхемы”: справочник. 2-е изд.
испр
.-Челябинск:Металлургия, Челябинское отд., 1989г.-352 стр.
14. Шило
В.Л. “Линейные интегральные схемы врадиоэлектронной аппаратуре”.-М.:Советское
радио,1974г.
15. Хантер
Л.П. “Cправочник по полупроводниковой
электронике”: Пер.с англ./под ред.С.Я.Шаца и И.И.Литвинова.-М.:Машиностроение,
1975г.
16. Кудряшов
Б.П., Назаров Ю.В., Тарабрин Б.В., Ушибышев В.А. “Аналоговые интегральные
микросхемы” -М.:Радио и связь, 1981г.
17. Беклешова
В.К. “Технико-экономическое обоснование дипломных проектов”. -М.:Высшая школа
.1991г.
Приложение
prs;
var
Ac,Bc,An,Bn,Uno,Ucmax,Ucmin,Unmax,nu,cosf,Unmin,d,ch,dUcm,Ncc:real;
Kmin,dUp,dUnm,dUn,U1,U2,U3,U4,I1,Ip,Io,Ic,dUk,q,Un,dU,Nmp:real;,Un1,Uo1,Pgf,dPm,Uckp,Im,Pgm,Pgn,Pg1,Pg2,Pgo,x,jo,Sm,Ry,Gy:real;,Tk,Ts,Tmc,Tmo,S1,Amin,Ab,Y,n0,A,Wbb,Pkt,B,Sg,A1,Kg,Bm,Fc:real;,Um,W0,Wm,W3,Dp,dPZ,nv,Aa,dP2:real;,W13,W1,W2,Wn,h0,h2,x0,x2,L0,L2,G0,G2,d1,d12,dU0,dU2,dPO:real;,n2,n3,n4,S2,Cn,Wbc,Wbc1,dW,Kn,z,I0,hl,xn,xm,Lnn,Lm,dUm,dPn:real;,Gm,h1,x1,L1,dU1,dP1,dPk,hn,hm,dl1,G1,C,Gg,Gop,dPg,Ga:real;
,i,j,e,t,u:integer;_i:array[0..10] of
real;_1:array[0..10,0..3] of real;: text;_name : string;
('Введите имя файла сохранения результата');
readln(file_name);(f,file_name);(f);
write(f,'Введите опорное напряжение UHO=');
write('Введите
опорное напряжение UHO=');
readln(Uno);(f,Uno:4:3);('Введите коэффициент изменения напряжение сети Ac=');
readln(Ac);
write(f,' Введите коэффициент изменения
напряжение сети Ac=');
writeln(f,Ac:4:3);(' Bc=');(Bc);(f,' Bc=');(f,Bc:4:3);
write('Введите
коэффициент изменения напряжение нагрузки An=');
readln(An);(' Bn=');(Bn);
write(f,' Введите коэффициент изменения
напряжение нагрузки An=');
writeln(f,An:4:3);(f,' Bn=');(f,Bn:4:3);
write('
Введите погрешность стабилизации dUcm=');
readln(dUcm);
write(f,' Введите погрешность стабилизации dUcm=');
writeln(f,dUcm:4:3);('Введите
КПД nu=');(nu);('Введите cosf=');(cosf);(' Введите мощность нагрузки в kBa ,Pn=');(Pn);(f,' Введите мощность нагрузки в kBa
,Pn=');(f,Pn:4:3);:=1;(f,' 1. Оценка габаритных напряжений, токов и');
writeln(f,' мощностей обмоток.');
writeln(f,' 1.1. Предельные значения
напряжения сети и нагрузки');
Ucmax:=Uno*(Ac+1);(f,' Ucmax=',Ucmax:4:3);:=Uno*(1-Bc);(f,'
Ucmin=',Ucmin:4:3);:=Uno*(1+An);(f,' Unmax=',Unmax:4:3);:=Uno*(1-Bn);(f,'
Unmin=',Unmin:4:3);(f,' 1.2. Напряжение U0 на отводе сетевой обмотки');
U0:=Unmin+dUcm;(f,' U0=',U0:4:3);(f,' 1.3. Напряжение на обмотке Wm');
Um:=Uno*(Ac+Bn)-dUcm;(f,'
Um=',Um:4:3);:=(dUcm/Uno)*100;(f,' 1.4. Min коэффициент усиления y');:=(1-Bc+d*0.01)/(1+Ac);(f,'
Kmin=',Kmin:4:3);(f,'
1.5. Напряжение на обмотке Wn');
Un:=Uno*(1+An-Kmin*(1-Bc)-d*0.01);(f,'
Un=',Un:4:3);:=Un/(2*dUcm);:=round(Nmp);(f, ' Nmp=',
Nmp:4:0);:=ln(Nmp)/ln(2)-1;:=trunc(q)+1;(f,'
1.6. Наибольшая погрешность обусловленная шагом');
writeln(f,' квантования');:=Un/(exp(n*ln(2))-1);:=Ucmax/Ucmin;:=q*dUn;:=dU/2;:=n+1;dUnm>dUcm;(f,'
dUnm=',dUnm:4:3);(f,'
1.7. Число двоичных секций n');
writeln(f,'
n=',n:3);:=n;:=n/2;:=round(ch);:=ch*2;(f,' 1.8. Число двоичных едениц, соответствующие старшей');
writeln(f,' секции обмотки W1, когда вся
сетевая обмотка ');
writeln(f,' выполняет ее роль');
Ncc:=3*exp((n-2)*ln(2));(f,'
Ncc=',Ncc:4:3);:=Ucmax/Ncc;n=ch then begin:=trunc(n/2)-1;i:=1 to u
do_i[i]:=0;i:=1 to u do_i[i]:=U_i[i-1]+3*exp((i-1)*ln(4))*dUp;(f,'
U_i[',u,']=',U_i[u]:4:3);begin:=trunc(n/2);i:=0 to u do_i[i]:=0;i:=1 to u doi=1
then_i[i]:=dUp_i[i]:=3*exp((i-2)*ln(4))*2*dUp;i:=1 to u
do_i[i]:=U_i[i-1]+U_i[i];(f,'
1.9. Суммарное напряжение на секциях обмотки W1,');
writeln(f,' дополнительных к старшей');
writeln(f,'
U_i[',u,']=',U_i[u]:4:3);;
writeln(f,' 1.10. Габаритное напряжение обмотки W2,');
U2:=((U_i[u]+Ucmax)*(1-Bc))/(Ac+1)-n*dUk;(f,'
U2=',U2:4:3);(f,' 1.11. Ток нагрузки');:=(Pn*1000)/(3*Uno*(1+An));(f,'
I1=',I1:4:3);(f,' 1.12. Ток,
потребляемый фазой PO из сети');
Ic:=I1/(nu*cosf*(1-Bc));(f,'
Ic=',Ic:4:3);(f,' 1.13. Ток в
обмотке W2');
Ip:=(I1*Un)/U2;(f,'
Ip=',Ip:4:3);:=Ip; writeln(f,'
Io=',Io:4:3);:=((3*exp((n-2)*ln(2))-1)/(exp(n*ln(2))-1))*Un;(f,'
Un1=',Un1:4:3);:=Ucmax-Un1;(f,' Uo1=',Uo1:4:3);:=Uo1/Kmin;(f,'
Uckp=',Uckp:4:3);(f,' 1.14. Габаритный ток обмотки Wm');:=(Pn*1000)/(3*Uckp*nu*cosf);(f,'
Im=',Im:4:3);(f,' 1.15. Оценки
габаритных мощностей обмоток');
Pgo:=U0*Io;(f,'
Pgo=',Pgo:4:3);:=Um*Im;(f,' Pgm=',Pgm:4:3);:=U_i[u]*Ip;(f,'
Pg1=',Pg1:4:3);:=U2*Ip;(f,' Pg2=',Pg2:4:3);:=Un*I1;(f,' Pgn=',Pgn:4:3);(f,' 1.16. Оценка суммарной мощности всех обмоток');
Pgf:=Pgo+Pgm+Pg1+Pg2+Pgn;
writeln(f,'
Pgf=',Pgf:4:3);:=0.15;
writeln(f,' 1.17. Оценка суммарных активных потерь');
writeln(f,' на обмотках одной фазы');
dPm:=((1-nu)*Pn*1000)/(3*nu*(1+x))-(0.52*n*dUk*Ip)/((1+x));(f,'
dPm=',dPm:4:3);(f,' PO,
согласованное с KПД');
dU:=(dPm/Pgf)*100;(f,'
dU=',dU:4:3);(f,' 2.Выбор
провода и сечения магнитопровода');
jo:=2.7;
writeln(f,' 2.1. Оценка сечения провода первого типа');
S1:=Ip/jo;('S1=',S1:4:3);(f,'
S1=',S1:4:3);(' Введите параметры провода
Sm,Dp,Gy');
writeln(f,' Введите параметры провода Sm,Dp,Gy');
write('
Sm=');(Sm);(f,' Sm=');(f,Sm:4:3);(' Dp=');(Dp);(f,' Dp=');(f,Dp:4:3);('
Gy=');(Gy);(f,' Gy=');(f,Gy:4:3);:=0.0176;:=r0/Sm;:=3;:=1.5;:=0.2;:=0.6;(f,'
2.2. Плотность тока в обмотке');
jo:=Ip/Sm;
writeln(f,'
jo=',jo:4:3);(f,' 2.3. Толщина
слоя при намотке с учетом');
writeln(f,' межслоевой изоляции');
Dp:=Dp+Tmc;(f,'
Dp=',Dp:4:3);:=2;:=4;:=1.05*jo*(1+Ab)/(Ab*dU);:=(1.6*(Ts+Tk)+0.2*3.14*n0*Dp)/(Amin*(1+Ab));:=Amin/2*(1+sqrt(1+z));:=A*10;:=round(A);:=A/10;:=Ab*A;:=A*B;:=50;:=0.96;:=1.6;:=10000/(4.44*Fc*Bm*Kg);(f,'
2.4. Число витков на один вольт
напряжения ');
Wbb:=A1/Sg;(f,'
Wbb=',Wbb:4:3);(f,' 2.5.
Периметр катушки');
Pkt:=2*(A+B+0.4*(Ts+tk));(f,'
Pkt=',Pkt:4:3);(f,' 3. Расчет
чисел витков обмоток');
writeln(f,' 3.1. Число витков обмотки W0');
W0:=U0*(1+dU*0.01)*Wbb;:=round(W0);(f,'
W0=',W0:4:0);(f,' 3.2. Число
витков обмотки Wm');
Wm:=Um*(1-dU*0.01)*Wbb;:=round(Wm);(f,'
Wm=',Wm:4:0);(f,' 3.3. Число
витков в остальных секциях обмотки W1');
if n=ch then
begini:=1 to u doj:=1 to 3 do
begin_1[i,j]:=(j*exp((i-1)*ln(4))*dUp+dUk)*Wbb;_1[i,j]:=trunc(W_1[i,j])+1;j<>3
then_1[i,j]:=W_1[i,j]-W_1[i,j-1]_1[i,j]:=W_1[i,j]-W_1[i,j-1]-W_1[i,j-2];W_1[i,j]=0
then_1[i,j]:=1;
(f,'W_1[',i,j,']=',W_1[i,j]:4:0);;begin_1[1,1]:=(dUp+dUk)*Wbb;_1[1,1]:=round(W_1[1,1]);(f,'W_1[1,1]=',W_1[1,1]:4:0);i:=2
to u doj:=1 to 3 do
begin_1[i,j]:=(j*2*exp((i-2)*ln(4))*dUp+dUk)*Wbb;_1[i,j]:=round(W_1[i,j]);j<>3
then_1[i,j]:=W_1[i,j]-W_1[i,j-1]_1[i,j]:=W_1[i,j]-W_1[i,j-1]-W_1[i,j-2];W_1[i,j]=0
then_1[i,j]:=1;(f,'W_1[',i,j,']=',W_1[i,j]:4:0);;;:=0;i:=1 to u do
begin:=0;j:=1 to 3 do begin:=W3+W_1[i,j];;:=W1+W3;;
writeln(f,' 3.4. Суммарное число витков секций обмотки W1,');
writeln(f,' наматываемых дополнительно к сетевым обмоткам');
writeln(f,' W0 и
Wm');(f,' W1=',W1:4:0);(f,'
3.5. Напряжение прикладываемое к обмотке W2');
U1:=Ucmin*(W1+W0+Wm)/(W0+Wm)*(1-dU*0.01)-4*dUk;(f,'
U1=',U1:4:3);(f,' 3.6. Число
витков обмотки W2');
W2:=U1*(1-dU*0.01)*Wbb;:=round(W2);(f,'
W2=',W2:4:0);(f,' 3.7. Число
витков обмотки Wn');
Wn:=Un*(1+dU*0.01)*Wbb;:=round(Wn);(f,'
Wn=',Wn:4:0);(f,' 3.8. Ток в
цепи регулирования');
writeln;:=I1*Wn/W2;(f,'
Ip=',Ip:4:3);:=3;:=W0/n3;:=round(Wbc);:=10;:=(W1+dW)/Wbc;:=round(n1);:=(W2/Wbc);:=round(n2);:=(n2+n1+n2)*Wbc-W0-W1-W2;true
do
begin:=S1;:=Wbc+1;:=(W1+dW)/Wbc1;:=round(n1);:=(W2/Wbc1);:=round(n2);:=(n3+n1+n2)*Wbc1-W0-W1-W2;S2>S1
then Break;;:=0.95;(f,' 5. Длина
намотки');
Cn:=(Wbc*Dp)/Kn;
Cn:=round(Cn);(f,'
Cn:=',Cn:4:3);;
writeln(f,' 6. Расчет параметров обмоток Wo и W2');
writeln(f,' 6.1. Высота обмотки Wo');
h0:=n3*(Dp+Tmc);(f,'
h0:=',h0:4:3);(f,' 6.2. Средняя
длина витка обмотки Wo');
x0:=Pkt+0.1*3.14*h0;(f,'
x0:=',x0:4:3);:=0.8;:=0.8;:=0.8;(f,' 6.3. Длина
провода обмотки Wo');
L0:=W0*x0*0.01+d1;
writeln(f,' L0:=',L0:4:3);(f,' 6.4. Масса провода обмотки Wo');
G0:=L0*Gy*0.001;(f,'
G0:=',G0:4:3);:=L0*Ry;:=I0*R0;:=DU0*I0;(f,' 6.5. Высота обмотки
W2');:=n2*(Dp+Tmc);(f,' h2:=',h2:4:3);(f,'
6.6. Средняя длина витка обмотки W2');
x2:=Pkt+0.1*3.14*h2;(f,'
x2:=',x2:4:3);(f,' 6.7. Длина
провода обмотки W2');
L2:=W2*x2*0.01+d12;(f,'
L2:=',L2:4:3);:=L2*Ry*Ip;:=dU2*Ip;(f,'
6.8. Масса провода обмотки W2');
G2:=L2*Gy/1000;(f,'
G2:=',G2:4:3);(f,' 6.9. Оценка
величины сечения медной ленты');
writeln(f,' для обмотки Wn');
y:=(A*Ab*dU)/(1.05*I1*(1+Ab));(f,'
y:=',y:4:5);:=1+(0.4*(Ts+Tk)+0.1*3.14*(h2+Tmo))/(A*(1+Ab));(f,'
z:=',z:4:5);:=(0.24*Wn)/(A*(1+Ab)*Cn*Kn);(f,' x:=',x:4:5);:=z/(y-x);(f,'
Sm:=',Sm:4:3);(f,' 6.10.
Выбираем ленту шириной ',Cn:4:3,'мм');
h1:=Sm/Cn;:=h1*10;:=round(h1);:=h1/10;(f,'
и толщиной
h1=',h1:4:3,'мм');(f,'
6.11. Велечина поперечного сечения медной ленты');
Sm:=Cn*h1;:=round(Sm);(f,'
Sm:=',Sm:4:3);;(f,' 7.Расчет параметров обмоток Wn,Wm,W1');(f,' 7.1. Высота обмотки
Wn');:=Wn*(h1+Tmc)/Kn;(f,' hn:=',hn:4:3);(f,'
7.2. Средняя длина витка обмотки Wn');
xn:=Pkt+0.2*3.14*(h2+Tmo+0.5*hn);(f,'
xn:=',xn:4:3);(f,' 7.3. Длина
ленты для обмотки Wn');
Lnn:=Wn*xn*0.01;(f,'
Lnn:=',Lnn:4:3);:=I1*Lnn*r0/Sm;:=dUn*I1;(f,' 7.4. Масса ленты обмотки W2');
Gn:=8.9*0.001*Lnn*Sm;
writeln(f,'
Gn:=',Gn:4:3);(f,' 7.5. Высота обмотки Wm');:=Wm*(h1+Tmc)/Kn;(f,' hm:=',hm:4:3);(f,' 7.6. Средняя длина витка обмотки Wm');
xm:=Pkt+0.2*3.14*(h0+Tmo+0.5*hm);(f,'
xm:=',xm:4:3);(f,' 7.7. Длина
ленты для обмотки Wm');
Lm:=Wm*xm*0.01;(f,'
Lm:=',Lm:4:3);:=Im*Lm*r0/Sm;:=dUm*Im;(f,' 7.8. Масса ленты обмотки Wm');
Gm:=8.9*0.001*Lm*Sm;
writeln(f,'Gm:=',Gm:4:3);(f,' 7.9. Высота дополнительных секций обмотки W1');
h1:=n1*Dp;(f,'
hm:=',hm:4:3);(f,' 7.10.Средняя
длина витка дополнительных секций');
writeln(f,' обмотки
W1');:=Pkt+0.2*3.14*(h0+hm+3*Tmo+0.5*h1);(f,' x1:=',x1:4:3);(f,' 7.11.Длина провода для дополнительных секций ');
writeln(f,' обмотки
W1');:=W1*x1*0.01+dl1;(f,' L1:=',L1:4:3);:=Ip*L1*Ry;:=Ip*dU1;(f,' 7.12.Масса провода для дополнительных секций ');
writeln(f,' обмотки
W1');:=L1*Gy*0.001;(f,' G1:=',G1:4:3);;
writeln(f,' 8. Расчет магнитопровода и характеристик PO');
writeln(f,'8.1. Длина окна');
C:=Cn+z*(Ts+Tk);:=round(C);(f,'
C:=',C:4:3);(f,'8.2. Высота
первого окна');
h1:=h0+hm+h1+3*Tmo+2*Ts+Tk;
h1:=round(h1);(f,' h1:=',h1:4:3);(f,'8.3.
Высота второго окна');
h2:=h2+hn+2*Tmo+2*Ts+Tk;
h2:=round(h2);(f,' h2:=',h2:4:3);(f,'8.4.
Масса магнитопровода');
Gg:=6.847*0.001*Sg*(0.9*C+0.4*(h1+h2)+12*a);(f,'
Gg:=',Gg:4:3);(f,'8.5. Активные
потери на перемагничивание');
writeln(f,' магнитопровода');
dPg:=1.6*Gg;
writeln(f,'
dPg:=',dPg:4:3);(f,'8.6. Масса
обмоток первой катушки');
G1:=G0+Gm+G1;(f,'
G1:=',G1:4:3);(f,'8.7. Масса
обмоток второй катушки ');
G2:=G2+Gn;(f,'
G2:=',G2:4:3);(f,'8.8. Масса
проводов всех катушек ');
Gm:=3*(G1+G2);(f,'
Gm:=',Gm:4:3);(f,'8.9.Общий вес
активных материалов PO');
Ga:=Gm+Gg;(f,'
Ga:=',Ga:4:3);(f,'8.10.Удельная
масса активных материалов ');
y:=Ga/Pn;(f,'
Gy:=',Gy:4:3);(f,'8.11.Мощность
потерь в катушках');
dP1:=dPo+dPm+dP1;
dP2:=dP2+dPn;
writeln(f,'
dP1:=',dP1:4:3,' dP2=',dP2:4:3);(f,'
8.12. Мощность потерь в PO');
dPk:=3*(dP1+dP2)+dPg;(f,'
dPk:=',dPk:4:3);(f,'8.13.Расчетный KПД');:=Pn*1000/(Pn*1000+dPk);(f,'
nu:=',nu:4:3);
close(f);.
Введите опорное напряжение UHO=220.000
Введите коэффициент изменения
напряжение сети Ac=0.100
Bc=0.150
Введите коэффициент изменения
напряжение нагрузки An=0.100
Bn=0.150
Введите погрешность
стабилизации dUcm=0.500
Vvedite moshnost
nagruzki v kBa ,Pn=10.000
Оценка габаритных напряжений,
токов и мощностей обмоток.
Предельные значения
напряжения сети и нагрузки
Ucmax=242.000
Ucmin=187.000
Unmax=242.000
Unmin=187.000
Напряжение U0 на
отводе сетевой обмотки
U0=169.740
Напряжение на обмотке Wm
Um=54.500
Min коэффициент усиления
Kmin=0.775
Напряжение на обмотке Wn
Un=96.600
Nmp= 97
Наибольшая погрешность
обусловленная шагом квантования
dUnm=0.493
Число двоичных секций n
n= 7
Число двоичных едениц,
соответствующие старшей секции обмотки W1, когда вся
сетевая обмотка выполняет ее роль
Ncc=96.000
U_i[3]=78.140
Габаритное напряжение обмотки
W2,
U2=243.890
Ток нагрузки
I1=13.770
Ток, потребляемый фазой PO из
сети
Ic=17.760
Ток в обмотке W2
Ip=5.450
Io=5.450
Un1=72.260
Uo1=169.740
Uckp=219.020
Габаритный ток обмотки Wm
Im=16.690
Оценки габаритных мощностей
обмоток
Pgo=1021.860
Pgm=909.600
Pg1=425.860
Pg2=1329.200
Pgn=1330.200
Оценка суммарной мощности
всех обмоток
Pgf=5016.720
Оценка суммарных активных
потерь
на обмотках одной фазы
dPm=124.820
PO, согласованное с KПД
dU=2.490
Выбор провода и сечения
магнитопровода
Оценка сечения провода
первого типа
S1=1.600
Введите параметры провода Sm,Dp,Gy
Sm=1.651
Dp=1.450
Gy=14.700
Плотность тока в обмотке
jo=3.330
Толщина слоя при намотке с
учетом
межслоевой изоляции
Dp=1.940
Число витков на один вольт
напряжения
Wbb=2.000
Периметр катушки
Pkt=17.900
Расчет чисел витков обмоток
Число витков обмотки W0
W0= 384
Число витков обмотки Wm
Wm= 105
Число витков в остальных
секциях обмотки W1
W_1[11]= 7
W_1[12]= 12
W_1[13]= 22
W_1[21]= 12
W_1[22]= 10
W_1[23]= 10
W_1[31]= 42
W_1[32]= 83
W_1[33]= 123
Суммарное число витков секций
обмотки W1, наматываемых дополнительно к сетевым обмоткам
W0 и Wm
W1= 162
Напряжение прикладываемое к
обмотке W2
U1=241.600
Число витков обмотки W2
W2= 471
Число витков обмотки Wn
Wn= 188
Ток в цепи регулирования
Ip=5.500
Длина намотки
Cn:=234.000
Расчет параметров обмоток Wo i W2
Visota obmotki Wo
h0:=5.820
Средняя длина витка обмотки Wo
x0:=19.700
Длина провода обмотки Wo
L0:=76.400
Масса провода обмотки Wo
G0:=1.120
Высота обмотки W2
h2:=
7.760
Средняя длина витка обмотки W2
x2:=20.340
Длина провода обмотки W2
L2:=96.600
Масса провода обмотки W2
G2:=1.420
Оценка величины сечения круглого провода для обмотки Wn
y:=0.250
z:=1.390
x:=0.003
Sm:=6.320
Выбираем ленту шириной 234.000мм
И толщиной h1=4.170mm
Величина поперечного сечения медной ленты
Sm:=40.000
Расчет параметров обмоток Wn,Wm,W1
Высота обмотки Wn
hn:=9.000
Средняя длина витка обмотки Wn
xn:=27.000
Длина провода обмотки Wn
Lnn:=38.900
Масса ленты обмотки W2
Gn:=6.548
Высота обмотки Wm
hm:=10.947
Средняя длина витка обмотки Wm
xm:=73.730
Длина ленты для обмотки Wm
Lm:=9.585
Масса ленты обмотки Wm
Gm:=3.412
Высота дополнительных секций обмотки W1
hm:=10.947
Средняя длина витка дополнительных секций обмотки W1
x1:=81.501
лина провода для дополнительных секций обмотки W1
Масса провода для дополнительных секций обмотки W1
G1:=3.092
Расчет магнитопровода и характеристик PO
Длина окна
C:=72.000
Высота первого окна
h1:=48.000
Высота второго окна
h2:=45.000
Масса магнитопровода
Gg:=246.184
Активные потери на перемагничивание магнитопровода
dPg:=393.895
Масса обмоток первой катушки
G1:=11.154
Масса обмоток второй катушки
G2:=11.877
Масса проводов всех катушек
Gm:=69.094
Общий вес активных материалов PO
Ga:=315.279
Удельная масса активных материалов
Gy:=211.000
Мощность потерь в катушках
dP1:=155.518
dP2=284.121
Мощность потерь в PO:=1712.813
Расчетный KPD:=0.960