Крытый вагон-хоппер для зерна модели 19-756

  • Вид работы:
    Контрольная работа
  • Предмет:
    Транспорт, грузоперевозки
  • Язык:
    Русский
    ,
    Формат файла:
    MS Word
    2,63 Мб
  • Опубликовано:
    2016-01-11
Вы можете узнать стоимость помощи в написании студенческой работы.
Помощь в написании работы, которую точно примут!

Крытый вагон-хоппер для зерна модели 19-756

Содержание

1. Общие сведения о вагонах

. Назначение крытого вагона-хоппера для зерна модели 19-756, его параметры, общий вид, конструкция и рамы

. Назначение и конструкция колесных пар

. Буксовые узлы

. Тележки вагонов

. Автосцепное устройство

. Автотормоза

1. Общие сведения о вагонах

Вагоном называется единица железнодорожного подвижного состава, предназначенная для перевозки пассажиров или грузов.

Вагонный парк характеризуется сложностью и многообразием типов и конструкций. Это вызвано необходимостью удовлетворения различных требований при перевозках: защиты ряда грузов от атмосферных воздействий, сохранения качества скоропортящихся грузов, обеспечения комфорта пассажирам и др.

Вагоны классифицируются по четырем основным признакам: назначению, месту эксплуатации, осности и ширине колеи.

По назначению вагоны разделяются на две основные группы: пассажирские и грузовые.

Парк грузовых вагонов состоит из универсальных и специальных вагонов следующих типов:

крытые - для грузов, требующих защиты от атмосферных воздействий и механических повреждений;

полувагоны - для навалочных, штабельных и штучных грузов, не требующих защиты от атмосферных воздействий;

платформы - для длинномерных, штабельных, громоздких, сыпучих и колесно-гусеничных грузов, не требующих защиты от атмосферных воздействий;

цистерны - для жидких, газообразных и пылевидных грузов;

изотермические - для скоропортящихся грузов;

хопперы - для массовых сыпучих грузов;

транспортеры - для крупногабаритных и тяжеловесных грузов, которые по своим размерам или массе не могут быть перевезены в других вагонах;

думпкары (вагоны-самосвалы) - для транспортировки и автоматизированной разгрузки горнорудных и земляных пород.

Независимо от назначения и типа все вагоны состоят из четырех основных элементов (узлов): кузова, ходовых частей, ударно-тяговых устройств, и тормозного оборудования.

Кузов вагона предназначен для размещения пассажиров или грузов. Конструкция кузова зависит от типа вагона.

Ходовые части служат опорой кузова и направляют движение вагона по рельсовому пути с необходимой плавностью хода. К ходовым частям от-носятся тележки, состоящие из колесных пар, букс, рессорного подвешивания, рам, надрессорных балок и др.

Ударно-тяговые устройства служат для сцепления вагонов между собой и с локомотивом, а также для передачи силы тяги от локомотива к вагонам и смягчения ударов, возникающих при сцеплении или изменениях режима движения.

Тормозное оборудование предназначено для уменьшения скорости движения или остановки поезда, а также удержания его на месте.

. Назначение крытого вагона-хоппера для зерна модели 19-756, его параметры, общий вид, конструкция кузова и рамы

Специализированный крытый вагон-хоппер для зерна модели 19-756 выпускается Крюковским вагоностроительным заводом. Назначение: для перевозки зерна и других пищевых сыпучих грузов насыпью. Вагон спроектирован по габариту 1-Т. Его характеристика указана в табл. 1. Вагон цельнометаллический (рис. 1), саморазгружающийся, бункерного типа.

Таблица 1. Характеристика 4-осного крытого вагона-хоппера для зерна модели 19-756.

Номер проекта

756.00.000-1

Технические условия

ТУ 24-05-540-84

Модель вагона

19-756

Изготовитель

КрВЗ

Грузоподъемность, т

76,5

Масса вагона (тара), т

23,5

Нагрузка:


От оси колёсной пары на рельсы, кН

245,0 (25)

На один погонный метр пути, кН/м

66,6 (6,8)

Скорость конструкционная, км/ч

120

Габарит

I-Т

База вагона, мм

10500

Длина, мм


По осям сцепления автосцепок

14720

По концевым балкам рамы (длина рамы)

13500

Ширина максимальная, мм

3280

Высота от уровня верха головок рельсов максимальная, мм

4873

Количество осей, шт

4

Модель 2-осной тележки

18-100

Тип автосцепки

СА-3

Наличие переходной площадки

есть

есть

Тип поглощающего аппарата

Ш-2-В-90

Объем кузова, м3

111

Длина, мм


По верхней обвязке

12000

Внутри по верху

10800

Ширина максимальная, мм


По крыше

3010

По стойке

3280

Высота от уровня верха головок рельсов до разгрузочных устройств, мм

350

Количество люков, шт


Загрузочных

4

разгрузочных

6

Размеры люка в свету, мм


Загрузочного

1592*562

разгрузочного

1080*475

Угол наклона, град


торцовых стенок

45

бункеров

55

Материал кузова

Сталь 10ХНДП или 09Г2Д

Год постановки на серийное производство или закупки вагона данной модели

1990

Год снятия с производства или последний год закупки вагонов данной модели

-

Возможность установки буферов

нет

Вид возможных модернизаций

РП 580


Рис. 1. Крытый вагон-хоппер для зерна

Рама 5, боковые 5 и торцовые 6 стены и крыша 1 образуют кузов вагона. У вагона имеются шесть бункеров 11 по три с каждой стороны с механизмами 12 для открывания и закрывания разгрузочных люков. Для облегчения высыпания груза на бункерах предусмотрены устройства 13 для постановки вибраторов. Вагон загружают через четыре щелевых загрузочных люка 2, расположенных в крыше кузова. Люки закрывают крышками (1690x660 мм) с резиновыми уплотнениями. Каждая крышка запирается двумя упругими закидками 3, которые в закрытом положении заходят за захватные скобы, приваренные к крыше, и прижимают крышку к горловине люка.

Для предупреждения самопроизвольного выхода закидок из захватных скоб крышки снабжены механизмом запирания. Он представляет собой вал 4, расположенный вдоль крышек люков по всей длине крыши, с приваренными к нему против каждой захватной скобы секторами. Привод вала 7 расположен на торцовой стене вагона. При повороте вала по часовой стрелке его сектора закрывают открытое пространство захватных скоб и исключают выход закидок 3 из-под них. При повороте вала против часовой стрелки сектора выходят из-под захватных скоб, выводят закидки из них и позволяют открыть крышки.

Для влезания на крышу на торцовой стороне кузова и на раме установлены лестницы 9. Переходная площадка вагона снабжена ограждением 10.

Рама (рис. 2) состоит из хребтовой 3, двух боковых 2, двух концевых 5, двух шкворневых 1 и двух средних 4 балок.

Рис. 2. Рама крытого вагона-хоппера для зерна

Боковые стены (рис. 3) выполнены из гофрированных металлических листов 6, подкрепленных для жесткости десятью стойками 5, верхней 4 и нижней 7 обвязками. Для большей жесткости каждая стена связана с рамой двумя наклонными швеллерами № 14.

Бункера 9 сварены из листов в форме усеченной пирамиды и имеют разгрузочные крышки 10 люков с резиновыми уплотнениями. Каждые два противоположные бункера снабжены одним рычажным механизмом разгрузки с приводным штурвалом 8. Механизм разгрузки обеспечивает попарное открывание и закрывание крышек люков бункеров, а также позволяет дозировать высыпание зерна или прекращать выгрузку в любой момент времени. Он состоит из винтового привода со штурвалом, укрепленного на кронштейне, и системы шарнирно связанных между собой рычагов и тяг с распорками, соединенными попарно с крышками разгрузочных люков. Закрытие крышек обеспечивается переходом осей распорок за «мертвую» точку, что предохраняет крышки от самопроизвольного открывания. Для более полной выгрузки вагона предусмотрена возможность установки на бункерах вибраторов.

Рис. 3. Поперечное сечение кузова вагона-хоппера для зерна

Наклонные торцовые стены кузова 12 располагаются под углом 55° к плоскости рамы. Они сварены из верхнего и нижнего листов и двух боковых обвязок уголкового профиля. Верхний лист имеет отбортовку, которая выполняет роль верхней обвязки. В нижней части сделана фигурная подштамповка, которая, соединяясь с наклонным листом стены, образует поперечную балку коробчатого сечения. Нижний лист обшивки усилен двумя продольными 15 и одним поперечным 13 поясами и подкосами 11. Для придания консольным частям кузова достаточной прочности и жесткости каждая торцовая стена усилена двумя стойками-раскосами 14 и 16.

Крыша кузова сварная и состоит из листовой гофрированной, подкрепленной двенадцатью дугами 3. На крыше расположены четыре загрузочных люка щелевого типа. С торцовыми стенами крыша связана фрамугами 17, а с боковыми - непосредственно приваркой к верхней обвязке 4 стены. Для доступа на крышу и внутрь вагона имеются лестницы, а по всей длине крыши - трап 2.

3. Назначение и конструкция колесных пар

Колесные пары относятся к ходовым частям и являются одним из ответственных элементов вагона. Они предназначены для направления движения вагона по рельсовому пути и восприятия всех нагрузок, передающихся от вагона на рельсы и обратно. Колесные пары - наиболее ответственные узлы вагонов, от их исправного состояния во многом зависит безопасность движения поездов и работоспособность вагона. Поэтому они должны удовлетворять определенным требованиям: обладать достаточной прочностью, износостойкостью, иметь небольшую массу для снижения тары вагона и уменьшения динамического воздействия на верхнее строение пути, а также обладать некоторой упругостью для смягчения динамических сил, возникающих при движении вагона.

Колесная пара (рис.4) состоит из оси 1 и двух укрепленных на ней колес 2. Тип колесной пары определяется типом оси и диаметром колес, а также конструкцией подшипника и способом крепления его на оси. Типы вагонных осей различают по размерам и форме шейки для роликовых подшипников качения и подшипников скольжения. Размеры оси устанавливают в зависимости от величины расчетной нагрузки, воспринимаемой ею при эксплуатации.

Колесные пары для роликовых подшипников унифицированы, т. е. применяются одни и те же в грузовых и пассажирских вагонах.

В колесных парах РУ1-950, РУ-950 и РУ-1050 крепление подшипников на шейке оси выполнено при помощи корончатой гайки, а в колесной паре РУ1Ш-950 при помощи шайбы (буква Ш означает «шайба»).

Рис. 4. Колесные пары: а - для подшипников качения; б - для подшипников скольжения

Для безопасного движения вагона по рельсам колеса на ось прочно запрессовывают в холодном состоянии с соблюдением строго определенного расстояния между ними.

Расстояние между внутренними гранями колес составляет: для новых колесных пар, предназначенных для скоростей движения:

до 120 км/ч -1440±3,

свыше 120, но не более 160 км/ч - 1440 (+3 -1) мм.

Нижнее отклонение уменьшено до -1 мм для лучшего взаимодействия колесной пары с элементами стрелочного перевода.

Во избежание неравномерной передачи нагрузки на колеса разность размеров от торца оси до внутренней грани обода 1 допускается для колесной пары не более 3 мм.

Колеса, запрессованные на одну ось, не должны иметь разность по диаметру D более I мм.

Вагонные оси различаются:

размерами основных элементов - в зависимости от значения воспринимаемой нагрузки,

формой шейки оси - для подшипников качения и подшипников скольжения,

формой поперечного сечения: сплошные или полые сечения.

Кроме этих признаков, определяющих конструкцию, оси классифицируются: по материалу, способу изготовления, способу торцового крепления подшипников качения - корончатой гайкой или шайбой.

У вагонной оси (рис.5) имеются две шейки, предподступичные 2 и подступичные 3 части, а также средняя часть 4 оси.

Рис. 5 Вагонная ось.

Для снижения концентрации напряжений в местах изменения диаметров оси делают плавные переходы-галтели, выполненные определенным радиусом. В вагонных осях с креплением подшипников качения при помощи шайбы в торцах осей делаются отверстия с нарезкой. Такое крепление может быть выполнено в двух вариантах: при помощи трех или четырех болтов.

В центре торцов всех типов вагонных осей сделаны отверстия для установки и закрепления оси или сформированной колесной пары при обработке на станках. Форма и размеры центровых отверстий установлены стандартом.

Шейки вагонных осей выполняют цилиндрической формы для размещения на них подшипников.

На предподступичных частях размещаются задние уплотнения буксовых узлов: уплотнительные шайбы при буксовых узлах с подшипниками скольжения, лабиринтные кольца при буксовых узлах с подшипниками качения.

Средняя часть оси имеет конический переход от подступичных частей.

Вагонные колеса различают:

по конструкции - цельнокатаные и бандажные, состоящие из колесного центра, бандажа и предохранительного кольца;

по способу изготовления - катаные и литые;

по диаметру, измеренному по кругу катания, - 950 и 1050 мм.

Диаметр колеса принято замерять в сечении, расположенном на расстоянии 70 мм от внутренней грани. Это сечение называется кругом катания. Здесь колесо чаще всего соприкасается с рельсом и более интенсивно изнашивается.

При качении колес по рельсам они испытывают сложные виды нагрузки: контактные и ударные нагрузки, трение от соприкосновения с рельсами и тормозными колодками.

Соприкасаясь с рельсом малой поверхностью, колесо передает ему значительные статические и динамические нагрузки. В результате этого в зонах соприкосновения колес с рельсами возникают большие контактные напряжения. В процессе торможения между колесами и колодками создаются большие силы трения, вызывающие нагрев обода, что способствует образованию в нем ряда дефектов.

Цельнокатаное колесо (рис. 6) имеет обод 1, диск 2 и ступицу 3. Ширина обода - 130 мм. На расстоянии 70 мм от внутренней базовой грани а поверхности обода находится так называемый круг катания, по которому измеряют прокат, диаметр колеса и толщину обода.

Ступица колеса в холодном состоянии прочно запрессована на ось. Переход от ступицы к ободу выполнен в форме диска, расположенного под некоторым углом к этим частям, что придает колесу упругость и снижает воздействия динамических сил.

Рис. 6. Цельнокатаное колесо

Для рационального взаимодействия колес с рельсами большое значение имеет профиль поверхности катания колес.

Стандартный профиль (рис.7) колеса имеет гребень, коническую поверхность 1:20, 1:7 и фаску 6 мм Х 45°.

Гребень колеса направляет движение и предохраняет колесную пару от схода с рельсов. Он имеет высоту 28 мм и толщину 33 мм, измеренную на высоте 18 мм.

Рис. 7. Стандартный профиль колеса.

Конусность 1: 20 обеспечивает центрирование колесной пары при движении ее на прямом участке пути, предотвращая образование неравномерного проката по ширине обода, и улучшает прохождение кривых участков пути. Вместе с этим конусность 1: 20 создает условия для извилистого движения колесной пары, что неблагоприятно сказывается на плавности хода вагона.

Конусность 1: 7 и фаска 6 мм Х 45° приподнимают наружную грань (см. рис.7) колеса над головкой рельса, что улучшает прохождение стрелочных переводов, особенно при наличии проката и других дефектов поверхности катания колес.

. Буксовые узлы

Буксовые узлы обеспечивают передачу нагрузки от кузова вагона на шейки осей и ограничивают продольные и поперечные перемещения колесной пары относительно тележки. Вместе с колесными парами они являются наиболее ответственными элементами ходовых частей вагона.

Буксовый узел неподрессорен и жестко воспринимает динамические нагрузки от рельсового пути, возникающие при движении вагона. Кроме постоянно действующих нагрузок от массы брутто, буксовый узел испытывает значительные удары при прохождении колес по стыкам рельсов, от толчков во время торможения поезда или наезда колес на башмак при роспуске вагонов с горки, от действия центробежной силы при прохождении кривых участков пути и др.

Буксовые узлы отечественных вагонов, а также современных конструкций зарубежных вагонов, оборудованы исключительно подшипниками качения (роликовыми подшипниками). Это обусловлено тем, что роликовые подшипники обеспечивают реализацию высоких скоростей движения и осевых нагрузок, а также более надежны и экономичны в эксплуатации.

Наибольшее распространение в отечественных и зарубежных вагонах получили цилиндрические роликовые подшипники. С 1964 г. отечественные вагоны на сферических подшипниках не выпускаются.

Буксовый узел современного отечественного вагона - это буксовый узел с цилиндрическими роликовыми подшипниками на горячей посадке, которыми оснащаются все типы пассажирских и грузовых вагонов.

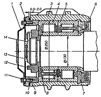
Типовые буксовые узлы грузовых (рис. 8) состоят из корпуса 3, двух цилиндрических подшипников - переднего 4 и заднего 5, крепительной 2 и смотровой 1 крышек, лабиринтного кольца 6 и элементов торцевого крепления подшипников.

Рис. 8. Буксовый узел грузового вагона

Между корпусом и крепительной крышкой устанавливается уплотнительное кольцо, а между смотровой и крепительной крышками - резиновая прокладка.

К элементам торцевого крепления в первом случае (рис. 9, а) относятся корончатая гайка 1, стопорная планка 2 и два болта 3, крепящие планку, на втором (рис. 9, б) - приставная шайба 5, болты 3, закрепляющие шайбу, и стопорная шайба 6.

Рис. 9. Варианты торцевого крепления подшипников на шейке оси: а - корончатой гайкой; б - торцевой шайбой; 1 - шестигранная гайка; 2 - стопорная планка; 3 - болт; 4 - торцевая шайба; 5 - упорное кольцо; 6 - стопорная шайба

Нормативный срок службы буксового узла - 15 лет.

Корпус буксы предназначен для размещения элементов буксового узла и смазки. Конструкция корпуса буксы определяется схемой операния рамы тележки на буксовый узел и различается также конструктивным оформлением лабиринтной части.

В грузовых вагонах применяют корпуса букс челюстного типа - без опор под рессорные комплекты, но с направляющими пазами для челюстей боковой рамы тележки.

Корпуса букс могут быть цельными - когда корпус выполнен заодно целое с лабиринтной частью, и составными - с впрессованной лабиринтной частью.

Лабиринтная часть выполнена в виде кольцевых лабиринтных канавок и располагается в задней части корпуса.

Лабиринтное кольцо и лабиринтная часть корпуса, образуя четырехкамерное бесконтактное уплотнение, препятствуют вытеканию смазки из буксы и попаданию в нее механических примесей. Кроме герметизации корпуса с внутренней стороны, кольцо фиксирует положения корпуса буксы на шейке оси и внутреннего кольца заднего роликового подшипника.

Кольцо насаживают на предподступичную часть оси в горячем состоянии при температуре 125-150°С. После остывания кольцо удерживается на оси за счет натяга 80-150 мкм.

Крепительная крышка герметизирует корпус буксы с наружной стороны и фиксирует наружные кольца подшипников в буксе. В зависимости от типа буксового узла крепительные крышки могут иметь четыре или восемь отверстий для их крепления к корпусу.

Смотровая крышка предназначена для осмотра переднего подшипника и состояния смазки, а также обточки колесной пары без демонтажа букс. Смотровую крышку присоединяют к крепительной при помощи четырех болтов.

Роликовые подшипники. Внутри корпуса буксы обычно размещаются два подшипника качения. Это роликовые цилиндрические подшипники - радиальные однорядные подшипники с короткими цилиндрическими роликами размером 130x250x80 мм.

Рис. 10. Роликовый цилиндрический подшипник

Роликовый подшипник (рис. 10) состоит из наружного 1 и внутреннего 3 колец, между которыми находятся ролики 2. Последние удерживаются в сепараторе 4 на одинаковом расстоянии друг от друга.

Внутреннее кольцо подшипника устанавливается на шейку оси с натягом, а наружное в корпус буксы - свободно. Вращение шейки оси вместе с внутренним кольцом подшипника вызывает вращение роликов вокруг своих осей и перекатывание по дорожкам качения между наружным и внутренним кольцами.         

Цилиндрические подшипники, применяемые в вагонах, выполнены разъемными: наружное кольцо, сепаратор, ролики образуют отдельный блок, который свободно снимается и надевается на внутреннее кольцо. Такая конструкция упрощает технологию монтажа и демонтажа буксового узла, поэтому она находит широкое применение в вагоностроении.

Ролики цилиндрического подшипника имеют форму цилиндра, образующая которого представляет прямую линию, параллельную оси вращения подшипника и перпендикулярную радиальной нагрузке.

Поэтому радиальная нагрузка распределяется по длине и хорошо воспринимается цилиндрической поверхностью тел качения, а осевая - лишь торцами роликов. Для предупреждения вредного влияния перекоса буксы и прогиба шейки оси на работу цилиндрических подшипников ролики стали изготавливать со скосами "бомбиной".

Сепаратор представляет собой кольцо с наличием окон для установки роликов. Для удержания роликов от выпадания из сепаратора производится расчеканка его перемычек.

. Тележки вагонов

Тележки служат для направления вагона по рельсовому пути, распределения и передачи всех нагрузок от кузова на путь, а также восприятия тяговых и тормозных сил и обеспечения движения вагона с минимальным сопротивлением и необходимой плавностью хода.

Тележки объединяют своей рамой две или три колесные пары с буксами, системой рессорного подвешивания и части тормозной рычажной передачи.

Применение тележек обусловлено также параметрами и конструкцией вагона и в первую очередь необходимостью многоосных и длиннобазисных вагонов.

Тележки обычно располагаются по концам вагона. Они могут свободно поворачиваться относительно кузова вследствие наличия на раме вагона пятника, а на тележке подпятника, соединенных между собой шкворнем.

Тележки позволяют вагонам иметь необходимое число колесных пар и, благодаря наличию короткой базы, проходят кривые участки малого радиуса с небольшим сопротивлением движению.

При проходе пути с неровностями кузов тележечного вагона имеет меньшее вертикальное перемещение, чем нетележечного.

Благодаря возможности размещения в тележках нескольких последовательно расположенных ступеней (ярусов) рессор в сочетании с различного рода гасителями колебаний и устройствами, обеспечивающими устойчивость положения кузова, создаются условия для достижения хорошей плавности хода вагона.

Под кузова грузовых вагонов подкатывают двух-, трех- и четырехосные тележки. Основной тип двухосной тележки грузовых вагонов - тележка модели 18-100

До 1972 г. тележка имела наименование ЦНИИ-ХЗ. Тележка (рис. 11) состоит из двух колесных пар 1, четырех букс 5, двух литых боковых рам 2, двух комплектов центрального рессорного подвешивания 3, литой надрессорной балки 4 и тормозной рычажной передачи 6. Тормоз тележки - колодочный с односторонним нажатием колодок. Связь рамы с буксами - непосредственная челюстная, опора кузова на тележку через подпятник 7 надрессорной балки, а при наклоне кузова - дополнительно через скользуны 8. Тележка допускает осевую нагрузку до 230 кН (23,5 тс) при скорости движения 120 км/ч и 235 кН (24 тс) при скорости 100 км/ч.

Рис. 11 Тележка модели 18 - 100

На подпятник 7 опирается пятник кузова, через центры которых проходит шкворень. Опорой для шкворня является поддон, который располагается под подпятником посередине надрессорной балки.

Шкворень служит осью вращения тележки относительно кузова, а также передает тяговые и тормозные силы от тележки кузову и обратно. Боковые перемещения надрессорной балки амортизируются поперечной упругостью пружин, на которые она опирается.

Сколъзун тележки - боковая опора кузова. Зазор между скользунами для основных типов четырехосных вагонов должен быть в пределах 6-16 мм.

Рессорное подвешивание состоит из двух комплектов, размещенных в рессорных проемах левой и правой боковых рам. В каждый комплект (рис. 12, а) входит пять, шесть или семь двухрядных цилиндрических пружин 2 и 3 и два клиновых 1 фрикционных гасителя колебаний. Каждая двухрядная пружина состоит из наружной и внутренней пружин, имеющих разную навивку - правую и левую соответственно. Количество двухрядных пружин в комплекте зависит от грузоподъемности вагона.

Рис. 12 Рессорный комплект тележки модели 18-100: а - общий вид; б, в, г - схемы установки семи, шести и пяти двухрядных пружин соответственно

Пять пружин ставят в тележки, подкатываемые под кузова вагонов грузоподъемностью до 50 т, шесть - до 60 т и семь - более 60 т.

В связи с этим и расположение пружин в комплекте будет разное (рис. 12, б, в, г). Крайние боковые пружины комплекта поддерживают клинья гасителей колебаний. Снизу клинья имеют кольцевые выступы, не допускающие смещения их относительно пружин в горизонтальной плоскости, а верхней своей частью входят в направляющие надрессорной балки.

Различают одинарное (буксовое или центральное) и двойное рессорное подвешивание.

При центральном рессорном подвешивании рессоры или пружины расположены посередине рамы тележки и упруго соединяют ее с рамой вагона.

Для смягчения (амортизации) боковых толчков вагона, возникающих при извилистом движении колесной пары и набегании гребня на рельс, а также при входе тележки в кривую и прохождении стрелочных переводов, в рессорном подвешивании вагонов устанавливаются возвращающие устройства, которые упруго препятствуют отклонению кузова от среднего положения. Функции возвращающего устройства в тележках грузовых вагонов выполняют пружины, у которых возвращающая сила пропорциональна их горизонтальной деформации.

Рис. 13. Фрикционный гаситель колебаний тележки модели 18-100

Поэтому для гашения резонансных колебаний в систему рессорного подвешивания вводят специальные гасители, которые позволяют снизить амплитуды и ускорения колебательного движения, а следовательно, уменьшить воздействие динамических сил на элементы вагона и перевозимый груз.

Фрикционные гасители колебаний наиболее широко применяются в тележках грузовых вагонов.

В двухосных тележках типа ЦНИИ-ХЗ фрикционный гаситель колебаний состоит из двух фрикционных клиньев 2 (рис. 13), размещенных между наклонными поверхностями концов надрессорной балки 1 и фрикционными планками 5, укрепленными на колонках 4 боковой рамы тележки. Клинья опираются на двухрядные цилиндрические пружины 5. Работа таких гасителей заключается в следующем. При вертикальных колебаниях надрессорной балки 1 совместно с обрессоренными массами вагона фрикционные клинья 2 перемещаются вниз и вверх относительно фрикционных планок 3. В результате между клиньями и планками возникают силы трения, создающие сопротивление колебательному движению. При этом величина силы трения прямо пропорциональна прогибу пружин и возрастает с его увеличением, так как клинья прижимаются с большей силой. Работа сил трения преобразуется в тепловую энергию, которая рассеивается в окружающую среду. Такого типа гаситель называют фрикционным с переменной силой трения, зависящей от прогиба.

. Автосцепное устройство

 

Автосцепное устройство относится к ударно-тяговому оборудованию вагона и предназначено для сцепления вагонов между собой и локомотивом, удержания их на определенном расстоянии друг от друга, восприятия передачи и смягчения воздействия растягивающих и сжимающих усилий, возникающих во время движения. От исправного состояния этого оборудования во многом зависит безопасность движения поездов.

Автоматические сцепки делятся на три типа: нежесткие, жесткие и полужесткие.

Нежесткие, автосцепки (рис. 14, а) допускают относительное перемещение сцепленных корпусов в вертикальном направлении. В случае разницы по высоте продольных осей нежесткие автосцепки располагаются ступенчато, сохраняя горизонтальное положение.

Жесткие автосцепки (рис. 14, в) исключают относительное перемещение сцепленных корпусов в вертикальной плоскости. Если до сцепления вагонов имелась разность высот продольных осей, то после сцепления они совместятся и займут наклонное положение, располагаясь по одной прямой.

Полужесткие автосцепки (рис. 14, б) взаимодействуют друг с другом в процессе работы как нежесткие, однако вертикальные перемещения их относительно друг друга ограничены предохранительными кронштейнами, расположенными на малых зубьях корпусов. Полужесткие автосцепки применяются в вагонах, и меньших ударов между сцепляющимися поверхностями; облегчение работы механизма автосцепок в результате меньших перемещений деталей; уменьшение шума при движении вагонов, что важно для создания комфорта пассажирам.

К достоинствам нежестких автосцепок относятся: обеспечение гарантированного сцепления вагонов со значительной разницей продольных осей по высоте, особенно при сцеплении груженого с порожним вагоном; отсутствие сложных концевых шарниров; меньшая масса автосцепки, простота конструкции. Нежесткие автосцепки применяются в вагонах наземных железных дорог, а жесткие - в вагонах метрополитена.

Рис.14. Схемы перемещения сцепленных автосцепок: а - нежесткого типа; б - полужесткого типа; в - жесткого типа

Четырехосные грузовые вагоны с малой базой оснащены типовой нежесткой автосцепкой СА-3 (советская автосцепка, третий вариант).

Автосцепное устройство типа СА-3 грузовых вагонов размещается в консольной части хребтовой балки рамы кузова. Основные части автосцепного устройства (рис. 15): корпус автосцепки с деталями механизма, ударно-центрирующий прибор, упряжное устройство, упоры и расцепной привод.

Корпус автосцепки 13 с механизмом предназначен для сцепления и расцепления вагонов, восприятия и передачи ударно-тяговых усилий упряжному устройству. Корпус установлен в окно ударной розетки 9 и своим хвостовиком соединен при помощи клина 8 с тяговым хомутом 6.

Рис 15. Автосцепное устройство четырехосного вагона

Корпус автосцепки (рис. 16) представляет собой пустотелую фасонную отливку, состоящую из головной части и хвостовика.

Внутри головной части размещены детали механизма автосцепки.

Она имеет большой 1 и малый 4 зубья, которые соединяясь, образуют зев. Торцовые поверхности малого зуба и зева воспринимают сжимающие усилия, а тяговые усилия передаются задними поверхностями большого и малого зубьев. На вертикальной стенке зева возле малого зуба имеется окно для замка 3, а рядом - окно для замкодержателя 2.

В верхней части головы отлит выступ 5, который воспринимает жесткий удар при полном сжатии поглощающего аппарата и передает его через розетку на раму вагона (рис. 15).

Со стороны малого зуба внутри головы отлита полочка для верхнего плеча предохранителя замка от саморасцепа, а со стороны большого зуба имеется шип для навешивания замкодержателя.

Рис. 16. Корпус нежесткой автосцепки в сборе

В нижней части головы выполнены отверстия для выступов замка автосцепки и горизонтальное отверстие для постановки валика подъемника.

В пустотелом хвостовике сделано продолговатое отверстие 6 (рис. 16) для клина, соединяющего корпус с тяговым хомутом. Торец хвостовика 7 служит для передачи ударных нагрузок и имеет цилиндрическую поверхность, обеспечивающую горизонтальные повороты автосцепки.

Центрирующий прибор воспринимает от корпуса автосцепки избыточную энергию удара после полного сжатия поглощающего аппарата и центрирует корпус автосцепки.

Прибор (см. рис. 15) имеет ударную розетку 9, две маятниковые подвески 11 и центрирующую балочку 12.

Ударная розетка 9 отлита заодно целое с передним упором и приклепана или приварена к концевой балке рамы. У розетки есть окно для постановки корпуса автосцепки и отверстия для маятниковых подвесок, а также ребра жесткости в верхней ударной части.

Центрирующая балочка 12 омегообразной формы с двумя плоскостями и двумя ограничителями (продольными и боковыми). При установке балочки на место продольный ограничитель захватывает нижнюю вертикальную стенку ударной розетки.

Боковые ограничители удерживают корпус автосцепки при максимальных отклонениях в поперечном направлении.

Маятниковые подвески 11 имеют вид стержня диаметром 25 мм с двумя головками (верхней более широкой и нижней). Верхними головками подвески опираются на ударную розетку, а на нижние уложена центрирующая балочка.

Упоры автосцепки задние 1 и передние 9 служат для передачи растягивающих и сжимающих усилий на раму и кузов вагона. Передний упор совместно с розеткой представляет собой П-образную коробку с ребрами жесткости.

На расстоянии 625 мм от упорных плоскостей переднего упора к хребтовой балке приклепан или приварен задний упор 1 (см. рис. 15), который также представляет собой П-образную отливку с ребрами жесткости. У четырехосных вагонов с укороченными консольными частями (крытые вагоны и цистерны) задние упоры отливают заодно целое с надпятниковыми коробками.    

Для предупреждения истирания вертикальных стенок хребтовой балки поглощающим аппаратом на них между упорами приклепывают по две предохранительные планки.

Упряжное устройство передает упорам продольные силы от корпуса автосцепки и смягчает их действие. Оно размещено между передними и задними упорами автосцепного устройства и состоит из тягового хомута 6, поглощающего аппарата 5, клина 8, упорной плиты 7 и крепежных деталей клина и поддерживающей планки.

Нижней опорой тягового хомута и поглощающего аппарата является поддерживающая планка 4, прикрепляемая восемью болтами снизу к хребтовой балке. Тяговый хомут 6 представляет собой раму, внутри которой размещен поглощающий аппарат и упорная плита. В головной части хомута имеется отверстие для клина. Внизу головной нижней части расположены приливы с отверстиями для болтов, предохраняющих клин от выпадания.

Опорная площадка хомута снабжена усиливающими ребрами.

Клин тягового хомута прямоугольного сечения со скругленными кромками в нижней части имеет заплечики, которыми он опирается на бол ты, удерживающие его от выжимания. Выемки в верхней части боковых поверхностей клина сделаны для уменьшения его массы.

Расцеппой привод служит для расцепления автосцепок. Привод (см. рис. 15) представляет собой двуплечий рычаг 3, удерживаемый кронштейном 2 с полочкой и державкой 10. Цепь 14 соединяет короткое плечо рычага с валиком подъемника 75.

Механизм автосцепки (рис. 17) - это замок 1 замкодержатель 2, предохранитель от саморасцепа 3, подъемник замка 4, валик подъемника 5 и болт 6.

Рис. 17. Детали механизма автосцепки

Замок 1 предназначен для запирания двух сцепленных автосцепок. Он представляет собой плоскую деталь сложной конфигурации. Утолщение его замыкающей части препятствует выжиманию замка из зева внутрь кармана корпуса силами трения при смещении смежных автосцепок. Вверху замок снабжен шипом б, служащим для навешивания предохранителя. Внизу замок имеет радиальную поверхность а, которой он опирается на дно кармана головы корпуса автосцепки и может перекатываться по ней. В средней части замка находится овальное отверстие в, через которое пропускается валик подъемника. Снизу замка расположены направляющий зуб г и сигнальный отросток д, окрашенный в красный цвет.

Замкодержателъ 2 вместе с предохранителем 3 удерживает замок в нижнем положении при сцепленных автосцепках, а вместе с подъемником 4 фиксирует его в верхнем положении при расцепленных автосцепках до разведения вагонов. Он имеет лапу ж, овальное отверстие с и противовес т. Лапа замкодержателя взаимодействует со смежной автосцепкой. В собранном механизме лапа под действием противовеса выходит в зев автосцепки. Овальное отверстие с служит для навешивания замкодержателя на шип, расположенный внутри кармана корпуса. Снизу под овальным отверстием находится расцепной угол р, взаимодействующий с подъемником замка.

Предохранитель 3 имеет форму двуплечего рычага. В сцепленном состоянии автосцепок торец верхнего плеча у перекрывается упором противовеса замкодержателя, препятствуя уходу замка внутрь кармана и предохраняя автосцепки от саморасцепа. Нижнее фигурное плечо е взаимодействует с подъемником при расцеплении автосцепок. Отверстие предохранителя служит для навешивания его на шип б замка 1.

Подъемник 4 служит для подъема верхнего плеча предохранителя, увода замка внутрь кармана и удержания его вместе с замкодержателем в утопленном положении. Подъемник имеет два пальца, из которых широкий за нижнее плечо поворачивает предохранитель, поднимая его верхнее плечо, и уводит замок внутрь кармана, а узкий палец к взаимодействует с расцепным углом замкодержателя, удерживает замок внутри кармана до разведения вагонов.

Валик подъемника 5 предназначен для поворота подъемника замка при расцеплении автосцепок и удержания подъемника в вертикальном положении. В средней части валик имеет квадратное сечение. Балансир валика n облегчает возвращение его в начальное положение. Отверстие // служит дли соединения балансира валика с цепью привода, а выемка о - для установки запорного болта 6. Стержень валика имеет толстую, тонкую цилиндрическую и квадратную части.

В собранной автосцепке цилиндрические части валика располагаются в отверстиях вертикальных стенок корпуса, а квадратная часть входит в соответствующее отверстие л подъемника 4. Болт 6 с двумя гайками и шайбами служит для закрепления валика подъемника, удержания деталей механизма в собранном состоянии.

Автосцепка СА-3 обеспечивает: автоматическое сцепление при соударении вагонов:

автоматическое запирание замка у сцепленных автосцепок;

расцепление подвижного состава без захода человека между вагонами и удержание механизма в расцепленном положении до разведения автосцепок;

восстановление сцепления случайно расцепленных автосцепок, не разводя вагоны;

производство маневровых работ (положение на "буфер"), когда при соударении автосцепки не должны соединяться.

До сцепления автосцепки могут занимать различные взаимные положения: оси их находятся на одной прямой; оси могут быть смещены по вертикали или горизонтали. Смещение осей по вертикали допускается: в грузовом поезде до 100 мм и пассажирском скоростном до 50 мм, а в горизонтальном направлении до 175 мм, при которых обеспечивается надежное автоматическое сцепление вагонов в эксплуатации.

Сцепление автосцепок происходит следующим образом (рис. 18). При соударении вагонов малый зуб корпуса одной автосцепки скользит по направляющей поверхности малого или большого зубьев (в зависимости от отклонения головок в горизонтальной плоскости в одну или другую сторону). Затем малый зуб входит в зев и нажимает на выступающую часть замка 5.

Рис. 18. Положение деталей механизма сцепленных автосцепок

При совпадении продольных осей автосцепок замки нажимают друг на друга. В результате этого замки уходят внутрь карманов корпуса, а вместе с ними перемещаются предохранители замков, верхние плечи 3 которых скользят по полочкам и проходят над упорами 2 противовесов 1 замкодержателей. Продвигаясь в зевах дальше, малые зубья нажимают на лапы 4 замкодержателей, заставляя их поворачиваться. В этот момент противовесы 1 замкодержателей размещаются под верхними плечами 3 предохранителей, создавая для них опору. Когда малые зубья займут крайнее правое положение в упор к большим зубьям, замки 5 освобождаются от нажатия и под действием собственного веса выпадают снова в зевы, заполняя образовавшееся пространство в контуре зацепления, и обеспечивают запирание автосцепок.

Вновь войти внутрь карманов корпуса замки не могут, так как верхние плечи 3 предохранителей, соскользнув с противовесов 1 замкодержателей на полочки 7, располагаются против упоров 2 противовесов замкодержателей, обеспечивая удержание замка в этом положении. Противовес замкодержателя в этот момент находится в верхнем положении и опуститься не может, так как на его лапу нажимает малый зуб соседней автосцепки. Такое положение деталей предотвращает саморасцеп автосцепок при движении поезда.

Сигнальные отростки 6 замков 5 сцепленных автосцепок находятся внутри кармана корпуса и не видны снаружи.

Чтобы расцепить автосцепки (рис. 19, а), достаточно увести внутрь кармана корпуса хотя бы один из замков, что освобождает пространство и дает возможность выхода малых зубьев из зевов.

Рис. 19 Положение деталей механизма при расцеплении: а - выключение предохранителя; б - конец расцепления

Для этого необходимо поворотом рычага расцепного привода посредством цепочки повернуть валик подъемника.

Тогда подъемник 1, посаженный на квадратную часть 8 валика, приподнимется и своим широким пальцем 3 нажмет на нижнее фигурное плечо 5 предохранителя и поднимет верхнее его плечи 4 выше упора противовеса 6 замкодержателя.

Таким образом происходит выключение предохранителя от саморасцепа. При дальнейшем вращении валика широкий палец 3 подъемника, упираясь в выступ замка, нажмет на него и уведет замок 9 внутрь кармана. Узкий палец 3 (рис. 19, б) подъемника при этом нажмет снизу на горизонтальную грань расцепного угла 2 замкодержателя. Благодаря наличию овального отверстия в замкодержателе он приподнимается вверх, пропуская узкий палец 3 подъемника 1 мимо вертикальной грани расцепного угла 2.

Освобожденный от нажатия снизу, замкодержатель под действием собственной тяжести благодаря овальному отверстию опустится вниз. При этом узкий палец 3 подъемника упрется в вертикальную грань расцепного угла и будет удерживаться в вертикальном положении, не позволяя замку выйти в зев. При этом положении сигнальный отросток 7 замка будет выступать из корпуса, указывая на то, что автосцепки расцеплены. В таком состоянии механизм будет находиться до разведения вагонов.

При разведении вагонов малые зубья смежных автосцепок выходят из зевов, лишая лапу замкодержателя упора. Замкодержатель под действием противовеса поворачивается, его лапа выходит в зев, а расцепной угол 2 освобождает подъемник 1 и замок, которые под действием собственной тяжести опускаются в нижнее положение, обеспечивающее готовность механизма к последующему сцеплению.

Если автосцепки были ошибочно расцеплены, то сцепленное положение механизма можно восстановить без разведения вагонов путем поднятия замкодержателя вверх. Для этого в корпусе снизу предусмотрено отверстие, через которое пропускается тонкий стержень, которым нажимают на лапу замкодержателя. Благодаря овальному отверстию замкодержатель поднимается, а детали механизма опускаются вниз - автосцепки сцеплены и предохранены от саморасцепа,

При маневровой работе возникает необходимость толкания вагонов без сцепления автосцепок. Для этого механизм автосцепки ставят в положение на "буфер". Расцепным приводом поворачивают валик подъемника, а рукоятку привода укладывают на полочку кронштейна. В этом случае детали механизма займут расцепленное положение, которое сохраняется за счет натянутой цепи привода, выключая механизм из действия.

Для восстановления готовности механизма к сцеплению необходимо рукоятку снять с полочки кронштейна и опустить ее в вертикальное положение, поставив плоскую часть рычага в вертикальный вырез кронштейна.

7. Автотормоза

Автоматическим тормозом железнодорожного подвижного состава называется комплекс устройств, создающих регулирование искусственного сопротивления движению поезда с целью уменьшения скорости или остановки в местах, предусмотренных графиком или расписанием движения поездов, перед запрещающим сигналом, при угрозе жизни людей или сохранности грузов.

Грузоые вагоны оборудованы пневматиеским тормозом. Пневматическая часть тормозного оборудования (рис. 20) включает в себя тормозную магистраль (воздухопровод) б диаметром 32 мм с концевыми кранами клапанного или шаровидного типа и соединительными междувагонными рукавами ; двухкамерный резервуар , соединенный с тормозной магистралью отводной трубой диаметром 19 мм через разобщительный кран и пылеловку - тройник; запасный резервуар; тормозной цилиндр; воздухораспределитель № 483 м с магистральной и главной частями (блоками); авторежим № 265 А-000; стоп-кран со снятой ручкой.

Рис . 20 Схема тормозного оборудования грузового вагона

Авторежим служит для автоматического изменения давления воздуха в тормозном цилиндре в зависимости от степени загрузки вагона - чем она выше, тем больше давление в тормозном цилиндре. При наличии на вагоне авторежима рукоятка переключателя грузовых режимов воздухораспределителя снимается после того, как режимный переключатель воздухораспределителя будет поставлен на груженый режим при чугунных тормозных колодках и средний режим при композиционных тормозных колодках. У рефрижераторных вагонов авторежима нет.

Запасный резервуар имеет объем 78 л у четырехосных вагонов с тормозным цилиндром диаметром 356 мм и 135 л у восьмиосного вагона с тормозным цилиндром диаметром 400 мм. Зарядка резервуара, золотниковой и рабочей камер воздухораспределителя запасного резервуара производится из тормозной магистрали при открытом разобщительном кране. При этом тормозной цилиндр через главную часть воздухораспределителя и авторежим сообщен с атмосферой. При торможении давление в тормозной магистрали понижается через кран машиниста и частично через воздухораспределитель, который при срабатывании отключает тормозной цилиндр от атмосферы и сообщает его с запасным резервуаром до выравнивания давления в них при полном служебном торможении.

Тормозная рычажная передача грузовых вагонов выполнена с односторонним нажатием тормозных колодок и одним тормозным цилиндром, укрепленным на хребтовой балке рамы вагона болтами.

Тормозная рычажная передача всех грузовых вагонов приспособлена к использованию чугунных или композиционных тормозных колодок. В настоящее время все грузовые вагоны имеют композиционные колодки. При необходимости перехода с одного типа колодки на другой необходимо изменить лишь передаточное число тормозной рычажной передачи путем перестановки валиков затяжки и горизонтальных рычагов (в более близко расположенное к тормозному цилиндру отверстие при композиционных колодках и, наоборот, при чугунных колодках). Изменение передаточного числа связано с тем, что коэффициент трения у композиционной колодки примерно в 1,5-1,6 раза больше, чем у чугунных стандартных колодок.

Рис. 21. Схема (а) и конструкция (б) рычажной передачи четырехосного грузового вагона.

В тормозной рычажной передаче четырехосного грузового вагона (рис. 21) горизонтальные рычаги 4 и 10 шарнирно соединены со штоком б и кронштейном 1 на задней крышке тормозного цилиндра, а также с тягой 2 и авторегулятором 3 и с тягой 11. Между собой они соединены затяжкой 5, отверстия 8 которой предназначены для установки валиков при композиционных колодках, а отверстия 9- при чугунных тормозных колодках.

Тяги 2 и 11 соединены с вертикальными рычагами 1 и 12, а рычаги 14 соединены с серьгами 13 мертвых точек на шкворневых балках тележек. Между собой вертикальные рычаги соединены распорками 15, а их промежуточные отверстия шарнирно соединеныс распорками 11 триангелей с тормозными башмаками и колодками, которые подвесками 16 соединены с кронштейнами боковых рам тележки. Предохранение от падения на путь деталей тормозной рычажной передачи обеспечивается специальными наконечниками 19 триангелей, расположенными над полками боковых рам тележки. Передаточное число тормозной рычажной передачи, например, четырехосного полувагона при плечах горизонтальных рычагов 195 и 305 мм и вертикальных рычагов 400 и 160 мм равно 8,95.

вагон сцепка автотормоз

Список использованной литературы

1.   Пастухов И.Ф., Лукин В.В., Жуков Н.И. Вагоны: Учебник дя техникумов ж.д. транспорта. - М.: Транспорт, 1988.

2.      Нетяговый подвижной состав: учеб.-метод. пособие: иллюстрированное приложение к курсу лекций / В.Ф. Кармацкий. - Екатеринбург: Изд-во УрГУПС, 2011.

.        Подвижной состав и  тяга поездов: Учебник под ред. Н.А.Фуфрянского. - М.: Транспорт, 1979.

.        Иноземцев В.Г. Автоматические тормоза: Учебник. - М.: Транспорт, 1981.

.        Коломийченко В.В. Автосцепное устройство подвижного состава. - М.: Траспорт,1980.

.        Гридюшко В.И., Бугаев В.П., Криворучко Н.З. Вагонное хозяйство. - М.: Транспорт, 1988.

Похожие работы на - Крытый вагон-хоппер для зерна модели 19-756

 

Не нашли материал для своей работы?
Поможем написать уникальную работу
Без плагиата!
Без нейросетей!