Засіб відновлення деталі 'Корпус перервника-розподілювача' автомобіля ГАЗ

  • Вид работы:
    Курсовая работа (т)
  • Предмет:
    Транспорт, грузоперевозки
  • Язык:
    Украинский
    ,
    Формат файла:
    MS Word
    695,02 Кб
  • Опубликовано:
    2016-02-18
Вы можете узнать стоимость помощи в написании студенческой работы.
Помощь в написании работы, которую точно примут!

Засіб відновлення деталі 'Корпус перервника-розподілювача' автомобіля ГАЗ

Зміст

Вступ

1. Вихідні дані

1.1 Характеристика деталі

1.2    Технічні вимоги

2. Технологічний розділ

.1 Карта дефектів

.2 Вибір способів відновлення деталі

.3 Вибір технологічних баз

.4 Технологія усунення кожного дефекту

.5 Технологічний маршрут відновлення деталі

.6 Вибір обладнання та засобів технологічного оснащення

.7 Розрахунок припусків

.8 Розрахунок і призначення режимів обробки

.9 Розрахунок норм часу

. Конструкторський розділ

. Охорона праці та навколишнього середовища

Література

Вступ

Автомобільний транспорт займає ведуче положення в усіх галузях господарства країни, перевезення пасажирів та вантажів.

За час експлуатації автомобіля його надійність поступово знижується за рахунок зношування деталей, корозії та сталості матеріалу. В автомобілі з’являються різні несправності, які усуваються при ТО та ремонті.

Із ремонтної практики відомої що більшість забракованих через спрацювання деталей втрачають не більше 1-2% вихідної маси. При цьому міцність деталей практично зберігається. Наприклад, 95% деталей двигунів внутрішнього згоряння бракується через спрацювання, що не перевищує 0,3 мм, і більшість з них можна використовувати після відновлення.

Ремонт автомобілів є об’єктивною необхідністю, яка обумовлена як технічними так і економічними причинами.

По-перше: потреби господарства в автомобілях частково задовольняються шляхом експлуатації відремонтованих автомобілів.

По-друге: ремонт забезпечує подальшу експлуатацію технічних елементів, які ще неповністю зношені.

В третіх: ремонт сприяє економії матеріалів, які йдуть на виготовлення автомобілів.

Серед важливих найбільш металоміских і дорогих деталей повторне використання відновлених деталей практикується частіше, ніж використання нових запасних частин. Так, відновлених блоків двигунів застосовується в 2,5 рази більше, ніж нових запасних, колінчастих валів - в 1,9 рази, картерів коробок передач - в 2,1 рази. Собівартість відновлення для більшості деталей не перевищує 75% вартості нових, а витрата матеріалів в 15-20 разів нижча, ніж при виготовленні.

Збільшення масштабів виготовлення автомобілів призводить до зростання об’єму ремонтних робіт.

Висока економічна ефективність підприємств, що спеціалізуються на відновленні автомобільних деталей, підвищує їх конкурентоспроможність в умовах ринкового виробництва

В даному курсовому проекті пропонується засіб відновлення деталі “Корпус перервника-розподілювача автомобіля ГАЗ”.

1. Вихідні дані

1.1 Характеристика деталі

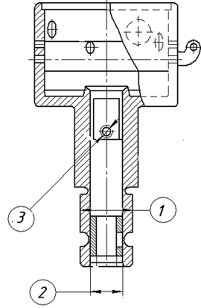
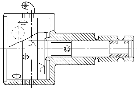
Деталь - «Корпус перервника-розподілювача» автомобіля ГАЗ має номер по каталогу № Р13-3706100 виготовляється з Сталі 40 ГОСТ 1050-88 і призначений для встановлення валурозподілювача, та механізму розподілювача. Твердість матеріалу деталі не обумовлена і тому приймаємо твердість заводу постачальника .

Рис. 1.1

Корпус перервника-розподілювача має отвір2 з втулками для встановлення валу переривника - розподілювача, який виконано по 8-му квалітету точності та шорсткістю Ra 1,25.

Отвір у втулці 4 виконано по 7-му квалітету точності та шорсткістю Ra 1,25.

Зовнішній діаметр 1 виконано по 8-му та шорсткістю Ra 1,25.

Деталь встановлюється на блок циліндрів зовнішнім діаметром 1 і закріплюється болтом. Ці поверхні можна використовуються як технологічні бази.

Можливі дефекти деталі показані на рис. 1.1.

Згідно завдання дана деталь має такі дефекти: знос хвостовика по зовнішньому діаметру, знос отворів під втулки, знос різі під масльонку.

Дана деталь відноситься до класу „ круглі стержні”.

Маса деталі 0,85 кг.

Твердість робочих поверхонь деталі не обумовлена , тому приймаємо за основу твердість матеріалу НВ 182

Габаритні роміри: довжина -160, діаметр - 90

.2 Технічні вимоги

Деталь „Корпус переривника -розподілювача” повинна відповідати наступним технічним вимогам.

1.  Радіальне биття отвору А під втулки не більш 0,012 мм.

2.  Овальність та конусність отвору А не повинна бути більш ніж- 0,013 мм.

3.  Задирки, риски та сліди зносу на поверхні втулок не допускаються,

. Різьба К⅛,,- повинна бути справною ( перевірку проводять різьбовим калібром), та мати цілі нитки чи зорвані але не більш ніж дві .

5. Шорсткість поверхонь під втулки, повинна бути не нижче ніж Rа 1,25

6. Шорсткість зовнішньої поверхні, повинна бути не нижче ніж Rа 1,25

Рис 1.2

2. Технологічний розділ

2.1 Карта технічних вимог на дефектування деталі

Таблиця 2.1

Деталь: Корпус перервника-розподілювача

№ по каталогуР13-3706100




Матеріал

Сталь 40 ГОСТ 1050-88


Твердість

НВ 182

Позиція на ескізі

Можливий дефект

Спосіб виявлення дефекту і засоби контролю

Розміри, мм.

Висновок




за робочим кресленням (номінальний)

допустимий без ремонту


1

Знос хвостовика по зовнішньому діаметру

Скоба 26,9

26,9Ремонтувати постановкою втулки



2

Знос отвору під втулки

Пробка 15,93

15,9-0,03

15,93

Ремонтувати постановкою втулки

3

Знос різі

Оглядово

RC1/8

Зрив більш двох ниток

Ремонтувати виготовленням різі більшого діаметру

2.2 Вибір способів відновлення деталі

Необхідно провести вибір раціонального способу відновлення корпусу переривника - розподілювача виготовленого з Сталі 40.

Потенційно можливими способами відновлення деталі можуть бути [14табл. 2.2]:

Дефект № 1 (Знос хвостовика по зовнішньому діаметру)

Для даного дефекту спосіб відновлення тільки механічна обробка з постановкою втулок

Дефект № 2 (Знос отвору під втулки)

Для даного дефекту спосіб відновлення тільки механічна обробка з постановкою втулок збільшеного діаметру

Дефект № 3 (Знос різі)

Для даного дефекту спосіб відновлення є виготовлення різі більшого діаметру

.3 Вибір установчих баз

При відновленні зовнішнього діаметру схема базування

Рис 2.1

При відновленні отворів різі

Рис 2.2

При відновленні отвору під втулки

Рис 2.3

2.4 Технологія усунення кожного дефекту

Встановлюємо таку послідовність операцій для усунення кожного з заданих дефектів

Дефект №1 - Знос хвостовика по зовнішньому діаметру (Ra 1,25)

Токарна 4110

Точити поверхню хвостовика , витримавши розмір d=26,2-0,033

Шліфувальна 4130

Шліфувати поверхню хвостовика, витримавши розмір d=26-0,021

Слюсарна 0190

Напресувати ремонтну втулку зрозмірами : внутрішнім d = , зовнішнім D=27,2+0,052

Шліфувальна 4130

Шліфувати поверхню втулки, витримавши розмір d=

Дефект №2 -знос отвору під втулку (Ra 1,25)

Слюсарна 0190

Випресувати зношену втулку

Свердлильна 4120

Розвернути отвір під ремонтну втулку d=16,3+0,018

Слюсарна 0190

Запресувати ремонтну втулку з зовнішнім діаметром D= та внутрішнім діаметром d=12,5 +0,043

Свердлильна 4120

Розвернути отвір втулки попередньо, витримавши розмір d=12,65 +0,027

Свердлильна 4120

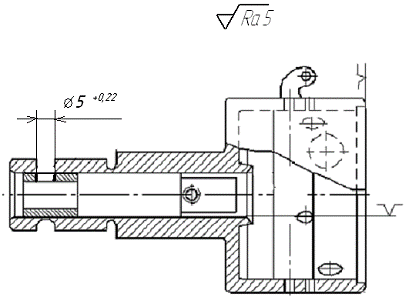
Свердлити змащувальний отвір, витримавши розмір d=5 +0,22

Свердлильна 4120

Розвернути отвір втулки остаточно, витримавши розмір d=

Дефект №3- Знос різі

Свердлильна 4120

1.      Розсвердлити отвір , витримуючи розміри d1=10,7+0,12 та L=12

2.      Розвернути отвір, витримуючи розміри d1=10,7 d2=11,2 та кут φ=104724”

3. Зняти фаску с=0,5х1200

4. Нарізати різь RC 3/8

2.5 Технологічний маршрут відновлення деталі

005 Свердлильна 4120

1.  Розсвердлити отвір , витримуючи розміри d1=10,7+0,12 та L=12

2.  Розвернути отвір, витримуючи розміри d1=10,7 d2=11,2 та кут φ=104724”

3. Зняти фаску с=0,5х1200

4. Нарізати різь RC 3/8

010 Слюсарна 0190

Випресувати зношену втулку

Свердлильна 4120

Розвернути отвір під ремонтну втулку d=16,3+0,018

020 Слюсарна 0190

Запресувати ремонтну втулку з зовнішнім діаметром D= та внутрішнім діаметром d=12,5 +0,043

025 Свердлильна 4120

Розвернути отвір втулки попередньо, витримавши розмір d=12,65 +0,027

030 Свердлильна 4120

Свердлити змащувальний отвір, витримавши розмір d=5 +0,22

Рис 2.4

Рис 2.5

Рис 2.6

Рис 2.7

Свердлильна 4120

035 Розвернути отвір втулки остаточно, витримавши розмір d=

Рис 2.8

040 Токарна 4110

Точити поверхню хвостовика , витримавши розмір d=26,2-0,033

Рис 2.9

045 Шліфувальна 4130

Шліфувати поверхню хвостовика, витримавши розмір d=26-0,021

Рис 2.10

050 Слюсарна 0190

Напресувати ремонтну втулку зрозмірами : внутрішнім d = , зовнішнім D=27,2+0,052

Шліфувальна 4130

Шліфувати поверхню втулки, витримавши розмір d=

Рис 2.11

2.6 Вибір обладнання та технологічного оснащення операцій

005 Свердлильна 4120

Виконавець - свердлувальник 17335 2-го розряду

.ХХХХ- вертикально свердлильний верстат 2Н118

.ХХХХ - свердло 10,7 Р6М5 ГОСТ 1093-73

.ХХХХ - розвертка конічна Р6М5 ГОСТ 10079-71

.ХХХХ - зенковка α=1200 Р6М5 ГОСТ 14953-80

.ХХХХ- мітчик для конічної нарізки Р6М5 ГОСТ 6227-80

.ХХХХ - калібр різьбовий ГОСТ 2016-68

.ХХХХ - калібр нерухомий 10,7 ГОСТ 2015-84

ХХХХХХ.ХХХХ - пристосування спеціальне

010 Слюсарна 0190

Виконавець - слюсар 17474 2-го розряду

.ХХХХ - прес 2135-1М

ХХХХХХ.ХХХХ - пристосування спеціальне

015 Свердлильна 4120

Виконавець - свердлувальник 17335 2-го розряду

.ХХХХ- вертикально свердлильний верстат 2Н118

.ХХХХ - розвертка 16,3 Р6М5 ГОСТ1672-80

.ХХХХ - калібр нерухомий 16,3 ГОСТ 2015-84

ХХХХХХ.ХХХХ - пристосування спеціальне

020 Слюсарна 0190

Виконавець - слюсар 17474 2-го розряду

.ХХХХ - прес 2135-1М

ХХХХХХ.ХХХХ - пристосування спеціальне

025 Свердлильна 4120

Виконавець - свердлувальник 17335 2-го розряду

.ХХХХ- вертикально свердлильний верстат 2Н118

.ХХХХ - розвертка 12,65 Р6М5 ГОСТ1672-80

.ХХХХ - калібр нерухомий 12,65 ГОСТ 2015-84

ХХХХХХ.ХХХХ - пристосування спеціальне

Свердлильна 4120

Виконавець - свердлувальник 17335 2-го розряду

.ХХХХ- вертикально свердлильний верстат 2Н118

.ХХХХ - свердло спіральне 5,0 Р6М5 ГОСТ10903-77

.ХХХХ - калібр нерухомий 5,0 ГОСТ 2015-84

ХХХХХХ.ХХХХ - пристосування спеціальне

Свердлильна 4120

Виконавець - свердлувальник 17335 2-го розряду

.ХХХХ- вертикально свердлильний верстат 2Н118

.ХХХХ - розвертка 12,7 Р6М5 ГОСТ1672-80

.ХХХХ - калібр нерухомий 12,7 ГОСТ 2015-84

ХХХХХХ.ХХХХ - пристосування спеціальне

040 Токарна 4110

Виконавець - 18217 -токар 3-го розряду

.ХХХХ- токарно-гвинторізний верстат 16К20

.ХХХХ - різець прохідний упорний Т5К10 ГОСТ 18882-73

.ХХХХ - центр, що обертається ГОСТ 8742-75

.ХХХХ - патрон поводковий ГОСТ 13334-67

.ХХХХ - штангенциркуль ШЦ -І - 125- 0,1

Шліфувальна 4130

Виконавець - 18873-шліфувальник 3-го розряду

.ХХХХ- шліфувальний верстат 3У131М

ХХХХХХ.ХХХХХ- круг шліфувальний ПВД400х30х207 14А60НСТ1К535м/секА ГОСТ 2424-83

.ХХХХ- центр верстатний ,що обертається ГОСТ 8742-75

.ХХХХ - патрон поводковий ГОСТ 13334-67

.ХХХХХ - штангенциркуль ШЦ-ІІ-125- 0,05 ГОСТ 166-80

Слюсарна 0190

Виконавець - слюсар 17474 2-го розряду

.ХХХХ - прес 2135-1М

ХХХХХХ.ХХХХ - пристосування спеціальне

Шліфувальна 4130

Виконавець - 18873-шліфувальник 3-го розряду

.ХХХХ- шліфувальний верстат 3У131М

ХХХХХХ.ХХХХХ- круг шліфувальний ПВД400х30х207 14А60НСТ1К535м/секА ГОСТ 2424-83

.ХХХХ- центр верстатний ,що обертається ГОСТ 8742-75

.ХХХХ - патрон поводковий ГОСТ 13334-67

.ХХХХХ - штангенциркуль ШЦ-ІІ-125- 0,05 ГОСТ 166-80

2.7 Розрахунок припусків

Розрахуємо припуски і розміри на обробку отвору dД=15,9-0,03

(допуск δД=0,03 на даний розмір відповідає 8-му квалітету точності - див.[ 2 т.2,стор.300]

1)Маршрут відновлення отвору такий:

.Розвернути отвір під ремонтну втулку для виправлення геометричної форми dЗГ=16,3

2.Запресувати ремонтну втулку з внутрішнім діаметром dВТ=12,5

3.Розвернути отвір втулки попередньо, витримавши розмір d1

4.Розвернути отвір втулки остаточно, витримавши розмір d2=

) Визначаємо за [14 табл. 2.13 ] для діаметру 12 мм проміжні припуски на кожну механічну операцію

припуск на попередне розвертання z1=0,1.

припуск на остаточне розвертання z2=0,05.

) остаточний діаметр поверхні деталі на 4-му переході d2= dД=12,7

) розраховуємо розмір поверхні деталі на 3-му переході

1= d2- z2=12,7-0,05=12,65 (2.1)

6) загальний припуск на механічну обробку приймається

заг= z1 + z2 =0, 15 (2.2)

7) розраховуємо внутрішній діаметр втулки

dВТ= d1- z1=12,65-0,1=12,55 (2.3)

Приймаємо dВТ=12,5

) Корегуємо припуск на попереднє розвертання

z1= d1- dВТ=12,65-12,5=0,15 (2.4)

) встановлюємо допуски на розміри, що розраховувалися

Допуск на розмір dЗГ =16,3 після розвертання для виправлення геометричної форми становлюємо за 7-им квалітетом . Він становить δ1=0,018 див. [2 т.1,ст. 300]. Тоді внутрішній діаметр отвору dЗГ =16,3 +0,018

Допуск на розмір dВТ= 12,5 після внутрішнього діаметра втулки встановлюємо за 9-им квалітетом . Він становить δ1=0,043 див. [2 т.1,ст. 300]. Тоді внутрішній діаметр втулки dВТ= 12,5 +0,043

Допуск на розмір d1=12,65 після попереднього розвертаннявстановлюємо за 8-им квалітетом . Він становить δ1=0,027 див. [2 т.1,ст. 300]. Тоді внутрішній діаметр втулки d1=12,65 +0,027

) Записуємо остаточні розміри і допуски по переходам

1.Розвернути отвір під ремонтну втулку dЗГ=16,3+0,018

2.Запресувати ремонтну втулку з зовнішнім діаметром D= та внутрішнім діаметром dВТ=12,5 +0,043

3.Розвернути отвір втулки попередньо, витримавши розмір d1=12,65 +0,027

4.Розвернути отвір втулки остаточно, витримавши розмір d2=

.8 Розрахунок режимів різання та основного часу

Розрахуємо режими різання та основний час на операцію 040 Токарна

Точити поверхню хвостовика , витримавши розмір d=26,2-0,033 на довжині 50

.Клас точності відповідає 8-му квалитету, шорсткість поверхні Ra 2,5.

Матеріал деталі Сталь 40 σВ= 568

Верстат токарно-гвинторізний 16К20.Різець токарний прохідний Т5К10

. Визначаємо глибину різання, яка дорівнює припуску на сторону:

 (2.5)

2.            З [17 с. 419 табл 3] приймаємо подачу s=0,4-0,5 мм/об

По паспорту верстата приймаємо s=0,4 мм/об.

Визначаємо стійкість інструменту Т=60 хв. [17 с415]

З [16 стор. 415] швидкість різаніявизначається за формулою.

 (2.6)

З [17 с422 табл. 8] приймаємоv= 350,x= 0,15,y= 0,35, m=0,2

Коефіцієнт швидкості різання [ 17 с. 421]

Кv=Kmv ∙Knv ∙Kuv ∙Kφ ∙ Kφ1 ∙Kо (2.7)

З [17 с. 424] приймаємо

 (2.8)

З [17 с426] приймаємо Knv= 0,8

З [17 с. 426] приймаємо Kuv= 1.0

З [17 с. 426] приймаємо Kφ= 1.0

З [17 с427] приймаємо Kφ1= 0.94

З [17 с. 427] приймаємо Kо= 1,0

Кv=1,32 ∙0,8∙1,0 ∙1,0 ∙ 0,94 ∙1,0=0,99

Тоді

 

Визначаємо кількість обертів шпинделя верстата

n== 2974 хв-1. (2.9)

Приймаємо по паспорту верстата n=2000хв-1..

Уточнюємо швидкість різання,

= м / хв.

Основний час на операцію визначаємо з [14 формула 2.16]

 (2.8)

де Lр -довжина обробки;ф- кількість обертів деталі (шпинделя); n= 2000 хв-1ф - подача мм/об; s= 0,4 мм/об- кількість проходів обробки i= 1

В свою чергу довжина обробки L складається  

 мм (2.10)

Де l- довжина обробляємої поверхні, мм.  l= 50 довжина урізання інструменту  [14 с. 45 ]


∆-величина перебігу ∆=3

Тоді

Розрахунок і призначення режимів різання на інші операції механічної обробки виконуємо табличним методом і заносимо до сводної таблиці 2.2

Таблиця 2.2 

Номер і найменування операції

t, мм

s, мм/об,

V, м/хв

n,хв-1

То, хв

005 Свердлильна

1,0

0,25

21,1

630

0,09

0,24


0,1

0,9

28,1

800

0,02



0,1

0,25

25,7

630

0,01



-

1,41

3,1

90

0,12


010 Слюсарна

-

-


0, 34

015 Свердлильна

0,18

0,7

40,9

800

0,09

020 Слюсарна

-

-

-

-

0,53

025 Свердлильна

0,7

0,6

31,7

800

0,07

030 Свердлильна

2,5

0,25

9,8

630

0,03

035 Свердлильна

0,025

0,5

31,9

800

0,08

040 Токарна

0,4

0,4

99,2

2000

0,06

045 Шліфувальна

0,001

5 м/хв

35 м/сек

1112

1,27

050 Слюсарна

-

-

-

-

0,65

055 Шліфувальна

0,001

4 м/хв

35 м/сек

1112

1,11


.9 Розрахунок норм часу

Розрахуємо норму часу на операцію 040 Токарна

Річну програму випуску деталей N=2000шт.

Річний фонд часу F=1996год.

Основний час на операцію То = 0,06хв.

. Розрахуємо допоміжний час на операцію за формулою (2.38) з [14]

 (2.11)

де Твз- час на встановлення та зняття деталі, хв [ 25с.. 76]

При встановленні деталі масою до 3 кг в патрон Твз= 0,23 хв.

Тпр - час зв”язаний з виконанням проходу, хв. [25с. 79]

Топер = 0,32хв

Тоді

. Розраховуємо оперативний час за формулою (2.39) з [14]

Топ =Тодоп= 0,06+0,55 = 0,61 хв.

. Розраховуємододатковий час за формулою (2.37) з [14]

 (2.12)

При роботі на верстатах додатковий час становить 5% від оперативного.

Тоді

. Визначаємо штучний час

 (2.13)

.Визначаємо підготовчо заключний час Тпз=17,0 хв [ 27с. 96]

Аналогічно визначаємо складові штучного часу і підготовчо-заключний час на всі інші операції технологічного процесу і результати заносимо в зведену таблицю 2.3

Таблиця 2.3

Номер і найменування операції

То,хв

Тдоп, хв

Топ, хв

ТДОД хв

Тшт,хв

Тпз, хв

005 Свердлильна

0,24

0,62

0,86

0,04

0,9

12

010 Слюсарна

0, 34

0,22

0,56

0,02

0,58

4

015 Свердлильна

0,09

0,62

0,71

0,03

0,74

12

020 Слюсарна

0,53

0,31

0,84

0,04

0,88

4

025 Свердлильна

0,07

0,62

0,71

0,03

0,74

12

030 Свердлильна

0,03

0,62

0,65

0,03

0,68

12

035 Свердлильна

0,08

0,62

0,7

0,3

0,73

12

040 Токарна

0,06

0,55

0,61

0,03

0,64

17

045 Шліфувальна

1,27

0,83

2,1

0,1

2,2

21

050 Слюсарна

0,65

0,31

0,96

0,04

1,0

4

055 Шліфувальна

1,11

0,83

1,94

0,09

2,03

21


5.Розраховуємо такт випуску деталі за формулою (2.36) з [14]

 (2.14)

.Розраховуємо середній штучний час за формулою (2.43) з [14]

 (2.15)

. Визначаемо коефіцієнт серійності за формулою (2.41) з [14]

 (2.16)

Приймаємо виробництво дрібносерійне [ 14 табл.2.22]

. Визначаємо кількість деталей у партії n за формулою (2.40) з [14]

 (2.17)

В залежності від типу виробництва приймаємо коєфіцієнт k=0,14 , який враховує втрату часу на аідготовчо-заключні роботи.

. Розраховуємо штучно-калькуляційний час Тшк на операцію 040за формулою (2.35) з [14]

 (2.18)

. Розрахуємо штучно- калькуляційний час Тшк на всі інші операції техологічного процесу за формулою (2.35) з [14] і результати заносимо в зведену таблицю 2.4

Таблиця 2.4

Номер і найменування операції

Тшт, хв

Тшк, хв

005 Свердлильна

0,9

1,04

010 Слюсарна

0,58

0,62

015 Свердлильна

0,74

0,88

020 Слюсарна

0,88

0,92

025 Свердлильна

0,74

0,88

030 Свердлильна

0,68

0,82

035 Свердлильна

0,73

0,87

040 Токарна

0,64

0,84

045 Шліфувальна

2,2

2,45

050 Слюсарна

1,0

1,04

055 Шліфувальна

2,03

2,28

корпус дефект різання

3. Конструкторський розділ

В конструкторському розділі представлено патрон для розверток, який дає незначне радіальне зміщення інструменту.

Рис 3.1 Схема патрону для встановлення розверток

Патрон має втулку , яка сама встановлюється та забезпечує радіальне зміщення до0,8 мм. Зміщення забезпечується коливанням буртика втулки 6 по кулькам 2. Крутний момент передається від корпусу 7 крізь штифти 5 та ролики 3 на поводок 8 і крізь нього та штифт из роликами на втулку.

Гайка 4 забезпечує регулювання зазорів в осьовому напрямку.

Шайба 1 зихищає патрон від забруднення.

4. Охорона праці та навколишнього середовища

Завдання охорони праці - забезпечення безпечних, нешкідливих і сприятливих умов праці через вирішення багатьох складних завдань. Вирішальне значення в розв'язанні цих завдань має науково-технічний прогрес. Використання досягнень науки та техніки сприяє підвищенню рівня безпеки праці, культури та організації виробництва, дозволяє полегшити працю, підсилити її привабливість.

Рівень безпеки людини з розвитком цивілізації постійно зростає. Розвиток науки і техніки, в цілому збільшуючи безпеку життєдіяльності людини, призвів до появи цілого ряду нових проблем.

Науковий аналіз виробничих травм доводить, що вони виникають головним чином внаслідок втрати міцності та надійності робочої техніки, небезпечного стану системи "людина-машина-середовище" та ряду технічних факторів. До технічних факторів відносять насамперед надійність техніки (конструктивні недоліки, технологічні та експлуатаційні порушення, руйнування деталей машин під дією корозії та корозійного розтріскування), організацію управління охороною праці (документація, правові норми, стандарти безпеки праці, методи навчання тощо), санітарно-гігієнічні умови в приміщеннях та на робочих місцях (шкідливі речовини в робочій зоні, виробниче освітлення, шум, вібрація, іонізуюче, електромагнітне, ультрафіолетове, лазерне випромінювання тощо).

Для вирішення цієї проблематики використовують досягнення науки і техніки, які прямо чи опосередковано забезпечують охорону праці, а також соціологію, право та економіку, технічну естетику, ергономіку, інженерну і соціальну психологію, фізіологію. Ці дисципліни входять в комплекс наук, які вивчають людину в процесі трудової діяльності.

Техніка, технологія та організація виробництва поки що не відносяться до розряду абсолютно безпечних факторів навколишнього середовища. Такими вони, ймовірно, не стануть і в найближчому майбутньому. Це пояснюється, перш за все, встановленим рівнем їх розвитку та труднощами їх перспективного будівництва, застосуванням значного обсягу ручної праці.

Керівник (власник) підприємства повинен періодично організовувати за узгодженням з санітарно-епідеміологічними станціями проведення вимірювань параметрів шуму, вібрації, освітлення, загазованості, запиленості у виробничих приміщеннях. Результати вимірів повинні заноситись до санітарно-технічних паспортів цехів та підприємства, карти робочих місць.

1.  Температура, відносна вологість та швидкість руху повітря в робочій зоні виробничих приміщень повинні відповідати вимогам ГОСТ 12.1.005- 88 ССБТ. Воздух рабочей зоны. Общие санитарно- гигиенические требования".

Тому:

·   Температура повітря - 18-22 С

·        вологість повітря при температурі 18-22 С - 60…..59%

·        швидкість руху повітря - не більш 1,0…1,5 м/с

Рівні виробничого шуму не повинні перевищувати значень, встановлених СН 32.23-85 “Санітарні норми допустимого шуму на робочих місцях".

2.  Існуючими джерелами шуму є всі операції механічної обробки. Тому на цих операціях необхідно витримувати рівень вібрації технологічного обладнання у частотному діапазоні 2-16 Гц повинен бути не більш 92…..108 дБ

Вимоги безпеки при роботі на свердлильних верстатах

.Загальні вимоги

1.  Свердлувальник, якого приймають на роботу, повинен пройти вступний інструктаж з охорони праці, виробничої санітарії, пожежної безпеки, а потім через кожні 3 місяці повторний інструктаж. Результати інструктажу заносяться в « Журнал реєстрації інструктажів з питань охорони праці». У журналі після проходження інструктажу повинен бути підпис особи, що інструктує, та робітника.

2.      За невиконання даної інстукції робітник несе дисціплінару, матеріальну, адміністративну і кримінальну відповідальність.

.        До роботи на розточних верстатах допускаються особи, що досягли 18- річного віку, визначені придатними для даної роботи медичною комісією, пройшли спеціальне навчання з безиечних методів і прийомів ведення робіт та мають кваліфікаціїйну группу з електробезпеки на нижче ІІ.

.        Свердлувальник повинен:

·   Виконувати правила внутрішнього трудового розпорядку

·        Утримувати своє робоче місце у чистоті і порядку

·        Користуватися спецодягом і засобами індивідуального захисту

·        Уміти надати першу медичну допомогу при несчасних випадках

·        Уміти користуватися первинними засобами пожежегасіння

5.  Основні шкидливі фактории, що можуть діяти на робітника:

·   Захаращеність робочого місця

·        Обертові частини верстата та деталі

·        Деталі. Щи вилитають, стружка а токож інструмент

·        Підвищена температура деталей та інструменту

·        Ураження електричним струмом

·        Підвищення шуму та вібрації

6.  На кожному робочому місці біля верстата на підлозі повинні бути дереяні трапи на всю довжину робочої зони і шириною не менше 0,6 м від виступаючих частин верстата.

7.      верстати повинні приводитися в дію і осслуговуватись тільки тими особами, які за ними закріплені

.        ремонт верстатів повинен виконуватись призначеними особами

.        біля кожного верстата повинна бути вивішена табличка

. Вимоги безпеки до початку роботи

. До початку роботи свердлувальник зобов'язаний надягти відповідний спецодяг, застебнути обшлага рукавів на всі ґудзики одягу, цілком підібрати волосся під головний убір (кепку, косинку).

Забороняється вдягатися і роздягатися поблизу працюючого верстата, а також класти одяг на верстат і зберігати її поблизу механізмів чи електричних приладів.

. Прийняти верстат від змінника.

. Для більш зручного користування розкласти на тумбочці чи столі в строгому порядку інструмент, пристосування і деталі.

. Забрати з верстата усе, що заважає в роботі.

. Перевірити справність верстата і допоміжних пристосувань, тобто:

а) справність і кріплення огороджень;

б) справність застосовуваного в роботі інструмента;

в) справність пристосувань для кріплення деталі й інструмента;

г) перевірити стан приводних ременів, правильність зшивки і наявність наведень;

д) переконатися в справності пускових і реверсивних пристроїв, фіксаторів і рукояток керування верстатом, з метою попередження само вимикань верстата і довільної зупинки його в процесі роботи;

е) перевірити на «неодруженому ході справність верстата і піднімальних пристосувань на ньому.

. Перевірити наявність і справність запобіжних пристроїв (огороджень) на верстаті. (Робити роботу на верстаті без запобіжних окулярів, пристроїв і огороджень забороняється).

. Весь несправний і негідний інструмент, що вимагається для роботи, замінити справним.

. Забезпечити достатнє змащення верстата. Для змащення верстата користатися тільки відповідними пристосуваннями.

. Перевірити, щоб підлога біля робочого місця була чистою, сухою, справною і не захаращеною.

. Через електромонтера перевірити справність электропристрою, заземлення і висвітлення робочого місця.

. Вимагати систематичних перевірок стану заземлення й ізоляції проводів на ділянці роботи.

. Знати правила подачі першої допомоги при поразці струмом.

. Про всі замічені несправності і недоліки у верстатах, запобіжних пристроях і огородженнях робітник зобов'язаний повідомити майстру і до усунення недоліків і без указівки майстра роботу на верстаті не робити.

.Вимоги безпеки під час роботи

. Держати робоче місце в чистоті і порядку, вчасно очищати його від масла, емульсії і т.п., не захаращувати проходів, акуратно укладати матеріали, напівфабрикати і вироби в спец тару чи штабелі.

. Усі легковагі деталі свердлити на верстаті тільки після попереднього закріплення їх у спеціальні затискні пристосування.

. Свердління тонких планок, смуг і інших подібних деталей робити тільки з обов'язковим застосуванням упорів.

Для закріплення деталей застосовувати тільки справні кондуктора, лещата й ін. пристосування.

Утримувати деталь руками при свердлінні забороняється.

. При ослабленні кріплення деталі на верстаті під час його роботи тримати рукою чи прагнути робити її закріплення на ходу верстата забороняється.

. При установці деталі на верстаті необхідно стежити, щоб були вилучені задирки, що при знятті й укладанні деталі можуть привести до ушкодження рук і падінню деталі через неміцне кріплення чи хиткого положення.

.. При закріпленні деталі на верстаті свердлувальник повинний пам'ятати про наступні основниі правила:

а) число упорів і прихватів повинне бути не менш двох;

б) упори розміщаються на однаковій відстані один від іншого і повинні знаходитися нижче виробу;

в) не можна підкладати під виріб які-небудь випадкові підкладки, болти і т.п.;

г) кріпильні болти розміщати якнайближче до деталі;

необхідно також, щоб притискні колодки лягли безпосередньо на виріб під прямим кутом;

д) стежити за якістю різьблення кріпильних болтів, за справністю прихватів.

. При роботі користатися тільки справним різальним інструментом (свердлом, розгорткою і.т.п), що має правильне заточення і мірний хвостовик.

Користатися свердлом, у якого зношена поверхня конусної частини свердла, забороняється.

. Для уникнення поломки гайкоріза при нарізці різьблень необхідно користуватися безпечними патронами.

. Застосовувати для свердління патрони і перехідні втулки без вибоїв і задирок із гладкими поверхнями.

Застосовувати патрони, що мають виступаючі частини (гайки, гвинти і т. д), забороняється.

. Необхідно установлювати свердла у шпиндель точно і щільно - свердла не повинні «бити».

Звертати особливу увагу на щільну посадку (без підкладок) свердла при користуванні перехідними втулками.

При цьому підтримувати свердла знизу забороняється.

. При свердлінні не слід низько нахиляти голову до місця свердління щоб уникнути захоплення свердлом волосся, косинки .

. Підводити інструмент до оброблюваного виробу поступово

. При ручній подачі свердла і при свердлінні свердлами дрібних діаметрів, а також при свердлінні на прохід не натискати сильно на важіль.

При автоматичній подачі не допускати її вище норм, передбачених техпроцессом.

. Не допускається перевірка правильності отворів пальцями при виході свердла.

. При зміні інструмента, що ріже, опустити шпиндель верстата до столу.

. Вибивку свердла робити клином при повній зупинці шпинделя.

. При заїданні інструмента, що ріже, (свердла, розгортки і т. п.) зупинити верстат.

. Користатися тільки справними гайковими ключами і стежити, щоб зев ключа строго відповідав розмірам голівки чи болта гайки.

Користатися ключем, що не збігається по розмірах гайок і болтів, зі зношеними гранями, а також закладати прокладку в зев ключа, бити молотком по ключі і нарощувати ключ чи ключем газовою трубкою забороняється.

. При свердлінні глибоких отворів необхідно періодично видаляти стружку з отвору, якщо відсутнє пристосування для безупинного видалення.

. Стружку треба вчасно видаляти спеціальним гачком чи іншими наявними пристосуваннями.

Здувати стружку ротом і забирати її безпосередньо руками забороняється.

. При роботі на радіально-свердлильному верстаті необхідно:

а) ретельно стежити за міцним закріпленням хобота;

б) стежити за справністю і міцністю кріплення противаг;

в) установити траверзу з уставленим свердлом у положення свердління, закріпити її за допомогою наявних рукояток;

г) після закінчення свердління траверзу зі свердлом відвести в безпечне положення для зняття деталі з верстата.

. Перед кожним включенням верстата переконатися попередньо в тім, що пуск його нікому не загрожує небезпекою.

. Перед зупинкою верстата необхідно відвести інструмент (свердло і т.п.) від деталі.

. Обов'язково зупиняти верстат (виключати мотор) потрібно в наступних випадках:

а) при відході від верстата навіть на короткий час (якщо не доручено працювати на двох верстатах);

б) при тимчасовому припиненні роботи;

в) при перервах у подачі електроенергії;

г) для збирання, змащення, чищення, налагодження верстата;

д) під час ремонту верстата, установки, регулювання і зміни інструмента й оброблюваних виробів;

е) для підтягування болтів, гайок, клинів і інших з'єднань;

ж) для регулювання затискних пристосувань верстата (кріпильних болтів, лещат і т.п.);

з) для виміру оброблюваних деталей, якщо не встановлені спеціальні міряльні пристосування, що дозволяють визначити розмір деталі на ходу; -

і) для установки і зняття деталей і пристосування;

к) для перевірки чистоти обробки;

л) для видалення стружки, що потрапила в лещата, кондуктор, плиту і т.д.

. Забороняється під час роботи знімати, а також тримати відкритими огородження і запобіжні пристрої. Варто негайно закривати огородження після огляду, ремонту, чищення, змащення і налагодження верстата.

. Остерігатися обертових не обгороджених частин верстата й інструмента, не торкатися їх руками під час роботи верстата, не застосовувати для охолодження свердла змоченої ганчірочки, не опиратися на верстат, не класти на нього інструмент, заготівки, вироби, не очищати і не торкатися руками оброблюваного виробу на ходу верстата.

. Обслуговування великих верстатів варто робити за допомогою безпечних приставних сход, якщо вони не обладнані спеціальними площадками.

Ставати на частині верстата забороняється.

. При обробці важких виробів необхідно користатися піднімальними пристосуваннями (краном, талью і т.п.).

. Установлюючи деталь на стіл верстата, чи знімаючи її краном зі столу верстата, перевіряти чалочні пристосування (ланцюга, троси, канати) і надійність підв'язування їх, якщо немає для цієї мети спеціальних робітників (такелажників).

. Звертати увагу на подавані сигнали з кранів і т.д.

. Брати і подавати що-небудь через верстат під час його роботи забороняється.

. Для подачі емульсії необхідно користатися тільки насосом і стежити за його справністю. Струмінь охолодної рідини варто підводити і закріплювати насадку при зупиненому шпинделі.

. Остерігатися влучення масла, чи емульсії, іншій мастильно-охолоджувальної рідині на обличчя чи руки, тому що наявність навіть дрібних подряпин може викликати захворювання шкіри.

. Перехід для роботи на інші верстати чи передача роботи іншим робітником може виконуватися тільки з дозволу майстра.

. Не передоручати свій працюючий верстат іншому робітнику.

. Не можна відкривати, а також торкатися тілом і неізольованими предметами електропристроїв і електроустаткування, користатися яким не доручено працюючому і призначення яких невідомо.

. Користатися рубильниками, вимикачами, пусковими кнопками і штепсельними розетками в тому випадку, якщо це ставиться в обов'язок і тільки після одержання відповідного інструктажу про міри безпеки при виконанні цих операцій.

. Не працювати поблизу відкритих струмоведучих частин без попереднього їнструктажу, хоча б тимчасових огороджень від випадкового дотику до них.

. Домагатися виправлення ушкоджень і без указівки майстра не продовжувати роботи на верстаті.

. Не можна допускати перегрівання електричних моторів і апаратів; при сильному нагріванні електроапаратури чи мотора негайно викликати чергового електромонтера.

. Не захаращувати підступи до електричних пристроїв і не відкривати їх.

. Вимоги безпеки після закінчерря роботи

. Закінчивши роботу, необхідно зупинити верстат (виключити мотор), вивести інструмент і оброблювану деталь з робочого положення

. Упорядкувати своє робоче місце.

. Забрати інструмент і пристосування, здати чи акуратно скласти деталі.

. Змазати тертьові частини верстата.

. Передати верстат зміннику, а змінник зобов'язаний прийняти верстат у чистоті і справності.

. Про всі несправності, замічених у процесі роботи, повідомити зміннику і майстру.

5.Вимоги безпеки в аварійних ситуаціях

1.            Негайно зупинити верстат, відключити електроенергію, огородити небезпечну зону, не допускати сторонніх осіб у небезпечну зону.

2.      Повідомити про випадок керівнику робіт.

.        Надання першої медичноі допомоги:

·   негайно звільнити потерпілого, відключивши електрозварювальний апарат від джерела струму - відтягнути його від струмоведучих частин за одяг або застосувати підручний ізаляційниц матеріал

·   при відсутності у постраждалого диханнч та пульсу необхідно зробити штучне дихання і непрямий масаж серця, звернувши увагу на зіниці. Розширені зіниці свідчять про різке погіршення кровообігу мозку. При такому стані оживлення починати необхідно негайно, після чого викликати швидку медичну допомогу.

·        надання першої медичної допомоги при пораненні починати з накладання перев´язочного матеріалу з індивідуального пакету. При переломах і вивіхах кінцівок їх необхідно укріпити шиною, фанерою, пластикою палицею або іншим подібним інструментом. При переломі черепа ( несвідомий стан ,кровотеча з вух або роту) необхідно прикласти до голови холодний предмат або зробити холодну примочку. При переломі хребта необхідно постраждалогопокласти на дошку, не підіймаючийого, чи повернутина живіт обличчям у низ, наглядаючи при цьму, щоб тулуб не перегинався.

·        При опіках вогнем , парою, гарячими предметами, ні в якому разі не можна відкривати пузирі та перев´язувати опіки бінтом. При опіках І ступеня (почервоніння) обпечене місце обробляють ватою змоченою етиловим спиртом. При опіках ІІ ступеня (пухирі ) обпечене місце обробляють спиртом або 3% марганцевим розчином. При опіках ІІІ ступеня (зруйнування шкіряної тканини) накривають рану стерильною пов´язкою та викликають лікаря.

·        Для того щоб зупинити кровотечу необхідно: підняти кінцівку вверх,рану закрити перев´язочним матеріалом складеним у клубок, придавити його з верху, не токаючись рани, проотягом 4-5 звилин. Якщо кровотеча зупинилась, не знімаючи накладеного матеріалу,наложити ще одну і забінтувати поранене місце

·        У випадку сильної кровотечі застосовується здавлення кровоносних судин пов´язкою пальцями, джгутом.

4. Якщо відбулася пожежа, необхідно викликати пожежну частину і приступити до гасіння пожежі наявними засобами пожежегасіння.

Література

1. Анурьев В.И. Справочник конструктора-машиностроителя, Т. 1. М.: Машиностроение, 1979, 728 с.

. Белоусов А.П. Проектирование станочных приспособлений. М.: Высшая школа, 1980,230 с.

. Горбацевич А.Ф. и др. Курсовое проектирование по технологии машиностроения, Минск: Вышейна школа, 1975, 288 с.

. Горошкин А.К. Приспособления для металлорежущих станков. Справочник. М.: Машиностроение, 1979, 304 с.

. Дехтеринский В. Капитальный ремонт автомобилей. Справочник. М.: Транспорт, 1989, 335 с.

. Добрыднев И.С. Курсовое проектирование по предмету "Технология машиностроения", М.: Машиностроение, 1985, 184 с.

7. Канарчук В.С, Чигиринець А.Д., Голяк О.Л., Шоцький П.М. Технологія та обладнання для відновлення автомобільних деталей. К.: Інститут системних досліджень осв1ти Украши, 1993.

. Карагодин В.И., Митрохин Н.Н. Ремонт автомобилей и двигателей. М: "Министерство", 2001.

. Клебанов Б.В., Кузьмин В.Г., Маслов В.И. Ремонт автомобилей. М.: Транспорт, 1974. 328 с.

. Корсаков В.С. Основы конструирования приспособлений. М.: Машиностроения, 1983, 278 с.

. Котевич О.Д., Копелян О.В. Методичний посібник на допомогу студентам денного та заочного відділення при виконанні розділу "Охорона пращ та навколишнього середовища" дипломного проекту, ЧРМТ, 2004

. Кузнецов Ю.И. Конструкции приспособлений для станков с ЧПУ. М.: Высшая школа. 1988. 304 с.

13. Маляров В.Б. Методичні вказівки "Вимоги до оформления курсового та дипломного проекту з предмету ТЕА". ЧРМТ, 2002, 23 с.

. Раємська О.Ю. Навчально-методичний посібник для курсового проектування з предмету „Основи технології ремонту автомобілів ”, ЧРМТ,2008

15. Румянцев СИ., Боднев А.Г., Бойко Н.Г. и др. Ремонт автомобилей. М.: Транспорт, 1988. 328 с.

Сварочное оборудование. Каталог-справочник. 4.4. Киев: Наукова думка 1981.467 с.

. Сварочное оборудование. Каталог-справочник. 4.7. Киев: Наукова думка 1985.467 с.

. Справочник технолога-машиностроителя. В 2-х томах. Под ред. Косиловой А.Г. и Мещерякова Р.К. М.: Машиностроение, 1985, 656 с.,496 с.

. Справочник технолога авторемонтного производства / под ред. Г.А.Малышева. М.: Транспорт, 1977

19. Нефёдов Н.А., Осипов К.А. Сборник задач и примеров по резанью металлов и режущему инструменту. М.: Машиностроение, 1990, 446 с.

. Номенклатурный каталог. Металлорежущие станки. М: 1986

. Общемашиностроительные нормативы времени вспомогательного, на обслуживание рабочего места и подготовительно-заключительного на работы, выполняемые на металлорежущих станках. Среднесерийное и крупносерийное производство. М.: НИИ труда, 1984.

. Общемашиностроительные нормативы вспомогательного времени на термическую обработку металла в печах, ваннах и установках ТВЧ, М.: Экономика. 1988, 88 с.

. Общемашиностроительные укрупненные нормативы времени на работы, выполняемые на металлорежущих станках (единичное, мелкосерийное и среднесерийное производство). Ч 1-6. М.: НИИ труда, 1986-1988.

. Общемашиностроительные нормативы режимов резанья для технического нормирования работ на металлорежущих станках. Часть 1. М.: Машиностроение, 1974, 416 с.

. Общемашиностроительные нормативы режимов резанья для технического нормирования работ на металлорежущих станках. Ч. 2. М.: Машиностроение, 1974, 200 с.

. Общемашиностроительные нормативы режимов резанья для технического нормирования работ на металлорежущих станках. Ч. 3. М.: ЦБНТНИИ труда, 1978,360 с.

. Общесоюзный классификатор. Промышленная и сельскохозяйственная продукция. Классификационная часть. Киев: республиканский информационно-вычислительный центр Украинского республиканского управления Госстандарта, 1985

28. Общетехнический справ очник. Под ред .А. Скороходова.М.:Транспорт 1990 512с.

Похожие работы на - Засіб відновлення деталі 'Корпус перервника-розподілювача' автомобіля ГАЗ

 

Не нашли материал для своей работы?
Поможем написать уникальную работу
Без плагиата!
Без нейросетей!