Исследование критерия устойчивости гидравлического привода
1.Системы автоматического
регулирования
автоматический устойчивость привод
Необходимым условием
работоспособности системы автоматического регулирования является ее
устойчивость.
Под устойчивостью понимается
способность системы восстанавливать состояние равновесия, из которого она была
выведена под влиянием возмущающих факторов после прекращения действия этих
факторов . Если система не способна возвращаться в состояние равновесия,
которое было нарушено в процессе работы, для практического использования она не
пригодна. Кроме того, анализ устойчивости системы позволяет определять
параметры ее настройки.
На практике для определения
устойчивости системы автоматического регулирования используют критерии
устойчивости, т.е. правила, с помощью которых можно определить, устойчива
система или нет, не прибегая к решению дифференциальных уравнений.
Например, для устойчивости линейных
непрерывных систем первого и второго порядка необходимо и достаточно, чтобы все
коэффициенты характеристического уравнения были одного знака. Критерии
устойчивости подразделяются на алгебраические (критерии Раусса, Гурвица.
Вышнеградского) и частотные (критерии Найкви-ста, Михайлова, логарифмический
частотный критерий).
Алгебраические критерии весьма
просты для исследования систем, процессы в которых описываются уравнениями
относительно невысокого порядка. Однако уже для уравнений пятого порядка и выше
применение алгебраических критериев становится затруднительным. Сложности еще
больше 'возрастают, если требуется установить влияние какого-либо параметра СЛР
на устойчивость процесса. В подобных случаях более удобным является
исследование устойчивости частотными критериями, которые обладают большей
наглядностью.
Кроме того, критерии позволяют
установить причину неустойчивости и наметить пути и средства достижения
устойчивости системы. Если найти соотношения между коэффициентами
дифференциального уравнения системы, при которых вещественная часть корней
характеристического уравнения меняет знак с минуса на плюс, то тем самым будет
сформулировано условие Перехода процесса регулирования от устойчивого к
неустойчивому режиму, а при обратном изменении знака, наоборот, от
неустойчивого к устойчивому режиму.
На рис. 1 приведена диаграмма
Вишнеградского характеризующая нормированное характеристическое уравнение
системы третьего порядка

(1)
где ω0-
среднее геометрическое значение модулей корней.
Графическое изображение
условий устойчивости можно представить в координатах.Y,
Y. Изображение в укачанных кооринатах двух; областей устойчивости
(колебательной и апериодической) и области неустойчивости получило название
диаграммы Вышнеградского. Критерий Вышнеградского и его графическое изображение
в виде диаграммы позволяют, не решая дифференциального уравнения третьего
порядка, судить о характере переходных режимов. Кроме того, диаграмма позволяет
наглядно видеть влияние параметров системы на ее динамические свойства.
Область устойчивости расположена
справа от кривой АВ. В нее входят три зоны I, II, III (см. рис. 1), которые
соответствуют качественно различному расположению характеристических корней.
Зона IV определяет неустойчивую систему. Описание гидравлического
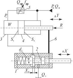
следящего привода и разработка линейной математической модели. Схема гидравлического
следящего привода приведена на рис. 1
Рис. 1
Работа этого привода обеспечивается
двумя сопротивлениями: постоянным, при фиксированной настройке дросселя 5, и
переменным, образованным кромкой золотника 2 дросселирующего
распределителя и кольцевой расточкой во втулке 1, а также дифференциальным
гидроцилиндром 3. Шток поршня 4 жестко связан с втулкой
1дросселирующего распределителя тягой 6, что обеспечивает единичную
отрицательную обратную связь по положению. Масло от насоса подается в замкнутую
штоковую полость цилиндра 3 и через дроссель 5 в бесштоковую полость, из
которой жидкость через дросселирующий распределитель проходит на слив в бак.
При отсутствии внешнего управляющего
сигнала X на золотник 2 поршень 4 цилиндра 3 находится в
равновесии. Такому состоянию привода соответствует линейный зазор Хо
между кромкой золотника 2 распределителя и кольцевой расточкой во втулке
1.
При смeщeнии золотника 2 дросселирующего
распределителя относительно начального положения, например, влево, по схеме на
величину ДХ на такую же величину изменится линейный зазор между кромкой
золотника 2 и расточкой во втулке 1. Увеличение проходного сечения в
дросселирующем распределителе приведет к увеличению расхода из бесштоковой
полости цилиндра 3, а следовательно, к уменьшению давления Р1. Равновесие
сил на поршне;с 4 нарушится, и он начнет перемещаться влево. Движение
поршня 4 через его шток и тягу 6 передается втулке 1, которая,
смещаясь уменьшает линейный зазор до его начального значения Хо. Начальное
положение привода восстанавливается.
Аналогично работает привод при
смещении золотника 2 вправо. При этом зазор Хо уменьшается, что приводит
к уменьшению слива масла, росту давления Р1, перемещению поршня 4 и
связанной с ним втулки вправо до восстановления начального положения привода.
Особенностью системы является
использование:
- дифференциального поршня: S1 = 2 х S2,
где S1, S2 - площади поршня в бесштоковой и штоковой полостях цилиндра;
~ однокромочного следящего
распределителя;
- постоянного дросселя между
полостями цилиндра.
Нагрузка R осуществляется нагрузочным
цилиндром и предполагается постоянной. Единичная отрицательная обратная связь
реализуется жесткой связью между поршнем и корпусом следящего распределителя.
Математическая модель представляется
системой дифференциальных уравнений, описывающих равновесие поршня и равенство
расходов:
, (2)
(3)
где m - масса поршня и подвижных элементов;
ξ
- коэффициент демпфирования;
r - жесткость связей;
R - величина нагрузки;
Р1 - давление в бесштоковой полости;
PH - давление на входе дросселя и в штоковой полости.
Расход жидкости через постоянный
дроссель описывается уравнением
где μ-
коэффициент расхода; - площадь дросселя; ρ
- плотность рабочей жидкости.
Расход через следящий
распределитель определяется из выражения
где d1 - диаметр следящего распределителя; X0 - величина начального зазора в следящем распределителе при R = 0.
Изменение расхода за счет
сжимаемости жидкости и деформации трубопроводов находят из уравнения
где W -
объем жидкости в трубопроводах и рабочей полости гидроцилиндра; Е- приведенный
модуль упругости рабочей жидкости, стенок цилиндра и трубопроводов.
При выводе уравнений сделаны
следующие допущения:
- в системе отсутствуют утечки;
- потери давления в трубопроводах
пренебрежительно малы и могут не учитываться;
- волновые процессы в трубопроводах
из-за их малости и небольшой протяженности не учитываются.
Линеаризованные уравнения по расходу
жидкости через дроссель и распределитель получены из условия линейности системы
в состоянии, близком к равновесному.
Таким образом,
линеаризованная система уравнений, записанная через элементарные приращения
имеет вид
(4)
где P10- давление в бесштоковой
полости поршня в установившемся режиме.
Для установившегося режима, когда Рн
= 2Р10 и QДР = Q3, уравнение преобразуется к виду
(6)
Исключая из уравнений
(4) и (6) параметр
,
получаем результирующее уравнение исследуемой системы относительно входных
и
выходных
величин.
(7)
где 
- коэффициент усиления
системы.
Следовательно, передаточная функция
разомкнутой линеаризованной системы в операторной форме при нулевых начальных
условиях имеет вид

(8)
Если система охвачена единичной отрицательной
обратной связью, ее передаточная функция описывается выражением
2. Исследование устойчивости
следящего гидравлического привода
|
Наименование
параметра
|
|
m, кг
|
WX10-4×M3
|
r×105, H/M
|
E×107,
Н/м2
|
ρ,
кг/м3
|
ξ×103,
кг/с
|
M
|
d1×M
|
S1×10-4 м2
|
P10, MПа×106
|
|
12,6
|
120
|
2,0
|
1,5
|
900
|
0,3
|
0,7
|
0,01
|
24
|
0,5
|
X= 0,46
Y= 5,2
Рис. 2
Так как точка с координатами x=0,46 y=5,2
находятся в I зоне на
диаграмме Вышнеградского, таким образом, система является устойчивой.
Список литературы
1. Егоров К.В. “ основы теории
автоматического регулирования”. Учебное пособие для вузов. М.Э.
. Белкерский В.А., Попов Е.П.
“Теория систем автоматического регулирования”. Москва. Наука.
. Михеев Ю.Е., Сосомкин В.Л.
“Система автоматического управления станком”. Мск. Машиностроение.