Воздушная система кондиционирования самолета RRJ-95B
МИНИСТЕРСТВО ТРАНСПОРТА РОССИЙСКОЙ
ФЕДЕРАЦИИ (МИНТРАНС РОССИИ)
ФЕДЕРАЛЬНОЕ АГЕНТСТВО ВОЗДУШНОГО
ТРАНСПОРТА
(РОСАВИАЦИЯ)
ФЕДЕРАЛЬНОЕ ГОСУДАРСТВЕННОЕ БЮДЖЕТНОЕ
ОБРАЗОВАТЕЛЬНОЕ УЧРЕЖДЕНИЕ
ВЫСШЕГО ПРОФЕССИОНАЛЬНОГО ОБРАЗОВАНИЯ
"САНКТ-ПЕТЕРБУРГСКИЙ ГОСУДАРСТВЕННЫЙ
УНИВЕРСИТЕТ ГРАЖДАНСКОЙ АВИАЦИИ"
Самостоятельная работа по дисциплине:
Конструкция и техническое
обслуживание летательных аппаратов
На тему:
"Воздушная система
кондиционирования самолета RRJ-95B"
Выполнил: студент 801 группы
Факультета АИТОП
Казанцев Р.Е.
Проверил: Шнейдер С.Я.
Санкт-Петербург
Содержание
1. Система кондиционирования воздуха
1.1 Общие сведения
1.2 Описание системы
2. Распределение
2.1 Описание системы
2.2 Органы управления и индикация
3. Система подачи и рециркуляции воздуха
3.1 Общие сведения
3.2 Описание системы
3.3 Работа системы подачи и рециркуляции воздуха
4. Регулирование давления
4.1 Общие сведения
4.2 Описание системы
4.3 Работа системы регулирования давления
5. Система обогрева
5.1 Общие сведения
5.2 Работа системы обогрева воздуха
6. Система охлаждения воздуха
6.1 Общие сведения
6.2 Описание системы
6.3 Работа системы охлаждения воздуха
Используемая литература
1. Система
кондиционирования воздуха
1.1 Общие
сведения
Система кондиционирования воздуха (СКВ) является частью
комплексной системы кондиционирования воздуха (КСКВ), в состав которой также
входят пневматическая система (ПС) и противообледенительная система (ПОС)
крыла.
СКВ предназначена для:
обеспечения нормальных условий жизнедеятельности пассажиров и
экипажа,
кондиционирования кабины и салона во всем диапазоне режимов
полета (при полетах в различных климатических условиях).
охлаждения радиоэлектронного оборудования во всем диапазоне
режимов полета (при полетах в различных климатических условиях).
Условно СКВ представлена двумя системами кондиционирования:
СКВ1 и СКВ2. Управление СКВ автоматическое и осуществляется двумя блоками
управления КСКВ (IASC1 и IASC2). СКВ1 и СКВ2 управляется независимо от
соответствующего блока управления. При отказе одного из блоков управления
функции отказавшего переходят ко второму. В случае неисправности обоих блоков
управления КСКВ СКВ управляется в ручном режиме.
Состояние работоспособности СКВ производится:
контролем при подаче питания,
при непрерывном полетном контроле.
Контроль работоспособности системы производится по данным,
полученным от датчиков температуры и давления и от заслонок и клапанов.
Основные технические характеристики системы:
объем гермокабины - 150 mі,
расход воздуха - 2500 kg/h (625 ib/s),
давление в гермокабине - 14.2 psi (980 hPa),
температура подаваемого воздуха - от 3 до 85°С (от 58 до
141°F),
пределы регулирования температуры в салоне от 17 до 30°С (от
63 до 86°F),
максимальное время непрерывной работы системы - 20 h,
скорость изменения температуры в салоне и кабине - не более
3°С /min.
1.2 Описание
системы
. Перечень подсистем.
Система кондиционирования воздуха состоит из следующих
подсистем:
распределения воздуха;
регулирования давления;
обогрева;
охлаждения;
регулирования температуры.
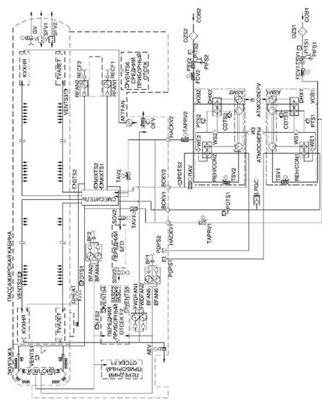
. Функциональная структура скв (см. рис.1)
. Описание функций
.1 система распределения воздуха
система распределения воздуха обеспечивает подачу
подготовленного воздуха в гермокабину, а так же вентиляцию бго.
.2 система регулирования давления система регулирования давления
предназначена для поддержания необходимого давления воздуха в гермокабине.
.3 система обогрева система обогрева обеспечивает подогрев
воздуха, подаваемого на кухню.
.4 система охлаждения система охлаждения регулирует расход
горячего воздуха, поступающего из пневматической системы, уменьшает его
температуру и поставляет в систему распределения.
в кабине экипажа,
в переднем салоне пассажирской кабины,
в заднем салоне пассажирской кабины.
воздушная система кондиционирование самолет
Рис. 1. Функциональная структура СКВ [1]
2.
Распределение
2.1 Описание
системы
Система распределения обеспечивает подачу кондиционированного
воздуха в гермокабину.
. Перечень подсистем
Система распределения воздуха включает следующие подсистемы:
подачи и рециркуляции воздуха;
вентиляции блоков авионики;
вентиляции багажно-грузовых отсеков;
. Функциональная структура
(См. рис. 2)
. Описание функций
Система подачи и рециркуляции воздуха обеспечивает подачу и
распределение воздуха в кабине экипажа, пассажирском салоне, в районе кухонь и
туалетов, а также его рециркуляцию.
Система вентиляции блоков авионики обеспечивает поддержание
требуемых температурных условий для работы блоков авионики.
Система вентиляции багажно-грузовых отсеков (БГО)
обеспечивает вентиляцию воздуха в переднем БГО, а также его изоляцию в случае
обнаружения задымления.
2.2 Органы
управления и индикация
. Потолочный пульт (См. рис. 3)
На пульте управления AIR с помощью кнопочного переключателя
RECIRC производится управление работой вентиляторов системы рециркуляции.
Положения кнопочного переключателя RECIRC:
кнопка нажата: вентиляторы включены,
кнопка отжата, горит надпись OFF: вентиляторы выключены,
кнопка нажата, горит надпись FAULT: отказ системы рециркуляции.
Кнопочный переключатель R AIR AUTO - для ручного выключения
правой СКВ и СОВ. Кнопочный переключатель L AIR AUTO - для ручного выключения
левой СКВ и СОВ.
Положения кнопочных переключателей L AIR AUTO и R AIR AUTO:
кнопка нажата: автоматический режим работы СКВ и СОВ по
командам от соответствующих блоков управления КСКВ,
кнопка отжата, горит надпись OFF: СКВ и СОВ выключены,
кнопка нажата, горит надпись FAULT: отказ основного и
резервного каналов управления СКВ и СОВ.
. Внешние пульты
На пульте наземного обслуживания светосигнализатор AVNX VENT
служит для оповещения о неисправности в системе вентиляции блоков авионики.
Рис. 2. Принципиальная схема системы распределения воздуха
[1]
Рис. 3. Органы управления [1]
3. Система
подачи и рециркуляции воздуха
3.1 Общие
сведения
Система подачи и рециркуляции воздуха обеспечивает подачу
воздуха в кабину экипажа, пассажирскую кабину, кухни и туалеты, а также его
рециркуляцию.
При конфигурации СКВ без опции "Чистый воздуха в кабине
экипажа" подача воздуха от установок охлаждения СКВ и подсистемы
рециркуляции осуществляется в смесительное устройство. После смешения
обеспечивается доставка кондиционированного воздуха ко всем потребителям
(пассажирский салон, кабина экипажа).
3.2 Описание
системы
. Подача воздуха в кабину экипажа (См. рис. 4)
В смеситель подается воздух от УОВ и воздух из системы
рециркуляции (повторное использование воздуха) в соотношении соответственно 70
% и 30 %.
Воздух подается от смесителя в кабину экипажа по
трубопроводу, проходящему под полом кабины экипажа по левому борту.
Воздух в кабину экипажа подаётся так же для обдува:
командира ВС и его ног,
второго пилота и его ног,
лобовых стёкол и форточек (для предотвращения их запотевания)
инспектора.
Воздух для обдува членов экипажа подается:
сверху через жалюзи на потолочных панелях интерьера кабины
экипажа,
через насадки индивидуального обдува, установленные на
приборной доске, которые регулируются по направлению и количеству подаваемого
воздуха,
из боковых панелей к ногам.
Также имеются дополнительные подводы для подачи воздуха в
зону кресла инспектора.
Опция "Чистый воздуха в кабине экипажа"
предназначена для подачи в кабину экипажа воздуха без смешения с воздухом от
подсистемы рециркуляции. Для этого устанавливается дополнительный клапан
чистого воздуха, который обеспечивает доставку воздуха от левой установки
охлаждения в трубопровод подачи воздуха в кабину экипажа минуя смесительное
устройство.
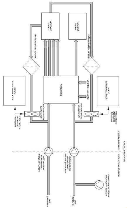
. Подача воздуха в пассажирский салон (См. рис.5)
В пассажирскую кабину подается смесь воздуха от УОВ
(см.21-52-00) и воздуха из системы рециркуляции в соотношении соответственно 70
% и 30 %.
Воздух в пассажирский салон подается с нижней поверхности
багажных полок (20% подаваемого воздуха) и через диффузоры, установленные
наверху багажных полок (80% подаваемого воздуха).
Воздух из пассажирского салона выходит в подпольное
пространство через декоративные решётки, установленные на боковых панелях
интерьера салона.
Подача воздуха в салон происходит от смесителя по
распределительному трубопроводу, расположенному под полом пассажирской кабины в
задней части переднего багажно-грузового отсека (шпангоуты 23а-24). Потоки
воздуха поступают от правой и левой УОВ, из линии подмеса и системы
рециркуляции по трубопроводам в смеситель. Смеситель является составной частью
распределительного трубопровода, в который поступают
различные потоки воздуха и выходят из него на распределение в кабину экипажа и
пассажирскую кабину (см. рис.6).
В смесителе происходит смешивание части использованного
воздуха из пассажирской кабины, из линии подмеса и воздуха поступающего из УОВ.
Повторно используемый воздух отбирается вентиляторами системы рециркуляции,
очищается фильтрами рециркуляции и направляется к смесителю.
Для уменьшения шума в пассажирском салоне, трубопроводы
изготавливаются из неметаллических материалов, а их размеры выбираются, исходя
из условий поддержания в них скорости движения воздуха 10 m/s - для
трубопроводов, расположенных выше пола кабины и 15 m/s - для трубопроводов,
расположенных под полом.
. Подача воздуха на кухни и в туалеты (См. рис.7).
Воздух на кухни и в туалеты подается вместе с воздухом для
вентиляции пассажирского салона. Выход воздуха из кухонь и туалетов
осуществляется так, чтобы предотвратить распространение запахов в пассажирском
салоне и кабине экипажа. Это обеспечивается путём забора использованного
воздуха из кухонь и туалетов в отдельный трубопровод. По этому трубопроводу
воздух при помощи вытяжных вентиляторов системы вентиляции блоков авионики
выводится за борт через выпускной клапан САРД. Это обеспечивает при любых
отказах невозможность попадания воздуха обратно в систему подачи и
рециркуляции.
. Рециркуляция воздуха.
Рециркуляции воздуха служит для уменьшения нагрузки на
систему отбора воздуха от двигателей и систему охлаждения воздуха. Рециркуляция
обеспечивает дополнительным количеством воздуха систему подачи воздуха. При
работе
системы подачи воздуха система рециркуляции отбирает часть
использованного воздуха, направляет его к смесителю, откуда воздух возвращается
в систему подачи.
Забор части использованного воздуха осуществляется с помощью
двух вентиляторов рециркуляции, затем производится его фильтрация и
направляется к смесителю.
. Подача воздуха от наземного кондиционера.
При неработающих двигателях и ВСУ подачу воздуха в
гермокабину на земле можно осуществлять от наземного кондиционера,
подсоединённого к штуцеру наземного
кондиционирования. От него воздух поступает в смеситель (см.
рис. 1, вид А) и далее по трубопроводам - к потребителям.
Рис. 4. Подача воздуха в кабину экипажа [1]
Рис. 5. Подача воздуха в пассажирский салон [1]
Рис. 6. Смеситель [1]
Рис. 7. Подача воздуха в кухни и туалеты [1]
3.3 Работа
системы подачи и рециркуляции воздуха
(См. рис. 8).
При работающих двигателях воздух от правого и левого УОВ
проходит через обратные клапаны гермоперегородки и попадает в смеситель. В
смесителе воздух от УОВ и из системы рециркуляции смешивается. Из смесителя
воздух распределяется в кабину экипажа и пассажирскую кабину. Использованный
воздух выходит в подпольное пространство.
Воздух на кухни и в туалеты подается вместе с воздухом для
вентиляции пассажирского салона и выводится за борт по отдельному трубопроводу
при помощи вытяжных вентиляторов системы вентиляции блоков авионики через
выпускной клапан САРД.
Два вентилятора рециркуляции направляют поток использованного
воздуха по трубопроводу рециркуляции к смесителю. Предварительно воздух
очищается двумя фильтрами рециркуляции. Работу вентиляторов рециркуляции
контролируют два блока управления КСКВ. При отказе одного или двух вентиляторов
рециркуляции на индикацию выдаются соответствующие сигналы. Вентиляторы
рециркуляции управляются вручную при помощи кнопочного переключателя RECIRC,
расположенного на пульте управления AIR.
При неработающих двигателях и ВСУ воздух в гермокабину можно
подавать от наземного кондиционера, подсоединяемого к самолёту через штуцер
наземного кондиционирования. От него воздух по трубопроводу поступает в
смеситель и далее по трубопроводам - к потребителям.
Рис. 8. Схема подачи и рециркуляции [1]
4.
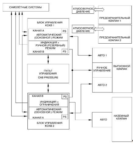
Регулирование давления
4.1 Общие
сведения
Система автоматического регулирования давления (САРД)
предназначена для поддержания необходимого давления воздуха в гермокабине,
обеспечивающего нормальную жизнедеятельность пассажиров и экипажа. Система
обеспечивает поддержание "высоты" в кабине не выше 7874 ft (2400 m) и
эксплуатацию самолета во всех ожидаемых условиях эксплуатации, в том числе и на
аэродромах, находящихся на высоте до 10 991 ft (3350 m).
4.2 Описание
системы
Функциональная структура САРД
(См. рис. 9)
САРД обеспечивает:
автоматическое регулирование абсолютного давления в
гермокабине по заданной программе в зависимости от внешнего барометрического
давления,
автоматическое ограничение скорости изменения давления в
гермокабине;
автоматическое ограничение избыточного давления в
гермокабине;
ограничение предельного положительного и отрицательного
перепада давлений между кабиной и атмосферой;
ручное регулирование изменения давления в гермокабине;
принудительную разгерметизацию гермокабины для выравнивания
давления гермокабины с атмосферным давлением;
герметизацию трактов сброса воздуха из гермокабины через
выпускной клапан для сохранения плавучести самолёта при вынужденной посадке на
воду;
контроль параметров давления воздуха в гермокабине,
сигнализацию о нормальных и опасных режимах работы системы;
автоматическое ограничение перепада давления на земле;
быстрое корректирование давления в гермокабине;
устранение задымления в гермокабине (при необходимости);
ограничение перепада давления в гермокабине, соответствующего
максимальной высоте 14 760 ft (4500 м) при неисправной работе или отказах
системы;
предотвращение герметизации гермокабины на аэродроме, если не
закрыты и не заблокированы двери и люки.
При нормальной работе система управляется автоматически двумя
блоками управления КСКВ. Каждый блок управления КСКВ имеет два канала - канал А
(основной) и канал В (резервный). Каждый из каналов имеет датчик давления для
измерения давления в гермокабине.
В канале А сосредоточены основные функции САРД:
измерение давления в гермокабине,
расчёт заданного давления гермокабины, заданных скоростей
изменения давления, скорости открытия (закрытия) выпускного клапана,
управление выпускным клапаном,
предоставление информации о давлении в гермокабине системам
самолёта,
контроль компонентов системы автоматического регулирования
давления.
В случае отказа основного режима, используется канал В
(ручной режим работы САРД). Он применяется для:
регулирования давления в гермокабине и скорости изменения
давления согласно выбору пилота;
ограничения скорости изменения давления в гермокабине
(регулирование блоком управления КСКВ1);
обеспечения независимой индикации САРД;
регулирования работой наземного клапана (блок управления
КСКВ2).
Сброс избыточного давления обеспечивается пневматически через
два предохранительных клапана. Стравливание избыточного давления отменяет
работу обоих режимов - автоматического и ручного.
Рис. 9. Функциональная схема САРД [1]
4.3 Работа
системы регулирования давления
1. работа САРД в автоматическом (основном) режиме.
Основной режим - это автоматическое регулирование (без
участия экипажа) на земле и в полёте перепада давления в гермокабине и скорости
изменения давления в зависимости от:
высоты полёта самолёта, вертикальной скорости самолёта и
барометрической коррекции изменения давления, полученной от систем самолёта,
выбранной высоты аэродрома посадки (полученной автоматически
от комплекса авионики или заданной лётчиком вручную),
вынужденной посадки на воду или аварийной разгерметизации
(выполняемой вручную лётчиком),
сигнала обжатого состояния шасси,
открытого положения дверей и люков (для начала наддува
гермокабины),
положения рычага управления двигателями (РУД),
положения выпускного и наземного клапанов (полностью открытое
или полностью закрытое),
расхода воздуха в салоне.
Каналы А блоков управления КСКВ регулирует давление в
гермокабине с помощью открытия выпускного клапана в соответствии с встроенными
законами регулирования. Каналы А блоков управления КСКВ регулирует давление в
гермокабине в зависимости от полученной информации. Заданное давление в
гермокабине имеет различные значения в соответствии с очерёдностями пребывания
на земле или в полёте:
автоматической разгерметизации на земле,
автоматической предварительной герметизации на земле,
полёта (набор высоты, крейсерский полёт, снижение),
предотвращение герметизации,
особом выборе команд лётчиком (с пульта управления CAB
PRESSURE).
Заданное значение давления сравнивается с давлением в салоне
и блоки управления КСКВ изменяют положение заслонки выпускного клапана для
устранения существующей разницы.
. Работа САРД в ручном режиме
Ручное регулирование давления в гермокабине осуществляется с
пульта управления CAB PRESSURE (см. рис.10) в случае отказа обоих
автоматических каналов САРД или по желанию летчика.
Ручной режим управления САРД осуществляется нажатием на
кнопку MODE. Скорость изменения давления в гермокабине устанавливается
задатчиком MAN RATE и регулируется блоком управления КСКВ 1 по резервному
(ручному) каналу В с помощью открытия или закрытия выпускного клапана.
.1 Регулирование давления ("высоты") в гермокабине.
При повороте задатчика MAN RATE в сторону INCR давление в
гермокабине увеличивается (режим снижения), а при повороте в сторону DECR
(режим взлёта) - уменьшается. В режиме горизонтального полёта при достижении
необходимого давления в гермокабине задатчик устанавливается в нейтральное
положение.
.2 Установка высоты аэродрома посадки.
Высота аэродрома посадки заносится лётчиком в базу данных
комплекса авионики перед вылетом и передаётся в блоки управления КСКВ. При
снижении самолёта, если информация о высоте аэродрома отсутствует или ошибочна,
то на дисплее EWD появляется сообщение NO LAND ELEV и рекомендация SET LAND
ELEV. В этом случае необходимо установить высоту аэродрома посадки задатчиком
LDG ELEV вручную.
Если лётчик не задаёт высоту аэродрома посадки, её значение
принимается по умолчанию 0 ft (0 m) на земле и 8000 ft (2400 m) в полёте.

5. Система
обогрева
5.1 Общие
сведения
Система обогрева обеспечивает подогрев воздуха, подаваемого в
зону передней кухни из пассажирского салона.истема обогрева кухни предназначена
для поддержания комфортной температуры в районе передней кухни.
На рис. 11 представлена блок-схема подачи воздуха в район
передней кухни.
Рис. 11. Блок-схема подачи воздуха в район передней кухни [1]
5.2 Работа системы
обогрева воздуха
Тёплый воздух для обогрева кухни поступает через решётки
кухонного модуля (см. рис. 11). Рёшетки кухонного модуля обеспечивают
поступление теплого воздуха в зоне передней кухни.
Управление работой обогревателя кухни и контроль его
работоспособности осуществляется с переднего пульта бортпроводника. Пульт
располагается на передней панели бортпроводника в переднем вестибюле.
Регулятор подачи тёплого воздуха расположен на переднем
пульте бортпроводника. Он предназначен для регулирования подачи тёплого воздуха
в зону передней кухни.
Общий вид местоположения передней панели бортпроводника, на
которой находится регулятор подачи тёплого воздуха, показан на рис. 12.
Рис. 11. Решетки кухонного модуля [1]
Рис. 12. Органы управления на переднем пульте бортпроводника
[1]
6. Система
охлаждения воздуха
6.1 Общие
сведения
Система охлаждения воздуха обеспечивает понижение температуры
воздуха до уровня, соответствующего комфортным условиям и необходимого для его
смешивания с горячим воздухом и подачи в систему распределения (см. рис. 13)
Рис. 13. Местоположение компонентов (левый борт)
6.2 Описание
системы
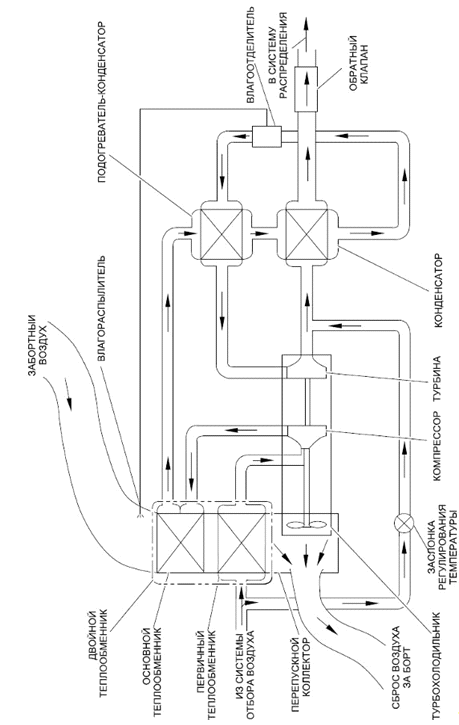
. Функциональная схема (см. рис. 14).
. Описание функций
Система охлаждения воздуха состоит из двух независимых
идентичных УОВ, установленных в негерметичном отсеке передней части обтекателя
крыло-фюзеляж (отсек Ф2) по левому и правому бортам.
В автоматическом режиме система охлаждения воздуха
обеспечивает следующие функции:
понижение температуры воздуха до уровня, соответствующего
комфортным условиям;
встроенную защиту от обледенения.
Регулирование температуры воздуха осуществляется с помощью
УОВ. Температура воздуха, поступающего в УОВ из системы отбора воздуха,
понижается в турбине турбохолодильника.
Встроенная защита от обледенения срабатывает, при появлении
обледенения на выходе из турбины турбохолодильника. Обледенение обнаруживается
с помощью датчика давления на выходе из УОВ. В этом случае блок управления КСКВ
автоматически открывает заслонку регулирования температуры для увеличения
температуры воздуха на выходе из турбины турбохолодильника.
Система охлаждения воздуха обеспечивает работу КСКВ с одной
работающей УОВ. При этом контроль расхода и температуры воздуха продолжают
обеспечиваться автоматически.
Рис. 14. Функциональная схема системы охлаждения воздуха [1]
6.3 Работа
системы охлаждения воздуха
После заслонки регулирования расхода горячий воздух из
системы отбора воздуха попадает в двойной теплообменник. Двойной теплообменник
включает в себя первичный и основной теплообменники. Охлаждающей средой как для
первичного, так и для основного теплообменников служит продувочный воздух,
поступающий через воздухозаборник в нижней части подфюзеляжного обтекателя.
Продувочный воздух сначала проходит через основной теплообменник, а затем через
первичный теплообменник. После прохождения первичного и основного
теплообменников и перепускного коллектора продувочный воздух направляется к
выходному воздуховоду и сбрасывается за борт.
Воздух из системы отбора воздуха сначала частично охлаждается
в первичном теплообменнике, затем поступает в компрессор турбохолодильника, где
давление и температура воздуха возрастают. Далее воздух поступает в основной
теплообменник, где происходит его охлаждение продувочным воздухом. После выхода
из двойного теплообменника воздух поступает в контур влагоотделителя высокого
давления.
Контур влагоотделителя включает подогреватель-конденсатор и
влагоотделитель.
В подогревателе-конденсаторе происходит процесс конденсации
влаги. Затем воздух и вода разделяются в центробежном влагоотделителе.
Конденсированная вода подаётся во влагораспылитель, а воздух направляется в
турбину турбохолодильника.
В турбине турбохолодильника воздух, поступающий под высоким
давлением, расширяется. Кинетическая энергия воздуха преобразуется в энергию
вращения турбины турбохолодильника. Температура воздуха снижается, давление
воздуха также понижается до значения, близкого к величине давления в
гермокабине. Турбина вращает компрессор и вентилятор продувочного воздуха.
Вентилятор создаёт воздушный поток в системе продувочного воздуха при наземной
эксплуатации самолёта.
Из турбины турбохолодильника воздух вновь поступает в
конденсатор, где он используется в качестве охладителя для контура отделения
воды. Затем кондиционированный воздух через выходной воздуховод УОВ
направляется в смесительный трубопровод системы вентиляции и распределения
воздуха.
При нормальной работе УОВ автоматически управляется с помощью
блока управления КСКВ в зависимости от конфигурации системы и выбора экипажа
(выбор температуры, количества работающих блоков).
В случае выхода из строя одной из УОВ блок управления КСКВ
формирует команду на закрытие заслонки регулирования расхода и на выдачу
соответствующего сообщения экипажу. При этом вторая УОВ переходит в режим
повышенного расхода. Если отказавшая УОВ автоматически не закроется, пилоту
выдаётся рекомендация отключить ее вручную, нажатием на кнопку L AIR AUTO или R
AIR AUTO на пульте управления AIR потолочного пульта пилотов.
Используемая
литература
1.
Руководство по технической эксплуатации RRJ-95B. раздел 21 Система кондиционирования
воздуха.