Изготовление линейной рамы передвижного скребкового конвейера СПМ87Д
Содержание
Введение
. Назначение,
конструктивные особенности и условия работы рамы линейной
.1 Область
применения и назначение рамы линейной
.2 Особые
требования, предъявляемые к конструкции и сварным соединениям
.3
Технологичность конструкции
.4 Материалы,
применяемые при изготовлении рамы линейной
. Описание
существующего технологического процесса изготовления рамы линейной и его
критический анализ
.1 Сборка под
сварку первого этапа сборки
.2 Сборка под
сварку второго этапа сборки
.3 Контроль
собранных этапов
.4 Дуговая
сварка собранных первого и второго этапов
.5 Сборка под
сварку третьего этапа
.6 Дуговая
сварка третьего этапа
.7 Очистка
.8
Окрашивание, грунтовка и маркировка
.9
Критический анализ существующего технологического процесса
. Новый
технологический процесс
.1 Сборка -
сварка рамы линейной
.1.1 Сборка
первого узла
.1.2 Контроль
собранного узла №1
.1.3 Расчет
приспособлений для сборки первого узла
.1.3.1 Расчет
рамы приспособления
.1.4 Сварка
первого узла
.1.5 Сборка -
сварка первого и второго подузла
.1.6 Расчет
приспособлений для сборки первого и второго подузла
.1.6.1 Расчет
рамы приспособления
.1.6.2.
Расчет винтового прижима
.1.6.3 Расчет
пневмаприжима
.1.7 Сборка -
сварка втогого узла
.1.8 Расчет
приспособлений для сборки второго узла
.1.8.1 Расчет
рамы приспособления
.1.8.2
Определение усилия прижатия второго узла к раме двухстоечного кантователя
.1.8.3 Расчет
пневмаприжима
.1.9 Сборка -
сварка третьего узла
.1.10 Расчет
приспособлений для сборки третьего узла
.1.10.1
Расчет рамы приспособления
.1.10.2
Определение усилия прижатия третьего узла к раме двухстоечного кантователя
.1.10.3
Расчет винтового прижима
.1.10.4
Расчет эксцентрикового прижима
.1.10.5
Расчет пневмоприжима
.1.11 Общая
сборка - сварка
.1.12 Расчет
приспособлений для общей сборки
.1.12.1
Расчет рамы приспособления для общей сборки
.1.12.2
Расчет винтового прижима
.1.12.3
Расчет пневмоприжима
.2 Расчет
режимов полуавтоматической сварки в среде защитных газов
. 3
Нормирование операций
.3.1
Нормирование сборки -сварки
.3.1.1
Нормирование сборки узла №1
.3.1.2
Нормирование сварки узла №1
. Охрана
труда
.1 Цели и
задачи охраны труда на производстве
.2 Анализ
опасных и вредных производственных факторов при производстве рамы линейной
.3
Мероприятия по охране труда
.3.1 Основные
мероприятия по обеспечению общей безопасности на производстве
.3.2
Рекомендации по обеспечению электробезопасности
.3.3
Рекомендации по обеспечению защиты от световой радиации
.3.4
Рекомендации по обеспечению защиты от вредных газовых выделений и аэрозоля
.3.5
Рекомендации по обеспечению предупреждений возможных взрывов
.3.6
Рекомендации по обеспечению безопасности от тепловых ожогов
.3.7
Рекомендации по обеспечению противопожарных мероприятий
.3.8
Рекомендации по обеспечению безопасной работы на производственном оборудовании
.3.9
Рекомендации по обеспечению освещения на рабочих местах
.4 Расчет
вентиляции участка цеха
.
Промышленная экология
. Организация
и экономика производства.
.1 Расчет
необходимого количества оборудования.
.2 Расчет
состава и числа работающих.
.3 Расчет
себестоимости изделия
.3.1 Расчет
заработной платы
.3.2 Расчет
затрат на основные средства и амортизационные отчисления
.3.3
Малоценные и быстроизнашиваемые предметы
.3.4
Материалы
.3.5
Энергоресурсы
.3.6
Отчисления в бюджет
.3.7 Прочие затраты
.3.8
Неучтенные затраты
.4 Расчет
прибыли
Список
использованных источников
Приложение А
Кіріспе
Тау-көлік жабдықтарын жөндеу зауыты
(РГТО-ТКЖЖ) Қарағанды қаласының оңтүстігінде
орналасқан.
1958 жылы көмір разрезының жабылуынан кейін, депо
аумағында "Орталық паровоздывагонжөндегіш
шеберханалар" (ЦПВРМ)пайда болды.Ол 1960 жылы "Қарағандыкөмір"
комбинатының орталық электромеханикалық шеберханаларына атауы
ауысты(ОЭШ).
1961 жылы паровозды және вагонды цехтардан бөлінді:
а) жөндегіш
топ;
б) механикалық
цех;
в) оттегілік аумақ салынды;
Қарағанды кеңейе және гүлдене
бастады. Шахталардың терриконикалары жоғары бола бастады. Сонымен қоса, көмір табуға
арналған жабдықтар мен қазандар тозды. 1968 жылы қазандар
мен оның құрылымдарын жөндеу үшін арнайы қазандарды
жөндеу цехтары ашылды.
Бүкіл Қарағанды бойынша 1, 2, 3, 4, 5 ОЭШ
ашыла бастады.Олар көмірді табу мен тасымалдауға арналған құрылғылар
мен жабдықтарды жөндеумен айналысты.Бұл ұйымдар аумағы
мен көлемі бойынша шағын келді және жабдықтармен нашар
болды.Орталықтандыру мақсатымен Қарағандыда шағын
ОЭШ біріктіру басталды.
1970-1971 жылдар аралығында ТКЖЖ "Қарағандыкөмір"
зауытына қосылды:
. ОЭШ-1 (номенклатурасы: бульдозерлерді,
байыту жабдықтарын
капжөндеу, бөлшектер жасау).
. ОЭШ-2 (номенклатурасы: жетектерді, насостарды,
лебедкаларды, капжөндеу, металқұрылымдарды, тау-кен жабдықтарының
бөлшектерін жасау).
. "Қарағандыкөмір" комбинатының
моторжөндеу зауыты (номенклатурасы: ауыр автомашиналардың қозғалтқыштарын
капжөндеу).
Өндіріс көлемі, өндіріс аумағы мен санының
өсуіне байланысты 1968 жылдың 1 сәуірінде "Қарағандыкөмір"
ОЭШ комбинатының атауы өзгертілді.Бұл мекеме тау-көлік
жабдықтарын жөндеу зауыты (ТКЖЖ) деп аталды.
жылдың 1 маусымынан Қазақстан
Республикасының Үкіметінің 1996 жылғы 28 маусымының
№812 шешімі мен көмір департаментінің 1996 жылдың 24
шілдесінің №8 бұйрығымен ТКЖЖ "Испат-Кармет"АҚ
құрамына кіреді.
жылы 7 қаңтарда №1 бұйрықпен
"Испат - Кармет" АҚ "Миттал Стил Теміртау" атауына өзгертілді.
Зауытта жөндеу мен қайта қалпына келтірудің
келесідей заманауи әдістері жетілген:хромдау, флюс астында дәнекерлеу.
Конструкция описываемая в данном дипломном проекте - рама линейная, входит в состав передвижного
скребкового конвейера СПМ87Д. Скребковый передвижной конвейер СПМ87Д
предназначен для транспортирования угля из очистных забоев угольных шахт на
пластах пологого падения мощностью 1…1,9 м, при работе в угледобывающем
комплексе КМ87Д.
Конвейер применяется в комплексно-механизированных лавах, оборудованных
угледобывающим комплексом КМ87Д.
Конвейер предусматривает работу выемочной машины состава и служит опорой
для секционной механизированной крепи.
В состав конвейера входит: привод головной, секция переходная, рама
линейная, рама укороченной секции, борт линейный, отрезок скребковой цепи,
лемех погрузочный, привод концевой, два кронштейна в сборе, механизм
передвижения головного привода, плита, кронштейн с опорой в сборе.
Принцип работы скребкового конвейера заключается в перемещении
транспортируемого материала скребковой цепью по желобу, образованному рештачным
ставом конвейера. Скребковая цепь приводится в движение приводными звездочками,
вращение которых осуществляется приводными блоками.
Изготовление рам долгое время производилось ручными способами сварки,
сборки и резки, но в настоящее время в связи с развитием и освоением новых
технологий производство переходит в автоматизированный режим изготовления рам.
Применяются новые технологии изготовления деталей для сборки, а так же и самой
сборки конструкции, так же применяются новые технологии сварки, такие как
полуавтоматическая и автоматическая сварка в среде защитных газов,
автоматическая под слоем флюса, плазменная сварка и резка, лазерная сварка и
резка и т. д. Все это повышает производительность, позволяет заменить ручной
труд на станочный, получается большая экономия во времени.
Значительные размеры рам заставляют принимать специальные меры,
облегчающие доступ к месту сварки. Для этой цели используют передвижные
подъемные площадки для сварщиков, располагают позиционеры в специальных
углублениях с тем, чтобы сварка производилась на уровне пола, применяют
наклоняющиеся или подъемно - поворотные устройства, такие как кантователи,
вращатели, манипуляторы и т. д.
1. Назначение, конструктивные особенности и условия работы рамы
линейной
1.1 Область применения и назначение рамы линейной
Рама линейная входит в состав передвижного скребкового конвейера СПМ87Д.
Скребковый передвижной конвейер СПМ87Д предназначен для транспортирования
угля из очистных забоев угольных шахт на пластах пологого падения мощностью 1…1,9
м, при работе в угледобывающем комплексе КМ87Д.
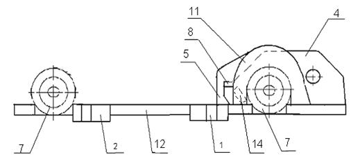
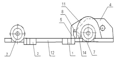
Рама линейная (см. рисунок 1.1) является несущей частью и опорой
конвеера. На раму крепится основная часть деталей входящая в состав конвейера.
Все детали входящие в конструкцию сведены в таблицу 1.1
Данная конструкция эксплуатируется в угольной промышленности при
температуре воздуха не ниже +5°С. Конструкция работает при динамических
нагрузках во влажной среде, в условиях коррозийного износа.
Рисунок 1.1 − Общий вид рамы линейной
Конструкция изготавливается из листа и профиля круглого сечения. Рама
собирается из двадцати четырех деталей с прямолинейными и криволинейными
контурами. Есть детали с внутренними и внешними вырезами, с отверстиями и
пазами. Рама изготавливается из листа минимальной толщиной 10 мм и максимальной
40 мм. Вес конструкции 989 кг, габаритные размеры: длина - 1580мм, ширина -
1494мм. высота - 425мм(см. рисунок 1.1 Сварные швы в конструкции все угловые,
минимальный катет шва 5 мм, максимальный 16 мм, так же есть нестандартные швы.
1.2 Особые требования, предъявляемые к конструкции и сварным
соединениям
Исходя из условий работы конструкции, можно сформулировать следующие
основные требования.
Дляобеспеченияпрочностиконструкциинеобходимопредусмотретьсоответствиепрочностныххарактеристиксварочныхматериаловиосновногометалла.
Для обеспечения жёсткости конструкции режимы сварки должны давать
минимальные деформации.
Для обеспечения антикоррозионной стойкости конструкции должна
бытьпредусмотренасоответствующаязащитаспомощьюпримененияантикоррозионных
материалов.
Исходя из того, что конструкция испытывает знакопеременные нагрузки в
сварных швах и около шовной зоне должны отсутствовать острые дефекты. К ним
относятся трещины, непровары, подрезы, закалочные структуры. Все перечисленные
острые дефекты являются недопустимыми, так как могут привести к разрушению
конструкции.
1.3Технологичность конструкции
Данная конструкция технологична, так как:
-разбивается на узлы;
швы расположены в удобном положении, что позволяет применить
механизированные способы сварки;
для сборки и сварки могут применяться специализированные приспособления.
Конструкция разбивается на три узла и два подузла. Подузелы №1 и №2
одинаковые.
Первый узел (см. рисунок 1.2) состоит из деталей: плита (поз.12), гнездо
(поз.1 и 2), кронштейн (поз.4 и 5), бобышка (поз.7), боковина (поз.8), ребро
(поз. 11 и 14), вставка (поз.21 и 24).
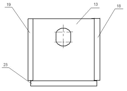
Первый и второй подузлы (см.рисунок 1.3) состоят из деталей: основание
(поз.23), лыж (поз.18 и 19) и ребра (поз.13).
Второй узел (см. рисунок 1.4) состоит из первого и второго подузла
соединяющиеся между собой планкой (поз. 22).
Пятый узел (см. рисунок 1.5) состоит из деталей: ребро (поз. 9), боковины
(поз.3), накладки (поз.16) и упора (поз.6).
Рисунок 1.2 - Общий вид первого узла
Рисунок 1.3 - Общий вид первого и второго подузла
Рисунок 1.4 - Общий вид второго узла
Рисунок 1.5 - Общий вид третьего узла
Раздеталировка рамы линейной представлена в таблице 1.1.
Таблица 1.1
Раздеталировка рамы линейной
|
Поз.
|
Наименование
|
Конфигурация делали
|
Габариты, мм
|
Вес, кг
|
Материалы
|
Кол-во
|
1,2
Гнездо
250х240х
3 Боковина
1470х248
х25
.2Сталь
4 Кронштейн
430х180х
Сталь
5 Кронштейн
280х180х
.8Сталь
6 Упор
55х70х340.8Сталь
7 Бобышка
150х15010.4Сталь
|
16Г2АФ4
|
|
|
|
|
|
|
8
|
Боковина
|
1470х80х3022,7Сталь10Г2С12
|
|
|
|
|
|
9
|
Ребро
|
257x168x405Сталь10Г2С11
|
|
|
|
|
10 лемех
1470х388х1656.7Сталь
11 Ребро
300х190х40
.4Сталь
12 Плита
|
1520х1470х25371Сталь10Г2С11
|
|
|
|
|
13 Ребро
14,
15 Ребро
х90х101.6,
16 Накладка
х40х4052.7Сталь
17 ребро
|
248х275х203.7Сталь10Г2С13
|
|
|
|
|
|
|
18
|
Лыжа
|
1540х275х2040Сталь10Г2С12
|
|
|
|
|
|
19
|
Лыжа
|
1540х275х2039.8Сталь10Г2С12
|
|
|
|
|
|
20
|
Планка
|
50х150х100,6Сталь10Г2С14
|
|
|
|
|
|
21
|
Вставка
|
80х90х100,6Сталь10Г2С11
|
|
|
|
|
|
22
|
Планка
|
130х1165х1012Сталь10Г2С11
|
|
|
|
|
|
23
|
Основание
|
120х1540х2029Сталь10Г2С12
|
|
|
|
|
|
24
|
Вставка
|
50х90х200,7Сталь10Г2С12
|
|
|
|
|
1.4 Материалы, применяемые при изготовлении рамы линейной
В данной дипломном проекте применяются низколегированные конструкционные
стали, химический состав который приведён в таблице 1.2, механические свойства
в таблице 1.3.
Таблица 1.2
Химический состав сталей(ГОСТ 19281-89)
в процентах
|
Сталь
|
C
|
Si
|
Mn
|
S
|
P
|
Cr
|
Ni
|
N
|
As
|
Cu
|
V
|
|
10Г2С
|
≤ 0,12
|
0,8 ¸ 1,1
|
1,3 ¸ 1,05
|
≤ 0,04
|
≤ 0,035
|
≤ 0,30
|
≤ 0,30
|
0,008 ¸ 0,012
|
≤ 0,08
|
≤ 0,30
|
−
|
|
16Г2АФ
|
0,14 ¸ 0,22
|
≤ 0,17
|
1,30¸ 1,70
|
≤ 0,04
|
≤ 0,035
|
≤ 0,30
|
≤ 0,30
|
0,015 ¸ 0,030
|
≤ 0,08
|
≤ 0,30
|
0,08 ¸ 0,14
|
Таблица 1.3
Механические свойства (ГОСТ 19281-89)
в процентах
|
НД
|
Режим обработки
|
Сечение, мм
|
σ02, Н/мм2
|
σв, Н/мм2
|
d, %
|
КСИ, ДЖ/см2
|
|
|
Опера- ция
|
t,ºC
|
Охлажда- ющая среда
|
|
|
|
|
|
|
|
Сталь 10Г2С1
|
Листовой и широко- полосный
прокат в горячекатаном или технически обрабо- танномсостоянии.
|
От 5 до 10
|
345
|
480
|
21
|
64 391 292
|
|
|
|
От 20 до 60
|
315
|
450
|
21
|
59 291 242
|
|
|
Сталь 16Г2АФ
|
Листовой и широкополосный
прокат в горячекатаном или технически обработанном состоянии.
|
11-32
|
440
|
590
|
19
|
391 292
|
|
|
|
|
|
|
|
|
|
|
|
|
|
|
|
1КСИ при минус 40oС
КСИ при минус 70oС
Производится оценка свариваемости.
Свариваемость стали - комплексная характеристика,
характеризующаяреакциюнафизико-химическоевоздействиепроцессасваркииспособностьобразовыватькачественноесварноесоединение,
отвечающее заданным эксплуатационным требованиям.
ОценкасвариваемостидаетсяпохимическомусоставуметаллапоформулерекомендованнойМеждународнымИнститутомСварки:
, (1.1)
где С - содержание углерода в стали, (%);
Mn-
содержание марганца, (%);
Cr-
содержание хрома, (%);
Мо - содержание молибдена, (%);
V-содержание
ванадия, (%);
Cu-
содержание меди, (%);
Ni-
содержание никеля, (%);
-
допустимое значение эквивалента углерода, (%).
Затем
вносится поправка на толщину свариваемого металла, (мм):
C`экв=0,005∙δ∙Сэкв, (1.2)
Тогда общий эквивалент углерода:
С``экв=Сэкв+С`экв=Сэкв∙ (1+0,005∙δ), (1.3),
А температура подогрева:
Тпод=350∙
, (1.4)
Оценка свариваемости для стали 10Г2С:
,
Свариваемость: сваривается без ограничений. Способы сварки: РД, РАД, АФ,
МП, ЭШ, и КТ.
Оценка свариваемости для стали 16Г2АФ:
, (%)
Сталь 16Г2АФ ограниченно свариваемая, рекомендуется перед сваркой
предварительный подогрев.
Длятолщины16 мм:
С``экв=0,59∙ (1+0,005∙16)=0,6372,(%)
Тпод=350∙
=217, (ºС)
Длятолщины30 мм:
С``экв=0,59∙ (1+0,005∙30)=0,6785, (%)
Тпод=350∙
=229, (ºС)
Длятолщины40 мм:
С``экв=0,59∙ (1+0,005∙40)=0,708, (%)
Тпод=350∙
=236, (ºС)
В связи с невысокими значениями расчетных температур подогрева и опираясь
на практический опыт, предварительный подогрев в данном технологическом
процессе не используется, так как сварка выполняется в несколько проходов, то
при этом будет обеспечиваться сопутствующим подогревом за счет наложения
предыдущего шва. При сварке деталей предварительный подогрев обеспечивается за
счет теплового фронта идущего впереди дуги на расстоянии 3 - 5 мм.
2. Описание существующего технологического процесса изготовления
рамы линейной и его критический анализ
Сборка конструкции производится методом наращивания.
2.1 Сборка под сварку первого этапа сборки
Мостовым краном укладывается в приспособление плита, позиция 12 (см.
рисунок 2.1). На плите устанавливается и прихватывается, по пальцам, четыре
бобышки, позиции 7. Прихватки производится ручной дуговой сваркой. Далее на
плите устанавливаются и прихватываются гнезда позиции 1 и 2, затем на плиту
устанавливаются и прихватываются боковины позиции 3 и 8, прихватки производятся
ручной дуговой сваркой, длиной 50 мм., катетом 6 мм., через каждые 150 мм..
После этого по разметке устанавливаются и прихватываются два ребра, позиции 11,
и два ребра, позиции 9. Далее в приспособлении устанавливаются и прихватываются
два кронштейна позиции 5 и четыре кронштейна позиции 4, выдерживая размеры
25+-0.5; 50+1; 800+-2; 90+1. После этого необходимо установить и прихватить
вставку позиции 21, две вставки позиции 24, два ребра позиции 14, два ребра позиции
15, согласно чертежу. После сборки зачищаются прихватки от шлака.
Рисунок 2.1 - Общий вид первого этапа сборки рамы линейной
2.2 Сборка под сварку второго этапа сборки
Собранная ранее конструкция снимается с помощью мостового крана с
приспособления. Изделие устанавливается на подставки. На изделие
устанавливаются и прихватываются ребра, позиция 17, и накладка позиция 16,
после этого прихватки зачищаются. Затем, по шаблону, устанавливаются два упора
позиции 6, выдерживая размеры 104+1; 680+-2; 395 и прихватываются к ребру
позиции 9. После всего этого конструкция переустанавливается днищем вверх. На
перевернутой конструкции по разметке устанавливаются четыре планки позиции 20,
выдерживая размер 10+-2, и прихватываются они к гнездам. Далее устанавливаются
и прихватываются к плите две лыжи позиции 18 и две лыжи позиции 19. Затем
устанавливаются и прихватываются два ребра позиции 13, выдерживая размер 18+-1.
После этого устанавливается и прихватывается планка 22. Согласно чертежу
устанавливаются и прихватываются к лыжам два основания, позиция 23. После
сборки второго этапа все прихватки зачищаются.
Рисунок 2.2 - Общий вид второго этапа сборки рамы линейной
2.3 Контроль собранных этапов
Правильность сборки контролируется внешним осмотром, согласно чертежу.
Контролируются размеры: 870+2; 10+-2; 10+-1; 425+-24 1494+-2.5; 18+-2.
Размеры: 1100+-1; 130+-1; 147+-1; 25+-0.5; 170+-1; 700+-1 - обеспечиваются
приспособлением.
2.4 Дуговая сварка собранных первого и второго этапов
Сварка собранной рамы производится полуавтоматической сваркой в среде
аргона и углекислого газа, сварочной проволокой Св-08Г2С, диаметром 1.6 мм.,
при сварочном токе 250 - 280 А. Сварные швы катетом 10 мм варятся за два
прохода, катетом 12 мм - за три прохода, катетом 16 мм - за 4-5 проходов,
нестандартные швы, такие как №12, 13, 14, 15, 16 (см. чертеж) за 4-6 проходов.
Предварительно варятся корневые швы. Полнота швов набирается от середины
к краям. Внутренние швы Т1 - катетом 16 мм и Т6 (приварка боковин к плите)
выполняются в последнюю очередь.
Сварка ребер к наружной стороне боковин производится сначала к плите швом
Т3 катетом 10 мм, а затем к боковине швом Т3 катетом 10 мм. После этого
приваривают бобышки к боковинам. Так же производят сварку гнезд. Далее
производится сварка остальных ее элементов, кроме швов приварки боковин к
плите. Сварка боковины позиции 6 выполняется односторонним швом, Т1 катетом 16
мм, с внутренней стороны в три прохода. Сварка производится от центра плиты к
края, послойно. Сварка боковины позиции 11 выполняется двусторонним швом Т7 с
внутренней стороны катетом 30 мм, с наружной стороны катетом 3 мм. Сварка
внутреннего шва выполняется за пять проходов. Сварка производится от центра к
краям.
2.5 Сборка под сварку третьего этапа
После того, как второй и первый этапы собраны и заварены изделие
кантуется в первоначальное положение. Согласно чертежу устанавливаетсяи
прихватывается лемех позиции 10.Прихватки зачищаются от шлака.
Рисунок 2.3 - Общий вид третьего этапа сборки рамы линейной
2.6 Дуговая сварка третьего этапа
Сварка выполняется швами №8 - У4 ГОСТ 14771 - 76, №10 - У1 ГОСТ 23518 -
79, №3 - Т1 катетом 16 ГОСТ 14771 - 76. После сварки сварные швы и околошовные
зоны зачищаются от брызг расплавленного металла.
Согласно чертежу все сварные швы нумеруются.
Сварной шов:
№1- Т1- катет 10 мм - длиной 3000 мм - варится в 2 прохода.
№2 - Т1 - катет 12 мм - длиной 7000 мм - варится в 3 прохода.
№3 - Т1 - катет 16 мм - длиной 3800 мм - варится в 4 прохода.
№5 - Т3 - катет 16 мм - длиной 2200 мм - варится в 4 прохода.
№6 - Н1 - катет 10 мм - длиной 400 мм - варится в 2 прохода.
№7 - Т1 - катет 5 мм - длиной 1000 мм - варится в 1 проход.
№8 - У4 - длиной 9200 мм - варится в 2 прохода.
№9 - Т7 ГОСТ 14771-79длиной 2940мм-варится в 8 проходов.
№10-У1ГОСТ 23518-79 длиной 2250 мм-варится в 3 прохода.
№11 - Т1 - длиной 4800 мм - варится в 2 прохода.
№12 нестандартный - длиной 600 мм - варится в 5 проходов.
№13 нестандартный - длиной 140 мм - варится в 2 прохода.
№14 нестандартный - длиной 2390 мм - варится в 4 прохода.
№15 нестандартный - длиной 1470 мм - варится в 5 проходов.
№16 нестандартный - длиной 2250 мм - варится в 3 прохода.
№17 нестандартный - длиной 1470 мм - варится в 7 проходов.
2.7 Очистка
С помощью шлифовальной машины и металлической щетки очищается рама от
окалины, ржавчины, брызг расплавленного металла. При наличии жировых
загрязнений эти места обезжириваются уайтспиритом.
2.8 Окрашивание, грунтовка и маркировка
Рама линейна с начало окрашивается грунтовкой ГФ - 021 в один слой. После
высыхания грунтовки поверхность окрашивается серой эмалью НЦ - 132П ГОСТ
6631-74 в два слоя с помощью краскораспылителя. Окрашенная рама сушится на
воздухе.
Маркируется кистью малярной по трафарету, лаком БТ- 577, черным шрифтом
20- Пр3 ГОСТ 26020-80.
2.9 Критический анализ существующего технологического процесса
Недостатки существующего технологического процесса и рекомендации по их
устранению сведены в таблицу 2.1.
Таблица 2.1
Недостатки существующего технологического процесса и мероприятия по их
устранению
Операции
|
Недостатки
|
Рекомендации по устранению
недостатков
|
|
1
|
Прихватки
|
Применяется
малопроизводительный и трудоемкий способ с помощью ручной дуговой сварки
|
Заменить ручную дуговую
сварку на механизированную сварку в среде защитных газов.
|
|
2
|
Сборка
|
Производится методом
наращивания.
|
Разбить конструкцию на узлы
и подузлы. Производить по узловую сборку.
|
|
3
|
Сборка
|
Сборка некоторых деталей
выполняется по разметке.
|
Предлагается применить
модернизированные приспособления с прижимами.
|
3. Новый технологический процесс
3.1 Сборка - сварка рамы линейной
Производство рамы линейной осуществляется в сборочно-сварочном цехе (лист
№3 графической части дипломного проекта). Связь между подразделениями участка
цеха осуществляется с помощью мостового крана и местных грузоподъемных
устройств. Применяется петлевое направление технологического потока.
В новом технологическом процессе предлагается разбить конструкцию на пять
узлов и два подузла (см. рисунки 3.1, 3.2, 3.3, 3.4,).
Рисунок 3.1 - Общий вид первого узла
Рисунок 3.2 - Общий вид первого и второго подузла
Рисунок 3.3 - Общий вид второго узла
Рисунок 3.4 - Общий вид третьего узла
Рисунок 3.5 - Общий вид конструкции
3.1.1 Сборка первого узла
Консольно-поворотным краном, позиция 10 (см. рисунок 3.1.1), укладывается
на раму приспособления, позиция 4, плита. На плиту устанавливаются четыре
бобышки. Правильность сборки бобышек обеспечивается пазами в плите и упорами,
позиции 1 и 2. В жёстко закрепленных на приспособлении упорах имеются сквозные
отверстия под болты. Болты вставляются насквозь в упоры и в бобышки. Болты
закручиваются барашковыми гайками, тем самым прижимают бобышки к упорам, а так
же обеспечивают соосность. После того как, бобышки установлены, они
прихватываются к плите. Прихватки производится полуавтоматической сваркой в
среде защитных газов, позиция 9, закрепленного на консольно-поворотном кране,
сварочной проволокой Св-08Г2С, диаметром 1,6 мм. Далее на плиту устанавливаются
и прихватываются четыре гнезда. Правильность сборки гнезд обеспечивается пазами
в плите и упорами, позиции 1 и 2. После этого устанавливаются на плиту и на
бобышки два ребра, (позиция 11). Правильность сборки ребер обеспечивается
откидной вилкой позиция 6. Вилка накидывается на ранее установленную бобышку и
ребро устанавливается в эту вилку, после чего ребро прихватывается к плите и к
бобышке.
Рисунок 3.1.1 - Компоновка рабочего места сборки первого узла
Затем на плиту по упорам устанавливается боковина. Боковина прижимается к
ранее установленному ребру с помощью откидного упора, позиция 8, вращающегося
на оси и фиксирующегося болтом. После установки производятся прихватки.
Прихватки боковины производятся длиной 50 мм., катетом 6 мм., через каждые 150
мм. Далее устанавливаются на плите шесть кронштейнов, с помощью откидных вилок,
позиция 7. Вилка накидывается на плиту и кронштейн устанавливается в эту вилку.
В вилке имеются два отверстия совпадающие с отверстиями кронштейнов. В эти
отверстия, насквозь, вставляются болты. Барашковые гайки закручиваются на
болты, тем самым прижимая кронштейн к вилке. После того как кронштейны установлены
производится их прихватка к плите. Затем на плите между установленными ранее
ребром и кронштейном устанавливаются два ребра, под углом 450. Правильность
сборки этих деталей обеспечивается замкнутым положением со всех сторон,
боковиной, кронштейном, ребром и бобышкой. После установки ребер производится
их прихватка к боковине и плите. Далее на плите между кронштейнами
устанавливаются два ребра, под углом 450. Правильность сборки обеспечивается
замкнутым положением между двумя кронштейнами и откидным упором, позиция 6 (см.
лист №4 графической части дипломного проекта «приспособлении для сборки узла
№1»). Упор по заданным размерам накидывается на плиту и по нему под необходимым
углом устанавливается ребро. После установки этих ребер производится их прихватка
к боковине и плите.
3.1.2 Контроль собранного узла №1
Правильность сборки контролируется внешним осмотром, согласно чертежу.
Контролируются размеры: 870+2; 10+-2; 10+-1; 425+-24 1494+-2.5; 18+-2
1100+-1; 130+-1; 147+-1; 25+-0.5; 170+-1; 700+-1.
3.1.3 Расчет приспособлений для сборки первого узла
3.1.3.1 Расчет рамы приспособления
Расчётрамыприспособленияпроизводитсясдопускаемойнормально-распределённойнагрузкойq,
состоящая из веса собираемого узла. Расчётная схема рамы представлена на
рисунке 3.1.2.
Равномерно-распределённая нагрузка q:
q=
, (3.1)
где G - вес собираемого узла, G=536 кг;
q=
, (кг/см)
Реакции опор А и Б:
RА=RБ=
∙q∙L, (3.2)
RА=RБ=
∙2,68∙200=268, (кгс)
а) - силы действующие на раму; б) - эпюра поперечных сил;в) - эпюра
изгибающего момента в середине пролета.
Рисунок 3.1.2 − Расчётная схема рамы приспособления
Поперечная сила Q:
Q1=Q2=±
, (3.3)
Q1=Q2=±
±53600, (кг∙см)
При равномерно-распределённойнагрузке:
МИЗГ=
, (3.4)
гдеЕ - модуль упругости, Е=1,2∙106;Х - момент инерции, JХ=304 см4;
МИЗГ=
, (кг∙см)
а если
МИЗГ=
, (3.5)
МИЗГ=
, (кг∙см)
Необходимый момент сопротивления сечения:
WХ=
, (3.6)
где[σИ] - допускаемое нормальное напряжение,[σИ]=1600 (кг/см2)
WХ=
, (см3)
Из ГОСТ 8240-97 ближайший швеллер №10, с WХ =34.7 см3. Но из
конструктивных соображений принимается швеллер №14.
3.1.4 Сварка первого узла
Консольно-поворотным краном, позиция 1 (см. рисунок 3.1.4), укладывается
собранный узел, позиция 2, на раму двухстоечного кантователя с постоянной осью,
позиция 4. Этот кантователь универсален, прост по конструкции, дешевый,
компактен и требует меньшую мощность привода, поскольку поворот изделия происходит
вокруг продольной оси, проходящей вблизи центра тяжести. Двухстоечный
кантователь имеет только маршевую скорость. Сварка узла производится на
кантователе для обеспечения сварки в положении в лодочку, это обеспечивает
равномерное наложение шва и предостерегает от появления деформаций, таких как
неравномерность высоты катета, подрезы и т. д. Сварка собранного узла
производится полуавтоматической сваркой в среде углекислого газа, полуавтоматом
ПДГ-508, позиция 5, закрепленным на консольно-поворотном кране, сварочной
проволокой Св-08Г2С, диаметром 1.6 мм., при сварочном токе 240 А. Сварные швы
катетом 10 мм варятся за два прохода, катетом 12 мм - за три прохода, катетом
16 мм - за 4-5 проходов, нестандартные швы, такие как №12, 13, 14, 15, 16 (см.
чертеж) за 4-6 проходов.
Предварительно варятся корневые швы. Полнота швов набирается от середины
к краям. Внутренние швы Т1 - катетом 16 мм и Т6 (приварка боковины к плите)
выполняются в последнюю очередь.
Рисунок 3.1.4 - Компоновка рабочего места сварки первого узла
Сварка ребер к наружной стороне боковин производится сначала к плите швом
Т3 катетом 10 мм, а затем к боковине швом Т3 катетом 10 мм. Так же производят
сварку гнезд. Далее производится сварка остальных ее элементов, кроме швов
приварки боковины к плите. Сварка производится от центра плиты к края,
послойно. Сварка боковины выполняется двусторонним швом Т7 с внутренней стороны
катетом 30 мм, с наружней стороны катетом 3 мм. Сварка внутреннего шва
выполняется за пять проходов. Сварка производится от центра к краям. После
сварки зачищаются сварные швы и околошовные зоны от брызг и расплавленного
металла.
3.1.5 Сборка - сварка первого и второго подузла
Сборка - сварка второго и третьего узла производится на одном рабочем
месте, так, как загрузка этих рабочих мест очень мала.
Консольно-поворотным краном, позиция 1 (см. рисунок 3.1.5),
устанавливаются в приспособлении на упоры, позиция 7, две лыжи. Лыжи
прижимаются к упорам, установленными между ними, винтовыми прижимами, позиция
3. Далее по упору, позиция 2, между лыжами устанавливается ребро. После того
как, лыжи и ребро установлены они прижимаются пневмоприжимом, позиция 9, к
упорам, позиции 2 и 5. Затем производится прихватка ребра к лыжам.
Рисунок 3.1.5 - Компоновка рабочего места сборки - сварки первого и
второго подузла
Прихватки производятся полуавтоматической сваркой в среде защитных газов,
позиция 8, полуавтоматом ПДГ-508,закрепленным на консольно-поворотном кране,
сварочной проволокой Св-08Г2С, диаметром 1,6 мм. Затем на лыжи, по упорам,
устанавливается основание и прижимается к ним откидными винтовыми прижимами,
позиция 4. После этого производится прихватка основания к лыжам. После сборки
прихватки зачищаются от шлака. Правильность сборки контролируется внешним
осмотром согласно чертежу.
Сварка собранного узла производится на этом же рабочем месте
полуавтоматической сваркой в среде углекислого газа, полуавтоматом ПДГ -508,
сварочной проволокой Св-08Г2С, диаметром 1.6 мм, при сварочном токе 240 А.
После сварки зачищаются сварные швы и околошовные зоны от брызг и
расплавленного металла.
Сборка - сварка второго подузла производится аналогичным способом, на
этом же рабочем месте так, как эти подузлы практически одинаковы.
3.1.6Расчет приспособлений для сборки первого и второго подузла
3.1.6.1 Расчет рамы приспособления
Расчётрамыприспособленияпроизводитсясдопускаемойнормально-распределённойнагрузкойq,
состоящая из веса собираемого узла. Расчётная схема рамы представлена на рисунке
3.1.6.
Равномерно-распределённая нагрузка q:
q=
, (3.7)
где G - вес собираемого узла, G=115 кг;
q=
, (кг/см)
Реакции опор А и Б:
RА=RБ=
∙q∙L, (3.8)
RА=RБ=
∙0,575∙200=57,5, (кгс)
Поперечная сила Q:
Q1=Q2=±
, (3.9)
Q1=Q2=±
±11500, (кг∙см)
При равномерно-распределённойнагрузке:
МИЗГ=
, (3.10)
гдеЕ - модуль упругости, Е=1,2∙106;Х - момент инерции, JХ=304 см4;
МИЗГ=
, (кг∙см)
а если
МИЗГ=
, (3.11)
а) - силы действующие на раму;б) - эпюра поперечных сил; в) - эпюра
изгибающего момента в середине пролета.
Рисунок 3.1.6 − Расчётная схема рамы приспособления
МИЗГ=
, (кг∙см)
Необходимый момент сопротивления сечения:
WХ=
, (3.12)
где[σИ] - допускаемое нормальное напряжение,[σИ]=1600 (кг/см2)
WХ=
, (см3)
Из ГОСТ 8240-97 ближайший швеллер №5, с WХ =9,1 см3. Но из конструктивных
соображений принимается швеллер №12.
3.1.6.2 Расчет винтового прижима
Винтовые прижимы имеют простую конструкцию, невысокую стоимость, надежны
в работе, обеспечивают необходимые (иногда значительные) усилия.
В соответствии с рекомендациями [2] принимается необходимое усилие
прижатия РПР=5000 Н.
По заданному усилию Р рассчитывают винт, гайку, корпус и элементы
крепления прижима к корпусу приспособления.( рисунок 3.1.7).
Наружный диаметр винта:
DН=
, (3.13)
где [σР] - допускаемое напряжение на растяжение материала винта при
переменной нагрузке, [σР]=58÷98 МПа;
DН=
=11,3 (мм)
В соответствии с [9] принимается ближайшее большее значение dН=dВН=12мм,
а также шаг резьбы t=1,75 мм.
Рисунок 3.1.7 - Расчетная схема винтового прижима
Количество витков резьбы в гайке:
n=
, (3.14)
где ρ0 - удельное давление на поверхности ниток резьбы, для стального
винта и гайки ρ0=90÷130 МПа;
n=
,
Высота гайки:
Н=
, (3.15)
где S - шаг винта, S=1,25 мм;- число заходов резьбы, m=1
Н=
, (мм)
принимается Н=62 мм.
Длина рукоятки:
L=
, (3.16)
где W - усилие на рукоятке, принимается W=150 Н;
α - угол подъема резьбы, α=60°;
φ1 - угол трения в резьбовой паре,
φ1=arctg f, (3.17)
где f - коэффициент трения скольжения, сталь по стали f=0,15;
φ1=arctg 0,15=80,
L=
(мм)
Из конструктивных соображений длина рукоятки принимается L=150 мм.
Изгибающий момент действующий на стойку винтового прижима:
МИЗГ=РПР∙А, (Н∙м) (3.18)
где А - расстояние от точки приложения усилия до оси стойки, А=150 мм;
МИЗГ=5000∙0,15=750, (Н∙м)
Допускаемый момент сопротивления сечения стойки:
WX=
, (см3) (3.19)
где [σИ] -допускаемое нормальное напряжение, [σИ]=1600 кг/см2;
WX=
, (см3)
Из следующей формулы находится высота стойки h винтового прижима:
WX=
, (мм) (3.20)
где δ - толщина стойки, принимается δ=10 мм;
, (см)
Из конструктивных соображений высота стойки h принимается равной 150мм.
Тогда допускаемый момент сопротивления сечения стойки составит:
WX=
, (см3)
Нормальное напряжение:
σИ=
≤ [σИ]=1600, (кг/см2) (3.21)
σИ=
кг/см2< [σИ]=1600, (кг/см2)
Данный расчет показывает что стойка не перегружена.
Для оси винтового прижима и для пальца:
, (ед.
изм.) (3.22)
, (3.23)
, (3.24)
,
, (3.25)
=0,53,
(см)
3.1.6.3 Расчет пневмоприжима
Определим усилие пневмопривода необходимое для прижатия узла к упору, а
также размеры цилиндра, (см. рисунок 3.1.8).
Рисунок
3.1.8 - Расчетная схема прижатия первого и второго подузла
Сила трения находится из формулы
Fтр
= Nn·
, (3.26)
где Nn- нормальная реакция опоры;
- коэффициент
трения скольжения стали по стали:
=0,2
Nn=
Р ·cos
, (3.27)
гдеР - сила тяжести: Р = 115 кг;
= 80°
Nn= 115 ·cos 80 = 114,09;
Fтр =
114,09 · 0,2 = 22,818, (Н)
Из формулы (3.27) находится сила прижатия узла к упору:
Рпр
= Р · cos2
, (3.28)
Рпр = 115 · cos2 80 = 113,19, (кгс)
Рисунок 3.1.9 - Общий вид пневмоприжима
После того, как стало известно усилие прижатия узла к упору, находим
диаметр пневмоцилиндра (см. рисунок 3.1.9):
, (3.29)
где
- давление сжатого воздухав системе:
= 4 атм.
-
коэффициент ,
= 0,9
, (см)
По ГОСТ15608-70 подбирается пневмоцилиндр с ближайшим наибольшим
диаметром 80 мм. Все остальные параметры пневмоцилиндра стандартные и
подбираются по диаметру.
3.1.7 Сборка - сварка второго узла
Сборка и сварка второго узла производится на одном рабочем месте, так,
как загрузка этих рабочих мест мала.
Сборка второго узла производится в приспособлении установленном на
двухстоечном кантователе, позиция 9 (см. рисунок 3.1.10). Кантователь необходим
для обеспечения последующей сварки в нижнем положении.
Консольно-поворотным краном, позиция 1, укладывается на упоры, позиция 6,
планка, и закрепляется ручными шарнирно-рычажными прижимами, позиция 10,
установленные на этих же упорах, для обеспечения жесткого закрепления при
повороте рамы кантователя на 180°. Далее на раму приспособления, по краям
планки, устанавливаются первый и второй подузлы. Правильность установки
подузлов обеспечивается упорами, позиции 5 и 7. После того как, узлы
установлены они прижимаются к планке, откидными упорами, позиция 3. Прижатие
обеспечивается пневмоприжимами, позиция 2, на штоках которых закреплены эти
упоры. Шпиндель передней стойки кантователя оборудован устройством для подвода
сжатого воздуха к крепежным приспособлениям. Это дает возможность применять
пневматические прижимы.
Рисунок 3.1.10 - Компоновка рабочего места сборки - сварки второго узла
После установки и прижатия подузлов производится прихватка детали планка
к этим подузлам. Прихватки производятся полуавтоматической сваркой в среде
углекислого газа.
Ручные шарнирно-рычажные прижимы, позиция 4, обеспечивают жесткое
закрепление установленных узлов и удерживают их от выпадения при повороте рамы
кантователя на 180°. После сборки производится сварка. В первоначальном
положении завариваются швы в местах соединения планки с узлами. Затем после
того, как шва проварены приспособление кантуется на 180°, для проварки этих же
швов с другой стороны. Сварка узла производится полуавтоматической сваркой в
среде углекислого газа, полуавтоматом ПДГ-508, позиция 8, закрепленного на
поворотно - консольном кране, сварочной проволокой Св-08Г2С, диаметром 1.6 мм.,
при сварочном токе 240 А. . После сварки швы и околошовные зоны зачищаются от
шлака и брызг шлифмашинкой.
3.1.8 Расчет приспособлений для сборки второго узла
3.1.8.1 Расчет рамы приспособления
Расчётрамыприспособленияпроизводитсясдопускаемойнормально-распределённойнагрузкойq,
состоящая из веса собираемого узла. Расчётная схема рамы представлена на
рисунке 3.1.11
а) - силы действующие на раму; б) - эпюра поперечных сил; в) - эпюра
изгибающего момента в середине пролета.
Рисунок 3.1.11 − Расчётная схема рамы приспособления
Равномерно-распределённая нагрузка q:
q=
, (3.30)
где G - вес собираемого узла, G=242 кг;
q=
, (кг/см)
Реакции опор А и Б:
RА=RБ=
∙q∙L, (3.31)
RА=RБ=
∙0,51∙470=119,85, (кгс)
Поперечная сила Q:
Q1=Q2=±
, (3.32)
Q1=Q2=±
±56330, (кг∙см)
При равномерно-распределённой нагрузке:
МИЗГ=
, (3.33)
гдеЕ - модуль упругости, Е=1,2∙106;Х - момент инерции, JХ=304 см4;
МИЗГ=
, (кг∙см)
а если
МИЗГ=
, (3.34)
МИЗГ=
, (кг∙см)
Необходимый момент сопротивления сечения:
WХ=
, (3.35)
где[σИ] - допускаемое нормальное напряжение,[σИ]=1600 кг/см2
WХ=
, (см3)
Из ГОСТ 8240-97 ближайший швеллер №10, с WХ =34,8 см3. Но из
конструктивных соображений принимается швеллер №14.
3.1.8.2 Определение усилия прижатия второго узла к раме
двухстоечного кантователя
Усилие зажима Р узла массой Q, свариваемого в двухстоечном поворотном
кантователе (см. рисунок 3.1.12), находится из условия, что силы прижатия Р
обеспечивают сцепление установочных поверхностей М и свариваемого узла с
поверхностями опорных платиков рамы приспособленияи препятствуют выпадению узла
при повороте в наиболее опасное положение (поворот на 180° из плоскости).
Рисунок 3.1.12 - Схема установки узла в двухстоечном поворотном
кантователе
В этом случае усилие зажима Р находится:
Р=
Q/2 (3.36)
Где
- коэффициент запаса:
=1,5;
-
коэффициент трения скольжения стали по стали:
=0,2;-
масса узла: Q=242 кг.
Р=1,5
0,2
242/2=36,3
, (кгс/см2)
3.1.8.3 Расчет пневмоприжима
В данном случае из конструктивных соображений усилие прижатие
назначаетсяРпр =150 Н. Из формулы 3.25 находим диаметр пневмоцилиндра. (см.
рисунок 3.1.9)
, (3.37)
, (см)
По ГОСТ15608-70 подбирается пневмоцилиндр с ближайшим наибольшим
диаметром 80 мм. Все остальные параметры пневмоцилиндра стандартные и
подбираются по диаметру.
3.1.9 Сборка - сварка третьего узла
Сборка и сварка третьего узла производится на одном рабочем месте, так,
как загрузка этих рабочих мест мала.
Сборка третьего узла производится в приспособлении установленном на
двухстоечном кантователе (см. рисунок 3.1.13). Кантователь необходим для
обеспечения последующей сварки в нижнем положении.
Консольно-поворотным краном, позиция 1, устанавливается по упорам,
позиция 2 и 8 (см. лист №7 графической части дипломного проекта «Приспособление
для сборки - сварки третьего узла.) , боковина. Боковина прижимается к упору
пневмоприжимом, позиция 5. На штоке пневмоприжима закреплен шаблон, служащий
одновременно для прижатия боковины и для установки последующей детали упор.
Шаблон оснащен винтовым прижимом, позиция 4. Деталь упор устанавливается по
этому шаблону и прижимается к боковине винтовым прижимом. После того как эти
две детали установлены производится прихватка детали упор к боковине. Прихватки
производятся полуавтоматической сваркой в среде углекислого газа. Затем, по тем
же самым упорам что и при установки боковины, устанавливаются два ребра. Ребра
прижимаются с двух сторон. С одной стороны боковым на половину откидывающимся
упором, позиция 2, а с другой эксцентриковым прижимом, позиция 10. Нижняя часть
бокового упора, стационарная, а верхняя откидывающаяся. Верхняя часть упора
откидывается по оси и фиксируется в рабочем положении пальцем. Эксцентриковый
прижим прижимает ребро к боковине. При повороте рукоятки эксцентрика
увеличивается радиус эксцентрика. Зазор между эксцентриком и прижимаемой
деталью ребро постепенно уменьшается до нуля. Таким образом, ребро надежно
прижимается к боковине. Прижимное усилие Q, развиваемое эксцентриком, в 10 - 12
раз больше прикладываемого. После того как ребра установлены и прижаты
производится их прихватка к боковине. Затем устанавливается на ребра накладка.
Правильность установки накладки обеспечивается боковыми откидывающимися
упорами, позиция 2. После установки эта деталь прижимается винтовыми
откидывающимися прижимами, позиция 9.. Винтовой откидывающийся прижим
обеспечивает надежное закрепление детали накладка и всего узла на раме
кантователя и предостерегает его от выпадения при повороте рамы.
Рисунок 3.1.13 - Компоновка рабочего места сборки - сварки третьего узла
После сборки производится сварка. Сварка узла производится
полуавтоматической сваркой в среде углекислого газа, полуавтоматом ПДГ- 508
позиция 8, закрепленного на консольно-поворотном кране, сварочной проволокой
Св-08Г2С, диаметром 1.6 мм., при сварочном токе 240А.После сварки швы и
околошовные зоны зачищаются от шлака и брызг шлифмашинкой.
3.1.10 Расчет приспособлений для сборки третьего узла
3.1.10.1 Расчет рамы приспособления
Расчётрамыприспособленияпроизводитсясдопускаемойнормально-распределённойнагрузкойq,
состоящая из веса собираемого узла. Расчётная схема рамы представлена на
рисунке 3.1.14.
Равномерно-распределённая нагрузка q:
q=
, (3.38)
где G - вес собираемого узла, G=76 кг;
а) - силы, действующие на раму; б) - эпюра поперечных сил; в) - эпюра
изгибающего момента в середине пролета.
Рисунок 3.1.14 − Расчётная схема рамы приспособления
q=
, (кг/см)
Реакции опор А и Б:
RА=RБ=
∙q∙L, (3.39)
RА=RБ=
∙0,92∙125=57,5, (кгс)
Поперечная сила Q:
Q1=Q2=±
, (3.40)
Q1=Q2=±
±7187, (кг∙см)
При равномерно-распределённой нагрузке:
МИЗГ=
, (3.41)
гдеЕ - модуль упругости, Е=1,2∙106;Х - момент инерции, JХ=304 см4;
МИЗГ=
, (кг∙см)
а если
МИЗГ=
, (3.42)
МИЗГ=
, (кг∙см)
Необходимый момент сопротивления сечения:
WХ=
, (3.43)
где[σИ] - допускаемое нормальное напряжение,[σИ]=1600 кг/см2
WХ=
, (см3)
Из ГОСТ 8240-97 ближайший швеллер №5, с WХ =9,1 см3. Но из конструктивных
соображений принимается швеллер №12.
3.1.10.2 Определение усилия прижатия третьего узла к раме
двухстоечного кантователя
Усилие зажима Р узла массой Q, свариваемого в двухстоечном поворотном
кантователе (см. рисунок 3.1.12), находится из условия, что силы прижатия Р
обеспечивают сцепление установочных поверхностей М и свариваемого узла с
поверхностями опорных платиков рамы приспособленияи препятствуют выпадению узла
при повороте в наиболее опасное положение (поворот на 180° из плоскости).
В этом случае усилие зажима Р находится:
Р=
Q/2 (3.44)
гдеQ - масса узла: Q=76 кг.
Р=1,5
0,2
76/2=11,4
, (кгс/см2)
3.1.10.3 Расчет винтового прижима
Винтовые прижимы имеют простую конструкцию, невысокую стоимость, надежны
в работе, обеспечивают необходимые (иногда значительные) усилия.
В соответствии с рекомендациями [2] принимается необходимое усилие
прижатия РПР=5000 Н.
По заданному усилию Р рассчитывают винт, гайку, корпус и элементы
крепления прижима к корпусу приспособления.( рисунок 3.1.7).
Наружный диаметр винта:
DН=
, (3.45)
где [σР] - допускаемое напряжение на растяжение материала винта при
переменной нагрузке, [σР]=58÷98 МПа;
DН=
=11,3 , (мм)
в соответствии с [9] принимается ближайшее большее значение dН=dВН=12мм,
а также шаг резьбы t=1,75 мм.
Количество витков резьбы в гайке:
n=
, (3.46)
где ρ0 - удельное давление на поверхности ниток резьбы, для стального
винта и гайки ρ0=90÷130 МПа;
n=
,
Высота гайки:
Н=
, (3.47)
где S - шаг винта, S=1,25 мм;- число заходов резьбы, m=1
Н=
, (мм)
принимается Н=62 мм.
Длина рукоятки:
L=
, (3.48)
гдеW - усилие на рукоятке, принимается W=150 Н;
α - угол подъема резьбы, α=60°;
φ1 - угол трения в резьбовой паре,
φ1=arctg f, (3.49)
где f - коэффициент трения скольжения, сталь по стали f=0,15;
φ1=arctg 0,15=80,
L=
(мм)
Из конструктивных соображений длина рукоятки принимается L=150 мм.
Изгибающий момент действующий на стойку винтового прижима:
МИЗГ=РПР∙А, (3.50)
где А - расстояние от точки приложения усилия до оси стойки, А=150 мм;
МИЗГ=5000∙0,15=750, (Н∙м)
Допускаемый момент сопротивления сечения стойки:
WX=
, (3.51)
где [σИ] -допускаемое нормальное напряжение, [σИ]=1600 кг/см2
WX=
, (см3)
Из следующей формулы находится высота стойки h винтового прижима:
WX=
, (3.52)
где δ - толщина стойки, принимается δ=10 мм;
, (см)
Из конструктивных соображений высота стойки h принимается равной h=150мм.
Тогда допускаемый момент сопротивления сечения стойки составит:
WX=
, (см3)
Нормальное напряжение:
σИ=
≤ [σИ]=1600, (кг/см2) (3.53)
σИ=
кг/см2< [σИ]=1600, (кг/см2)
Данный расчет показывает что стойка не перегружена.
Для оси винтового прижима и для пальца:
, (3.54)
,
, (3.55)
,
, (3.56)
=0,53,
(см)
3.1.10.4 Расчет эксцентрикового прижима
В данном сборочном приспособлении используется круглый эксцентрик. (см.
рисунок 3.1.15). Прижимное усилие Q, развиваемое таким зажимом, будет:
Q = (10…12)·Р, (3.57)
Q =
(10…12)·150 = 1500…1800 Н;
Принимается Q = 1650 Н;
Где Р - усилие, прикладываемое к рукоятке: Р = 150 Н;
Из условия самоторможения определяются основные размеры эксцентрика:
, (3.58)
где F - сила трения в контакте кулачок - деталь;- сила трения на оси
вращения кулачка;- диаметр эксцентрика: D = 300 мм;
= f · Q (3.59)= f1 · Q, (3.60)
Рисунок 3.1.15 - Расчетная схема эксцентрикового прижима
Тогда
, (3.61)
или
, (3.62)
Так как второе слагаемое очень мало, то им пренебрегают.
При
= 0,15 для пары сталь - сталь е будет равно:
, (3.63)
, (мм)
3.1.10.5 Расчет пневмоприжима
В данном случае из конструктивных соображений усилие прижатие назначается
Рпр =150 Н. Из формулы 3.25 находим диаметр пневмоцилиндра (см. рисунок 3.1.9)
, (3.64)
, (см)
По ГОСТ15608-70 подбирается пневмоцилиндр с ближайшим наибольшим диаметром
80 мм. Все остальные параметры пневмоцилиндра стандартные и подбираются по
диаметру.
3.1.11 Общая сборка - сварка
Общая сборка и сварка производится на одном рабочем месте, так, как
загрузка этих рабочих мест мала.
Общая сборка - сварка конструкции производится на двухстоечном
кантователе, позиция 2 (см. рисунок 3.1.17) Кантователь позволяет установить
конструкцию в удобное для сварки положение в лодочку, путем поворота вокруг
горизонтальной оси, это обеспечивает равномерное наложение шва и предостерегает
от появления деформаций, таких как неравномерность высоты катета, подрезы и
т.д.
Консольно-поворотным краном, позиция 1, устанавливается на раму
кантователя, позиция 11, второй узел. Правильность установки второго узла
обеспечивается упорами, позиция 10. Затем на установленный второй узел
устанавливается первый узел. Правильность установки этого узла обеспечивается
пазами во втором узле под детали гнездо первого узла. После того как узел
установлен он прижимается винтовыми прижимами, позиции 7 и 9, к нижнему узлу.
Так же собранное изделие поджимается боковыми откидывающимися упорами, позиции
4 и 6, закрепленный на штоке пневмоприжимов, позиция 3.
После установки производится прихватка первого узла ко второму. Прихватки
производятся полуавтоматической сваркой в среде защитных газов, позиция 8,
полуавтоматом ПДГ-508, закрепленным на поворотно-консольном кране, сварочной
проволокой Св-08Г2С, диаметром 1,6 мм.
Далее после прихваток боковой упор, позиция 4, откидывается в не рабочее
положение. На собранное изделие устанавливается третий узел. Правильность
установки третьего узла обеспечивается конфигурацией деталей этих узлов. Ребро
третьего узла плотно садится на бобышку первого узла, а откидывающийся упор,
позиция 5, удерживает устанавливаемый узел от бокового смещения. Упор
откидывается по оси и фиксируется в рабочем положении пальцем. Затем
установленный узел прижимается боковым откидывающимся упором, позиция 4,
закрепленным на штоке пневмоцилиндра к упору, позиция 5. После этого
производится прихватка третьего узла к первому. После сборки производится
сварка. Сварка узла производится полуавтоматической сваркой в среде углекислого
газа, полуавтоматом ПДГ-508, позиция 8, закрепленного на поворотно-консольном
кране, сварочной проволокой Св-08Г2С, диаметром 1.6 мм., при сварочном токе
240А. После сварки швы и околошовные зоны зачищаются от шлака и брызг
шлифмашинкой.
Рисунок
3.1.17 - Компоновка общей сборки - сварки
Далее откидывающийся боковой упор, позиция 5 откидывается в не рабочее
положение и в собранное изделие, с боку, вставляется деталь лемех. После
установки лемеха производится его прихватка к собранному изделию с последующей
приваркой. После сварки швы и околошовные зоны зачищаются от шлака и брызг
шлифмашинкой.
3.1.12 Расчет приспособлений для общей сборки
3.1.12.1 Расчет рамы приспособления для общей сборки
Расчётрамыприспособленияпроизводитсясдопускаемойнормально-распределённойнагрузкойq,
состоящая из веса собираемого узла. Расчётная схема рамы представлена на
рисунке 3.1.18.
Равномерно-распределённая нагрузка q:
q=
, (3.65)
где G - вес конструкции, G=989 кг;
q=
, (кг/см)
Реакции опор А и Б:
RА=RБ=
∙q∙L; (3.66)
RА=RБ=
∙6,181∙160=494,5, (кг∙см)
Поперечная сила Q:
Q1=Q2=±
±79116,8, (кг∙см2)
При равномерно-распределённой нагрузке:
МИЗГ=
, (3.68)
где Е - модуль упругости, Е=1,2∙106;Х - момент инерции, JХ=304 см4;
а) - силы действующие на раму; б) - эпюра поперечных сил; в) - эпюра
изгибающего момента в середине пролета.
Рисунок 3.1.18 − Расчётная схема рамы приспособления
МИЗГ=
, (кг∙см2)
а если
МИЗГ=
, (3.69)
МИЗГ=
, (кг∙см2)
Необходимый момент сопротивления сечения:
WХ=
, (3.70)
где [σИ] - допускаемое нормальное напряжение,[σИ]=1600 кг/см2;
WХ=
, (см3)
Из ГОСТ 8240-97 ближайший швеллер №14, с WХ =70,2 , (см3)
3.1.12.2 Расчет винтового прижима
Винтовые прижимы имеют простую конструкцию, невысокую стоимость, надежны
в работе, обеспечивают необходимые (иногда значительные) усилия.
В соответствии с рекомендациями [2] принимается необходимое усилие
прижатия РПР=5000 Н.
По заданному усилию Р рассчитывают винт, гайку, корпус и элементы
крепления прижима к корпусу приспособления.( см.рисунок 3.1.7).
Наружный диаметр винта:
DН=
, (3.71)
где [σР] - допускаемое напряжение на растяжение материала винта при
переменной нагрузке, [σР]=58÷98 МПа;
DН=
=11,3 , (мм)
в соответствии с [9] принимается ближайшее большее значение dН=dВН=12мм,
а также шаг резьбы t=1,75 мм.
Количество витков резьбы в гайке:
n=
, (3.72)
где ρ0 - удельное давление на поверхности ниток резьбы, для стального
винта и гайки ρ0=90÷130 МПа;
n=
,
Высота гайки:
Н=
, (3.73)
где S - шаг винта, S=1,25 мм;- число заходов резьбы, m=1
Н=
, (мм)
принимается Н=62 мм.
Длина рукоятки:
L=
, (3.74)
гдеW - усилие на рукоятке, принимается W=150 Н;
α - угол подъема резьбы, α=60°;
φ1 - угол трения в резьбовой паре,
φ1=arctg f, (3.75)
где f - коэффициент трения скольжения, сталь по стали f=0,15;
φ1=arctg 0,15=80,
L=
(мм)
Из конструктивных соображений длина рукоятки принимается L=150 мм.
Изгибающий моментдействующий на стойку винтового прижима:
МИЗГ=РПР∙А, (3.76)
где А - расстояние от точки приложения усилия до оси стойки, А=150 мм;
МИЗГ=5000∙0,15=750, (Н∙м)
Допускаемый момент сопротивления сечения стойки:
WX=
, (3.77)
где [σИ] -допускаемое нормальное напряжение, [σИ]=1600 кг/см2;
WX=
, (см3)
Из следующей формулы находится высота стойки h винтового прижима:
WX=
, (3.78)
где δ - толщина стойки, принимается δ=10 мм;
, (см)
Из конструктивных соображений высота стойки h принимается равной h=150мм.
Тогда допускаемый момент сопротивления сечения стойки составит:
WX=
, (см3)
Нормальное напряжение:
σИ=
≤ [σИ]=1600, (кг/см2) (3.79)
σИ=
кг/см2< [σИ]=1600, (кг/см2)
Данный расчет показывает что стойка не перегружена.
Для оси винтового прижима и для пальца:
, (3.80)
,
, (3.81)
,
, (3.82)
=0,53,
(см)
3.1.12.3 Расчет пневмоприжима
В данном случаи из конструктивных соображений усилие прижатие назначается
Рпр =150 Н. Из формулы 3.25 находим диаметр пневмоцилиндра. (см. рисунок 3.1.9)
, (3.83)
, (см)
По ГОСТ15608-70 подбирается пневмоцилиндр с ближайшим наибольшим
диаметром 80 мм. Все остальные параметры пневмоцилиндра стандартные и
подбираются по диаметру.
3.2 Расчет режимов полуавтоматической сварки в среде защитных газов
Исходя из того, что в конструкции рама линейная достаточно много сварных
швов, выполненных в среде защитного газа, расчет параметров режима сварки
производится для шва № 4, дляприхваток и остальных швов расчёты сведены в
таблицы 3.2.1, 3.2.2.
Шов № 4 выполняется полуавтоматической сваркой и соответствует ГОСТ
14771-Т3-∆10, конструктивные элементы которого представлены на рисунке
3.2.1.
Расчет режимов сварки и прихватки, выполненных в среде защитных газов
сводится к определению следующих параметров:
. Марка проволоки Св-08Г2С по ГОСТ 2246-70;
. Диаметр проволоки 1,6 мм;
. Род тока - постоянный;
. Полярность тока - обратная;
. Сила сварочного тока:
Рисунок 3.2.1. - Конструктивные элементы сварного шва № 4, Т3-∆10
I св.min = 100·d, (3.84)
св.min
= 100·1.6 = 160 A;
I св.max = 200·d,
(3.85)
св.max
= 200·1.6 = 320 A;
IСВ=
(3.86)
IСВ=
;
6. Напряжение на дуге:
UДMIN=15+4∙dЭ, (3.87)
ДMIN=15+4∙1,6=21,4, (В)
UДMAX=15+10∙dЭ, (В) (3.89)
Д. MAX=15+10∙1,6=31, (В)
UД=
(3.90)
UД=
, (В)
7. Вылет электродной проволоки:
LЭMIN=5+5∙dЭ, (3.91)
LЭMIN=5+5∙1,6=13, (мм)
LЭMAX=10+10∙dЭ, (3.92)
LЭMAX=10+10∙1,6=26, (мм)
LЭ=
(3.93)
LЭ=
(мм)
8. Расстояние от среза сопла до изделия:
lMIN=4+17∙dЭ/3, (3.94)
=4+17∙1,6/3=13,07, (мм)
lMAX=6+26∙dЭ/3, (3.95)
=6+26∙1,6/3=19,87, (мм)
l=
(мм) (3.96)
l=
(мм)
9. Расход защитного газа:
RСО2=1,125
, (л/мин) (3.97)
RСО2=1,125
=17,43, (л/мин)
10. Скорость подачи электродной проволоки:
VПП=
, (3.98)
гдеαн - коэффициент наплавки, зависящий от силы сварочного тока,
αн = 11,6 г/А·ч;
γ - плотность металла, γ = 7,85
=176,
(м/ч)
11. Общая площадь поперечного сечения наплавленного металла:
FН=
, (мм2) (3.100)
гдеК - катет шва, К=10мм
КY - коэффициент увеличения, учитывающий наличие зазора и выпуклости шва,
КY=1,25 [12]
В связи с тем, что шов №4Т3-∆10 является двусторонним формула
[3.47] примет вид:
Fп=
, (мм2) (3.101)
Fп=
=125, (мм2)
12. Количество проходов:
(3.102)
где
- максимальная площадь за 1 проход,
= 40 мм2;
;
Принимается сварка в 4 прохода.
. Скорость сварки:
(3.103)
, (м/ч).
Таблица 3.2.1
Режимы прихваток при сварке в защитных газах
|
Параметры режима
|
Данные
|
|
Катет шва, мм
|
5
|
|
Марка проволоки
|
Св-08Г2С
|
|
Диаметр проволоки, мм
|
1,6
|
|
Род тока
|
Пост
|
|
Полярность тока
|
Обратная
|
|
IСВ, А
|
240
|
|
UД., В
|
26
|
|
LЭ, мм
|
19,5
|
|
l, мм
|
16,47
|
|
RСО2, л/мин
|
3,05
|
|
VПП , м/ч
|
22,9
|
|
Площадь шва, мм2
|
16,875
|
|
VСВ, м/ч
|
18,93
|
Таблица 3.2.2
Режимы полуавтоматической сварки в среде защитных газов
|
Параметры режима
|
Катет 5 мм
|
Катет 10 мм
|
Катет 12 мм
|
Катет 16 мм
|
Нестанд. №12
|
Нестанд. №13
|
Нестанд. №14
|
Нестанд. №16
|
|
Марка проволоки
|
СВ-08Г2С
|
|
Диаметр проволоки, мм
|
1,6
|
|
Род тока
|
постоянный
|
|
Полярность тока
|
обратная
|
|
Iсв.,А
|
240
|
|
Uд.,В
|
26
|
|
LЭ, мм
|
19,5
|
|
l, мм
|
16,47
|
|
RСО2, л/мин
|
17,43
|
|
VПП, м/ч
|
176
|
|
Площадь шва, мм2
|
31,25
|
125
|
180
|
320
|
195
|
50
|
128
|
200
|
|
Количество проходов
|
1
|
3
|
5
|
8
|
5
|
1
|
3
|
5
|
|
VCВ., м/ч
|
11,34
|
8,5
|
9,85
|
8,87
|
9,1
|
7,1
|
8,3
|
8,86
|
3.3 Нормирование операций
3.3.1 Нормирование сборки -сварки
3.3.1.1 Нормирование сборки узла №1
Таблица 3.3.1.1
Нормирование сборки узла №1
|
Изделие
|
Переход
|
Кол-во переходов
|
Определяющие факторы
|
Таблица или расчетные
формулы
|
Норма времени на один
переход, мин
|
Норма времени на n-переходы,
мин
|
ТОП, мин
|
ТШТ.К., мин
|
|
|
1
|
2
|
3
|
4
|
5
|
6
|
7
|
8
|
9
|
|
|
Узел №1
|
1.Установка базовой детали
плита поз. 12
|
1
|
Вес=371 кг
|
Таблица 4.1. метод.
|
3,7
|
3,7
|
9,94
|
12,32
|
|
|
2.Установка последующей
детали бобышка поз.7
|
4
|
Длина=150мм, вес=10,4кг
|
Таблица 4.3. метод
|
0,7
|
2,8
|
|
|
|
|
3.Закрепление
|
4
|
|
Таблица 4.2. метод
|
0.26
|
1,04
|
|
|
|
|
4. Прихватки
|
8
|
Длина=20мм, катет 5мм.
|
Таблица 4.4. метод
|
0,17
|
1,36
|
|
|
|
|
5.Раскрепление
|
4
|
|
Таблица 4.2. метод
|
0.26
|
1,04
|
|
|
|
|
1.Установка последующих
деталей гнездо поз.1 и 2
|
4
|
Длина=175мм, вес=10кг
|
Таблица 4.3. метод
|
0,7
|
2,8
|
6,24
|
7,74
|
|
|
2.Закрепление
|
4
|
|
Таблица 4.2. метод
|
0.26
|
1,04
|
|
|
|
|
3. Прихватки
|
8
|
Длина=20мм, катет 5мм.
|
Таблица 4.4. метод
|
0,17
|
1,36
|
|
|
|
|
4.Раскрепление
|
4
|
|
Таблица 4.2. метод
|
0,26
|
1,04
|
|
|
|
|
Узел №1
|
1.Установка последующей
детали боковина поз.8
|
1
|
Длина=1470мм, вес=22,7кг
|
Таблица 4.3. метод
|
1,3
|
1,3
|
5,14
|
6,37
|
|
2.Закрепление
|
2
|
|
Таблица 4.2. метод
|
0.26
|
0,52
|
|
|
|
3. Прихватки
|
8
|
Длина=40мм, катет 6мм.
|
Таблица 4.4. метод
|
0,35
|
2,8
|
|
|
|
4.Раскрепление
|
2
|
|
Таблица 4.2. метод
|
0.26
|
0,52
|
|
|
|
1.Установка последующей
детали ребро поз.11
|
2
|
Длина=300мм, вес=7,4кг
|
Таблица 4.3. метод
|
0,6
|
1,2
|
2,92
|
3,62
|
|
2.Закрепление
|
2
|
|
Таблица 4.2. метод
|
0.26
|
0,52
|
|
|
|
3. Прихватки
|
4
|
Длина=20мм, катет 5 мм.
|
Таблица 4.4. метод
|
0,17
|
0,68
|
|
|
|
4.Раскрепление.
|
2
|
|
Таблица 4.2. метод
|
0.26
|
0,52
|
|
|
|
1.Установка последующей
детали кронштейн поз.5
|
2
|
Длина=280мм, вес=10кг
|
0,7
|
1,4
|
3,8
|
4,7
|
|
2.Закрепление
|
2
|
|
Таблица 4.2. метод
|
0.26
|
0,52
|
|
|
|
3. Прихватки
|
8
|
Длина=20мм, катет 5 мм.
|
Таблица 4.4. метод
|
0,17
|
1,36
|
|
|
|
4.Раскрепление
|
2
|
|
Таблица 4.2. метод
|
0.26
|
0,52
|
|
|
|
1.Установка последующей
детали кронштейн поз.4
|
4
|
Длина=430мм, вес=13кг
|
Таблица 4.3. метод
|
0,75
|
3
|
10.68
|
13.24
|
|
2.Закрепление
|
4
|
|
Таблица 4.2. метод
|
0.26
|
1,04
|
|
|
|
3. Прихватки
|
8
|
Длина=40мм, катет 6 мм.
|
Таблица 4.4. метод
|
0,35
|
5,6
|
|
|
|
Узел №1
|
4.Раскрепление
|
4
|
|
Таблица 4.2. метод
|
0.26
|
1,04
|
10.68
|
13.24
|
|
|
1.Установка последующих
деталей ребро поз.14 и 15
|
4
|
Длина=250мм, вес=1,7кг
|
Таблица 4.3. метод
|
0,35
|
1,4
|
4,84
|
6
|
|
|
2.Закрепление
|
4
|
|
Таблица 4.2. метод
|
0.26
|
1,04
|
|
|
|
|
3. Прихватки
|
8
|
Длина=20мм, катет 5 мм.
|
Таблица 4.4. метод
|
0,17
|
1,36
|
|
|
|
|
4.Раскрепление
|
4
|
|
Таблица 4.2. метод
|
0.26
|
1,04
|
|
|
|
|
1.Установка последующей
детали ребро поз.17
|
3
|
Длина=170мм, вес=3,7кг
|
Таблица 4.3. метод
|
0,42
|
1,26
|
3,84
|
4,76
|
|
|
2.Закрепление
|
3
|
|
Таблица 4.2. метод
|
0.26
|
0,78
|
|
|
|
|
3. Прихватки
|
6
|
Длина=20мм, катет 5 мм.
|
Таблица 4.4. метод
|
0,17
|
1,02
|
|
|
|
|
4.Раскрепление
|
3
|
|
Таблица 4.2. метод
|
0.26
|
0,78
|
|
|
|
|
1.Установка последующей
детали планка поз.20
|
4
|
Длина=150мм, вес=0,5кг
|
Таблица 4.3. метод
|
0,1
|
0,4
|
3,16
|
3,9
|
|
|
2.Закрепление
|
4
|
|
Таблица 4.2. метод
|
0.26
|
1,04
|
|
|
|
|
3. Прихватки
|
8
|
Длина=20мм, катет 5мм.
|
Таблица 4.4. метод
|
0,17
|
0,68
|
|
|
|
|
4.Раскрепление
|
4
|
|
Таблица 4.2. метод
|
0.26
|
1,04
|
|
|
|
|
1.Установка последующей
детали вставка поз.21
|
1
|
Длина=90мм, вес=0,55кг
|
Таблица 4.3. метод
|
0,1
|
0,1
|
0.96
|
1,19
|
|
|
2.Закрепление
|
1
|
|
Таблица 4.2. метод
|
0.26
|
0,26
|
|
|
|
|
Узел №1
|
3. Прихватки
|
2
|
Длина=20мм, катет 5мм.
|
Таблица 4.4. метод
|
0,17
|
0,34
|
0.96
|
1,19
|
|
|
4.Раскрепление
|
1
|
|
Таблица 4.2. метод
|
0.26
|
0,26
|
|
|
|
|
1.Установка последующей
детали вставка поз.24
|
2
|
Длина=90мм, вес=0,5кг
|
Таблица 4.3. метод
|
0,1
|
0,2
|
1,92
|
2,38
|
|
|
2.Закрепление
|
2
|
|
Таблица 4.2. метод
|
0.26
|
0,52
|
|
|
|
|
3. Прихватки
|
4
|
Длина=20мм, катет 5мм.
|
Таблица 4.4. метод
|
0,17
|
0,68
|
|
|
|
|
4.Раскрепление
|
2
|
|
Таблица 4.2. метод
|
0.26
|
0,52
|
|
|
|
|
|
|
|
|
|
|
|
|
|
|
|
|
|
|
|
|
|
|
|
|
|
|
Нормирование сборки последующих узлов и подузлов производится в такой же
последовательности. Данные по нормированию остальных узлов и подузлов сведены в
итоговую таблицу 3.3.1.3.
3.3.1.2 Нормирование сварки узла №1
Таблица 3.3.1.2
Нормирование сварки узла №1
|
Изде-лие
|
Переход
|
Кол-во переходов
|
Определяющие факторы
|
Таблица или расчетные
формулы
|
Норма времени на один
переход, мин
|
Норма времени на n-пе-реходы,
мин
|
ТОП, мин
|
ТШТ.К., мин
|
|
|
1
|
2
|
3
|
4
|
5
|
6
|
7
|
8
|
9
|
|
|
Узел №1
|
1.Установка на кантователь
|
1
|
Вес = 0,69тн.
|
Таблица 1.1 Метод.
|
2,55
|
2,55
|
41,73
|
51,74
|
|
|
2. Закрепление
|
2
|
Винтовой прижим
|
Таблица 4.2. метод
|
0,34
|
0,68
|
|
|
|
|
3.Кантовка
|
2
|
Кантователь
|
|
0,5
|
1
|
|
|
|
|
4. Сварка бобышек поз.7
|
4
|
Lшв=0,56м,Vсв=0,36м/мин,
n=5
|
То= (Lшв/Vсв) · n
|
7,77
|
31,1
|
|
|
|
|
5.Очистка шва от шлака,
осмотр и промер шва
|
4
|
|
Таблица 5.2. метод
|
0,4
|
6,4
|
|
|
|
|
1.Кантовка
|
2
|
Кантователь
|
|
0,5
|
1
|
15,45
|
19,15
|
|
|
2. Сварка гнезд поз.1 и
2.Шов№14
|
4
|
Lшв=0,6м, Vсв=0,56м/мин,
n=3
|
То= (Lшв/Vсв) · n
|
3,21
|
12,85
|
|
|
|
|
3.Очистка шва от шлака,
осмотр и промер шва
|
4
|
|
Таблица 5.2. метод
|
0,4
|
1,6
|
|
|
|
|
Узел №1
|
1.Кантовка
|
1
|
Кантователь
|
|
0,5
|
0,5
|
41,73
|
51,74
|
|
2. Сварка боковины поз.8
|
1
|
Lшв=2,94м,Vсв=0,36м/мин,
n=5.
|
То= (Lшв/Vсв) ·n
|
40,83
|
40,83
|
|
|
|
3.Очистка шва от шлака,
осмотр и промер шва
|
1
|
|
Таблица 5.2. метод
|
0,4
|
0,4
|
|
|
|
1.Кантовка
|
1
|
Кантователь
|
|
0,5
|
0,5
|
19,06
|
23,63
|
|
2. Сварка ребра поз.11
|
2
|
Lшв=0,8м, Vсв=0,18м/мин,
n=2
|
То= (Lшв/Vсв) ·n
|
8,88
|
17,76
|
|
|
|
3.Очистка шва от шлака,
осмотр и промер шва
|
2
|
|
Таблица 5.2. метод
|
0,4
|
0,8
|
|
|
|
1.Кантовка
|
1
|
Кантователь
|
|
0,5
|
0,5
|
6,5
|
8,06
|
|
2. Сварка кронштейнапоз.5
|
2
|
Lшв=0,3м, Vсв=0,23м/ч, n=2
|
То= (Lшв/Vсв) ·n
|
2,6
|
5,2
|
|
|
|
3.Очистка шва от шлака,
осмотр и промер шва
|
2
|
|
Таблица 5.2. метод
|
0,4
|
0,8
|
|
|
|
1.Кантовка
|
1
|
Кантователь
|
|
0,5
|
0,5
|
9,76
|
12,1
|
|
2. Сварка кронштейнапоз.4
|
4
|
Lшв=0,64м, Vсв=0,23м/мин,
n=2
|
То= (Lшв/Vсв) ·n
|
5,56
|
7,66
|
|
|
|
3.Очистка шва от шлака,
осмотр и промер шва
|
4
|
|
Таблица 5.2. метод
|
0,4
|
1,6
|
|
|
|
Узел №1
|
1.Кантовка
|
2
|
Кантователь
|
|
0,5
|
1
|
19,96
|
24,75
|
|
2. Сварка реберпоз.14 и 15
|
4
|
Lшв=0,5м, Vсв=0,23м/мин,
n=2
|
То= (Lшв/Vсв) ·n
|
4,34
|
17,36
|
|
|
|
3.Очистка шва от шлака,
осмотр и промер шва
|
4
|
|
Таблица 5.2. метод
|
0,4
|
1,6
|
|
|
|
1.Кантовка
|
2
|
Кантователь
|
|
0,5
|
1
|
15,22
|
18,87
|
|
2. Сварка ребра поз.17
|
3
|
Lшв=0,5м, Vсв=0,23м/мин,
n=2
|
То= (Lшв/Vсв) ·n
|
4,34
|
13,02
|
|
|
|
3.Очистка шва от шлака,
осмотр и промер шва
|
3
|
|
Таблица 5.2. метод
|
0,4
|
1,2
|
2
|
Кантователь
|
|
0,5
|
1
|
6,04
|
7,48
|
|
2. Сварка планки поз.20
|
4
|
Lшв=0,1м, Vсв=0,23м/ч, n=2
|
То= (Lшв/Vсв) ·n
|
0,86
|
3,44
|
|
|
|
3.Очистка шва от шлака,
осмотр и промер шва
|
4
|
|
Таблица 5.2. метод
|
0,4
|
1,6
|
|
|
|
1.Кантовка
|
1
|
Кантователь
|
|
0,5
|
0,5
|
2,63
|
3,26
|
|
2. Сварка вставки поз.21
|
1
|
Lшв=0,2м,Vсв=0,23м/мин, n=2
|
То= (Lшв/Vсв) ·n
|
1,73
|
1,73
|
|
|
|
3.Очистка шва от шлака,
осмотр и промер шва
|
1
|
|
Таблица 5.2. метод
|
0,4
|
0,4
|
|
|
|
1.Кантовка
|
1
|
Кантователь
|
|
0,5
|
0,5
|
9,24
|
11,45
|
|
|
2. Сварка вставкипоз.24
|
2
|
Lшв=0,28м,Vсв=0,23м/мин,
n=2
|
То= (Lшв/Vсв) ·n
|
2.43
|
4,86
|
|
|
|
|
3.Очистка шва от шлака,
осмотр и промер шва
|
2
|
|
Таблица 5.2. метод
|
0,4
|
0,8
|
|
|
|
|
4. Раскрепить
|
2
|
Винт. Прижим
|
Таблица 4.2. метод
|
0,34
|
0,68
|
|
|
|
|
5. Снять и отвести
|
1
|
Вес=0,69тн
|
Таблица 1.1. метод
|
2,4
|
2,4
|
|
|
|
|
|
|
|
|
|
|
|
|
|
|
|
|
|
|
|
|
|
|
|
|
|
|
|
|
|
|
|
|
|
|
|
|
|
Нормирование сварки последующих узлов и подузлов производится в такой же
последовательности. Данные по нормированию остальных узлов и подузлов сведены в
итоговую таблицу 3.3.1.3
Таблица 3.3.1.3
Итоговая таблица нормирования
|
Технологические операции
|
Тш.к., мин
|
Тш.к.Σ, мин
|
|
Сборка узла №1
|
66,22
|
887,06
|
|
Сборка подузла №1
|
20,21
|
|
|
Сборка подузла №2
|
20,21
|
|
|
Сборка узла №2
|
12,23
|
|
|
Сборка узла №3
|
18,79
|
|
|
Общая сборка
|
68,16
|
|
|
Сварка узла №1
|
232,23
|
|
|
Сварка подузла №1
|
107,04
|
|
|
Сварка подузла №2
|
107,04
|
|
|
Сварка узла №2
|
28,03
|
|
|
Сварка узла №3
|
74,78
|
|
|
Общая сварка
|
132,12
|
|
4. Охрана труда
4.1 Цели и задачи охраны труда на производстве
Охрана труда - это система правовых норм устанавливающих для всех
предприятий, учреждений, организаций, хозяйств, должностных лиц и работников
обязательные требования и правила по обеспечению безопасных и безвредных для
здоровья условий труда, норм регулирующих проведение надзора и контроля над
соблюдением закона о труде, а также устанавливающих ответственность за
нарушение этих законов.
Задачей охраны труда является сведение к минимуму вероятности поражения
или заболеванию работающего с одновременным обеспечением комфорта при
максимальной производительности труда.
Организация охраны труда на производстве возложена на управляющий
персонал предприятия и исполнителя. Они должны принимать все необходимые меры к
устранению или уменьшению опасности на производстве, предупреждению несчастных
случаев, содержанию рабочих мест в надлежащем санитарно-гигиеническом
состоянии.
Эксплуатационными мероприятиями являются своевременные профилактические
осмотры, ремонты и испытания.
Принципы охраны труда вытекают из основных положений трудового права,
направленных на обеспечение наиболее благоприятных, безвредных и безопасных
условий труда, способствующих его высокой производительности
Трудовое законодательство Республики Казахстан основывается на
Конституции Республики Казахстан и законодательных, нормативно-правовых актах:
Закон Республики Казахстан «О системе здравоохранения» (вступил в силу 10
июня 2003 года);
Закон Республики Казахстан «О санитарно-эпидемиологическом благополучии»,
(с изменениями и дополнениями, внесенными Законами РК от 10.07.98 г. N 283-1;
от 29.11.99 г. N 488-1; от 09.08.02 г. N 346-II).
Гражданский кодекс, вступивший в силу 1 июля 1999 года;
Закон Республики Казахстан «О безопасности и охране труда», вступивший в
силу 28 февраля 2004 года;
Правила возмещения предприятиями, учреждениями, организациями всех форм
ущерба, причиненного рабочим и служащим увечьем либо иным повреждением
здоровья, связанным с исполнением ими трудовых обязанностей, утвержденные
Постановлением Кабинета Министров Республики Казахстан от 17 марта 1993 года N
201;
Правила расследования и учета несчастных случаев и иных повреждений
здоровья работников, связанных с трудовой деятельностью, утвержденные
Постановлением Правительства Республики Казахстан от 3.03.2001г. №326.
Целью трудового законодательства Республики Казахстан является правовое
регулирование трудовых отношений и иных отношений, непосредственно связанных с
трудовыми, направленное на защиту прав и интересов сторон трудовых отношений,
установление минимальных гарантий прав и свобод в сфере труда.
На основании трудового кодекса Республики Казахстан:
) К сварочным работам допускаются лица не моложе 18 лет, прошедшие
соответствующую подготовку, имеющие II группу по электробезопасности и
профессиональные навыки для работы электросварщика, перед допуском к
самостоятельной работе должны пройти:
) Обязательные предварительные (при поступлении на работу) и
периодические (в течение трудовой деятельности) медицинские осмотры
(обследования) для признания годными к выполнению работ в порядке,
установленным Министерством Здравоохранения Республики Казахстан;
) Обучение безопасным методам и приемам выполнения работ, инструктаж по
охране труда, стажировку на рабочем месте и проверку знаний требований охраны
труда.
По требования трудового кодекса, а также на основании трудового договора,
рабочее время может быть нормальной продолжительности, сокращенной
продолжительности и неполным. К рабочему времени также относятся
подготовительно-заключительные работы (получение наряда-задания, материалов,
инструментов, ознакомление с техникой, документацией, подготовка и уборка
рабочего места, сдача готовой продукции и другие), перерывы, предусмотренные
технологией, правилами нормирования и охраны труда, время присутствия или ожидания
работы на рабочем месте, дежурства в праздничные и выходные. Нормальная
продолжительность рабочего времени не должна превышать 40 часов в неделю.
Нормы труда (выработки, времени, обслуживания) являются мерой затрат
труда и устанавливаются для работника соответствующей квалификации в
соответствии с достигнутым уровнем техники, технологии, организации
производства и труда.
4.2 Анализ опасных и вредных производственных факторов при
производстве рамы линейной
Основными вредностями процесса сварки являются пыль, газы,
ультрафиолетовое излучение, брызги расплавленного металла и трудовой процесс.
При сварке в среде защитных газов выделяется пыль и газы: озон,
углекислый газ, окиси азота, окись углерода. Наибольшую опасность для здоровья
сварщиков представляют отравления марганцем и окисью углерода, концентрация
которых в зоне дыхания может превышать предельно допустимые величины.
Аэрозоль, образующаяся при сварке в среде защитного газа, отличается
высокой дисперсностью. Пылевые частицы размером меньше 1(мкм) составляют 99,8
(%), а концентрация пыли примерно такая же, как и при ручной дуговой сварке- в
среднем 20-40 (мг/м3). Особое внимание необходимо обращать на концентрацию
марганца, так как его наличие в воздухе 0,3 (мг/м3) и выше может вызвать
заболевания нервной системы.
При высокой температуре сварочной зоны углекислый газ разлагается на
окись углерода и кислород. Кроме того окись углерода может образовываться за
счёт реакции углекислого газа с железом, марганцем, кремнием, углеродом. Окись
углерода, относящаяся к удушающим газам, проникая в органы через дыхательные
пути, соединяется с гемоглобином и образует карбоксигемоглобин.
Образование озона при сварке с среде защитных газов происходит в
результате электрических разрядов, ультрафиолетовой радиации и высокой
температуры сварочной ванны. В связи с высокой температурой сварочной ванны
(10-15 тыс. ºС) интенсивность ультрафиолетовой радиации в 50-20 раз
больше, чем при ручной сварке. Концентрация озона в зоне дыхания может
колебаться от 0,1 до 1 (мг/м3), при предельно допустимой 0,1 (мг/м3).
Помимо пыли и газов, профессиональной вредность при любой сварке является
излучение. Спектр лучистой энергии при сварке состоит из видимых лучей, яркость
которых превышает физиологически переносимую, а также невидимых ультрафиолетовых
и инфракрасных лучей; причём наибольшая энергия падает на ультрафиолетовое
излучение с длиной волны 50-100 (мкм).
Не менее вредным в сварочном производстве является производственный шум,
вибрация и ультразвук. Уровень звукового давления при сборочно-сварочных
работах достигает 90-120 (дб).
Все машины агрегаты и оборудование имеют опасные зоны, в пределах которых
не исключены случаи производственного травматизма. К ним относятся: области
подвижных частей, деталей механизмов и рабочих органов сварочного оборудования;
область разлёта брызг и других элементов; агрегаты и токоведущие линии,
находящиеся под напряжением выше безопасного; места и участки работы
подъёмно-транспортных механизмов; ручной инструмент, особенно в неисправном
состоянии или при его применении не по назначению.
4.3 Мероприятия по охране труда
4.3.1 Основные мероприятия по обеспечению общей безопасности на
производстве
Основными мероприятиями по снижению риска возникновения травматизма и
профзаболеваний на производстве сводятся прежде всего к строгому соблюдению
норм и правил техники безопасности при выполнении различного рода работ. При
производстве сварочных работ и термической резки, обслуживании сварочного
оборудования, следует строго соблюдать требования СНиП III-480.
При разработке технологических процессов сварки следует предусматривать
максимальную их механизацию и автоматизацию.
Необходимо использование материалов, выделяющих минимальное количество
вредных веществ.
Повторные инструктажи проводятся администрацией ежеквартально и перед
началом каждой работы.
Борьба с несчастными случаями и заболеваниями должна вестись путём
осуществления комплекса инженерно-технических, санитарно-гигиенических и
организационно-технических мероприятий. К основным направлениям инженерно-технических
мероприятий относятся:
) Комплексная механизация и автоматизация производственных процессов с
применением дистанционного управления, что даёт возможность производить ряд
работ без непосредственного присутствия обслуживающего персонала;
) Внедрение новых, более усовершенствованных технологических процессов,
способствующих повышению производительности труда и безопасности выполняемых
работ;
) Установление радиусов опасных зон, как для отдельных машин, механизмов,
агрегатов, так и для некоторых производственных процессов, при которых может
возникнуть опасность воздействия на человека при выполнении определённых работ;
) Применение предохранительных устройств, ограждений, предупредительных
знаков, надписей, предупредительной окраски и маркировки;
) Сигнализация является важным средством повышения безопасности при
выполнении работ. Все транспортные машины должны иметь звуковые и световые
сигналы. Сигналы необходимо подавать до начала всех операций по погрузке, при
движении машин и маневровых операций;
) Применение метода блокировки машин и механизмов, позволяющий обеспечить
безопасную последовательность производственных процессов;
) Профилактические испытания и осмотр машин и электрического
оборудования.
В процессе изготовления рамы линейной, транспортирование деталей и
собранных узлов связано со строповкой (груза)- поэтому такелажные работы
относятся к группе работ с повышенной опасностью. При подъёме груза, лицо
ответственное за его строповку (стропальщик), обязан убедиться в том, что:
груз надёжно закреплён и не может соскользнуть;
на поверхности узла нет незакреплённых деталей, а также инструмента и
других предметов.
На местах сборки отдельных узлов, детали складируются таким образом,
чтобы они не рассыпались, если берётся один из них; мелкие детали подаются в
контейнерах.
В процессе сборки узлов и их кантовки, элементы сборочных приспособлений
подвергаются воздействию вертикальных и горизонтальных нагрузок, поэтому они
надёжно закреплены и не деформируются во время работы.
Прижимные устройства сборочного оборудованияобеспечивают надёжное
крепление деталей. Сборочные приспособления надёжно заземлены, поскольку на них
выполняются прихватки.
4.3.2 Рекомендации по обеспечению электробезопасности
1) Необходимо надежно заземлять корпусы сварочных машин, аппаратов и
установок, зажимы вторичной цепи сварочных трансформаторов, служащие для
подключения обратного провода, а также свариваемые изделия и конструкции.
) Не касаться голыми руками (без диэлектрических перчаток) токонесущих
частей сварочных установок, а также проводов без изоляции или с поврежденной
изоляцией.
) Перед началом работ проверять исправность изоляции сварочных проводов,
сварочного инструмента и оборудования, а также надежность всех контактных
соединений сварочной цепи.
) При длительных перерывах сварочного процесса отключать источник
сварочного тока.
) Применять в качестве обратного провода сварочной цепи металлические
конструкции и трубопроводы (без горячей воды или взрывоопасной среды) только в
случаях, когда их сваривают. Запрещается использовать в качестве обратного
провода сварочной цепи контуры заземления, трубы санитарно-технических
устройств, металлоконструкции законченных зданий и технологического
оборудования.
) При прокладке сварочных проводов и при каждом их перемещении не
допускать: повреждения изоляции; соприкасания проводов с водой, маслом,
стальными канатами, рукавами (шлангами) и трубопроводами с горючими газами и
кислородом, с горячими трубопроводами.
) Гибкие провода электроуправления сварочной установки при значительной
их протяженности помещать в резиновые или брезентовые рукава. Защищать
сварочные провода от повреждений и при необходимости дополнительно обматывать
их брезентовой лентой.
) Не ремонтировать сварочное оборудование и установки, находящиеся под
напряжением.
) Не допускать к дуговой сварке или резке сварщиков в мокрых рукавицах,
обуви и спецодежде.
) До начала производства сварочных работ водой электромонтер должен
проверить: исправность сварочной установки, правильность подключения и
полярность сварочной цепи.
) При поражении электрическим током необходимо:
срочно отключить ток ближайшим выключателем или отделить пострадавшего от
токоведущих частей, используя сухие подручные материалы (шест, доску и др.),
после чего положить его на теплую подстилку и по возможности согреть;
немедленно вызвать медицинскую помощь;
при бессознательном состоянии пострадавшего освободить его от стесняющей
одежды, очистить рот от посторонних предметов, принять меры против западания
языка и немедленно приступить к выполнению искусственного дыхания, продолжая
его до прибытия врача или восстановления нормального дыхания.
4.3.3 Рекомендации по обеспечению защиты от световой радиации
1) Для защиты глаз и лица сварщика от световой радиации электрической
дугой применять шлемы или щитки, в смотровые отверстия которых вставляют
защитные стекла-светофильтры, поглощающие ультрафиолетовые лучи и значительную
часть световых и инфракрасных лучей. От брызг, капель расплавленного металла и
других загрязнений светофильтр защищают обычно прозрачным (оконным) стеклом,
устанавливаемым в смотровое отверстие перед светофильтром.
) При сварке в защитных газах использовать более темный светофильтр, чем
при сварке открытой дугой при той же силе тока.
) При газовой сварке и резке применять очки-консервы с соответствующими
светофильтрами.
) Окружающих работников от световой радиации дуги защищают: устройством
кабин для сварщиков (при сварке в стационарных условиях и сравнительно
небольших размерах свариваемых изделий); переносными щитами или ширмами из
несгораемых материалов (при непостоянном рабочем месте сварщика и больших
изделиях).
) Для ослабления контраста между яркостью света дуги, поверхностью стен
цеха (или кабин) и оборудования их окрашивают в светлые тона с рассеянным
отражением света, а также обеспечивают хорошую освещенность окружающих
предметов.
) При заболевании глаз от световой радиации дуги следует немедленно
обратиться к врачу. При невозможности получения быстрой медицинской помощи
делают примочку глаз слабым раствором питьевой соды.
4.3.4 Рекомендации по обеспечению защиты от вредных газовых
выделений и аэрозоля
1) Снижать действие на организм сварщиков и резчиков вредных выделений и
аэрозоля, применяя местную и общеобменную вентиляцию, подачу в зону дыхания
чистого воздуха, а также малотоксичные материалы и процессы.
) При сварке и резке изделий средних размеров рекомендуется использовать
местную вентиляцию с неподвижным боковым отсосом.
) При сварке мелких и средних изделий, в зависимости от условий работ,
использовать местные отсосы следующих типов: вытяжной шкаф, вертикальную или
наклонную панель равномерного всасывания, наклонный панельно-щелевой отсос, а
также столы с нижним подрешетчатым отсосом и т.д. При пользовании кондукторами,
кантователями и другими приспособлениями следует встраивать в них соответствующие
местные отсосы.
) Вентиляцию следует выполнять приточно-вытяжной с подачей свежего
воздуха в основном на несварочные участки и подогревом его в холодное время.
Скорость движения воздуха в рабочей зоне должна составлять 0,3-0,9 м/спри
ручной дуговой сварке и наплавке не более 0,5 м/с при других видах сварки.
) Для обезжиривания металла и сварочных материалов от масляных
загрязнений не следует применять трихлорэтилен, дихлорэтан и другие
хлорированные углеводороды, так как при соединении их с озоном, присутствующим
в атмосфере при дуговой сварке, возможно образование удушливого газа (фосгена).
Для защиты органов дыхания сварщиков от пыли применяется бесклапанный
респиратор ШБ-1 «Лепесток».
4.3.5 Рекомендации по обеспечению предупреждений возможных взрывов
1) Перед началом работы каждой смены следует контролировать техническое
состояние газовой аппаратуры должен сварщик (резчик) или специально обученный
подсобный рабочий под наблюдением сварщика (резчика).
) В процессе работы сварщикам (резчикам) запрещается: оставлять резиновые
рукава вблизи электрических приборов и нагретых предметов, а также оставлять
без наблюдения горящие горелку или резак
) На расстоянии не менее 10 м от рабочих мест не допускается разводить
открытый огонь, зажигать спички и курить.
) Запрещено пользоваться редукторами с неисправными манометрами или с
истекшим сроком их проверки. Следует особо тщательно предохранять редукторы,
клапаны и вентили заводских магистралей с горючими, защитными газами и сжатым
воздухом от загрязнения их маслом и жирами.
4.3.6 Рекомендации по обеспечению безопасности от тепловых ожогов
1) Во избежание тепловых ожогов электросварщик должен работать в
брезентовых спецодежде и рукавицах. Ботинки носить с боковыми застежками, брюки
(без отворотов) носить только навыпуск. Карманы куртки закрывать клапанами,
концы рукавов рекомендуется завязывать тесьмой. Голову укрывать обычным
головным убором (желательно без козырька) или фибролитовой каской.
) Следить за состоянием спецодежды, учитывая, что нормами ее выдачи
электросварщикам, газосварщикам и резчикам предусматриваются определенные сроки
носки. Для сварочных работ используются костюмы из брезентовой парусины с
комбинированной пропиткой.
) Соблюдать осторожность при обращении с нагретым металлом, шлаком, огарком
электродов. При сбивании шлаковой корки (при сварке под флюсом) защищать глаза
очками с простыми стеклами.
) Не допускать перегрева электрододержателей и горелок для
полуавтоматической сварки, а также другого сварочного инструмента, находящегося
под током.
) При потолочной дуговой сварке пользоваться асбестовыми нарукавниками и
плотно завязывать их у кистей рук.
4.3.7 Рекомендации по обеспечению противопожарных мероприятий
1) Рабочие места сварщиков (резчиков) следует предварительно очистить от
древесных стружек, пакли, сгораемого мусора в радиусе не менее 10 м, а также
удалить из этой зоны другие взрывоопасные и огнеопасные вещества.
) Соблюдать осторожность при перемещении сварочных проводов. Особую
опасность при этом представляет собой искрение проводов (при недостаточной или
нарушенной их изоляции) в местах, удаленных от сварщика или недоступных его
наблюдению,
) Не допускать перемещений рабочего с зажженной горелкой или резаком за
пределами его рабочего места, а также подъем его по лестницам, лесам и т. п.
) Запрещается выполнять газопламенные работы в замкнутых и полузамкнутых
пространствах при использовании жидких горючих (керосин, бензин, их смеси).
) При ведении работ по сварке и резке в опасных зонах предусматривать
специальные пожарные посты.
)При длительном или концентрированном воздействии искр и капель
расплавленного металла, образующихся при сварке и резке, на деревянные настилы
или подмости защищать их от возгорания листовым железом или асбестом, а в
жаркое время поливать водой.
) По окончании смены тщательно проверять рабочую зону и не оставлять
открытого огня, нагретых до высокой температуры предметов, а также тлеющих
сгораемых материалов, мусора и т. д.
) При тушении керосина, бензина, загоревшихся электрических проводов, а
также помещений, где находится карбид кальция, запрещается применять воду и
пенные огнетушители. В таких случаях необходимо пользоваться песком и
углекислотными или сухими огнетушителями.
4.3.8 Рекомендации по обеспечению безопасной работы на
производственном оборудовании
Специфические особенности производственного оборудования учитываются по
каждому его виду отдельными стандартами.
Основными из общих требований являются следующие: производственное
оборудование должно быть безопасно при монтаже, ремонте и эксплуатации как
отдельно, так и в составе комплексов и технологических схем, а также при
транспортировании и хранении. Все это рассчитывается на обеспечение
безопасности в течение всего срока службы оборудования. Составные части
оборудования должны исключать возможность их случайного повреждения,
вызывающего опасность.
Выделение и поглощение оборудованием тепла, а также выделение им влаги в
производственных помещениях не должны превышать предельно допустимых
концентраций в рабочей зоне.
При полном или частичном прекращении подач энергоносителя к приводам этих
устройств рабочие органы производственного оборудования, а также захватывающие,
зажимные и подъемные устройства не должны представлять опасности.
Конструкция производственного оборудования должна обеспечивать исключение
или снижение до регламентированных уровней шума, ультразвука, вибрации, а также
вредных излучений.
Конструкция производственного оборудования должна предусматривать защиту
от поражения электрическим током, включая случаи ошибочных действий обслуживающего
персонала, а также исключать возможность накопления зарядов статического
электричества в опасных количествах.
К основному оборудованию для обеспечения его безопасности при
эксплуатации и защиты обслуживающего персонала дополнительно предусматривают
защитные устройства. Их можно подразделить на специальные и общие.
Специальные объединяют защитные устройства от радиоактивных излучений,
электрического тока, проявлений атмосферного электричества и т.п.,
предусматриваемые при проектировании оборудования.
Общие защитные устройства включают ограждения, блокировки, тормоза и
другие приспособления. Общие защитные устройства предназначаются для ограждения
движущихся или опасных для прикосновения частей механизмов и приборов, исключая
возможность доступа к ним; блокировки ограждений с электродвигателем, а также
приборами для его пуска и защиты; приспособлений, обеспечивающих безопасность
пуска и надежность остановки механизмов, приборов сигнализации безопасности.
Предохранительные устройства предназначены для автоматического отключения
агрегатов и машин при появлении в их работе отклонений от заданных параметров
или в целях предупреждения опасности для работающего. Они рассматриваются по
отдельным видам производственного оборудования.
Надежное крепление деталей на станках обеспечивают специальные
приспособления. В случае применения в приспособлениях для зажима деталей
пневматических, гидравлических или электромагнитных устройств, как и в данном
технологическом процессе, предусматриваются ограждение и блокировка, исключающие
вылет обрабатываемых деталей при перерывах в питании воздухом, рабочей
жидкостью или электрическим током.
Подачу заготовок в приспособление следует производить с удобной для
рабочего стороны. При этом установку и снятие со станков, прессов и транспортных
средств деталей, приспособлений и инструмента массой более 16 (кг) необходимо
производить с помощью подъемных механизмов: кранов, тележек с подъемными
платформами и т.д. Подъемные механизмы оснащают приспособлениями,
обеспечивающими надежное удержание заготовки, изделия или инструмента, а также
удобный и безопасный подъем и установку их на станок.
4.3.9 Рекомендации по обеспечению освещения на
рабочих местах
Немаловажное значение при любом производственном процессе имеет
производственное освещение, так как правильно устроенное освещение обеспечивает
хорошую видимость и создает благоприятные условия труда. Недостаточное
освещение вызывает преждевременное утомление, притупляет внимание работающего,
снижает производительность труда, ухудшает качественные показатели и может
оказаться причиной несчастного случая.
При проектировании естественного и искусственного освещения в
производственных и вспомогательных зданиях и помещениях, а также искусственного
освещения на территории предприятий надлежит руководствоваться требованиями
строительных норм и правилпо проектированию естественного и искусственного
освещения, а также требованиями отраслевых норм проектирования освещения,
разработанных и утвержденных в установленном порядке.
По конструктивным особенностям естественное освещение подразделяется на
боковое, осуществляемое через окна в наружных стенах; верхнее, осуществляемое
через аэрационные фонари, проемы в покрытиях, а также через световые проемы в
местах перепадов высот смежных пролетов зданий; комбинированное, когда к
верхнему освещению добавляется боковое.
Искусственное освещение предусматривается в помещениях, в которых
недостаточно естественного света или для освещения помещения в те часы суток;
когда естественный свет отсутствует.
По конструктивному исполнению искусственное освещение может быть двух
типов- общее и комбинированное, когда к общему освещению добавляется местное,
концентрирующее световой поток непосредственно на рабочих местах.
Общее освещение подразделяется на общее равномерное освещение (при
равномерном распределение светового потока без учета расположения оборудования)
и общее локализованное освещение (при распределении светового потока с учетом
расположения рабочего места).
Применение одного местного освещения внутри зданий не допускается.
На машиностроительных предприятиях рекомендуется применять систему
комбинированного освещения там, где выполняются точные зрительные работы, где
оборудование создает глубокие, резкие тени или рабочие поверхности расположены
вертикально.
4.4 Расчет вентиляции участка цеха
Чтобы создать в производственных помещениях нормальные метеорологические
условия, удалить из них вредные газы и пары, пыль необходимо правильно
спроектировать и надлежащим образом эксплуатировать вентиляционную систему
(ГОСТ12.4.021-75).
Работа вентиляционных систем в комплексе с выбором технологических
процессов по ГОСТ 12.3.002-75 и производственного оборудования, отвечающего
требованиям ГОСТ 12.2.003-74, должна создавать на постоянных рабочих местах, в
рабочей и обслуживаемой зонах помещений метеорологические условия и чистоту
воздушной среды, соответствующие действующим санитарным нормам.
Вентиляция - это организованный воздухообмен в помещениях.
Вентиляция по способу перемещения воздуха подразделяется на: естественную
и принудительную. Возможно их сочетание - смешанная вентиляция.
В цеху при производстве подкрановой балки применяется смешанная
вентиляция.
Пыль, образующаяся при дуговой сварке, содержит ряд токсических веществ
(окислы марганца, хрома, кремния, железа и азота, соединения фтора и т. п.) и
поэтому является одной из главнейших профессиональных вредностей труда
электросварщиков. При высокой температуре сварочной дуги часть веществ
электродных покрытий переходит в парообразное состояние. Пары, попадая в
атмосферу цеха, конденсируются и превращаются в аэрозоль конденсации, частицы
которой по своей дисперсности приближаются к дымам и отличаются высокой
скоростью распространения в атмосфере. Санитарными нормами общее содержание
такой “электросварочной” пыли в воздухе цеховых помещений ограничено минимально
допускаемыми его значениями gд=4 (мг/м3) в сборочно-сварочных цехах с
общеобменной приточно-вытяжной вентиляцией при невозможности устройства в них
местных отсосов пыли.
Определим среднее расчетное часовое загрязнение воздуха пылью при
отсутствии вентиляции:
, (4.1)
гдеQп - расчетное часовое загрязнение воздуха пылью при отсутствии
вентиляции, (мг/м3);э - годовое потребление электродов для дуговой сварки, Gэ
=9716,34 (кг);
Ап - среднее отношение веса пыли, выделяемой в окружающее пространство
при дуговой сварке, к весу расходуемой электродной проволоки, для
полуавтоматической сварки в СО2+ArAп=0,0045;
Фм - действительный годовой фонд времени работы сборочно-сварочных
рабочих мест, Фм =2070 (ч);п - объем вентилируемого сборо-сварочного участка,
Vп =4752 (м3).
При устройстве общеобменной приточно-вытяжной вентиляции кратность
часового воздухообмена kч, необходимого для снижения расчетного загрязнения Qп воздуха пылью до предельно
допустимой концентрации gд ,
определяют по формуле 4.2:
,
(4.2)
Результаты вычисления кратности часового воздухообмена kч, показывают,
что устройство общеобменной приточно-вытяжной вентиляции в сборо-сварочном
участке, должно обеспечивать приток свежего воздуха в размере не менее 1.12
части от объема сборо-сварочного участка в час, что составляет5322.24 м3/ч
В цехе для обеспечения воздухообмена на ряду с общеобменной вентиляцией
будет применяться местные отсосы, что снижает расчетное значение кратности
часового воздухообмена kчдо 30-40%.
5. Промышленная экология
Целью данного раздела дипломного проекта является экологическое
обоснование проектирования рамы линейной для скребкового конвеера СПМ87Д в
условиях завода РГТО.
Основными источниками загрязнения атмосферы на заводе РГТО являются:
термический, прокатный, сварочный, лакокрасочный цеха, а также цех механической
обработки.
Вентиляционный воздух, выбрасываемый из термического цеха загрязнён
парами масла, аммиаком, цианистым водородом. Источниками загрязнений в
термическом цехе являются нагревательные печи, работающие на жидком топливе.
Продукты сгорания топлива из печей выбрасываются в атмосферу через трубы без специальной
очистки. Концентрация пыли в воздухе, удаляемом из дробеструйных и дробемётных
камер, где металл очищается после термической обработки, достигает 2-7 (г/м3).
В процессе обработки металла в прокатном цехе выделяется много пыли,
туманов кислот и масел. Пыль образуется главным образом в результате
измельчения окалины валками, при этом около 20 (%) пыли имеют размер частиц
менее 10 (мкм).
При проведении сварочных работ в атмосферу попадают токсичные газы и
пыль. Ручная электродуговая сварка электродами с покрытиями и сварка в защитных
газах плавящимся электродом сопровождается выделением мелкодисперсной пыли.
Сварочная пыль на 99 (%) состоит из частиц размером от 10-3 до 1 (мкм), около 1
(%) пыли имеют размер частиц 1-5 (мкм), а частиц более 5 (мкм) всего десятые
доли процента. Химический состав выделяющихся при сварке загрязнений зависит в
основном от сварочных материалов (проволоки, покрытий, флюсов) и в меньшей
степени от химического состава свариваемых металлов. Относительно небольшим
пылевыделением характеризуется процесс сварки под флюсом, поскольку флюс
препятствует непосредственному контакту расплавленного металла с кислородом
воздуха, тормозит процессы окисления и испарения. Однако процессу сварки под
флюсом свойственно значительное выделение пыли при засыпке флюса в бункер и при
сборе остатков флюса после сварки. Газовая и плазменная резка металлов
сопровождается выделением пыли и вредных газов. Пыль представляет собой
конденсат оксидов металлов, размер которых не превышает 2 (мкм). Химический
состав пыли определяется главным образом маркой разрезаемого материала. При
резке обычно выделяются токсичные соединения хрома и никеля, марганец, вредные
газы -СО, NОх, а при плазменной резке образуется ещё и озон.
В лакокрасочном цехе вредные вещества выделяются как в период нанесения
покрытий на изделия, так и при высыхании. При механизированных способах
нанесения покрытий, в воздух помещения выделяются до 8-18 (%) паров
растворителя и 1-7 (%) аэрозоля.
В цехе механической обработки металл, обрабатываемый на станках
сопровождается выделением пыли, стружки, туманов масел и эмульсий, которые
через вентиляционную систему выбрасываются из помещения. В процессах шлифования
и полирования выделяется большое количество тонкодисперсной пыли. Пыль,
образующаяся в процессе абразивной обработки, на 30-40 (%) состоит из материала
абразивного круга, на 60-70 (%) из материала обрабатываемого изделия.
Количество выделяющейся пыли зависит от размеров и твёрдости обрабатываемого
металла, диаметра и окружной скорости круга, а также способа подачи изделия.
При зачистке и шлифовке изделий выделяется более 50 (г/ч) пыли с одного станка.
Вредные выбросы цеха механической обработки древесины состоит в основном из
опилок, стружки и древесной пыли.
Наиболее эффективными мероприятиями по снижению вредных выбросов в
атмосферу являются наладка и проверка эффективности газоочистных установок,
которые проводятся не реже одного раза в год.
Проверка эффективности работы газоочистных установок (ГОУ) проводится без
Центральной заводской лаборатории. По результатам проверки ГОУ, Центральная
заводская лаборатория составляет протокол, который отдаёт в бюро охраны
окружающей среды и в цех.
При оценке эффективности работы ГОУ определяются следующие параметры:
количество газа и пыли на входе и выходе из установки;
гидравлическое сопротивление ГОУ и отдельных её аппаратов;
степень очистки установки в целом и каждым аппаратом в отдельности.
Наладку ГОУ производится ремонтным персоналом цеха. Обслуживающим
персоналом ведётся журнал ремонта и эксплуатации, в который заносятся
результаты осмотров газоочистных установок: наблюдаемые отклонения от
установленного оптимального режима, обнаруженные неисправности, случаи
отключения отдельных агрегатов, или вывод из строя всей газоочистной установки,
также отмечается чистка.
В процессе производства происходит загрязнение сточных вод.
В механическом цехе при обработке металлов вода используется для
охлаждения инструмента, на промывке деталей и обработке помещений, при этом
сточные воды загрязняются минеральными маслами, мылами, металлической и
абразивной пылью, и эмульгаторами. Основное загрязнение вносят
смазочно-охлаждающие жидкости (СОЖ), применяемые при обработке деталей на
металлорежущих станках с объёмной долей веществ в % : триэтаноламин-1;
мылонавт-2; олеиновая кислота-0,5; кальцинированная сода-1,5 и др. В процессе
механической обработке деталей СОЖ загрязняются механическими частицами с
концентрацией 20 (г/л).
В прокатном цехе вода используется для охлаждения оборудования станов,
гидросбива металлической окалины и обработки помещения. Сточные воды
загрязняются в основном маслом и окалиной. При прокатке металлов на
крупносортных станах образуется до 2 (%) окалины от массы прокатываемого
металла; на среднесортных-до 3 (%) и мелкосортных- до 4 (%), при этом масса
частиц с размером более 1 (мм) составляет 90 (%) от всей массы окалины.
В остальных цехах (термический, сварочный, лакокрасочный) сточные воды
содержат механические примеси, маслопродукты, однако концентрация этих веществ
значительно ниже, чем в вышеприведённых цехах.
Основные загрязнители бытовых сточных вод являются: крупные примеси
(остатки пищи, тряпки, песок); примеси органического и минерального
происхождения в нерастворённом, коллоидном и растворённых состояниях;
различные, в том числе болезнетворные, бактерии.
Наиболее эффективными методами по очистке сточных вод являются методы:
процеживания, отстаивания, отделения механических частиц в поле действия
центробежных сил и фильтрование.
При изготовлении рамы линейной прихватки и сварка выполняется в среде
защитных газов (СО2) сварочной проволокой Св-08Г2С, удельный выброс вредных
веществ которой представлен в таблице 5.1.
Таблица 5.1
Удельные выделения вредных веществ присварке сварочной проволоки Св-08Г2С
(г/кг)
|
Пыль
|
Аэрозоли в составе пыли
|
Газы
|
|
MnO2
|
CrO3
|
Оксиды железа
|
СО
|
|
9,7
|
0,5
|
0,02
|
7,48
|
14
|
Кол-во вредных выбросов при изготовлении единицы продукции определяется
по формуле 5.1:
МСА=g∙m, (5.1)
где g - удельные выделяющиеся вещества при сварке, определяется потаблице
5.1;- масса наплавленного металла при сварке, (кг).
Требуется рассчитать количество вредных выбросов от сборки (прихватки),
сварки при изготовлении рамы линейной.
Так как рама линейная изготовляется методом узловой сборки-сварки, то
расчет количества вредных выбросов от сборки (прихватки) и сварки
рассматривается на примере сборки и сварки подузла №1.
Масса наплавленного металла при сборке и сварке подузла№1 рассчитывается
по формуле 5.2:
, (5.2)
где k − катет прихватки или сварного шва, (см);− длина
прихватки или сварного шва, (см);
γ − плотность электродной
проволоки, (кг/см3);− коэффициент увеличения для угловых швов
Масса наплавленного металла при сборке подузла №1:=0,6 (см), γ=0,00785
(кг/см3), ky = 1,35,
длина прихватки L равна 4 (см)количество прихваток равно 16, следовательно
длина прихватки определитсякак сумма длин шестнадцати прихваток и составит 64
(см).
, (кг)
Следовательно, количество вредных выбросов при сборке подузла №1 составит
пыль:
МСА=
,(г/изд)
Марганец и его оксиды:
МMn=0,5∙0,12=0,06, (г/изд)
Хром и его оксиды:
МCr=0,02∙0,12=0,0024, г/изд;
Оксиды железа:
МFe=7,48∙0,12=0,8976, (г/изд)
Газы:
МCO=14∙0,12=1,68, (г/изд)
Подобным образом находится количество вредных выбросов при сборке рамы
линейной для каждого узла и подузла. Сложив количество вредных выбросов при
сборке каждого узла, получим количество вредных выбросов при сборке одной рамы
линейной и умножив это значение на годовую программу выпуска, равную 1000
изделий в год, получим количество вредных выбросов от сборки рамы линейной за
год.
Результаты расчета количества вредных выбросов при узловой сборке рамы
линейной представлены в таблице 5.2.
Таблица 5.2
Количество вредных выбросов при узловой сборке рамылинейной (г), при
длине прихватки 4 (см) и массе прихватки 0,0075 (кг)
|
Наименование операции
|
Кол-во прихваток на узел
|
Пыль
|
Аэрозоли в составе пыли
|
Газы
|
|
|
|
MnO2
|
CrO3
|
Оксиды железа
|
СО
|
|
Сборка узла № 1
|
68
|
0,402
|
0,09
|
0,0036
|
1,34
|
2,52
|
|
Сборка подузла № 1
|
15
|
0,204
|
0,06
|
0,0024
|
0,8976
|
1,68
|
|
Сборка подузла № 2
|
15
|
0,204
|
0,06
|
0,0024
|
0,8976
|
1,68
|
|
Сборка узла № 2
|
4
|
0,096
|
0,005
|
0,0002
|
0,06
|
0,14
|
|
Сборка узла № 3
|
16
|
0,388
|
0,02
|
0,0008
|
0,28
|
0,56
|
|
Общая сборка
|
50
|
1,746
|
0,09
|
0,0036
|
1,34
|
2,52
|
|
На одно изделие
|
168
|
3,04
|
3,025
|
0,013
|
4,81
|
9,1
|
|
На годовую программу 1000
шт
|
168000
|
3040
|
3025
|
13
|
4810
|
9100
|
Масса наплавленного металла при сварке подузла №1:=1(см), γ=0,0078
(кг/ см3), ky = 1,35,
длина сварного шва №8 L равна 154(см),количество швов данной длины в подузле №
1 равно 2, так же есть сварной шов №8 длиной 27,5 (см),количество швов данной
длины в подузле № 1 равно 2, следовательно длина швов определится как сумма
длин четырех швов и составит 363 (см).
, (кг)
Следовательно, количество вредных выбросов при сварке подузла № 1
составит пыль:
МСА=2,04∙1,91=3,9, (г/изд)
МСА=0,5∙1,91=0,955,(г/изд)
Хром и его оксиды:
МСА=0,02∙1,91=0,038, (г/изд)
Оксиды железа:
МСА=7,48∙1,91=14,28,(г/изд)
Газы:
МСА=14∙1,91=26,74,(г/изд)
Подобным образом находиться количество вредных выбросов при сварке рамы
линейной для каждого узла и подузла. Сложив количество вредных выбросов при
сварке каждого узла, получим количество вредных выбросов при сварке одной рамы
линейной и умножив это значение на годовую программу выпуска, равную 1000
изделий в год, получим количество вредных выбросов от сварки рамы линейной за
год. Результаты расчета количества вредных выбросов при узловой сварке рамы
линейной представлены в таблице 5.3.
Таблица 5.3
Количество вредных выбросов при узловой сварке рамы линейной, (г)
|
Наименование операции
|
Площадь шва, см2
|
Длина шва, см
|
Масса наплавленного
металла, кг
|
Аэрозоли в составе пыли
|
Газы
|
|
|
|
|
Пыль
|
MnO2
|
CrO3
|
Оксиды железа
|
СО
|
|
Сварка узла № 1
|
0,9
|
1700
|
12,01
|
22,5
|
1,16
|
0,05
|
17,35
|
44,8
|
|
Сварка подузла № 1
|
0,62
|
363
|
1,76
|
3,9
|
0,955
|
0,038
|
14,28
|
26,74
|
|
Сварка подузла № 2
|
0,62
|
363
|
1,76
|
3,9
|
0,955
|
0,038
|
14,28
|
26,74
|
|
Сварка узла № 2
|
0,62
|
142
|
0,7
|
8,73
|
0,45
|
0,018
|
6,73
|
12,6
|
|
Сварка узла № 3
|
0,9
|
412
|
2,9
|
10,8
|
3,17
|
0,13
|
47,5
|
88,9
|
|
Общая сварка
|
0,9
|
905
|
6,4
|
279,55
|
14,41
|
0,58
|
215,57
|
403,48
|
|
На одно изделие
|
2,32
|
3885
|
25,53
|
329,38
|
21,1
|
0,854
|
315,71
|
603,26
|
|
На годовую программу 1000
шт
|
2320
|
|
25530
|
329380
|
21100
|
854
|
315710
|
603260
|
Суммируя количество годовых вредных выбросов от сборки и сварки при
изготовлении рамы линейной получаем количество вредных выбросов на годовую
программу выпуска.
Результаты расчета количества вредных выбросов на годовую программу
выпуска при изготовлении рамы линейной представлены в таблице 5.4.
Таблица 5.4
Количество вредных выбросов на годовую программу при изготовлении рамы
линейной, (т/год)
|
Операции
|
Пыль
|
MnO2
|
CrO3
|
Оксиды железа
|
СО
|
|
Сборка
|
0,03
|
0,003025
|
0,0000013
|
0,004810
|
0,0091
|
|
Сварка
|
0,32
|
0,0211
|
0,00085
|
0,32
|
0,603
|
|
Итого:
|
0,35
|
0,024125
|
0,0008513
|
0,324810
|
0,6121
|
Ущерб, наносимый воздушному бассейну, находится по формуле
Уа=
, (тенге/год) (5.3)
где
- безразмерный показатель, учитывающий тип
загрязняемой территории,
= 4;
-
стоимостная оценка 1 усл.т загрязняющих веществ, тенге/усл.т,
= 650 тенге/усл.т;
-
безразмерный показатель, учитывающий характер рассеивания примесей в
атмосфере;годовая приведенная масса выбросов, усл.т/год.
Значение
коэффициента f определяется по формулам для газообразных примесей и
легких мелкодисперсных частиц с очень малой скоростью оседания (менее 1 см/с):
, (5.4)
гдеh - геометрическая высота устья
источника по отношению к среднему уровню зоны атмосферного загрязнения, (м);
φ - поправка на тепловой подъем факела
выброса в атмосферу, определяется по формуле
, (5.5)
где
- среднегодовое значение разницы температур в устье
источника и в окружающей среде на уровне устья, (в данном случае 75°С);
U -
среднегодовое значение модуля скорости ветра на уровне флюгера, (м/с).
Втех
случаях когда значение U неизвестно, оно принимается равным 3 м/с.
Годовая
приведенная масса промышленных выбросов выполняется по формуле
,
(усл.т/год) (5.6)
где mi -годовая масса выбросов i-го вещества, (т/год);- показатель
относительной агрессивности вещества, (усл.т/год).
Коэффициент агрессивности загрязняющих выбросов определяется по формуле
Аi = 1 / ПДКi, (5.7)
где ПДК - среднесуточная предельно допустимая концентрация, мг/м3.
Таблица 5.5
Значения ПДК загрязняющих веществ, выбрасываемых в атмосферу
|
Вещество
|
ПДКсут,мг/м3
|
|
Оксид углерода
|
3,0
|
|
Оксиды Fe
|
0,15
|
|
Неорганические соединения
VI-тивалентного хрома, по CrO3
|
15·10-4
|
|
Марганец и его оксиды в
пересчете на Mn (для аэрозоля дезинтеграции)
|
0,01
|
Определяем поправку на тепловой подъем факела выброса в атмосферу, по
формуле 5.5:
Определяем значение коэффициента f по формуле 5.5:
Определяем годовую приведенную массу выбросов по формуле 6.7:
Тогда ущерб, наносимый воздушному бассейну составит:
Уа=
=4·650·0,33·5,35=4590,3 , (тенге/год)
В процессе производства образуется большое количество отходов: стружка,
бракованная сварочная проволока, увязочная проволока от прибывшего
металлопроката, шлак от кислородной резки, брызги расплавленного металла,
остатки электродов, выдавки от пробивки отверстий, окалины, списанный
инструмент и оборудование, металлолом, резина, бумага, ткань, песок, шлак,
древесина, пластмасс, люминесцентные лампы, сажа, масла, осадки сточных вод.
Все виды отходов делятся на твердые и жидкие. К твердым отходам относятся
отходы металлов, дерева, пластмасс и других материалов, пыли минерального и
органического происхождения от очистных сооружений в системах очистки газовых
выбросов предприятия, а также мусор, состоящий из различных органических и
минеральных веществ: резины, бумаги, шлака. К жидким отходам относятся осадки
сточных вод после их обработки, а также шламы пыли минерального и органического
происхождения в системах мокрой очистки газов.
Большое количество твердых отходов принадлежит металлическим отходам.
Вторичные ресурсы металлов складываются из лома и отходов. Ломом металлов
называют изношенные и вышедшие из употребления детали и изделия из металлов и
сплавов. Отходами металлов называются промышленные отходы всех стадий передела,
содержащие металлы или состоящие из них, получаемые при плавке и механической
обработке, а также неподдающийся исправлению брак деталей и изделий,
возникающий в процессе производства.
Важное значение имеет рациональная организация хранения деловых отходов
металла и их использования, так как это не просто технологическая операция, а
важнейшее мероприятие, обеспечивающее экономное расходование металлопроката.
Деловые отходы маркируются как металлопрокат по толщинам и маркам стали,
увязываются в пакеты проволокой и хранятся в стеллажах. По мере надобности
пакеты деловых отходов попадают в цех обработки.
Весь металлолом, находящейся на заводе сдаётся на металлобазу по
договору, для чего в конце каждого месяца на территорию завода приезжают
грузовые машины.
Осадки сточных вод, скапливающиеся на очистных сооружениях, представляют
собой водные суспензии с объёмной концентрацией полидисперсной твёрдой фазы от
0,5 до 10 (%).Поэтому прежде чем направлять осадки сточных вод на ликвидацию
или утилизацию, они подвергаются предварительной обработке для получения шлама,
свойства которого обеспечивают возможность его утилизации или ликвидации с наименьшими
затратами и загрязнениями окружающей среды. Ликвидация осадков сточных вод
применяется в тех случаях, когда утилизация оказывается невозможной. Выбор
метода ликвидации осадков определяется их составом. Сжигание - один из наиболее
распространённых методов ликвидации сточных вод. Предварительно обезвоженные
осадки органического происхождения имеют теплотворную способность 16800-21000
(кДж/кг), что позволяет поддерживать процесс горения без использования
дополнительных источников теплоты. Осадки сжигаются в циклонных печах.
Очистка сточных вод от маслопримесей производится следующим образом: в
отстойниках собирается большое количество маслопримесей, из которых после
отстаивания их во вторичных отстойниках утилизируется чистое масло, которое
будет использовано в технологических процессах.
Отходы в виде шлака используются для ремонта дорог. А основными
направлениями ликвидации и переработки оставшихся отходов являются вывоз и
захоронение на полигоне, сжигание, складирование и хранение на территории завода.
6. Организация и экономика производства
6.1 Расчет необходимого количества оборудования
сварной соединение рама полуавтоматический
Принимается серийный тип производства, обоснованием этому служит
достаточное количество реальных потребителей данной конструкции, таких как
шахты Карагандинского угольного бассейна, а так же шахт ближнего зарубежья -
России, Украины и Китая. В связи с недавними авариями, на Карагандинских шахтах
начинается строительство новых шахтных комплексов, что служит необходимостью
выпускать рамы линейные в серийном типе производства.
Отталкиваясь от спроса на данную конструкцию для дальнейшего расчета
принимаем программу выпуска рамы линейной в размере 1000 шт.
; (6.1)
где
- количество нормированныхстанкочасов для выполнения
заданной годовой программы на данном типе оборудования
- средний
коэффициент выполнения нормы выработки по тем операциям на которых применяется
данное станочное, сборочно-сварочное оборудование и оснастки;
= 1,1.
Поскольку
трудоёмкость производства рамы линейнойвелика, выбирается двухсменный режим
работы в цехе.
(1)
(1)
(1)
(1)
(1)
(1)
(1)
(1)
(1)
(1)
(1)
(1)
Степень использования оборудования или рабочих мест по времени
определяется проектным коэффициентом загрузки, который представляет собой
отношение расчетного количества оборудования к принятому:
, (6.2)
,
,
,
,
,
,
,
,
,
,
,
,
Коэффициентом загрузки оборудования:
, (6.3)
.
Путем синхронизирования объединяем операции сборка подузла №1, сборка
подузла №2, сварка подузла №1 и сварка подузла №2. Сборку узла №2 объединяем со
сваркой узла №2, сборку узла №3 объединяем со сваркой узла №3, а так же общую
сборку с общей сваркой.
(1)
(1)
(1)
(1)
Степень использования оборудования или рабочих мест
,
,
,
,
,
,
Средний по участку (цеху) коэффициентом загрузки оборудования:
Таблица 6.1.1
Степень использования оборудования на рабочих местах
|
Рабочие места
|
До синхронизации
|
После синхронизации
|
|
М
|
Мпр
|
η
|
ηср
|
М
|
Мпр
|
η
|
ηср
|
|
1
|
2
|
3
|
4
|
5
|
6
|
7
|
8
|
9
|
10
|
|
Сборка узла№1
|
0,25
|
1
|
0,25
|
0,3
|
0,25
|
1
|
0,25
|
0,6
|
|
Сборка сварка
|
Сборка подузла №1
|
0,077
|
1
|
0,077
|
0,3
|
0,97
|
1
|
0,97
|
0,6
|
|
Сборка подузла №2
|
0,077
|
1
|
0,077
|
|
|
|
|
|
|
Сварка подузла №1
|
0,41
|
|
0,41
|
|
|
|
|
|
|
Сварка подузла №2
|
0,41
|
|
0,41
|
|
|
|
|
|
|
Сборка узла№2
|
0,04
|
1
|
0,04
|
|
0,2
|
1
|
0,2
|
|
|
Сварка узла №2
|
0,1
|
1
|
0,1
|
|
|
|
|
|
|
Сборка узла№3
|
0,072
|
1
|
0,072
|
0,3
|
0,54
|
1
|
0,54
|
0,6
|
|
Сварка узла№3
|
0,78
|
1
|
0,78
|
|
|
|
|
|
|
Сварка узла №1
|
0,25
|
1
|
0,25
|
|
0,25
|
1
|
0,25
|
|
|
Общая сборка
|
0,26
|
1
|
0,26
|
|
0,77
|
1
|
0,77
|
|
|
Общая сварка
|
0,5
|
1
|
0,5
|
|
|
|
|
|
6.2 Расчет состава и числа работающих
Для серийного производства определение планируемой списочной численности
производственных рабочих сборочно-сварочных цехов и участков производится на
основе разработанного и нормированного технологического процесса:
;
(6.4)
где
- действительный годовой фонд времени рабочего.
-
коэффициент, учитывающий численность бригады либо многостаночное обслуживание.
Принимается равным количеству работающих в отношении единицы к количеству
обслуживающих машин.
-
коэффициент перегрузки;
= 1.
- время
выполнения операций на отдельных рабочих местах.
-программа
выпуска металлоконструкций.
(1)
(3)
(1)
(1)
(2)
(2)
Трудоемкость выполнения годовой программы:
; (6.5)
Таблица 6.2.1
Количество основных рабочих
|
Технологическая операция
|
Q
|
Фэ, час
|
Количество рабочих
|
|
|
|
Расчетное
|
Практическое
|
|
1
|
2
|
3
|
4
|
5
|
|
Сборка узла №1
|
1103
|
1840
|
0,54
|
1
|
4241
|
1840
|
2,1
|
3
|
|
Сборка узла №2/сварка узла
№2
|
671
|
1840
|
0,33
|
1
|
|
Сборка узла №3/ Сварка узла
№3
|
1560
|
1840
|
0,77
|
1
|
|
Общая сборка/ Общая сварка
|
3338
|
1840
|
1,64
|
2
|
|
Сварка узла №1
|
3807
|
1820
|
1,91
|
2
|
|
Итого
|
14720
|
18300
|
7,29
|
10
|
Численность ИТР на участке может быть принята по укрупнённым показателям
- 8% от численности производственных рабочих.
Ввиду малой численности производственных рабочих количество ИТР принимаем
равным 1 человек.
Таблица 6.2.2
Ведомость производственных рабочих
|
Профессия рабочего
|
Численность
|
Разряд
|
|
|
1
|
2
|
3
|
4
|
5
|
6
|
|
Сборщик
|
5
|
|
|
|
3
|
1
|
1
|
|
Сварщик
|
5
|
|
|
|
3
|
1
|
1
|
|
Итого
|
10
|
0
|
0
|
0
|
6
|
2
|
2
|
Оплата всех работ по ремонту, наладке оборудования, транспортных
операций, уборке территории включена в арендную плату за производственные
площади.
6.3 Расчет себестоимости изделия
6.3.1 Расчет заработной платы
В настоящее время для начисления зарплаты занятым в материальном
производстве используется следующий подход. С одной стороны, высокая заработная
плата может сильно сказаться на стоимости изделия, с другой стороны, малая
заработная плата не даст возможности набрать квалифицированный персонал и
снизит качество работы. Назначенная зарплата представлена в таблице 6.3.1.
Таблица 6.3.1
Штатное расписание
|
№
|
Должность
|
Разряд
|
Оклад, тыс. тг.
|
Коэфф. Участия
|
Годовой фонд, тыс. тг.
|
|
1
|
2
|
3
|
4
|
5
|
6
|
|
1
|
Мастер участка - контролер
|
|
100
|
1.0
|
1200
|
|
2
|
Сборщик 1
|
5
|
30
|
1.0
|
360
|
|
3
|
Сборщик 2
|
4
|
25
|
1.0
|
300
|
|
4
|
Сборщик 3
|
4
|
25
|
1.0
|
300
|
|
5
|
Сборщик 4
|
4
|
25
|
1.0
|
300
|
|
6
|
Сборщик 5
|
6
|
35
|
1.0
|
420
|
|
7
|
Сварщик 1
|
5
|
50
|
1.0
|
600
|
|
8
|
Сварщик 2
|
4
|
45
|
1.0
|
540
|
|
9
|
Сварщик 3
|
4
|
45
|
1.0
|
540
|
|
10
|
Сварщик 4
|
4
|
45
|
1.0
|
540
|
|
11
|
Сварщик 5
|
6
|
55
|
1.0
|
660
|
|
12
|
бухгалтер
|
|
100
|
1.0
|
1200
|
|
Итого:
|
580
|
|
6960
|
6.3.2 Расчет затрат на основные средства и амортизационные отчисления
Стоимость здания и сооружения, соответствующая проектируемому участку
определяется по формуле (укрупнено):
(6.6)
где
- производственная площадь, м2;
- часть
вспомогательной площади, равной
;
-площадь
служебно-бытовых помещений, м2 (определяется из расчета 5,5м2 на одного
рабочего);
-
стоимость 1м2 площади цеха, принимается равной 112 $/м;
-
стоимость 1м2 служебно-бытовых помещений, принимается 150$/м2.
На
1 мая 2012 года курс доллара равен 147,9 тенге, следовательно:
, тг.
Размер арендной платы Азд в этом случае будет равен:
, тг. (6.7)
, тг.
Коэффициент 0,07 показывает норму амортизационных отчислений. Принимаем
нормы амортизационных отчислений для сварочного и другого оборудования= 15%,
для зданий и сооружений= 7%. Амортизация основных фондов и арендная плата
приведены в таблице 6.3.2.
Таблица 6.3.2
Амортизация основных фондов и средняя плата за использование основных
фондов
|
Наименование объекта,
оборудования
|
Количество, шт.
|
Стоимость ед. тыс. тг.
|
Сумма тыс. тг.
|
Амортизацион-ные
отчисления, тыс.тг
|
|
1. Производственная и
бытовая площади
|
432+108
|
|
10409,2
|
728,64
|
|
2. Сварочное оборудование:
|
|
|
|
|
|
2.1 Сварочный выпрямитель
ВДУ-506
|
5
|
270
|
1350
|
202,5
|
|
2.2 Сварочный полуавтомат
ПДГ-508
|
5
|
220
|
1100
|
165
|
|
3. Приспособления для
сборки - сварки
|
|
|
|
|
|
3.1 Кантовательдвухстоечный
|
4
|
929
|
3716
|
557,4
|
|
3.2 Рабочее место сборки
|
1
|
755
|
755
|
113,25
|
|
3.3 Рабочее место сборки
сварки
|
1
|
768
|
768
|
115,2
|
|
3.4 Кран
консольно-поворотный
|
3
|
685
|
2055
|
308,25
|
|
Итого
|
|
3627
|
20153,2
|
2190,24
|
Так как оборудования приобретается новое, то источником финансирования
служит кредит.
6.3.3 Малоценные и быстроизнашиваемые предметы
В данную группу относятся приспособления, производственный инструмент,
производственный и хозяйственный инвентарь стоимостью меньше 40 МРПи сроком
службы менее 1 года.
Затраты на приспособления принимаются равными 10-15% от стоимости
сварочного оборудования, а на инструмент - 20 % от одной общей стоимости
приспособления.
Стоимость производственного инвентаря определяется в размере 0,94 $ на
тонну годового выпуска изделия.
Стоимость хозяйственного инвентаря определяется из расчета 12 $на одного
рабочего и 30 $ на одного ИТР.
Стоимость верстаков, контрольных столов, стеллажей и прочего инвентаря
может быть принято в размере 1-2 % от общей стоимости машин и оборудования.
Результаты приведены в таблице 6.3.3.
Таблица 6.3.3
Малоценные и быстроизнашиваемые предметы
|
Наименование МБП
|
Стоимость, тыс. тг.
|
|
Приспособление и инструмент
|
1415,3
|
|
Производственный инвентарь
|
137,5
|
|
Хозяйственный инвентарь
|
23,9
|
|
Прочий инвентарь
|
97,4
|
|
Итого:
|
1674,1
|
6.3.4 Материалы
Применительно к сварочному производству материалы подразделяются на
основные и вспомогательные.
К основным материалам относятся: прокатный металл различного сортамента,
полуфабрикаты и заготовки, изготовляемые в других цехах, крепежные и другие
изделия, включая сварочную проволоку и электроды.
К вспомогательным материалам относятся: флюсы и горючие газы.
Затраты на основные и вспомогательные материалы берутся из сводной
материальной спецификации на изготовление рамы линейной завода РГТО.
Затраты на основные и вспомогательные материалы сведены в таблицу 6.3.4.
Таблица 6.3.4
Затраты на материалы
|
Вид материала
|
Марка материала
|
Цена, тг/кг
|
Расход мате-риала, кг
|
Общие затраты за вычетом
отходов,тг
|
|
Основные материалы
|
|
Лист
|
10Г2С - 10мм
|
18,447
|
23,78
|
438,67
|
|
10Г2С - 16мм
|
55,44
|
8,4
|
465,7
|
|
10Г2С - 20мм
|
55,44
|
306
|
16966,15
|
|
10Г2С - 25мм
|
55,44
|
555,1
|
30777,5
|
|
10Г2С - 30мм
|
51,048
|
35,9
|
1832,63
|
|
10Г2С - 40мм
|
54,57
|
29,6
|
1615,53
|
|
16Г2АФ-16мм
|
83,96
|
75,4
|
6330,7
|
|
16Г2АФ-30мм
|
83,82
|
93,2
|
7812,4
|
|
16Г2АФ-40мм
|
82,41
|
156,3
|
12882,14
|
|
Сталь 35
|
14,19
|
70,2
|
996,14
|
|
Бобышка
|
Сталь 35
|
43,56
|
92,8
|
4042,37
|
|
Вспомогательные материалы
|
|
Проволока
|
1,6-Св-08Г2С
|
79,025
|
88,4
|
6985,81
|
|
Углекислый газ
|
СО2
|
32,00
|
28,8
|
921,6
|
|
Итого
|
92066
|
6.3.5 Энергоресурсы
Затраты на энергоресурсы состоят из затрат на электроэнергию, воду,
сжатый воздух и пар.
Затраты на электроэнергию в общем случае определяются по формуле:
, (6.8)
где
- затраты на электроэнергию при сварке;
-
затраты на освещение.
, (6.9)
где
- годовой объем производства продукции, 1000 штук;
-
напряжение дуги, 30 В;
- сила
сварочного тока, 240 А;
- время
горения дуги, 113,4 мин;
- цена 1
кВт-ч электроэнергии, по данным предприятия 12 тенге.
тыс.
тенге,
Затраты на освещение
(6.10)
где
- средний расход электроэнергии для освещения 1м2
площади участка цеха, включая служебные и бытовые помещения.
= 18Вт/час;
-
площадь участка цеха;
-
годовая осветительная нагрузка. При одной смене
=800часов;
-
стоимость электроэнергии.
,тыс.
тенге
,тыс.
тенге
Затраты на воду, пар, отопление, вентиляцию включены в арендную плату.
6.3.6 Отчисления в бюджет
Хозяйствующие объекты производят следующие отчисления в бюджет: в
Пенсионный фонд, социальный налог, налог на имущество.
Отчисления в накопительные пенсионные фонды рассчитываются по формуле:
ПФ = З · 0,1, (6.11)
гдеЗ - общий годовой фонд заработной платы (таблица 6.5), 5760 тыс. тг;
ПФ = 6960 · 0.1 = 696 (тыс. тг.)
Отчисления социального налога рассчитываются по формуле:
СН = З · 0.9 · 0.11= 6960· 0.9 · 0.11 = 689,04 (тыс. тг.) (6.12)
Налог на имущество рассчитывается по формуле:
НИ = ОС · 0,01 = 20153,2· 0,01 = 201,5(тыс. тг.) (6.13)
где ОС - стоимость приобретенных основных средств.
Поскольку отчисления в пенсионные фонды производятся путем удержания из
зарплаты отчисления в бюджет будут состоять из СН и НИ.
Результаты расчётов занесены в таблицу 6.3.6.
Таблица 6.3.6
Отчисления в бюджет
|
Отчисления в бюджет
|
Сумма, тыс. тг
|
|
Социальный налог
|
689,04
|
|
Налог на имущество
|
201,5
|
|
Пенсионный фонд
|
696
|
|
Итого:
|
1586,5
|
6.3.7 Прочие затраты
В данную категорию входят затраты на содержание и ремонт малоценных и
быстроизнашиваемых предметов (20% от суммы затрат на МБП), затраты на
мероприятия по охране труда и промышленной экологии (150-300 $ на каждого
рабочего на участке), оплата командировок, почтовых расходов и канцелярских
принадлежностей (250-300 $ на каждого работающего на предприятии). Результаты
расчетов в таблице 6.3.7.
Таблица 6.3.7
Прочие затраты
Величина затрат, тыс. тг.
|
|
Содержание и ремонт МБП
|
334,8
|
|
Охрана труда и промышленная
экология
|
325,4
|
|
Оплата командировок и
почтовых расходов
|
443,7
|
|
Итого:
|
1103,9
|
6.3.8 Неучтенные затраты
Неучтенные затраты принимаются в размере 5% от суммы всех предыдущих
затрат. Сумма всех затрат в таблице 6.3.8.
Таблица 6.3.8
Затраты на изделие
|
Наименование затрат
|
Сумма, тыс. тг.
|
|
1. Заработная плата
|
6960
|
|
2. Амортизация основных
средств и аренда
|
20153,2
|
|
3. МБП
|
1674,1
|
|
4. Затраты на материалы
|
92066
|
|
5. Энергоресурсы
|
25265,5
|
|
6. Отчисления в бюджет
|
1586,5
|
|
7. Прочие затраты
|
1103,9
|
|
8. Неучтённые затраты
|
7440,5
|
|
Итого:
|
156249,7
|
6.4 Расчет прибыли
Конкурентоспособность при реализации рамы линецной обуславливается такими
критериями как использование качественного основного и вспомогательного
материала для изготовления данной конструкции, применение механизированной и
автоматизированной видов сварки, что улучшает качество сварных швов.
Учитывая, что горное оборудование на шахтах Карагандинского угольного
бассейна давно не менялось, что привело к недавними авариями на шахтах, в связи
с этим начинается ремонт и строительство новых шахтных комплексов и поэтому
существует повышенный интерес по приобретению данной конструкции этими
предприятиями. Так же рама линейная может реализоваться в странах ближнего
зарубежья, таких как Россия, Украина, Китай и т.д., имеющих горную добывающую
промышленность.
Установим размер выручки от реализации:
Bг = N·Цвэ (тг) (6.14)
где N - программа выпуска, шт;
Цвэ - стоимость единицы продукции.
Вг = 1000 ·190000= 190000000 (тг) (6.15)
Прибыль представляет собой разность между выручкой и себестоимостью
изделия:
П = 190000000-156249700 = 33750300 (тг)
Далее рассчитывается рентабельность, которая представляет собой отношение
прибыли к себестоимости:
или 22% (6.16)
Согласноналоговомукодексуюридическиелицаоблагаются подоходным налогом в
размере 30% от прибыли:
ПН
=33750300 
0.3 =
10125090 (тг) (6.17)
Тогда чистая прибыль составит:
ЧП = 33750300 -10125090 = 23625210 (тг) (6.18)
Таблица 6.3.9
Экономические показатели дипломного проекта (лист №9 графической части
дипломного проекта)
|
Показатели
|
Сумма, тыс. тг.
|
|
1. Выручка от реализации
при годовой программе N= 1000 шт.
|
190000
|
|
2. Себестоимость продукции
|
|
|
2.1 Заработнаяплата
|
6960
|
|
2.2 Амортизация основных
средств и аренда
|
20153,2
|
|
2.3 Материалы
|
92066
|
|
2.4 МБП
|
1674,1
|
|
2.5 Энергоресурсы
|
25265,5
|
|
2.6 Отчисления в бюджет
|
1586,5
|
|
2.7 Прочие затраты
|
1103,9
|
|
2.8 Неучтенные затраты.
|
7440,5
|
|
3. Прибыль
|
33750,3
|
|
4. Рентабельность %
|
22
|
|
5. Подоходный налог с
юридических лиц
|
10125,09
|
|
6. Чистая прибыль
|
23625,2
|
Список использованных источников
1. Куркин
С.А., Ховов В.М., Рыбачук А.М. Технология, механизация и автоматизация
производства сварных конструкций: Атлас: Учеб. Пособие для студентов
машиностроительных специальностей ВУЗов - М.: Машиностроение, 1989. - 327с.
. Рыморов
Е.В. Новые сварочные приспособления. - Л.: Стройиздат, Ленингр. Отд-ние, 1988.
- 124с.
. Гитлевич
А.Д., Техническое нормирование технологических процессов в сварочных цехах. -
М. Машгиз, 1982.
. ДаниловВ.
А., Боченин В.И. Методические указания к техническому нормированию
технологических процессов в сварочных цехах по нормированию.
. Полтев М.К.
Охрана труда в машиностроении: Учебник. - М.: Высш. Школа, 1980.
. Красовский
А. И. Основы проектирования сварочных цехов: Учебник для вузов - М.:
Машиностроение, 1980. - 317с.
.
Гинсбург-Шик Л.Д. Зарипов М.З. Справочное пособие по технике безопасности М.
Энергоатомиздат1990 г.
. Сорокин
В.Г, Волосникова А.В., Вяткин С.А. и др.Марочник сталей и сплавов; под общ.
Ред. В.Г.Сорокина.- М. Машиностроение, 1989.
. Анурьев
В.И. Справочник конструктора - машиностроителя. Справочник в 3-х томах - М.:
Машиностроение, 1982. 736с.
. Серенко
А.Н., Крумбольдт М.Н., Багрянский К.В.. Расчет сварных соединений и
конструкций. Под ред. к.т.н. доц. А.Н. Серенко - Киев: Высш. шк., 1977 - 336с.
. Николаев
Г.А., Винокуров В.А. Сварные конструкции расчет и проектирование. Под ред.
Николаева Г.А. - М.: Высш. шк., 1990. - 446с.
. Думов С.И.
Технология электрической сварки плавлением. Ленинград: Машиностроение. 1978.
368с.
. Патон Б.Е.
Технология электрической сварки металлов и сплавов плавлением. Под ред. Б.Е.
Патона. М.: Машиностроение. 1974. 768с.
. Малышев
Б.Д. Справочник монтажника. Под ред. Б.Д. Малышева. М.: Стройиздат. 1980. 782с.
. Оралова
А.Т. Промышленная экология. - Караганда: Изд-во КарГТУ, 2003. 141с.
. Гринин
А.С., Новиков В.Н. Промышленные и бытовые отходы. Хранение, утилизация,
переработка. М.: Изд-во Гранд, 2002. 336с.
. Денисенко
Г.Ф. Охрана труда. М.: Высш. шк. 1985. 319с.
. Юдин Е.Я.
Охрана труда в машиностроении. Под ред. Е.Я. Юдина, С.В. Белова. М.:
Машиностроение 1983. 432с.
Приложение А
Технические характеристики оборудования.
Таблица А-1
Пневматическая шлифовальная ручная машина - П 2013
|
Параметры
|
Значения
|
|
Диаметр шлифовального
круга, мм
|
150
|
|
Частота вращения шпинделя,
об/мин:
|
|
|
на холостом ходу
|
5500
|
|
под нагрузкой
|
4500
|
|
Мощность на шпинделе, Вт
|
1250,3
|
|
Расход воздуха, м3/мин
|
1,4
|
|
Диаметр шланга в свету, мм
|
16
|
|
Габаритные размеры, мм
|
580×164×130
|
|
Масса, кг
|
6,5
|
Таблица А-2
Полуавтомат ПДГ-508 для сварки в защитных газах (СО2)
|
Характеристики
|
Значения
|
|
Источник сварочного тока
|
ВДУ-506
|
|
Номинальный сварочный ток,
А
|
500
|
|
Пределы регулирования
сварочного тока, А
|
50-500
|
|
Напряжение холостого хода,
В
|
85
|
|
Номинальное рабочее
напряжение, В
|
46-50
|
|
Габариты источника питания,
мм
|
Длина
|
840
|
|
ширина
|
980
|
|
высота
|
1200
|
|
Масса источника питания, кг
|
350
|
|
Диаметр электродной
проволоки, мм
|
1,2-2
|
|
Габариты подающего
механизма, мм
|
Длина
|
448
|
|
Ширина
|
316
|
|
Высота
|
370
|
|
Скорость подачи электродной
проволоки, м/ч
|
108-932
|
|
Масса подающего механизма,
кг
|
26
|
Таблица А-3
Сварочный выпрямитель ВДУ-506
|
Характеристики
|
Значения
|
|
Генератор
|
ГСО-500
|
|
Привод двигателя
|
АВ2-71-2
|
|
Мощность приводного
двигателя, кВт
|
30
|
|
КПД, %
|
54
|
|
Частота вращения, мин-1
|
2930
|
|
Коэффициент мощности
|
0,89
|
|
Габарит, мм
|
Длина
|
1075
|
|
Ширина
|
650
|
|
Высота
|
1085
|
|
Масса, кг
|
540
|
Таблица А-4
Консольно-поворотный кран грузоподъемностью 500кг
|
Характеристики
|
Значения
|
|
Высота подъема, мм
|
2400
|
|
Скорость подъема, м/мин
|
8
|
|
Угол поворота, град:
|
|
|
консоли
|
360
|
|
стрелы
|
340
|
|
Радиус обслуживания, мм:
|
|
|
наименьший
|
1400
|
|
наибольший
|
3000
|
|
Габаритные размеры (длина,
высота), мм
|
3445х2940
|
|
Масса, кг
|
1520
|
Таблица А-5
Двухстоечныйкантователь КД1
|
Характеристики
|
Значения
|
|
Грузоподъемность, т.
|
1500
|
|
Допустимый момент вращения,
КГм
|
200
|
|
Высота центров, мм
|
1000
|
|
Скорость вращения шпинделя,
об/мин.
|
3
|
|
Длина свариваемых узлов, мм
|
2000-8000
|
|
Вес, кг.
|
2650
|