Позисторный эффект в титанате бария

  • Вид работы:
    Курсовая работа (т)
  • Предмет:
    Физика
  • Язык:
    Русский
    ,
    Формат файла:
    MS Word
    791,83 Кб
  • Опубликовано:
    2015-12-21
Вы можете узнать стоимость помощи в написании студенческой работы.
Помощь в написании работы, которую точно примут!

Позисторный эффект в титанате бария















Курсовая работа

Позисторный эффект в титанате бария

Введение

позистор сегнетоэлектрик хейванг джонкер

Современный научно-технический прогресс неразрывно связан с разработкой и освоением новых материалов. Именно материалы стали ключевым звеном, определяющим успех многих инженерных решений при создании сложнейшей аппаратуры. В настоящее время число наименований материалов, применяемых в технике для различных целей, составляет десятки тысяч.

При использовании материалов необходимо знание комплекса их свойств, позволяющих использовать их при различных условиях эксплуатации. А нередко перед конструкторами и технологами возникают и более сложные задачи по созданию материалов с заранее заданными свойствами. Основными проблемами в развитии всех направлений техники продолжают оставаться миниатюризация изделий, повышение их быстродействия, уменьшение энергопотребления, повышение качества и надежности оборудования, снижение стоимости.

Роль материалов в технике чрезвычайно велика. Не случайно, что именно материалы часто используются в качестве классификационного признака при определении многих важных направлений техники. В этой связи можно назвать полупроводниковую электронику, диэлектрическую электронику, магнитоэлектронику, сверхпроводящую электронику, пьезотехнику и др.


1. Особенности позисторного эффекта в сегнетоэлектриках

Еще одной особенностью проводимости в сегнетоэлектриках является наличие позисторного эффекта в некоторых полупроводниковых сегнетоэлектриках. Впервые этот эффект был обнаружен в титанате бария, и заключается он в следующем.

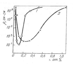
При введении в BaTiO3 небольших количеств (0,2-0,3 мол.%) некоторых ионов с валентностью выше двух, замещающих Ba2+, или ионов с валентностью выше 4-х, замещающих Ti4+ (например, La3+ или Nb5+), сопротивление резко падает до 10-103 Ом∙см. Такие материалы называются полупроводниковыми материалами на основе титаната бария. При увеличении количества примеси более 0,3% сопротивление возрастает, т.е. на зависимости сопротивление ‒ концентрация наблюдается явно выраженный минимум (рисунок 1).

Рисунок 1 - Зависимость удельного сопротивления BaTiO3 от концентрации добавок Sm3+ (1) и Ta5+ (2)

Возникновение минимума в концентрационной зависимости ρ можно объяснить следующим образом. При малых концентрациях трехвалентных катионов они локализуются на местах Ba2+ в решетке BaTiO3. В этом случае увеличение электропроводности материала понятно из формулы твердого раствора

, (1)

где Me3+ ‒ трехвалентный ион, а e- ‒ слабосвязанный электрон.

При дальнейшем увеличении концентрации Me3+ образуется твердый раствор замещения в подрешетке Ti4+. Теперь электронейтральность может обеспечиваться за счет возникновения вакансий в кислородной подрешетке в соответствии с формулой

, (2)

где [O] ‒ вакансия по кислороду.

Электропроводность при этом не увеличивается, и материал остается диэлектриком.

Таким образом, минимум в концентрационной зависимости ρ может быть связан с постепенным переходом от компенсации избыточной валентности ионов примеси электронами при малых концентрациях к компенсации ее вакансиями по кислороду при увеличении концентрации легирующей добавки.

Другая точка зрения на причины возникновения минимума в концентрационной зависимости ρ заключается в следующем. Происходит постепенный переход о твердого раствора замещения при малых концентрациях добавки Me3+ к твердому раствору замещения с вычитанием в подрешетке ионов Ba2+

. (3)

Типичная температурная зависимость удельного сопротивления полупроводникового титаната бария, легированного малыми добавками разных редкоземельных элементов, приведена на рисунке 2.

Рисунок 2 - Температурная зависимость сопротивления BaTiO3 без примесей (1) и легированного La в количестве 0,3% (2) и 0,2% (3), а также Ce - 0,1%(4)

Как видно, в определенном интервале температур вблизи Тс наблюдается резкий аномальный рост сопротивления ρ. Структурные исследования показали, что область наиболее резкого роста ρ при повышении температуры находится в области перестройки кристаллической решетки. Характерной особенностью терморезистивной характеристики легированного титаната бария является наличие на ней участка с положительным температурным коэффициентом сопротивления . Терморезисторы с положительным ТКС получили название позисторов.

Для практики весьма существенно, что величина α позисторов достигает 100% ∙ град-1, которая намного больше, чем α промышленных медь-марганцевых и кобальт-марганцевых терморезисторов, составляющая 3-5% ∙ град-1.

Положением области аномалии на температурной шкале можно управлять, синтезируя твердые растворы легированного титаната бария и других окислов со структурой перовскита. Так, например, известно, что в твердых растворах (Ва, Sr) TiO3 или Ba (Ti, Sn) O3 температура Кюри Тс смещается в сторону более низких температур при увеличении содержания стронция или олова. При синтезе твердых растворов (Ba, Pb) TiO3 точка Кюри смещается к более высоким температурам [1].

2. Модели Хейванга и Джонкера

Наибольшую популярность для объяснения позисторного эффекта получила модель Хейванга-Джонкера, связывающая аномальный рост сопротивления в окрестности Тс с явлениями, происходящими на границах зерен и доменов в поликристаллическом материале.

Хейванг рассматривает границу раздела между двумя кристаллами полупроводника n-типа с определенным количеством поверхностных акцепторных состояний, захвативших электроны. Уменьшение концентрации носителей заряда в пограничном слое приводит к образованию области положительного пространственного заряда не скомпенсированных ионизированных доноров и вследствие этого ‒ к искажению зоны (или уровня) проводимости (см. рисунок 3).

Рисунок 3 - Энергетическая диаграмма границы зерна по Хейвангу

Это искажение приводит к тому, что появляется поверхностный потенциал границы φ0 по отношению к основному материалу (зерну). Так как вклад в проводимость вносят только те электроны, которые в состоянии преодолеть потенциальный барьер eφ0, то среднюю электропроводность σ керамики можно записать в следующем виде:

, (4)

где σv ‒ электропроводность основной массы зерна:

, (5)

n0 ‒ концентрация,

u ‒ подвижность электронов в зоне проводимости.

Хейванг полагает, что все доноры ионизированы, так что n0=const, и σv слабо зависит от температуры. Тогда температурная зависимость электропроводности поликристаллического материала в основном будет определяться экспоненциальным членом в (4).

Выражение для φ0 можно найти путем решения уравнения Пуассона для границы двух зерен:

, (6)

здесь ρ - объемная плотность заряда,

ε - диэлектрическая проницаемость вещества и ε0 - электрическая постоянная. Решение уравнения (6) дает

, (7)

где b - толщина зоны объемного заряда. В уравнении (7) от температуры зависят ε и b. Выше температуры Кюри Тс проницаемость ε изменяется по закону Кюри-Вейсса

, (8)

где Cw - постоянная Кюри.

Так как b - толщина зоны объемного заряда, то

, (9)

где ns - концентрация электронов, захваченных поверхностными состояниями, плотность которых равна Ns. Используя известное выражение для степени заполнения поверхностных уровней, получим

. (10)

Здесь EF - расстояние от уровня Ферми и Es - расстояние от поверхностных уровней до дна зоны проводимости. Так как рассматривается случай плотностью ионизированных доноров, то

, (11)

где N0 - концентрация ионов титана в BaTiO3 (N0=1,56∙1022 см-3) и

, (12)

Окончательное выражение для φ0 можно представить следующим образом:

, (13)

т.е. поверхностный потенциал φ0 сложным образом связан с температурой, причем параметрами являются n0, Ns и Es.

В предлагаемой модели каждое зерно окружено высокоомными прослойками, толщина которых имеет величину порядка 10-4 см. на эти прослойки в основном падает приложенная разность потенциалов, что и позволило Хейвангу при расчете температурной зависимости φ0 исходить из зависимости ε от температуры в сильном электрическом поле (рисунок 4).

Рисунок 4 - Зависимость ε и ρ от температуры в соответствии с моделью Хейванга

Тогда до температуры Кюри ε имеет большую величину и слабо зависит от температуры, а в области действия закона Кюри-Вейсса ε резко уменьшается, что, в соответствии с формулой (7), приводит к значительному увеличению φ0 и росту удельного сопротивления поликристаллического полупроводника.

При дальнейшем повышении температуры начинают освобождаться электроны, захваченные поверхностными уровнями, и ширина зоны пространственного заряда b уменьшается. В связи с этим удельное сопротивление начинает снижаться, как у обычного полупроводника.

В ряде случаев экспериментальные зависимости ρ(Т) не могут быть полностью объяснены моделью Хейванга. Часто при температуре, близкой к температуре Кюри, наблюдается резкий скачок сопротивления с дальнейшим более пологим «хвостом». Если пологая часть кривой хорошо согласуется с теорией Хейванга, то скачок сопротивления трудно понять в рамках его модели. Джонкер предложил учитывать заряды на границах зерен, создаваемые доменной структурой. При наличии доменов на поверхности зерен образуется сетка из чередующихся разнополярных зерен. Чаще всего доменная сетка представляет собой «елочку» (рисунок 5).

Рисунок 5 - Заряды, создаваемые доменами на границах зерен

Каждый домен спонтанно поляризован, причем направление поляризации меняется от домена к домену. На границах раздела отдельных зерен образуется сетки положительных и отрицательно заряженных поверхностных слоев. Отрицательные заряды, компенсируя область положительного заряда, приводят к исчезновению запорных слоев и контактного сопротивления в сегнетоэлектрической области примерно у 50% всех зерен. Контактное сопротивление остальных 50% границ зерен при хорошем контакте остается достаточно высоким. Этим и объясняется резкое понижение сопротивления на границах зерен при температурах ниже Тс. При температуре Кюри, когда домены исчезают, прекращается эффект компенсации заряда, и ρ скачком увеличивается, так как полностью включается барьер φ0 на всей межзеренной границе согласно механизму Хейванга [2].

3. Технология получения позисторов

Технологический процесс производства позисторов по существу ничем не отличается от процесса производства терморезисторов. Исключение составляют те особые требования, которые предъявляются к чистоте исходных материалов и тщательности выполнения операций.

Изготовление начинается со взвешивания соответствующих исходных материалов, измельчения и перемешивания их с дистиллированной водой в шаровой мельнице. Полученная смесь затем фильтруется, сушится, растирается в порошок и прокаливается в течение одного часа при температуре 1100-1200 оС. В процессе прокаливания смесь образует белые хрупкие куски, которые снова размельчаются и перемешиваются с водой в шаровой мельнице, а затем фильтруется, высушивается и растирается в порошок.

Порошок спрессовывается в диски, пластины или бруски под гидравлическим прессом. Для лучшего спрессовывания к нему добавляют дистиллированную воду.

Спрессованные заготовки обжигают в электропечи на воздухе при температуре 1300-1400 оС в течение 0,5 - 2 ч.

На полученную полупроводниковую керамику наносят электроды, обеспечивающие хороший электрический контакт с керамикой. К электродам затем припаиваются выводы.

Окончание процесса заключается состоит в нанесении на тело позистора изоляционного покрытия из термостойких эпоксидных или силиконовых смол [3].

4. Экспериментальные исследования позисторного эффекта

Рассмотрим позисторный эффект в BaTiO3. На рисунке 6 изображены зависимости сопротивления от температуры при различной концентрации Pb.

Рисунок 6 - Температурная зависимость сопротивления в BaTiO3 с добавлением Pb и La

Можно заметить, что с увеличением концентрации свинца кривые смещаются в область более высоких температур. Исследования показали, что область более резкого роста сопротивления при повышении температуры находится в области фазового перехода. Характерной особенностью терморезистивной характеристики легированного титаната бария является на ней участка с положительным температурным коэффициентом сопротивления α. Для кривой 3 построим зависимость α(Т) (рисунок 7).

Рисунок 7 - Зависимость температурного коэффициента α от температуры

Как видно из рисунка максимальному значению α соответствует температура Т ≈ 340 оС, что соответствует температуре фазового перехода.

На растущих участках кривых ρ(Т) зависимость сопротивления от температуры описываются уравнением

, (14)

где ρv - удельное сопротивление объема зерна,

0 - энергетический барьер на границе между зернами,

k - постоянная Больцмана.

Прологарифмируем выражение (14)

, (15)

Для определения энергетического барьера перестроим зависимости ρ(Т) в координатах ln ρ от (1/Т) (рисунок 8).

Рисунок 8 - Зависимость ln ρ от обратной температуры

Из наклона полученной прямой найдем потенциальный барьер на границе между зернами:


5. Применение позисторов

Высокая температурная чувствительность позисторов открывает широкие возможности их практического использования.

При использовании позисторов для индикации и измерения температуры, температурной компенсации радиоэлектронных цепей и т.д. рабочая точка выбирается на начальном участке ВАХ при малых напряжениях. При применениях их в релейных схемах, схемах измерения уровня жидких и сыпучих сред, скорости потока, генерирования низкой частоты и т.д. рабочим является падающий участок ВАХ с отрицательной дифференциальной проводимостью.

Наиболее широкое использование позисторов - применение их в качестве чувствительных элементов в системах тепловой защиты машин и механизмов, регулирования температуры и температурной сигнализации. Действие этих схем основано на релейном эффекте.

Известно, что в электрической цепи с терморезистором релейный режим возникает при определенных условиях при последовательном соединении терморезистора и линейного резистора. Исходя из принципа дуальности цепей, для получения аналогичного режима в цепи с позистором должен быть соединен параллельно с линейным резистором. Такая цепь должна питаться от источника тока достаточно большой мощности, обеспечивающей его постоянство в неразветвленной части цепи. Однако выполнение этого условия а практике связано с известными техническими трудностями, вследствие чего релейный режим работы параллельной цепи не находит практического применения. При определенных параметрах электрической цепи неустойчивый или релейный режим может иметь место и при последовательном соединении позистора и линейного резистора. Он обусловливается теми же причинами, что и релейный режим работы цепи с терморезистором: изменением напряжения питания цепи Uц; изменением проводимости (сопротивления) линейного резистора; изменением условий теплообмена между позистором и окружающей средой (изменением температуры окружающей среды, коэффициента теплообмена и др.). Два последних случая представляют наибольший практический интерес [3].


Заключение

Значительная температурная чувствительность сопротивления полупроводниковых титанатов позволила разработать на их основе терморезисторы с положительным (как у металлов) ТКС, величина которого более чем в 10 раз превышает ТКС широко известных терморезисторов.

Терморезисторы с положительным ТКС, названные позисторами, сразу привлекли специалистов и получили признание как весьма перспективные элементы устройств автоматики и измерительной технике.

Особенно много внимания уделяется широким возможностям их практического использования в схемах измерения, контроля и регулирования температурозависимых процессов. Несмотря на это, позисторы изучены недостаточно.


Список литературы

1. Гриднев С.А. Техническая физика. Физика полярных диэлектриков: Учеб. пособие. Воронеж: ВГТУ, 2004, с. 197-200.

2.      И.Т. Шефтель. Терморезисторы. - М.: Наука, 1973, с. 251-258.

.        С.Б Минкин, А.Г. Шашков. Позисторы. - М.: Энергия, 1973.

Похожие работы на - Позисторный эффект в титанате бария

 

Не нашли материал для своей работы?
Поможем написать уникальную работу
Без плагиата!
Без нейросетей!