Повышение изностойкости паротурбинных установок

  • Вид работы:
    Курсовая работа (т)
  • Предмет:
    Физика
  • Язык:
    Русский
    ,
    Формат файла:
    MS Word
    1,4 Мб
  • Опубликовано:
    2016-04-25
Вы можете узнать стоимость помощи в написании студенческой работы.
Помощь в написании работы, которую точно примут!

Повышение изностойкости паротурбинных установок

Казахский национальный университет им. аль - Фараби

ФАКУЛЬТЕТ ФИЗИКО-ТЕХНИЧЕСКИЙ МАГИСТРАТУРА

Кафедра теплофизики и технической физики










КУРСОВАЯ РАБОТА

Повышение износостойкости паротурбинных установок











АЛМАТЫ, 2016

Содержание

Введение

. Паротурбинная установка - принцип действия

.1 Паротурбинная установка

.2 Паровая турбина

.3 Основные конструкции паровых турбин

.4 Процесс расширения пара в паровой турбине

.5 Классификация паровых турбин

. Повышение износостойкости оборудования паротурбинных установок

.1 Математическая модель коррозий лопаточных аппаратов паровых турбин

.2 Анализ состояния проблемы повреждаемости элементов паровых турбоустановок

.3 Эффективность способов борьбы с эрозионными и коррозионными видами износа элементов теплотехнического оборудования паротурбинных установок

.4 Основные закономерности процесса эрозии лопаточных материалов паровых турбин

.5 Универсальный способ повышения износостойкости лопаток и других элементов паровых турбин

.6 Универсальная технология удаления отложений и защиты поверхностей оборудования турбоустановок от коррозии

Заключение

Список использованной литературы

Введение

Актуальность задачи исследования. На сегодняшний день весьма существенное влияние на надежность и ресурс работы оборудования электрических станций оказывает износ поверхностей конструкционных материалов, являющийся следствием протекания эрозионных, коррозионных, эрозионно-коррозионных и кавитационных процессов. В наиболее неблагоприятном положении оказались паротурбинные установки. Повреждаемость поверхностей элементов проточных частей турбин (рабочие и сопловые лопатки, диски и роторы, корпуса, обоймы, диафрагмы и др.), стопорных и регулирующих клапанов, насосов, теплообменных поверхностей регенеративных и сетевых подогревателей паротурбинных установок усугубляется наличием высокого уровня тепловых и механических напряжений. И поэтому в настоящее время проводиться различные работы по нахождению способов повышение изностойкости оборудования паротурбинных установок.

В данной работе я расскажу про самые эффективные из них. В настоящее время обеспечение безопасности и надёжности эксплуатации паротурбинных установок является важнейшей проблемой энергетики. Известно, что надёжность работы энергооборудования зависит как от качества его проектирования, изготовления, монтажа, так и от режимов его эксплуатации. При увеличении времени работы энергооборудования как в расчётных, так и в нерасчётных режимах помимо обычных эксплуатационных факторов, влияющих на его работоспособность, усиливается воздействие напряжений, вызываемых температурными флуктуациями, вибрациями и т.п. Кроме того, на механические и коррозионно-эрозионные свойства металла оборудования паротурбинной установки существенно влияет ионизирующее излучение. Во всех указанных случаях необходимы исследования и постоянный контроль эксплуатационных свойств металла непосредственно на элементах оборудования.

Альтернативным путём решения проблемы является создание специальных систем эксплуатационной диагностики металла, позволяющих получать информацию практически со всех конструктивных элементов энергооборудования с учётом режимных параметров (температуры, давления, скорости набора и сброса нагрузки и т.п.) как при текущих ремонтах, так и в процессе эксплуатации блоков ТЭС на мощности. Проблема повышения эксплуатационной надёжности - комплексная проблема. Она решается в настоящее время разработкой новых и усовершенствованием существующих конструктивных решений, улучшением поставки и монтажа оборудования, повышением технического уровня его эксплуатации [1]. Без аварийная работа энергооборудования определяется уровнем фактических свойств металла основных его элементов и знанием динамики их изменения. Одним из важнейших элементов энергооборудования паротурбинных установок являются трубопроводы различных типов сталей, диаметров и конфигураций, соединяющие для транспортировки рабочих сред отдельные узлы и агрегаты тепломеханического оборудования.

Цель исследования. Изучить научно-методологическую основу комплексного математического (численного) и физического моделирования динамики эрозионного износа парокапельными потоками стенок поворотных участков, фасонных элементов и сварных швов трубопроводов паротурбинных установок.

Предмет исследования. Потоки капель влияющие на стенки турбин, различные виды износа поверхностей, присутствие органических и неорганических примесей в рабочем теле, тепловые и механические напряжения, наличие отложений и продуктов коррозии на теплообменных поверхностях.

Задачи исследования. Найти способы изучение и предотвращение коррозии лопаточных турбин, поворотных участков и фасонных элементов паротурбинных установок.

Положение выносимые на защиту:

Построена математическая и физическая модель описывающая процессы коррозии лопаточных турбин, поворотных участков и фасонных элементов паротурбинных установок;

Описаны способы предотвращения коррозий лопаточных турбин паротурбинных установок, поворотных участков и фасонных элементов;

Изучено научно - методологическая основа комплексного математического и физического моделирования динамики эрозионного износа парокапельными потоками лопаточных стенок паротурбинных установок.

пар турбина коррозия лопатка

1. Паротурбинная установка - принцип действия

.1 Паротурбинная установка

Паротурбинная установка - это непрерывно действующий тепловой агрегат, рабочим телом которого является вода и водяной пар. Паротурбинная установка является механизмом для преобразования потенциальной энергии сжатого и нагретого до высокой температуры пара в кинетическую энергию вращения ротора турбины. Включает в себя паровую турбину и вспомогательное оборудование.

Паротурбинные установки используются для привода турбогенератора на тепловых и атомных электростанциях. На электрической станции механическая энергия превращается в электрическую энергию с помощью электрического генератора. Принципиальная схема паротурбинной установки для привода электрогенератора изображена на рисунке. Свежий пар из котельного агрегата (1), где он получил тепло от сгорания топлива, поступает в турбину (2) и, расширяясь в ней, совершает механическую работу, вращая ротор электрогенератора (3). После выхода из турбины, пар поступает в конденсатор (4), где происходит его конденсация. Конденсат отработавшего в турбине пара при помощи конденсатного насоса (5) проходит через подогреватель низкого давления (ПНД) (6) в деаэратор (7). Из деаэратора питательный насос (8) подаёт воду через подогреватель высокого давления (ПВД) (9) в котельный агрегат. Подогреватели (6) и (9) и деаэратор (7) образуют систему регенеративного подогреватательной воды, которая использует пар из нерегулируемых отборов паровой турбины.

Паровая турбина вместе с относящимися к ней регенеративными подогревателями, конденсатором, насосами, трубопроводами и арматурой образует паротурбинную установку. Современная паровая турбина состоит из большого числа деталей, тщательно изготовленных и собранных в единый агрегат. Мощности современных энергетических турбоагрегатов постоянно повышаются, и в настоящее время основной прирост мощностей в энергосистемах происходит за счет ввода агрегатов 300, 500, 800 МВт. На Костромской ГРЭС сооружен головной агрегат мощностью 1200 МВт.

Рисунок 1 - Паротурбинная установка Балаковской АЭС

Рисунок 2 - Принципиальная схема паротурбинной установки

Увеличение мощности турбоагрегатов позволяет сооружать ТЭС большой мощности при одновременном удешевлении их строительства и эксплуатации и снижении расходов топлива на выработанный киловатт-час. Наряду с экономичностью современная турбина должна отвечать высоким требованиям безопасности, надежности и маневренности. Требование высокой маневренности предъявляется ко всему энергетическому оборудованию. Турбина должна допускать быстрый пуск, набор и изменение нагрузки и остановку. Эта задача весьма сложна для агрегатов, работающих при высоких начальных параметрах пара (26 МПа, 540-570 °С) и имеющих стенки корпусов и фланцы большой толщины. При разработке и эксплуатации турбин приходится сталкиваться с весьма сложными проблемами аэродинамики, теории колебаний, теплопередачи, изменения свойств материалов при высоких температурах и вибрации, автоматического регулирования и контроля турбоустановки [2].

Рисунок 3 - Схема простейшей турбины

Турбина состоит извращающейся части - ротора и неподвижной части - статора. К ротору относятся вал и закрепленные на нем диски с рабочими лопатками. Статор включает в себя паровпускные органы, сопловые решетки, подшипники и др. Корпус турбины делается разъемным в горизонтальной плоскости по центровой линии вала. Нижняя его часть опирается на фундамент, а верхняя часть устанавливается на нижнюю и крепится по фланцам с помощью шпилек и гаек. Через паровпускные органы в сопловую коробку вводится свежий пар. Корпус заканчивается выхлопным патрубком, через который отработавший пар отводится из турбины. В неподвижных каналах-соплах пар расширяется; при этом его давление и температура снижаются, скорость парового потока возрастает до нескольких сот метров в секунду и соответственно увеличивается его кинетическая энергия.

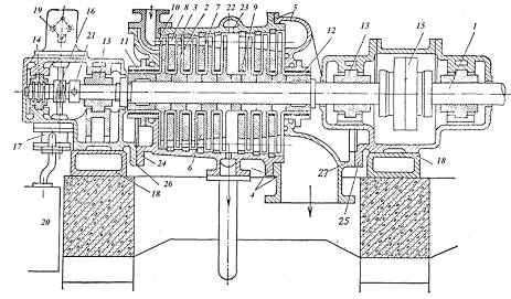
Простейшая турбина (рисунок 4) состоит из соплового аппарата 1, рабочей лопатки 2, вала 3 и диска 4. 1 - вал турбины; 2 - диски; 3 - рабочие решетки; 4 - нижняя половина корпуса; 5 - верхняя половина (крышка) корпуса; 6 - диафрагмы (нижние половины); 7, 8 - сопловые решетки; 9 - уплотнения диафрагмы; 10 - сопловая решетка первой ступени давления; 11 - переднее уплотнение; 12 - заднее уплотнение; 13 - опорные подшипники; 14 - упорный подшипник; 15 - соединительная муфта; 16 - червячная передача; 17 - масляный насос; 18 - фундаментные плиты; 19 - регулятор скорости; 20 - масляный бак; 21 - регулятор безопасности; 22 - камера отбора; 23 - окна для отбора пара; 24, 27 - опорные фланцы корпуса; 25, 26 - фланцы опорных блоков.

Рисунок 4 - Схема устройства многоступенчатой паровой турбины

Она используется в подвижных рабочих лопатках, закрепленных на дисках, насаженных на вал турбины. Между дисками располагаются неподвижные перегородки - диафрагмы с закрепленными в них соплами. Диафрагма и диск с рабочими лопатками образуют ступень турбины. При большом числе ступеней (20 - 30) турбина состоит из нескольких цилиндров. Частота вращения ротора паровых энергетических турбин обычно составляет 3000 об/мин или 50 с-1, что соответствует принятой в СНГ частоте переменного тока 50 Гц [3].

На каждой ступени турбины лишь часть внутренней энергии пара преобразуется в механическую энергию, передаваемую с вала турбины на вал генератора электрического тока. Увеличение числа ступеней приводит к повышению КПД турбинной установки, так как в этом случае каждая ступень «работает» в более оптимальном режиме. Однако увеличение числа ступеней оправдывает себя лишь до определенного предела, так как с ростом числа ступеней турбина усложняется и становится дороже. Крупные энергоблоки, работающие при высоком и давлении пара, выполняются с промежуточным перегревом. Пар высоких параметров, совершая работу в турбине, на последних ее ступенях увлажняется, а это приводит к снижению КПД и эрозионному воздействию капелек влаги на лопатки турбины. При использовании же промежуточного перегрева пара не только понижается его конечная влажность, но и повышаются показатели тепловой экономичности цикла. На рис. 5 дана схема одной из наиболее распространенных в нашей энергетикеконденсационных турбин К- 300 - 240 мощностью 300 МВт, работающей при начальном давлении пара 240 атм (23,5 МПа). Температура свежего пара принята 540 - 560 °С, частота вращения 3000 об/мин. Турбина состоит из трех цилиндров: цилиндра высокого давления (ЦВД), цилиндра среднего давления (ЦСД) и цилиндра низкого давления (ЦНД).

На рисунке пять в двенадцати ступенях ЦВД пар расширяется от указанных выше начальных параметров до давления 4 МПа, после чего направляется в промежуточный пароперегреватель (ПП), установленный в котле, и далее с давлением 3,5 МПа и температурой 540 - 560 °С поступает в ЦСД. В двенадцати головных ступенях ЦСД пар расширяется до давления 0,2 МПа, затем разделяется на два потока: одна треть проходит пять ступеней низкого давления, расположенных в ЦСД, и поступает вконденсатор, а две трети пара по перепускным трубам подаются в ЦНД, где, разделяясь на два потока, проходят по пяти ступеням низкого давления и направляются также в конденсатор. Давление пара за последними ступенями перед входом в конденсатор равно 0,0035 МПа. Разделение пара в части низкого давления на три потока связано с большими объемами пара в последних ступенях.

Выпуск всего объема пара через одну решетку приводил бы к недопустимым по соображениям прочности высотам рабочих лопаток. Даже при разделении пара в последних ступенях на три потока высота лопаток составляет 960 мм, а окружная скорость на их вершинах - 540 м/с. При массе последней лопатки 9,8 кг центробежная сила, действующая на нее, равна ~950 кН. Еще более сложны турбины большей мощности. Так, у турбин мощностью 500 МВт делается 4 выхлопа в конденсатор, а у турбины К-800-240 мощностью 800 МВт - шесть выхлопов в конденсатор. В турбине К-1200-240 мощностью 1200 МВт, установленной на Костромской ГРЭС, лопатки последних ступеней имеют длину 1200 мм, но для уменьшения центробежных сил они выполнены из более легкого титанового сплава.

Теплофикационные турбины, устанавливаемые на ТЭЦ, могут иметь 1 или 2 регулируемых отбора (например, промышленный и теплофикационный). В теплофикационной турбине Т - 250 - 240 имеются 2 отбора пара для подогрева воды в системе теплоснабжения (из них один регулируемый) и, кроме того, может быть осуществлен предварительный нагрев сетевой воды в специальном подогревателе, встроенном в конденсатор. Отработавший пар конденсационных турбин и турбин с промышленными и теплофикационными отборами поступает в конденсатор, где поддерживается давление значительно ниже атмосферного.

В конденсаторе осуществляется отвод тепла от рабочего тела - пара - при возможно более низкой температуре и давлении с превращением пара в конденсат, идущий вновь на питание котлов. Здесь тепло отдается охлаждающей (циркуляционной) воде. Конденсат не должен смешиваться с охлаждающей водой, имеющей большое количество примесей. Поэтому конденсатор представляет собой теплообменник поверхностного типа.

Рисунок 5 - Изменение параметров рабочего тела в активной турбине: 1, 9 - камеры свежего и отработанного пара; 2, 4, 6 - сопла; 3, 5, 8 - рабочие лопатки; 7 - диафрагма.

Рис. 6. Схема турбины К-300-240 (z - число ступеней)

Теплообмен от пара к охлаждающей воде происходит через стенки трубок небольшого диаметра, чаще всего латунных, внутри которых движется охлаждающая вода. В конденсатор поступает влажный пар; температура насыщения конденсирующегося пара tктем ниже, чем ниже температура циркуляционной воды. При прямоточном водоснабжении, когда вода в конденсатор забирается из реки или пруда, ее температура колеблется от 2 до 20 °С (среднегодовая расчетная температура 10 - 12 °С). Если же водоснабжение является оборотным с охлаждением воды в градирнях, то температура воды меняется в зависимости от времени года от 10 - 12 °С до 35 -40 °С.

Рисунок 7 - Схема конденсатора паровой турбины: 1 - патрубок для выхода воды, 2 - крышка водяных камер, 3 - водяные камеры, 4 - трубные решетки, 5 - корпус конденсатора, 6 - пароприемная горловина, 7 - трубки, 8 - сборник конденсата, 9 - патрубок для подвода воды, 10 - патрубок для удаления воздуха

Обычно циркуляционная вода (рисунок 7) в конденсаторе нагревается на 8 -10 °С. При поддержании давления в конденсаторе pк= 0,0035 МПа температура конденсации составляет tk= 26,4 °С. В летнее время, когда температура охлаждающей воды выше среднегодовой расчетной, давление в конденсаторе может повышаться до 0,01 МПа, что соответственно снижает экономичность работы турбоустановки. На одну тонну конденсируемого пара расходуется 50 - 60 т охлаждающей воды. Для поддержания хороших условий теплообмена и постоянного парциального давления воздуха, а вместе с ним и общего давления в конденсаторе просачивающийся в конденсатор воздух необходимо непрерывно удалять. Для этого устанавливаются воздухоотсасывающие устройства - пароструйные или водоструйные эжекторы. Конденсат из нижней части конденсатора откачивается конденсатными насосами и подается через подогреватели в котел. Конденсатор устанавливается под турбиной и представляет собой горизонтально расположенный сосуд, сваренный из листовой стали.

Внутри корпуса конденсатора на некотором расстоянии от его торцов ввариваются специальные пластины с отверстиями, называемые трубными досками, в которые завальцовываются трубки, образующие поверхности теплообмена. Корпус с торцов закрывается крышками так, что между крышками и трубными досками образуются водяные камеры. Если в одной из камер установить горизонтальную перегородку, то по-лучим двухходовой конденсатор: охлаждающая вода поступает в нижний (подводящий) патрубок передней камеры, проходит по нижним рядам труб и через заднюю камеру поступает в верхние ряды труб, после чего удаляется из конденсатора.

.2 Паровая турбина.

Паровая турбина - тепловой двигатель, в котором энергия пара преобразуется в механическую работу. В лопаточном аппарате паровой турбины потенциальная энергия сжатого и нагретого водяного пара преобразуется в кинетическую, которая в свою очередь преобразуется в механическую работу- вращение вала турбины. Пар от парокотельного агрегата поступает через направляющие аппараты на криволинейные лопатки, закрепленные по окружности ротора, и воздействуя на них, приводит ротор во вращение. Паровая турбина является одним из элементов паротурбинной установки (ПТУ). Паровая турбина и электрогенератор составляют турбоагрегат.

Рисунок 8 - Монтаж ротора паровой турбины, производства компании Siemens, Германия


Паровая турбина состоит из двух основных частей. Ротор с лопатками- подвижная часть турбины. Статор с соплами- неподвижная часть. По направлению движения потока пара различают аксиальные паровые турбины, у которых поток пара движется вдоль оси турбины, и радиальные, направление потока пара в которых перпендикулярно, а рабочие лопатки расположены параллельно оси вращения. В Россиии странах СНГ используются только аксиальные паровые турбины. По числу цилиндров турбины подразделяют на одноцилиндровые и двух- трёх-, четырёх- пятицилиндровые. Многоцилиндровая турбина позволяет использовать большие располагаемые тепловые перепады энтальпии, разместив большое число ступеней давления, применить высококачественные материалы в частях высокого давления и раздвоение потока пара в частях среднего и низкого давления. Такая турбина получается более дорогой, тяжёлой и сложной. Поэтому многокорпусные турбины используются в мощных паротурбинных установках.

По числу валов различают одновальные, двувальные, реже трёхвальные, связанных общностью теплового процесса или общей зубчатой передачей (редуктором).

Рисунок 9 - Модель одной ступени паровой турбины

Расположение валов может быть как соосным, так и параллельным - с независимым расположением осей валов. Неподвижную часть - корпус (статор) - выполняют разъёмной в горизонтальной плоскости для возможности выемки или монтажа ротора. В корпусе имеются выточки для установки диафрагм, разъём которых совпадает с плоскостью разъёма корпуса турбины. По периферии диафрагм размещены сопловые каналы (решётки), образованные криволинейными лопатками, залитыми в тело диафрагм или приваренными к нему. В местах прохода вала сквозь стенки корпуса установлены концевые уплотнения для предупреждения утечек пара наружу (со стороны высокого давления) и засасывания воздуха в корпус (со стороны низкого). Уплотнения устанавливают в местах прохода ротора сквозь диафрагмы во избежание пере течек пара из ступени в ступень в обход сопел. На переднем конце вала устанавливается предельный регулятор (регулятор безопасности), автоматически останавливающий турбину при увеличении частоты вращения на 10-12% сверх номинальной.

.4 Процесс расширения пара в паровой турбине

h1 s1 - давление, энтальпия и энтропия пара на входе в турбину;h2 s2 - давление, энтальпия и энтропия отработанного пара на выходе из турбины;

-расширение пара в турбине;

-насыщенный пар;

-вода в состоянии насыщения (кипения);

-изотерманачальной температуры;

-изотерма конечной температуры;

-изобараначального давления;

-изобара конечного давления;

-критическая точка

-кривая постоянной влажности пара.

Рисунок 10 - h, s диаграмма расширения пара в одноступенчатой паровой турбине

.5 Классификация паровых турбин

В зависимости от характера теплового процесса паровые турбины подразделяются на 3 основные группы:

·       конденсационные - без регулируемых (с поддержанием давления) отборов пара;

·              теплофикационные - с регулируемыми отборами;

·              турбины специального назначения.

Конденсационные паровые турбины служат для превращения максимально возможной части теплоты пара в механическую работу. Они работают с выпуском (выхлопом) отработавшего пара вконденсатор(отсюда возникло наименование), в котором поддерживается вакуум. Конденсационные турбины бывают стационарными и транспортными.

Рисунок 11 - Схема работы паротурбинной установки с конденсационной турбиной

Стационарные турбины изготавливаются на одном валу с генераторами переменного тока. Такие агрегаты называют турбогенераторами. Тепловые электростанции, на которых установлены конденсационные турбины, называются конденсационными электрическими станциями (КЭС). Основной конечный продукт таких электростанций-электроэнергия. Лишь небольшая часть тепловой энергии используется на собственные нужды электростанции и, иногда, для снабжения теплом близлежащего населённого пункта. Обычно это посёлок энергетиков. Доказано, что чем больше мощность турбогенератора, тем он экономичнее, и тем ниже стоимость 1кВтустановленной мощности. Поэтому на конденсационных электростанциях устанавливаются турбогенераторы повышенной мощности.

Частота вращения ротора стационарного турбогенератора пропорциональна частоте электрического тока50Герц(синхронная машина). То есть на двухполюсных генераторах 3000 оборотов в минуту, на четырёх полюсных соответственно 1500 оборотов в минуту. Частота электрического тока является одним из главных показателей качества отпускаемой электрической энергии. Современные технологии позволяют поддерживать частоту сети с точностью до 0,2% . Резкое падение электрической частоты влечёт за собой отключение от сети и аварийную остановку энергоблока, в котором наблюдается подобный сбой.

В зависимости от назначения паровые турбины электростанций могут быть базовыми, несущими постоянную основную нагрузку; пиковыми, кратковременно работающими для покрытия пиков нагрузки; турбинами собственных нужд, обеспечивающими потребность электростанции в электроэнергии. От базовых требуется высокая экономичность на нагрузках, близких к полной (около 80%), от пиковых- возможность быстрого пуска и включения в работу, от турбин собственных нужд - особая надёжность в работе. Паровые турбины для электростанций имеют парковый ресурс в 270 тыс. ч. с межремонтным периодом 4-5 лет.

Транспортные паровые турбины используются в качестве главных и вспомогательных двигателей на кораблях и судах. Неоднократно делались попытки применить паровые турбины на локомотивах, однако паротурбовозы распространения не получили. Для соединения быстроходных турбин с гребными винтами, требующими небольшой (от 100 до 500 об/мин) частоты вращения, применяют зубчатые редукторы. В отличие от стационарных турбин (кроме турбовоздуходувок), судовые работают с переменной частотой вращения, определяемой необходимой скоростью хода судна.

Схема работы конденсационной турбины: Свежий (острый) пар из котельного агрегата (1) по паропроводу (2) попадает на рабочие лопатки паровой турбины (3). При расширении кинетическая энергия пара превращается в механическую энергию вращения ротора турбины, который расположен на одном валу (4) с электрическим генератором (5). Отработанный (мятый) пар из турбины направляется в конденсатор (6), в котором, охладившись до состояния воды путём теплообмена с циркуляционной водой (7) пруда - охладителя, градирни или водохранилища по трубопроводу (8) направляется обратно в котельный агрегат при помощи насоса(9).

Теплофикационные паровые турбины служат для одновременного получения электрической и тепловой энергии. Тепловые электростанции, на которых установлены теплофикационные паровые турбины, называются теплоэлектроцентралями (ТЭЦ). К теплофикационным паровым турбинам относятся турбины с:

·              противодавлением;

·              регулируемым отбором пара;

·              отбором и противодавлением.

Рисунок 12 - Схема работы паротурбинной установки с теплофикационной турбиной

У турбин с противодавлением весь отработанный пар используется для технологических целей (варка, сушка, отопление). Электрическая мощность, развиваемая турбоагрегатом с такой паровой турбиной, зависит от потребности производства или отопительной системы в греющем паре и меняется вместе с ней. Поэтому турбоагрегат с противодавлением обычно работает параллельно с конденсационной турбиной или электросетью, которые покрывают возникающий дефицит в электроэнергии.

В турбинах с регулируемым отбором часть пара отводится из одной или двух промежуточных ступеней, а остальной пар идёт в конденсатор. Давление отбираемого пара поддерживается в заданных пределах системой регулирования (в советских турбинах для поддержания заданного давления чаще всего используется регулирующая диафрагма за камерой отбора - ряд направляющих лопаток, разрезанных по перпендикулярной оси турбины плоскости; одна половина лопаток поворачивается относительно другой, изменяя площадь сопел). Место отбора (ступень турбины) выбирают в зависимости от нужных параметров пара [4].

У турбин с отбором и противодавлением часть пара отводится из одной или двух промежуточных ступеней, а весь отработавший пар направляется из выпускного патрубка в отопительную систему или к сетевым подогревателям.

Схема работы теплофикационной турбины: Свежий (острый) пар из котельного агрегата (1) по паропроводу (2) направляется на рабочие лопатки цилиндра высокого давления (ЦВД) паровой турбины (3). При расширении, кинетическая энергия пара преобразуется в механическую энергию вращения ротора турбины, который соединен с валом (4) электрического генератора (5). В процессе расширения пара из цилиндров среднего давления производятся теплофикационные отборы и из них пар направляется в подогреватели (6) сетевой воды (7). Отработанный пар из последней ступени попадает в конденсатор, где и происходит его конденсация, а затем по трубопроводу(8)направляется обратно в котельный агрегат при помощи насоса (9). Большая часть тепла, полученного в котле используется для подогрева сетевой воды.

Паровые турбины специального назначения обычно работают на отбросом тепле металлургических, машиностроительных, и химических предприятий. К ним относятся турбины мятого (дросселированного) пара, турбины двух давлений и пред включённые (форшальт).

·       Турбины мятого пара используют отработавший пар поршневых машин, паровых молотов и прессов, имеющих давление немного выше атмосферного.

·       Турбины двух давлений работают как на свежем, так и на отработавшем паре паровых механизмов, подводимом в одну из промежуточных ступеней.

·       Пред включённые турбины представляют собой агрегаты с высоким начальным давлением и высоким противодавлением; весь отработавший пар этих турбин направляют в другие с более низким начальным давлением пара. Необходимость в пред включённых турбинах возникает при модернизации электростанций, связанной установкой паровых котлов более высокого давления, на которое не рассчитаны ранее установленные на электростанции турбоагрегаты.

·       Также к турбинам специального назначения относятся и приводные турбины различных агрегатов, требующих высокой мощности привода. Например питательные насосы мощных энергоблоков электростанций, нагнетатели и компрессоры газокомпрессорных станций ит.д.

2. Повышение износостойкости оборудования паротурбинных установок электрических станций

Актуальность этой проблемы в современных условиях определяется следующими обстоятельствами:

- невысокой эффективностью и не универсальностью штатных способов повышения износостойкости элементов оборудования;

недостаточным уровнем знаний о влиянии эксплуатационных факторов на интенсивность эрозионных и коррозионных процессов, их взаимосвязанного влияния на износ рабочих поверхностей;

снижением «качества» рабочего тела за счет попаданий в тракты оборудования органических и неорганических примесей, систематическое определение концентраций которых не предусмотрено штатными инструкциями;

ухудшением механических характеристик и изменением структуры конструкционных материалов оборудования, исчерпавшего свой расчетный ресурс и по-прежнему находящегося в эксплуатации;

предполагающейся заменой устаревших блоков мощностью 150-200 МВт на более экономичные энергоблоки мощностью 300 МВт на суперсверхкритические параметры пара, что обуславливает необходимость разработки новых конструкционных материалов, обладающих повышенной износостойкостью.

.1 Математическая модель коррозий лопаточных аппаратов паровых турбин

Основными элементами структуры информационной системы прогнозирования износа является собственно модель эрозии рабочих лопаток и модель образования и трансформации влаги в проточной части. Задача о прогнозировании эрозии ставится с позиции кинетической концепции прочности. Эрозионная поврежденность в данной точке за время экспозиции tэ определяется из уравнения:

 

где n - капельная нагрузка (количество капель, выпадающее в единицу времени на единицу площади поверхности); r - расстояние от центра пятна контакта;  - внутренний радиус зоны нагружения; ψ = 1 - ω - параметр сплошности; ω - параметр эрозионной поврежденности; С, k - константы эрозионной поврежденности; σ - наибольшее растягивающее напряжение в рассматриваемой точке; t - время действия нагрузки от удара одной капли. Временная зависимость σ(r, t) определяется условием внутри интервала 0 ≤ t ≤ t , а пространственная - законом затухания напряжений вдоль оси r. При  происходит разрушение, т.е. 0 ω =1,ψ =0 . В принятой модели эрозии нагрузка в зоне взаимодействия разделена на динамическую, обусловленную прохождением волны Релея и более длительную квазистатическую, определяемую процессом растекания капли. Для определения величины инкубационного периода имеем уравнение


где  продолжительность «нагружения волной Релея»;

 - продолжительность действия квазистатической нагрузки;  - скорость волны Релея; C - скорость ударной волны в жидкости падающей капли. В результате интегрирования уравнения (2) после подстановок и упрощений получим


где  - диаметр i-ой капли;  - скорость нормального соударения i-ой капли;  - максимальное растягивающее напряжение в волне Релея от действия i-ой группы капель в зависимости от осредненного давления на пятне контакта;  - динамическая константа, возникающая в процессе интегрирования по времени динамического нагружения;  - статический комплекс для i-ой группы капель, возникающий в процессе интегрирования по времени действия квазистатической нагрузки.

Выражение (3) является основным результатом теории, т.к. величина инкубационного периода tинк, характеризующая свойства рассматриваемого материала с точки зрения его способности противостоять разрушению, может быть интерпретирована как универсальная характеристика износа. Оно служит основой для решения более общей задачи о движении фронта разрушения вглубь детали. Выполненные расчетные исследования показали удовлетворительное совпадение с результатами испытаний, полученными на каплеударных стендах, что дало возможность успешного использования разработанной модели при создании комплексного метода прогнозирования износа рабочих лопаток.

2.2 Анализ состояния проблемы повреждаемости элементов паровых турбоустановок

В современных условиях чрезвычайную актуальность приобретает надежность работы тепломеханического оборудования ТЭС, которая в значительной степени обусловлена, наряду с другими факторами, повреждаемостью рабочих поверхностей конструкционных материалов. В наиболее неблагоприятном положении с этой точки зрения оказались турбоустановки. Повреждаемость поверхностей элементов проточных частей турбин (рабочие и сопловые лопатки, диски и роторы, корпуса, обоймы, диафрагмы и др.), стопорных и регулирующих клапанов, насосов, регенеративных и сетевых подогревателей турбоустановок в той или иной степени обусловлена наличием целого ряда факторов.

В первую очередь -это различные виды износа поверхностей, присутствие органических и неорганических примесей в рабочем теле, высокий уровень тепловых и механических напряжений, наличие отложений и продуктов коррозии на теплообменных поверхностях, переменные режимы работы, конструктивные особенности, а также нарушения инструкций по эксплуатации оборудования. Износ элементов оборудования по современным представлениям понимается как разрушение поверхностных слоев конструкционных материалов, являющееся следствием протекания коррозионных и эрозионных процессов, обусловленных наличием целого ряда усугубляющих факторов. Анализ публикаций и опыта эксплуатации теплотехнического оборудования ТЭС и АЭС показывает, что с определенной степенью условности применительно к турбинам можно выделить следующие наиболее существенные виды износа конструкционных материалов: коррозия (различные формы), каплеударная эрозия, абразивная эрозия, эрозия-коррозия, коррозионное застрескивание металла под напряжением.

Элементы проточных частей турбин подвержены не только эрозионному, абразивному и эрозионно-коррозионному износу, но и также различным видам коррозии, вопреки до недавнего времени существовавшему мнению, что проблема коррозии турбин не может быть актуальной, поскольку в соответствии с жесткими нормами ПТЭ в турбину поступает достаточно чистый пар. Коррозионному воздействию подвергаются поверхности роторов, дисков, лопаток, корпусов и других элементов турбин. Значительным коррозионным повреждениям подвергается лопаточный аппарат и диски в зоне фазового перехода. На турбинах разных типоразмеров, изготовленных различными заводами, в процессе эксплуатации, (зафиксирована язвенная коррозия с размерами язв от 0,5 до 4 мм, трещины, являющиеся следствием коррозионной усталости, и коррозионное растрескивание под напряжением. В последние годы обострилась проблема еще одной разновидности электрохимической коррозии - атмосферной («стояночной»), воздействию которой подвержены поверхности конструкционных материалов всего состава оборудования турбоустановок в период транспортировки, хранения, монтажа, вхождения в ремонте или резерве.

Для турбин большой мощности чрезвычайно актуальна проблема каплеударной эрозии. Известно, например, что в результате многолетних обследований 25 теплофикационных турбин Т-100-130 и 15 турбин Т-250/300-240 было выявлено, что по причине повреждений ресурс рабочих лопаток последних ступеней составляет в среднем 50 тыс. часов. Повреждения проявляются в виде сталостных трещин на входных и выходных кромках рабочих лопаток, первопричиной которых является концентрация напряжений, вызванная радиционной каплеударной эрозией. Анализ 82 отказов и аварий семи турбин Т-00-130, шести турбин Т-110-130, тринадцати турбин Т-250-240 и пятнадцати турбин Т-300-240 показал, что наряду с коррозионными, коррозионно-усталостными и другими повреждениями эрозионный износ рабочих лопаток занимает лидирующее положение в т.ч. и по причине экономических потерь, связанных с заменой эродированных лопаток, недовыработкой электрической энергии и ликвидацией последствий аварий. Не в лучшем положении с точки зрения износа конструкционных материалов оказалось теплообменное оборудование турбоустановок электрических станций. Это касается подогревателей низкого и высокого давления, а также сетевых подогревателей. В частности, уже через 45-50 тыс. часов эксплуатации обнаруживаются повреждения трубок ПВД, трубок конденсатора и сетевых подогревателей.

Повреждения в первую очередь обусловлены ЭКИ, коррозией и обесцинкованием. Износу подвергаются стальные и латунные поверхности теплообмена как со стороны пара или его конденсата, так и со стороны охлаждающей и сетевой воды, хотя, безусловно, причины и механизмы его протекания различны. Анализ актуальности перечисленных выше видов износа, а также эрозионно-коррозионного и абразивного износов конструкционных материалов паротурбинных установок показывает, что с учетом усугубляющих факторов наиболее весомы эрозионный и коррозионный износы, которые в значительной степени снижают ресурс и надежность работы оборудования и, как следствие, являются причиной весьма существенных экономических затрат [5].

.3 Эффективность способов борьбы с эрозионными и коррозионными видами износа элементов теплотехнического оборудования паротурбинных установок

Активные способы включают в себе мероприятия, направленные в конечном итоге на уменьшение степени влажности и уменьшение размеров жидких частиц двухфазного потока в последних ступенях турбин, тем самым устраняя в той или иной степени собственно причину эрозионного износа - высокоскоростное взаимодействие частиц влаги с поверхностью рабочих лопаток. Пассивные способы борьбы в первую очередь направлены на изменение поверхностных свойств конструкционных материалов или на обеспечение их внешней защиты от каплеударного воздействия. К этой же группе следует отнести конструкторско-технологические мероприятия, которые за счет оптимального выбора эрозионно-стойких материалов, изменения структуры (размер зерна и др.) традиционных конструкционных материалов, а также изменения проектных конструкторских и технологических решений обеспечивают повышение сопротивляемости элементов проточных частей турбин высокоскоростному воздействию двухфазного потока. Всесторонний анализ показывает, что несмотря на достаточно широкое применение заводами-изготовителями вышеперечисленных способов повышения эрозионной стойкости, ни один из них не соответствует современным требованиям.

Самый распространенный способ - припайка или приварка стеллитовых пластин характеризуется весьма серьезными прямыми и косвенными недостатками. Наряду с «ухудшением» газодинамических характеристик профилей лопаток, дороговизной и технологическими трудностями, достаточно часто происходит отрыв пластин, которые приводят к повреждениям трубок конденсатора со всеми вытекающими из этого последствиями. При приварке стеллитовых пластин нередки случаи образования концентраторов напряжений, которые являются причиной образования трещин и отрывов рабочих лопаток в процессе эксплуатации турбин. Способы, связанные с упрочнением поверхности, характеризуются невысокими показателями эрозионной стойкости, образованием концентраторов напряжений в зоне перехода от упрочненного слоя металла к не упрочненному. Общий недостаток для всех этих способов - невозможность их применения для защиты выходных кромок рабочих лопаток последних ступеней паровых турбин.

Применительно к проблеме коррозии конструкционных материалов оборудования турбоустановок в период ремонтов и длительных простоев анализ разработанных способов защиты с учетом жестких требований ПТЭ (в частности, при выходе турбин в ремонт или резерв на срок более 7 суток они должны быть законсервированы) показывает, что далеко не все могут быть эффективны. Существенно ограничены возможности применения способа, связанного с использованием летучих ингибиторов, по причине сложности реализации, токсичности используемых реагентов и отсутствия возможности производить ремонт законсервированного оборудования.

Последнее обстоятельство характерно и для способов, базирующихся на использовании осушенного воздуха или инертного газа - азота. Использование термина «горячий воздух» вряд ли оправдано, т.к. подогрев воздуха, применяемый, в частности, для консервации турбин без уменьшения его относительной влажности до уровня ниже 60 % может не только не улучшить ситуацию, а значительно ее ухудшить. Эта проблема еще более усугубляется, если оборудование имеет поперечные связи, при которых появляется возможность попадания влажного пара в полости консервируемого оборудования через неплотности арматуры. Технологии реализации этих способов разработаны применительно к защите от коррозии проточных частей турбин. Другое оборудование турбоустановок (конденсаторы, регенеративные и сетевые подогреватели, другие теплообменные устройства, а также насосы, арматура и трубопроводы) на период ремонтов и простоев практически не защищается от воздействия атмосферной коррозии.

.4 Основные закономерности процесса эрозии лопаточных материалов паровых турбин

Анализ результатов большого объема исследований эрозии различных материалов показывает, что скорость этого процесса в течение времени его протекания не является величиной постоянной. В самом общем случае кинетика эрозионного процесса характеризуется тремя периодами (стадиями): инкубационный период, в котором скорость эрозии равна нулю, период с максимальной скоростью и период с установившейся скоростью эрозии. Вместе с тем, в зависимости от свойств материалов, подвергающихся каплеударному воздействию, и от величины скорости взаимодействия кинетика эрозионного процесса может характеризоваться различным количеством периодов - от двух, когда имеет место переходный и установившийся периоды, до шести, когда наряду с инкубационным периодом исследователи предлагают установить четыре переходных периода и два периода с установившимися скоростями эрозионного процесса. Следует отметить, что в кинетике эрозионного процесса не всегда присутствует инкубационный период. Отсутствие инкубационного периода характерно для таких материалов и скоростей взаимодействия с жидкими частицами, при которых отдельные удары сопровождаются потерей массы материала.

На сегодняшний день пока не создана универсальная методика расчета эрозии различных материалов, натурные же исследования весьма дороги и продолжительны по времени. В этой связи очень важное значение имеет определение эрозионных характеристик различных конструкционных материалов, осуществляемое с использованием стендов и установок, в которых обеспечиваются условия взаимодействия образцов конструкционных материалов с эрозионноопасной стредой.

Проблема эрозии в турбинах наиболее актуальна для рабочих лопаток влажнопаровых ступеней. Интенсивному высокоскоростному воздействию полидисперсного влажнопарового потока подвержены входные и выходные кромки рабочих лопаток и поверхности других элементов проточных частей. Процесс эрозии в турбинах обусловлен с одной стороны наличием двухфазного потока, жидкая фаза которого в виде различного размера частиц (капель) движется с разными скоростями и под различными углами, и с другой стороны - противостоящей этому совокупности вращающихся рабочих лопаток, характеризующихся различной длиной и конфигурацией, определенными свойствами конструкционных материалов, наличием вибрации и динамических напряжений высокого уровня. Для полноты картины следует добавить, что это весьма сложное взаимодействие усугубляется неравномерностью концентрации жидкой фазы по высоте проточной части турбины и постоянно меняющимся рельефом разрушающихся поверхностей конструкционных материалов.

.5 Универсальный способ повышения износостойкости лопаток и других элементов паровых турбин

Чтобы повысить изностойкость лопаток с учетом современных весьма жестких требований к защитным покрытиям рабочих лопаток наиболее перспективными оказались относительно тонкие ионно-плазменные покрытия из нитрида титана, получаемые в условиях глубокого вакуума. Способ получения ионно-плазменных покрытий из оксидов и карбидов переходных металлов 4-6 групп Периодической системы Менделеева на фоне большого числа других способов является весьма перспективным и приобретает все большее распространение для повышения износостойкости, в первую очередь, инструментов и оснастки. Механизм формирования вакуумных ионно-плазменных покрытий заключается во взаимодействии высокоэнергетических потоков частиц (ионы, атомы, (ластеры) и квантов с поверхностными слоями изделий. Физика процесса достаточно хорошо изучена, разработаны различные способы его реализации. Процесс формирования покрытий в вакууме в самом общем случае включает в себя следующие основные этапы: генерацию потока частиц вещества, ионизацию и ускорение потока, конденсацию частиц на поверхности изделий. Анализ влияния различных факторов взаимодействия ионизированных частиц : поверхностью показывает, что качество образуемого при этом покрытия определяется химической природой, энергетическим состоянием частиц, их плотностью, скоростью и углом падения, а также химическим составом и структурой, ее шероховатостью поверхности, температурой, электрическим потенциалом.

Несомненным достоинством вакуумных методов формирования покрытий является возможность кристаллизации веществ в широком диапазоне регулируемых скоростей осаждения из парового состояния; возможность взмешивания в широком диапазоне различных материалов в паровой фазе; введение в металлическую матрицу высокодисперсных частиц упрочняющей фазы с равномерным их распределением по объему матрицы, что нельзя достичь, например, при использовании порошковой металлургии. При наличии юнизированного потока частиц металла и одновременным напуске реактивного газа в зависимости от его парциального давления можно получать покрытия различного стехиометрического состава в результате протекания плазмохимических реакций нитриды, карбиды, оксиды и т.д. Например, при адсорбции на поверхности конденсации молекулы азота произойдет образование нитрида за счет процесса диссоциативной хемосорбции посредством возникновения двух ковалентных связей металл-азот [6].

Процесс нанесения покрытия на поверхность изделия с помощью плазменной струи. Сущность плазменного напыления заключается в том, что в высокотемпературную плазменную струю подаётся распыляемый материал, который нагревается, плавится и в виде двухфазного потока направляется на подложку. При ударе и деформации происходит взаимодействие частиц с поверхностью основы или напыляемым материалом и формирование покрытия.

Рисунок 13 - Схема установки для четырех электродного распыления; 1 - вакуумная камера, 2 - анод, 3 - катод, 4 - мишень, 5 - подложка, 6 - аморфный материал.

Плазменное напыление является одним из вариантов газотермического напыления. Для бомбардировки мишени удобно использовать заряженные частицы - ионы, так как их легко разгонять до нужной энергии в электрическом поле. Иногда для напыления применяют специальные источники ионных пучков, в которых ионы отсортированы по массам и имеют одну и ту же энергию. Но чаще в качестве источников ионов используют газоразрядную плазму, из которой положительные ионы вытягиваются отрицательно заряженной мишенью.

.6 Универсальная технология удаления отложений и защиты поверхностей оборудования турбоустановок от коррозии

Проблема коррозии поверхностей пароводяных трактов и элементов турбоустановок не менее актуальна при сравнении, в частности, с аналогичной проблемой для котлоагрегатов электрических станций. Коррозионные процессы, протекающие в период эксплуатации турбин, в первую очередь обусловлены качеством рабочего тела (свежего пара), которое в последние годы имеет тенденцию к ухудшению, что обусловлено нарушением технологии подготовки штательной воды и попаданием в нее органических и неорганических примесей при нештатных ситуациях. На фоне этого коррозионные процессы, интенсивно протекающие в зоне перехода от перегретого к влажному пару при нормативных концентрациях примесей в паре, еще более интенсифицируются, что в конечном итоге значительно обостряет проблему коррозионного растрескивания металлов под напряжением. Актуальность проблемы коррозии в период ремонтов и длительных простоев определяется не только невысокой эффективностью разработанных способов консервации, но и тенденцией увеличения в окружающей среде проомышленных зон концентраций соединений (например, двуокиси серы), значительно интенсифицирующих коррозионные процессы.

Анализ многочисленных результатов лабораторных и натурных исследований позволяет определить многообразие спектов применения октадециламина в энергетике. Наряду со своими высокими ингибирующими свойствами, используемыми для защиты поверхностей конструкционных материалов от коррозии, определены его свойства, позволяющие к тому же значительно снижать скорость эрозионных, эрозионно-коррозионных и кавитационных процессов, способствовать удалению отложений, штенсифицировать теплообменные процессы, а также повысить экономичность влажнопаровых ступеней турбин.

Несмотря на достаточно глубокую изученность свойств октадециламина и возможностей использования в энергетике по-прежнему нет полной ясности о температурных границах его применимости. Известно, что октадециламин, как органическое вещество, разлагается при повышенных температурах, в результате деструкции которого образуются вторичные и третичные амины. Различие данных о температурах разложения октадециламина, его интенсивности и составе продуктов разложения определяется количеством и составом примесей в исходном продукте и условиями доведения исследований. Важное значение имеет определение состава продуктов деструкции этого вещества, остающихся на поверхностях конструкционных материалов и их влияния на структуру и механические свойства последних [7].

С учетом этого была разработана методология проведения комплексных исследований по определению термической стойкости октадециламина состава продуктов его разложения и их влияния на коррозионные свойства конструкционных материалов. На первом этапе были определены состав исходного октадециламина, степень разложения и состав продуктов его деструкции. Исследования проводились в герметичных тиглях из нержавеющей стали, в которые помещался исследуемый продукт, в режиме нагрева со скоростью 2 °С в минуту в диапазоне температур от 100 до 550 °С с использованием термоаналитического комплекса Тв-ОБС-Ш.

Наряду с этим были проведены коррозионные испытания образцов из хромистой стали с защитным слоем октадециламина, предварительно выдержанных в атмосфере гелия при температуре 500 °С в течение б часов. На основании результатов исследований было выявлено, что: термическое разложение октадециламина начинается при температуре примерно равной 400°С и значительно интенсифицируется при температурах 480-1500°С, основной реакцией при термическом разложении является расщепление амина по углерод - углеродным связям, в результате которой при дальнейшем расщеплении первичных продуктов образуются газообразные и жидкие смеси насыщенных и ненасыщенных углеводородов. С повышением температуры при прочих равных условиях деструкция дополняется реакциями дегидрирования и циклизации, при том продукты разложения обогащаются ароматическими соединениями.

Анализ результатов лабораторных исследований показывает, что наибольшей перспективой в рамках решения проблемы повышения коррозионной стойкости турбоустановок обладают способы, базирующиеся на использовании в качестве ингибитора коррозии адсорбирующихся поверхностно-активных веществ -пленкообразующих аминов, в частности, октадециламина. Наряду со своими высокими свойствами, используемыми для защиты поверхностей конструкционных материалов от коррозии, определены его свойства, позволяющие к тому же значительно снижать скорость эрозионных, эрозионно-коррозионных процессов, способствовать удалению отложений. Отложения и продукты коррозии являются одной из причин снижения надежности и экономичности работы паровых турбин и турбоустановок в целом. Отложения в цилиндре высокого давления (соединения меди и др.) приводят уменьшению проходных сечений, к росту перепада давления на регулирующей ступени и как следствие к снижению мощности и осевому сдвигу роторов турбин.

Проведенные исследования показали, что в рамках решения этой проблемы целесообразно использовать одно из свойств упомянутого выше октадециламина. Наряду с весьма высокими ингибирующими свойствами октадециламин эффективно способствует удалению отложений с защищаемых поверхностей. В процессе адсорбции его молекул на поверхности конструкционных материалов происходит разрыхление и отслаивание отложений и продуктов коррозии. При воздействии спутного потока рабочего тела (пар или вода) происходит растворение в нем некоторой части составляющих отложения элементов. Оставшаяся часть отложений и продуктов коррозии в виде мелкодисперсной взвеси сносится с поверхности потоком рабочего тела [8].

Заключение

Результаты комплекса различных исследований позволили доказать перспективность применения ионно-плазменных покрытий для повышения износостойкости лопаточных материалов турбин на основе использования переходных металлов и их соединений 4-6 групп периодической системы Менделеева. В этих исследованиях была разработана технология формирования эрозионно и коррозионностойкого многослойного покрытия, состоящего из чередующихся слоев титана, нитрида и оксида титана, обеспечивающая повышение эрозионной стойкости не менее, чем в 4 раза (по величине инкубационного периода) и коррозионной стойкости до значений стойкости массивного титана без изменения структуры и механических свойств конструкционных материалов лопаток и других элементов паровых турбин при наличии растягивающих напряжений эксплуатационного уровня.

Рассмотрены методические, технологические и конструктивные решения реализации способа защиты от коррозии паровых турбин и турбоустановок в период эксплуатации, ремонтов, монтажа и простоев с использованием адсорбирующихся ингибиторов - пленкообразующих аминов. Впервые на основе комплексного использования современных методов исследований (хромато-спектроскопии, газовой хроматографии, фотоэлектронной спектроскопии, энергодисперсионного анализа), а также всесторонних коррозионных испытаний определены температурные границы эффективной применимости пленкообразующего амина - октадециламина при его использовании для защиты оборудования от коррозии.

Построена математическая и физическая модель описывающая процессы коррозии лопаточных турбин, поворотных участков и фасонных элементов паротурбинных установок. Описаны способы предотвращения коррозий лапоточных турбин паротурбинных установок, поворотных участков и фасонных элементов. Изучено научно - методологическая основа комплексного математического и физического моделирования динамики эрозионного износа парокапельными потоками лопаточных стенок паротурбинных установок.

Список использованной литературы

1 Шляхин П.Н, Бершадский М.Л. Краткий справочник по паротурбинным установкам. - Л.: Госэнергоиздат, 1998, 128 с.

Г.Ф. Быстрицкий Основы Энергетики М.: Инфра, -М, 2007.-185c.

Полещук И.З., Цирельман Н.М. Введение в теплоэнергетику: Учебное пособие / Уфимский государственный авиационный технический университет. - Уфа, 2003. - 98c.

Рыженков В.А. Состояние проблемы и пути повышения износостойкости энергетического оборудования ТЭС // Теплоэнергетика.- 2006. - №7. - С.21-24.

Поваров O.A., Станиша Б., Рыженков В.А. Исследование эрозионного износа рабочих лопаток паровых турбин // Теплоэнергетика-2002,- № 4.- С.66-69.

Поваров O.A., Пряхин В.В., Рыженков В.А., Бодров A.A. // Эрозионный износ металлов при соударении с каплями жидкости. Энергетика и транспорт.-1995.-№ 4.- С . 155-158.

Яблоник P.M. Поддубенко В.В. Экспериментальное исследование эрозионной стойкости лопаточных материалов // Энергомашиностроение.- 1995, - №11. - С. 29-31.

Акользин П.А. Коррозия и защита металла теплоэнергетического оборудования. - М.: Энергоиздат, 1992, - с. 218-219.   

Похожие работы на - Повышение изностойкости паротурбинных установок

 

Не нашли материал для своей работы?
Поможем написать уникальную работу
Без плагиата!
Без нейросетей!