Improving the process of repair of the aircraft panels made of composite materials

  • Вид работы:
    Дипломная (ВКР)
  • Предмет:
    Транспорт, грузоперевозки
  • Язык:
    Английский
    ,
    Формат файла:
    MS Word
    444,38 Кб
  • Опубликовано:
    2015-05-23
Вы можете узнать стоимость помощи в написании студенческой работы.
Помощь в написании работы, которую точно примут!

Improving the process of repair of the aircraft panels made of composite materials

Introduction

Uzbekistan is a country with the aviation world renownbeginning of our aviation became from 90th years.28, 1992 was established by the Decree of the President Islam Karimov Airline as governmental body for civil aviation ensure the development, coordination and implementation of policy in the field of air transport on the territory of the Republic of Uzbekistan.airline "Uzbekiston havoyullari" - the state airline of Uzbekistan, providing the needs of the economy and the population in the aviation services (freight, passenger, special aerial work).main functions of the airline are to provide quality services to local and international airlines, the research and implementation of new technologies and scientific developments in the field of air transport.has the status of association, consisting of structural units having the rights of legal persons, and operates on the principles of cost accounting, self-financing and self-sufficiency. NAC «Uzbekiston havoyullari» is fixed and current assets, independent and consolidated balance sheet, and other accounts in banking institutions in Uzbekistan and abroad., on the air line out West European Airbus A-310 -300, Boeing - 757 and 767.14 international routes. Given the charter flights, experts Metropolitan Airport service aircraft with flights to almost all Asian and European countries.in world practice was performed trouble-free operation and maintenance of aircraft outside the Republic.experience has allowed to start as soon as possible on ships flying the A- 310 - 757 and Boeing 767. So, the airport "Tashkent" got great potential in the international market of aviation services.the mid-90s, with the support of companies "Strabag", "Fox" and the airport Frankfurt - Main, began work on the reconstruction of the global "northern" and "southern" runways, installed the latest lighting system of production "Siemens", thanks what airport was the second category of ICAO.2001 Tashkent airport complex has been completely renovated, which allowed him to become one of the largest and most comfortable, it is equipped with the latest technology and is capable of high-quality service and passengers, almost, all types of aircraft operating in the world.«Uzbekiston havoyullari» flies on a regular basis in more than 40 cities in the world - in Europe and Asia, America and Japan. Representation of airlines operating in 25 countries.NAC fleet consists of western aircraft Boing-757/767, A320, modern liners domestic production of IL-114 -100, as well as cargo aircraft A300-600. For airworthiness and provide the necessary qualifications aircrew airline has its own training complex, in which modern procedural simulators aircraft Boeing-757/767, A320 and unikalny full - light - simulator IL-114-100. In 2016, planned to receive new-generation aircraft Boeing- 787 -8 Dreamliner, in connection with what is being created on the basis of aircraft repair NAC «Uzbekistan airways technics» first in Central Asia regional workshop of the major elements of aircraft structures made of composite materials. The composite material (composite) - structural (metallic or non-metallic) material, in which there are reinforcing elements in the form of its yarns, fibers or flakes more durable material. Examples of composite materials reinforced plastic Born, carbon, glass fiber bundles or tissues based on them; aluminum reinforced with steel strings, and beryllium. Combining the volume content of components can receive composite materials with the required strength, heat resistance, modulus of elasticity, abrasion resistance, and create a composition with the necessary magnetic, dielectric, radio absorbing and other special properties.11 airports included in the airlines today have international status. In NAC «Uzbekiston havoyullari» employs more than 14 thousand employees.'s business strategy is to implement a program of civil aviation development, providing for the modernization and unification samoleto-motornogo park, construction of new airport complex reconstruction of air traffic control systems, re airfields modern ground equipment, capacity expansion own repair and technical base and the creation of its base training of highly qualified personnel.the airline plans - start international airline alliance SkyTeam.present, the services of the international airport "Tashkent" resort recognized airlines such as:

• A/K "Lufthansa"

• A/K "Turk Hava Yullari"

• A/c "British Mediterrenien Eyrueys"

• A/K «Aziana Eyrlaynz, INC"

• A/K "Korean Air"company «P.T. GARUDA INDONESIA»

• A/c "Iran Air"

• of A/K «Transaero»«Aeroflot - Russian Airlines»

• of A/K «Domodedovo Airlines»

• A/ B to "Siberia"

• GAOZT "Armenian Airlines"

• A/K "AIR- XENA"

• A/ K "IMEYR"

• FSUE «Perm Airlines"

• CON RUE «Belavia"

• A / K "Altyn Air"

• SJC "Airlines of Ukraine"

• NU "Turkmen"

• SAC "KAVMINVODYAVIA"

• JSC "Ural Airlines"

• SAC "Pulkovo"

• JSC «AIR KAZAKHSTAN»

• JSC "Aeroflot-Don"

• SUE A/K "Tatarstan"

• of A/K «Krasnoyarsk Airlines»

• of Zug "RusAero"

• JSC «Streamline OPS»A/K «East Line» and othersengineering is based on the latest scientific and technical achievements in all areas of modern knowledge, being essentially a catalyst for scientific and technological progress in the field of basic sciences (aerodynamics and gas dynamics, mechanics, solid state physics, etc.) and applied research (materials science, instrumentation, electronics, avionics, etc.) Modern aircraft and helicopters are designed and manufactured in accordance with the special requirements safety and extremely harsh environments: multiple repeatable peak loads, forced flight regimes in all-weather and all-climate conditions, extreme temperatures, aerodynamic nature of the external force. For modern civil aviation (main civil and transport planes, planes for local airlines, multi-mission helicopters, etc.) are essential to increase their resource, reducing the impact of aviation on the environment, comfort, and to minimize the size of the aggregates. Solving these problems is possible thanks to a new approach to the choice of structural and functional materials based on the concept of integrated quality aircraft materials. Integrated quality aircraft materials is determined by parameters that are combined into several groups. Among them the most important are: the weight efficiency, manufacturability (including operational), efficiency, maintainability and testability, as well as several others. Weight efficiency is mainly determined by the characteristics of strength, specific strength.the lifetime and durability of aircraft allow the reliability characteristics of the material, such as endurance and resistance to low-cycle fatigue, fatigue crack growth rate, static and cyclic fracture toughness, resistance to stress corrosion cracking, corrosion by stress, exfoliation corrosion and other forms of corrosion, compatibility with other materials, opposition «effect Rebinder» (adsorption decrease in strength, changes in the mechanical properties of solids due to physico-chemical processes, causing a reduction in the surface, the interfacial energy of the body, manifested in the reduction of strength and fragility occurs, reducing durability; effect PA Rebinder opened in 1928). Reliability of structures is largely determined by the resistance of the metal spread existing fracture (fracture toughness), and not only its emergence.


1. Constructive Part

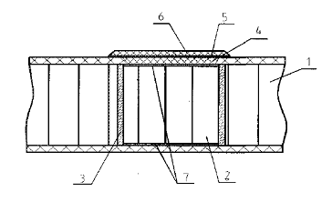
- aerodyne with aerodynamic principles of flight. Despite the variety of types, all aircraft have the same basic units performing similar functions. Such units include wing, fuselage, horizontal and vertical stabilizers, chassis and power plant.- the bearing surface of the aircraft, designed to create aerodynamic lift, necessary to ensure the flight and maneuver of aircraft in all modes. The wing is a thin-walled shell backed and consists of a frame and cladding; frame - of spars, stringers and walls and ribs. Located on the wing mechanization - slats, flaps, ailerons, spoilers and pylons.- is bearing surfaces, which are bodies of stability and controllability of the aircraft. It consists of horizontal and vertical tail.construction being the basis of the aircraft structure combines force with respect to a single entity all its parts.facilitate the work on the production and operation of aircraft to devise a system partition on aircraft parts - panel.the panel understood part of the outer surface of the unit or section.forms the outer surface of the wing. From the quality of the wing surface to a certain extent dependent on its aerodynamic characteristics. In modern aircraft primary distribution received tough metal skin, as most fully meets the requirements of aerodynamics, strength, stiffness, mass m. Metal siding often made of sheets. Its thickness varies from 0.5 mm to very few places have loaded the wing tip to 4...6 mm, and even more in highly stressed areas in the root sections.most widespread modern airplanes received trim high-strength aluminum alloys. On aircraft flying at high supersonic speeds (M > 2), applies paneling resistant steels and titanium alloys, does not lose its mechanical properties at elevated temperatures under aerodynamic heating design.the shell plates to each other can be made lap with beveled edge, lap and butt with crossovers. The simplest is the lap joint, but it causes the most drag. Used to reduce the resistance lap joint with beveled edge and lap-joint strike.joint may be made only to thin sheets of a thickness of 0.5... 1 mm. Best aerodynamic relationship and get on the most widely used on modern aircraft is the butt, although here and have to put at least two row riveted joint, whereas in other schemes, you can do single-row suture stitch Rows determined by the current load.joints are carried out by elements of the framework: spars, stringers and ribs. Currently used for fastening cladding countersunk riveting. Holes on the outer surface of the spleen on mortgage countersunk head rivets. When riveting very thin sheets of thickness of 0.5... 0.6 mm holes for mortgage rivet head can be punch. In this case holes are punch or spleen cells and those parts, which is a riveting trim.airplanes widely used laminated paneling, consisting of two carrier layers interconnected lightweight aggregate. Carriers cladding layers are made mostly of aluminum sheets. The padding may be a cellular, or be constructed of porous corrugated sheet. Honeycomb made from metal foil having a thickness of 0.03... 0.02 mm. Foils are corrugated and are interconnected by gluing, soldering or spot welding.depends on the shape of the comb corrugation. Honeycomb can be made of corrugated and plastic tapes, glued between, a. Porous filler is made of porous plastic materials having a low density. Sheathing with filer corrugated sheet are receptive load whose direction coincides with the direction of the corrugation.bearing sheets glued to a placeholder, and metal sheets and can be soldered to a metal filler. In supersonic aircraft wings exposed to the aerodynamic heating of large bearing cladding layers may be fabricated from titanium sheet or sheets of heat-resistant steel, and the honeycomb core - of the same foil material.paneling has a number of advantages compared with single-layered. A laminated trim has larger lateral stiffness and consequently, high critical strain. Thus, when the thickness of the carrier layer 5/2 = 1 mm and h = 10 mm, the ratio is 75, and when h = 20 mm - 300. Approximately at the same ratio and the transverse rigidity is increased. For this reason, laminated paneling not need frequent stringer set, can significantly reduce the number of ribs.with layered plating may be easier with a single-layer lining the wing, supported by stringers. The surface quality of the laminated roof sheathing due to the lack of riveted joints get higher. Laminated paneling has good insulating properties that makes it profitable for its application subject to large aerodynamic heating wings of supersonic aircraft, interior volumes are busy fuel.laminated paneling and has major drawbacks. The technology of producing a laminated sheathing complicated complex quality control gluing or soldering carrier layers to a placeholder, difficult repair skin. Great difficulties encountered in the implementation of the joint parts layered skin and its interface with the elements of the power set of wings.the junction is necessary to make a connection not only heavily loaded bearing layers of skin, but also padding that ensures their work together. Joint sheathing panels produced at special border. Edging glued or soldered to the supporting skin layers and to a placeholder. The panels, performed using anchor screws, nuts or bolts.cladding elements with power set wing also produced using fringing. In order to reduce the weight of the layered skin should strive to reduce the number of joints. If the process of the design considerations and can produce long sheathing panel exceeding the length of sheets extending on its carrier layer, the first connecting lining carrier layers using soldering or gluing, and then combine them with a filler.the wings of the modern monoblock speed aircraft is widely used siding monolithic panels. This wing almost all senses load weight and trim it constitutes the main part of the mass of the wing. Application of monolithic cladding reduces the weight of the wing due to compliance with the applicable sections sized loads and significantly lower than in the panels with metal cover, the number of connections.made of monolithic panels have increased torsional rigidity, which is favorable from the viewpoint of aeroelasticity. However, monolithic panels in comparison with the teams have some drawbacks: the complexity of manufacturing large, significant material waste, high cost, difficulty of repair, the worst characteristics of fatigue strength. Monolithic panels produced by milling of plates, compression; rolling, forging and casting. Plates, which are made of milled panel, obtained by hot rolling or forging.configuration panel is milled in special key-cutting machine tools and machining centers. Panel for more than a simple configuration and can be produced by chemical milling. Curved panels are obtained by milling or flat panel followed by flexible plate or imparting the necessary curvature of the free forging followed by milling to the desired contour.produced panel of constant cross section parallel longitudinal set. After heat treatment panel is machined molding and final finishing by circumscription. May be prepared by rolling and panels wafer. Before rolling the billet, and the matrix is heated to a hot forging temperature.processing is performed in the panel the same as the processing of the pressed panel. When hot press forming longitudinal and transverse panels and the set thickness of the panel may have a variable cross section along the length, cross sectional shape of trapezoid ribs. Since stamping not possible to get the required dimensional accuracy of the ribs and planking thickness must be calibrated panels or additional machining.panels casting allows you to design with a complex set of power and with a shell thickness significantly less than with other methods for producing panels. Panels made by casting, require less machining. Each of the methods of manufacturing the panels has its own advantages and disadvantages.of panels made from milled plates are getting complex configuration panels with variable cross-sections, the relatively high accuracy and surface relative simplicity and low cost used equipment; The disadvantages include a large waste of material (up to-90%). High labor intensity and the worst compared with stamped panels mechanical properties. Advantages pressed panels are their high mechanical properties, low material waste and lower compared to forging power equipment.disadvantage is the limited shapes and sizes of panels. The advantages of the panels produced by rolling, it is necessary to take possibility of obtaining much smaller than the molded panels, the thickness of the panel (1 mm or even less), as compared with a hot stamped panels - lower capacity equipment and the comparative simplicity, and hence less tooling costs. A drawback is the limited hot rolled panels geometric shapes in comparison with stamped panels.stamped panels have almost the same high strength as chipboard panels. When you clone panels provided the desired change in cross-sectional area of ribs and planking thickness obtained low material waste. The major drawback of this method of manufacturing the panels is a lot of power equipment., for the manufacture of panels of aluminum alloy requires a force of 300,000 N per square meter. Therefore, the size limited stamped panels. Most labor and die manufacturing cycle and the inability to obtain the required dimensional accuracy ribs and planking thickness without additional processing are also disadvantages to this method of manufacturing the panels.of manufacturing panels cast consist in the possibility of producing large-size panels required, power set, thin skin and necessary in terms of strength change in cross-sectional areas along the length. The advantages of this method of manufacturing the panels should also include low material waste, much greater productivity and low complexity of manufacturing equipment. The main drawback of cast panels - the worst mechanical characteristics.have proliferated panel made of composite materials. Composite cladding began to use coal - and boroplastics. Panel of composite material allow to obtain high strength and rigid construction of the wing at a significantly lower cost of mass. Panel of KM made as smooth layered skins, skins with stringer reinforcement or sandwich skins with a honeycomb using automated for this purpose production lines.laminated panel composed of several layers of tapes of fibers impregnated with a matrix resin stacked on a laying machine with alternating orientation: on the chord (90 °), the chord angle (± 45 °) and perpendicular to the chord (0 °). Stacked layers of skin thus provide the highest strength characteristics of the panel. Next panel pre-crimped and trimmed in the uncured state contour. The panel is placed in a mold is evacuated in an autoclave and cured.with stringer reinforcement is made of pre-preformatted plating and stringers and their subsequent rejection, during which the sheathing is connected (glued) with stringers.process of manufacturing sandwich panel with a transaction involves preforming both skins, making skins in size aggregate, combine all of these elements for bonding - is curing based at an outer skin in a special form, evacuation and abandonment.of the use of composites in aircraft structuresappearance of Russian aircraft production determine more than 120 structural and functional materials, developed in the framework of the presidential program "Development of Russian civil aviation»and embedded in the Il-96M, Tu-204, Il-114, Be-200, Tu-last modifications 154, IL-86, and others [10]. Through the use of new aluminum alloys, polymer composites, titanium alloys, structural steels, complex non-metallic materials - paints, adhesives, sealants - provide increased service life products (1.5... 2) resource (1.5 2 times...), fire interior turnaround time during the operation. Structure of consumption of structural materials in aircraft construction is shown in Fig. 1.composites are increasingly used in aircraft construction, the main structural material for a glider are aluminum alloys. In 2000... 2015. their share in the structure of the application is maintained at 50%. The task of increasing reliability, improving crack resistance, improve fatigue properties of the alloy for the fuselage, wing and power set is solved by a significant increase in purity alloys (reduced impurity content of silicon and iron, the amount of excess phases), the development of new modes of heat treatment, improve the quality of semi-finished products.

1. Structure of consumption of materials in aircraft construction: HTSC materials of high temperature superconductivity; CMC - materials for elastic sensing elements

to significant benefits in terms of specific strength and stiffness, exceptional combination of structural, thermal, special properties of composites in a growing volume used in the construction of the aircraft. If the airframe and in the interior of the Tu-204 the scope of application of composites was 14% by weight, the future passenger Airbus (A380 type) it reaches 25%. Application of composites in aircraft construction is illustrated in Fig. 2.ASTC. Tupolev on the application of organic plastics in previous aircraft for the manufacture of cellular and solid stabilizer panels with operating temperatures above 100°C showed their high reliability, especially for maintenance. In the details of the interior and fairings radars used high-tech material sferotekstolit developed at the All-Russian Institute of Aviation Materials (VIAM). Widely used carbon-and glass-fiber manufactured by prepreg technology (layered fillers (glass, carbon fabric) impregnated with thermosetting binder, partially cured. Products used in the production of medium and large size and processed in hydraulic presses with large size plates fitted drawers resins). The floor panels are made of organoplastic combined with the cells based on polymer paper. Fairings for manufacturing radar applied GRP based on epoxy-phenolic binder. In the manufacture of aircraft units of carbon and organic plastics used epoxy universal binder EDT-69H with an operating temperature of 120...130°C.

Fig. 2. Use of composite materials in the airframe of the aircraft Tu-204: 1 - Elements of the wing; 2 - pylon; 3 - nacelle (the bow door); 4-IBD; 5 - gear doors; 6 - wing fairing; 7 - elements of feathers: keel stabilizer; 8 - nose fairing; 9 - MAT sash; 10 - Cell panel; 11th floor; 12 - monolithic parts

. 3 shows the use of composites in the airframe far mainline widebody aircraft Il-96-300 (KB them. Ilyushin). The design of the aircraft has been used a large number of composites (1650 kg), which reduced his weight to 520 kg. Feature use of composites in the airframe of the IL-96-300 is that all elements of design are made using hybrid materials. In thin plating on the surface of carbon-impregnated tapes create form for single layer process organic tissue, which provides resistance to erosion and protect the fragile layers of carbon fiber from damage during operation. In more layers organoplastic loaded structures are uniformly distributed over the thickness of the skins (25% of total layers organoplastic number of layers) that provides a higher fracture toughness as compared hybrid construction with carbon-fiber. In addition, applied additional layers of fiberglass, carbon fiber, which are corrosive eliminates contact with aluminum and steel parts. Thus, the reduced complexity of implementation of adjustment and assembly work in the assembly of parts, since in this case the drilling is performed by cutting and fiberglass layers, more manufacturable. Much attention in the production of the IL-96-300 given to the corrosion resistance of composites.

. 3. The use of composite materials in airframe structures IL - 96 - 300: 1 - Elements of the wing; 2 - pylon; 3 - nacelle; 4 - the air intake; 5 - service hatches; 6 - gear doors; 7 - wing fairing, side panel; 8 - honeycombs and monolayer paste; 9 - cell floor; 10 - aft of the wing panel

time in the Russian practice of creating mainline passenger aircraft airframe airplane Il-96-300 composites are widely used for the elements of the wing, gear doors, pylons, nacelles and other, as well as honeycomb floors, interior. The design uses composite materials (mostly hybrid ugleorganoplastiki) based on universal binder EDT-69H (with the use of epoxy resins KDA. ETF, DP-631U), but not inferior to their foreign counterparts characteristics. In IL-96-300 were widely adopted high-strength film adhesives VC-51 and VC-51A (reinforced), which helped to create highly laminated structural elements, ensuring higher reliability and weight reduction power airframe.work performed to modify interior materials - decorative films PDOAZ-25 organita 7TLK, leatherette AIKos, floor material "Abilene-2»rubberized fabric 51-ST-1H for flexible pipelines and other FCC allowed to bring them to meet the requirements of "airworthiness life "flammability, smoke production, toxicity., developed, implemented, and materials science and technological design and technological solutions for the manufacture of air-conditioning system components made of fiberglass STP-97KP, bins of mikrosferotekstolita MCT-7P; in order to reduce the complexity of manufacturing structures of complex configuration designed knitted filler used in the construction instead of honeycomb; designed molding thermoplastic PA-610 decorative structural purpose, the technology of color components during their manufacture by injection molding using a masterbatch pigments; developed a new flame-retardant multifilament yarn "Togilen»are block the fire for fabrics and other materials to ensure mass increase efficiency, reliability and durability, comfort passenger compartments.the basis of the synthesis of structurally layout and technological solutions composites are increasingly being used, including the creation of large heavy-duty units in Helicopter KB them. Kamov. Thus, the weight of the composite structures in a helicopter Ka-26 was 6%, the Ka-27 (Ka-32) - 15%, Ka-126 (Ra-226) - 17%, the Ka-50 - 35%, the Ka-62 - 55%. Designed by four generations of the rotor blades made of composites. Currently are manufactured and are in operation blade helicopters Ka-26 and Ka-27 (Ka-32), Ka-50. Application of composites in helicopters KB them. Kamov provides: weight reduction by 15...35% increase in resource 1.5... 3 times, increase vitality, reducing labor and manufacturing cycle helicopter 1.5... 3 times., uniform rotor blades of helicopters Mi-17 and Mi-38 made of composite materials with the planned flight hours 5000 h of material cost and complexity of manufacturing in mass production have equal performance with similar production costs of all-metal blades with a flight resource 2500 hrsthe superior performance properties, qualities (reduced vibration, increased load capacity of 300 kg, increased survivability and reliability), increase flight hours for blades made of composites to 5000 h and above, the development of production of rotor blades made of composites at the Kazan helicopter plant is economically effective measure for the modernization of the Mi-17 and an important direction in the development of production of the Mi-38. Compared with helicopters Mi-8, Mi-17 Mi-38 provides for a further significant increase in the use of composites in the fuselage, fin, stabilizer, and other elements of the design of the helicopter.design of the AN-124 "Ruslan»is widely used polymer-based composite materials and high-strength high-modulus carbon, glass and organic fillers in excess of their foreign counterparts. (Fig. 4). European consortium "Airbus Industrie»in the Airbus A380 composite materials used for engine nacelles, wing skins and tail (Fig. 4). Composite materials, designs Application of KM used in aircraft An-124 aircraft A 380 "Airbus Industrie"

. 4. The use of composites in the construction of passenger aircraft

use of composites in aviation, especially in military aircraft occurs mainly through the expansion of the scope of their use in the main parts of the airframe: the tail, wing, fuselage, helicopter important trend is the use of composites for the production of drive shafts and blades main and tail rotor. In addition, they are used for the manufacture of radar fairings, interior panels, ceiling, ducts, fuel tanks, armor protection for the team and the most vulnerable parts of aircraft and helicopters, etc., it should be noted that the introduction of composites in aircraft structures bearing elements, especially heavy civil, at the first stage was carried out with extreme caution, limited mostly weak and moderate details. The reason - lack of confidence in the operational reliability of new materials, related primarily to the limited amount of experimental studies and field tests. The gradual accumulation of experimental data on the performance properties of the composites, as well as experience in the development and operation of various types of composite structures and improvement of their quality control has led to the fact that to date there is a large number of aircraft such as the DC-10, "Boeing-727", -737, -747, -757, -767, A-310, etc., as well as helicopters, «Sikorsky S-76», «Sikorsky SH-53D» and others, which designs, including vital important, composites have been used.. 5 gives examples of the use of composites for aircraft "Boeing 767". Total weight of the aggregates composites pas airplane, "Boeing-767" is 1534.5 kg, which reduced the weight of the aircraft by 813 kg. Another example - MD -100 aircraft company "McDonnell Douglas" in the construction of which was used around 6950 kg of composite materials.

. 5. The scheme of composite materials in the construction of a Boeing-767: 1 - wall spar; 2 - fixed rear panel; 3 - spoiler; 4 - aileron internal; 5 - ending keel; 6 - Rudder: 3 - elevator; 9 - facing the cargo compartment; 10 - wing fairing; 11 - fairing exhaust system, flaps; 12-trim upper and lower wing stringers: 13 - external aileron; 14 - Cabin gondola

most cases the replacement of metal alloys in detail for composites has resulted not only to reduce the structural mass (up to 20-40% as compared with metal analogues), but also to reduce their costs.body parts plating engineswalled body parts easy load aircraft engines are the most promising in terms of use of polymeric composite materials. Easy access for periodic visual inspection, diagnosis, and replace them if necessary, ensure reliable operation during the operation of the propulsion system. In a composite performance of body parts have a mass of 20...5% less than metal counterparts. Currently in mass production are the following components of the PS-90A: with sound-absorbing casing nozzle contour nozzle fairing and rear cowl reversing device that reduce engine weight by 21kg. During the implementation phase and experienced mining are: aperture, body suspension, power building, housing the valves, external fairing reversing device, sound-absorbing panel with circuit inside the housing 1, cowl, hood, housing, providing additional engine weight reduction by 39 kg. At the design stage are: the fan housing, paddle rectifiable grille reversing device, a power strip with a planned win by weight to 63 kg., the total weight reduction PS-90A engine when using composite parts is about 123 kg. This leads to an increase in payload for medium-haul aircraft TU-204, equipped with two PS-90A engines to 246 kg and for haul aircraft type IL-96-300 four-engine 492 kg. The obvious advantage of composites has led to what is now creating a new PS-90A12 at the design stage requirements laid perform a number of body parts from composite materials. Molding composite body parts is carried out by hand lay on the mandrel variously oriented layers of glass and karboprepreg. Most of the parts are performed entirely from composites, although some constructive solutions provides for the use of metal flanges that can be subsequently replaced with flanges made of composite materials as mining past.the general case, the body parts of aircraft engine complex system of concentrated and distributed loads, the main ones are: the internal pressure, tensile load of gas forces and resultant inertial forces applied at the center of mass construction. In addition, the individual components may be exposed to excessive external pressure, the incident exposed the outer flow and compressive forces arising when assembling aircraft engine casing design. Most loaded elements are parts with flange mountings that are considered structural variants made of the same materials as the items themselves and make them one. According to the requirements specification flanges must ensure secure mounting in the temperature range from -60°C to 100°C under the action of inertial forces with overdrive 5733g and vibration loads with a frequency of 5 Hz to 200 Hz, the amplitude of vibration acceleration to 3,5 g, and have the resources 25 000 hours of work over a period of 10 years. Currently being developed methods of calculating composite flanges for strength, allowing to predict resource body parts in which they are used.

2. Technological part

2.1 Repair process design

polymeric composite materialsin a production environment is to restore the exiting characteristics of the aggregates. To provide high quality repair need to perform complex preparatory work ensured opting temperature and humidity conditions in the room (the temperature below +18°C, relative humidity up to 75%).preparation for the elimination of a particular defect should:the damage zone;the boundary of damage;the thickness of the skin, its composition and the type of aggregate in the repair area;appropriate working methods, equipment, tooling, ma-ones;the rules of work safety.carrying out repair work area must be cleared of contamination at 350 mm from the edge all around the defect. Installing patches on the repaired zone can be performed on two schemes: pasting pre-manufactured lennyh forming patches and patches of prepreg layers in specially cut.. recess in the hull with partial replacement (if necessary) the aggregate. The second scheme is more desirable because it allows you to recover up to 91% of the original strength. [14]determine the suitability of aggregates from PC to operate all available on these defects, as well as repairs made must be applied to the circuit units, indicating the approximate contour defect, its type, size, and distance to the edge of the unit. Scheme retained for the life of the units.process of repair of units begins with the implementation operation markup defective areas, which is carried out with graphite pencils, colored bars on LCP. Next, the layout of the repaired area of the unit, which is limited to smooth lines with a minimum radius of curvature of 10 mm. The contour of the cut portion is spaced at least 8.10 mm from damage. Conducting further processing steps depends on the type of defect, so we will consider perform repairs all types of defects according to the classification [14] as shown in Table. 1



2.2 Removing scratches

scratches in the matrix, which do not affect the filler produced by applying an adhesive trowel VC-9 (or VC-27) on the pre-treated with fine sandpaper defective portion width of 5 mm to the full depth scratches. On the area of repair is rolled film of Teflon, set plate thickness 0.3-0.5 mm, and the load carried by the adhesive curing regimes listed in Table 2. Eliminating shallow scratches (depth less than 25% of the planking thickness) according to the following technologies:from sanding paint repair zones with-According markup;with fine sandpaper section width of 10-15 mm;scratch length at half its depth;with sandpaper scratch the entire depth with a width about 5 mm and 25-30 mm zone circle scratches. After a clean, dry brush the dust from the defective area;and glued (create form) 1-2 layers of prepreg (You can use fiberglass impregnated with glue VC-9 or VC-27 without filler), depending on the depth of the scratch. Prepreg overlap in both directions from scratch at least 60 mm;form are create plies of prepreg technology will be discussed later when describing the process of repair peeling skin from honeycomb holes and partial replacement of units with plating.deep scratches made similarly eliminate friction communities.

.3 Eliminating bundles

process of removing skin bundles depends on place of its discovery. Bundle can be on the perimeter or on the field plating.detection of the bundle perimeter trim it eliminates after-as follows. Originally cleared defect from the old binder sandpaper or a thin plate with notches. Glue are spew or binder with a syringe (if necessary can be heated to a temperature of 40-50°C), tightly compressed area repair manually. Removing excess binder or adhesive cloth soaked in acetone, going technological package of release film (PTFE, polypropylene), heater, thermocouple, tsulagi, heat insulator. On the opposite side contains (a face) and sponge rubber on top of it a metal plate. Installed with a calibrated tightening clamps and performed the appropriate mode of curing the binder or glue.of bundles in the field of skin-drills openings in the repair area (Fig. 6). In a nut-holes are eyelets previously degreased in acetone and gasoline. Drying after treatment each solvent for at least 15 min at room temperature. Before screw and piston assembly daubed glue (eg VC-9). Excess adhesive removed carefully. The length of the screw must be less than the height for the cell-filler in the repair area. Through the holes in the nut - Pistone zashpritsovyvaetsya glue and set screw. Conducted mode adhesive curing.

Figure 6. Repair installation bundles with nuts-pistons

- the repaired unit; 2 - glue zashpritsovanny zone in repair;

- screw installed in the nut-cap; 4 - Exfoliate trim;

- nut-cap; 6 - bundle

.4 Eliminating delaminations

sandwich constructions from composite honeycomb possible detachment following:skin from the honeycomb;of honeycomb from the frame;skin from the carcass.methods to address these different scalings from each other, so we consider separately each kind of peeling. But common process step prior to any type of decoration, is the removal of moisture from the cellular structures, as will be discussed nor-same.

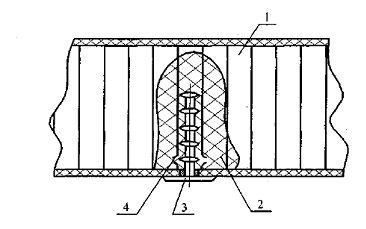
.5 Moisture removal of cell structures

accumulates in the field unit, wherein there are mechanical-damage firmed, as well as in areas near the sites of assembly and linkage joints with ribs style Farmhouse. After the control for the presence of moisture in the aggregate, in the zones where it has been detected, and also in areas of mechanical damages and delamination of the complex of operations to remove moisture. Technological methods and equipment are slightly different from each other no matter what zone removes moisture (Cabin - honeycomb; skeleton - Honeycomb). Moisture removal zone "frame - honeycomb»cracked technological holes in parts of the framework and the presence of the anchor or anchor retaining nuts in the frame through their holes pierced or drilled foamable adhesive composition in the cells at a depth of not more than 10 mm (hole diameter is 2-2.5 mm). Moisture removal zone «Cabin - honeycomb» reams holes 3.6 s 3.8 mm staggered pitch of 60 mm. Technological holes and anchor nuts installed fittings (Fig. 7) for connection to a vacuum system. Connections to the unit are fixed by using a sealant (VIKSINT Y-2-28, VGO-1 etc.) or rubber O-rings. Connections may be made of transparent materials for visual observation of the process of removing moisture.unit is placed in the drainage layer of the fabric and was collected by vacuum bag (Fig. 8). Assembled technology package is placed in a heat chamber or bottom heating system installed. Created under the bag, in the defective area, depression 0 OZMPa (0.3 kgf / cm) and temperature rises in the area Repair to (90 ± 5)°C at a rate of 2 degrees per minute. Maintained under discharge unit and heating for 6...8 h, removing the vacuum unit is cooled to 40°C. Re-verified by the unit for the presence of moisture. When re-evaporation of moisture detection moisture persists, and in its absence you can start to repair the unit.

7. Installation fittings in the frame and trim parts to remove Moisture: a) a frame assembly; b) in the casing

- socket to remove moisture; 2 - rubber gasket; 3 - wall spar; 4 - foamable composition; 5 - honeycomb; 6 - anchor nut; 7 - axis; 8 - sealant; 9 - a nut; 10 - sheathing with a hole

. 8. Shema connect vacuum pump to remove moisture and

- connection to a vacuum tube (or ejector) pump; 2 - standard elements (cross, tee) 3 - fitting attached to the opening in the defective area; 4 - vacuum bag; 5 - drainage layer; 6 - repaired unit; 7 - tube for sucking water vapor; 8 - fitting, mounted on a vacuum bag; 9 - a tube that can be connected, converging to the vacuum pump

2.6 Troubleshooting peeling skin from honeycomb

of honeycomb paneling on units without testing oping acoustic and vibration loads and without special destination, eliminating zashpritsovkoy glue defect installing caps made of aluminum alloy (if sheathing of fiberglass) or titanium (Fig. 9).zashpritsovku glue and install plugs drilled staggered at 20 mm, if the defect is 40 mm wider. Drilling depth of 3-5 mm. After drilling is removed from the treatment zone vacuuming dust and shavings

9. Repair peeling with installing plugs type "Screw": 1 - the repaired unit; 2 - adhesive in the area zashpritsovanny repair; 3 - stub; 4 - the opening in the wall of cells for wicking glue

repairing units in the zone of possible contamination from heated gases from engine, zashpritsovka made using adhesives having improved heat resistance.into the aircraft parking conditions can only be installed bottom surface, as their installation is carried out simultaneously with zashpritsevkoy glue defect. If necessary, install the plugs on the upper surfaces of the unit it must be removed from the aircraft. To ensure uniform and complete distribution of glue over the entire surface of the defect between the skin and honeycomb core runs drenazhirovanie wall honeycomb special device (Fig. 10). The openings in the walls of cells should have a circular shape and positioned at a distance of 0.5... 1.5 mm from the drilled casing.

10. Drainage scheme honeycomb before zashpritsovkoy glue: 1 - a device for drenazhirovaniya; 2 - honeycomb; 3 - sheathing repaired unit; 4 - hole; 5 - Drainage channels in Honeycomb

to install plug in unit (shortened degreased) produced zashpritsovka glue into the hole in the unit. For repair mainly used pasty adhesives type VC-9, VC-27. They have high viscosity, and discharge them in a special unit be used syringes. The largest application found a syringe with a screw rod, providing pumping cold pasty adhesives (Fig. 11). It is filled with freshly prepared adhesive, then the tip of a syringe inserted into the hole defects glue squeezed by turning the handle. Zashpritsovka glue stops when a sharp increase in pressure (force) extrusion or when the glue from adjacent holes. After work syringe should be carefully washed from the glue residue.after zashpritsovki placed in the hole plug, not up-blowing straight. Adhesive flash removed c / b cloth soaked in acetone.

11. Syringe with a screw rod: 1 - the handle; 2 - screw rod; 3 - union nut; 4 - the case syringe; 5 - piston; 6 - tip

caps reinforced adhesive tape and adhesive curing mode is provided. If necessary, heating the repair area is placed on the heater bag and the process is going to the air bag to provide a pressure of 0.05... 0.1 MPa (0.5 L.., 0 kgf / cm), and curing of the adhesive is carried out according to modes specified in Table 2. Processing methods for heating repair zones are discussed in "heating repair zones."the curing of the adhesive regime visually monitored installation quality plugs. Availability bundles and controlled delamination flaw or tapping.of honeycomb paneling on special units destination (units of the wing, empennage assemblies, gear doors, etc.) must be repaired by removing a plating zone defect with subsequent molding of the prepregs and adhesive film, and if necessary (eg, the presence of corrosion damage of metal honeycomb or damage) perform the replacement honeycomb. Technological process of restoring the defective skin is complex and responsible, so it will be discussed in next section.

2.7 Restoring skin prepreg while gluing it to Honeycomb

performing partitioning defective area on the unit produced Remove defective plating. Removing the defective skin is made using carbide end mills with a diameter of 5-g 12 mm and above by lilnyh cars mod. SM21-1000-9, as well as diamond wheels, installed lennyh on special pneumatic cutting machines. Device for machining equipped with built-in vacuum cleaners RMB using ejector type devices operating on compressed air and creating vacuum of about 0.03 mPa for removing dust in the process.working with the cutting tool systematically, at least 1 time in 20 minutes of continuous operation, verified tool sharpening. Blunting of the cutting edges - is not more than 0.15 mm. On the surface of the fillet radius edge may be formed which are removed by abrasive grinding wheels type PP bunch "K»- ceramic, grain 50.40.obtain the desired fillet radius selected following the appropriate diameter. During work on the circle can build-up of dark color ("salting"), which is removed by abrasive cleaning bars.the preparation of diamond tools for work performed his autopsy diamond grains on the cutting surface by etching in 10% aqueous ferric chloride solution for 20-25 minutes or performed an autopsy diamond grinding grain bars type BKV, BP on keramicheskih bundles with silicon carbide abrasive grain green 63C, grain nistostyu 16 cm hardness at working speed.ensure a high connection strength restorable plating thickness exceeding 0.4 mm performed bevel angle 1-3° it around the perimeter. Tenderloin bevels in the skin is made using pneumatic machines and abrasive wheels (Fig. 12). To ensure a given azimuth angle on the surface strengthened Pneumatic clamps of a soft material, the thickness of which is determined by the formula:

h - thickness of the clamp;- distance from the end of the abrasive wheel to clamp;- radius of the circle abrasive wheel;- radius of the circumference of the body Pneumatic.

12. Ensuring a given azimuth angle and cover: 1 - pnevmomashinka; 2 - Handle trim; 3 - additional emphasis; 4 - grinding wheel; 5 - inner edge of the cut in the skin

the bevel is not allowed offset from the inner edgeholes in the hull. For more accurate processing bevels desirable surface drill strengthen more stops.removal of the defective skin condition is checked for cell-filler. Special attention is paid to the presence of traces of corrosion damage of aluminum honeycomb, no damage ends faces of honeycomb cells, breaks in cellular docking sites for-filler, etc. For non-compliance requirements for cell zapolnitelyu5ego removed. To do this, cut out the damaged section with a knife honeycomb, cutting line as possible should be a simple form we. When using metallic honeycomb Packer on the line side surface in the recess sotobloka according to Figure 13.

13. Stitching faces metallic honeycomb: 1-unit repaired; 2-line; 3 - plate

from the surface opposite the remains of plating cell filler, foaming and film adhesives careful not to damage trim.work on removal of moisture (whether there was a time-sealing machine), because in the non-metallic parts in the process of exploitation ed out incandescent or medical reflectors. The distance from the heating device to repair zones selected for the requirement of a surface temperature of 60-70°C and the heating time is calculated from the rate of 1 hour for each 0.3 mm thick cladding material.work to replace the damaged honeycomb lie in the selection and fitting of honeycomb and its subsequent gluing the defective area. Selection honeycomb depends of what material it is made of (aluminum fillers, PSP or cell MTP).replacing the metal honeycomb increases the size of the workpiece on the amount of 5-8 mm podmyataya, and for non-metallic honeycomb podmyatie not performed, and the size of the workpiece corresponds strictly circuit remote site. Also, take into account the direction in which the sheets of foil, paper or glass in sotobloke repaired. At repair units height wedge insert cells taken 1-2 mm is greater than the height of the removed portion (for subsequent fitting), and to panels fixed height height equal to the height of cellular insert removed trolled or more aggregate thickness skin removed. Honeycomb CAP and MTP are dried before use at 110°C for 1 hour.fitting insert cell block is performed degreasing surfaces to be bonded, and only degreased metal surface and the honeycomb core of aluminum alloy. Degreasingis made in a special bath of pure stiff hair brush, dipped in gasoline, then in acetone, and drying the solvent after each treatment at least 15 minutes. Degreased and also on the lateral surface of the metal honeycomb core unit repaired, glued to insert cells.is cut and glue film is rolled into the zone of repair a face by removing the original protective paper, and after stitching protective ing a polyethylene film and the side surface of honeycomb inserting the expandable adhesive film is rolled UTC-3. Setting sotozapolnitelya insertion into the defective area is warmed through the honeycomb core with the adhesive film using the reflector to a temperature of 50-60°C, and the maximum cell pressed into the adhesive by pressing the hand. Not allowed aggregate crushing insert. Fixed insert tape, placing it on the paneling crosswise. If the unit has a complex circuit or significant size of the defect, it is desirable to pre-glued honeycomb, check his protruding above the surface of the unit, and if it observed, then remove pursuant to Section 7.13. After preparatory work on gluing and fitting insertion sotobloka can proceed to making patches of individual layers of the prepreg. For the manufacture of the patch used as a pre-fabricated prepreg binder and an adhesive prepreg made of film adhesives, or hot curing adhesives, cold-curing paste. Producing prepregs tie-treated in special courses on manufacturing technology of PCM, and we consider the production of prepreg adhesives directly on-site repairs. For the manufacture of prepregs used dry carbon tape, glass and organotkani, transcribed film adhesives VC-36, VC-41 or VC-51 with a ratio of tape layers (Tissue) and the adhesive film 2-1. The resulting prepreg is laid out on the repaired unit through a layer of adhesive film and molded plastics for curing mode (see Table 2). Modes curing prepreg curing regimes correspond adhesives used to manufacture them. Perhaps obtain a prepreg by hot melt adhesive on the corresponding dry cloth or tape, and tape molding, appropriate tissue glue, by laying cloth tape and an adhesive film between the film layers (Polypropylene or PTFE). Crimping mode:- 1.0... 2.0 MPa;- 10 minutes;- 80°C (adhesives VC-41, VC - 51) or 100°C (adhesive VC-36).the same approximate binder content in the prepreg is 35-40% by weight.the manufacture of a cold-curing prepreg layer fabric, flax, you laid on the release film (polyethylene). On the tape or fabric is applied to a freshly prepared non-metallic adhesive to a spatula until the filler is impregnated with glue by a release substrate.of the individual layers of the prepreg manufactured at the site of repair, consists of two parts: internal and external patches patches. Internal patch is circular or oval and designed to align in-podlitso plating unit in the repair area. External patch as a right or an elongated octagon, complementing internal, designed for operation under load filler fibers plating unit. Overlap external patch to the inner is 30 to 350 mm depending on the magnitude of loading unit and repair zones, while providing a smooth outer layers gathering patches steps 5-15 mm. Cutting blanks patches (internal and external) are produced by Pattern of thick paper. On Pattern paper cut layers of prepreg patches. Protective layers of prepreg are removed immediately before laying prepreg. The number of layers is calculated by internal patch formula:


where n - the number of plies of prepreg;

oS-skin thickness;

i - monolayer thickness of fabric or tape used to repair (Excluding the thickness of the adhesive when the adhesive prepreg is used).layer prepreg should be different from the previous one by an amount that takes into account the presence of the recess in the casing of the bevel. Assembling patches separately on a release film, heat resistance of the film should correspond to the temperature curing adhesive used or prepreg.diagram and install patches from prepreg layers is shown in Figure 11. Times-measures the lower workpiece is not less than 2.5 mm greater than the smallest size of the holes in the casing repaired.overlapping plies of prepreg is calculated by the formula:

b - the value of the overlap;

- chamfer length recess in the casing;- the number of layers forming the inner patch.direction of the warp threads of the filler is determined by drawing on the aggregation, and in the absence of data is kept symmetrical layout, for example, 0°, 90°, ± 45°, +45°, 90°, 0°, etc.0° along the spar or along the length of the unit.

. 15. Scheme build and install patches: 1 - the repaired unit; 2 - insert sotobloka; 3 - expandable adhesive; 4 - layers of inner patches (seal); 5 - reinforced adhesive film; 6 - outer layers of the patch; 7 - film adhesive

installing the patch to repair zone contains film adhesive compatible with the binder, which is impregnated prepreg (eg, glue VC-51 film and binder EDT 69H) used for the manufacture of the patch. After assembling and manufacturing process is carried out patches curing patches and gluing them to the honeycomb core at a temperature and a pressure.

Existing technology

General - equipment and tools for repairs

A.  Refer to the following figures for lists of tools and equipment. Miscellaneous equipment table 2.1-2.5 general, hand tools table 2.6-2.9 general.

B.      This section lists the equipment and hand tools used when making repairs and also lists sources of supply. The purpose of this list is to provide information pertaining to item description and use.

C.      Some of the procedures in this manual identify tools or equipment. You can use alternative tools that are equivalent unless the procedure tells you the specified tool or equipment item is mandatory. If you use alternative tools or equipment, make sure they give the same results and are as safe to the parts and personnel as the tools or equipment specified in the procedure.

Table 2.1

Tool

Manufacturer's designation

Manufacturer

Remarks

Cleaner, vacuum (B)

Industrial-type model#apn4423 (tornado); use a 556AL barrel as a dust receiver

Breuer/tornado corp. 7401 w. Lawrence ave. Chicago, IL60656

Clean up sanding dust and debris

Containers, 1 liter beaker-type, polyethylene

#13915-679 sherwood or Equiv

V.W.R. Scientific 355 treck drive Seattle, wa98188

Mixing resins and potting compounds

Containers, safety, foot-lever-type

Metal, eagle 906-fl or equiv

V.W.R. Scientific 355 treck drive seattle, wa98188

Holding used clothes with toxic materials

Cork sheet

0.125-in

Commercial - any source


Caul plate

Fabricate locally using0.016 aluminum sheet


Use to distribute pressure over areas of a repair

Countersink, microstop, 100° adjust able drive

#6300-large, #6400-small,

Mc master-carr P.O. Box 740100 Atlanta, ga30374-0100 www.mcmaster.com <http://WWW.MCMASTER.COM>Countersinking holes for Rivets, screws, or bolts


Cutter, honeycomb, valve stem type, two-piece

30-030-1 holder (D) 30-030-2 cutter

Onsrud cutter mfg co. 800 liberty drive P.o.box 550

Aluminum honeycomb cutter

Cutter, honeycomb, valve stem type one-piece

31-010 0.50 dia(C) 31-015 0.75 dia(C) 31-020 1.0 dia(C) 31-025 1.5 dia(D) 31-030 2.0 dia(D)

Libertyville, il60048 or any other commercial source

Aluminum honeycomb cutter

Drill motor (B)

15c 1489 or equivalent

Aero industrial tool 482 east meadow ave. e. meadow, ny11554

Conventional drilling, sanding, or circular sawing


Pneumatic, ¼-in chuck model #3008-0 or equivalent

Chicago pneumatic 1800 overview dr. rockhill, sc29730


Drill motor, 90° Angle

Pneumatic, variable speed, model #1ol-1201вor equivalent

Aero industrial tool 482 east meadow ave. e. meadow, ny11554

Conventional drilling, sanding, or circular sawing

Gauge, air pressure

0 to 100 psi, model j4654 or equivalent

Marsh distributor P.O. box 361 antioch, il60002

To indicate air line pressure

Gauge, vacuum


Marsh distributor P.O. box 361 Antioch, IL 60002

To indicate vacuum line pressure

Gloves, cotton


Mc master-carrp.o.box 740100 Atlanta, GA30374-0100 www.mcmaster.com <http://WWW.MCMASTER.COM>Use for handling cleaned parts or adhesives


Gloves, insulating

Heat insulating

Any source

Use for handling hot parts

Heater assembly (B)

Hot air, bf-400-10, or equivalent

Engineered air systems 1270 n. price rd. St. Louis, mo63132

Hot air blower to duct air to area being cured


Table 2.2

Miscellaneous equipment

Tool

Manufacturer's designation

Manufacturer

Remarks

Air-blast gun

Vacu-blast JR., #41303 or equivalent

Vacu-blast Woodson house Ajax avenue slough Berkshire, SL1 4DS England -or-P.O. box 286, Herington, Kansas 67449

Clean metal surfaces

Aspirator, vacuum

Vacuum model TD-260 or Equivalent

Air-vac engineering P.O. box 215, 30 progress ave Seymour CT 06483, Airtronics 1940 124th ave ne bldg. A-107 Bellevue, WA 98005

Converts air pressure to vacuum

Bags, pressure

10-LB sand or shot bags

Commercial-any source

Use as a substitute pressure medium

Blanket, heating

5 watts/in2 minimum

Atacs products, inc. 14040 interurban aves Tukwila, WA98168 Heatcon composite systems600 andover park Eseattle, WA98188 -or-Unit 8, EdisonRD, ST. Ives, Huntingdon, Cambridge PE17 4LZ England GMI 9 rue buffault 75009 Paris, France -or-GMI/emptech, 5957 Glendale drive Chilliwack, b.c.,, Canada V2R 3A5 JR technology LTD. 81 north end, meldreth Royston, herts, England SG86NU Pyrometric service corp. 1312 s. 96TH ST Seattle, WA98108-5010 Tayco engineering, inc. 10874 hope st P.O. Box 6034 Cypress, CA90630 Wichitech industries, inc. Oakland center, 8990 RT. 108 Columbia, md 21045

To provide heat for curing adhesive



Table 2.3

Miscellaneous equipment

Tool

Manufacturer's designation

Manufacturer

Remarks

Heater, air (B)

1000 to 2000 watts, model HGS 50110j

Master appliance corp. 2420 18th st. Racine, wi53403

For heat-tacking adhesives, heat-drying honeycomb core or assemblies, warming compounds and/or resins


Alternate

Ideal industries, inc.1006 park avenue sycamore, il60178


Lamp, heating

250 to 300 watts, explosionproof, tungsten or quartz tube

Mc master-carr P.O. Box 740100 Atlanta, ga30374-0100 www.mcmaster.com <http://WWW.MCMASTER.COM>Low-temperature curing of adhesives, potting compounds, or resins


Lamp, heating assembly

25 or 40/4 #375g30 or Equivalent

Deltrol controls corp. 2740 so. 20th st. Milwaukee, wi53215

Low-temperature curing of adhesives, potting compounds, or resins

Mat, fiberglass

2 OZ fiberglass or 7500

Ren plastics 5656 s. Cedar st. Lansing, mi 48909 Dexter corp. (hysol products) one dexter drive seabrook, nh03874

Can be used for laminated tooling, fiberglass bleeder cloth, insulation material, or a substitute for osnaburg bleeder cloth


Tooling mat



Motor assembly, Pneumatic

Arbor saw/motor

Aero industrial tool 482 east meadow ave. E. Meadow, ny11554

To cut away damaged material

Multitester

Low current, low ohm, kelvin-bridge-type

Commercial - any source

Taking electronic measurements

Peening tool, power (B)

1/4-in. Stem (drill rod), Slot end for flapper strip Mil-b-1170, type ii, class e, style 1


Use for shot peening requirements

Power supply, dc

Regal line model R2518 unfiltered bench model r series dc or equiv.


Use as power source for phosphoric acid anodizing

Recorder, temperature, 24-point, automatic chart-type

Model #15306836-24

Honeywell

Measuring temperature at the adhesive cure line by thermo couples; 1 through 24 points available

Recorder, temperature, 1-point, individual printout, roller chart

Model #122 115-volt, 60-cycle

Gulton graphic Instrument 1900 s. Country tr. E. Greenwich, RI 02818

Measuring one thermocouple on a line chart

Regulator, air pressure

0 to 125 psi, model 11-002-025 or equivalent

С.A. Norgren co. 5400 s. Deleware ST. Littleton, co 80120

Measure and regulate air pressure

Regulator, vacuum

0- to 30-inch hg, or Equivalent

Mc master-carr P.O. box 740100 atlanta, ga 30374-0100 www.mcmaster.com <http://WWW.MCMASTER.COM>Measuring vacuum at the assembly



Table 2.4

Miscellaneous equipment

Tool

Manufacturer's designation

Manufacturer

Remarks

Safety face shield

Tru-safe #199-1 or safeline#6799 <10 by 18-1/4) or equiv

Commercial - any source

For face and eye protection

Safety face shield Holder

Rice head shield #707 Or equivalent


Holds replaceable face shield

Safety glasses

5944d smoke clear lenses or equivalent

H.l. Boutonco. Inc. Buzzard bay, ma 02532 Mc master-carr P.O. box 740100 Atlanta, GA30374-0100 www.mcmaster.com <http://WWW.MCMASTER.COM>For eye protection


Scale, balance

1.0 gram accuracy, multiple models

Mettler 1900 Polaris pkwy Columbus, oh 43240 or Ohaus corporation 29 Hanoverrd Florham park, nj07932

Weighing compounds and resin mixtures

Sealant gun

Air-operated or equivalent glue gun

Mc master-carr P.O. Box 740100 Atlanta, ga30374-0100 www.mcmaster.com <http://WWW.MCMASTER.COM>Dispensing of fillers and sealants


Shaver, micro-rivet-Head

Model 2t-405, adjustable, or equivalent

Advanced air tool co.,Inc.131 AllenBlvd. Farmingdale, ny11735-5616

Shave protruding rivet heads

Sine plate

0° to 45° inclination from horizontal position

Brown 8 Sharpe Precision park 200 French town rd. N. Kingstown, ri02852

Use with core-slicing equipment

Spray unit

Power unit, atomized W/glass 6 oz container

Precision valve corp. P.O. box 309 Yonkers, ny10702

Used to apply small amounts of liquid primer, adhesive, or resins

Surface bleeder, surface breather, and insulation

Bms9-3, type d

See 51-20-03, fig. 2


Temperature controller console, portable self-contained (A)(B)


Atacs products, inc. 14040 interurban ave. S. Tukwila, wa98168

Use with heat blankets, thermocouples, and vacuum unit for application and recording of heat and pressure



Gmi9 rue buffault 75009 Paris, France -or-Gmi/emptech 5957 Glendale drive Chilliwack, b.c., Canada v2r 3a5



Table 2.5

Miscellaneous equipment

Tool

Manufacturer's designation

Manufacturer

Remarks



Heatcon composite systems 600 Andover park e. Seattle, wa98188 Jr technology ltd. 81 north end, Meldreth Royston, herts, England Sg86nu Pyrometric service corp. 1312 s. 96th st. Seattle, wa98108-5010 Taycoengineering, inc.10874 hope st. P.O. Box 6034 Cypress, ca90630 Wichitech industries, Inc.Oakland center 8990 rt. 108 Columbia, md21045


Transformer, Portable (B)

Variablecontrol115-volt, 60-cycle


Use with heating blankets as A power supply

Vacuumunit (B)

Any unit compatible with Temperature control console


Includes vacuum pump and Transducer

Vacuumprobe, quickdisconnect

Vacu-valve, 401 round Base, 401a rectangular base

Airtech international, Inc. 5700 skylab road huntington beach, ca92647

Use for evacuation of air Inside bag film

composite panel aircraft

3. Special part

invention relates to the repair, restoration or reconstruction of a composite article having a defect on the surface or throughout the thickness, which requires repair or eliminated. In the process of reconstruction or restoration of a composite article comprising a sponge layer, such as a cellular material having a defect, damaging the product, and wherein successively) placed on the bottom of the defect by at least one additional member or material, shape and dimensions of which correspond to the shape and size of the defect, b) inserted into the defect replaces the spongy part, g) is placed on the elements in the defect transferred sequentially stacked, a device such as a textile layer for draining gases released from the resin during step (d), and a sheath for the above-mentioned gas outlet forming the rest of the product chamber, sealed against the outer atmosphere surrounding the defect and the above additional elements and d) continuing to evacuate the sealed chamber is heated an additional element. An additional element or a material containing the above-mentioned continuous or chopped fibers, are mechanically robust, organized or unorganized, which is placed on the bottom of the defect, either separately or appropriately in relation to the fibers of the aforementioned element or the aforementioned material for the first resin placed on the receiving step d) of the polymeric matrix, wherein said fibers are distributed. Exchangeable cancellous portion is, for example, a honeycomb material, and b) placed on the outer portion of the second spongy resin with at least one element of fabric continuous or chopped fibers. Second resin is applied separately or as appropriate to the fibers of the above item. A radiation source which heats the additional element comprises an infrared radiation that is positioned with respect to the defect so as to irradiate the shell for discharging the gases released from the polymer matrix and with the proviso that the above-mentioned radiation source acting on the other side of the spongy part. The method allows to obtain a monolithic product that does not separate into components.present invention concerns mainly the product recovery or reconstruction, particularly composite articles or composite parts or products or items made of composite material having a defect to be corrected or eliminated by affecting at least its surface, and even its entire thickness. More specifically, the invention relates to the restoration or reconstruction or repair of articles such as defined hereinabove, by placing the above-mentioned defect in or on the above-mentioned defect, on the one hand the continuous or chopped fibers, are mechanically robust, organized, for example in the form of technical or fabric layer or fugitive example, in bulk or in non-woven form, and, on the other hand, a thermoplastic or a thermoplastic resin or a structured or structured polymeric material (a resin or mixture of polymers), in particular a thermosetting or termosshivaemogo, wherein the integer defines the solid matrix, which are distributed or arranged above the fiber.an example, the fibers are glass fibers, carbon fibers or Kevlar fibers, the resin is an epoxy or polyester, or a phenolic, or dimaleimidnuyu resin. These fibers may be separately placed into the defect from the resin, in this case, the above fibers are arranged in the above defect, for example in the form of superimposed layers of fabric, then the fabric weight is injected in liquid form resin or with a resin in this case Ready-to-drink use a composite material, such as pre-impregnated material comprising the weave formed by the above-mentioned fibers and the resin matrix, for example, semi-structured or unstructured. In all cases, the structure obtained by a defect or a defect, a so-called monolith or monolithic unit because in the solid state is virtually impossible to split, for example by peeling, to the aforementioned components, namely the fiber or fibers, with one hand, and resin, on the other hand.used herein and in the claims, unless otherwise indicated, the term "composite»is meant the structure, the article or material formed by joining heterogeneous materials or several basic components, namely in particular, fibers and resins interconnected and having a set of properties, especially mechanical, which does not possess any of the components individually.used herein, "resin»refers to polymeric materials which, in essence, can be identified by the term "adhesive»or "glue»such as structural, it is a curable or thermoplastic polymeric materials. In accordance with current repair of the domestic aviation company, and more specifically, the method of implementation, shown in Figure 1 of this document describes a method for recovery or reconstruction work, eg composite article having a defect, affecting at least its surface. According to this method: A - a defect or flaw is placed at least one additional member or material, shape and dimensions of which correspond to the shape and size of the above-mentioned defect, wherein the element or material comprises a continuous or chopped fibers, are mechanically robust, organized or disorganized; for example, the defect was placed in a superposition of layers of a fabric, connecting mechanically strong organized fibers; b - in the defect or the defect placed polymeric material or resin to produce a polymer matrix in which the fibers are distributed; for example, this polymer material is fed to a defect in a liquid form under pressure, thereby impregnating the above-mentioned fibers and the polymer after curing, yielding a solid polymeric matrix material in which the fibers are distributed; in - on an additional element impregnated polymer matrix and sequentially one above the other, are placed means for draining the gases released from the polymeric matrix during the next step (g) and the degassing membrane, forming with the rest of the article during recovery or Repair chamber, sealed towards the outside atmosphere surrounding the defect and the additional element;an example, a device for degassing is a layer of textile material for gas drainage; r - still evacuating the sealed chamber, an additional element is heated by a radiation source whose radiation comprises infrared radiation, placing this source with respect to the aforementioned defect so as to irradiate the sheath to remove gases released from the polymeric matrix. The current method of repair process identified before it is described only for the treatment or repair of massive articles of the same material, except for any product. On the other hand, today, to repair a monolithic composite article, for example, in the aviation industry, work as follows, as shown in Figure 1, which represents a schematic view:

preparing, in particular, by cutting one or more elements of two or material, shape and dimensions corresponding to the shape and size of the defect 1a subject to removal or filling; This material, or the elements connected with each other or superposed on each other, are themselves a composite material, in the sense that they are inseparably combined polymer matrix and continuous or chopped fibers, organized or unorganized, mechanically durable, such as carbon, Kevlar, glass, etc.;

Transferred and placed element or elements 2, or the thus prepared material into a defect or a defect of the work piece 1a;

An element 2 and the product 1 is placed in series on one and the other side surface of the defect and other ones:

a perforated or non-perforated film 9, non-adhesive with respect to the additional item 2, further processed, e.g. crosslink kable;

A textile layer 3 to drain through its peripheral edge 3a of the gases that are released from a polymer matrix during its processing, for example, its cross-linking;

Film 8, sealed with respect to the polymer material;

A flexible heating device 10 as a cover, typically including heating electric resistances are immersed in an electrically insulating material such as silicone;

Layer 11, the heat insulation relative to the surrounding environment;

A flexible sheath 4 and for discharging the gases formed posredstom respective devices 12 (e.g., gaskets) with the rest of the chamber 5 of the article 1, sealed with respect to ambient atmosphere; this shell surrounds not only the defect 1a, and the additional element 2 but also all the superposed elements described before. The shell 4 for discharging gas, a vacuum, e.g., via a pump 13 and a flexible heating device is connected to the power source 14. Using appropriate controls, in particular temperature sensors, a heat treatment, for example, a polymeric matrix is subjected termosshivaniyu when this latter is heat-curable or crosslinkable polymer. The heat treatment is strictly controlled according to, inter alia, on the nature of the polymer matrix and the desired mechanical characteristics.present invention relates to the restoration or reconstruction of composite articles such as "sandwich", i.e. products having in their composition a solid layer of sponge, for example a material such as "honeycomb»of various materials, such as cardboard, impregnated with phenolic resin, plastic, and metal or a structural foam. This spongy layer is structurally connected at least on one side, with a monolithic layer such as defined before, i.e. combining a monoblock polymer matrix and the mechanically strong fibers distributed in the matrix. Today there is no satisfactory solution to allow repair or reconstruct composite products such as "sandwich", particularly when you can only get to the surface of the above-mentioned products.fact, in order to reconstruct or recover such a product, for example, the upper surface of an aircraft wing having a sandwich-like composite structure, defect is first treated to give it a regular or controlled geometry. Then, the bottom of the treated defect was placed resin or adhesive, and then an additional element of the sponge material, the sponge-aligned layer level repaired product, the resin also connecting it to the rest of the sponge layer; and finally, the monolithic layer to the level of the repaired product is applied mechanically strong fibers and the polymeric matrix layer for recovery in the above-mentioned defect. The application of heat and pressure required in order to connect and bind the set of elements or materials which fill the defect, and the latter with the rest of the products recovered or reconstructed provide, performing one or more times with the following operating steps:

At the level of product in the repaired defect and successively placed one on top of another layer of the textile material to drain through its peripheral edge gases released from the polymeric matrix during the next step, the flexible heating means in the form of a cover, which includes electrical heating resistance immersed in the electrically material, such as silicone, and a shell for discharging the aforementioned gases, forming with the remaining part of the product chamber sealed with respect to ambient atmosphere surrounding the defect and the elements and materials that are placed therein;

Still evacuating the sealed chamber through the flexible heating device is heated further elements and materials that cause or initiate the crosslinking of the polymer matrix in the case of a thermosetting resin. In the case of composite products having inaccessible surface such as inner, heat-treating the resin on the bottom of the defect does not exist other solutions than:

Strongly heated by the heating device of the flexible core defect to try to reach the inner surface of the heat; but such a strong heat, besides the fact that it is not very effective, capable of repairing damage to the outer surface of the product; or in case it is necessary to cool the flexible heating device or along the periphery of the product;

Remove the product to gain access to its interior surface, the repaired or replaced by a product that in some cases it is impossible or in any case is economically disadvantageous. In the first case, when the temperature cycle do not provide required for crosslinking the resin in the depth of the defect, the latter does not occur or is deficient, so that the entire reconstruction of the product is a compromise. Known reconstruction or restoration method of a composite article comprising a sponge layer, such as a cellular material having a defect, damaging the product, and wherein successively) placed on the bottom of the defect by at least one additional member or material, shape and dimensions of which correspond to the shape and size of the defect, b) inserted into the defect replaces the spongy part, g) is placed on the elements in the defect transferred sequentially stacked, a device, such as a textile layer for draining gases released from the resin during step (d), and a sheath retraction for the above gases, forming with the remaining part of the product chamber, sealed against the outer atmosphere surrounding the defect and the above additional elements and d) continuing to evacuate the sealed chamber is heated an additional element., this method also provides for efficient recovery of the composite article due to the fact that crosslinking does not occur due to the depth of the defect resin. Object of the present invention is to find solutions for the reconstruction or restoration of composite products such as sandwich. According to the present invention, beyond all expectation, found that the use of a radiation source emitting infrared radiation disposed in relation to the treated defect so as to irradiate the shell for discharging the gases released from the polymer matrix allows the heat on the other side of the sponge layer sandwich composite articles with respect to the aforementioned shell degassing, and this despite the thermal resistance, normally exerted all spongy layer.problem is solved due to the fact that in the process of restoration or reconstruction of a composite article comprising a sponge layer, such as a cellular material having a defect, damaging the product, and wherein successively) placed on the bottom of the defect by at least one additional member or material, shape and whose dimensions correspond to the shape and size of the defect, b) inserted into the defect replaces the spongy part, g) is placed on the elements in the defect transferred sequentially stacked, a device such as a textile layer for draining gases released from the resin during step (d), and a sheath retraction for the aforementioned gases, forming with the remaining part of the product chamber, sealed against the outer atmosphere surrounding the defect and the above additional elements and d) continuing to evacuate the sealed chamber is heated an additional element or an additional element of the aforementioned material containing continuous or cut the fibers are mechanically strong, organized or unorganized, which are placed on the bottom of the defect, either separately or appropriately in relation to the fibers of the aforementioned elements or the aforementioned material, the first resin is placed, for the step (d) a polymeric matrix, wherein said fibers are distributed replacing spongy portion is, for example, a honeycomb material, and b) placed on the outer portion of the second spongy resin with at least one element of fabric continuous or chopped fibers, wherein the second resin is applied separately or appropriately in relation to the fibers of the aforementioned element, wherein a radiation source which heats the additional element comprises an infrared radiation that is positioned with respect to the defect so as to irradiate the shell for discharging the gases released from the polymer matrix and with the proviso that the above-mentioned radiation source acting on the other side of the spongy.is possible to exercise the method in one step. In addition, possible is the use of the first resin, the processing temperature which is substantially less than the processing temperature of the second resin. Proposed method can be implemented in two stages, namely a first step during which a resin is placed the bottom of the defect, replacing the aforementioned sponge inserted portion, for example, from the cellular material and initiate the operations (d) and (e), and a second step whereby the upper outer surface of the cancellous portion and the resin is applied again to commence operations (d) and (e).proposed method can be used an element of fabric is a composite, for example a prepreg, as it comprises the second resin forming a polymeric matrix in which the continuous or distributed chopped fibers. Moreover, each resin may be a polymeric material termos shivaemy or thermoplastic polymeric material. Infrared radiation may comprise radiation range included between 1 and 10 microns, while the radiation source may comprise at least one catalytic burner. Sheath degassing can be obtained on the basis of at least one material relatively transparent with respect to infrared radiation.possible embodiment is a method of placing the first resin at the bottom of the defect and at least one other element of fabric continuous or chopped fibers. It is also possible to use other element of fabric which is a composite, for example a prepreg, as it comprises the first resin forming the resin matrix in which are distributed continuous or chopped fibers., it is possible to use a composite product, which is a product of «sandwich» comprising a cancellous portion, and between two monolithic layers, the sponge layer was spongy and replacing parts can be made of a spongy material, for example, structural foam, such as an epoxy resin. It is also advisable to use tools for drainage gas, which is a grid, such as metal.present invention is described with reference to the accompanying drawings, in which:

Figure 1 is a sectional view of the assembly that was prepared using the method of repair or renovation of the prior art;

Fig. 2 is still a cross-sectional assembly which is produced using the method of repair or renovation of the invention, that which will then be applied according to the invention, composite articles such as "sandwich";

Fig. 3 is a composite product such as "sandwich", reduced in accordance with the present invention;

Figures 4 and 5 represent experimental setup allows exposure to prove the effectiveness of the infrared radiation, on the one hand through the shell to remove gases and, on the other hand, on the other side of the sponge layer which may belong to the composite article; According to these figures, reference numerals common to the reference numerals 1 to 3 denote the same elements or components or elements and components, although different, having the same function.to Figure 2, the repaired, reconstructed or recoverable product itself is made of a composite material is marked by reference numeral 1. It is, for example, a wall belonging wing aircraft. As a result of accidental impact, for example, is a composite product has a defect 1a, in this case, the hole that must be filled so as to restore the original product. First cut a hole or redraws to impart a predetermined correct form. For this purpose, one or more cut elements 2, which themselves are made of composite material is applied on one another and placed into the defect 1a so as to fill it, and this time to obtain a product repaired from a continuous surface both external and internal. Each element 2 is made of a composite material such as a polymer matrix comprises at least one polymeric material, e.g. a crosslinkable, wherein the distributed mechanically strong continuous or chopped fibers, e.g. carbon fibers; it is, for example, elements from the technical and / or preimpregnated fabric. These tissues and / or prepregs may be arranged alternately one above another. Suitable carbon fiber cloth under different names are available, for example from BROCHIER (France) called G801 and the respective prepregs are available, for example from HEXCEL (France) called REDUX 312L. These elements are placed in the hole 1a as shown in Figure 2, with a polymerizable resin, such as a polymer matrix based on at least one of the aforementioned cross-linkable polymeric material. Such resins are available from various companies, for example, STRUCTIL (France), in particular under the name EA9396. 2 additional items consistently and placed one above the other:

A perforated or non-perforated film 9, non-adhesive with respect to the additional item 2, once crosslinked;

A textile layer 3 for drainage gas via its peripheral edge 3a, namely, the gases released from the polymer matrix during the crosslinking step;

Film 8, sealed relative to the liquid polymeric material, i.e. in relation to two elements of the matrix material;

And finally, the casing 4 to discharge the gases produced through the gasket 12, with the rest of the chamber 5 of the article 1, sealed with respect to ambient atmosphere; this chamber surrounds defect 1a and 2 additional element.to the present invention, an additional element 2 is heated by placing an infrared source 6, for example, a catalytic burner 7 emits infrared radiation in the wavelength range from 1 to 10 microns, in relation to the defect 1a so as to irradiate the sheath 4 for discharging gases which at the same time, compressed as a result of pumping chamber 5, as described before. In contrast to the image in Figure 1, no longer using flexible heating device 10 and the heat insulating layer 11.catalytic burner is arranged per se known manner. It is a burner which allows the catalyst to burn mode of combustion air mixture, which is an oxidizing agent and fuel gas, passing through an inert refractory substrate, a perforated or permeable containing combustion catalyst. Namely, since the outer surface 15a of the substrate 15, the infrared radiation is emitted in the direction of the shell 4 for discharging gases., the shell 4 for discharging gases produced, starting from at least one material is relatively transparent with respect to infrared radiation emitted by the source 5, for example of polyamide or polyimide. The shell 4 for discharging gas may be arranged directly in contact with the textile layer 3 to a drainage. Control means 16, e.g. temperature sensors are located inside and / or outside of the shell 4 for discharging gas thus to control the heat treatment process, such as additional cross-linking polymer matrix product 2.other radiation sources may be used provided that the emitted radiation meets the requirements described before. So, you can use an electric generator infrared radiation according to European Patent Application 0,147,340.to the present invention can eliminate the defect, e.g., in a wing of an aircraft, having a composite structure incorporates the type of "sandwich" comprising a cellular material, or any other filling spongy material, as follows:

At the bottom of the defect cause a polymerizable resin, for example, already mentioned resin EA9396, and insert a replacement part honeycomb material;

Act as described in relation to Figure 2 to implement the processing, for example polymerization or crosslinking of the resin, so that a replacement cell material is fixed in the structure, i.e. by placing one over another film 9, the layer 3 and the cladding 4, creating vacuum and directing on the repaired product infrared source;

After cooling, the upper outer portion of cell material is re-applied to the same resin or prepreg and act as described in relation to FIG. 2, to fully integrate cell material in a composite structure;

To align the outer surface finishing step is performed. This example can also be carried out only one step of repair, selecting two different resins, wherein the first requiring significant processing temperature of less than or polymerisation is applied to the bottom of the defect and then placed replacement honeycomb material, and the second having a higher processing temperature or polymerization is applied to a cell or tissue material prepregs so that the temperature produced by the source of infrared radiation, the polymerization was sufficient to build in a single step, wherein the thermal energy is exerted inside the defect is less significant than that on the outer surface of this latter. The process described before, was discovered and found to be valid with respect to its effectiveness, the experimental protocol described below with respect to Figures 4 and 5.experimental setup shown in Figure 4, is monitored and controlled by the control unit and portable operation, called ANITA, brand AN 8501, which in France is available at the company GMI, 204, Boulevard Saint Germain 75007 - PARIS. Starting from the substrate 1 or the flat product, upwards, superimposed:

Or perforated film 9, for example, fabric coated material Teflon;

Two elements 41 and 42 of the pre-impregnated fabric that is sold by HEXCEL called HEXCEL 1581 ES 36 D 50% (corresponding to the brand of fiberglass in 1581 by the same company, drenched in epoxy resin matrix brand ES 36 D of the same company, and the mass of resin corresponds to 50% of the total weight of the preimpregnated fabric);

Measuring thermocouple 35 located between the two elements 41 and 42;

A rectangular honeycomb structure element located inside the metal frame 36 of a material known as NOMEX, which is manufactured and sold by U.S. DUPONT DE NEMOURS, and respective honeycomb paper impregnated with the aromatic polyamide resin having aromatic rings connected in the meta position; honeycomb structure has a thickness of 55 mm and a hexagonal cell size 6h5h3 mm;

Two layers of textile material 32 and 33, for example a nonwoven polymeric material, between which is inserted a thermocouple 34;

Flexible heating device 10 containing electrical resistance, drenched in an insulating material such as silicon;

A layer 31 of flexible for degassing of the heating device 10, the same layer 32 is arranged to degas by this device;

And that end, a flexible membrane 4 for discharging gas generator through sealed connections 12 between this cladding and the substrate or article 1, a sealed chamber 5 containing the totality of the elements or components described before. Unlike FIG. 4, in accordance with Figure 5 experimental assembly shown in the latter no longer contains a flexible heating device 10 and the drainage layers 31 and 32 gases, as well as regulating the thermocouple 34. Drainage fixture consists of a metal mesh 44, located above the top surface of the element 24 from the cellular material. This metal mesh is supported by a frame 37 formed by two elements or edges of the nonwoven material, gripping the metal mesh 44 around the perimeter. Flexible heating device 10 is replaced by the infrared radiation source 6 located outside the flexible shell and radiating towards the latter. Element 24 from the cellular material has a thickness of 55 mm and a hexagonal cell shape (5h3h6 mm). Besides differences outlined before that, all other device parameters and operation remain the same. With the assembly of FIG. 4, in accordance with the requirements of provider preimpregnated fabric, flexible heating device 10 is programmed temperature cycle comprising:

The temperature rise rate of 2.5°C / minute for about 40 minutes;

A plateau at 120°C for 90 minutes;

Lowering the temperature, ranging from 130 minutes.using thermocouples 35 ascertain that during the cycle before that particular temperature at pre-impregnated fabric is not more than 30°C, while the thermocouples 34 indicate that the top member 24 is about 110°C temperature. In these conditions it is impossible to get a good pre-polymerization of the polymer matrix impregnated fabric 41, as referred to 120C (corresponding to the plateau temperature) gave just slightly softened prepreg and still very flexible. In particular, it is possible to easily peel from the pre-impregnated member 41 of the fabric member 24 of the honeycomb material. Therefore, do not exhibit any signs of polymerization, taking into account the determined before this maximum temperature 30C. With the assembly 5, infrared radiation source is placed approximately 400 mm above the membrane degassing 4. This is a catalytic thermoreactor RX, such as sold by SUNKISS, infrared radiation which has the following characteristics:

The power emitted by a unit surface area: 20 to 50 kW/m2;

The infrared radiation lies in the range from 1 micron to 10 microns. Already, causing the radiation source to function, ascertain effective heating elements at 41 and 42, i.e. the thermocouples 35, that allows to adjust the temperature at these same prepreg elements that cannot be implemented with an assembly according to Figure 4. Thus, it is possible to control the temperature at the elements 41 and 42, by acting on the radiation source to obtain the temperature change almost exactly similar cycles required to crosslink the polymer matrix to yield, inter alia, the temperature plateau at 120o C and, if necessary, even above. Upon completion of testing state that the polymer matrix is pre-impregnated members 41 and 42 apparently uniformly polymerized and dry to the touch. The resulting solid sheets and combined with the solid component 24 from the cellular material. Thus, taking into account the comparison of two tests carried out, allows the infrared source via the cellular polymerized prepreg material, which is impossible with a flexible heating device. The same test that identified before it can be carried out with similar results, with cellular material from other types, such as aluminum, brand Derenid, selling French firm EDERENA CONCEPT. Thanks to the invention according to Figure 3, and it becomes possible to reconstruct or restore Sandwich composite article comprising a sponge layer 22, such as honeycomb molded between two layers 21 and 20. Order to accomplish this, the defect 1a is first treated to make a monolithic layer of a hole 20 with bevelled edges in the spongy layer of the cylindrical bore 22, and a monolithic layer 21 again opening with bevelled edges. Several elements 23 cut out of pre-impregnated fabrics were placed one on another in a chamfered hole in a monolithic layer 20. Then element 24 of honeycomb material are placed into a cylindrical hole in the cancellous layer 22, for example, with a curable resin. Finally, several elements 2 are cut from the pre-impregnated fabric was placed one on another in a chamfered hole in a monolithic layer 21. With all these elements completely fill the defect 1a, reaching the same level as at the outer surface of the article 1, and with respect to its inner surface. Then, at the top of a monolithic layer 21, limiting defect 1a, in one or two stages of manufacture proceeds as described before in relation to this figure 2.. Reconstruction or recovery method for a composite article (1), comprising a sponge layer (22), for example, a cellular material having a defect (1a), damaging the product, and wherein successively) placed on the bottom of the defect (1a), at least One additional member or material, shape and dimensions of which correspond to the shape and size of the defect (1a), b) inserted in the defect (1a) which replaces the spongy portion (24), g) are placed on the items carried in the defect (1a), sequentially over each another device, such as a textile layer (3) for draining the gases released from the resin during step (d) and the sheath (4) for removal of the aforementioned gases, forming with the remaining part of the product chamber (5), sealed with respect to the the outer atmosphere surrounding the defect (1a) and the aforementioned additional elements and d) continuing to evacuate the sealed chamber (5), an additional element is heated, characterized in that the additional element or the above-mentioned material include continuous or chopped fibers, are mechanically robust, organized or unorganized that placed on the bottom of the defect (1a) separately or appropriately in relation to the fibers of the aforementioned element or the aforementioned material, the first resin is placed, for the step (d) a polymeric matrix, wherein said fibers are distributed replacing cancellous portion is, for example, in a cellular material, and b) placed on the outer portion of the spongy part (24) with the second resin is at least one element (2) of fabric continuous or chopped fibers, wherein the second resin is applied separately or appropriately in relation to the aforementioned fibers element, wherein the radiation source (6), which was heated an additional element comprising the infrared is placed in relation to the defect (1a) so as to irradiate the sheath (4) for discharging the gases released from the polymer matrix and with the proviso that above-mentioned light source acts on the other side of the spongy (24).

. Method according to claim 1, characterized in that it is carried out in one step.

. Method according to claim 2, characterized in that the first resin requires a processing temperature of less significant than the processing temperature of the second resin.

. Method according to claim 1, characterized in that the method is carried out in two stages, namely a first step during which the bottom of the defect (1a) are placed the resin sponge is inserted into the above-mentioned substitute part (24), for example of honeycomb material and proceed to step (d) and (e), and a second step whereby the upper outer surface of the cancellous portion (24) is applied to the resin and again proceed to step (d) and (e).

. Method according to claim 1, characterized in that the element (2) of fabric is a composite, for example a prepreg, as it comprises the second resin forming a polymeric matrix in which the continuous or distributed chopped fibers.

. Method according to claim 1, characterized in that each resin is a polymeric material termosshivaemy.

. Method according to claim 1, characterized in that each resin is a thermoplastic resin material.

. Method according to claim 1, characterized in that the infrared radiation comprises a radiation range included between 1 and 10 microns.

. Method according to claim 1, characterized in that the radiation source (6) comprises at least one catalytic burner (7).

. Method according to claim 1, characterized in that the degassing membrane (4) is obtained on the basis of at least one material relatively transparent with respect to infrared radiation.

. Method according to claim 1, characterized in that the resin is first placed on the bottom of the defect (1) with at least one other element (23) made of cloth with continuous or chopped fibers.

. Method according to claim 1, characterized in that the other element (23) of fabric is a composite, for example a prepreg, as it comprises the first resin forming the resin matrix in which are distributed continuous or chopped fibers.

. Method according to claim 1, characterized in that the composite article is an article such as "sandwich", and comprises a spongy portion (24) between two monolithic layers (21) and (22).

. Method according to claim 1, characterized in that the spongy layer (22) and replaces a part (24) made of spongy material, for example, structural foam, such as an epoxy resin.

. Method according to claim 1, characterized in that the means (3) for draining the gases constituting the mesh, such as metal.

Safety during repair

During the repair of structures arise from PCM dangerous and harmful production factors, namely:dust and fumes in the air of the working area; an increased current value to the power supply circuit of the heating device and the heating device for the repair area;vibration and noise exceeding the allowable value when working with pneumatic tools;location at heights;of microclimate parameters in the production room from the optimal values;lighting in the workplace; occurrence of static electricity; toxic vapors;fire and explosion hazards of some of the materials used.of substances used for toxicological indicators lam, hazard class and the maximum permissible concentration of harmful substances in the air are in tabl. 3repair work, be sure to observe the requirements of OST 1.42199-84 "SSBT. Works adhesive. General requirements for safety, "Safety and industrial sanitation when working with epoxy resins and materials based on these and other legal materials, acting on the aviation industry.

Tabl. 3

Characteristics, the substances in the air of the working area

Substance

Harmful components

mg/m

Class of Danger

Toxicological characteristic

1

2

3

4

5

6

Petrol

Petrol

fume

100

4

The drug, acts on respiratory system

Solvent R-5

Xylol

Fume

50

3

The drug, acts on blood, irritates mucous

Ethyl acetate

Ethyl-acetate

fume

50

3

Drug, irritate mucous, act on blood

Fiberglass

Dustglass

Dust

4

4

Irritability, fibrogenic effect, causes of eczema, dermatitis.

Hexaflurio-selecate

Sodium ftuoride

Couples, aerosol

0,5

2

Irritability skin, mucous membrane of the eyes, upper respiratory tract

Aluminium powder

Aluminium powder

Dust

2

4

Fibrogenic effect

Glue VK-25

Phenol

Couples

0,3

2

Poison actingto the nervous system, penetrates through the intact skin.


Formaldehyde

Couples

0,5

2

Pouison, causes acute of chronic poisoning, irritates the eyes and mucous membranes of therespiratory tract

Acetone

Acetone

Couples

200

4

Drug, irritates the mucous membranes

Epoxy

Resin- Epichlore Hydrino

Couples

1

2

Allergen irritates the mucous membranes, affects the liver and kidneys

working with flammable liquids is always a risk of explosion, fire and related damage, the risk of burns. The main measures to prevent fire and explosion hazard is to eliminate the use of open flames in the vicinity of the place of work with flammable liquids, Sparks, spillage of flammable liquids and stains. If you have any small pockets of flame quickly isolate them from the air intake - covered with sand or cover asbestos blanket, and large pockets of fire extinguish a fire extinguisher. Use water to extinguish flammable liquids is impossible, since in contact with water they sprayed, increasing the hearth fire, being lighter than water, pop and pro ¬ continue to burn. Storage of flammable liquids ! carried out in special rooms equipped with forced-air ventilation vytyazhnoi and fire extinguishing agents.use of electrical devices electrical observe the Rules. «All devices and appliances, the voltage is more than 36V, must be properly grounded. Illumination of the working area of at least 200 lux. In the absence of natural light illumination in the workplace is provided with portable lamps voltage not exceeding 12 V or general lighting system.working with compressed air guided with safety requirements set out in the "Sanitary rules and regulations when working with machinery and equipment, creating a local vibration transmitted to hands working «CH 3041-84 and GOST 12.2.010 «SSBT. Pneumatic machine manual. General requirements for safety. «Working to protect the eyes from dust and shavings. Eye protection goggles used in accordance with GOST 12.4.013.conducting adhesive works storage, application of adhesives and solvents is carried out in an area that has forced-air ventilation. All work associated with the preparation of the surface preparation of adhesives and pre- preg, cutting and stacking prepregs, carried out in knitted gloves and rubber. Careful hand washing is carried out not only during breaks and end of work, but immediately after an accidental contamination of the hands resin and hardener.operation, transport and storage of cylinders with liquefied compressed gases and dissolved guided «Rules for design and safe operation of vessels working under pressure", operating in the aviation industry.performing repairs on the product need Dimo - binding his ground. The plot is located under the repaired unit (when working at a height from the ground of more than 1.5 m), wall shields with warning labels. During repair work at a height of more than 1.5 m above the ground using ladders and safety catchers, safety belt.works are characterized by the following harmful production tent of harmful vapors and aerosols in the air of the working area;presence of static electricity;voltage electrical power supply;levels of vibration;levels of ultrasound control systems;noise levels in the workplace;presence of an electromagnetic field;surface temperature of equipment and accessories;presence of moving parts of the equipment;presence of sharp edges or burrs on the surfaces of parts and equipment.with flammable and hazardous substances are held at the included ventilation systems. In manual degreasing surfaces apply cotton napkins, tampons and other materials that are not causing the accumulation of static electricity and gasoline used in anti-static additives are added like «Sigbol» contaminated degreasing and applying the adhesive cleaning material and solid wastes are added into a tightly sealable metal containers, which as filling, but at least once per shift, is removed from the production area to special, the definition of fire protection, space.used harmful substances must have installed the limiting permissible concentration in the air of the working area and toxicological characteristics approved by the health authorities.of explosive and inflammable substances in their places of greatest congestion should not exceed the maximum permissible non-explosive concentrations.developing the process of repair structures of the FRP should be possible to eliminate the impact of harmful and hazardous factors, for which:the use of hazardous and flammable substances and replace them with less harmful dangerous fire, eliminating the use of organic solvents;operations associated with the occurrence of dangerous and harmful factors, operations in which these factors are absent: to create new ways of degreasing, reduce the number of operations for glue with a brush, to exclude the operation of a liquid adhesive for applying as a sublayer operation widely applied using adhesives, prepregs and possibly replace pasty adhesives Film, apply technological layers of mylar and other materials to avoid sanding operations RMB surfaces before gluing.testing with air vents, be aware that they are among the most dangerous especially slozhnyhi [17]. These tests may be accompanied by the destruction of the test products, formation of fragments and a blast wave. Correct, reliable operation at pnevmoispytaniyah depends on technical readiness of workers and technical staff, their compliance with the technological regime, rules and regulations on safety.spend on special installations - stands, which have special requirements for durability and reliability STI. Depending on the test pressure on the volume of the test cavity by products pneumatic tests on the degree of dangersion is divided into several groups.products at values PV0, 3 MPa - m * held at stands that are allowed to post in industrial buildings withof other manufacturing processes. Position at RU > 0 ZMPa m but < 2.5 MPa m-en pv> 2,5 MPa - installation located on the test stations, lennyh removed from other production areas.of pneumatic conveyor (stands) produced by special design organizations or services of the enterprise. Test Compressed (stands) are accepted into operation by a special commission. Subject to periodic testing Pnevmostendy osvidetelstvam which are held in accordance with the charts at least once a year. Pneumatic test carried out on installations mandatory use of protective devices.on the dimensions and pressure tested products use the following types of protection: armored covers, armored chamber and boxes.work on Compressed allowed to persons at least 18 years, the elapsed physical, technical training and an identity for the right to work with compressed air, with an annual recertification.conducted strictly on technological programs or processes in accordance with the scheme of the test under the leadership responsible for the test, the number of assigned engineering technicals composition. Testing is permitted only on the serviceable and commissioned equipment with safety devices and alarm lock in strict compliance with the rules and safety requirements By preparing and holding pnevmoispytany allowed only employees serving the test setup. Admission of unauthorized persons in Compressed prohibited.repair work is widely used stationary equipment and pnevmoinstument whose work creates elevated levels of noise, vibration and general local vibration transmitted to hands working. Therefore necessary to carry out a set of measures to address these harmful factors to acceptable values. One of the main areas is the reduction of noise and vibration at the source of what is achieved in the following ways: elimination of strike operations;balancing of rotating components and assemblies;skew and eccentricity of working parts and assemblies of machinery;use of machinery in strict accordance with the requirements of the passport;of sound-absorbing materials and structures;of vibration isolation, which reduces vibrations transmitted from the equipment to the building construction of the building;of vibration absorption with special vibration-absorbing materials with high internal friction.addition, there is intense noise from the air intake and vyhlo types of gases during operation of compressors and pneumatic tools etc. It occurs due to vibroobrazovaniya pressure pulsations. In these cases it is necessary for correct selection of the type of muffler. The main types of silencers are active and reactive silencers, sometimes use a combination of mufflers, working on the principle of active and reactive jamming sounds. Job active silencers based on the principle of absorption of sound energy layers of sound-absorbing material, and the work of reactive silencers based on the principle of an acoustic filter.cases where the common technical methods to reduce noise and vibration levels are insufficient, use personal protection against noise and vibration.protection from noise, depending on the method of application are the inner and outer type and are subdivided into the following groups:plugs or headphones;;noise protection.tools that protect against vibration 1 are divided into groups:of human whole-body vibration (shock absorbing pad, leather, shoes, etc.);from the local (LAN) Vibration (Vibration mittens, gloves, knee pads, etc.).


4. Economical part

production efficiency is ensured by the early introduction of the achievements of science, new technology, advanced technology, mechanization and automation of production processes, rational use of material and financial resources, improve management, planning, scientific organization of production and labor, widespread use of economic-mathematical methods and computers. Planning for economic efficiency indicators conducted by a single method. There are several groups of economic efficiency indicators:

- Ensuring performance increase economic efficiency;

- More efficient use of labor resources;

- Increase efficiency of fixed assets, inverse funds and capital investments;

- More efficient use of resources;

- Economic efficiency of new equipment;main sources for the introduction of new technology is the means of production development fund. This fund covers the costs of acquisition, construction and installation of new equipment, dismantling of old equipment, organization and automatic production lines mechanization of loading and unloading, but the acquisition of specialized vehicles and other costs associated with the introduction of new technology. For a successful solution of diverse economic problems in a democratic society must improve the efficiency of all the above-mentioned groups of indicators of economic efficiency, which is a major component of economic strategy. As you know, all production takes place in public and cost of living labor by different means and in different forms of organization of labor and production. Economy and efficiency is a crucial factor.

Name of work (cast)

Unit. rev.

No. of Units.

Norma chel. chas on unit of measure.

Cost chel. chasa artist (sum)

cost of work (sum)















1

2

4

5

7

8

9

1

Development of design documentation (general form circuits, assembly and installation drawings, etc.)

Equipment

1

20


133 219


Executors







Design engineer category 1



10

6 875,8

68 758


engineer I category технолог production engineer



10

6 446,1

64 461

2

Development of a special installation for the repair of composite honeycomb structure using infrared radiation source

Equipment

1

20


133 219


Executors







Design engineer category 1



10

6 875,8

68 758


engineer I category технолог production engineer



10

6 446,1

64 461

3

Making a special installation for the repair of composite honeycomb structure using infrared radiation source

Equipment

2

46


223 476


Executors







Engineer



25

5 217,0

130 425


technician 4th grade



21

4 431,0

93 051

4

Fabrication and installation of equipment

Equipment

2

40


192 960


Executors







Engineer



20

5 217,0

104 340


technician 4th grade



20

4 431,0

88 620

5

Plumbing

Equipment

2

19


70 429


Executors







locksmith category 4



19

3 706,8

70 429

6

Options and checking equipment

Equipment

2

10


52 170


Executors







Engineer



10

5 217,0

52 170

7

Checking the interaction of elements in the overall scheme of construction

Equipment

2

10


52 170


Executors







Engineer



10

5 217,0

52 170

8

Checking the quality of the assembly stand made by the trial operation

Equipment

2

9


36 519


Executors





Engineer



7

5 217,0

36 519


Total labor costs for manufacturing products



174


894 162



Сost items

Amount.  (sum)

1*

The basic wage of production staff

894 162

2

Additional salary (annual leave, compensatory payments to 9.6%)

85 840

3

Total labor compensation fund

980 002

4

Contributions to the single social payment (25% of payroll)

245 001

5

Total direct labor costs

1 225 003

6*

Direct material costs for manufacturing plants for the repair of cellular panels of composite materials

194 540

7

Other production included in the production cost (22.26% of labor costs)

272 686

8

Production cost.

1 692 229

9

Expensed in the period in%

534 237

10

Total costs

2 226 466

11

Profit (planned savings) 8%

135 378

12

Сost of products

2 361 844


In order to determine the tow bar production and maintenance expenditure need to calculate all expenditures, including tow bar cost, maintenance cost, maintenance equipment and amortization of equipment.calculate total cost of production and maintenance we have to sum all costs.production cost=2 361 844 sum

=T*h/h= 6542*40=261680sum.

per one engineer.

The average price of this tow bar is £1600, which is 6234000 sum.

Total cost

= S1+S2+S3+S4=6234000+2361844+261680+0,2*2361844/12=8896888,

sum, where

1- the price of brand new tow bar.2 - Price for modification of a tow bar.3- salary cost of engineers and technics.4- amortization per month.standard tow bars unique for each aircraft, increase the time for cover of expenditures.expenditures decrease.

=T*h/h= 6542*20 = 130840sum.

per one engineer.cost for standard tow bar

+ 128922 + 0,2*2361844/12 = 6402286,1 sum

Total price of modification:

Total cost of VTB-ETB = 8896888,1 sum - 6402286,1 sum = 2494602 sum

This cost can be covered by every two year expenditure for the tow bar fleet refreshing, which costs generally around £5000 is 19550000 sum. Minus the price for selling old tow bars, it’s about 40% 19550000*0,4 = 7820000 sumexpenses is 19550000-782000=18768000 sum18768000/24 = 782000 sum per monthcover of expenditures determined using formula

(VTB-ETB)/ETBPM = 2494602/782000 = 3,2 monthsversatile tow barexisting tow barexisting tow bar per month (expenditure)


Conclusion

doing this, the final qualification of the following conclusions:

Are considered part of the cell and investigated in more detail the casing, in particular a panel of composite material;

Are questions maintenance airframe;

To improve the existing process of repair of composite panels, and the installation is designed for repair of composite panels;

The results of calculation of economic efficiency and safety.


References

1. Zhitomirskii G.I. «The design of the aircraft» Moscow. Engineering. 1995. Second edition.

. Shulzhenko M.N. "The design of the aircraft" Moscow. Engineering. 1971. 3rd edition.

. Boeing Structural Repair Manual for Boeing 767-300. 2012.

. Rivin G.L. «Repair of composite structures of aircraft».Ulyanovsk. 2000.

. O.A. Serenko, A.A. Kraeva, G.P. Goncharuk T.V. Zaderenko, S.L. Bazhenov «Features fracture of composites based on polyethylene and elastic particles». Journal of Technical Physics. 2009, Volume 79, Issue 6.

. V. Sparrow, V.B. Markin. "Quality control of manufacturing technology for repair of composite materials.»Novosibirsk. Science. 2005.

. V. Murashov, A.F. Rumyantsev. «Defects monolithic parts and multilayered structure of polymer composite materials and methods for their detection» /VIAM. 2006.

. Y.M. Chinyuchin, I.F. Polyakova. "Fundamentals of technical maintenance and repair of aircraft" Moscow. 2006.

Похожие работы на - Improving the process of repair of the aircraft panels made of composite materials

 

Не нашли материал для своей работы?
Поможем написать уникальную работу
Без плагиата!
Без нейросетей!