Оценочный расчет подстанции ГПП-8 ОАО 'Новолипецкий металлургический комбинат'

  • Вид работы:
    Курсовая работа (т)
  • Предмет:
    Физика
  • Язык:
    Русский
    ,
    Формат файла:
    MS Word
    69,85 Кб
  • Опубликовано:
    2015-12-23
Вы можете узнать стоимость помощи в написании студенческой работы.
Помощь в написании работы, которую точно примут!

Оценочный расчет подстанции ГПП-8 ОАО 'Новолипецкий металлургический комбинат'

Оглавление

Введение

. Анализ окружающей среды

2. Описание технологического процесса и системы электроснабжения ПГП

3. Расчет электрических нагрузок ПГП

. Картограмма активных нагрузок

. Выбор трансформаторов на ГПП-8

. Выбор токоведущих частей

. Расчёт токов короткого замыкания

. Выбор основного электрооборудования ГПП-8

. Расчет электрического освещения машинного зала ПГП

. Молниезащита и заземление ГПП-8

. Оценка надежности электроснабжения ПГП

Заключение

Список источников

Введение


В качестве объекта проектирования выступает реально существующая главная понизительная подстанция ГПП-8. Эта подстанция осуществляет электроснабжение комплекса Стана 2000 Производства горячего проката (ПГП) ОАО "Новолипецкий металлургический комбинат" (ОАО "НЛМК"). Проверочный расчет подстанции должен осуществляться по реальным исходным данным с учетом прошедших и возможных изменений в системе электроснабжения и отраслях, обеспечиваемых электроэнергией с рассматриваемой подстанции.

Рано или поздно, любое оборудование устаревает физически и морально. В этом случае необходимо проводить модернизацию подстанции. С момента запуска ГПП-8 на ней были заменены воздушные линии (ВЛ) 110 кВ на кабельные (КЛ), некоторые трансформаторы 63 МВ·А и 10 МВ·А и т.д. Однако это только малая часть оборудования, остальное уже практически выработало свой ресурс и требует замены. Поэтому необходимо сравнить выгодность замены оборудования аппаратами нового типа и конструкции.

1. Анализ окружающей среды

ГПП-8 находится в городе Липецке. Климатические условия характеризуются как умеренно-континентальные. По скоростному напору ветра этот район принадлежит к категории III, средняя годовая скорость ветра - 4,4 м/с, среднее давление ветра не превышает 35 Н/м. Осадки по временам года распределяются равномерно. Среднегодовое количество грозовых дней равно 40-60, что по своей сути является средним показателем.

По гололедности район относится к категории III. Снеговая нагрузка равна 100 кг/м2. Средняя толщина ледяного покрова при обледенении проводов и других открытых конструкций составляет 3 мм. Максимальная температура воздуха +390С, минимальная -380С, среднегодовая +50С. Среднегодовой уровень осадков по Липецкой области составляет 500-600 мм. Основные климатические факторы и показатели представлены в таблице 2.

Таблица 2. Основные климатические характеристики г. Липецк

Климатическое районирование

У, ХЛ, УХЛ

Район по ветровому давлению II

500 Па

Район по гололеду IV

25 мм

Среднегодовая продолжительность гроз в часах

60…80 с грозой

Район пляски проводов

Умеренный

Снеговая нагрузка, кг/м

100…105

Максимальная температура воздуха, °С

+39

Минимальная температура воздуха, °С

-38

Среднегодовая температура воздуха, °С

+5

Тип грунтов в месте расположения предприятия

Суглинки твердые

Среднее количество осадков, мм

540…650


При анализе и проектировании системы электроснабжения необходимо учесть тот факт, что крупные промышленные предприятия города производят и выбрасывают в атмосферу большое количество вредных веществ. ОАО "НЛМК" по последним данным принадлежит наибольший вклад в загрязнении окружающей среды, что составляет около 85% от общего выброса вредных веществ в нашей области. Повышенное содержание в воздухе различного рода вредных примесей, которые оказывают отрицательное влияние на твердую изоляцию оборудования и снижают электрическую прочность воздуха - одного из основных изоляторов в электроустановках. Концентрация вредных веществ в атмосфере г. Липецка приведена в таблице 2.

Таблица 2. Концентрация вредных веществ в атмосфере г. Липецка

Вредное вещество

Максимальная концентрация, мг/м3

Средняя концентрация, мг/м3

Пыль

2,41

0,35

Оксид азота II (NO)

0,16

0,05

Оксид азота IV (NO2)

0,43

0,11

Углекислый газ (CO2)

10,3

3,2

Оксид серы IV (SO2)

0,042

0,04

Сероводород (H2S)

0,0032

0,003


2. Описание технологического процесса и системы электроснабжения ПГП

В ПГП основным технологическим оборудованием являются непрерывные широкополосные станы. В процессе прокатки сначала слябы поступают в нагревательные печи. В зависимости от марки стали, сляб нагревают до нужной температуры. Нагретый сляб по рольгангу поступает к клетям. На стане имеется две группы клетей: черновая и чистовая. Черновые клети служат для предварительной раскатки металла. В каждой клети расположены две группы валков: вертикальные и горизонтальные. Горизонтальные валки состоят из нажимных и рабочих валков. Нажимные создают необходимое давление, а рабочие непосредственно прокатывают полосу металла.

Горизонтальные валки служат для прокатки металла по толщине.

Вертикальные контролируют ширину полосы.

В черновой группе металл раскатывают. Далее полоса по рольгангу подаётся в чистовую группу. Перед этой группой находятся летучие ножницы, которые отсекают "голову" и "хвост" рулона, так как в процессе прокатки они сильно деформируются.

В чистовой клети нет вертикальных валков. Здесь происходит окончательная прокатка до нужной толщины. Далее полоса движется в область моталок. Имеются две группы моталок. I группа имеет 3 моталки для смотки полосы толщиной до b=6 мм. II группа имеет 2 моталки для полос толщиной до b=16 мм.

Смотанные рулоны снимают с моталок и в зависимости от толщины помещают на конвейеры подъёмно-поворотного стола.

План черновых и чистовых клетей стана 2000 на территории ПГП приведен на рисунке 1.


Электроснабжение производства горячего проката (ПГП) осуществляется от главной понижающей подстанции №8 (ГПП-8), которая снабжает электроэнергией комплекс СТАНа 2000 ПГП. Распределение энергии от ГПП-8 осуществляется по напряжениям 10 и 6 кВ. Питание по 110 кВ ГПП-8 осуществляется от РП-2 110 кВ и выполнено по блочной схеме (кабельный ввод - трансформатор). Каждый ввод представляет собой три маслонаполненных кабеля (МНАШВ-1х150 с допустимым током нагрузки 422 А при напряжении 110 кВ). Кроме питания по 110 кВ от РП-2 110 кВ ГПП-8 получает также питание и по 10 кА от ТЭЦ, которое приходит кабелем ААШв-5 3х185. ГПП-8 находится на расстоянии 300 м от подстанции №50. Распределительные пункты и другие коммутационные узлы, на которых нет преобразования энергии, наоборот, выгоднее размещать не в центре, а на границе питаемых ими участков сети таким образом, чтобы не было обратных потоков энергии. В соответствие с этим РП-2 располагается в 2000 м от подстанции №50.

На ГПП-8 установлен один трансформатор ТРДЦНК-63000/110 мощностью 63 МВт и три трансформатора ТРДЦНКМ - 63000/110 мощностью 63/100 МВт. Трансформаторы двухобмоточные, с расщепленной обмоткой 10 кВ и регулировкой напряжения под нагрузкой. Соотношение мощностей обмоток 100% - 50% - 50%.

КРУ-10 кВ состоит из 45 шкафов типа КР-10/500 с масляными выключателями типа ВМПЭ-10. КРУ-6 кВ состоит из 22 шкафов того же типа. В закрытых камерах устанавливают 3 трансформатора мощностью 10 МВА и напряжением 10/6 кВ и 2 трансформатора мощностью 250 кВА собственных нужд. ГПП-8 по напряжению 6 кВ питает п/ст 50а, п/ст 50б, п/ст 50 м, которые находятся в первом машзале. По номинальной схеме ГПП-8 (см. приложение) получает питание по 4 маслонаполненным кабельным линиям 110 кВ от РП-2 110 кВ. От трансформаторов со стороны 10 кВ передача электроэнергии осуществляется токопроводами типа ТЗК-10/2000 до кабельных галерей, по кабельным галереям токопроводами КСТТ-11/2500 (к РУ-10 кВ ГПП-8 и к РУ-10 кВ п/ст 50 Стана 2000). В нормальном режиме каждый трансформатор питает 2 секции 10 кВ.

При выходе из работы или исчезновении напряжения с трансформаторов 1 и 3 или 4, от трансформатора 2 можно запитать обесточившиеся секции по резервным вводам. Работа секций шин 10 кВ раздельная при наличии АВР между I и II секциями. РУ-10 кВ ГПП-8 состоит из двух одинаковых шин с питанием от трансформаторов 1 и 2 и одной одинарной системой сборных шин с питанием от ТЭЦ по кабельной линии, состоящей из 5 алюминиевых кабелей сечением 3х185 мм2 (допустимый ток - 907 А). АВР между I и II секциями 10 кВ двухстороннее, имеет запрет при наличии КЗ на секции. От шин 10 кВ получают питание 3 трансформатора 10/6 кВ мощностью 1000 кВА, предназначенные для питания потребителей 6 кВ. РУ-6 кВ состоит из 3 секций. Работа секций шин 6 кВ раздельная, но секции могут запитываться одна от другой кабельными перемычками АШВ-2 3х185.

Для компенсации реактивной мощности на ГПП-8 установлены 4 конденсаторные установки. Мощность одной установки при включении в звезду равна 3200 кВАР. Каждая установка состоит из 6 секций по 15 конденсаторов КМ-П-10,5. Каждая секция защищена предохранителем. Конденсаторные установки 1 и 2 получают питание от шин 10 кВ ГПП-8, а установки 3 и 4 - от подстанции 50 ПГП.

Для питания потребителей собственных нужд на ГПП-8 установлено 2 трансформатора ТСМ-250 напряжением 10/0,4-0,23 кВ. Щит 0,4 кВ состоит из двух секций. Ввода от трансформаторов до МВ выполнены кабелями марки АВВБн-2(3х150-11х25), а от вводных ячеек 10 кВ до ТСН кабелем марки ААБн-3х95.

От щита собственных нужд запитаны: освещение ГПП-8, выпрямительные устройства, вентиляция ГПП-8, приводы телеизмерения, обдува, мастерская, аварийное освещение.

. Расчет электрических нагрузок ПГП

Расчет электрических нагрузок проведем по методу упорядоченных диаграмм в соответствии с которым необходимо знать характеристики всех приемников, получающих питание от рассматриваемой подстанции. Основными потребителями электроэнергии на СТАН-2000 расположены в машинном зале это восемь синхронных двигателей черновой группы клетей (клети №1-№5) и семь сдвоенных двигателей постоянного тока чистовой группы клетей (клети №6-№12).

Необходимые для расчета данные по двигателям главных приводов приведены в таблице 3.

Таблица 3. Двигатели главных приводов


Клеть №1

Клеть №2

Клеть №3

Клеть №4

Клеть №5

Клеть №6

Клеть №7

Клеть №8

Клеть №9

Клеть №10

Клеть №11

Клеть №12

n, штук

4

1

1

1

1

2

2

2

2

2

2

2

UН, кВ

0,825

10

10

10

10

1

1

1

1

1

1

1

PП, МВт

2

5

10

10

10

5,7

5,7

5,7

5,7

5,7

5,7

4,25

ПВ, %

100

60

60

60

70

70

70

70

70

70

70


. Картограмма активных нагрузок

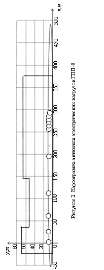
На генеральном плане указываются установленные или расчетные мощности всего предприятия.

Одной из основных задач проектирования является оптимальное размещение ТП на территории цеха. Это означает, что размещение подстанции должно соответствовать наиболее рациональному сочетанию капитальных затрат на сооружение системы электроснабжения и эксплуатационных расходов.

Для определения местоположения ТП при проектировании системы электроснабжения на генеральный план цеха наносится картограмма нагрузок.

Картограмма нагрузок цеха представляет собой размещенные по генеральному плану окружности, причем площади, ограниченные этими окружностями, в выбранном масштабе равны расчетным нагрузкам двигателей.

Для каждого двигателя наносится своя окружность.

Цеховую подстанцию следует располагать как можно ближе к центру нагрузок, так как это позволяет приблизить высокое напряжение к центру потребления электрической энергии и значительно сократить протяженность цеховых электрических сетей низкого напряжения, уменьшить расход проводникового материала и снизить потери электрической энергии.

Картограмма электрических нагрузок позволяет достаточно наглядно представить распределение нагрузок на территории цеха.

Как уже отмечалось, картограмма нагрузок цеха состоит из окружностей и площадь, ограниченная каждой из этих окружностей, в выбранном масштабе равна расчетной нагрузке соответствующего двигателя:

. (1)

Из этого выражения определим радиус окружности:

, (2)

где  - мощность i-го двигателя, кВт; m - масштаб для определения площади круга.


Для нахождения зоны рассеяния ЦЭН сначала находят дисперсию для координат x, y [1]:

s2=åPxi×(xi-x0)2,         (5)

. Выбор трансформаторов на ГПП-8

Основными критериями при выборе трансформаторов является надёжность электроснабжения, расход цветного металла и требуемая трансформаторная мощность. Оптимальный вариант выбирается на основе сравнения капиталовложений и годовых эксплуатационных расходов. Для удобства эксплуатации систем электроснабжения, следует стремиться выбирать не более двух стандартных мощностей основных трансформаторов. Это ведёт к сокращению складского резерва и облегчает замену повреждённых трансформаторов. Определим число трансформаторов на ГПП-8, которая осуществляет электроснабжение приемников комплекса Стана 2000 ПГП. Полная мощность ПГП S составила 208 МB.A. Принимаем мощность трансформаторов по 63000 кВ.А. Мощность трансформаторов для конкретных условий определяется по формуле:

н.т = Sн.т.п·(1+), (7)

где Sн.т.п.- номинальная паспортная мощность трансформатора; qс.г - среднегодовая температура, которая равна 50С [7]. Так как среднегодовая температура в Липецке составляет 5оС, следовательно можно принять, что:

н.т. = Sн.т.n.

Так как условие соблюдается, то выбранная мощность трансформатора является допустимой.

Учитывая резкопеременность графика нагрузок, принимаем коэффициент заполнения графика Кз.г равным 0,8. Коэффициент кратности допустимой перегрузки Кд.п. равен 1,1. Перегрузочная способность характеризуется коэффициентом загрузки трансформаторов:


Общая перегрузка не должна превышать номинальной нагрузки на 30%, то есть суммарный коэффициент кратности допустимой перегрузки не должен быть больше 1,3, что выполняется.

Суммарная допустимая мощность трансформаторов при их одновременной работе с учетом систематической перегрузки:

SдопΣ = µ·ΣSн.т. ³ Sмакс.

Трансформаторы с расщепленной обмоткой широко используют в системах электроснабжения предприятий черной и цветной металлургии, где имеют место резко-переменные нелинейные нагрузки. В нашем случае это мощные вентильные преобразователи прокатного стана. Таким образом, установка трансформатора с расщепленной обмоткой является предпочтительнее, чем установка двух двухобмоточных трансформаторов. Выбираем четыре трансформатора типа ТРДЦН мощностью по 63000 кВ.А. Паспортные данные трансформатора представлены в таблице 3.

Таблица 5. Паспортные данные трансформаторов

Тип трансформатора

Uвн, кВ

Uнн, кВ

DPхх, кВт

DPкз, кВт

Iхх, %

Uкз, %

ТРДЦН 63000/110

115

10,5

59

260

0,65

10,5

ТРДЦН 32000/110

115

10,5

57

195

3

10,5


Для трансформаторов, число и мощность которых были определены в результате технического расчета, проведем экономический расчет. Он проводится для того, чтобы на основании сравнения суммарных приведенных затрат различных вариантов выбранных трансформаторов, определить наиболее экономически целесообразный вариант. Экономический расчет состоит в следующем.

Используя паспортные данные выбранных трансформаторов, определяют потери мощности. При этом учитываются не только потери активной мощности трансформаторов, но и потери активной электрической системы, цепочки питания от генераторов электростанций до рассматриваемых трансформаторов. Такой учет необходим из-за потребления трансформаторами реактивной составляющей мощности. Эти потери называются приведенными.

Для n параллельно работающих однотипных трансформаторов они равны:

DР=n×[DPxx+Ки.п×Iхх×Sн.т/100]+(Кз.т/ n)×[ DРк.з+Кип.×Uк.з× Sн.т/100],

где DPxx - потери холостого хода; Iхх - ток холостого хода;

Ки.п - коэффициент изменения потерь, Ки.п = 0,02 кВт/кВар;

- коэффициент загрузки трансформатора;

DРк.з - потери короткого замыкания; Uк.з - напряжение короткого замыкания.

Стоимость годовых потерь электроэнергии

Сn = DWгод×Са,

где Са - стоимость одного кВт.ч электроэнергии, Са = 1,22 р/кВт.ч.


СА = КА×К,

где КА - коэффициент амортизационных отчислений, КА = 0,064.

Суммарные приведенные годовые затраты определяются как:

З = Ен×К+С,

где Ен - нормативный коэффициент эффективности, Ен = 0,25.

6. Выбор токоведущих частей

Токопроводами являются жёсткие не изолированные проводники с изоляторами и металлическим кожухом. Данное оборудование предназначено для передачи большой мощности низким напряжением. В нашем случае производиться передачи энергии с подстанции, непосредственно от трансформаторов, к распределительным шинам на СТАНе 2000, а также канализация электроэнергии внутри подстанции (от трансформаторов к распределительным устройствам ГПП-8).

Для выбираемого токопровода имеем длительный максимальный рабочий ток IРАБ.МАХ = 2000А. Принимаем токопровод ТЗК-10-3200-125, имеющий характеристики таблица 6 [8].

Таблица 6. Технические характеристики токопровода ТЗК-10-3200-125

Номинальное напряжение

10 кВ

Номинальный ток

3200 А

Электродинамическая стойкость

125 кА

Сечение токоведущих шин

150´80´15 мм

Расположение шин

по треугольнику

Материал

алюминий

Диаметр кожуха

706 мм


Проверку на нагрев рабочим током, на термическую и динамическую стойкость при токах короткого замыкания не производиться, так как токопровод имеет заводское исполнение и рассчитан на работу при этих условиях. Ток электродинамической стойкости в нашем случае меньше допустимого тока

.

Расчет на резонанс так же не производиться, т.к. токопроводы поставляются уже в сборе.

Сечения шинопроводов выбираются по длительно допустимому току и экономической целесообразности. Согласно [1], п. 1.3.28 выбор сечения шины по экономической плотности тока не производиться.

Для шины секции 7, расположенной на СТАНе, имеем длительный максимальный рабочий ток IРАБ.МАХ = 2000 А.

Применим для данного случая шины коробчатого сечения, так как они обеспечивают меньшие потери от эффекта близости и поверхностного эффекта, а также имеют лучшие условия охлаждения.

Проверку на нагрев рабочим током не производиться, так как шина выбиралась с запасом на работу с максимальным рабочим током.

Согласно [3], с.558 для глубоких вводов 110 кВ к ГПП применяют маслонаполненные кабели среднего давления. По таблице 1-39 из [2] принимаем для напряжения 110 кВ кабель марки МНАШв - маслонаполненный, низкого давления, в алюминиевой оболочке, в шланге из поливинилхлоридного пластика для прокладки в каналах зданий и туннелях.

Прокладка кабелей из-за их количества и удобства обслуживания производиться в туннелях. Максимальный установившийся рабочий ток для данного кабеля IРАБ.МАХ = 240 А.

Предварительно выбираем сечение линии по экономической плотности тока:

ЭК = I/jЭК = 240/1,2 = 166,7 мм2,

где jЭК = 1,2 - экономическая плотность тока для кабеля с поливинилхлоридной изоляцией и алюминиевыми жилами при числе часов.

. Расчет токов короткого замыкания

Основной причиной нарушения нормального режима работы системы электроснабжения является возникновение коротких замыканий (КЗ) в сети или в элементах электрооборудования вследствие повреждения изоляции или неправильных действий обслуживающего персонала. Для того, что бы исключить или минимизировать негативные последствия для оборудования, аппаратуры и сетей при протекании токов КЗ, а также быстрого восстановления их, выбора релейной аппаратуры и элементов сети производят расчет токов КЗ.

Для практических расчетов токов КЗ вводят допущения, которые не дают существенных погрешностей. Все электродвижущие силы считаются совпадающими по фазе; электродвижущие силы источников питания, значительно удаленных от места короткого замыкания, считаются неизменными; не учитывается влияние асинхронных и синхронных двигателей мощностью до 100кВт удаленных от расчетной точки КЗ ступенью трансформации; не учитываются поперечные емкостные цепи короткого замыкания и токи намагничивания трансформаторов; активное сопротивление учитывается, только если оно составляет более 30% от реактивного; расчетное напряжение каждой ступени принимают на 5% выше номинального напряжения сети. Влияние сопротивления энергосистемы на результаты расчета токов КЗ на стороне до 1 кВ невелико, поэтому при расчетах сопротивлением на стороне 6-10 кВ пренебрегают, считая его равным нулю. При расчете токов короткого замыкания в относительных единицах необходимо выбрать базисную мощность и средние напряжения ступеней.

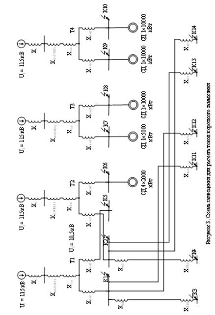
Схема замещения приведена на рисунке 3. Принимаем следующие значения: Sб = 100 МВ·А, Uб1 = 115 кВ, Uб2 = 10,5 кВ, Uб3 =6,3 кВ. В соответствии с выбранными величинами базисный ток определяется следующим образом:


. Выбор основного электрооборудования ГПП-8

Надежная работа ГПП может быть обеспечена только в том случае, когда каждый выбранный аппарат соответствует как условиям номинального режима работы, так и условиям работы при коротких замыканиях. Поэтому электрические аппараты сначала выбирают по номинальным параметрам, а затем осуществляют их проверку на действие токов короткого замыкания. К номинальным параметрам аппаратов относятся напряжение и ток. Номинальным напряжением электрического аппарата называют указанное на его щитке межфазное напряжение. Оно численно равно номинальному напряжению сети, для работы в которой предназначен аппарат. Номинальным током электрического аппарата называют тот наибольший длительный ток, при котором аппарат может работать сколь угодно длительное время, если температура окружающего воздуха не превышает расчетной величины (35°С).

Для проверки аппарата на устойчивость при коротких замыканиях необходимо определить наибольшее возможное значение тока короткого замыкания. Аппарат считается электродинамически устойчивым, если при протекании ударного тока короткого замыкания в аппарате не наблюдается каких-либо остаточных деформаций деталей, препятствующих его исправной работе. На электродинамическую устойчивость можно не проверять аппараты, которые защищены плавкими предохранителями с номинальным током до 60 А включительно.

Если используются токоограничивающие предохранители, то на электродинамическую устойчивость не следует проверять аппараты при любых номинальных токах. Расчётную нагрузку КЗ применяют такую, в которой через аппарат при КЗ проходит наибольший ток. Исключения из этого общего положения отмечены для каждого аппарата при рассмотрении методики выбора и проверки его. Выбор разъединителей. Разъединители используются для включения и отключения высокого напряжения при мощности не достаточной для образования дуги. В данном случае разъединители применяются для вывода высоковольтного оборудования в ревизию и ремонт. Они создают видимый разрыв цепи в воздухе. Согласно правилам техники безопасности электрическое оборудование, выводимое в ремонт, необходимо отключить. Между цепью, оставшейся в работе, и выводами разъединителя должен быть создан видимый разрыв.

Разъединители выбирают по номинальному току, номинальному напряжению, роду установки, конструктивному выполнению, электродинамической и термической стойкости. По номинальным условиям выбираем разъединитель РВК - 10/2500, имеющий технические характеристики, приведенные в таблице 9.

Таблица 9. Параметры разъединителя РВК - 10/2500

Параметр

Значение

Номинальное напряжение, кВ

10

Номинальный ток, А

2500

Максимальное рабочее напряжение, кВ

12

Ток термической стойкости, кА

45

Ток динамической стойкости, кА

125

Тип привода

ПЧ-50


Таблица 10. Технические характеристики выключателя ВРС - 10 -31,5/2000

номинальное напряжение

10 кВ

наибольшее рабочее напряжение

12 кВ

номинальный ток

2500 А

номинальный ток отключения

31,5 кА

ток электродинамической стойкости

ток термической стойкости (в течение 3 с)

31,5 кА

полное время отключения - не более

0,065 с

собственное время включения - не более

0,090 с

собственное время отключения - не более

0,035-0,050с


Габаритные размеры выключателей ВРС-10:

ширина - 560; 620 мм;

глубина - 435; 445 мм;

высота - 564; 611 мм;

масса, не более - 178 кг.

Срок эксплуатации выключателей до списания - не менее 25 лет. Гарантийный срок эксплуатации - 4 года.

Трансформатор тока выбирается так же по нагрузке вторичной цепи для обеспечения его работы в требуемом классе точности

S2НОМ. ≥ S2Р,

где S2НОМ. = I2НОМ.2×zНОМ.2 = 52×1,2(1,6) = 30(40) В·А - допустимая нагрузка вторичной обмотки, В·А; S2Р - расчётная нагрузка вторичной обмотки в рабочем режиме, В·А.

Таблица 11. Технические характеристики трансформаторов тока

Параметр

ТВТ110-III-1000/5

ТШЛ-10-3000/5

Номинальное напряжение, кВ

110

10

Мах рабочее напряжение, кВ

-

12

Номинальный первичный / вторичный ток, А

1000/5

3000/5

Номинальный коэффициент трансформации

200

600

Ток термической стойкости кратность / время, с

25/3

35/3

Ток динамической стойкости, кА

-

100


Встроенные трансформаторы тока на термическую и электродинамическую стойкость не проверяются, поэтому проверим только ТТ на 10 кВ.

. Расчет электрического освещения машинного зала ПГП

Проведем расчет системы искусственного освещения машинного зала №1 ПГП. Рациональное искусственное освещение нужно для благоприятных зрительных условий и продуктивной работы. Правильное выполнение осветительных установок способствует рациональному использованию электроэнергии, повышению производительности труда, уменьшению количества аварий и случаев травматизма, уменьшению утомляемости персонала.

Исходя из норм промышленного освещения [15], таблица 15, принимаем разряд зрительной работы IVв.

Тогда освещённость помещения ЗРУ при системе общего освещения ЕН = 200лк, и соответствует рабочим характеристикам: характеристика зрительной работы - средней точности, наименьший размер объекта различения - 1 мм, контраст объекта с фоном - средний, характеристика фона - средняя.

Выбор светильников зависит не только от условий труда, но и от экономичности и надёжности её действия, взрывобезопасности установки, от характера окружающей среды и требования к светораспределению.

Исходя из условий работы (высота подвеса 11 м; не требуется точное восприятие цветов) [15], принимаем для освещения индукционные лампы ЛВД-300 производства "Сатурн".

Эти лампы имеют больший срок службы и наибольшую экономичность (таблица 15) и светильник типа LVD 03-028 (таблица 16).

Таблица 16. Технические данные лампы ЛВД-300 производства "Сатурн"

Мощность

300 Вт

Световой поток

48 клм

Средний срок службы

20 тыс. часов

Диаметр

388 мм

Полная длина лампы

110 мм


. Молниезащита и заземление ГПП-8

Рассмотрим вопрос молниезащиты комплекса СТАН 2000 ОАО НЛМК.

В комплекс СТАН 2000 входят следующие здания:

цех производства горячего проката;

склад слябов;

вальцешлифовальная мастерская.

Все здания относятся к III категории по молниезащитным мероприятиям и подлежат защите в том случае, если расположены в районах со средней грозовой деятельностью 20 и более грозовых часов в год, при вероятности поражения сооружения не менее 0,05.

Ожидаемое количество поражений молнией в год зданий и сооружений определена по формуле:

,

где S и L - ширина и длина здания соответственно, м; hX - высота здания; n -среднее число поражений молнии одного квадратного километра земной поверхности в год (для района Липецка n = 5).

Результаты произведенного расчета ожидаемого количества поражений молнией зданий комплекса представлены ниже в таблице 17.

Таблица 18. Поражаемость молнией зданий комплекса СТАН 2000

Площадь здания, м2

Вероятность поражения в год

Цех горячего проката

56500

0,6

Склад слябов

20700

0,2

Вальцешлифовальная мастерская

10080

0,18

Из таблицы следует, что все здания комплекса имеют высокую степень поражаемости молнией и подлежат защите от прямых ударов молнии и заноса высоких потенциалов через надземные металлические конструкции.

Для защиты от прямых ударов молнии в зданиях цеха производства горячего проката и склада слябов в качестве молниеприемника и токоотводов используются стальные фермы перекрытий и стальные колонны. В качестве молниеприемника в здании вальцешлифовальной мастерской используется сетка, укладываемая над сборными железобетонными плитами, которая должна быть приварена к стальным колоннам здания.

Конструкция заземляющих устройств молниезащиты выбрана из условия, что грунты на промплощадке представляют собой пески, имеющие удельное сопротивление 7·106 ом·см.

Заземляющие устройства состоят из вертикальных глубинных винтовых электродов, выполненных из круглой стали диаметром 12 мм, длиной 5 метров в количестве 8 штук в каждом очаге, соединенных между собой полосовой сталью 40×4 мм.

Молниезащита специально предусматривается для защиты объектов электроснабжения от ударов молнии, поэтому защиту ГПП-8 от прямого попадания молнии необходимо рассмотреть отдельно.

Непосредственное опасное воздействие молнии - это пожары, механические повреждения, травмы людей и животных, а также повреждения электрического и электронного оборудования, потери предприятия в связи с простоем основных цехов при сбое в электропитании. Удары молнии могут быть особо опасны для информационных систем, систем управления, контроля и электроснабжения.

Для электронных устройств, установленных в объектах разного назначения, требуется специальная защита.

подстанция трансформатор электрический заземление

11. Оценка надежности электроснабжения ПГП

 

Будем вести расчет с учетом того, что для периода нормальной эксплуатации электрооборудования справедлив экспоненциальный закон распределения отказов оборудования.

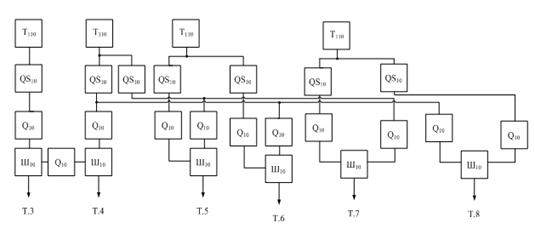
Элементы системы электроснабжения и их обозначение на схеме (рисунки 8-9) представлены в таблице 19.

Таблица 19. Параметры надежности элементов систем электроснабжения

Элемент

Условное обозначение на схемах

Интенсивность отказа, λ-1

Среднее время восстановления ТВ, ч.

Интенсивность преднамеренных отключений v, год-1

Среднее время обслуживания Т0,ч

Трансформатор с высшим напряжением 110 кВ

Т110

0,03

30

0,4

22

Трансформатор с высшим напряжением 10 кВ

Т10

0,035

8

0,3

8

Кабельная линия 10 кВ

К10

0,1

25

0,5

3

Ячейка выключателя 10 кВ

Q10

0,015

6

0,2

6

Ячейка выключателя 6 кВ

Q6

0,015

6

0,2

6

Линейный разъединитель 10 кВ

QS10

0,08

4,5

0,2

3

Шины РУ 6 кВ, на 1 присоединение

Ш6

0,001

4

0,16

Шины РУ 10 кВ, на 1 присоединение

Ш10

0,001

4

0,16

5


Рисунок 8. Схема замещения для расчета надежности электроснабжения подстанции 50.

Заключение


В данной работе проведен оценочный расчет ГПП-8 ОАО "НЛМК", с использованием реальных нагрузок. По результатам анализа окружающей среды в соответствии с требованиями ГОСТ 15150-69 для закрытых распределительных устройств электроустановок выбирается электрооборудования для работы в умеренном и холодном климате в помещении с искусственно регулируемым микроклиматом типа УХЛ-2, для открытых распределительных устройств - для работы в умеренном и холодном климате на открытом воздухе типа УХЛ-1.

Анализ электрических нагрузок в работе проводился на основании метода упорядоченных диаграмм. По результату расчета нагрузок были определены расчетные нагрузки за наиболее загруженную смену. По результатам расчета нагрузок проверялось оптимальность места расположения ГПП-8. Для чего строилась картограмма активных нагрузок.

Реальное место расположения ГПП-8 не попадает в зону рассеяния ЦЭН, т.к. внутри этой зоны находятся технологические машины и оборудование. ГПП находится снаружи за стеной здания цеха максимально приближенное к ЦЭН, что максимально сокращает потери и расход цветного металла в распределительной сети низкого напряжения.

Список источников

1. Шпиганович А.Н. Электроснабжение [Текст]: учебное пособие/ А.Н. Шпиганович, С.И. Гамазин, В.Ф. Калинин. - Елец: ЕГУ им. И.А. Бунина, Липецк: ЛГТУ, 2005. - 90 с.

. Цейтлин Л.С. Расчеты по электрооборудованию [Текст]: Л.С. Цейтлин. - М.: Высш. шк. 1985. - 256 с.

. Шеховцов В.П. Расчет и проектирование схем электроснабжения. Методическое пособие для курсового проектирования. [Текст]: В.П. Шеховцов - М.: ФОРУМ: ИНФРА-М, 2004. - 214 с.

. Князевский Б.А. Электроснабжение промышленных предприятий: Учебник для вузов по специальности "Электропривод и автоматизация пром. установок" / Б.А. Князевский, Б.Ю. Липкин. - М.: Высшая школа, 1969. - 510с.

. Кудрин Б.И. Электроснабжение промышленных предприятий. [Текст]: учебник для студентов ВУЗов / Б.И. Кудрин. - М.: Интермет Инжиниринг, 2005. - 627 с.

. Герасимов В.Г. Электротехнический справочник. Том 3. Использование электрической энергии. [Текст]/ под. ред. В. Г. Герасимова. - М.: МЭИ, 2004. - 964 с.

. Конюхова Е.А. Электроснабжение объектов [Текст]: Учебное пособие для студентов учреждений сред. проф. образования / Е.А. Конюхова. - М.: Мастерство, 2001. - 320 с.

. Неклепаев Б.Н. Электрическая часть электростанций и подстанций: Справочные материалы для курсового и дипломного проектирования: [Текст]: Учеб. пособие для вузов./ Б.Н. Неклепаев, И.П. Крючков. - 4-е изд., перераб. и доп. - М.: Энергоатомиздат, 1989. - 608 с.

. Фёдоров А.А. Справочник по электроснабжению промышленных предприятий. Книга 2. Технические сведения об оборудовании. [Текст] / под. ред. А.А. Фёдорова, Г.В. Сербиновского. - М.: Энергия, 1973. - 528 с

. Рожков Л.Д. Электрооборудование электрических станций и подстанций: Учебник для сред. проф. образования [Текст]: Л.Д. Рожкова, Л.К. Карнеева, Т.В. Чиркова. - М. Издательский центр "Академия", 2004. - 448 с.

. Князевский Б.А. Охрана труда. Учебник для вузов [Текст]: Б.А. Князевский, П.А. Долин, Т.П. Марусова и др.; Под ред. Б.А. Князевского. - 2-е изд., испр. и перераб.. - М.: Высш. шк., 1995. - 311 с.

. Ограничители перенапряжений нелинейные [Текст]: каталог продукции "Таврида электрик", 2002. - 28 с.

. Алиев И.И. Электрические аппараты. Справочник. [Текст]: И.И. Алиев, М.Б. Абрамов. - М.: Издательское предприятие РадиоСофт, 2004.-256 с.

. Сибикин Ю.Д. Электроснабжение промышленных предприятий и технологических установок: Учеб. для проф. учеб. заведений. [Текст]: Ю.Д. Сибикин, М.Ю. Сибикин, В.А. Яшков. - М.: Высш. шк., 2001. - 336с.:

. Князевский Б.А. Электроснабжение промышленных предприятий [Текст]: Учебник для вузов по специальности "Электропривод и автоматизация пром. установок"/ Б.А. Князевский, Б.Ю. Липкин. - М.: Высшая школа, 1969. - 510с.

. Белов С.В. Безопасность жизнедеятельности. Учебник для вузов [Текст]: С.В. Белов, А.В. Ильницкая, А.Ф. Козьяков и др.; Под общ. ред. С.В. Белова. - 2-е изд., испр. и доп. - М.: Высш. шк., 1999. - 448 с.

. Иванов А.В. Методическое пособие по расчету систем оперативного тока, собственных нужд, заземляющих устройств и молниезащиты подстанций 35 кВ и выше [Текст] / А.В. Иванов, Т.В. Колчин, А.В. Осьминушкин. - Н. Новгород: НГТУ, 2000. - 40 с.

Похожие работы на - Оценочный расчет подстанции ГПП-8 ОАО 'Новолипецкий металлургический комбинат'

 

Не нашли материал для своей работы?
Поможем написать уникальную работу
Без плагиата!
Без нейросетей!