Гидродинамическое оборудование для интенсификации технологических процессов нефтепереработки

  • Вид работы:
    Реферат
  • Предмет:
    Другое
  • Язык:
    Русский
    ,
    Формат файла:
    MS Word
    1,42 Мб
  • Опубликовано:
    2016-05-12
Вы можете узнать стоимость помощи в написании студенческой работы.
Помощь в написании работы, которую точно примут!

Гидродинамическое оборудование для интенсификации технологических процессов нефтепереработки

Министерство образования и науки Российской Федерации

Федеральное государственное бюджетное образовательное учреждение высшего профессионального образования

Кубанский государственный университет

Институт нефти газа и энергетики

Кафедра «Технологии переработки нефти и газа»







Реферат

«Гидродинамическое оборудование для интенсификации технологических процессов нефтепереработки»

Выполнила Зыкова Светлана

Оглавление

1. Проблемы современной нефтепереработки в России и пути их решения

.1 Пути решения проблем современной нефтепереработки

. Применение гидродинамического оборудования для интенсификации технологических процессов нефтепереработки

.1 Понятие и цели интенсификации

.2 Гидродинамическое оборудование для интенсификации технологических процессов

. Технология обработки углеводородных топлив, приготовления водотопливных эмульсий в гидродинамических устройствах

Введение

Современная российская нефтеперерабатывающая промышленность развивается под воздействием комплекса факторов, обуславливающих основные проблемы отрасли. Россия, не имея четкой стратегии в области модернизации нефтепереработки, отстает по многим показателям развития отрасли в отличие от ведущих развитых стран.

Пока в России нет четкой стратегии перехода к глубокой переработки нефти, равно как и экспортозамещения нефти на качественные нефтепродукты.

Экономическая политика вертикально интегрированных нефтяных компаний по переработке сырья не способствует модернизации нефтеперерабатывающих заводов, а также заставляет их увеличивать себестоимость нефтепереработки взамен роста качества и количества готовой продукции и уменьшения энергопотребления.

1. Проблемы современной нефтепереработки в России и пути их решения

На сегодняшний день Россия занимает 3 место в мире по первичной переработки нефти, объем переработки в 2012 году составил 280 млн. тонн. Для нефтеперерабатывающей промышленности России характерны следующие такие проблемы, как низкая глубина переработки (около 70%) и изношенность основных фондов. В России функционируют 27 нефтеперерабатывающих заводов, а так же около 200 мини НПЗ, часть из которых не имеют лицензий и не подключены к нефтепроводам.(1)

Качество нефтепереработки существенно отстает от мирового уровня, поэтому часть продукции экспортируется за границу как полуфабрикат (например, мазут, около 30% на выходе в среднем по России, 80% произведенного мазута реализуется на экспорт). Низкое качество получаемых нефтепродуктов связано с низкой глубиной переработки (70% - Россия, 96% - США, 85% - Европа), минимальным количеством вторичных процессов, несовершенным оборудованием, а так же с недостатком процессов, улучшающих качество и глубину переработки, таких, как: каталический крекинг (из 27 НПЗ - только на 13-ти), гидрокрекинг (на 5 НПЗ из 27), замедленное коксование (на 5 НПЗ из 27) и висбрекинг (на 9 НПЗ из 27).(2)

Выходом из ситуации является модернизация нефтеперерабатывающей отрасли России, а именно реконструкция действующих и введение новых установок, углубляющих переработку.

В целом, за последние годы, состояние отрасли улучшилось, приняты такие решения, как новые методы расчета экспортных платежей (пошлины на светлые нефтепродукты ниже, чем на темные), изменение акцизов (дифференциация их в зависимости от качества). Акцизы с каждым годом растут, что делает нерентабельным производить бензин класса 3 и ниже (акциз на прямогонный бензин с 1 января 2013 года составляет 10 299 руб./т., к 2015 он увеличиться до 13 502 руб./тонну). Согласно стратегии развития отрасли до 2020 года, объем инвестиций в нефтепереработку составит около 1,5 трлн. рублей, планируется увеличение глубины переработки до 85%, автомобильный бензин и дизельное топливо должны быть не ниже класса ЕВРО 5, рост производства ДТ и снижение производства мазута.(3)

В стратегии представлен перечень ввода установок до 2020 года:

повышающих качество нефтепродуктов:

ü  алкилирование (Роснефть, Лукойл, Газпром нефть, Башнефть, Сургутнефтегаз);

ü  гидроочистка (Роснефть, Газпром нефть, ТНК-ВР, Башнефть, Русснефть, Сургутнефтегаз, Салаватнефтеоргсинтез, Татнефть);

ü  изомеризация (Роснефть, Лукойл, Газпром нефть, ТНК-ВР, Салаватнефтеоргсинтез, Татнефть, Русснефть, Сургутнефтегаз);

ü  риформинг (Роснефть, Газпром нефть, ТНК-ВР, Сургутнефтегаз, Татнефть);

ü  каталитический крекинг (Роснефть, Газпром нефть, ТНК-ВР, Сургутнефтегаз, Русснефть);

ü  гидрокрекинг (Роснефть, Лукойл, Газпром нефть, Салаватнефтеоргсинтез, ТНК-ВР, Башнефть);

ü  коксование (Роснефть, Лукойл, Газпром нефть, Сургутнефтегаз, Салаватнефтеоргсинтез, Русснефть).

Не нужно забывать, что помимо крупных компаний на рынке функционируют около 200 миниНПЗ. Перечисленные выше установки не всегда под силу приобрести, поэтому качество и глубину переработки им повысить трудно. Примерный выход нефтепродуктов со среднестатистического миниНПЗ следующий: 50% - мазут, 30% - дизельное топливо низкого класса, 20% - прямогонный бензин, а с учетом акцизов на низкокачественное топливо, деятельность миниНПЗ становиться низкорентабельной, поэтому они делают все, чтобы уйти от больших налогов.(4)

Выделим две главные проблемы на сегодня в нефтепереработке в России:

. Низкая глубина переработки нефти.

. Получаемые нефтепродукты низкокачественны, не соответствуют мировым стандартам.


Пути решения сложившихся проблем нефтепереработки:

ü  строительство новых установок, позволяющих получать высококачественные нефтепродукты (мНПЗ);

ü  модернизация действующих НПЗ;

ü  создание технологической платформы.

1.1 Пути решения проблем современной нефтепереработки

В последние годы развитие нефтеперерабатывающей промышленности России имеет явную тенденцию к улучшению состояния отрасли. Предыдущие пять лет можно назвать золотым веком нефтепереработки. Были реализованы интересные проекты, изменил направление финансовый вектор. За последние 1,5 года проведен также целый ряд важных совещаний по вопросам нефтепереработки и нефтехимии с участием руководства страны в гг. Омске, Нижнекамске, Киришах и Нижнем Новгороде, Самаре. Это повлияло на принятие целого ряда своевременных решений: были предложены новая методика расчета экспортных пошлин (когда постепенно уменьшаются ставки на светлые нефтепродукты и увеличиваются на темные, т. о. к 2013 г. ставки должны сравняться и будут составлять 60% от пошлины на нефть) и дифференциация акцизов на автомобильный бензин и дизельное топливо в зависимости от качества, разработаны стратегия развития отрасли до 2020 г. развития нефтепереработки с объемом инвестиций ~1,5 трлн руб. и генеральная схема размещения объектов нефтегазопереработки, а также представлена система технологических платформ для ускорения разработки и внедрения конкурентоспособных на мировом рынке отечественных технологий нефтепереработки.

В документах по стратегии развития нефтеперерабатывающей отрасли отмечен опережающий рост по производству и потреблению дизельного топлива с увеличением реализации на внутреннем рынке до 45 млн т/год. Прогнозируется стабилизация производства топочного мазута на уровне 13 - 14 млн т/год и перераспределение его потребления в сторону бункеровочного топлива. (4)

 В рамках стратегии предполагается увеличение глубины переработки нефти до 85%. К 2020 г. планируется, что качество 80% выпускаемого бензина и 92% дизельного топлива будут соответствовать ЕВРО 5. При этом следует учитывать, что в Европе уже к 2013 г. будут введены более жесткие, экологические требования к топливам, соответствующие Евро 6. Тем не менее среди планируемых к строительству компаниями 57 новых установок по улучшению качества: по гидроочистке, риформингу, алкилированию и изомеризации (табл. 1). Модернизация заводов с целью выполнения требований регламента в первую очередь связана с увеличением доли процессов, улучшающих качество нефтепродуктов. А углубляющие процессы отошли на второй план, их внедрение отодвинулось на более отдаленную перспективу.(5)

Табл. 1. Ввод установок, повышающих качество нефтепродуктов, до 2020 г.


Для увеличения глубины переработки нефтяного сырья запланировано построить около 30 установок и несколько реконструировать (табл. 2). Среди процессов, позволяющих, наряду с углублением нефтепереработки, получать качественные компоненты топлив, в основном два типа процессов - каталитический крекинг (высокооктановый компонент бензинов, сырье для нефтехимии) и гидрокрекинг (высокооктановые компоненты автобензинов с низким содержанием серы, низкозастывающие Д.Т. с ультранизким содержанием серы и авиакеросин). (6)

Для увеличения доли высококачественных нефтепродуктов в экспортируемой товарной продукции необходимо осуществить коренную модернизацию действующих НПЗ и построить новые, прежде всего экспортно-ориентированные нефтеперерабатывающие и нефтехимические комплексы на терминалах магистральных нефтепроводов в пограничных и приморских центрах. Такие комплексы запланированы. Часть из этих проектов находится на стадии реализации. Значительный объем работ по модернизации осуществляет ОАО «НК «Роснефть» на принадлежащих ей НПЗ. Ведется строительство Туапсинского НПЗ, планируется построить НПЗ в Приморске и Грозном.

Табл. 2. Ввод до 2020 г. установок, углубляющих нефтепереработку.


2. Применение гидродинамического оборудования для интенсификации технологических процессов нефтепереработки

нефтепереработка гидродинамический оборудование интенсификация

2.1 Понятие и цели интенсификации

Интенсификация производственных процессов направлена на их экономической эффективности в результате их целенаправленного влияния на производительность оборудования, сокращение затрата материалов и энергии, улучшение качества продукции, снижение затрата труда и повышение эффективности управления.

Целевыми функциями интенсификации являются:

q  Сокращение продолжительности лимитирующих стадий производства;

q  Сокращение продолжительности и увеличение производительности процессов и энергозатрат;

q  Улучшение получения продуктов со свойствами, не достижимыми по традиционной технологии ;

q  Уменьшение габаритов аппаратов и расходов материалов на их изготовление;

q  Экономия сырья;

q  Проведение совершенно новых процессов.

.2 Гидродинамическое оборудование

Преобразование качественных характеристик мазута в гидродинамических устройствах.

Улучшение энергетических и экологических показателей теплоэнергетических комплексов в основном достигается за счет улучшения качества топлива, усовершенствования процессов горения топлива. Основными факторами, определяющими ценность топлива, является его теплотворная способность, определяемая количеством тепла, выделяющегося при полном сгорании единицы массы топлива, физическими свойствами рабочего тела, содержанием вредных примесей в продуктах сгорания. Одним из наиболее радикальных средств повышения эффективности работы теплоэнергетических установок является улучшение качественных характеристик топлива, позволяющих интенсифицировать процесс горения, получить от единицы массы топлива большее количество энергии. Особые трудности по оптимизации процесса сгорания возникают при использовании в дизельных двигателях, котлоагрегатах высоковязких мазутов, получаемых из остаточных фракций нефтепереработки. В мазуте, как конечном продукте нефтепереработки, сосредотачиваются наиболее тяжелые компоненты углеводородов, продукты термического крекинга, окисления, полимеризации, коксования; балласт-негорючая часть, состоящая из минеральной массы, металлов, золы, механических примесей. В процессе крекинга остаточные продукты обедняются водородом, что приводит к снижению теплотворной способности, жаропроизводительности мазута. Качество мазута начинает ухудшаться сразу после завершения крекинга нефти, во время транспортировки, при длительном хранении в емкостях; мазут окисляется, полимеризуется, насыщается биологическими организмами, обводняется; вследствие химических реакций углеводороды мазута превращаются в твердые, выпадающие в осадок продукты. Опыт эксплуатации дизелей на тяжелых сортах топлива Соединения, входящие в состав остаточных нефтяных топлив, асфальтенов, смол, желеобразных сгущений, имеют длинные, развитые молекулярные цепи, с невысокой стабильностью связей С - С, которые могут быть разорваны под воздействием высокочастотных колебаний, термического подогрева, за счет массообменных процессов между слоями обрабатываемой среды.

Термодинамическая устойчивость углеводородов понижается с повышением температуры, с увеличением молекулярной массы, времени пребывания обрабатываемого потока в области высокочастотных колебаний, интенсивности кавитационных процессов, градиента изменения давления в зоне химических реакций, площади поверхности фазовых переходов.

В гомогенизаторах, изготавливаемой ЦЭТ «Гидротопливо» установки УКДГ-89М, с контролируемой интенсивностью кавитационных процессов, с обработкой высоковязкого топлива на энергетическом уровне фазовых превращений; углеводородные молекулы расщепляются на более легкие, активные радикалы, обуславливающие кардинальное улучшение основных, качественных характеристик, топлива. (1)

После разрушения высокочастотными акустическими колебаниями длинных углеводородных молекул, образовавшиеся легкие активные радикалы интенсивно перемешиваются вихревым потоком в объеме обрабатываемой среды, вступают в реакцию с молекулами водорода, остаточных углеводородных фракций.

Необработанный мазут М-100 в емкости с отобранной пробой застывал при температуре +35 ºС, имел вязкую, консистентную структуру, модифицированный же мазут, при данной температуре, свободно плескался в емкости, легко стекал с пробной палочки. Смесь топлив приготовленная на базе 30% мазута Ф-5 и дизельного топлива после обработки в установке имела вязкость меньшую чем у необработанного дизельного топлива.(2)

Технические характеристики установки УКДГ-89М.

Комплект гидродинамических устройств может размещаться в топливных системах энергетических установок фрагментарно, действует от энергии потока штатных насосов топливной системы. В этом случае применяется система управления подводом смешиваемых компонентов аналогичная используемой в установке УКДГ-89М. Управление потоком топлива поступающего к смесителям осуществляется посредством штатных элементов топливной системы энергетической установки.

Обработка дизельного топлива в гомогенизаторе-смесителе вихревом установки УКДГ-89М, при пониженной температуре окружающей среды.

Дизельное топливо содержит растворенные парафиновые соединения, которые при пониженной температуре кристаллизуются, с объединением кристаллов, в объеме топлива образуется кристаллическая решетка, препятствующая движению топлива в трубопроводах, прохождению топлива через фильтры двигателей. С понижением температуры, в летнем дизельном топливе начинается процесс помутнения уже при температуре 0 0С - + 3 0С, при температуре - 10 0С топливо теряет подвижность.

В процессе обработки дизельного топлива в ультразвуковом, интенсивном авиационном поле вихревого потока, парафиновые углеводородные соединения расщепляются на легкие, растворенные газовые фракции, активные радикалы. После модификации молекул углеводородов кристаллизация, повышение вязкости в обработанном дизельном топливе прекращается. Гомогенизатор-смеситель вихревой является эффективным теплогенератором, прокачивание топлива через его рабочие органы, позволяет повышать температуру в емкости для хранения дизтоплива, и соответственно, предотвращать кристаллизацию парафиновых соединений.

Рис 1. Комплект гидродинамических устройств для смешивания, гомогенизации топлив.

Применяется на нефтебазах, на судах бункеровщиках для приготовления гомогенизированных топливных смесей.

Заключительной стадией технологического процесса приготовления питательной воды для паровых котлов является удаление растворенных в ней агрессивных газов, в первую очередь кислорода, а также углекислоты, вызывающих коррозию металла теплосиловых установок. Кислородная коррозия является наиболее опасной, так как она проявляется на отдельных участках поверхности металла в виде небольших язвин и развивается в глубину металла вплоть до образования сквозных свищей. Для современных паровых котлов большой паропроизводительности даже самая незначительная концентрация растворенного в питательной воде кислорода может быть причиной нарушения нормальной работы и выхода из строя отдельных элементов их, из которых в первую очередь обычно подвергается коррозии экономайзер. Таким образом, для обеспечения надежной эксплуатации современных паровых котлов необходимо стремиться к практически полному отсутствию в питательной воде растворенного кислорода.

Гидродинамические интенсификаторы технологических процессов нефтепереработки (ГИТПН).

В рабочих органах интенсификаторов, вследствие, ультразвукового, кавитационного, термического воздействия, фазовых превращений вещества в вихревом несущем потоке, молекулярная структура нефтепродуктов, кардинально изменяет свои свойства. В результате фазовых превращений, деструктивного воздействия, длинные молекулы углеводородов расщепляются на более короткие газовые фракции С2 - С5, легкого дистиллятного топлива С8 - С10, дизельного топлива С15. Вновь образовавшиеся активные радикалы, свободные электроны вступают в химические реакции, взаимодействие с молекулами углеводородов, ускоренно расширяя область реакции в объеме потока. Радикалы, имеющие более сложное строение, распадаются на более простые, ускоряют реакционные процессы крекинга нефти.(3)

Анализами, проведенными после обработки мазута М-100 в интенсификаторе, при температуре подогрева 90°С, было установлено, что отобранные пробы топлива насыщены пузырьками газовых фракций, соединениями дизельного топлива, вязкость мазута, вследствие, осуществления фазовых превращений, уменьшилась со 120 сСт до 25 сСт т. е. в 4,5 раза, плотность на 3%, температура вспышки снизилась на 30%, дисперсность остаточных фракций топлива находится в пределах размерного ряда 1-5 мкм. Таким образом, следует констатировать, что в интенсификаторе технологических процессов нефтепереработки, крекинг сырья осуществляется ещё до его поступления в реакционные колонны, в которых затем остаётся произвести только окончательную корректировку свойств нефтепродуктов, распределить выделившиеся фракции по точкам отбора.(4)

Предварительная деструкция конгломератов тяжелых фракций позволяет резко замедлить в процессе крекинга коксообразование, снизить температуру застывания мазута, ускорить динамику расщепления тяжелых молекул углеводородов, увеличить до 90% содержание светлых газойлевых фракций, повысить качество нефтепродуктов, сократить время технологических процессов. Энергозатраты на реализацию технологических процессов нефтепереработки, с применением интенсификатора, значительно снижаются, в ректификационных колоннах уменьшается температура крекинга, одновременно резко улучшаются экологические характеристики окружающей среды. Оборудование устанавливается в технологическую схему процесса крекинга на участке подвода сырья в реакционную печь, а также на линии возврата мазута для его повторной обработки в вакуумной колонне. Геометрические размеры, производительность интенсификаторов - ГИТПН рассчитываются в зависимости от параметров состояния потока обрабатываемого сырья. На фото интенсификатор, производительность 250 м3/ч.

Применение разработанной технологии позволяет увеличить отбор светлых нефтепродуктов. Оборудование устанавливается в технологическую схему процесса крекинга на участках подвода сырья, на входе потока в вакуумную колонну, а также на линии возврата мазута для его повторной обработки в вакуумной колонне. Геометрические размеры, производительность интенсификаторов ГИТПН рассчитываются в зависимости, от объема, параметров состояния потока обрабатываемого сырья. Производительность одного комплекта интенсификатора, 250 м3/ч.

Принципиальная схема висбрекинга нефти с применением аппарата «ГИТПН»

Применение данной технологии позволит значительно сократить энергетические затраты на осуществление крекинга нефти, повысить качество нефтепродуктов, увеличить в готовой продукции содержание светлых фракций до 90%, сократить время технологических процессов переработки нефти, предотвратить интенсивное отложение кокса на поверхности змеевиков реакционных печей, катализаторов, в ёмкостях хранения нефтепродуктов.

Комплект универсального гидродинамического оборудования. После изготовления, оборудование используется для обработки различных жидких сред, может быть настроено, без изменения геометрических размеров, конструкционных решений, на работу в системах с производительностью в диапазоне от 50 до 250 м3/ч. Оборудование, обладает многофункциональными свойствами, применяется в производственных процессах в качестве:

ü  гомогенизаторов-смесителей, в процессах смешивания, компаундирования, модификации качественных характеристик топлива, в составе оборудования нефтебаз, на судах бункеровщиках;

ü  интенсификаторов, в технологических процессах нефтепереработки;

ü  гомогенизаторов- смесителей, в процессах приготовления водно-топливных эмульсий в составе топливных систем мощных дизельных двигателей, котельных агрегатов, газовых турбин;

ü  деаэраторов питательной воды котельных агрегатов;

ü  теплогенераторов в системах отопления, подогрева топлива в емкостях нефтебаз, в топливных системах энергетических установок;

ü  для обеззараживания питьевой воды, в системах водоснабжения, балластной воды в емкостях танкеров;

Многофункциональный топливный модуль МФТМ-07.

Применяется в системах топливоподготовки, в топливных системах судовых дизелей, газовых турбин. В многофункциональном топливном модуле реализуются процессы:

ü  гомогенизации высоковязкого судового топлива;

ü  сепарирования топлива /степень очистки топлива достигает 99%/;

ü  приготовления высокодисперсной водно-топливной эмульсии;

ü  приготовления стабильных топливных смесей;

ü  модификации качественных характеристик углеводородных топлив, осуществляемой в режиме фазовых переходов;

ü  дегазации топлива в топливных системах дизелей;

ü  подогрева топлива в системах, емкостях;

В гидродинамических устройствах топливного модуля, снабженных средствами управления параметрами состояния взаимодействующих потоков, интенсивностью высокочастотных колебаний, процесс обработки топлива выводится на режим фазовых переходов, с преобразованием тяжелых углеводородов в газовые, легкие, средне - дистиллятные фракции. Условия для осуществления фазовых переходов создаются в ходе разрушения конгломератов асфальтенов, расщепления высокомолекулярных углеводородов, с образованием активных радикалов, развитием термохимических реакций, ускоряющихся по мере повышения температуры, интенсификации высокочастотных колебаний, в турбулентном вихревом потоке. Вследствие конверсии исходного топлива, в газойлевые фракции, вязкость исходного топлива снижается в 4,5 раза, температура вспышки уменьшается на 30%, плотность топлива на 3-4%. (5)

Использование топлива с улучшенными характеристиками качества, повышает степень дисперсности капель топлива в камере сгорания дизелей, сокращает время подготовки топлива к воспламенению, ускоряет процесс сгорания. С переводом работы судовых дизелей на ВТЭ, приготовленную в топливном модуле МФТМ-07, расход топлива также как и при использовании установок УКДГ- 89М, сокращается на 12-15%, в котлоагрегатах на 8-10%. Нагарообразование на деталях цилиндро-поршневой группы дизелей, газовыпускном тракте, газовых турбинах, поверхностях нагрева котлоагрегатов практически прекращается. Значительно уменьшаются затраты, на обслуживание, ремонт энергетических установок, сокращаются вредные выбросы с уходящими газами.

Многофункциональный модуль содержит: многофункциональное гидродинамическое устройство, кавитационный смеситель, гидроструйный смеситель, автоматический регулятор для управления подачей смешиваемых компонентов, редукционно-дозирующее устройство, счетчики-расходомеры подачи топлива, воды, электронасосный агрегат НМШ5-25-4.0/10Б, контрольно-измерительные приборы, запорно-клапанную арматуру.

Многофункциональное гидродинамическое устройство типа МГУ-07. Применяется в качестве: гомогенизатора-смесителя, самоочищающегося многоступенчатого сепаратора топлива, термохимического реактора, дегазатора топлива. Топливо поступает в сепаратор после завершения процесса гомогенизации, с измельченной структурой конгломератов асфальтенов, смол, сгустков полимеров, тяжелых фракций нефтеостатков. Такая последовательность процесса дает возможность сократить на 3% потери горючей части топлива, уменьшить количество шлама в емкостях для сбора нефтеостатков.

Гомогенизатор-смеситель вихревой каскадный ГСВК-4. Гомогенизатор предназначен для модификации качественных характеристик высоковязкого топлива, приготовления стабильных топливных смесей, может применяться для обработки других жидкостей, приготовления суспензий, растворов.

Гомогенизатор снабжен средствами для регулирования интенсивности массообменных процессов в обрабатываемых жидкостях, в пределах изменения объема их подачи в рабочие органы, от 2 до 10 м3/ч, что позволяет получать конечные продукты с заданными характеристиками качества. Средства регулирования создают возможность концентрации и рационального распределения энергии в объеме гидродинамического потока, что обуславливает стабильность технологических процессов и соответственно качественных характеристик изготавливаемой продукции.

Гомогенизатор может быть использован в качестве эффективного подогревателя топлива и соответственно теплогенератора в системах отопления жилых, производственных помещений.

3. Технология обработки углеводородных топлив, приготовления водотопливных эмульсий в гидродинамических устройствах

Известен способ приготовления водотопливной эмульсии, включающий подогрев обводненного топлива, его сепарацию и гомогенизацию под действием центробежных сил в вихревом аппарате и последующую фильтрацию и стабилизацию путем ввода в полученное топливо подогретых депрессионных присадок. Топливная эмульсия, полученная этим способом, имеет недостаточно высокое качество, т.к. проходит одностадийную обработку в вихревом аппарате, и присадки в нее вводятся после основной обработки.

Известна двухстадийная обработка водотопливной эмульсии при ее приготовлении, включающая подачу воды и топлива на смешение и начальную обработку в насосе низкого давления с получением грубодисперсной эмульсии на его выходе; последующую подачу эмульсии на стадию окончательной обработки путем диспергации и гомогенизации за счет создания высокоскоростных потоков распыливаемой эмульсии в многосекционном насосе высокого давления, связанном с аккумулятором давления - диспергатором. Однако такая двухстадийная обработка не позволяет получить эмульсию с высокой степенью гомогенизации компонентов.

Наиболее близким к предлагаемому является способ приготовления микроэмульсий, в частности жидких топлив, таких как углеводородные топлива с дополнительными жидкостями, например водой. Способ включает стадии предварительной механической обработки дополнительной жидкости (воды) пропусканием ее через коридор высокого давления; подачи обработанной дополнительной жидкости и топливной жидкости на смешение и обработку в устройстве механической кавитации (сжатием - расширением) с получением предварительно обработанной промежуточной эмульсии; последующей гомогенизации промежуточной эмульсии в устройстве объединенного действия механической кавитации и электромагнитного воздействия, и окончательной гомогенизации полученной жидкости в устройстве механической кавитации до получения топливной эмульсии высокой степени диспергации и гомогенизации.

Такой способ отличается повышенной сложностью, т.к. требует сначала предварительной обработки дополнительной жидкости (воды), затем по меньшей мере трехстадийной кавитационной обработки смеси, одна из которых выполняется с использованием дополнительного электромагнитного воздействия. Кроме того, способ требует подачи на обработку исходных компонентов смеси только высокой чистоты, обеспечивающей требуемое качество полученных эмульсий.

Задачами предлагаемого способа являются:

ü  уменьшение стадий кавитационной обработки водотопливной эмульсии без ухудшения степени ее гомогенизации;

ü  возможность подачи на обработку компонентов любой степени чистоты;

ü  расширение спектра применения получаемых эмульсий за счет введения в процесс обработки целевых добавок и присадок;

ü  утилизация тепла получаемой горячей эмульсии направлением его на подогрев исходного жидкого топлива.

Поставленные задачи решаются тем, что при получении водотопливной эмульсии, включающем подачу жидкого топлива и дополнительной жидкости или воды на смешение и начальную обработку путем эмульгирования в статическом кавитационном устройстве с получением промежуточной эмульсии и окончательную ее гомогенизацию в гидродинамическом кавитационном устройстве, предлагается в качестве жидкого топлива использовать углеводородное сырье любой степени чистоты, после получения промежуточной эмульсии выполнять ее очистку и для окончательной гомогенизации в качестве гидродинамического кавитационного использовать многосекционное устройство, каждая секция которого имеет ротор и статор. При этом очистку промежуточной эмульсии выполняют путем ее циркуляции, сепарации и отделения воды и загрязняющих примесей. Перед окончательной обработкой очищенной промежуточной эмульсии в нее вводят дополнительные добавки и присадки целевого назначения. А также выполняют подогрев исходного жидкого топлива, подаваемого на смешение, за счет тепла получаемой горячей эмульсии через посредство теплообменника, установленного на выходе получаемой эмульсии.

Таким образом, предлагаемый способ приготовления высококачественных ультрадисперсных микроэмульсий включает только две стадии кавитационной обработки при использовании высокоэффективных кавитационных устройств специальных конструкций. Смешение и первичная обработка любого жидкого углеводородного сырья с промывочной жидкостью или водой производится в статическом кавитационном устройстве, и тонкая гомогенизация эмульсии выполняется многократно при прохождении через множество секций, каждая из которых имеет ротор и статор, при этом ротор каждой секции выполняет роль засасывающего насоса. Обеспечиваемая устройствами кавитационная обработка производит не только тонкую диспергацию и гомогенизацию компонентов жидкой среды, но и создает условия для выделения большого количества тепла , улучшающего обработку, а также интенсифицирует химические процессы, приводящие к активации частиц топлива, влияющей на его более длительную стабилизацию. Этим процессам также способствует очистка компонентов топлива после первичной обработки смеси в статическом кавитаторе.(1)

В предлагаемой конструкции устройства, обрабатываемая жидкость, подаваемая во входные патрубки с двух сторон, засасывается роторами-насосами за счет действия системы диффузор-конфузор и после обработки в одной паре секций поступает в каждую последующую пару секций до выхода из центральной секции, т. е. устройство гомогенизации само служит центробежным насосом и не требует дополнительных нагнетающих устройств. При прохождении жидкости через секции создается кинетическая энергия, которая в результате периодического перекрывания диффузоров роторов и конфузоров статоров создает кавитацию, преобразующую механическую энергию в несколько видов энергии: в тепловую с нагреванием среды, в энергию гидродинамического удара, производящую диспергацию и гомогенизацию среды, в энергию химического взаимодействия компонентов жидкой среды, производящую активацию частиц. Наличие множества диффузоров ротора и конфузоров статора в каждой секции позволяет значительно увеличить интенсивность обработки, и условие равенства числа диффузоров и конфузоров дает возможность создать импульс гидродинамических ударов и движения среды с высоким и крутым фронтом.(2)

Встречно-направленное расположение пар секций, с одной стороны, позволяет увеличить интенсивность обработки за счет встречно-направленного движения жидкости в центральной секции, а с другой стороны, компенсировать действие осевых сил встречно-направленных потоков и исключить осевое смещение вала и, следовательно, повысить надежность конструкции.

Изобретения поясняются прилагаемыми чертежами, где2 на фиг.1 показана технологическая схема процесса приготовления водотопливной эмульсии; на фиг. 2 - осевой разрез статического кавитационного устройства; на фиг.3 - торцевой разрез по А-А статического устройства; на фиг.4 - торцевой разрез по Б-Б статического устройства; на фиг.5 - осевой разрез гидродинамического кавитационного устройства с фрагментом бокового вида центральной секции; на фиг. 6 - торцевой разрез по А-А гидродинамического устройства. (3)

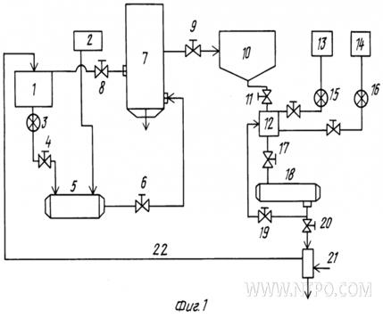
Технологическая схема процесса приготовления водотопливной эмульсии

Способ получения водотопливных эмульсий осуществляется с помощью установки (фиг. 1), включающей емкость 1 для жидкого топлива (углеводородного сырья, такого как нефть, солярка, бензин, мазута, отходы нефтепереработки и т. п. ) и емкость 2 для дополнительной жидкости или воды. Из емкости 1 загрязненное топливо через насос-дозатор 3 и кран 4 поступает на вход в статическое кавитационное устройство 5, в которое на другой вход поступает дополнительная (промывочная) жидкость или вода из емкости 2. В устройстве 5 осуществляется смешение поданных компонентов и их начальная кавитационная обработка - эмульгирование. Полученная эмульсия через кран 6 поступает в циркуляционную емкость 7, в которой происходит отделение очищенной эмульсии в циркуляционном потоке, при этом осаждающаяся часть неочищенной эмульсии из средней части емкости 7 поступает на повторную обработку, возвращаясь в емкость 1 через кран 8, а очищенная эмульсия из верхней части емкости 7 через кран 9 поступает в центробежный сепаратор 10, окончательно отделяющий примесные компоненты. Очищенная эмульсия через кран 11 поступает в смеситель 12, в который из емкостей 13 и 14 через дозаторы 15 и 16 соответственно подаются такие необходимые добавки и присадки, как стабилизаторы, антифризы и др. Из смесителя 12 промежуточная эмульсия с необходимыми добавками и присадками через кран 17 поступает на окончательную обработку - гомогенизацию в гидродинамическое многосекционное кавитационное устройство 18, в котором осуществляется смешение эмульсии с добавками, активация, нагрев до 50-60oС, диспеграция и усреднение всех компонентов и окончательная гомогенизация эмульсии.(4)

Необходимая степень гомогенизации и требуемое качество эмульсии достигается рециркуляцией обрабатываемой эмульсии в смесителе 12 через линию с краном 19. Готовая водотопливная эмульсия через кран 20 и теплообменник 21 поступает на выход готового продукта либо непосредственно на потребление, либо в накопительную емкость. При этом исходное композиционное сырье может подаваться в емкость 1 через теплообменник 21 (для предварительного подогрева) по отводящей линии 22.

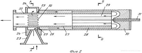
Осевой разрез статического кавитационного устройства

Статическое кавитационное устройство 5 (фиг.2) включает в себя: входной патрубок 23 для подачи жидкого топлива, цилиндрический корпус 24 вихревой камеры, помещенный в месте ввода входного патрубка 23, имеющий в одной торцевой стенке кольцевую прорезь 25, корпус 26 устройства в виде трубы, причем корпус 24 закреплен на торце корпуса 26; цилиндрическую перегородку 27, введенную в корпус 26 устройства соосно, внешний кавитатор 28, образованный пластинами, скрепленными звездообразно и вставленными в пространство между корпусом 26 устройства и цилиндрической перегородкой 27 с образованием каналов для прохода жидкой смеси в одном направлении; внутренний кавитатор 29, также образованный звездообразно скрепленными пластинами, вставленными внутрь и закрепленными на внутренней окружности (стенке) цилиндрической перегородки 27 с образованием каналов прохода жидкой смеси в обратном направлении; отражатель 30 потока с конусообразным выступом, установленный в торце корпуса 26 напротив кавитаторов. По оси отражателя 30 установлен вводной патрубок 31, служащий отдельным вводом для подачи дополнительной жидкости или воды на смешение с топливом и совместную кавитационную обработку. В части цилиндрической перегородки 27, выходящей в корпус вихревой камеры, выполнены по окружности циркуляционные отверстия 32, связывающие вихревую камеру с внутренним пространством цилиндрической перегородки 27. Выходной патрубок 33, являющийся частью цилиндрической перегородки 27, выступает наружу из корпуса 24 вихревой камеры. Направление потоков жидкой смеси в устройстве показано стрелками.(5)

Торцевой разрез по А-А статического устройства

Торцевой разрез по Б-Б статического устройства

Статическое кавитационное устройство работает следующим образом.

Под действием разрежения в центральной части отражателя, создаваемого вихревым потоком, через ввод - патрубок 31 вводится дополнительная жидкость или вода.

Отражатель 30 направляет поток всех компонентов во внутренний кавитатор 29, пройдя через каналы звездообразных пластин которого, смешанная, диспергированная и эмульгированная жидкость направляется в выходной патрубок 33, которым служит выступающая из корпуса 24 часть цилиндрической перегородки 27. При движении на выход часть жидкости перетекает через циркуляционные отверстия 32 в корпус 24 вихревой камеры, что дает возможность направлять ее на повторную обработку для более тщательной диспергации.(6)

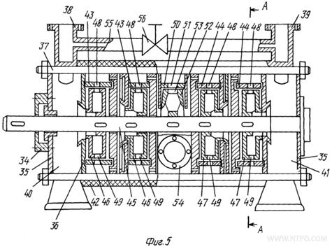
Осевой разрез гидродинамического кавитационного устройства с фрагментом бокового вида центральной секции

Устройство 18 гомогенизации эмульсии (фиг.5) содержит корпус 34, включающий торцевые крышки 35 и наружные элементы 36 секций, соединенных друг с другом (стянутых) болтами 37. Корпус 34 имеет два входных патрубка 38, 39 с двух сторон, один из которых (патрубок 38) соединен со свободной полостью, служащей входной камерой 40, а другой - (патрубок 39) соединен с входной камерой 41. Многосекционный корпус помещен в кожух 42, в котором размещены пары секций встречно-направленно к одной центральной секции, при этом встречно-направленных секций может быть несколько пар. Секции включают в себя наружные элементы 36, на которых установлены статоры 43 секций одной стороны и статоры 44 секций другой стороны устройства, при этом статоры установлены с возможностью радиального смещения (для самоцентрирования роторов и статоров). Внутри статоров 43 секций одной стороны размещены вращающиеся на валу 45 роторы 46 и внутри статоров 44 секций другой стороны размещены роторы 47. Статоры 43 секций одной стороны и 44 - другой стороны имеют конфузоры 48, а роторы 46 - одной стороны и 44 - другой стороны имеют диффузоры 49, причем число диффузоров роторов равно числу конфузоров статоров. Центральная секция имеет статор 50 с конфузором 51 и с двухсторонним входом ротор 52 с диффузором 53. Сбоку центральной секции из нее через отверстие в корпусе 34 и кожух 42 выведен боковой выходной патрубок 54, служащий выходным патрубком устройства 18 гомогенизации. Входные патрубки 38 и 39 соединены трубопроводом 55, имеющим регулировочный кран 56.(7)

Торцевой разрез по А-А гидродинамического устройства

Гидродинамическое устройство гомогенизации эмульсии работает следующим образом.

Обрабатываемая эмульсия подается в один из входных патрубков и поступает через входные патрубки 38 и 39 в свободные полости - входные камеры 40 и 41 с двух сторон устройства, где приобретает вращательное движение и засасывается центробежными колесами - роторами 46 и 47, ускоряется и после кавитационной обработки в системах диффузоров 49 роторов и конфузоров 48 статоров встречно-направленных секций подается во входы с двух сторон центрального ротора 52, в котором эмульсия, в очередной раз ускоряясь, проходит через систему диффузор 53 - конфузор 51 центральной секции и поступает в боковой выходной патрубок 54 устройства. Кавитационная обработка в одной или нескольких (для усиления обработки) встречно-направленных парах секций и в центральной секции производит тонкую гомогенизацию топливной эмульсии, нагрев до 50-60oС и активацию, обеспечивающую длительное хранение эмульсии без расслоения.(8)

Например, предлагаемым способом с помощью описанных устройств была получена эмульсия летнего дизельного топлива с содержанием воды 24% и с эмульгатором ОП-7 (концентрация 0,2 вес.%), имеющая следующие свойства:

ü  тип эмульсий - прямой;

ü  плотность, г/см3 - 0,875;

ü  поверхностное натяжение, эрг/см2 - 6;

ü  размер капель, мкм - 1,02,570%;

ü  устойчивость, ч (по ГОСТ 6243-64) - 240 (расслоения не обнаружено); - 420 (расслоение 5%);

ü  температурная устойчивость, oС - до 95oС;

ü  вязкость эмульсии - 8-12.

ü  Полученная эмульсия позволяет сократить расход топлива до 15% при применении в качестве эмульгатора мазута М 100 (5-10%).

Заключение

Для решения стратегических задач по развитию нефтепереработки России необходимо усиление роли государства, прежде всего в части жесткого контроля за реализацией основных положений техрегламента на нефтепродукты; совершенствование таможенного и налогового регулирования нефтепереработки с целью стимулирования производства нефтепродуктов с высокими потребительскими свойствами и углубления переработки нефти; а также обеспечение производства высокотехнологичной продукцией за счет внедрения новых инновационно-направленных российских разработок.

Список литературы

1.Пат. 2202406. Способ приготовления водотопливной эмульсии. Баев Владимир Сергеевич, Нецветаев Александр Глебович. - Опубл. 12.01.2001; Бюл. № 20.

2. <http://www.mngz.ru/russia-world-sensation/12892-osnovnye-problemy-neftepererabotki-vzglyad-neftyanikov.html>

. <http://vortexfuel.com.ua/cracking.html>

. Пат. 93047039 А МПК 6 F17D1/16 Способ уменьшения вязкости нефтей и нефтепродуктов // Петросян Ф.Н., Друян Ю.И., Потраков

Похожие работы на - Гидродинамическое оборудование для интенсификации технологических процессов нефтепереработки

 

Не нашли материал для своей работы?
Поможем написать уникальную работу
Без плагиата!
Без нейросетей!