Оптичні характеристики фотоелектричних перетворювачів на основі кремнію

  • Вид работы:
    Курсовая работа (т)
  • Предмет:
    Физика
  • Язык:
    Украинский
    ,
    Формат файла:
    MS Word
    2,4 Мб
  • Опубликовано:
    2015-11-17
Вы можете узнать стоимость помощи в написании студенческой работы.
Помощь в написании работы, которую точно примут!

Оптичні характеристики фотоелектричних перетворювачів на основі кремнію

Херсонський національний технічний університет

Кафедра енергетики, електротехніки і фізики

 

 

 

 

 








КУРСОВА РОБОТА

з дисципліни «Фізика і технологія ФЕП»

на тему: Оптичні характеристики ФЕП на основі кремнію

Студента 3 курсу 3НД групи

напряму підготовки 0507

спеціальності 6.050701

Пікулін В.В.

Керівник доцент кафедри енергетики та електротехніки

к.т.н. Курак В.В.

Національна шкала

м. Херсон - 2015 рік

ВСТУП


Відомо, що в даний час однією з ключових економічних проблем української держави є велика енергоємність промисловості і залежність від експортера енергоресурсів.

Намагатися вирішити цю проблему тільки за допомогою впровадження технологій, що сприяють меншому споживанню енергії, - це шлях в нікуди. Оскільки природні запаси нафти і газу виснажуються, а ціни збільшуються і будуть тільки збільшуватися, подорожчання енергоресурсів буде постійно призводити до підвищення цін на різні продукти, послуги і т. д. - що не може не позначатися як на купівельній спроможності громадян України та їх рівні життя, так і на конкурентоздатності товарів українського виробництва. Всі успіхи, які наша держава буде досягати за рахунок енергозберігаючих технологій, будуть нещадно зводитися до мінімуму зростанням цін на природний газ і нафту. Тому, крім енергозберігаючої політики Україні життєво необхідно розвивати власні енергоресурси.

В якості такого енергоресурсу доцільно розглядати енергію сонця. Наприклад, використання лише 0,0125% енергії сонця, що надходить на Землю, могло б забезпечити всі сучасні потреби людства в енергії. Крім того, енергія сонця є поновлюваним і екологічно чистим джерелом енергії.

Одним з перспективних напрямків використання сонячної енергії є її безпосереднє перетворення в електрику за допомогою напівпровідникових фотоелектричних перетворювачів (ФЕП). У даний час і в межах найближчого майбутнього основним матеріалом для виробництва ФЕП був, є і буде кремній.

Вартість ФЕП на основі кремнію потужністю в 1 кВт на сьогоднішній день складає в середньому 4000 доларів. За такої високої вартості ФЕП в країнах, де розвивається отримання електричної енергії з енергії сонця за допомогою кремнієвих ФЕП, передбачені різні програми по відшкодуванню частини витрат особам та організаціям, які впроваджують фотовольтаїчної технологію. Наприклад в США в рамках програми із субсидіювання фотовольтаїки в штаті Каліфорнії в 2001 році розмір таких компенсацій становив від 2,7 до 3 доларів за кожен Вт потужності.

Для того щоб в Україні і у всьому світі почалося масштабне використання ФЕП на основі кремнію - необхідно зробити їх вартість економічно привабливою. Цього на даний момент можна добитися не тільки шляхом субсидування фотовольтаїки, але також і впровадженням нових технологій, спрямованих на збільшення ККД ФЕП на основі кремнію, який на даний момент складає близько 15%.

Одним з можливих шляхів збільшення ККД ФЕП на основі кремнію є зменшення коефіцієнта відбиття фотоприймальної поверхні. При падінні сонячних променів на поверхню ФЕП частина з них просто відбивається, а разом з ними і "підходяща" для перетворення в електричну енергію частина сонячного випромінювання. Зі зменшенням коефіцієнта відбиття збільшиться і кількість поглинених ФЕП фотоактивних фотонів, а отже, і кількість електричної енергії, що виробляється сонячним елементом. Для зменшення коефіцієнта відбиття в роботі розглядаються основні оптичні втрати та методи їх усунення.

РОЗДІЛ 1. ОПТИЧНІ ХАРАКТЕРИСТИКИ ФЕП НА ОСНОВІ КРЕМНІЮ

кремнієвий відбиття фотометр коефіцієнт

1.1 Основні принципи роботи ФЕП

Найпростіша конструкція фотоелектричного перетворювача(ФЕП) - приладу для перетворення енергії сонячного випромінювання в електричну - показана на рис. 1.1. На малій глибині від поверхні кремнієвої пластини р сформований р-n-перехід з тонким металевим контактом. На тильну сторону пластини нанесено суцільний металевий контакт. Коли ФЕП освітлюється, поглинені фотони генерують нерівноважні електрон-діркові пари. Електрони, що генеруються в р-шарі поблизу р-n-переходу, підходять до р-n-переходу та існуючим в ньому електричним полем виносяться в n-область. Аналогічно і надлишкові дірки, створені в n-шарі, частково переносяться в р-шар (рис. 1.2.а). У результаті n-шар набуває додаткового негативного заряду, а р- шар - позитивного.

Рис. 1.1 Конструкція сонячного елемента

Знижується первісна контактна різниця потенціалів між р- та n-шарами напівпровідника, і в зовнішньому ланцюзі з'являється напруга (рис. 1.2.б). Негативному полюсу джерела струму відповідає n-шар, а р-шару - позитивному.

Для ефективної роботи сонячних елементів необхідне дотримання ряду умов:

·    оптичний коефіцієнт поглинання активного шару напівпровідника повинен бути достатньо великим, щоб забезпечити поглинання значної частини енергії сонячного світла в межах товщини шару;

·        генеруються при освітленні електрони і дірки мають ефективно збиратися на контактних електродах з обох сторін активного шару;

·        сонячний елемент повинен володіти значною висотою бар'єру в напівпровідниковому переході;

·        повний опір, включений послідовно з сонячним елементом (виключаючи опір навантаження), повинен бути малим для того, щоб зменшити втрати потужності (тепло джоуля) в процесі роботи;

·        структура тонкої плівки повинна бути однорідною по всій активній області сонячного елемента, щоб виключити закорочування і вплив шунтуючих опорів на характеристики елементу[8].

Рис. 1.2 Зонна модель розімкнутого p-n-переходу: а)- в початковий момент освітлення; б) - зміна зонної моделі під дією постійного освітлення і виникнення фото ЕРС

1.2 Види оптичних втрат фотоелектричних перетворювачів


Причинами оптичних втрат в сонячних елементах є відбиття частини сонячного випромінювання від поверхні ФЕП і затінення контактною сіткою. Зниження коефіцієнта відбиття R досягається нанесенням на поверхню ФЕП просвітлюючих покриттів у вигляді тонких плівок, що забезпечують інтерференцію і взаємне гасіння світлових хвиль, відбитих від поверхні плівки і від кордону плівка-напівпровідник. Інтегральний коефіцієнт відбиття, таким чином, може бути зменшений від R≈35% для непросвітленої поверхні до R≈10% при використанні одношарових просвітлюючих покриттів. Створення текстурованої фронтальної поверхні, освіченою, наприклад, регулярно розташованими пірамідами, забезпечує зниження коефіцієнта відбиття до ~20% для непросвітленої поверхні і до декількох відсотків при використанні одношарових покриттів .

Для гладкої поверхні ФЕП (непросвітленої або просвітленої) коефіцієнт відбиття майже не змінюється при збільшенні кута падіння світлових променів до 30-40°, проте потім швидко збільшується, прагнучи до одиниці при кутах падіння, близьких до 90°. При використанні концентраторів випромінювання, що створюють в фокальній площині зображення Сонця (лінзи, сферичні дзеркала), кути падіння променів, як правило, не перевершують 30-40°. Однак при використанні деяких типів концентраторів (фокони, фокліни) кут падіння частини променів може досягати значень, близьких до 90°. Текстурування як поверхні напівпровідника, так і поверхні захисного скла дозволяє значно знизити кутову залежність коефіцієнта відбиття і, отже, зменшити інтегральний коефіцієнт відбиття концентрованого сонячного випромінювання.

Другу частину оптичних втрат в ФЕП становлять втрати на затінення світлочутливої поверхні електричним контактом до освітлюваної області р-n-переходу. Для зниження омічних втрат контакт зазвичай виконується у вигляді металевої сітки з кроком від декількох міліметрів (для перетворення слабоконцентрованного випромінювання) до 0.1-0.3 мм (для перетворення сильноконцентрованного випромінювання). При цьому втрати на затінення можуть становити від декількох відсотків до 10-20%.

Для зниження втрат розглянутого типу були розроблені спеціальні конструкції перетворювачів концентрованого сонячного випромінювання. У ФЕП, показаному на рис. 1.4.г, контакти обох полярностей виведені на тильну поверхню. В іншому варіанті (рис. 1.4.а/1.6.а) поверхня ФЕП виконана рельєфною і контактні смужки розташовуються на площинах, паралельних ходу світлових променів, що значно знижує коефіцієнт затінення контактами. У третьому варіанті (рис. 1.3) контакти на рельєфній поверхні розташовуються таким чином, щоб відбиті від них промені потрапляли на фотоактивних поверхню ФЕП.

У конструкції ФЕП, зображеного на рис. 1.3, для зниження втрат на відбиття світла від контактів сонячний елемент виконаний з гофрованої фронтальної поверхні при глибині рельєфу 5мкм. Контактні смуги мають ширину, порівнянну з глибиною рельєфу, що при розташуванні контактних смуг під кутом до напрямку гофрування забезпечує попадання частини світла в фотоактивних (вільну від контактів) область структури після відбиття цього світла від контактних смуг. Сонячні фотоелементи даного типу виготовлялися на основі структури n+-р-р+-типу. В якості вихідного матеріалу використовувався легований бором кремній з низьким питомим опором (0.1-0.2 Ом·см) і високим часом життя неосновних носіїв струму. В умовах опромінення сонячним світлом з повітряної масою AM 1.5 при 28°С і ступеня концентрування Kc =70-100 отримано ККД, рівний ~ 25%. При прямій сонячній інсоляції (Kc =1) ККД дорівнює 22%[4].

Рис. 1.3 Схематичне зображення n+-р-р+-кремнієвого ФЕП з гофрірованною фронтальною поверхнею: 1 - контактна смуга на рельєфній поверхні; 2 - «покриття, що просвітлює; 3 - тильний контакт

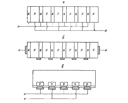
Рис. 1.4. Схематичне зображення різних конструкцій ФЕП з вертикальними р-n - переходами (а-в) і з гребінчастим р+ та n+ - областями, винесеними на тильну поверхню, і текстурованою фронтальною поверхнею (г).

Рис. 1.5 Схема комутації вертикальних (а, б) та планарних (в) багатоперехідних ФЕП

Рис. 1.6 Конструкції багатоперехідних ФЕП: а) - з витравленими вертикальними канавками; б) - з канавками V-подібної форми

На рис. 1.4. показані різні варіанти багатоперехідних кремнієвих ФЕП: гібридна конструкція - поєднання планарного і вертикального ФЕП (а); вертикальний ФЕП із загальною р-базою (б); ФЕП з р-областями, розділеними вертикальними n+-областями (в); багатоперехідний ФЕП з гребінчастим n+- та р+-областями, винесеними на тильну поверхню, і текстурованою фронтальною поверхнею (г)[4].

Однак невирішеною проблемою є оптичні втрати, пов'язані з втратами на затемнення фронтальної поверхні та втратами на виведення не фотоактивного випромінювання з тильного боку, зумовлені наявністю тильного контакту. Оптимальним варіантом рішення цієї проблеми є використання ФЕП з вертикальним розміщенням p-n- переходів, тобто торцевий ФЕП , який не містить контактної rратки на фронтальній та тильній поверхні. Крім того, перевагою торцевих ФЕП є їхня високовольтність, тобто вони генерують високу напругу та малий струм при тій самій вихідній потужності, що й планарні. Це дає змогу зменшити втрати електричної потужності на послідовному опорі структури. Крім відсутності затемнення контактною rраткою, ФЕП торцевої конструкції є прозорим у довгохвильовій ділянці спектра за краєм основної смуги поглинання, що зменшує нагрівання структури в процесі експлуатації і дає змогу створити складові каскадних сонячних елементів.

Незважаючи на переваги порівняно з планарними аналогами, торцеві ФЕП не отримали широкого застосування і є не досить вивченими[2].

Можливі схеми сполуки мікроелементів в багатоперехідних фотоперетворювачах показані на рис. 1.5 - паралельне (а, в) і послідовне (б ) з'єднання. Ширина кожного елемента у вертикальних ФЕП робиться меншої довжини дифузійного зміщення ННЗ, що забезпечує досягнення високого коефіцієнта збирання. У довгохвильовій області спектра збільшення коефіцієнта збирання ННЗ забезпечується за рахунок зменшення відстані, яку необхідно пройти носіям до їх поділу вертикальними р-n-переходами. У короткохвильовій області збирання носіїв покращується за рахунок збільшення часу життя носіїв у приповерхневій області, яка, як і об'ємний матеріал, може бути виконана з кремнію з високими значеннями τ, а також за рахунок можливості зниження швидкості поверхневої рекомбінації[4].

1.3 Методи зменшення коефіцієнта відбиття від поверхні кремнієвого ФЕП

Існує декілька способів зменшення оптичних втрат:

·   зменшення площі лицьових контактів (хоча це може призвести до збільшення послідовного опору);

·        нанесення антивідбиваючих покриттів на лицьову поверхню

·        текстурування поверхні

·        ФЕП можна зробити більш товстим, щоб збільшити поглинання (хоча зазвичай світло, поглинувши на відстані більше однієї дифузійної довжини не внесе вклад у струм, так як носії рекомбінують до того, як бути розділеними)

·        збільшення оптичного шляху в ФЕП шляхом комбінування текстурування поверхні зі світловими пастками [5].

1.3.1 Текстурування поверхні кремніефих ФЕП

Домогтися плавної зміни показника заломлення можна за допомогою текстурування поверхні, тобто створення на ній масиву з конусоподібних розсіювачів або двовимірних канавок.

Текстурована поверхня володіє антивідбиваючими властивостями також і в короткохвильовій межі, при довжинах хвиль набагато менших характерного розміру текстури. Це пов'язано з тим, що промені, спочатку відбившись від текстурованої поверхні, мають шанс проникнути в середовище при подальших перевідбиттях. При цьому текстурування поверхні створює умови, за яких минулий промінь може відхилитися від нормалі, що веде до ефекту заплутування минулого світла (англ. - light trapping), використовуваному, наприклад, в сонячних елементах.

Оптичні властивості текстурованих поверхонь в короткохвильовій межі можуть бути описані наближенням геометричної оптики. Для чисельного моделювання в цьому наближенні широко використовується метод трасування променів. Цей метод полягає в запуску безлічі геометричних променів і відстеження взаємодій кожного з них із заданими поверхнями.

Рис. 1.7 Принцип роботи тектурованої поверхні

Основою пірамідок є трикутники, шестикутники, квадрати і круги (в цьому випадку пірамідка вироджується в конус). Відстань між бічною стороною основних пірамідки і її центром є L. Пірамідки щільно упаковані в квадратну або трикутну решітки з періодом.

Рис. 1.8 Види текстурованої поверхні

Будемо окремо виділяти два випадки: випадок повного замощення підкладки підставами пірамідок (це відповідає щільній квадратної чи трикутної упаковки пірамідок з квадратними або трикутними підставами відповідно) і випадок неповного замощення (це відповідає конуса, оскільки між їх круглими підставами завжди є зазор). Наглядний приклад трикутної текстурованої поверхні вказаний в додакту (рис. А.1). Приклади квадратного та конусного текстурування (рис. А.2) [6].

1.3.2 Антивідбиваюче покриття


Рис. 1.9 Принцип роботи антивідбиваючого покриття

Альтернативою багатошаровим покриттям можуть служити шари з безперервно мінливим коефіцієнтом заломлення. Застосування таких покриттів дозволяє досягти низьких значень коефіцієнта відбиття в широкому спектральному діапазоні. Однак і у цього методу є свої недоліки, серед яких невідповідність температурних коефіцієнтів розширення одержуваних шарів і адгезія [6].

.3.3 Ламбертів задній відбивач

Це особливий вид заднього відбивача, світло від якого відбивається у випадковому напрямку. Висока відбивна здатність задньої поверхні ФЕП зменшує поглинання на задніх контактах елемента, дозволяючи світлу відбиватися назад в елемент і, можливо, поглинутися там. Випадковість напрямку відображення призводить до повного внутрішнього відображення значної частини фотонів. Світло, що досягло поверхні під кутом, більшим, ніж кут повного внутрішнього віддзеркалення, відбивається назад до задньої поверхні. Таким чином можна значно збільшити поглинання світла, так як довжина оптичного шляху збільшується до 4n2, де n - показник заломлення напівпровідника. Ламбертів задній відбивач показаний на (рис. 1.10) [5].

Рис. 1.10 Схема роботи Ламбертового відбивача

Світлова пастка, створена за допомогою випадкового відображення від задньої поверхні. Світло, яке відбилося під кутом меншим кута повного внутрішнього відображення, покидає ФЕП. У реальних пристроях лицьова поверхня також текстурується, наприклад, пірамідами, як говорилося вище[7].

1.3.4 Зменшення товшини матеріалу

Зменшення відбиття важливий крок на шляху досягнення більш високої ефективності. Але важливо так само і поглинути все світло в ФЕП. Кількість поглиненого світла залежить від довжини оптичного шляху і коефіцієнта поглинання.

У кремнії товщиною більше 10мм поглинається практично все світло з енергією більше ширини забороненої зони. У матеріалі товщиною 30мкм поглинається тільки 30% всього світла. Втрати відбуваються в довгохвильовій частині спектру: червоне і померанчове світло[5].

1.4 Спектральні характеристики кремнієвих ФЕП


На рис. 1.11 представлена ​​розрахункова спектральна залежність коефіцієнта збирання кремнієвого ФЕП (1) та показаний внесок у фотовідповідь різних частин структури: фронтального шару (2), області об'ємного заряду (3) і базової області (4). Параметри структури, використані при розрахунку: питомий опір базової області р-типу ρ = 1 Ом·см, швидкість поверхневої рекомбінації s =104 см·с -1, товщина фронтального шару ω = 0.5 мкм, вбудовані поля відсутні. Основний внесок фронтального шару спостерігається в спектральному інтервалі λ<0.5 мкм, незначний внесок області об'ємного заряду - при λ=0.4-0.6 мкм і найбільший внесок бази - в інтервалі λ=0.5-1.1 мкм. При цьому внесок бази перевершує за абсолютним значенням внесок решти частин структури.

Представлений на рис. 1.11 сумарний спектр фотовідповіді (крива 1) характеризується високим значенням Q в короткохвильовій області внаслідок низького значення швидкості поверхневої рекомбінації (s = 104 см·с-1) і малої товщини фронтального шару (ω = 0.5 мкм), прийнятих в розрахунку.

Рис. 1.11 Розрахункові спектральні залежності коефіцієнта збирання (1) кремнієвих ФЕП і вкладу в фотовідповідь фронтального шару (2), області об'ємного заряду (3) і бази (4)

Експериментальні результати, отримані в розроблених кремнієвих ФЕП, що володіють високою чутливістю як у короткохвильовій області («фіолетові» ФЕП), так і в довгохвильовій області сонячного спектра, знаходяться у відповідності з розрахунками. В якості прикладу на рис. 1.12. наведені експериментальні спектральні залежності Q для трьох кремнієвих ФЕП. «Звичайний» елемент(крива 1) мав глибину залягання р-n-переходу ω= 0.4 мкм і поверхневу концентрацію донорів ND=5·1019 см-3. Зменшення товщини фронтального шару до ω = 0.2 мкм з одночасним зниженням концентрації донорів до ND=5·1018 см-3 було досягнуте істотне збільшення фоточутливості в короткохвильовій (λ < 0.6 мкм) області спектра (крива 2). Такий результат пояснюється зниженням швидкості поверхневої рекомбінації і підвищенням часу життя неосновних носіїв поблизу лицьової поверхні, що полегшує процес збирання «короткохвильових» носіїв заряду при відносно близькому розташуванні р-n-перехода до поверхні. Однак у такій структурі через зростання питомого опору і зменшення товщини фронтального шару збільшується опір розтікання, що ускладнює реалізацію цього підходу для створення ФЕП, призначених для перетворення концентрованого сонячного випромінювання[3].

Рис. 1.12 Експериментальні залежності коефіцієнта збирання кремнієвих ФЕП

1.5 Відображення в інфрачервоній області спектру ФЕП на основі кремнію


Досліджений спектральний хід показників поглинання та заломлення в інфрачервоній області спектра. З отриманих даних видно, що показник заломлення і поглинання при розрахунку коефіцієнта відбиття можна знехтувати аж до довжин хвиль близько 15мкм.

Зі збільшенням довжини хвилі зростає поляризованість і зменшується діелектрична постійна, і при достатньо більшому значенні поляризуємості діелектрична постійна наближається до нуля. Частота при якій настає це явище, отримала назву власної частоти плазмових коливань[4].

Рис. 1.13 Спектральні залежності коефіцієнта відбиття кремнію легування сурмою (а), миш'яком (б) і фосфором (в), при різній концентрації вільних носіїв заряду електронів

Спектральні залежності коефіцієнта відбиття кремнію легування сурмою (а), миш'яком (б) і фосфором (в), при різній концентрації вільних носіїв заряду електронів. Спекральние залежності коефіцієнта відбиття кремнію, легування сурмою, миш'яком і фосфором представлені на рис.1.13, де добре видно положення мінімуму плазмового резонансу на спектральних кривих відбиття від поверхні кремнію і залежність довжини хвилі мінімального відбиття від концентрації вільних носіїв[9].

Висновок та постановка задачі


Ефективність фотоелектричних перетворювачів (ФЕП) світлової енергії у електричну лімітована електричними та оптичними втратами. Оптичні втрати - це втрати випромінювання, які пов’язані з відбиванням від лицьової поверхні або не поглинанням в ФЕП, і як наслідок, таке випромінювання не бере участь у створенні електронно-діркових пар. Основні оптичні втрати пов'язані з ефектами відбивання світла, поглинання, пропускання (з урахуванням контактної сітки).

Оптичні втрати можна зменшити за допомогою:

·        зменшення площі лицьових контактів

·        нанесення антивідбиваючих покриттів на лицьову поверхню

·        текстурування поверхні

·        ФЕП можна зробити більш товстим, щоб збільшити поглинання;

·        збільшення оптичного шляху в ФЕП шляхом комбінування текстурування поверхні зі світловими пастками.

Всі ці методи мають як позитивні так і негативні наслідки. Коєфіціент відбиття також істотно залежить від довжини падаючого на ФЕП світла, концентрації вільних носіїв заряду електронів та спектральних характеристик. Вся зібрана інформація вказує на важливість досліджуваної теми та необхідності застосовування отриманих знань на практиці.

Мета курсової роботи полягає в експериментальному дослідженні спектральної залежності коефіцієнта відбиття поверхонь пластин кремнію з різним станом обробки та визначенні найбільш ефективного способу зменшення втрат на відбивання випромінювання від фотоприймальної поверхні фотоелектричних перетворювачів.

РОЗДІЛ 2. МЕТОДИКА ЕКСПЕРИМЕНТУ

2.1 Характеристика фотометра відбиття ФО-1


Знання величини оптичних коефіцієнтів: відбиття (R), пропускання (τ) та поглинання (α) різних матеріалів відіграють виключно важливу роль у багатьох областях науки та техніки, а також у світлотехніці при проектуванні освітлювальних установок, світлових приладів. Тому практичні виміри цих коефіцієнтів досить поширені. Для їхнього проведення використовуються серійні прилади: фотометри. Найбільш поширеного застосування для виміру оптичних коефіцієнтів твердих зразків набув фотометр відбиття ФО-1, загальний вигляд якого наведено на рис. 2.1.

Рис. 2.1 Загальний вигляд фотометра ФО-1 1 - тумблер МЕРЕЖА; 2 - сигнальна лампочка включення / виключення; 3 - електронний блок; 4 - ручка ШТОРКА для перекритого світлового потоку; 5 - оптичний блок; 6 - цифровий вольтметр; 7 - ручка ДІАФРАГМА для перемикання трьох змінних діафрагм; 8 - висувна касета для зразків на пропускання; 9 - оглядове вікно для спостереження положень зразків; 10 - ручка перемикання дзеркала на три положення; 11 - столик для відображають зразків; 12 - ручка ЕКРАН для перемикання фотоприймачів від прямого попадання променів; 13 - каркас; 14 ручка СВІТОФІЛЬТРИ для перемикання диска на дванадцять положень; 15 - ручка ПЛАВНО для плавного вимірювання чутливості вимірювальної схеми; 16 - перемикач КАЛІБРУВАННЯ-ГРУБО для ступінчатою регулювання вимірювальної схеми; 17 - ручка УСТАНОВКА «0» для компенсації паразитного оптичного фону; 18 - тумблер МОДУЛЯТОР для включення модулятора

Таблиця 2.1 Технічні характеристики ФО-1

Діапазон довжин хвиль, нм

364-927

Діапазон вимірювань коефіцієнтів відбиття і пропускання, %

0-100

Коефіцієнт пропускання, %

1,0

Коефіцієнт відбиття, %

3,0

Споживана потужність, Вт

100

Габарити, мм

585х475х425

Вага, кг

33


В основу виміру коефіцієнта відбиття на фотометрі ФО-1 абсолютним методом покладений метод Тейлора. Він полягає у наступному: пучок світла визначеної довжини хвилі направляється через отвір на стінку інтегруючої сфери, де після багатократних відбиттів створюється визначена освітленість Е0. Потім цей же пучок світла спрямовується на поверхню вимірювального зразка, який щільно притиснутий до робочого отвору в сфері. Відбитий від зразка світловий потік падає на внутрішню поверхню сфери і створює освітленість Е1.

Відношення освітленості Е1 до Е0 і дасть нам абсолютний коефіцієнт відбиття поверхні вимірювального зразка: R = Е1 / Е0.

Оптична схема, що пояснює принцип вимірювання вищезазначеним способом наведена на рис. 2.2.

Рис. 2.2 - Оптична схема фотометра ФО-1

Випромінювання від джерела світла 1 попадає на конденсор 2, який переносить зображення джерела випромінювання у площину польової діафрагми 3. Польова діафрагма усуває вплив відблисків колби джерела світла. Потім світловий потік проходить змінну діафрагму 4, зображення якої за допомогою об’єктива 5 та дзеркала 10 переноситься у площину вимірювального зразка 11. Залежно від розміру зразка діаметр світлової плями в площині вимірювального зразка може змінюватись і мати значення 30, 18, 12 мм.

Випромінювання, яке розсіялося у сфері, надходить на приймачі випромінювання 15,16 через віконця закриті молочними стеклами 14, 17.

У випадку виміру коефіцієнта пропущення зразків, які дифузно розсіюють світло 7, вводять екран 9, що запобігає можливості надходження на приймач випромінювання прямої складової потоку розсіяного безпосередньо зразками.

Для виділення вузької ділянки спектру при вимірюванні спектральних оптичних коефіцієнтів вводяться по черзі світлофільтри 6. Дзеркало 13 встановлене для спостереження за положенням зразка. Дзеркало 10 розташоване всередині сфери і може обертатися навколо своєї осі та займати три фіксованих положення: “калібрування 1”, “калібрування 2”, ”вимірювання” [1].

2.2 Підготовка фотометра ФО-1 до роботи:


1.      Включити клавіші 1:10 нижнього ряду та 1:20 верхнього ряду “Калібрування - грубо” для ступеневого регулювання вимірювальної системи (рис 10).

2.      Включити тумблер “Мережа”, при цьому повинна загорітися сигнальна лампа.

.        Включити тумблер “Модулятор”. Витримати прилад у такому стані не менше 20 хв.

2.3 Вимір коефіцієнта відбиття абсолютним методом:


Установити:

·    Ручку “Шторка” в положення “Відкрито”.

·        Ручку “Екран” в положення “Виведений”.

·        Зняти з предметного столика кришку, що закриває світлопастку.

·        Ручку “Дзеркало” в положення “Вимір”.

·        Ручкою “Установка 0” встановити значення (00.0±0.1) за цифровим вольтметром.

·        Ручку “Дзеркало” переключити в положення “Калібрування 1”.

·        Розмістити вимірювальний зразок на предметному столику 11.

·        Ручку “Дзеркало” в положення “Вимір”.

·        Ручкою “Установка 0” знов установити (00.0±0.1) за цифровим вольтметром.

·        Ручкою переключення “Дзеркала” встановити положення “Калібрування-1” і зняти відлік.

Одержаний відлік відповідає значенню інтегрального коефіцієнта відбиття вимірювального зразка у відсотках. Вимір проводити не менше трьох разів, провести аналіз отриманих результатів [1].

2.4 Вимір спектральних коефіцієнтів відбиття


Проводиться за допомогою набору спеціальних світлофільтрів 14, які є складовою частиною приладу, виділяють вузьку область спектра випромінювання і знімають показання цифрового вольтметра для цих значень довжини хвилі.

Підготовка приладу до виміру спектральних оптичних коефіцієнтів для різних значень довжини хвилі кожен раз повторюється [1].

Висновок


Вимір коефіцієнта відбиття (R) кремнію відбувається за допомогою фотометру відбиття ФО-1, котрий працює в області світлового спектру від 364нм до 927нм. Експеримент виконується за абсолютним методом в основу якого покладений метод Тейлора. При проведенні експерименту дотримуватися правил експлуатації та алгоритму дій. При завершенні експерименту за отриманими даними побудувати графіки залежності коефіцієнта відбиття від довжини падаючиго світла.

РОЗДІЛ 3. РЕЗУЛЬТАТИ ТА АНАЛІЗ

 

.1 Результати експерименту


Експеримент проводився на 7 різних зразках кремнієвих платин:

·        КДБ-25 (шліф./ полір.)

·        КДБ-20 (шліф./ полір.)

·        КДБ-1.5 (текстур.)

·        КДБ-0.2 (шліф./ полір.)

·        КЭМ 0.7 (полір.)

·        КЭМ 0,003 (шліф.)

·        Оксид кремнію/кремній (SiO2/Si)

де: шліф.-шліфована поверхня кремнієвої пластини;

полір.- полірована поверхня кремнієвої пластини;

текстур.- текстурована поверхня кремнієвої пластини;

КДБ-N - кремній (індекс К), отриманий методом Чохральського, діркового типу електропровідності (індекс Д), легований бором (індекс Б), N- питомий опір, Ом.см;

КЕМ N - кремній(індекс К), одержаний методом Чохральського, електронного типу електропровідності (індекс Е), ​​легований миш’яком (індекс М), N- питомий опір, Ом.см

Під час досліду замірявся коефіціент відбиття (R) абсолютним методом для кожної з представлених видів кремнієвих пластин. Проводилися виміри R на довжинах хвиль випромінюваного світла (λ) (364-927)нм.

В результаті досліду експериментальним шляхом були отримані наступні данні, приведенні в таблиці 3.1.

Таблиця 3.1 Значення коефіцієнта відбиття пластин на основі кремнію

Λ нм

КДБ-25

КДБ-20

КДБ-0.2

КЭМ

КДБ-1.5

SiO2/Si


шліф.

полір.

шліф.

полір.

шліф.

полір

шліф.0,003

полір. 0.7

текстур.


364

62

65

66

74

42

73

72

73

42

45

400

37

57

40

47

12

47

44

47

12

39

457

32

44

33

39

11

39

39

11

33

490

34

41

33

39

13

39

35

39

13

29,8

520

33

42

34

38

14

38

35

38

14

25,4

620

31

35

31

34

19

34

33

34

19

8,6

750

29

34

30

33

21

34

33

33

21

0,05

832

32

33

31

33

22

33

32

33

22

0,8

874

31

36

30

34

22

33

33

33

22

0,8

927

54

52

52

47

54

53

54

47

1,4


3.2 Аналіз експерименту


Після проведення досліду, використовуючи отриманні дані будуються графіки залежності коефіцієнта відбиття від довжини хвилі випромінюваного світла для полірованих, шліфованих, текстурованої та з просвітлюючою пливкою, пластин кремнію.

.2.1 Шліфовані кремнієві пластини

На графіку видно (рис. 3.1), що криві залежності схожі між собою і мають спільні точки перетину, що пов’язано з похибкою вимірювання. Всі досліджуванні елементи в довжинах хвиль (420÷874)нм мають майже лінійну залежність, котра варіюється в межах значень коефіцієнта відбиття від 30% до 36%.

ЭКЭМ 0.003 в порівнянні з іншими використовуваними зразками має найбільший коефіцієнт відбиття на всіх використовуваних довжинах хвиль світла. Це пов’язано з високою концентрацією вільних носіїв заряду в зразку у зв’язку з високим ступенем легування домішками. Найменше значення R досягнуто при λ(832) нм - 32%, найбільше при λ(364)нм - 72%.

КДБ-25 має найменший коефіцієнт відбиття з представлених шліфованих кремнієвих пластин, оскільки мають найменшу концентрацію домішок (найбільший питомий опір). Найменше значення R досягнуто при λ(874)нм =31%, найбільше при λ(364)нм =62%.

КДБ-20 та КДБ-0.2 мають близькі значення і тому криві у них майже однакові. Найменше значення R(КДБ-20) досягнуто при λ(874)нм=30%, найбільше при λ(364)нм=66%. Найменше значення R(КДБ-0.2) досягнуто при λ(832)нм=30%, найбільше при λ(364)нм=64%.

.2.2 Поліровані кремнієві пластини

З графіка видно (рис. 3.2), що криві пластин КДБ-20, КДБ-0.2 та КЭМ 0.7 мають ідентичні значення коефіцієнта відбиття в межах довжин хвиль з 364нм до 595нм. Далі спостерігається розходження значень (595÷900)нм і сходження кривих в одну точку λ(927)нм=54%. Найменше значення R(КДБ-20) досягнуто при λ(750)нм=33%, найбільше при λ(364)нм=74%. Найменше значення R(КДБ-0,2) досягнуто при λ(832)нм=33%, найбільше при λ(364)нм=73%.

Найменше значення R(КЭМ 0,7) досягнуто при λ(750)нм=33%, найбільше при λ(364)нм=73%. Найменше значення R(КДБ-25) досягнуто при λ(832)нм=33%, найбільше при λ(364)=65%.

3.2.3 Текстурована кремнієва пластина

Зразком текстурованої кремнієвої пластини використовується КДБ-1.5. При довжині хвилі λ(364)нм коефіцієнт відбиття дорівнює 42%. Потім спостерігається різке падіння графіку (рис. 3.3), що пояснюється максимальним поглинанням фотонів пластиною кремнію, при λ(457)нм R досягає свого мінімуму 11%. В проміжку (490÷874)нм спостерігається плавне збільшення коефіцієнта R досягає максимуму при λ(927)нм=47%.

3.2.4 Кремнієва платина з просвітлюючою плівкою (діоксид кремнію)

Зразок кремнієвої пластики з просвітлюючею плівкую використовується SiO2/Si, тобто плівка виконана з діоксиду кремнію. При довжині хвилі λ(364)нм коефіцієнт відбиття дорівнює 45%, що є дещо вищим аніж в текстурованого зразка. В проміжку (364÷750)нм спостерігається плавне зниження коефіцієнту R, а саме, при значені довжини хвилі λ(750)нм коефіцієнт відбиття вже дорівнює 0,05%. Далі вже в проміжку (750÷927)нм значення коефіцієнту відбиття збільшується до 1,4%.

3.2.5 Порівняння

Всі досліджуванні пластини в довжинах хвиль 364нм та 927нм стрибкоподібно змінюють свої значення в сторону збільшення коефіцієнта поглинання, з чого можна зробити висновок про неефективність поглинаня даних спектрів випромінювання, тобто R при даних λ найбільший.

При порівнянні між собою отриманих графіків спостерігається схожість шліфованих та полірованих пластин, хоча й в проміжку (300÷620)нм шліфовані пластини мають коефіцієнт відбиття приблизно на 5% менший від значень полірованих пластин, що пояснюється кращим поглинанням світла шліфованої поверхні над полірованою. Коефіцієнт відбиття світла текстурованої пластини в порівнянні зі всіма зразками окрім SiO0/Si виявився найменшим R=11% , тобто частка між відбитим світлом та світлом падаючим на поверхню складає 0,11. Це пояснюється тим, що регулярна система нерівностей поверхні буде збільшувати вірогідність світла поглинутися матеріалом, а не відбитися в оточуюче середовище. А пластина з просвітлюючою плівкою, показала ще менший показник відбиття світла, до R=0,05%, що складає майже повне поглинання падаючого світла. Але цей показник відбиття досягається тільки на проміжку (750÷927)нм, тобто в інфрачервоному спектрі випромінювання, через це немає необхідності їх використання, так як для ФЕП краще стабільні показники коефіцієнту відбиття у широкому спектрі випромінювання

Використання фотоелектричних перетворювачів із текстурованою поверхнею збільшує вірогідність поглинання фотонів, тобто таку поверхню доцільно використовувати при створенні високоефективних фотоелектричних перетворювачів.

Рис. 3.1 Графік залежності коефіцієнта відбиття R від довжини хвилі λ для шліфованих пластин кремнію

Рис. 3.2 Графік залежності коефіцієнта відбиття R від довжини хвилі λ для полірованих пластин кремнію

Рис. 3.3 Графік залежності коефіцієнта відбиття R від довжини хвилі λ для текстурованої пластини кремнію

ВИСНОВОК


Під час вивчення літературних даних за темою курсової роботи склалася загальна уява про оптичні характеристики ФЕП. Головним чином згадувалися оптичні втрати та методи їх запобігання, котрі відіграють важливу роль в роботі фотоелектричного перетворювача. Розглянуто текстурування поверхні, як один з ефективних методів зменшення коефіцієнта відбиття, та його залежність від довжини хвилі випромінюваного світла.

Метою експерименту було визначити коефіцієнт відбиття шліфованих, полірованих, текстурованих та з просвітлюючою плівкою пластин кремнію, та в довжинах хвиль визначеними технічними параметрами фотометра відбиття ФО-1, та за отриманими даними побудувати графіки залежності.

В результаті порівняння між собою отриманих графіків спостерігалась схожість даних шліфованих та полірованих пластин, котрі варіювалися в межах зазначень коефіцієнта відбиття (30-40)% та результативність використання текстурованої пластини, R котрої змінювалися в межах (10-20)%, а також кремнієвий елемент з просвітлюючою плівкою з діоксиду кремнію, коефіцієнт відбиття якого складає (0,05-45)%. Експериментом було доведено, що зменшення коефіцієнта відбиття сприяє збільшенню кількості носіїв заряду, тобто підвищенню ККД ФЕП.

В заключні можна сказати, що найкращим методом зменшення коефіцієнту відбиття все ж таки є текстурування приймальної поверхні ФЕП, тому що вона показує найбільш стабільні показання коефіцієнту R на широкому спектрі випромінювання. Це і є головною задачею зменшення оптичних втрат у ФЕПах.

Список використаних джерел


1.   Техническое описание и инструкция по эксплуатации ФО - 1.

2.   Цибуленко,В.; Агбомассу,В.; Вплив оптичних характеристик фотоелектричних перетворювачів на їхню ефективність// Вісник Львівського університету. Серія фізична. - Випуск 34. - Львів, 2001. - С.308-314

3.      Колтун М.М. Оптика и метрология солнечных элементов. - М.: Наука, 1985. - 280 с.

4.   Андреев В.М., Грилихес В.А., Румянцев В.Д. Фотоэлектрическое преобразование концентрированного солнечного излучения. - Л.: Наука, 1989. - 310 с.

5.      Фотоприемники и фотопреобразователи (сборник научных трудов). - Л.: Наука, 1988. - 296 с.

.        Колтун М.М. Солнечные элементы. - М.: Наука, 1987. - 192 с.

.        Полупроводниковые фотоприемники: Ультрафиолетовый, видимый и ближний инфракрасный диапазоны спектра / И.Д. Анисимова, И.М. Викулин, Ф.А. Заитов, Ш.Д. Курмашев. - М.: Радио и связь, 1984. - 216с.

.        Оптико-електронні пристрої та компоненти в лазерних і енергетичних технологіях - Вінницький національний університет / Кожемяко В.П., Домбровський О.Г., Жердецький В.Ф., Маліновський В.І., Притуляк Г.В..

.        Фотоелектричне перетворення концентрованого сонячного випромінювання - Андрєєв В.М., Грилихес В.А., Румянцев В.Д..

.        Перетворення сонячної енергії - перек. з англ.. Енерговидат., 1982 р.

.        Сонячні елементі. Теорія і експеримент - А.Фаренбрух, Р.Б’юб.

.        Тенденції і перспективи розвивання сонячної фото енергетики - Ж.І.Алферов, В.М.Андрєєв, В.Д.Румянцєв, 2004р.

.        Конструкція сонячних елементів - Т.Байєрс, 1984р.

Додаток А


Вигляд текстурованих пластин

 

Рис. А.1 Ділянки поверхні монокремнієвих пластин в сильному збільшенні після текстурування. Зліва показаний вид зверху, а правіше вид під кутом

Рис. А.2 Фотографія текстурованою поверхні кремнію, зроблена методом скануючої електронної мікроскопії

Похожие работы на - Оптичні характеристики фотоелектричних перетворювачів на основі кремнію

 

Не нашли материал для своей работы?
Поможем написать уникальную работу
Без плагиата!
Без нейросетей!