Экстрактивные вещества древесной зелени хвойных пород и использование их для получения эфирных масел и препаратов на их основе

  • Вид работы:
    Курсовая работа (т)
  • Предмет:
    Другое
  • Язык:
    Русский
    ,
    Формат файла:
    MS Word
    286,91 Кб
  • Опубликовано:
    2016-01-26
Вы можете узнать стоимость помощи в написании студенческой работы.
Помощь в написании работы, которую точно примут!

Экстрактивные вещества древесной зелени хвойных пород и использование их для получения эфирных масел и препаратов на их основе

Министерство образования и науки РФ

ФГБОУ ВПО "Уральский государственный лесотехнический университет"

Институт химической переработки растительного сырья и промышленной экологии

Кафедра технологии целлюлозно-бумажного производства и переработки полимеров




Курсовая работа

"Экстрактивные вещества древесной зелени хвойных пород и использование их для получения эфирных масел и препаратов на их основе"

(по дисциплине "Химия и физика растительного сырья")











Екатеринбург 2015

Содержание

Введение

. Древесная Зелень

.1 Общая характеристика древесной зелени

.2 Использование и производство, состав древесной зелени

. Продукты из древесной зелени

.1 Производство хвойно-эфирных масел

.2 Производство биологически активных препаратов

.3 Производство хвойно-витаминной муки

. Установка для получения хвойного экстракта из древесной зеленой массы

. Экстрактивные вещества древесины

.1 Классификация экстрактивных веществ

.2 Смола и летучие масла

.3 Терпены и родственные им соединения

.3.1 Монотерпены

.3.2 Дитерпены

.3.3 Тритерпены

.3.4 Танниды

.3.5 Камеди

Заключение

Список литературы

Введение

древесный зелень эфирный масло

Древесина является старейшим сырьем, который используется человеком для строительства, конечно же после камня. Несмотря на сложную химическую составляющую природу, дерево имеет лучшие свойства, которые запросто подходят для полного пользования человеком. Древесина экологически и экономически доступна, может легко обрабатываться и пригодится для изготовления безграничного множества изобретений разной формы и размеров. Древесина обладает хорошей теплоизоляцией, является возобновляемым ресурсом, которая легко поддаётся биохимическому разложению.

Фитомасса российских лесов велика - 56 млрд. тонн (в том числе до 3 млрд. тонн древесной зелени), но сейчас наша страна ввязывается в трудности обеспечения отраслей народного хозяйства древесиной и продукцией ее переработки. При стандартных методах заготовки и переработки древесины, очень низок уровень его использования - 25…30% общего запаса биомассы дерева.


Цель данной курсовой работы: получить представление о том, как получают экстрактивные вещества древесной зелени хвойных пород.

Задачи:

) узнать, как получают из экстрактивных веществ эфирные масла, лекарственные препараты, парфюмерную косметику и тд.

) разобраться в технологии переработки древесной зелени с помощью графического рисунка установки.

) узнать состав экстрактивных веществ древесины, какие вещества туда входят, химизм и свойства веществ.

1. Древесная Зелень

1.1 Общая характеристика древесной зелени


Древесная зелень - специфический вид лесного сырья, в составе которого преобладают живые клетки хвои (листьев), молодых (перенхимных) побегов и коры. Как известно, в живых растительных клетках содержатся белки, углеводы, витамины, ферменты, желтые и зеленые пигменты, стерины, микроэлементы и другие вещества, которые необходимы для обеспечения жизнедеятельности растений, животных и человека. Значение химической переработки этого сырья с каждым годом возрастает, и в будущем можно ожидать только усиления этой тенденции.[2]

 

.2 Использование и производство, состав древесной зелени


Одним из наиболее перспективных направлений использования ДЗ является безотходная химическая переработка с получением биологически активных веществ (БАВ) кормового и лечебно-профилактического назначения. Успехи химии природных соединений и развитие биотехнологии за последние десятилетия открыли широкие возможности для использования БАВ во многих областях медицины, ветеринарии, животноводства, кормопроизводства, а также пищевой, парфюмерно-косметической и химической промышленности. Однако только выявленная потребность в этих продуктах отраслей народного хозяйства удовлетворяется в настоящее время на 10…15%. По имеющимся прогнозам вовлечение в переработку экономически доступных ресурсов ДЗ позволит создать новую подотрасль лесного и агропромышленного комплексов.

Производство эфирного масла из пихтовой древесной зелени существовало уже в XVIII в., а благодаря исследованиям советских ученых впервые в мировой практике была налажена промышленная переработка ДЗ. Началом промышленного производства БАВ можно считать 1931 г., когда был пущен в эксплуатацию цех Тихвинского лесохимического завода, который и в настоящее время осуществляет переработку еловой ДЗ путем паровой отгонки и водной экстракции. В 1950 г. было впервые организовано производство хвойной хлорофилло-каротиновой пасты из бензинорастворимых веществ ДЗ сосны и ели. До недавнего времени в стране работало более 500 цехов и установок, которые перерабатывали до 1млн. тонн ДЗ хвойных и лиственных пород. Кроме того, более 2 млн. тонн ДЗ ежегодно скармливалось животным в свежем виде. По существующим в традиционной лесохимии теоретическим представлениям экстрагирование гидрофобным растворителем (бензином) смолистых веществ из влажного сырья считается затруднительным, поскольку наличие влаги препятствует растворению и диффузии смолистых веществ в капиллярах древесины. При экстракции смолистых веществ из осмольной щепы бензином предусматривается предварительная сушка сырья различными способами. Сегодня в производстве проводят одностадийные процессы извлечения водой или бензином с выходом основных продуктов 55…60% от теоретического. При этом только частично используются экстрактивные вещества, а 85…98% биомассы ДЗ, в зависимости от способа переработки, попадает в отходы.

Учеными Санкт-Петербургской государственной лесотехнической академии разработан новый теоретический подход к использованию ДЗ и созданы основы безотходной технологии получения БАВ кормового и лечебно-профилактического назначения в едином технологическом цикле.

В качестве объектов исследования были использованы ДЗ ели, сосны, березы, осины, ольхи, пихты сибирской. Исследования проводились в лабораторных условиях, на специально сконструированных камеральных установках и в условиях промышленного и сельскохозяйственного производства. Условия проведения экспериментов позволяли изучить в динамике и моделировать как отдельные стадии технологического процесса, так и весь процесс в целом. В результате технико-экономического анализа промышленных вариантов переработки ДЗ и теоретического обобщения экспериментальных данных учеными предложена универсальная технологическая схема, позволяющая получать известные и новые БАВ, что ранее в одном технологическом процессе считалось невозможным (Схема 1). Экстрагирование БАВ осуществляется одновременно бензином и водой с последующим разделением на растворы бензино- и водорастворимых веществ.

Схема 1. Принципиальная схема получения биоактивных продуктов из древесной зелени.

После отгонки бензина экстрагированная ДЗ используется для приготовления кормовой муки. Из водорастворимых веществ получают экстракт хвойный натуральный и брикеты соляно-хвойные. Из раствора липидов при охлаждении, отстаивании и фильтровании выделяют суспензии воска-сырца, из которого путем экстракции получают воск и безметальные аналоги хлорофилла. Очищенный бензиновый раствор после отгонки растворителя обрабатывают едким натром, получая таким образом хлорофилло-каротиновую пасту. По другому варианту, после выделения воска очищенный бензиновый раствор обрабатывают едким натром и серной кислотой и разделяют на три фракции: раствор нейтральных липидов, раствор полярных липидов и суспензию безметальных аналогов хлорофилла. Из раствора нейтральных липидов путем последовательной отгонки растворителя получают эфирное масло и провитаминный концентрат. Раствор полярных липидов перерабатывают с получением бальзамической пасты, безметальных аналогов хлорофилла, жирных и дитерпеновых кислот. Из суспензии безметальных аналогов хлорофилла получают хлорофиллин натрия, металлокомплексы, жирные и дитерпеновые кислоты.[6]

Таблица 2. Выход товарных продуктов из 1 тонны древесной зелени, кг

Древесная зелень содержит эфирные масла, хлорофилл, различные витамины (В1 В2, В6, С, ЕД, Р и др.) провитамин А (каротин), белки, жиры, углеводы, микроэлементы и другие ценные вещества.

Такой состав древесной зелени дает возможность получать путем ее переработки эфирные масла, различные биологически активные препараты, а также витаминную муку. Для этих целей используется древесная зелень хвойных пород, преимущественно сосны и ели, но витаминную муку и некоторые другие продукты можно получать и из древесной зелени лиственных пород.

Древесную зелень заготовляют со свежесрубленных и частично с растущих деревьев. Отделение древесной зелени производят на лесосеках, верхних или нижних складах лесозаготовительных предприятий сразу же после обрубки сучьев либо вручную специальным ножом, либо с номошыо различных передвижных и стационарных хвоеотделителей.

В еловых и пихтовых насаждениях средней полноты можно получить до 100 кг древесной зелени (хвойной лапки) на 1 м3 заготовленной древесины (практически же, с учетом потерь, до 50 кг), а в сосновых насаждениях - вдвое меньше.

С растущих деревьев хвойную лапку срезают секатором; заготовка лапки может производиться только в насаждениях, назначенных в рубку. При этом ветви срезают максимально с '/з живой кроны дерева, а если до рубки осталось меньше года - до 2/з. С 1 га пихтовых насаждений можно заготовить до 5 т лапки.

На лесосеках используются передвижные хвоеотделители. Широкое применение получил пер-едвижной двухбарабанный отделитель зелени ОЗП-1,0, приводимый в действие от трактора.

Стационарные хвоеотделители устанавливают на нижнем складе поблизости от цеха переработки древесной зелени, несмотря на то, что в процессе вывозки деревьев с кронами на нижний склад до 70% всей хвои теряется (зимой больше, чем летом).[3]

Из стационарных хвоеотделителей наиболее часто используют измельчитель-пневмосортировщик древесной зелени ИПС- 1,0 (рис. 1).

Рис. 1. Схема измельчителя-пневмосортировщика древесной зелени ИПС-1,0: 1 - конвейер; 2 - подающий механизм; .3 - ножи измельчителя; 4- загрузочный циклон; 5 - загрузочный шлюзовой дозатор-питатель; 6 - сортирующая вертикальная колонна; 7 - разгрузочный циклон; 8 - разгрузочный шлюзовой дозатор-питатель; 9 - заслонка; 10 - вентилятор

Охвоенные ветви диаметром до 50 мм конвейером подаются в измельчитель типа КИК-1,4 и нарезаются на частицы длиной 15-60 мм. Измельченная более или менее однородная сыпучая масса подается воздушным потоком в циклон, а из него через шлюзовой дозатор-питатель по наклонному патрубку в вертикальную сортирующую колонну. Через колонну снизу вверх вентилятором просасывают воздух со скоростью 8-12 м/с, регулируя интенсивность воздушного потока заслонкой. Более легкая кондиционная древесная зелень выносится во второй циклон, откуда выгружается через шлюзовой дозатор-питатель. Более тяжелые древесные частицы до циклона не доходят, выгружаются из колонны через отдельный отвод и используются преимущественно как топливо. Производительность ИПС-1,0 по кондиционной древесной зелени от 600 до 1000 кг/ч, в зависимости от породы. Применяются также стационарные измельчители ШИЗ-2 (типа мясорубки), "Вол- гарь-5" (типа молотковой дробилки) и др.

Древесная зелень хвойных пород обычно содержит 65-75 % хвои, 15-20% коры, 10-15% древесины, однако в древесной зелени лиственницы лишь около 50 % хвои. Чем тоньше побеги, тем больше доля хвои, поэтому наиболее ценными являются побеги диаметром до 0,6 см. В древесной зелени могут присутствовать органические примеси (мох, лишайник, травянистые растения) и минеральные (песок).

Согласно ГОСТ 21769-84 древесная зелень, предназначенная для выработки витаминной муки и продуктов лесобиохими- ческого производства, а также для использования в свежезаго- товленном виде в качестве добавки в рационы сельскохозяйственных животных и птиц, представляет собой хвою, листья, почки и неодревесневшие побеги (т. е. побеги текущего года в течение не более 3 мес с начала вегетационного периода), без признаков плесени и загнивания. По содержанию указанных элементов древесная зелень подразделяется на сорта: 1-й сорт- не менее 80%, 2-й - 70 и 3-й - 60%, соответственно содержание коры и древесины не должно превышать 15, 25 и 35 %. Количество органических примесей допускается до 5%, неорганических до 0,2 %.

Условия хранения древесной зелени должны обеспечивать сохранность биологически активных веществ. Поскольку содержание витаминов и особенно каротина при хранении древесной зелени быстро падает, стандартом установлены жесткие предельно допустимые сроки ее хранения с момента заготовки и до запуска в установку для производства витаминной муки - при плюсовой температуре воздуха не более 1 сут, при минусовой - не более 5 сут.[6]

2. Продукты из древесной зелени

 

.1 Производство хвойно-эфирных масел


Эфирные масла отгоняют от хвойной лапки диаметром до 0,8 см слегка перегретым водяным паром с температурой обычно 105-110 °С. Масло нерастворимо в воде и после конденсации паров образует верхний слой дистиллята, который отделяют во флорентине. Из пихтовой лапки получается 1,5-3 % масла, из кедровой - до 1,5%, из сосновой - до 0,5%, еще меньше из еловой. Деревья с хорошо развитой кроной дают более богатую маслом лапку, чем затененные деревья со слабой кроной. Существенное значение имеет возраст дерева (наилучшие выходы масла получаются из лапки молодых и средневозрастных деревьев), а также время сбора лапки (летом лапка содержит больше масла, чем зимой). Потери эфирных масел при хранении лапки невелики.

Хвойно-эфирные масла используют как отдушки в мыловарении, парфюмерно-косметической промышленности и др. Наибольшую ценность представляет пихтовое масло, применяемое для выработки медицинской камфары.

Пихтовое масло получают в основном на периодически действующих установках западносибирского типа. Такие установки оборудованы одним или двумя деревянными перегонными чанами, вместимостью, как правило, 7,5 м3. Чаны снабжены приспособлениями для загрузки и выгрузки лапки, холодильниками, флорентинами, приемниками и отстойниками для масла. В каждый чан загружают до 2,5 т лапки. Для получения пара используют обычно котлы КВ-300. Годовая выработка пихтовогo масла на одночанной установке около 5 т, на двухчанной 7-8 т. Применяются также одночанные передвижные установки (ППУ-1), смонтированные на тракторных санях.

Продолжительность оборота чана на стационарных установках 19-22 ч, на передвижных 24-27 ч. Выход пихтового масла обычно в пределах 1,5-1,9%, причем летом несколько больше, чем зимой. Выход и качество масла можно немного повысить путем предварительного дробления лапки. Масло отгоняют также из пихтовой коры с выходом около 1 %•

В настоящее время используют также пихтоваренные установки непрерывного действия (УНП). Перегонный аппарат таких установок состоит из двух вертикальных колонн. Подают лапку (измельченную на винтовом измельчителе ШИЗ на кусочки длиной 5-7 мм) в нижнюю часть первой (подъемной) колонны загрузочным винтом, который уплотняет массу, создавая на входе в колонну пробку, препятствующую выбросу паров из колонны. В первой колонне лапка продвигается снизу вверх при помощи подъемного винта и прямоточно обрабатывается при температуре до 115 °С водяным паром, подаваемым через барботер снизу. Из верхней части первой колонны масса сбрасывается во вторую (выгрузочную) колонну, где она опускается в противотоке водяного пара. Сверху второй колонны выводят пары масла в циклон, в котором улавливаются увлеченные частицы сырья, и далее в холодильник. Снизу при помощи выгрузочного винта удаляют отработанную лапку. Производительность УНП по сырью 0,25 т/ч, т. е. лишь немного выше, чем двухчанной установки периодического действия.

Пихтовое масло должно иметь плотность при 20 °С в пределах 0,895-0,915 г/см3 и показатель преломления 1,469-1,472. Содержание борнилацетата в масле высшего сорта не менее 33%, кислотное число не более 0,5, в масле первого сорта соответственно 30 % и 1. В масле из коры содержание борнилацетата не превышает 18 %.[2]

При переработке сосновой (и еловой) лапки накапливающейся в перегонном чане конденсат применяют для получения жидкого или твердого хвойного экстракта для лечебных хвойных ванн. При получении жидкого экстракта конденсат упаривают до плотности около 1,2 г/см3 (содержание сухих веществ около 50%) и добавляют к нему 0,5-1 % соснового эфирного масла. Выход упаренного экстракта 10-15% от массы зеленой лапки. При получении твердого экстракта упаривание ведут дольше, продукт упаривания смешивают с поваренной солью, добавляют сосновое масло и формуют смесь в соляно-хвойные брикеты массой по 50 г (каждый на одну ванну).

Отработанную хвойную лапку в смеси со свежей лапкой используют для получения витаминной муки.[4]

2.2 Производство биологически активных препаратов


Для производства биологически активных препаратов применяют древесную зелень хвойных пород. В хвое содержится 7-15% липидов; под этим термином понимают вещества, содержащиеся в живых клетках, растворимые в неполярных органических растворителях. В состав липидов входят зеленые пигменты, каротиноиды, жирорастворимые витамины, эфирные масла, глицериды, эфиры стеринов, смоляные и жирные кислоты, воскообразные и другие вещества. Производство биологически активных препаратов из древесной зелени основано на разработках проблемной лаборатории по использованию живых элементов дерева Ленинградской лесотехнической академии, Сибирского технологического института и других организаций.

Для получения хлорофиллокаротиновой пасты по методу Ф. Т. Солодкого (рис. 2) сосновую и еловую лапку раздавливают на вальцах или, лучше, измельчают на молотковых дробилках и экстрагируют бензином БР-1 в периодически действующем экстракторе дефлегмационно-оросительным способом при гидромодуле 0,7-0,8 л/кг. Экстракт (мисцеллу) направляют для отделения от воды и воскообразных веществ в отстойники, где поддерживается температура 8-10 °С, и затем фильтруют. Воскообразные вещества образуют воск-сырец; от него отгоняют воду и бензин, получая хвойный воск.

Экстракт, освобожденный от воска, направляют в перегонный куб, где из него отгоняют бензин и эфирные масла. Кубовой остаток - смолистые вещества - обрабатывают в реактореомылителе при нагревании до 80-90 °С и перемешивании 40%-ным водным раствором едкого натра до нейтральной реакции по фенолфталеину. Полученную пасту разбавляют водой до требуемой влажности.

Таким образом, хвойная хлорофиллокаротиновая паста представляет собой сумму бензинорастворимых веществ древесной зелени сосны и ели, омыленных едким натром. При температуре 18 °С паста представляет собой густую однородную мазеобразную массу оливкового или темно-зеленого цвета с характерным хвойным запахом; при температуре выше 25 °С паста более жидкая.

На некоторых установках вместо бензина применяют негорючий трихлорэтилен. Однако этот растворитель более токсичен, а получаемая паста имеет несколько пониженную биологическую активность, что ограничивает ее применение. Одним из перспективных растворителей является изопропиловый спирт.

Согласно ГОСТ 21802-84 влажность пасты должна быть не более 40%, рН 1 %-ного водного раствора пасты в пределах 8-9. В 100 г сухой пасты высшего сорта должно содержаться не менее 1000 мг производных хлорофилла и 45 мг каротина, соответственно в 100 г сухой пасты 1-го сорта 700 и 30, 2-го сорта - 600 и 20. Нормируется также предельное содержание воскообразных веществ (5-10%) и нерастворимых в воде летучих веществ (1,5-4 %).

Паста является поливитаминно-фитонцидным препаратом; она используется главным образом в производстве парфюмерно-косметических изделий в качестве биологически активной добавки, например в мыло "Лесное" и зубную пасту "Лесная", в количестве 3-5%. Она может также применяться при лечении ожогов, вялозаживающих ран, в животноводстве, птицеводстве, пушном звероводстве и др.

Выход пасты из 1 т сосновой лапки до 70-75 кг, из еловой- значительно меньше.

Поскольку еловая лапка отличается повышенным содержанием хлорофилла, ее целесообразно использовать для выработки хлорофиллина. С этой целью освобожденный от воска бензиновый экстракт обрабатывают 30%-ным водным раствором едкого натра при 65 °С и непрерывном перемешивании до рН 8-10, затем добавляют воду и снова перемешивают. Масса разделяется на два слоя - бензиновый (оранжевого цвета) и водно-щелочной (зеленого цвета).

Бензиновый раствор промывают водой, отгоняют бензин и эфирные масла, и получают в остатке провитаминный концентрат, содержащий неомыляемые вещества хвои (каротиноиды, фитол, витамин Е, стерины и др.). Выход 4-5 кг из 1 т еловой лапки.

Водно-щелочной раствор промывают бензином при 65 °С, подкисляют 15-20 %-ной серной кислотой и перемешивают. Отстоявшуюся смолистую массу промывают бензином, отгоняют бензин, омыляют смоляные и жирные кислоты щелочью, добавляют горячую воду до влажности 40-50 % и получают с выходом 4-5 кг/т бальзамическую пасту, содержащую значительное количество хлорофилла.[1]

В качестве нерастворимого остатка при промывке смолистой массы бензином получается хлорофиллин-сырец. Его очищают и омыляют слабой щелочью. Образующийся раствор хлорофиллина натрия высушивают до пасты или до порошка. Выход хлорофиллина натрия всего лишь до 0,2 кг из 1 т еловой лапки, но он содержит не менее 15 % производных хлорофилла (практически 20-30 % и даже больше) и является высокоценным препаратом. Хлорофиллин натрия, провитаминный концентрат и бальзамическая паста используются в производстве парфюмерно-косметических изделий.

Ценным производным хлорофилла является также феофитин. Его получают при обработке хлорофилла кислотами, в результате чего комплексно связанный атом магния, находящийся в центре молекулы хлорофилла, замещается двумя атомами водорода. Феофитин может найти важное применение в медицине.

Проэкстрагированную бензином лапку обрабатывают горячей водой и из водного раствора вырабатывают лечебный хвойный экстракт. Из отработанной лапки можно изготовить кормовую муку.

Предложены также различные комбинированные способы, например одновременная экстракция бензином и водой в периодически действующем экстракторе дефлегмационно-ороситель- ным способом. Пары бензина и воды конденсируются на древесной зелени и экстрагируют из нее бензинорастворимые и водорастворимые вещества. Экстракт разделяют и каждый раствор перерабатывают, как описано выше. Такой процесс сокращает общую продолжительность экстракции и несколько увеличивает выходы продукции.

Разработан способ экстракции хвойной лапки холодной водой. Из экстракта высаливается белково-витаминный концентрат, а лапка перерабатывается на эфирные масла, хлорофил- локаротиновую пасту и другие продукты. Другой способ предусматривает экстракцию хвойной лапки холодным изопро- пиловым спиртом с последующим разделением экстракта на феофитин, белково- и пигментно-витаминный концентраты.

Изучается возможность получения хлорофиллина натрия и других препаратов из древесной зелени лиственных пород. Установлено, что препараты из древесной зелени ольхи не уступают еловым.[4]

2.3 Производство хвойно-витаминной муки


Древесная зелень по химическому составу сходна с травой, но содержит меньше каротина. В расчете на сухую массу в хвое содержится 6-12% протеина и нуклеиновых кислот, 70-80 % углеводов. В состав протеина древесной зелени входят около 20 аминокислот, в том числе лизин, лейцин, изолейцин, валин и другие незаменимые аминокислоты. Поэтому витаминная мука, получаемая путем измельчения и высушивания древесной зелени, является эффективной белково-витаминной добавкой к корму для скота и птицы. По питательной ценности древесная зелень сходна с пшеничной и ржаной соломой. Однако надо иметь в виду, что древесная зелень в отличие от травы содержит алкалоиды, смолистые и дубильные вещества, поэтому витаминная мука не является самостоятельным кормом и должна лишь добавляться к корму, причем в меньшем количестве, чем травяная мука.

Рис. 2. Технологическая схема производства хвойно-витаминной муки на передвижной установке СХБП-0,1: 1 - отделитель древесной зелени; 2 - дробилка-измельчитель ДКУ-М; 3 - бункер; 4 - задняя камера сушилки СЗПБ-2,0; 5 - барабан сушилки; 6 - передняя камера сушилки; 7 - вентилятор; 8 - выгрузочный люк; 9 - бункер-циклон; 10 - пнтатель-дозатор; 11 - дробилка-мельница для измельчения сухой хвои в муку; А - хвойная лапка; Б - топливо; В - готовая продукция; Г - отвод дымовых газов

Выработку витаминной муки производят как на передвижных установках, преимущественно типа СХБП-0,1, так и на стационарных, в основном АВМ-0,65.

Передвижная установка СХБП-0,1 устанавливается на тракторных санях. Ее производительность 0,1 т/ч готовой муки. Технологическая схема производства хвойно-витаминной муки на этой установке (рис.2) включает измельчение хвойной лапки, отделенной от ветвей на дробилке ДКУ-М, скоростную сушку в барабанной сушилке СЗПБ-2,0 и измельчение высушенной массы в дробилке ДКУ-1,0. Подача измельченной лапки из дробилки в бункер сырой зелени и готовой муки в бункер-циклон производится в пневмоконвейерах потоком воздуха, а подача лапки из бункера в сушильный барабан - винтом, выгрузка высушенной зелени из сушилки также винтом. Из бункера-циклона мука выгружается через питатель-дозатор. Сушильный барабан имеет длину 4,6 м и диаметр 1 м, он вращается на роликах со скоростью 6 мин.

Сушка измельченной лапки производится дымовыми газами, подаваемыми из топки сушилки. Температура теплоносителя 250-300 °С (до 400 °С), продолжительность сушки около 10с, конечная влажность около 10%. Барабан необходимо полнее заполнять высушиваемой массой, частицы массы за время пребывания в барабане не должны нагреваться выше 60-70 °С, а температура отработанного теплоносителя должна быть в пределах 75-80 °С. Такие условия сушки позволяют максимально сохранить каротин в хвое.

Стационарная установка АВМ-0,65 рассчитана на выработку 650 т/год витаминной травяной муки. При переработке древесной зелени производительность этой установки достигает 1000 т/год и более.

Установка включает измельчитель древесной зелени (КИК-1,4, "Волгарь-5" или ИПС-1,0), агрегат АВМ-0,65, мешкозашивочную машину, весы, конвейеры и др.

Агрегат АВМ-0,65 состоит из подающего конвейера, аппаратуры для сжигания дизельного топлива, вращающейся сушилки барабанного типа, молотковой дробилки, бункера-циклона сухой массы и винтового устройства для подачи готовой муки в мешки.

Температура теплоносителя (смесь продуктов сгорания топлива с воздухом) летом 350 °С, зимой 400 °С. Продолжительность сушки мелких частиц несколько секунд. Конечная влажность муки около 10 %. Расход лапки до 3 т на 1 т муки.

Согласно ГОСТ 13797-84 витаминная мука из древесной зелени подразделяется на сорта по содержанию каротина, мг/кг: мука высшего сорта не менее 90, первого 75 и второго 60. Содержание Сырой клетчатки должно быть соответственно не более 30, 33 и 35 %.

Мука из лапки осенне-зимней заготовки имеет более высокое качество, поскольку содержание каротина в хвое в этот период значительно выше, чем в летний. В муке из свежей лапкн содержание каротина выше, чем из отработанной (после отгонки эфирных масел).

Витаминную муку можно выпускать в гранулированном виде, что повышает удобство ее применения и предотвращает самовозгорание.

При хранении витаминной муки в тканевых мешках в течение месяца, а в бумажных или полиэтиленовых - в течение двух месяцев допускается снижение содержания каротина не более чем на 20%. При более длительном хранении муки каротин не учитывается.[6]

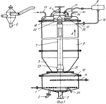
3. Установка для получения хвойного экстракта из древесной зеленой массы


Использование: получения экстрактов из зелени различных хвойных пород деревьев. Сущность изобретения: вертикальная колонка включает отделенные друг от друга сетчатыми перегородками конденсатор, экстракционную и кубовую части.

Дополнительный конденсатор паров растворителя расположен вне корпуса, его заборный патрубок - в экстракционной зоне, а выходной - над основным конденсатором и имеет душирующий элемент. Разгрузочный узел выполнен в виде трубы с прямым пневматическим соплом (С9, расположенной по оси экстракционной части. Входной участок С размещен над сетчатой перегородкой, а выходной имеет средство для соединения с вакуумной системой. 2 ил.


Установка работает следующим образом:

Через загрузочный бункер 4 производится загрузка измельченной хвойной массы в зону 9, причем труба 7 закрыта конусной крышкой, предохраняющей внутреннюю поверхность трубы 7 от попадания в нее древесной зеленой массы. После окончания загрузки через патрубок 2 в кубовую часть 10 заливается экстрагент, представляющий собой, например, водно-бензиновую смесь, которая подогревается посредством глухого пара, проходящего через парообразователь 1, до температуры интенсивного образования паров бензина (около 80оС), которые, поднимаясь, проходят через слой хвойной массы, расположенный в колонне, осуществляя тем самым процесс экстракции. В верхней части колонны происходит конденсация паров экстрагента на конденсаторе 18 в виде кольцевого змеевика с каплеобразователями 19. В качестве каплеобразователей может быть, например, навитая на змеевик (18) проволока или приваренные к змеевику ребра в виде дисков, а для интенсивного каплеобразования по кольцевому змеевику циркулирует холодная вода, поступающая через патрубок 13 подачи и отводящаяся через патрубок 14 отвода. Сконденсировавшийся пар, охлаждаясь, выпадает в виде капель обратно в экстракционную зону 9 и стекает по коническому днищу 5 через сетчатую перегородку 21 в кубовую часть 10 для последующего подогрева. Избыток паров экстрагента поступает через патрубок 12 по трубопроводу в дополнительный конденсатор 8 и затем в виде жидкости по трубопроводу 17 через патрубок 15 поступает в душирующий элемент 20, а далее стекает в кубовую часть 10. После окончания непосредственно процесса экстракции экстрагент сливается через патрубок 3 для дальнейшей обработки, а оставшаяся в колонне зеленая масса подвергается отдувке острым паром, подаваемым через баpботер 11 в нижнюю часть экстракционной зоны 9 через перегородку 21. После отдувки острым паром к трубе 7 подключается вакуумная система 6, например вакуумный насос с циклоном, и начинается выгрузка хвойной массы, происходящая за счет засасывания в трубу 7 ожиженного слоя. Для образования ожиженного слоя после окончания отдувки по барботеру 11 подается воздух. Подача воздуха, как и применение двухтрубной системы для выгрузки, обеспечивает создание воздушного потока, ускоряет процесс выгрузки. [7]

4. Экстрактивные вещества древесины


Под экстрактивными веществами древесины понимают соединения, не входящие в состав клеточной стенки и извлекаемые нейтральными органическими растворителями, водой и отгонкой с водяным паром.

Несмотря на небольшое количество экстрактивных веществ в древесине, роль их велика. Они придают древесине цвет, запах, вкус, иногда токсичность, влияют на прочность. Экстрактивные вещества предохраняют древесину от гниения, поражения грибами, насекомыми.

Экстрактивные вещества включают почти все классы органических соединений. Наибольшее значение имеют древесные смолы (смоляные кислоты), танниды (дубители) и эфирные масла (терпены и их производные). Кроме того, к экстрактивным веществам относят красители, камеди (водорастворимые соединения углеводного характера), трополоны, жиры и жирные кислоты, фитостерины, алифатические углеводороды, циклические спирты, белки, крахмал и др.

Ни одна из пород не содержит всего комплекса экстрактивных веществ, но у родственных пород состав экстрактивных веществ обычно подобен. Жиры и жирные кислоты содержатся главным образом в паренхимных клетках лиственной древесины, а смоляные кислоты накапливаются в смоляных ходах хвойных пород.

Распределение экстрактивных веществ существенно колеблется внутри самого дерева. Например, содержание смолы в сучках, пне, корнях хвойной древесины выше, чем в стволовой части.

Наличие экстрактивных веществ может вызывать затруднения в производстве целлюлозы и бумаги, но чаще экстрактивные вещества выделяются и находят применение в производстве канифоли и других продуктов.

 

4.1 Классификация экстрактивных веществ


Экстрактивные вещества древесины классифицируются по не- скольким показателям.

. По химическому составу:

углеводороды (главным образом, терпеновые);

спирты (многоатомные, высшие алифатические, циклические, в том числе терпеновые и стерины) свободные и связанные;

альдегиды и кетоны (относящиеся к терпеноидам и др.);

кислоты высшие жирные и их эфиры (жиры и воски);

смоляные кислоты (производные дитерпенов);

углеводы (моно- и олигосахариды, водорастворимые полисахариды, полиурониды) и их производные (гликозиды и др.);

фенольные соединения (таннины, флавоноиды, лигнаны, гидроксистильбены и др.);

азотсодержащие соединения (белки, алкалоиды и др.); соли не- органических и органических кислот.

. По способу выделения:

органическими растворителями извлекают смоляные и жирные кислоты, воски, стеарины, лигнаны;

экстракцией водой извлекают танниды, камеди, пектиновые вещества, красители;

при перегонке с паром выделяют терпены общей формулой С10Н16.

. По компонентному составу:

алифатические соединения;

терпены и терпеноиды;

фенольные соединения.

. По растворимости:

липофильные (слабополярные или неполярные), они гидрофобны, плохо смачиваются водой;

гидрофильные.

4.2 Смола и летучие масла


К древесной смоле относятся вещества, не растворимые в воде, но растворимые в нейтральных неполярных органических растворите- лях. К ним относят смоляные кислоты, жирные кислоты и их сложные эфиры, а также неомыляемые вещества.

В лиственной древесине смола находится в паренхимных клетках. Жиров и жирных кислот в смоле лиственных пород от 60 до 90 %, а смоляных кислот практически нет.

Смола в хвойных породах содержится в смоляных ходах и в паренхимных клетках. Смóлы хвойных пород содержат смоляных кислот 30…40 %, жиров и жирных кислот 40…65 %. Хвойные породы древесины содержат значительно больше смолы, чем лиственные. Наибольшее содержание смолы имеет сосна, при подсочке из нее получают живицу. Живица - это раствор смоляных кислот в эфирном масле.

Летучими, или эфирными, маслами называют содержащиеся в древесине вещества, которые имеют температуру кипения выше 100 °С, но обладают большой летучестью при комнатной температуре и способны перегоняться с паром. К этим веществам относятся терпены 55 и родственные им соединения, смесь которых называют скипидаром. Для химической переработки наибольшее значение имеет живица со- сны. При ее переработке скипидар отгоняют с водяным паром. В остатке от перегонки получают канифоль, состоящую из смоляных кислот и высококипящих нейтральных веществ.

 

4.3 Терпены и родственные им соединения


В основе всех терпеновых углеводородов (монотерпенов) лежит молекула изопрена С5 Н8 . Терпеновые углеводороды подразделяются на монотерпены С10Н16, сесквитерпены C15H24, дитерпены С20Н32, тритерпены С30Н48 и политерпены (С5 Н8 )n . Терпены могут быть ациклически- ми и циклическими соединениями.

 

.3.1 Монотерпены

Монотерпены входят в состав живицы. Монотерпены подразделяются на ациклические, моноциклические и бициклические терпены. Ациклические монотерпены содержат три двойных связи и не имеют циклов. Ациклические терпеновые углеводороды в природе встречаются редко, чаще встречаются их производные - спирты и альдегиды, которые являются душистой основой растений. Промышленное применение нашел β-мирцен.


Моноциклические терпены содержат один цикл и две двойных связи. Из них наиболее распространены лимонен, α- и β-феллан- дрены. Лимонен - один из основных компонентов сосновой живицы. Монотерпены очень реакционноспособны, легко изомеризуются и окисляются.

Бициклические терпены имеют два цикла и одну двойную связь. Основными их представителями являются α-пинен, β-пинен, камфен и карен.


α-пинен - наиболее важный и широко распространенный терпеновый углеводород. Это главная составная часть скипидаров. Он способен ко многим химическим превращениям (окислению, изомериза- ции, полимеризации, реакциям присоединения и др.). Из α-пинена по- лучают синтетическую камфару.

β-пинен встречается во многих летучих маслах вместе с α-пиненом. По своим свойствам он подобен α-пинену и легко в него изомеризуется.

4.3.2 Дитерпены

Дитерпены входят в состав смоляных кислот. Смоляные кислоты C20H30О2 рассматривают как производные дитерпенов С20Н32. Сами ди- терпены в природе встречаются сравнительно редко.

В живицах различных видов хвойных деревьев содержится труд- но разделимая смесь изомерных смоляных кислот. Смоляные кислоты живицы чрезвычайно неустойчивы, при нагревании они легко изомеризуются. Кислоты, содержащиеся в живице, называют первичными, а измененные - вторичными. Таким образом, канифоль представляет собой смесь первичных и вторичных кислот.

Смоляные кислоты подразделяют на кислоты абиетинового типа и пимарового типа.

Кабиетиновому типу относятся абиетиновая, левопимаровая, нео- абиетиновая и палюстровая кислоты. Они различаются положением двойных связей:


К кислотам пимарового типа относятся пимаровая (дегидропимаровая) и изопимаровая (изодегидропимаровая).


Они более устойчивы к окислению,чем кислоты абиентового типа, и относятся к первичным смоляным кислотам.

 

.3.3 Тритерпены

Тритерпены являются основой стеринов. Это нейтральные соединения, экстрагируемые органическими растворителями. Стерины (фитостерины) представляют собой тетрациклические вторичные спирты. Они содержат от 27 до 29 атомов углерода, но часть их циклической системы подобна структуре смоляных кислот, а часть боковой цепи состоит из единиц изопентана.

Фитостерины входят в состав нейтральных веществ таллового масла. Они находят применение в медицине, парфюмерии.

Жирные кислоты

В свежесрубленной древесине основная масса жирных кислот находится в виде сложных эфиров - жиров и частично восков. При хранении древесины происходит частичное омыление этих эфиров с образованием свободных жирных кислот.

Жирные кислоты подразделяются на насыщенные и ненасыщенные. Наиболее распространены кислоты: лауриновая С11Н23СООН, миристиновая С13Н27СООН, пальмитиновая С15Н31СООН, стеариновая С17Н35СООН, арахиновая С19Н39СООН, бегеновая С21Н43СООН, лигноцериновая С23Н47СООН.

 

.3.4 Танниды

Танниды - это группа водорастворимых экстрактивных веществ, являющихся растительными дубителями. Они содержатся, главным образом, в коре многих древесных пород и частично в самой древесине (например, в древесине дуба).

Танниды в основном представляют собой вещества фенольного характера. Они подразделяются на гидролизуемые (содержание углерода 50…53 %) и конденсированные (более 60 %).

Из гидролизуемых таннидов наиболее изученным является китайский таннин, представляющий собой смесь многочисленных сходных соединений, построенных в виде сложных эфиров D-глюкозы и пяти остатков метилдигалловой кислоты.

К классу гидролизуемых таннидов относится группа так называемых эллаговых дубителей, в составе которых обнаружено присутствие эллаговой кислоты.

Структурные единицы молекул конденсированных таннидов связаны между собой углерод-углеродными связями и при действии кислот или окислении эти танниды превращаются в еще более высокомолекулярные вещества, называемые флобофенами.

К конденсированным таннидам относятся дубители коры многих древесных растений. Важнейшими структурными элементами их молекул являются вещества типа катехинов, например катехин гамбира. Катехины - это бесцветные кристаллические вещества слаборастворимые в воде, конденсируясь, они превращаются в танниды с неограниченной растворимостью.

 

.3.5 Камеди

Камеди (гумми) представляют собой прозрачные, твердеющие на воздухе массы углеводного характера, выделяемые растениями при ранении или некоторых других патологических воздействиях. В воде они полностью или частично растворяются, образуя коллоидные растворы. Кислотами они легко гидролизуются с образованием смесей моносахаридов, в состав которых, как правило, входят уроновые кислоты (D-глюкуроновая и D-галактуроновая).

Одной из наиболее изученных камедей является гуммиарабик - масса, выделяемая тропическими акациями. Различают несколько ви- дов гуммиарабика, отличающихся как по физическим свойствам, так и по строению. Все гуммиарабики растворимы в воде с образованием клейких коллоидных растворов.

Из других камедей можно указать на вишневый клей и гумми сли- вы и абрикоса, аналогичные ему по составу. К камедям в какой-то степени можно отнести гумми, получаемое из древесины лиственницы, состоящее из арабогалактана, хотя его макромолекула и не содержит остатков уроновых кислот.

По своему строению и свойствам к камедям близки пектиновые вещества,представляющие собой кальциевые, магниевые и калиевые соли полисахаридов, имеющих в своем составе остатки галактуроновой кислоты.[5]

Заключение


В наше время эфирные масла являются важным, а также и популярным продуктом, который используется в лекарственной и парфюмерной промышленности. Поиск наиболее выгодного технологического процесса получения экстрактивных веществ из древесной зелени является важной задачей мировых производств. Мы выяснили, что одним из наиболее перспективных направлений использования ДЗ является безотходная химическая переработка с получение биологически активных веществ кормового и лечебно-профилактического назначения. Развитие биотехнологии за последние десятилетия открыли широкие возможности использования БАВ во многих областях медицины, ветеринарии, животноводства, кормопроизводства, а так же пищевой, парфюмерно-косметической и химической промышленности. Так же, переработанную древесную зелень, особенно пихтовое масло, используют как отдушки в мыловарении, парфюмерно-косметической промышленности и др.

Древесная зелень содержит множество веществ, такие как эфирные масла, хлорофилл, различные витамины (В1 В2, В6, С, ЕД, Р и др.) провитамин А (каротин), белки, жиры, углеводы, микроэлементы и другие ценные вещества, а уже экстрактивные вещества ДЗ содержат множество полезных веществ: гумми, камеди, терпены, дитерпены, танниды, смолы, тритерпены и тд.

Технология переработки ДЗ очень сложная, ведь после среза кроны не должно проходить более 1 суток , тк после этого полезные вещества и эфирные масла ДЗ исчезают. Чаще всего древесную зелень перерабатывают на месте передвижными установками, что еще более не удобно, тк выход продукции намного меньше, чем на стационарной установке на производстве.

Сегодня в производстве проводят одностадийные процессы извлечения водой или бензином с выходом основных продуктов 55…60% от теоретического. При этом только частично используются экстрактивные вещества, а 85…98% биомассы ДЗ, в зависимости от способа переработки, попадает в отходы.

Список литературы

1.      Азаров. В.И. Химия древесины и синтетических полимеров [Текст] / В.И. Азаров, A.B. Оболенская, A.B. Буров. - С - Петербург: 2010, 624 с.

.        Ковернинский, И.Н. Комплексная химическая переработка древесины: учебник для вузов [Текст] / И.Н. Ковернинский. В.И. Комаров, С.И. Третьяков, Н.И. Богданович, О.М. Соколов. H.A. Тумакова, Л.И. Селянина, Е.В. Дьякова. - 3-е изд., испр. и доп. Архангельск: 2006, 348 с.

.        Леонович A.A., Оболенская A.B. Химия древесины и полимеров. М.: Лесная промышленность, 1988, 152 с.

4.                    Никитин В.Н., Оболенская А.В., Щеголев В.П. Химия древисины и целлюлозы. М.: Лесн. Пром-сть, 1978, 368 с.

5.      Вураско А.В. Химия растительного сырья: учебное пособие / А.В.Вураско, А.Р.Минакова, А.К.Жвирблите, И.А.Блинова.-Екатеринбург.,2013.- 90 с.

.        Использование древесной зелени [Электронный ресурс] - Режим доступа - http://tehnoinfo.ru/tehnolog/derevo/266-drevesnay-zelen.html

7.      Пат. 2013439 РФ. Установка для получения хвойного экстракта/ В.Г.Елисеев, А.Н.Толмачев, А.А.Архипов, А.М.Павливкер, Э.В.Богачев// Бюл.-1994.-№1.- С.96.

Похожие работы на - Экстрактивные вещества древесной зелени хвойных пород и использование их для получения эфирных масел и препаратов на их основе

 

Не нашли материал для своей работы?
Поможем написать уникальную работу
Без плагиата!
Без нейросетей!