Автоматизированная система регулирования уровня мазута в кубе колонны
Министерство
образования и науки Российской Федерации
Федеральное
государственное бюджетное образовательное учреждение высшего образования
Московский
государственный университет технологий и
управления
имени К.Г. Разумовского
(Первый
казачий университет)
Сибирский
казачий институт технологий и управления (филиал)
ФГБОУ
ВО «МГУТУ имени К.Г. Разумовского
(Первый
казачий университет)»
Кафедра
проектирования и автоматизации производств
КУРСОВАЯ
РАБОТА
по
дисциплине: Автоматизация технологических процессов и производств
тема:
Автоматизированная система регулирования уровня мазута в кубе колонны
выполнила: Белова
Н.В.
направление
подготовки (специальность): 220700
группа: 423-11
шифр: 0-211066
преподаватель:
к.т.н., доцент Пастухова Е.И.
Омск-2015г
Введение
Автоматизированные системы управления - это
совокупность математических методов, технических средств, их программного
обеспечения и организационных комплексов, обеспечивающих управление и контроль
параметров автоматизированных объектов в соответствии с поставленной целью их
автономного функционирования.
До внедрения средств автоматизации замещение
физического труда происходило посредством механизации основных и
вспомогательных операций производственного процесса. Интеллектуальный труд
долгое время оставался не механизированным (ручным). В настоящее время операции
физического и интеллектуального труда, поддающиеся формализации, становятся
объектом механизации и автоматизации, тем самым существенно облегчая
производство больших объемов продукции и сокращая травмоопасность на
предприятиях. Автоматизированные системы управления стали основополагающими в
индустрии нефтеперабатывающих компаний и дали возможность для развития этой
индустрии.
ЗАО ГК «Титан» - российская
<https://ru.wikipedia.org/wiki/%D0%A0%D0%BE%D1%81%D1%81%D0%B8%D1%8F>
корпорация, одна из крупнейших компаний в СНГ
<https://ru.wikipedia.org/wiki/%D0%A1%D0%9D%D0%93>, занимающихся
производством и сбытом синтетического каучука
<https://ru.wikipedia.org/wiki/%D0%A1%D0%B8%D0%BD%D1%82%D0%B5%D1%82%D0%B8%D1%87%D0%B5%D1%81%D0%BA%D0%B8%D0%B9_%D0%BA%D0%B0%D1%83%D1%87%D1%83%D0%BA>,
фенола <https://ru.wikipedia.org/wiki/%D0%A4%D0%B5%D0%BD%D0%BE%D0%BB>, а
также разработками в сфере биотехнологий
<https://ru.wikipedia.org/wiki/%D0%91%D0%B8%D0%BE%D1%82%D0%B5%D1%85%D0%BD%D0%BE%D0%BB%D0%BE%D0%B3%D0%B8%D1%8F>.
Организационно-правовая форма - Закрытое акционерное общество
<https://ru.wikipedia.org/wiki/%D0%97%D0%B0%D0%BA%D1%80%D1%8B%D1%82%D0%BE%D0%B5_%D0%B0%D0%BA%D1%86%D0%B8%D0%BE%D0%BD%D0%B5%D1%80%D0%BD%D0%BE%D0%B5_%D0%BE%D0%B1%D1%89%D0%B5%D1%81%D1%82%D0%B2%D0%BE>.
ОАО «Омский каучук» является частью
концерна «Титан» и занимает одно из лидирующих мест среди российских
производителей синтетического каучука. Продукция завода на протяжении всей
истории была неоднократно удостоена высоких наград, в том числе -
международного приза за достижения в технологии и качестве продукции,
сертификата РФ «Лидер Российской экономики», премии «Золотой Меркурий» за
лучшие показатели по объёмам реализованной продукции от Европейской Ассоциации
«Партнерство ради прогресса», дипломов и медалей международных выставок
«Химия», «Шины, РТИ и каучуки». Продукция завода неоднократно побеждала в
конкурсе «Сто лучших товаров». Ее качество сориентировано на спецификацию ЕС и
соответствует ей на 100%.
Нефть представляет собой сложную
смесь жидких углеводородов, в которых в различных количествах растворены
твердые углеводороды, смолисто-асфальтеновые вещества и природные
углеводородные и неуглеводородные газы. В частности, все углеводороды, входящие
в состав нефти, имеют свои индивидуальные температуры кипения и испарения при
нагреве нефти. На этом и базируются наиболее распространенные методы, положеные
в основу ее заводской переработки. В процессе перегонки при постепенно
повышающейся температуре компоненты нефти отгоняются в порядке возрастания их
температур кипения. Этот процесс получил название фракционирования (или
дистилляции). Поскольку нефть представляет собой многокомпонентную непрерывную
смесь углеводородов и гетероатомных соединений, то обычными методами перегонки
не удается разделить их на индивидуальные соединения со строго определенными
физическими константами, в частности температурой кипения при данном давлении.
Поэтому нефть разделяют на отдельные компоненты, каждый из которых является
менее сложной смесью. Такие компоненты называют фракциями или дистиллятами. В
условиях промышленной перегонки отдельные нефтяные фракции отгоняются при
постоянно повышающейся температуре кипения. Следовательно, нефть и входящие в
ее состав ее фракции характеризуются не какой-то определенной температурой
кипения, а температурным интервалом кипения - пределами начала кипения и конца
кипения. фракционирование нефть мазут
Сущность первичной переработки нефти
заключается в том, что она поступает в ректификационные колонны на перегонку,
где разделяется на несколько фракций.
1. Технологический раздел
.1 Описание технологического процесса
фракционирования углеводородного сырья
Процесс фракционирования углеводородного сырья
(стабильного газового конденсата - СГК)(рис.1) осуществляется в колонне № 255с
выносной секцией дизельного топлива (стриппинг-секция, колонна № Кт250) с
использованием в качестве теплоносителя перегретого водяного пара, получаемого
в печи пиролиза № 35 отделения.
Рисунок 1 - Функциональная схема автоматизации
технологического процесса
Установка фракционирования включает в себя:
центральный пункт управления (ЦПУ);
узел теплообменников для нагрева исходного
газового конденсата;
узел трубчатых печей №№ П-89, 35 для испарения
исходного газового конденсата перед его подачей в колонну № 255 (входят в
объект обслуживания аппаратчика пиролиза отделения 4-4а);
узел разгонки (фракционирования) стабильного
газового конденсата в колонне № 255 на фракции: бензиновую фракцию, уайт-спирит
(нефрас), дизельную фракцию и топливо для коммунально-бытовых нужд (мазут);
узел дренажной и аварийной емкостей с
трубопроводами.
Установка фракционирования газового конденсата
предназначена для переработки до 125 тыс.т/год стабильного газового конденсата
(СГК).Схема фракционирования приведена на рисунке 2.
Рисунок 2 - Схема дисцилляции - фракционирования
нефти
«А» - показано, как жидкость, подлежащая
дистилляции (1), нагревается до температуры, при которой ее молекулы могут
выделиться из жидкости в виде газа (2). Когда они попадают на более холодную
поверхность, происходит конденсация, образуются капли (3), которые затем можно
собрать.
«В» показано устройство для фракционной
дистилляции сырой нефти, где в нижней части создается более высокая
температура, чем в верхней. Когда внутрь поступает сырая нефть (4), более
тяжелые ее компоненты опускаются на дно, а более легкие поднимаются в виде
паров, которые через кольцевые тарелки (5) нагнетаются через слой жидких
фракций. Менее летучие компоненты конденсируются при этом и сливаются с
жидкостью. Когда уровень жидкости превышает некоторый заданный предел, она
выливается. Поэтому пар обогащается летучими компонентами по мере подъема вверх
по колонне.
.2 Описание процесса регулирования уровня мазута
в кубе ректификационной колонны
Процесс регулирования уровня мазута в кубе
колонны 255 (рис.3) поддерживается регулятором уровня поз.8166, работающим с
преобразователем частоты вращения вала электродвигателя насоса № 278.
Рисунок 3 - Функциональная схема процесса
регулирования уровня мазута в колонне 255
Расход мазута (топлива для коммунально-бытовых
нужд) от насосов № 278 регистрируется прибором поз.8166.
Предусмотрен вывод кубовой жидкости колонны №
255 самотёком (при остановленном насосе № 278). В этом случае уровень в кубе
колонны № 255 поддерживается регулятором уровня поз.8166, клапан регулятора
установлен на линии вывода кубовой жидкости в емкость № 59, то есть при отказе
клапана вариаторного типа, установленного на работу с насосом № 278 срабатывает
сигнал для клапана нормально закрытого типа, и топливо для хозяйственно-бытовых
нужд самотеком выводится в емкость №59.
При показаниях уровнеметра ниже 20% шкалы
прибора (380 мм от днища аппарата) от шкалы или выше 80% шкалы прибора (1120 мм
от днища аппарата) которая регистрируется прибором РСУ срабатывает световая и
звуковая сигнализация уровня в кубе колонны № 255, которая отражается на
мониторе ПК у оператора.
При очень низком уровне в кубе колонны №255 10 %
шкалы прибора (300 мм от днища аппарата) срабатывает прибор позиции 5223 ЭКМ-1У
и происходит отключение эл.двигателя насоса № 278. На щите в ЦПУ гаснет лампа
индикации работы насоса.
Для защиты насосов № 278 марки УМН-120
предусмотрены следующие блокировки на их отключение:
- при понижении уровня в кубе колонны № 255 до
10 % шкалы прибора поз.5223 (ЭКМ-1У);
- при повышении давления нагнетания насосов до
12,0 кгс/см2, прибор поз.64251,2 (ВЭ-16РБ);
Предусмотрено дистанционное отсечение насосов №
2781,2электрозадвижками №№ 30, 31, установленными на трубопроводах всаса и
нагнетания при аварийной разгерметизации насосов. На нагнетании насоса № 2781,2
установлен обратный клапан для предотвращения обратного хода жидкости.
На щите в ЦПУ предусмотрена световая
сигнализация работы насосов № 2781,2 и положения электрозадвижек на линиях
насоса (№ 30) и нагнетания (№ 31) насосов («открыто», «закрыто»).
Сбор топлива для коммунально-бытовых нужд,
выводимого из куба колонны № 255 отделения 2-3-5 производится в ёмкостях №№ 59,
26, работающих как:
№ 26 - сбор кондиционного топлива для
коммунально-бытовых нужд с возможностью его последующей откачки потребителям
насосом № Н-100 или частичного возврата в систему фракционирования СГК для регулирования
удельного веса поступающего на переработку сырья.
№ 59 - сбор некондиционного топлива для
коммунально-бытовых нужд в период разогрева системы фракционирования или при
нарушениях технологического режима.
Ёмкости №№ 26, 59 являются взаимозаменяемыми.
Очередность включения емкостей в работу определяется письменным распоряжением
инженера-технолога цеха.
Также мазут из этих емкостей поступает
непосредственно в цех 13-19 для дальнейшей отгрузки.
2. Раздел автоматизации
.1 Требования к разработке АСР
Разработка и внедрение автоматизированных систем
управления технологическими процессами являются основной тенденцией развития
современного промышленного производства. Цели автоматизации - повышение
эффективности и производительности труда, повышение качества продукции,
оптимизация планирования и управления, освобождение человека от работы во
вредных условиях. Одной из наиболее сложных задач автоматизации является
формализованное их представление в форме математического описания. Существует
большое число методов идентификации объектов управления на основании
экспериментальных методов. Эти методы чаще всего требуют большого числа
расчетов, которые целесообразно выполнить с помощью вычислительной техники. Так
же используются и аналитические методы построения моделей для отдельных классов
объектов.
Моделирование - это способ изучения объектов и
систем управления, при котором эксперимент проводиться на его модели, а
результаты качественно или количественно переносятся на оригинал.
Цели и методы моделирования направлены на
повышение эффективности и производительности труда, повышение качества
продукции, оптимизация планирования и управления, освобождение человека от
работы во вредных условиях.
Проектирование систем автоматического
регулирования можно вести двумя путями:
методом анализа, когда при заранее выбранной
структуре системы (расчетным путем или моделированием) определяют ее параметры;
методом синтеза, когда по требованиям, к системе
сразу же выбирают наилучшую ее структуру и параметры.
На основании проведенного анализа объекта АСР
уровня емкости можно сформулировать следующую задачу автоматизации: необходимо
обеспечить регулирование уровня присадки в емкости. Схема системы управления по
отклонению представлена на рисунке 7.
Рисунок 7 - Обратная функциональная схема
замкнутой САУ с обратной связью.
РУ - регулирующее устройство (регулятор). Оно
предназначено для корректирования сигнала ошибки регулирования с целью
улучшения качества процесса управления.
ИМ - исполнительный механизм. Предназначен для
преобразования выходного сигнала регулятора в механическое перемещение
регулируемого органа.
РО - регулируемый орган. Устройство с помощью
которого осуществляется изменение режима работы объекта управления, оно влияет
на регулируемый параметр объекта управления путем изменения количества вещества
или энергии поступающей в объект.
ЧЭ - чувствительный элемент. Предназначен для
измерения регулируемой величины и преобразования её в сигнал управления другой
природы более удобный для передачи последующим элементам САУ.
Составим функциональную схему системы,
представив исходную систему в виде соединения функциональных элементов, каждому
из которых присвоена определённая функция преобразования сигнала (рисунок 8).
Рисунок 8 - Сруктурно-функциональная схема АСР.
ОР - объект автоматизации, его выходная величина
- регулируемый параметр (температура) а входная величина - регулирующее
воздействие (подача пара);
Д - измерительный элемент (датчик температуры),
его входная величина - регулируемый параметр (температура присадок), несущий
информацию о величине регулируемого параметра;
ЭС - элемент сравнения, его входные величины -
сигнал задания (уставка) Xзад, пропорциональный заданному значению
регулируемого параметра и сигнал датчика Хр(р), пропорциональный текущему
значению регулируемого параметра Хр(р). Выходная величина элемента сравнения -
сигнал ошибки Е(р)= Xзад - Хр(р);
Р - регулирующий элемент (регулятор
технологического параметра), его входная величина - сигнал ошибки (отклонение)
Е(р), а выходная величина - регулирующее воздействие U - напряжение, которое
соответствует заданной температуре, также в виде информационного сигнала.
Функциональная связь между выходной и входной величинами регулятора есть закон
регулирования;
ИМ - исполнительный механизм, его
выходная величина - регулирующее воздействие
оборотов в виде физического
перемещения регулирующего органа (угол поворота вала двигателя), а входная
величина - регулирующее воздействие в виде информационного сигнала,
сформированного регулятором U - напряжение, подаваемое на исполнительный
механизм;
РО - регулирующий орган, его задача
- передать регулирующее воздействие от исполнительного механизма к объекту
автоматизации. Выходная величина регулирующего органа - регулирующее
воздействие Q , непосредственно прикладываемое к объекту - подача присадки
(количество присадки необходимое для поддержания соответствующего уровня в
резервуаре);
С выхода объекта автоматизации к
входу элемента сравнения информационный сигнал передается по каналу обратной
связи, в котором находится измерительный элемент.
Элемент сравнения, регулятор,
исполнительный механизм, регулирующий орган и объект автоматизации образуют
прямой канал АСР, в прямом канале вырабатывается регулирующее воздействие в
виде информационного сигнала, перемещения регулирующего органа,
непосредственного воздействия на объект и прикладывается к объекту с целью
поддержания регулируемой величины Хр(р) возможно близко к заданному ее значению
Хзад.
Работа существующей системы
управления описывается как классическое управление по отклонению регулируемой
величины от её заданного значения. Отклонение, являющееся ошибкой
регулирования, определяется сравнивающим элементом (сумматором). Величина
ошибки регулирования преобразовывается регулятором в управляющее воздействие на
исполнительный механизм, который в данном случае представляет собой синхронный
электродвигатель переменного тока. Электродвигатель изменяет положение заслонки
(РО), которая регулирует количество присадки, подаваемой в емкость, таким
образом поддерживается требуемый уровень присадки. АСР работает до тех пор,
пока не будет устранена ошибка регулирования.
.2 Моделирование и анализ АСР
Для того, чтобы перейти
непосредственно к анализу системы с помощью компьютерной программы MATLAB,
необходимо составить структурно-математическую схему и передаточные функции
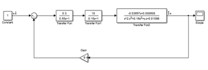
элементов (рисунок 4).
Рисунок 4 -
Структурно-математическая схема АСР
Передаточные функции регулятора и
объекта регулирования (емкости с НП) нам неизвестны. Для нахождения передаточной
функции объекта регулирования воспользуемся идентификацией, для нахождения
передаточной функции регулятора воспользуемся оптимизацией. В качестве
задатчика выступает единичное ступенчатое воздействие, соответствующее
изменению заданной температуры от начального до конечного значения.
Идентификация объекта автоматизации.
Под идентификацией динамических
объектов понимают процедуру определения структуры и параметров их
математических моделей, которые при одинаковом входном сигнале объекта и модели
обеспечивают близость выхода модели к выходу объекта при наличие какого-то
критерия качества.
Обычно идентификация - многоэтапная
процедура. Основные ее этапы следующие:
. Структурная идентификация -
заключается в определении структуры математической модели на основании
теоретических соображений;
. Параметрическая идентификация -
включает в себя проведение идентифицирующего эксперимента и определение оценок
параметров модели по экспериментальным данным;
. Проверка адекватности - проверка
качества модели в смысле выбранного критерия близости выходов модели и объекта.
Для проведения идентификации
технологического объекта управления воспользуемся пакетом System Identification
Toolbox (SIT) из состава MATLAB.
Пакет System Identification Toolbox
содержит средства для создания математических моделей линейных динамических
объектов (систем) на основе наблюдаемых входных/выходных данных. Он имеет
удобный графический интерфейс, позволяющий организовывать данные и создавать
модели. Методы идентификации, входящие в пакет применимы для решения широкого
класса задач - от проектирования систем управления и обработки сигналов до
анализа временных рядов.
Обработка массива данных с помощью
пакета System Identification Toolbox предполагает следующие этапы:
обработка и преобразование данных с
целью создания файла данных;
непараметрическое оценивание данных
с целью предварительного определения основных характеристик ТОУ;
параметрическое оценивание данных с
целью создания различных видов моделей с тета-формате;
задание структуры модели;
изменение и уточнение структуры
модели (если это необходимо);
проверка адекватности и сравнение
различных видов моделей с целью выбора наилучшей;
преобразование модели тета-формата в
вид удобный для дальнейшего использования при анализе и синтезе системы
управления.
В результате проведенного
эксперимента был получен массив данных состоящий из 61 значений входного
параметра (Подача присадки, м3/мин) и 61 значений выходного параметра (уровень
присадки %). Интервал дискретизации (промежутки времени, через которые
производились измерения входных и выходных величин) ts равен 120 секунд. Для
загрузки в рабочую область MATLAB массива данных необходимо выполнить ряд
команд:
>>
load datta
>>
ts=3;
>>
dan=iddata(y,u,ts)
>>
dan=iddata(y(301:400),u(301:400),ts);
>> set(dan,'InputName','уровень','OutputName','давление');
>>
set(dan,'InputUnit','%','OutputUnit','Па');
>> ident
Временные диаграммы входных и
выходных сигналов представлены на рисунке 5.
Рисунок 5 - Временные диаграммы сигналов.
Получаем несколько моделей нашего
объекта (рисунок 6).
Рисунок 6 - Ввод импортируемых
данных в среду интерфейса.
После того как были получены все модели объекта
управления, можно приступить к выбору одной из них, которая будет
использоваться далее для получения передаточной функции ТОУ (рисунок 7).
Рисунок 7 - Диаграммы моделей объекта.
Для анализа модели ТОУ возьмем модель bj22221,
для чего перетащим ее на иконку To Workspace, при этом модель bj22221 появится
в рабочем пространстве MATLAB.
Полученная модель представлена в так называемом
тета - формате и является дискретной. Для преобразования модели из тета -
формата в вид удобный для дальнейшего использования в пакете System
Identification Toolbox имеются специальные функции.
Преобразуем модель тета - формата многомерного
объекта в вектор передаточных функций, связанных с выбранным входом:
Opening System Identification Tool
....... done.
num =
0 -0.0537 0.1147=
1.0000 -1.5410 0.6189
Получим дискретную передаточную функцию:
Transfer function:
>> ws=tf(num,den,ts)=
0 -0.0537 0.1147=
1.0000 -1.5410 0.6189
>> wz=tf(num,den,ts)=
-0.0537 z + 0.1147
----------------------
z^2 - 1.541 z + 0.6189time: 3
seconds
Discrete-time transfer function.
>> Ws=d2c(Wz)function:
ws =
-0.03697 s + 0.008608
----------------------
s^2 + 0.16 s + 0.01098
Приведенные передаточные функции являются одной
и той же моделью, записанной в разных формах и форматах.
Проанализируем динамические характеристики
модели. Для чего построим переходную характеристику ТОУ для непрерывной
(рисунок 8) и дискретной (рисунок 9) моделей и определим основные показатели
переходного процесса.
Для построения переходной характеристики
воспользуемся командами:
>> step(Ws)
Рисунок 8 - Переходная характеристика
непрерывной модели
>> Step (Wz)
Рисунок 9 - Переходная характеристика дискретной
модели
Основные характеристики переходного процесса
следующие:
время нарастания переходного процесса (Rise
time) составляет для непрерывной модели 21,1 с, для дискретной 21 с;
время регулирования (Setting time) составляет
для дискретной 56,5 c, для непрерывной модели 56,5 с;
установившееся значение выходной величины (Final
value) для дискретной и непрерывной модели 0,784.
Для построения импульсной характеристики
(рисунки 10 и 11) воспользуемся командой:
>> impulse(Ws)
Рисунок 10 - Импульсные характеристики
непрерывной модели
>> impulse(Wz)
Рисунок 11 - Импульсные характеристики
дискретной модели
Основными характеристиками модели ТОУ при подаче
на вход единичного импульсного воздействия являются:
Пиковая амплитуда (Peak amplitude) составляет
для дискретной модели 0,0381с, а для непрерывной 0,0384с.
Время регулирования (Setting time) составляет
для дискретной модели 68,4 с, а для непрерывной модели 66,9 с.
Определим частотные характеристики моделей
(рисунки 12, 13) с помощью команды:
>> bode(Ws)
Рисунок 12 - Частотные характеристики
непрерывной модели
>> bode(Wz)
Рисунок 13 - Частотные характеристики дискретной
модели
На графиках частотных характеристик ЛАХ и ЛФХ
указаны значения запасов устойчивости:
по амплитуде (Gain Margin): для дискретной
модели 10,4 dB, а для непрерывной модели 12.7 dB.
по фазе (Phase Margin): для непрерывной модели
бесконечность и для дискретной - бесконечность.
Определим статический коэффициент усиления
модели ТОУ с помощью команды:
>> k=dcgain(Ws)= 0.7842
>> k=dcgain(Wz)
k = 0.7842
Значения запасов устойчивости можно определить
также и в режиме командной строки MATLAB с помощью команды:
Для непрерывной модели:
[Gm,Pm,Wcg,Wcp]=margin(Ws)
Gm = 4.3310= Inf= 0.2198= NaN
Для дискретной модели:
>> [Gm,Pm,Wcg,Wcp]=margin(Wz)
Gm = 3.3221= Inf= 0.1787= NaN
Где Gm - запас устойчивости по амплитуде в
натуральных величинах на частоте Wcg, Pm - запас устойчивости по фазе на
частоте Wcp.
Для определения запасов устойчивости в
логарифмическом масштабе необходимо выполнить следующие операции:
>> Gmlog=20*log10(Gm)= 10.4283
Как видно, определение запасов устойчивости
последним способом позволяет значительно точнее вычислять эти значения, чем на
графиках частотных характеристик.
Анализ частотных характеристик показывает, что и
дискретная модель и непрерывная модель устойчивы. Запас устойчивости
непрерывной модели по фазе равен 4.3310, а для дискреиной 3.3221.
Этот вывод подтверждается так же комплексной
амплитудно-фазовой характеристикой АФХ, диаграммой Найквиста, так как годограф
АФХ не захватывает точку комплексной плоскости с координатами -1,j0.
Для построения АФХ (рисунок 14) необходимо
воспользоваться командой:
>> nyquist(Ws,Wz)
Рисунок 14 - Амплитудно-фазовые характеристики
дискретной и непрерывной моделей
Для решения задач анализа и синтеза систем
управления важно знать ответ на другой не менее важный вопрос, чем полученные
временные, частотные и статистические характеристики: обладает ли объект
свойством управляемости в смысле возможности его перевода из заданной начальной
точки (или области) в заданную конечную точку (или область). До второй половины
девятнадцатого столетия проблема управляемости - проблема установления
обладания объектом свойством управляемости решалась чисто интуитивно на основе
инженерных знаний и опыта. В настоящее время, с развитием метода переменных состояния
стало возможным строгое определение свойства управляемости и установление
критерия управляемости.
Решение проблемы управляемости основано на
анализе уравнений переменных состояния и формулируется следующим образом:
объект называется вполне управляемым, если выбором управляющего воздействия
u(t) на интервале времени [t0> tk;] можно перевести его из любого начального
состояния y(to) в произвольное заранее заданное конечное состояние y(tk).
Критерием управляемости линейных стационарных
объектов является условие: для того чтобы объект был вполне управляем,
необходимо и достаточно, чтобы ранг матрицы управляемости
Ми = (В АВ А2В ... Аn-1 В)
равнялся размерности вектора состояний nMu = n.
В пакете Control System Toolbox имеется функция
ctrb, формирующая матрицу управляемости в пространстве состояний. Для того,
чтобы воспользоваться этой функцией необходимо вычислить матрицы А, В, С, D с
помощью команды:
>> [A,B,C,D]=ssdata(Ws)
A =
-0.1600 -0.0878
0.1250 0=
0.2500
-0.1479 0.2755=
0
Вычислим матрицу управляемости:
>> Mu=ctrb(A,B)= 0.2500
-0.0400
0 0.0313
Определим ранг матрицы управляемости:
>> n1=rank(Mu)= 2
Таким образом, для исследуемой модели объекта
размерность вектора состояний, определяемая размером матриц А и В равна четырем
и ранг матрицы управляемости Мu также равен четырем, что позволяет сделать
вывод о том, что объект автоматизации является вполне управляемым, т.е. для
него имеется такое управляющее воздействие u(t), которое способно перевести на
интервале времени [to, tk] объект из любого начального состояния у (to) в
произвольное заранее заданное конечное состояние y(tk).
При синтезе оптимальных систем с обратной связью
сами управления получаются как функции от фазовых координат. В общем случае
фазовые координаты являются абстрактными величинами и не могут быть
исследованы. Поддается измерению (наблюдению) вектор у = (у1, ...,yk)T ,
который обычно называют выходным вектором или выходной переменной, а его
координаты - выходными величинами. Выходная переменная функционально связана с
фазовыми координатами, и для реализации управления с обратной связью необходимо
определить фазовые координаты по измеренным значениям выходной переменной. В
связи с этим возникает проблема наблюдаемости, заключающаяся в установлении
возможности состояния определения состояния объекта (фазового вектора) по
измеренным значениям выходной переменной на некотором интервале.
Решение проблемы наблюдаемости основано на
анализе уравнений переменных состояния и формулируется следующим образом:
объект называется вполне наблюдаемым, если по реакции y(tk) на выходе объекта,
на интервале времени [t0, tk] при заданном управляющем воздействии u(t) можно
определить начальное состояние вектора переменных состояния x(t), являющихся
фазовыми координатами объекта.
Критерием наблюдаемости линейных стационарных
объектов является условие: для того, чтобы объект был вполне наблюдаемым,
необходимо и достаточно, чтобы ранг матрицы наблюдаемости
My = (СТАТСТ
(АТ)2СТ
... (AT)n-1C)
равнялся размерности вектора состояния
п = rang MY.
Определим матрицу наблюдаемости:
>> My=obsv(A,C)
My =
-0.1479 0.2755
0.0581 0.0130
Определим ранг матрицы наблюдаемости:
>> n2=rank(My)= 2
Таким образом, для исследуемой модели объекта
размерность вектора состояний, определяемая размером матриц А и С равна 2 и
ранг матрицы наблюдаемости MY также равен 2, что позволяет сделать вывод о том,
что объект автоматизации является вполне наблюдаемым, т.е. для него всегда
можно определить по значениям выходной величины y(t) вектор переменных
состояния, необходимый для синтеза системы управления.
2.3 Обоснование выбора типа регулятора
Для того чтобы правильно выбрать необходимый тип
вносимого в систему регулятора, исследуем переходный процесс объекта управления
на основании передаточной функции W(p) ТОУ полученной в предыдущем разделе.
Построим функциональную схему в SIMULINK (рисунке 15).
Рисунок 15 - Схема моделирования в SIMULINK
С помощью LTI Viewer получим переходную
характеристику объекта управления (рисунок 16).
Рисунок 16 - Переходная характеристика в LTI
Viewer
По переходной характеристике определяем
показатели точности и качества:
Время нарастания (Rise Time) - 22,2 с.;
Время регулирования (Setting Time) - 82,7 с.;
Установившееся значение (Final Value) - 2,35 ;
Перерегулирование (Overshoot) - 13,9 %.
На Рисунке 17 изображены ЛАХ и ЛФХ разомкнутой
системы.
Рисунок 17 - ЛАХ и ЛФХ разомкнутой системы.
На рисунке 18 изображен АФЧХ разомкнутой
системы.
Рисунок 18 - АФЧХ разомкнутой системы.
Для улучшения показателей качества и точности переходного
процесса, а также выполнения требований по запасам устойчивости необходимо
введение в систему линейного регулятора.
Необходимым условием надежной устойчивой работы
АСР является правильный выбор типа регулятора и его настроек, гарантирующий
требуемое качество регулирования.
В зависимости от свойств объектов управления,
определяемых его передаточной функцией и параметрами, и предполагаемого вида
переходного процесса выбирается тип и настройка линейных регуляторов.
Основные области применения линейных регуляторов
определяются с учетом следующих рекомендаций:
И - регулятор со статическим ОР - при медленных
изменениях возмущений и малом времени запаздывания (τ/Т<0.1);
П - регулятор со статическим и астатическим ОР -
при любой инерционности и времени запаздывания, определяемом соотношением τ/Т<0.3;
ПИ - регулятор - при любой инерционности и
времени запаздывания ОР, определяемом соотношением τ/Т<1;
ПД и ПИД - регуляторы при условии τ/Т<1
и малой колебательности исходных процессов.
В таблице 2.1 приведены формулы для выбора
настроек kр, Ти, Тд основных линейных регуляторов для статических и
астатических ОР.
Методика выбора регулятора может быть следующая:
Оценивается вид переходного процесса ОР
(строится график) и графо-аналитическим способом определяются параметры
передаточной функции.
Таблица 2.1 - Расчет коэффициентов для
регуляторов
|
Применяемый
регулятор
|
Предполагаемый
переходный процесс
|
|
Апериодический
|
20%
перерегулирование
|
Минимум
интегр. квадр. оценки
|
|
П-регулятор
|
 -
|
|
|
ПИ-регулятор


ПИД-регулятор


|
|
Исходя из выше изложенных рекомендаций и
учитывая применительно к нашей системе τ/Т=0.4,
становится очевидно, ПИ и ПИД регуляторы могут быть вполне применены (рисунки
19, 20, 21, 22). =0,6/0,4= 1,5=5*40= 200=Td= 0,2*40 = 8
Рисунок 19 - Схема ПИД-регулятора в блоке
Subsystem
Рисунок 20 - Схема АСР для определения
оптимальных параметров настройки ПИД- регулятора
Рисунок 21 - Процесс оптимизации параметров
регулятора
Рисунок 22 - Значения коэффициентов
Ввели оптимизированные данные в нашу систему и
получили переходные характеристики (рисунки 23, 24, 25).
Рисунок 23 - Переходная характеристика САР с
введенным и оптимизированным ПИД- регулятором
Рисунок 24 - ЛАХ и ЛФХ АСР
Рисунок 25 - Амплитудно-фазовые характеристика с
введенным и оптимизированным ПИД- регулятором.
В результате введения в систему ПИД - регулятора
были получены следующие параметры системы:
время нарастания (Rise Time) - 0,539 с.;
время регулирования (Setting Time) - 0,766 с.;
установившееся значение (Final Value)- 1;
перерегулирование (Overshoot) - 0 %.
запас по фазе (Phase Margin) - 180 градусов.
Вывод
В результате написания курсовой работы был
изучен технологический процесс фракционирования нефти и была поставлена задача
проектирования автоматизированной системы регулирования уровня мазута в кубе
колонны №255. Для этих целей была составлена математическая модель АСР.
Аналитически и с помощью системы математического моделирования «Simulink»
пакета «MATLAB» был произведен анализ АСР. Произведен выбор регулятора, а также
выбор его параметров. Математическая модель позволила установить, что система
устойчива.
Были разработаны структурная и функциональная
схемы системы автоматического регулирования уровня.
Запасы устойчивости по фазе 180 градусов, время
регулирования равно 0,766 с, и время нарастания 0,539 с и они удовлетворяют
заданным показателям качества регулирования.
Список использованных источников
Карцев
А.А. Основы геохимии нефти и газа. М.: Недра, 1978.
Химия
горючих ископаемых: Учебник / Е.В.Соболева ,А.Н.Гусева. - М.: Издательство
Московского университета, 2010. -312 с.
Джеймс
Г. Спейт. Анализ нефти. Справочник / перевод сангл. Под ред. Л.Г.Нехамкиной,
Е.А.новикова - СПб.: ЦОП«Профессия», 2010. - 480 с.
Справочник
по преобразовательной технике [Текст] / под ред. И. М. Чиженко; [Чиженко И. М.,
Андриенко П. Д., Баран А. А. и др.]. - Киев : Техника, 1978. - 447 с.
Афонин,
А.М. Теоретические основы разработки и моделирования систем автоматизации:
Учебное пособие / А.М. Афонин, Ю.Н. Царегородцев, А.М. Петрова, Ю.Е. Ефремова.
- М.: Форум, 2011. - 192 c.
Иванов,
А.А. Автоматизация технологических процессов и производств: Учебное пособие /
А.А. Иванов. - М.: Форум, 2012. - 224 c.
Официальный
сайт группы компаний «Титан»,
<#"867643.files/image046.jpg">
Рисунок П.1 Функциональная схема автоматизации
технологического процесса.
Рисунок П.2 - Функциональная схема процесса
регулирования уровня мазута в колонне 255.
Рисунок П.4 Диаграммы моделей объекта.