Автоматизация электрообогреваемого пола промышленного помещения

  • Вид работы:
    Курсовая работа (т)
  • Предмет:
    Другое
  • Язык:
    Русский
    ,
    Формат файла:
    MS Word
    419,01 Кб
  • Опубликовано:
    2015-05-30
Вы можете узнать стоимость помощи в написании студенческой работы.
Помощь в написании работы, которую точно примут!

Автоматизация электрообогреваемого пола промышленного помещения

Оглавление

Исходные данные

Введение

Технологическая характеристика

Анализ технологической схемы

Разработка принципиальной схемы

Анализ работы принципиальной схемы

Расчет и выбор элементов автоматики

Разработка щитов управления

Разработка схем соединений

Определение основных показателей надежности

Пути повышения надежности

Техники безопасности при монтаже средств автоматизации

Заключение

Список литературы

Исходные данные

Исходными данными для курсового проекта является принципиальная и технологическая схема автоматизации электрообогреваемого пола.


Введение

Объектами курсового проектирования принимаются производственные подразделения всех форм собственности (животноводческие и птицеводческие фермы, птицефабрики и т.п) с/х. предприятия или фермерские хозяйства. Сельскохозяйственные предприятия характеризуются многообразием технологических процессов и операций:

водоснабжение, кормоприготовление, микроклимат, уборка навоза, кормораздача и т.д. В данном курсовом проекте в соответствии с заданием разработка вопросов автоматизации электрообогреваемого пола.

При этом выполняем следующее:

)Описываем технологическую схему заданного технологического процесса

)Анализируем технологическую схему и формулируем основные технологические требования в схеме управления.

)Анализируем принципиальную схему и вносим в нее необходимые изменения и дополнения.

)Выбираем технические средства автоматизации и производим проверочный отчет.

)Разрабатываем схему соединения не стандартного монтажного устройства.

Системы общего отопления даже при высоком расходе энергии не всегда способны обеспечить надлежащие параметры микроклимата, особенно при содержании в одном помещении взрослых животных и молодняка, для которых по зоотехническим требованиям необходимы различные условия среды обитания (температура, влажность и др.). Рациональное решение этой проблемы находят в примененин устройств местного (локального) электрообогрева, которые обычно дополняют систему общего отопления. Местный электрообогрев применяют главным образом для молодняка животных и птицы, но он может быть целесообразен и при содержании взрослых животных (при отсутствии подстилочного материала, для высокоудойных коров и т. п.). При определенных условиях (работа в трудноотапливамых помещениях, например, цехах ремонтных и других производственных предприятий, на доильных площадках и т. п.) местный электрообогрев может оказаться необходимым для обеспечения нормальной производственной деятельности людей.

Применение местного электрообогрева позволяет решать 2 важные задачи: 1) экономить энергоресурсы, так ак приближение источников теплоты непосредственно к зонам обитания животных позволяет использовать энергию более рационально; 2) повышать сохранность молодняка (в 3...4 раза) и продуктивность животных (на 10... 15%) при неизменном уровне кормления.

Различают следующие виды (системы) местного электрообогрева: 1) лучистый; 2) конвективный; 3) конвективно-кондуктивный; 4) комбинированный, которые выполняют с использованием соответствующих устройств и поставляемых промышленностью установок.

Технологическая характеристика

Электрообогреваемый пол (размеры в см)

а-схематический разрез; б,в- способы укладки нагревательного провода; 1-утрамбованный грунт; 2-щебень; 3,6-бетон; 4-гидроизоляция; 5-теплоизоляция; 7-нагревательный провод; 8-защитная сетка; ПС-площадка свиноматок; ПП-площадка для поросят.

Устройство электрообогреваемого пола показано на рисунке 1. В бетонное покрытие пола толщиной (10...20) • 10-2 м закладывают нагревательный провод в виде зигзага с определенным шагом h, определенным расчетом. Над проводом размещают защитную металлическую сетку, служащую для предотвращения выхода потенциала на поверхность пола при повреждении изоляции провода. Сетку надежно соединяют с нулевым проводом питающей сети. Под бетонным покрытием устанавливают тепло- и гидроизоляцию для уменьшения утечки теплоты в грунте и обратного проникновения грунтовой влаги.

Необходимая температура пола устанавливается зоотехническими нормами и зависит от вида и возраста животных: для поросят - от 22 до 28 °С, для свиноматок - 16...20 °С, для мяс-ных цыплят - 35 °С и т. д. В одном и том же помещении могут со-держаться взрослые животные и молодняк (например, свиноматки и поросята).

Для создания в этом случае разных условий для животных (разной температуры пола) изменяют шаг укладки провода в пределах площадок для взрослых животных и молодняка. Чем гуще уложен провод (меньше шаг), тем температура пола выше, и наоборот. . м2, для свиноматок-2...2,8 м2, В цыплятниках при напольном содер-жании размер площадок устанавливают исходя из плотности посадки 60 голов на 1 ма для суточных цыплят и 80 голов на 1 м2 для 30 дневных цыплят.

Отрезки нагревательного провода, определяемые расчетом, распределяют равномерно по фазам и включают в звезду,на сетевое или пониженное напряжение. Нагреватели всей обогреваемой площади разбивают на несколько трехфазных секций, каждая из которых имеет самостоятельное питание и регулятор температуры пола. Нагревательные элементы могут включаться вручную или автоматически.

Мощность электронагревателя.н=45 кВтр=68 А

Анализ технологической схемы

Анализ технологической схемы производим с целью установления основных требований к схеме управления.

Анализируя схему, приходим к выводу, что технические операции должны выполняться в строго определенной последовательности.

Поэтому схема управления должна соответствовать следующим требованиям:

.Перед пуском агрегата должен прозвучать предупредительный звуковой сигнал;

.Во избежание завала, пуск машины должен производиться в направлении обратном движению продукта, то есть цепи управления машины должны быть сблокированными;

.Силовые цепи электроприводов должны иметь защиту от возможных коротких замыканий и перегрузок;

.Схема должна иметь световую сигнализацию электропривода («включен-отключен»);

.Для наладочных и ремонтных работ должно быть предусмотрено местное управление электроприводами.

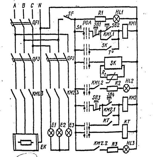
Разработка принципиальной схемы

Общие требования, предъявляемые к принципиальной схеме

На принципиальной схеме изображают все электроэлементы необходимые для осуществления и контроля в изделии заданных электрических связей между ними. Принципиальная схема определяет полный состав элементов и связи между ними и дает детальное представление о принципах работы устройства, служит основанием для разработки других конструкторских документов.

Принципиальные схемы разрабатываются на основании принятых решений структурных схем и выполняются в соответствии с нормами ГОСТа (правила выполнения электрических). Схемы выполняются для систем автоматизации различных объектов находящихся в отключенном (не рабочем) состоянии.

При разнесенном способе отдельные элементы схем, а так же элементы различных устройств изображают на схеме в разных местах, таким образом, что бы отдельные цепи были изображены более наглядно. В этом случае схема состоит из ряда цепей расположенных слева направо, или сверху вниз в порядке последовательности действия отдельных элементов. Отдельные цепи располагаются в горизонтальную строчку, так чтобы они читались слева на права, а вся схема читалась сверху вниз аналогично чтению текстового материала.

Каждый элемент, входящий в устройство и изображений на принципиальной схеме должен иметь буквенно-цифровое позиционное обозначение, составляемое из буквенного обозначения и порядкового номера, проставленного после буквенного обозначения, в соответствии с требованиями ГОСТ 2.710-81.

Буквенные обозначения - сокращенное наименование элементов, составленное из их начальных или характерных букв.

Порядковые номера элементам присваиваются, начиная с единицы в пределах групп элементов, которых на схеме имеют одинаковые буквенные позиционные обозначения.

Цепи и элементы главного тока вычерчивают жирными линиями, а вспомогательные, состоящие из катушек и контактных цепей и сигнализацию изображают тонкими линиями.

Работа принципиальной схемы. Включение ИК-ламп происходит по определенной программе, задаваемой реле времени КТ в соответствии с зоотехническими нормами, а управление работой пола осуществляется по его температуре при помощи терморегулятора SK.

Электрообогревом можно управлять вручную, когда переключатель SA находится в положении Р. Комбинированный обогрев может осуществляться переносными установками ЭИС-11-И1 «Комби» (для поросят-сосунов), размещаемых в станках (в комплект установки на 30 станко-мест входит 30 обогревательных устройств).

Устройство состоит из ИК- облучателя ЭИС-0,25-И1 «Ирис» с керамическим излучателем мощностью 250Вт укрепляемого на керамической стойке, и расположенной на полу под облучателем электрообогреваемой панели мощностью 120 Вт.

Автоматическое регулирование позволяет поддерживать температуру в диапазоне от 0 до 36 °С. Подобное но принципу действия устройство ЭИС-0.37-Ш «Руно» предназначено для комбинированного обогрева ягнят.

Анализ работы принципиальной схемы

Анализ принципиальной схемы производится в целях проверки принятой схемы управления, установленным технологическим и электротехническим требованиями. В процессе анализа проверяют, обеспечивает ли схема нормальную работу оборудования в рабочих режимах и четкое действие при аварийных режимах; устанавливают , насколько схема надежна, проста и экономична; удобна ли в эксплуатации, правильно ли оформлена. Ответить на вопросы, обеспечивает ли схема нормальную работу оборудования в рабочих режимах, можно только после рассмотрения работы схемы во времени. Далеко в том, что на принципиальной схеме зафиксировано положения автомата в отключенном состоянии, в то время как в процессе работы в схеме совершаются изменения: одни аппараты включаются, другие отключаются или переключаются. Поэтому надо проанализировать действие схемы во времени, т.е. рассмотреть динамику схемы. В простейшем случае поступают так: устанавливается что к схеме подведено нужное напряжение, коммутирующая аппаратура включена, затем мысленно воздействуем на командный элемент (кнопки управления) и прослеживаем визуально, какие изменения происходят, какова последовательность включения аппаратов. Если схема достаточно сложна, то привести эти операции бывает затруднительно. Тогда нужно строить диаграмму включения. Для построения диаграммы взаимодействия ,проводим на чертеже горизонтальные параллельные линии, число которых равно числу аппаратов в схеме. Масштаб одинаков для всех аппаратов. Работу однопозиционных элементов изображаем условно прямоугольником. Включение реле, пускателей и других электромагнитных аппаратов, обладающих индивидуальностью, изображаем трапециями. Высота всех трапеций принимается одинаковой, а расстояние между трапециями определяется значениями установок реле времени. Построив такую диаграмму, можно легко определить, какие аппараты включены или отключены в любой момент времени. Для этого достаточно в соответствующем месте диаграммы провести линию, перпендикулярную оси времени и посмотреть, где она пересекается.

Временная диаграмма


Расчет и выбор технологических средств автоматизации

При составлении перечня элементов принципиальных схем приходиться выбирать элементы средств автоматизации.

Выбор магнитного пускателя для нагревателя

н.п ≥ Iн.н

≥ 68

ПМЛ - 521002

I н.п ≥ Iпуск/6

Выбор автоматических выклютелей

Автомата для нагревателя

Iр= Kд∑Iр=0.85*68=57,8A

Выбираем автомат по рабочему току

AE 2056P Iн. расц.=63А

Iпуск =I*Ki. = =340Аср.р. = 1,25 Iпуск =425Аср.кат. = 12*Iн.расц= 756А; 756 ≥425

Выбор кнопок управления и кнопочных постов

Кнопки и посты управления предназначены для дистанционного управления электромагнитными аппаратами. В настоящее время промышленность выпускает кнопки типа КЕ и посты ПКЕ.

ПКЕ -221 - 2 их 2 штуки

Uc=220В Iн=6,3А

Выбор сигнальных ламп

Сигнальная аппаратура служит для сообщения информации о ходе технологического процесса. Выбирается в зависимости от типа лампы и напряжения, на которое она рассчитана.

Тип АМЕ лампа РНЦ

Uс = 220 В; Uл = 6 В

Их необходимо 3 штук.

Выбор переключателя

SA - 9 положение

ПВП-2930…30; U=220B; I=2,5A

Выбор реле времени

Выбирается по количеству замкнутых и разомкнутых контактов.

Электромеханическое реле с выдержкой от момента подачи напряжения

ЭВ217 Uп=220 В. Предел выдержки времени 0,1…20с.

Выбор терморегулятора

ПТР-2-04

Диапозон регулируемых температур ºС +5…+35.

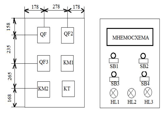
Выбор щита управления

Щиты и пульты применяются для размещения средств контроля и сигнализации.

Типы и основные размеры щитов и пультов для разработки, которых необходимо знать размеры и габариты аппаратуры и собственно стационарных установок с нормальными условиями эксплуатации определенные ГОСТом. Щиты и пульты позволяют сконцентрировать средства автоматики и предохранить от механических повреждений, температурных и других повреждений и воздействий.

Для разработки щитов управления на чертеже изображают общий вид шкафа. А так же изображают вид на дверцу шкафа и вид на панель шкафа со стороны открываемой дверцы. На дверце шкафа обычно размещают сигнальные лампы, переключатели режимов работы, кнопочные посты и кнопки управления. Внутри шкафа размещают коммутирующую, защитную и другую аппаратуру.

Приборы и аппаратуры изображаются в упрощенной форме, так же проводиться общая размерная линия от нулевой отметки, а размерные числа наносятся в направлении выносных линий. У их концов, размеры по горизонтали наносят от вертикальной оси шкафа, а по обе стороны около изображения приборов проставляют буквенно-цифровое обозначение.

Вид шкафа управления со стороны открытой и закрытой дверцы

Ширина щита-634мм

Длинна щита-826 мм

Разработка схем соединения

Схемой соединения является без масштабный документ, и он должен соответствовать принципиальной схеме, а именно все типы аппаратов, приборов и специальных устройств, предусмотренных устройств, предусмотренные принципиальной схемой должны быть полностью выдержаны на схеме соединения. Позиционные обозначения аппаратов, приборов и арматуры принятые принципиальной схемой, должны сохраняться в схеме соединений. Однако в схеме соединений по сравнению с принципиальными схемами имеются дополнения изображения и нумерация выводов приборов и аппаратов, а также зажимов для внешних соединений. Приборы и аппараты изображают упрощенно в виде прямоугольников. Над прямоугольником указывают позиционные обозначения, принятые на принципиальной схеме. Внутри прямоугольника электромагнитного реле, пускателя условно изображают элемент совмещенным способом. Выводные зажимы аппаратов показывают кружками, чтобы изображения соответствовала их действительному расположению, зажим маркируют согласно принципиальной электрической схемы. Схема внутри соединений обычно выполняют тремя способами. Если схема простая, то можно все провода показывать линиями. Если же схема внутри соединений сложная, то применяем способ встречной маркировки (адресный способ). При этом проводники не показывают за исключением внутри аппаратурных перемычек. У каждого зажима элементов подписывают адрес. Причем для обозначения последнего используют позиционно обозначения того элемента кому это соединение адресовано. Если же к зажиму подключается несколько проводов, то столько же адресов должно содержать это соединение.





Монтажная схема

Определение основных показателей надежности

Технический уровень средств электрификации и автоматизации во многом определяет экономическую эффективность их применения.

Уровень технического производства тех или иных технических средств оценивается целой системой показателей: долговечностью, безотказностью, степенью унификации. Одним из главных в системе технических показателей для средств электрификации и автоматизации является показатель надежности их работы.

Вывод из строя технологического оборудования приводит к нарушению технологических процессов, увеличению затрат на ремонт и содержания техники.

Определяем показатели надежности работы:

1. Коэффициент готовности технологического оборудования: Kr=0.98

. Безотказное время работы в течение года: tp=1500ч

. Средние затраты времени на вызов ремонтно-обслуживающего персонала: tзв=1,2ч

Наименование элемента

Кол-во шт

⋋10-6

tвi

∑⋋n10-6

∑⋋nt10-6

Кнопочный пост

2

0,7

0,25

0,7

Световой сигнализации

3

0,91

0,03

2,73

0,2

Переключатель

1

0,92

0,9

0,92

0,82

Пускатель электромагнитный

2

10

1

20

20

Выключатель автом.

3

0,3

0,9

0,9

2,43

Реле времени

1

1,5

0,39

1,5

0,58

Датчики температуры

1

4,5

0,5

4,5

2,25

ИТОГО:




31,25

27,23


Определение надежности

.Интенсивность отказов системы автоматизации агрегата

Xot=Ka∑λni ni= 10×31,25×10-6=312,5×10-6

.Средняя наработка системы на отказ:

Tot=1/λa; 1/312,5×10-6=32 ч.

3.Определение времени восстановления:

в=Kn×∑λ×n×t/∑λ×n=1,2×27,23×10-6/31,25×10-6=1ч.

.Определения числа отказов за год;

Ma=λa×tp=3125×10-6×1500=46,8

.Ожидаемое время простоя технологического оборудования из-за отказа в работе схемы автоматизации:

автоматизация электрообогреваемый пол монтаж

Tna=ma(tв+tэв)=46,82×(1+1,2)=57,1

.Ожидание простоя технологического оборудования из-за его отказа в работе:

пто=tр(1- Kг)/Kр=1500×(1-0,98)/0,98=30,6

.Суммарное ожидаемое время простоя в течении года:

=tna+tno=57,1+30,6=87,7ч.

.Определяем годовые затраты технологического оборудования:

гз=tp+tne=(1500+87,7)=1587,7ч.

Пути повышения надежности

Схемы автоматики должны проектироваться так, чтобы они могли надежно работать при замене нового однотипного элемента с учетом возможных максимальных отключений напряжения. При проектировании элементов и систем, повышение их надежности достигается схемным и конструктивным способом. Схемный способ основан на управлении схем, применении слаботочных аппаратов, ограничении последствий отказов, ремонтопригодности и резервировании, облегчение режимов работы , унификация элементов и узлов. Надежность системы при изготовлении повышают за счет совершенствования технологий, улучшения качества продукции, тренировки элементов. При эксплуатации повышение надежности систем автоматизации необходимо уделять внимание на условия эксплуатации, повышение квалификации работников, соблюдение условий хранения аппаратов.

Техника безопасности при монтаже средств автоматизации

При эксплуатации автоматического оборудования должны учитываться все положения ТБ, в особенности автоматизации электропривода. Поэтому, наряду с обязательным выполнением всех необходимых трбований по ТБ должны быть предъявлены особые требования к защитным ограждениям:

.Все металлические части должны быть заземлены. Сопротивление должно быть 4Ом

.Пуск автоматизированной установки должен обязательно оповещать предупредительный звуковой сигнал или световая сигнализация.

.Каждый электрифицируемый объект должен быть укомплектован средствами защиты

.При производстве наладочных работ неизбежны некоторые изменения в схеме. Такие изменения должны выполняться гибкими проводами марки ПРГ различной расцветки и сечения, сопротивление которых должно иметь 30=50 мОм 5.Всякие перемычки временного характера должны выполняться очень надежно, проверенными проводами без скруток, так как это может явиться причинами несчастных случаев.

.Присоединять провода к корпусу эл. машин и аппаратов необходимо только с помощью болтов, Трубы должны иметь надежное соединение между собой.

.При скрытой проводке все стыки труб должны быть сварены, необходимо чтобы принимали в эксплуатацию заземляющие устройства только при наличии утвержденного проекта, чертежей, а так же акта на скрытые работы.

Заключение

Данный курсовой проект разработан в соответствии с заданием. Произведено обоснование и выбор обьекта управления. Произведена технологическая характеристика обьекта управления, в которой отражена разработка технологической схемы управления линии. Далее разработана принципиальная схема и предусмотрена сигнализация. В пункте «Расчет и выбор технологических средств управления» выбраны магнитные пускатели, автоматы, тепловые реле и так далее. Затем выбрана необходимая токовая защита и рассчитаны показатели надежности автоматической схемы. В теоретической части разработана и изображена принципиальная схема, затем составлена спецификация на эл. оборудование.


1. «Электрооборудование и автоматизация с/х агрегатов и установок» - Москва «Колос» 2010г. автор: Герасимович Л.С.

. «Автоматизация технологических процессов» - Москва «Колос» 2010г. И. Ф. Бородин

. «Автоматизация с/х техники» - Мн: УП «Технопринт» 2009г. Г. Е. Радченко

. «Эл. аппараты. Справочник» - М: Издательское педприятия РадиоСофт 2005г. И.И. Алиев, М.Б. Абрамов

Похожие работы на - Автоматизация электрообогреваемого пола промышленного помещения

 

Не нашли материал для своей работы?
Поможем написать уникальную работу
Без плагиата!
Без нейросетей!