Электроснабжение коровника на 50 голов

  • Вид работы:
    Курсовая работа (т)
  • Предмет:
    Сельское хозяйство
  • Язык:
    Русский
    ,
    Формат файла:
    MS Word
    1012,25 Кб
  • Опубликовано:
    2016-04-22
Вы можете узнать стоимость помощи в написании студенческой работы.
Помощь в написании работы, которую точно примут!

Электроснабжение коровника на 50 голов

ДЕПАРТАМЕНТ СЕЛЬСКОГО ХОЗЯЙСТВА И ПРОДОВОЛЬСТВИЯ

НОВГОРОДСКОЙ ОБЛАСТИ

Валдайский филиал ОГБОУ СПО

«НОВГОРОДСКИЙ АГРОТЕХНИЧЕСКИЙ ТЕХНИКУМ»









Курсовой проект

Тема: Электроснабжение коровника на 50 голов

Дисциплина: ПМ. 02 Обеспечение электроснабжения сельскохозяйственных предприятий

Специальность: 110810 Электрификация и автоматизация сельского хозяйства


Выполнил: ст. гр 0741:Пучков В.А.




Валдай, 2014 г.

Содержание


Введение

. Система содержания коров

. Здания и сооружения для коров

. Конструктивные решения

. Кормовой процесс

. Автоматизация дозировки концентрированных кормов

. Кормоприготовление

. Поение животных

. Подогрев воды и выбор водонагревателя

. Вентиляция коровника

. Обогрев коровника

. Кормораздатчик

. Уборка навоза

. Линейная схема оборудования коровника

. Расчёт освещения

. Расчёт и выбор кабелей, аппаратуры защиты и управления

. Аппаратура управления

. Выбор трансформаторной подстанции (ТП)

. Прокладка кабельной линии в земле

. Молниезащита

. Выбор электросчётчика

. Охрана труда

. Планирование эксплуатационных работ и составление графиков ТО и ТР

. Экономические показатели по комплексной электрификации объекта

Заключение

Список используемой литературы

Введение

В настоящее время в с/х. производстве электрифицировано большинство технологических процессов по производству мяса, молока, птицы и переработке под растениеводство поточных агрегатов по сушке и сортировке, число установок водоснабжения, высокопроизводительных поточных агрегатов по сушке и сортировке зерна, поточных линий, цехов и заводов по приготовлению кормов, крупных птицефабрик, комплексов промышленного типа по откорму КРС и других предприятий. АПК ежегодно потребляется свыше 14 % электроэнергии от всей используемой в РФ, а по номенклатуре используемого электрооборудования с/х. занимает одно из первых мест среди отраслей народного хозяйства федерации. Несмотря на некоторые положительные результаты, достигнутый уровень электрификации с/х. и объём электропотребления не отвечает современным требованиям. Энерговооружённость труда в с/х. производстве значительно ниже, чем в промышленности.

Отказы в процессе эксплуатации и преждевременный выход из строя энергетического оборудования резко снижает эффективность использования их и наносят огромный материальный ущерб с/х. производству. Основные причины выхода из строя оборудования недостаточное применение, некомплектное использование, низкое качество текущего и капитального ремонтов, неудовлетворительное техническое обслуживание. Более 80 % всех отказов электродвигателей связано с несовершенством их защиты от аварийных режимов неправильным выбором и недостатками в эксплуатации. Улучшение качества эксплуатации электрооборудования одна из главных задач на современном этапе сельского хозяйства.

По этому среди мероприятий, обеспечивающих снижение интенсивности отказов электрооборудования, важное значение придаётся защите электроустановок при аварийных режимах, внедрению перспективной системы технического обслуживания и ремонта электрооборудования и средств автоматизации. Для снижения себестоимости производства говядины и её конкурентоспособности необходимо направить усилия на устранение имеющихся недостатков на существующих фермах КРС и внедрение прогрессивных низкозатратных технологий. В этих условиях реконструкция коровников представляется более целесообразной, чем строительство новых комплексов, потому что оно обойдётся в 3 - 4 раза дешевле. Задачей данного проекта является расчёт электроснабжения в коровника на 50 голов.

вентиляция трансформаторный электросчетчик освещение

1. Система содержания коров

Коровники для привязного содержания должны быть экономичными, а по своим габаритным размерам отвечать требованиям технологического процесса. Строительное решение этих зданий и инженерное оборудование должны способствовать поддержанию надлежащего микроклимата.

При привязном содержании коров стойла размещают рядами, объединяя два ряда стойл общим кормовым или навозным проходом. В одном ряду размещают не более 50 стойл (секций). Каждая секция должна иметь удобный выход на выгульные площадки, выгульно-кормовые дворы или пастбища. В средней или торцовой части коровника размещают молочное отделение, а при одном из коровников - блок вспомогательных помещений с котельной.

Если на ферме более 200 коров, коровник блокируют с таким же зданием, встраивая между ними общие вспомогательные помещения (молокосливную, моечную, вакуум-насосную, комнату отдыха, санузел, душ и др.).

Коровники строят одноэтажными с утепленной вентилируемой кровлей или с чердачным помещением, которое используют для хранения кормов.

Коровники желательно делать без внутренних опор, ограничивающих расположение технологического оборудования (раздачи кормов, уборки навоза, доения). В таких коровниках можно быстро и дешево реконструировать внутреннее оборудование и систему машин при смене технологии.

Полы в коровниках привязного содержания делают либо сплошные, либо частично закрывают решеткой. В стойлах для полов применяют материал с показателем теплоусвоения не более 12 ккал/м2/ч/град. Если эта величина больше, коровы расходуют много тепла своего тела на прогрев пола. Это приводит к переохлаждению организма, снижению продуктивности и перерасходу кормов. Например, перерасход тепла в 100 ккал/ч (разница в теплопоглощении 1 м2 деревянных и бетонных полов) за 12 ч соответствует по калорийности 2 л молока.

Гигиеничность пола заключается в водонепроницаемости, химической стойкости, удобстве для очистки и обеззараживания.

. Здания и сооружения для коров

Описание. Коровник на 100 голов входит в состав семейной молочной фермы с законченным производственным циклом и предназначен для производства молока. Содержание животных в коровнике - стойловое беспривязное, выгульное или безвыгульное. Уборка навоза из навозных и кормовых проходов коровника осуществляется скреперными установками с последующим перемещением в предлагуну и вывозом или перекачкой в навозохранилище.

Габаритные размеры: 36,0х83,0

Ширина - 19(м)

Длина - 48(м)

Высота стен - 3(м)

Объем помещения - 2736(м3)

Площадь помещения - 912(м2)

Помещение коровника - 760(м2)

Расчетные характеристики: выполняется под любой климатический район.

. Конструктивные решения

Колонны и балки из прокатного металла. Шаг рам - 8 (4) м.

Стены и кровля - панели послойной сборки из гнутых оцинкованных профилей и профнастила фирмы «ИНСИ» или панелей типа «сэндвич» любого производителя.

Толщина утеплителя уточняется в соответствии климатическими и технологическими характеристиками. Фундаменты - монолитные бетонные, столбчатые. Цоколь - монолитный бетонный с последующим утеплением.

Наружная облицовка: Стены - профнастил, кровля - профнастил.

Оконные проемы: Заполнение оконных проемов в коровнике - система гибких, поликарбонатных или надувных штор. Ленточное остекление в доильном зале.

Ворота: Ворота металлические распашные, утепленные.

Рис. 1

. Кормовой процесс

В структуре себестоимости сельскохозяйственной продукции затраты на корм скоту составляют 50…70 %. При такой норме затрат должны выполняться следующие требования к процессу кормопроизводства:

) обеспечение высокого качества кормов в процессе их хранения;

) наличие удобных и кратчайших скотопрогонов к пастбищам;

) наличие благоустроенных дорог от кормовых угодий к местам хранения кормов;

) наличие необходимого количества хранилищ различных кормов.

Вдоль каждого ряда стойл с внешней стороны располагают кормушки. Длина кормушек должна соответствовать ширине стойла. Ширина их поверху равна 0,6 м, по дну 0,4 м; высота переднего борта 0,3 м с вырезом для шеи 0,1 м, высота заднего борта 0,6-0,75 м.

Кормушки делают из плотных влагонепроницаемых материалов, легко поддающихся чистке и дезинфекции. Для стока жидкости после промывки и дезинфекции в дне кормушек имеются отверстия. Дно кормушек должно быть на 5-7 см выше ложа стойла.

Раздача кормов - один из наиболее трудоемких процессов. Кормораздаточные устройства должны обеспечивать раздачу различных кормов по заданному рациону, отвечать технологии содержания скота, обладать достаточной производительностью, исключать потери кормов, загрязнение и заплесневение их, исключать возможность распространения заразных и незаразных болезней в случае заноса инфекции на ферму. В практике используются либо стационарные средства раздачи кормов, смонтированные внутри коровника, либо передвижные (мобильные).

Стационарные средства раздачи кормов: ленточные, винтовые, скребковые, штанговые и им подобные - связаны с дополнительной перевалкой кормов, а отсюда с загрязнением, они часто перегораживают проходы, их трудно очищать и дезинфицировать. С ветеринарных позиций они более опасны в распространении болезней, так как одна корова, находящаяся в инкубационном периоде, может через корм перезаразить остальных.

5. Автоматизация дозировки концентрированных кормов

Концентрированные корма, в отличие от кормов других видов, требуют более точной дозировки.

Комбикорм, доставляемый на ферму автотранспортными средствами, подается норией в накопительный бункер , емкость которого рассчитана на обеспечение нужд фермы в течение 10 - 15 дней. Из накопительного бункера комбикорм поступает в раздаточный бункер 5 объемом в одну дневную норму. Затем по гибкому рукаву комбикорм попадает в приемную камеру, тарельчатого дозатора-питателя, расположенного на шарнирно-пружинной подвеске, ад верхним обрезом боковой стенки кормушки укреплена штанга, на которую надеваются параллепипедообразные элементы, которые можно установить в горизонтальном или вертикальном положении.

Когда кормушка проходит под дозатором, фрикционный обод ведущего диска дозатора вступает во взаимодействие с поверхностью вертикально расположенных элементов, набранных в дозирующую линейку. продолжительность этого взаимодействия, которая зависит от числа элементов и определяет дозу концентратов, поступивших в ту или иную кормушку. Периодически, например, после каждой контрольной дойки, скотник-механизатор приводит в соответствие длину дозирующей линейки с продуктивностью коровы. Загрузка комбикорма и поддержание его уровня в раздаточном бункере автоматизированы.

. Кормоприготовление

Прочная кормовая база - основа увеличения продукции животноводства.

Используемые в животноводстве корма могут быть классифицированы на три группы:

• связанные с происхождением корма - растительные, животные и минеральные;

• зависящие от свойств и состава корма - грубые, сочные, зеленые и концентрированные;

• кормовые добавки.

Корма растительного происхождения - грубые (сено, солома и др.), сочные (силос, корнеклубнеплоды), зеленые (трава, ботва кормовых культур), искусственной сушки (травяная мука), концентрированные (зерно, комбикорм, отходы пищевых производств и др.).

Корма минерального происхождения: соль, известь, мел и кормовые фосфаты.

К кормовым добавкам относятся специальные обогатительные смеси - премиксы и белково-витаминные минеральные добавки. Наиболее ценный вид корма - комбикорм, т. е. кормовая смесь, в состав которой входят разные сухие кормовые продукты. Сбалансированные по питательным веществам и обогащенные витаминами, микроэлементами и другими стимулирующими добавками комбикорма увеличивают продуктивность животных до 30%. Достаточно сложное производство комбикормов может быть организовано не только на специализированных комбикормовых заводах, но и в условиях отдельных хозяйств с помощью специально выпускаемого для этих целей автоматизированного комплектного оборудования.

. Поение животных

Для поения животных выбираем автопоилки индивидуального типа АП - 1А по одной поилке на 2 головы.

Автопоилка - автоматически действующее устройство. Различают автопоилки индивидуальные и групповые. Индивидуальные автопоилки АП-1А используют для крупного рогатого скота при привязном содержании и для свиней, которых содержат в отдельных станках. Автопоилка состоит из чаши емкостью 2 л, рычага и клапана с пружиной. Вода поступает в нее из водопровода по трубам. На дне чаши всегда есть остаток воды. Сверху она как бы прикрыта рычагом.

В коровнике с привязным содержанием животных автопоилку устанавливают на стойке, находящейся между двумя стойлами. Её преимущество в том, что она обслуживает двух находящихся стоящих коров.

Рис. 2 Автопоилка для крупного рогатого скота: а - чашечная: 1 - планка; 2 - водопроводная труба; 3 - зажим клапана подачи воды; 4 - чаша; б - по принципу сообщающихся сосудов: 1 - резервуар для воды; 2 - поплавок; 3 - клапан; 4 - бачок поплавково-клапанного устройства; 5 - входной патрубок; 6 - корпус поилки; 7 - съемная заглушка

Животное тянется к воде и нажимает на рычаг, который через стержень открывает клапан. Вода под напором идет в чашу. Утолив жажду, животное поднимает голову и освобождает рычаг, который вместе с клапаном возвращается в исходное положение. Автопоилку укрепляют на стойке между двумя смежными стойлами, чтобы поить двух животных.

На 50 коров, понадобиться 25 автопоилок индивидуального типа АП - 1А.

Наименование товара: Автопоилка индивидуального типа АП - 1А.

Цена: 700 (руб) / 1 шт.

Итого: 700 (руб.)*25(шт.) = 17500(руб.)

8. Подогрев воды и выбор водонагревателя

Количество КРС - 50 голов.

Суточная норма потребления воды на одну голову - а=30 л.

Температура воды для поения - Q2 = 16-20 0С

Коэффициент суточной неравномерности kс = 1,2.

Коэффициент часовой неравномерности kч = 1.8.

Мойка молочной посуды водой, с температурой 80 0С - 100 л в сутки.

Подогрев воды в поилках до 18 0С, так как из скважины вода подается с температурой 5 0С.

Для работников для принятия душа - 200 л в сутки.

Для подогрева воды берем водонагреватель типа САОС - 400,

Таблица 1 Основные технические данные и характеристики (И.р. 1)

Наименование параметра и единица измерения

Значение параметра

Номинальная потребляемая мощность, кВт

12

Емкость, л

400

Номинальное напряжение, В

220/380

Число фаз

3

Номинальная частота тока, Гц

50

Схема соединения нагрузки

звезда

Максимальная температура воды на выходе, °С

90

Избыточное рабочее давление в корпусе электроводонагревателя, мПа

0.4

Время нагрева до максимальной температуры, ч, не более

3.5

Масса электроводонагревателя, кг, не более

120

Габаритные размеры, мм, не более


диаметр

740

ширина

980

1610


Электроводонагреватели состоят из стального цилиндрического корпуса с эллиптическим днищем и крышкой, закрытого наружным кожухом.

Нагревательный узел электроводонагревателя состоит из трубчатого электроводонагревателя.

Электроводонагреватель снабжен патрубками для входа и выхода горячей воды. Наполнение водой производится через нижний патрубок, к которому последовательно присоединены: тройник, обратный клапан и запорный вентиль, который должен быть подключен к водопроводу. При отсутствии центрального водопровода подача воды в электроводонагреватель может осуществляться с помощью индивидуального электрического или ручного насоса.

Обратный клапан служит для предотвращения спуска воды из электроводонагревателя и, следовательно, для защиты ТЭНа от пережога.

Опорожнение резервуара электроводонагревателя от воды для производства профилактических и ремонтных работ осуществляют с помощью сливной пробки. По желанию потребителя электроводонагреватель может использоваться в системе с несколькими точками отбора воды, каждая из которых может быть снабжена запорными вентилями.

Так же отбор горячей воды может осуществляться самотеком - путем открытия запорного вентиля. При этом используется 2/3 объема горячей воды, так как запорный вентиль установлен над нагревательным узлом, чтобы исключить случайное оголение и пережог электронагревателей.

Пульт управления электроводонагревателя смонтирован непосредственно на корпусе аппарата, причем дверца пульта одновременно закрывает и электрическую аппаратуру, и токовводы электроводонагревателя. Пульт управления обеспечивает следующие функции: автоматический режим нагрева воды до заданной температуры в интервале от 10 до 90°С и поддержание этой температуры с помощью терморегулятора, управляемого датчиком температуры.

Необходимую температуру нагрева воды устанавливают опытным путем с помощью задатчика терморегулятора на нужном уровне.

При отказе терморегулятора аварийное отключение электропитания осуществляется с помощью термовыключателя одноразового действия. Повторное включение электропитания возможно после поиска, устранения причины аварии и замены термовыключателя.

Подача электропитания на пульт управления осуществляется автоматическим выключателем.

Важное преимущество аккумуляционного электроводонагревателя заключается в возможности включения его в работу в ночное время (в часы провала графика электропотребления), а расхода запасенной горячей воды - по мере необходимости. Наличие теплоизоляции обеспечивает поддержание заданной температуры воды в течение длительного времени с минимальным расходом электроэнергии.

 

. Вентиляция коровника


Вентиляция коровника, наряду с кормлением, - важнейший фактор обеспечения высокой продуктивности животных в условиях промышленных технологий. Поскольку большинство времени животное проводит в коровнике, его микроклимат - один из основных факторов, влияющих на состояние животного. Высокая температура и влажность оказывают негативное воздействие на состояние животного, а также способствуют распространению болезнетворных бактерий, что достаточно часто приводит к повышению заболеваемости у животных и снижению качества молока. Чтобы получить максимальную отдачу от своих инвестиций в систему вентиляции, необходимо правильно выбрать размер и расположение систем охлаждения и подогрева. Мы предлагаем различные системы создания микроклимата, спроектированные в полном объеме и гарантированно выполняющие свои функции.

Вентиляция в коровнике.

В настоящее время на рынке представлено множество разнообразных элементов для вентиляции коровника - это световые коньки <#"867520.files/image003.gif">

Рисунок 3 - Транспортер-раздатчик ТВК-80Б: а - общий вид: 1 - электрооборудование; 2 - натяжная станция с загрузочным бункером; 3 - рабочий орган - лента прорезиненная; 4 - кормовой желоб; 5 - привод; б - технологическая схема: 1 - гайка; 2 - пружина; 3 - натяжной винт; 4 - ползун; 5 - ведомый барабан; 6 - желоб-кормушка; 7 - лента; 8 - цепь; 9, 10, 11 - звездочки; 12 - редуктор; 13 - электродвигатель

В состав раздатчика входят комплект деревянных кормушек на 50 коров, загрузочный бункер, натяжное устройство цепи со скребками и электродвигатель мощностью 5,5 кВт. Главные рабочие органы раздатчика - две цепи со скребками для левой и правой секций кормушек. Скребки расположены только на одной половине цепи. Длина транспортера 80 м. Установка за 1 ч раздает 14 т зеленой массы или силосованного корма. Такие раздатчики монтируют в центральной части коровника.

Транспортер-раздатчик ТВК-80Б предназначен для раздачи грубых, сочных концентрированных кормов и кормовых смесей, работает в автоматическом режиме. Рабочий орган выполнен из двух частей - ленты и цепи. Корм из бункера поступает в желоб на перемещающуюся в нем ленту. При заполнении последнего кормового места рабочий орган автоматически останавливается. По окончании кормления цепь с лентой, двигаясь в обратном направлении, очищает желоб. Остатки сбрасываются в приемок бункера. Остальные сборочные единицы и механизмы ТВК-80Б полностью унифицированы с аналогичными единицами и механизмами ТВК-80А.Предназначен для всех видов кормов.

Двигатель для кормораздатчика, тип двигателя АИР 13256У3, с Pн=5,5 кВт.

Техническая характеристика раздатчика ТВК-80Б

Производительность при загрузке, т/ч:

механизированной 38

ручной 9,7

Количество обслуживаемого скота, 50гол.

Мощность привода, 5,5кВт

Длина кормового желоба, 74400мм

Скорость движения цепи с лентой при загрузке, м/с:

механизированной 0,516

ручной 0,134

Габаритные размеры, 77500´980´920мм

Масса, 3715кг

Обслуживающий персонал, 1 чел.

. Уборка навоза

Скребковый транспортер ТСН-160А (рис. 4) (И.р. 5) предназначен для транспортировки навоза внутри животноводческих помещений с одновременной погрузкой его в транспортные средства.

Рис. 4. Транспортер скребковый навозоуборочный ТСН-160А: 1 - наклонный транспортер; 2 - шкаф управления; 3 - привод горизонтального транспортера; 4 - натяжное устройство; 5, 6 - поворотные устройства; 7 - кронштейны; 8 - скребок; 9 - цепь

Скребковый транспортер состоит из горизонтального и наклонного транспортеров и шкафа управления. Каждый из транспортеров имеет отдельный привод и независимое включение в работу из шкафа управления. Техническая характеристика скребкового транспортера представлена в табл 4.

Горизонтальный транспортер устанавливают в навозных канавках, расположенных вдоль рядов стойл в помещениях для КРС или внутри станков - в помещениях для свиней. Навоз в навозные канавки сбрасывается операторами вручную специальными скребками.

Таблица 4. Техническая характеристика скребкового транспортера ТСН-160А

Производительность, т/ч

4-5,5

Длина контура цепи


горизонтального транспортера, м

160

Длина контура наклонного транспортера, м

13

Угол установки наклонного транспортера, град.

30

Высота погрузки, м

2,2

Установленная мощность, кВт

6,2

Масса, кг

2085

Количество обслуживающего персонала, чел.

1


Скребками горизонтального транспортера навоз забирается из навозных канавок и перемещается к наклонному транспортеру, который грузит навоз в транспортные средства.

Горизонтальный транспортер состоит из привода 3, замкнутой цепи 9, натяжного устройства 4, двух поворотных устройств 5 и 6. Привод транспортера обеспечивает поступательное движение цепи и включает в себя электродвигатель мощностью 4 кВт, клиноременную передачу, редуктор и ведущую звездочку. Клиноременная передача с передаточным числом 1,94 состоит из ведущего шкива, установленного на валу электродвигателя, ведомого шкива - на валу редуктора и пяти клиновых ремней.

Круглозвенная калиброванная цепь транспортера неразборная. Шаг звеньев цепи составляет 80 мм. К вертикальным звеньям цепи приварены кронштейны для крепления скребков. Скребки крепятся болтами и гайками с шайбами. При деформации или обрыве скребков их легко заменить.

Различают два варианта крепления скребков к цепи: для навозной канавки с дополнительным желобом для цепи (рис. 5, а) и для навозной канавки без дополнительного желоба (рис. 5, б). Концы цепи соединены специальным звеном и вставкой. При необходимости цепь укорачивают, вырезав три звена с последующим соединением. Укорочение и соединение цепи производят на участке между приводом и натяжным устройством.

Рис. 5. Варианты крепления скребков транспортера ТСН-160А: а - цепь со скребками для навозного канала с дополнительным желобом; б - цепь со скребками для навозного канала без дополнительного желоба; 1 - цепь; 2 - кронштейн; 3 - скребок

Натяжное устройство горизонтального транспортера состоит из натяжной звездочки, ролика, рычага, опоры, троса и кронштейна для груза, обеспечивающего необходимое натяжение цепи путем поворота рычага с подвижным роликом на угол до 60°, что соответствует удлинению цепи на 0,5 м. Сила натяжения цепи регулируется массой груза 100-120 кг. Натяжная звездочка транспортера является одновременно и поворотной.

Поворотное устройство горизонтального транспортера изменяет направление движения цепи на поворотах навозной канавки. Оно представляет собой звездочку, установленную на двух шарикоподшипниках на оси, приваренную к подпятнику. Подпятник крепится анкерными болтами к полу помещения. Поворотное устройство поставляется заводом-изготовителем в собранном виде в варианте монтажа скребков с дополнительным желобом для цепи. При использовании транспортера в канавке без дополнительного желоба звездочка вместе с осью поворачивается на 180°.

Наклонный транспортер состоит из металлического желоба, цепи со скребками, привода, ведомой звездочки и опорной стойки. Правая часть цепи наклонного транспортера является рабочей и перемещается вверх, левая - холостой и перемещается вниз. Цепь унифицирована с цепью горизонтального транспортера, но шаг скребков здесь в 1,8 раза меньше, а скорость движения цепи в 4 раза больше. Во время работы наклонный транспортер успевает погрузить в транспортные средства весь навоз, подаваемый горизонтальным транспортером. Поворотная звездочка изменяет направление движения цепи наклонного транспортера. Ось звездочки жестко закреплена на желобе.

Привод наклонного транспортера состоит из электродвигателя мощностью 1,5 кВт с редуктором, на валу которого установлена приводная звездочка. Натяжение цепи наклонного транспортера осуществляется натяжным винтом привода.

Опора наклонного транспортера служит для жесткого крепления желоба и состоит из двух стальных стоек, соединенных двумя поперечинами-связками. Высота опоры 1890 мм.

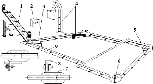
. Линейная схема оборудования коровника

Расчёты сечения провода и выбор автоматов, проводились при помощи программы Электрик.

P(S4) = 4кВт - двигатель горизонтального транспортёра ТСН - 160А

P(S6)=5,5кВт - двигатель АИР13256У3 для кормораздатчика ТВК- 80Б

P(S7) = 20кВт - тепловентилятор КЭВ - 20Т20Е

P(S8) = 20кВт - тепловентилятор КЭВ - 20Т20Е

P(S9) = 12кВт - водонагреватель САОС - 400

Рис. 6

1 = P(S4) + P(S5) + P(S6) + P(S7) + P(S8) + P(S9) + P(S10) = 4+2,2+5,5+20+20+12= 63,7 кВт

Рис. 7

Р(S4)(S5)(S6) = 9,6 кВт - освещение основного помещения

Р(S7) = 2 кВт - освещение хозяйственно-бытовых помещений

P2 = P(S4) + P(S5) + P(S6) + P(S7) = 3,2 + 3,2 + 3,2 + 2 = 11,6 кВт

Полная мощность всего оборудования составляет P1 + P2 = 63,7 + 11,6 = 75,3 кВт

Рис. 8 Однолинейная схема электрификации коровника

. Расчёт освещения

Для коровника нормируемая освещенность Ен = 35 лк, поэтому выбираем систему общего освещения с равномерным распределением света.

Выбираем светильник: ЛСП15 2х80Вт, с двумя люминесцентными лампами ЛБ-80 мощностью 80Вт и световым потоком 5.200 лм Длина светильника 1,5м. КПД=90%. Расстоянием между соседними рядами 5м, всего рядов 3. Расстояние от крайних рядов до стены 2,5 м. Высота подвеса H=3м.

Таблица 5 Расчет освещения для люминесцентных ламп. (И.р. 6)

Помещения

Руд (Вт)

Жилые помещения

До 16

Офисные

16

Торговые

21

Учебные классы

30

Детские дошкольные учреждения

24

Библиотеки

17

Производственные помещения

11-18


Где Руд - удельная мощность- площадь помещения,= 760 м2

Для освещения нашего помещения мы выберем светильники ЛСП15 2х80Вт, с двумя люминесцентными лампами  <#"867520.files/image010.gif">

Рис. 9 Выбор трансформаторной подстанции (ТП)

Понижающие трансформаторные подстанции служат для преобразования напряжения тока поступающего с ЛЭП в более низкое для транспортировки его на промежуточные подстанции или непосредственно к потребителям.

В зависимости от назначения и от величины первичного и вторичного напряжений понижающие трансформаторные подстанции подразделяются на районные, главные понижающие и местные (цеховые).

Характеристика моего трансформатора ТМГ.

Структура условного обозначения

ТМГ - Х /10. У (ХЛ)1

Т - трансформатор трехфазный,

М - охлаждение масляное с естественной циркуляцией воздуха и масла,- номинальная мощность, кВ*А

- класс напряжения обмотки ВН, кВ*А

У (ХЛ)1 - климатическое исполнение и категория размещения по ГОСТ 15150-69.

Условия эксплуатации

Высота над уровнем моря - до 1000 м.

Температура окружающего воздуха:

для умеренного климата - от -45°С до +40 °С (исполнение «У»);

для холодного климата - от -60°С до +40 °С (исполнение «ХЛ»).

Относительная влажность воздуха - не более 80% при +25 °С.

Конструкция трансформаторов

Баки трансформаторов ТМГ -10-250 кВ*А овальной формы, а ТМГ -400-2500 кВ*А прямоугольной формы изготовлены с гофрированными стенками без маслорасширителя. Для подъема бака и трансформатора в сборе используются крюки, расположенные под верхней рамой бака. На крышке бака имеется кран ( пробка ) для залива масла, внизу бака имеются пробка для спуска масла, кран ( пробка ) для взятия пробы, болт заземления.

Активная часть состоит из магнитопровода, изготовленного из холоднокатаной электротехнической стали, обмоток и высоковольтного переключателя. Обмотки трансформаторов алюминиевые или медные .

Вводы ВН и НН наружной установки, съемные, изоляторы проходные фарфоровые. При токе ввода 1000А и выше в верхней части токоведущего стержня крепится специальный контактный зажим с лопаткой, обеспечивающий подсоединение плоской шины. Вводы ВН и НН расположены на крышке .

Для контроля уровня масла на крышке бака установлен поплавковый маслоуказатель. Для измерения температуры верхних слоев масла в баке на крышке трансформатора установлен термометр.

Объемное расширение масла, зависящее от температуры трансформатора, компенсируется изменением давления внутри бака за счет изменения конфигурации и объема гофростенок.

Рис. 10

В герметичных трансформаторах типа ТМГ масло не соприкасается с воздухом и не окисляется. Они не требуют дополнительных расходов при вводе в эксплуатацию и не нуждаются в профилактических ремонтах ревизиях в течение всего срока службы, отпадает необходимость в анализе и регенерации масла.

Таблица 6 Выбрал ТМГ-100/6-10 (И.р. 7)

Тип трансформатора

Мощность, кВА

Напряжение

Схема и группа соединения

Напряжение КЗ, %

Потери, Вт

НН



ХХ

КЗ

 

ТМГ - 100

100

6, 10

0,4

У/Ун - 0

4,5

270

1970

 



6, 10


Д/Ун - 11







6, 10


У/Zн - 11




 

 

18. Прокладка кабельных линий в земле

(из ПУЭ изд. 6-7) (Л 6)

При прокладке кабельных линий непосредственно в земле кабели должны прокладываться в траншеях и иметь снизу подсыпку, а сверху засыпку слоем мелкой земли, не содержащей камней, строительного мусора и шлака.

Кабели на всем протяжении должны быть защищены от механических повреждений путем покрытия при напряжении 35 кВ и выше железобетонными плитами толщиной не менее 50 мм; при напряжении ниже 35 кВ - плитами или глиняным обыкновенным кирпичом в один слой поперек трассы кабелей; при рытье траншеи землеройным механизмом с шириной фрезы менее 250 мм, а также для одного кабеля - вдоль трассы кабельной линии. Применение силикатного, а также глиняного пустотелого или дырчатого кирпича не допускается.

При прокладке на глубине 1-1,2 м кабели 20 кВ и ниже (кроме кабелей городских электросетей) допускается не защищать от механических повреждений.

Кабели до 1 кВ должны иметь такую защиту лишь на участках, где вероятны механические повреждения (например, в местах частых раскопок). Асфальтовые покрытия улиц и т. п. рассматриваются как места, где разрытия производятся в редких случаях. Для кабельных линий до 20 кВ, кроме линий выше 1 кВ, питающих электроприемники I категории<#"867520.files/image012.gif">

Рис. 11

Это заземленные металлические конструкции, которые воспринимают удар молнии и отводят ее ток в землю. Различают стержневые и тросовые молниеотводы. Их защитное действие основано на свойстве молний поражать наиболее высокие и хорошо заземленные металлические конструкции.

По степени надежности защиты различают два типа зон:

А - степень надежности защиты превышает 99,5%;

Б - степень надежности защиты составляет 95-99,5%.

Среднее число поражений молниями 1 км2 земной поверхности зависит от грозовой деятельности. Число часов грозовой деятельности в год берется из официальных данных метеостанций данной местности. Связь между грозовой деятельностью и средним числом поражений молнией на 1 км2 (n) составляет:

Таблица 7

При грозовой деятельности, ч/год

20-40

40-80

60-80

70-100

Более 100

Среднее число поражений на 1 км2

2,5

3,8

5,0

6,3

7,5


В расчётном коровнике среднее число поражений на 1 км2 составляет 2,5.

Для защиты коровника применяется полоса оцинкованная S235JRG2

Технические характеристики:

Полоса оцинкованная - горячекатанная сталь марки S235JRG2, оцинкованная методом горячего цинкования согласно с EN 50164-2.

Лента стальная оцинкованная горячим способом полностью соответствует требованиям ГОСТ 103-76. Сертификат (ссылка)

Площадь сечения 150мм

. Выбор электросчетчика

Исходя из расчётов выбрал электросчетчик Меркурий-230. Меркурий-230 ТУ АВЛГ 411152-021 предназначен для учета и измерения активной или активно-реактивной электроэнергии в трехфазных сетях переменного тока частотой 50Гц по 4-м тарифам в одном или двух направлениях. Наличие модификаций с профилем мощности.

Единственный электросчетчик в России позволяющий предотвратить возможность хищения электроэнергии при нарушении фазировки подключения токовых цепей однонаправленных счетчиков. Класс точности 0.5(1.0), 1.0(2.0). CAN интерфейс.

Особенности электросчетчика Меркурий-230

расширенный диапазон рабочих температур;

технологический запас по классу точности;

цифровой и импульсный выход позволяют использовать счетчики как автономно, так и в системе АСКУЭ;

малое собственное энергопотребление;

счетчики имеют последовательный интерфейс связи САN, обеспечивающий обмен информацией с IBM PC;

счетчик имеет 2 режима

индикации (съема информации) ручной и автоматический;

единственный счетчик в России позволяя

ющий предотвратить возможность хищения электроэнергии при нарушении фазировки подключения токовых цепей однонаправленных счетчиков.

. Охрана труда

Большинство помещений животноводческих ферм по степени опасности поражения электрическим током относятся к особо опасным. В них запрещена работа на токоведущих частях, находящихся под напряжением. И замена под напряжением ламп.

Сечение и марка нулевого провода на линии, питающей животноводческие помещения, а также во внутренней проводке должны быть такими же, как и у фазных проводов.

Электролампы следует равномерно распределить по фазным проводам и включать их трехполюсными включателями. Однополюсные включатели - только для светильников суммарной мощностью не более 20% от общей мощности освещения фермы. Все другие однофазные токоприемники, кроме имеющих мощность не более 0,6кВт, включать на линейное напряжение, причем и в этом случае их мощность не должна быть более 1,3кВт (иначе надо применять трехфазное).

Выключатели и предохранители размещают в соседних с сырыми сухих помещениях. Кнопки управления пусковой аппаратурой устанавливают у рабочих мест.

Корпуса рубильников, чугунные крышки выключателей зануляют. Электромонтер, обеспечивающий электрооборудование, должны иметь III квалификационную группу, он может менять плавкие предохранители, делать переключения на щитах и сборах. Участие второго лица требуется только при работах на высоте более двух метров с лестниц или подмостей или при работах без снятия напряжения (в помещениях без повышенной опасности).

Персонал, обслуживающий установки для ультрафиолетового облучения животных, должен иметь квалификацию по III группе, пользоваться очками с дымчатыми или бесцветными, но толстыми стеклами (не менее 3 мм) и по возможности не находиться в зоне действия ультрафиолетовых лучей.

Электропроводку в помещениях для скота прокладывают на высоте не менее 2,5м. Если это требование выполнить невозможно, проводку прокладывают в стальных трубах или выполняют защищенными проводами. Между электропроводкой и трубопроводами внутри здания выдерживают расстояние не менее 10см.

Кроме того, электродные водонагреватели должны быть трехфазными, с незануленным и незаземленным корпусом, изолированным от внешнего кожуха, который зануляет. В зануляющий провод включают катушку токового реле или расцепителя автомата, срабатывающего при токе в 20% от номинального тока водонагревателя. Трубопроводы для электропроводки и для воды зануляют. Последние присоединяют к корпусу водонагревателя через изолирующие вставки с сопротивлением столба воды не менее 20Ом при расчетном удельном сопротивлении воды не более 20 м*м.

 

. Планирование эксплуатационных работ и составление графиков ТО и ТР


Планирование эксплуатационных работ и сроков проведения ТО и ТР производится по системе планово-предупредительного ремонта и технического обслуживания электрооборудования сельскохозяйственных предприятий (ППРЭсх).

Согласно этой системе для каждого вида электрооборудования, учитывая его суточную занятость и характер окружающей среды, определяют периодичность технического обслуживания и текущего ремонта, и приведены в виде графиков. Для двигателей текущий ремонт привода при их использовании не менее 8 часов в сутки приведенную периодичность следует умножить на 1,7.

Высокая устойчивость эксплуатационных свойств к изменению периодичности ТО и ТР позволяет для некоторых видов электрооборудования совмещать сроки ТО(ТР) в пределах допустимого интервала периодичности.

В сухих и влажных помещениях периодичность ТО всех видов электрооборудования может быть принята равной или кратной 3 месяца, в сырых и пыльных - 2 месяца, в особо сырых и в химически активной среде - 1,5 месяца. Для наших производственных помещений периодичность ТО примем - 3 месяца.

. Экономические показатели по комплексной электрификации объекта

Экономическая эффективность проектируемого объекта - фермы, комплекса, цеха и т.п. - определяется затратами, связанными с его строительством и эксплуатацией (т.е. приведенными затратами).

При сравнении двух или нескольких вариантов электромеханизации и автоматизации технологических процессов на сельскохозяйственных предприятиях, рассчитанных на одинаковый объем работ, оптимальный выбирают по минимуму приведенных затрат.

Таблица 8

№ п/п

Наименование

Цена за 1 ед. (руб).

Кол-во шт. (м)

Общая ст-ть

1

Водонагреватель

4 500

1

4 500

2

Транспортёр навозоуборочный

151 000

1

151 000

3

Кормораздатчик

185 000

1

185 000

4

Тепловентилятор

15 810

2

31 620

5

Светильники ЛСП15 2х80Вт

926

72

66 672

6

Автопоилка

700

25

17 500

7

Пускатель ПМЕ 111

610

2

1220

8

АВВ типа S233R16

5600

1

5600

9

Пускатель ПМЕ 212

1060

3

3180

12

Трансформаторная подстанция, трансформатор ТМГ-100

115,000

1

115,000

13

Электросчетчик Меркурий-230

7,200

1

7,200


Заключение

В проекте были рассмотрены вопросы надежности электроснабжения. Также были рассмотрены вопросы технической эксплуатации электрооборудования и рассмотрены вопросы безопасности жизнедеятельности на объекте.

В проекте были рассмотрены также и экономические вопросы.

Данный курсовой проект научил проектировать объекты сельского хозяйства.

Список используемой литературы

1.   Отраслевые нормы освещения сельскохозяйственных предприятий, зданий, сооружений. М.: 1980.

2.      "Электропривод сельскохозяйственных машин, агрегатов и поточных линий". - 2-е изд., перераб. и доп. - М.: Колос, 1984. - 288 с., ил. - (Учебники и учеб. пособия для высш. с. - х. заведений).

.        Электрооборудование и автоматизация сельскохозяйственных агрегатов и установок / И.Ф. Кудрявцев, Л.А. Калинин, В.А. Карасенко и др.: Под. ред.

.        Методические указания по расчету электрических нагрузок в сетях 0,38-110 кВ сельскохозяйственного назначения. - Руководящие материалы по проектированию электроснабжения сельского хозяйства. М.: ноябрь 1981

.        Курсовое и дипломное проектирование по разделу «электроснабжение с/х предприятий и населённых пунктов).

.        Правила устройства электроустановок.

.        А.И. Панфилов, В.И. Энговатов. Настольная книга энергетика (Производственно - практическое пособие в вопросах и ответах для потребителей электрической и тепловой энергии) М.:ЗАО «Энергосервис», 2008. - 650 стр.

.        Луковников А.В. Шкрабак В.С. Охрана труда.

Похожие работы на - Электроснабжение коровника на 50 голов

 

Не нашли материал для своей работы?
Поможем написать уникальную работу
Без плагиата!
Без нейросетей!