Автомат упаковочный в обертку типа 'Flou-pak'
Автомат упаковочный в обертку типа «Flou-pak»
Введение
технический автомат упаковочный
В странах с развитой рыночной
экономикой в условиях постоянно возрастающей конкуренции товаропроизводители
вынуждены постоянно заботиться не только о высоком качестве производимой
продукции, но и о том, как доставить ее без потерь и преподнести потребителю в
удобном для производителя и привлекательном виде. И здесь первостепенную роль
играет упаковка.
Упаковывание - это уникальная
область общественной деятельности, где наука, техника и искусство объединяются
вместе для создании эстетичной и функционально-совершенной упаковки для всего
многообразия производимой продукции.
Современная упаковка, наряду, с
основной своей функцией, обеспечивать сохранность упакованного товара,
выполняет и ряд других. Она должна иметь оптимальные размеры и объем,
привлекательный внешний вид, выполнять рекламные функции, доводить до
потребителя информацию о товаре и правилах обращения с ним, нести маркировку
производителя и гарантии качества товара, обеспечивать стерильность и повышать
длительность хранения продукции, обеспечивать надежную защиту человека и
окружающей среды от воздействия вредных веществ, повышать эффективность
использования транспортных средств и складских помещений, обеспечивать
автоматизацию фасовочно-упаковочных операций, а также механизацию
погрузочно-разгрузочных и складских работ за счет пакетирования и скрепления
грузов в транспортные единицы.
Процесс создания действительно
оптимального варианта упаковки требует также самой тщательной проработки всей
транспортной цепи перемещения продукции от момента ее подачи на упаковывание у
изготовителя и до распаковывания потребителем.
Стремление поднять
производительность, улучшить и стабилизировать качество изделий требует
серьезной перестройки производственных и технологических процессов. Решение
этой задачи привело к созданию новых средств автоматизации - промышленных
роботов.
Настоящие техническое описание и
инструкции по эксплуатации распространяются на серийно-изготовляемую машину
М6-ОРГ-3 для фасовки сливочного масла в картонные ящики блоками весом по 20 кг
и предназначаются для изучения и правильной эксплуатации автомата, а также
поддержания его работоспособности.
Задачей курсового проекта является
проектирование автомата для упаковывания сливочного масла в картонные ящики
модели М6-ОРГ-3.
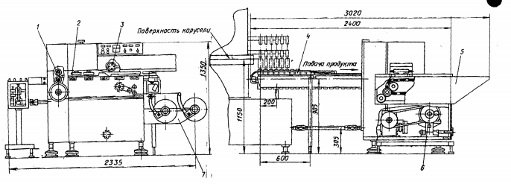
1. Назначение
проектируемого оборудования
Автомат заверточный
марки Л5-0ЗЛ предназначен для упаковывания мороженого «Эскимо», поступающего из
эскимогенератора марки Л5-О3Л. Входит в состав линий производства мороженого
«Эскимо» производительностью 500 кг/ч. Применяется на фабриках мороженого и
молочных заводах.
. Техническая
характеристика
. Тип автомата заверточный
. Техническая производительность,
шт./час, не менее 5000
. Регулирование производительности
(бесступенчатое), упаковок/мин 3650-5350
. Масса упаковываемого мороженого, г
100
. Установленная мощность, кВт 5
. Температура мороженого, К (°С) 259
(-14)
. Вид упаковки Пакет пушечного типа
с двумя поперечными и одним продольным швом
. Потребление электроэнергии, кВт
ч/ч не более 2,8
. Габаритные размеры, не более, мм
длина 2500
ширина 2120
высота 1350
. Масса машины, кг, не более 1000
. Размер рулона
наружный диаметр 300±50
внутренний диаметр сердечника 75±3
ширина 190±3
. Упаковываемое изделие мороженое
«Эскимо»
температура, °С, не выше -14
размеры мороженого без глазури, мм
высота с палочкой 145±3
высота без палочки 115±2
ширина 23±2
длина 52±2
3. Описание конструкции
и принципа действия
Автомат заверточный марки Л5-03Л
состоит из привода автомата, смонтированного внутри станины, транспортера,
транспортера загрузочного, механизма продольной сварки, механизма поперечной
сварки, бобинодержателя.

Мороженое, уложенное носителями
глазированной головки эксимогенератора в лотки транспортера, передвигается до
загрузочного транспортера. Толкатели загрузочного транспортера переносят порции
мороженого с лотков по стопу и заводят их в сформованную из упаковочного
материала трубу. Ролики механизма продольной сварки, постоянно вращаясь,
протягивают упаковочную бумагу с бобинодержателя и формуют трубку. Пара
свариваюших роликов производит сварку трубки, далее трубка с порциями
мороженого по столу подается к механизму поперечной сварки и отрезки. Проходя
между валами механизма, трубка пережимается корпусами нагревателей между
порциями «Эскимо» и при этом образуется поперечный шов, который разрезается
посередине ножом, вмонтированным в корпус нагревателя. Сваренный и отрезанный
пакет, попадая на отводящий транспортер, сбрасывается на стол готовой
продукции. Непрерывно двигающиеся толкатели стола захватывают пакеты и подают
их на направляющие стола.
Привод автомата Л5-03Л смонтирован внутри станины. Привод осуществляется
от электродвигателя через клиномерный вариатор и редуктор. Электродвигатель, на
валу которого смонтированы подпружиненные раздвижные диски вариатора,
установлен на подвижной плите. Плита двигается по направляющим при помощи
винтовой пары. Вращение винта осуществляется маховиком через цепную передачу.
На тихоходном валу редуктора
установлены две звездочки, от которых вращение передается цепями на звездочку и
звездочку, установленную на механизме поперечной сварки. Звездочка связана с
валом привода эскимогенератора при помощи предохранительного срезного штифта.
Вращение на эскимогенератор передается карданным валом.
Вращение от механизма поперечной
сварки через звездочку и цепь одновременно передается на звездочку транспортера
загрузочного и звездочку, которая через коническую зубчатую передачу, передает
вращение на вал. Вал установлен в подшипниках, которые закреплены в
кронштейнах.
Вал связан цепной передачей с
транспортером и карданным валом со столом готовой продукции.
Звездочка транспортера загрузочного
цепью связана со звездочкой механизма продольной сварки.
Натяжка цепей производится роликами,
которые закреплены на кронштейнах.
Транспортер предназначен для приема брикетов мороженого от эскимогенератора и
передачи их к заверточному автомату. Он представляет собой две соединенные
между собой щеки, между которыми на звездочках, устанавливается цепь с
опрокидывающимися лотками.
Звездочки закреплены на валах. Валы
установлены в подшипниках, которые закреплены в корпусах.
При движении лотков по направляющим
происходит их поворот с вертикального положения до горизонтального. Во время
нахождения лотков в вертикально положении происходит прием брикетов мороженого
от эскимогенератора.
При горизонтальном положении лотков
происходит съем брикетов мороженого и подача их на заверточный автомат.
Основания лотков движутся по направляющим, которые, для уменьшения трения,
изготовлены из винипласта ВН-5 ГОСТ 9639-71.
Для натяжки цепи с лотками предусмотрены
болты. Для натяжки приводной цепи предусмотрен ролик с эксцентриком.
Транспортер крепится к станинам
заверточного автомата и эскимогенератора при помощи кронштейнов. Для установки
транспортера по высоте и кронштейнах имеются пазы.
Транспортер загрузочный крепится на плите станины. Он состоит из литого корпуса внутри
которого на приводном и натяжном валах монтируются две цепные передачи. На
цепях закреплены 7 осей, на которых установлены корпуса подпружиненных
толкателей. Для устранения провисания цепей в нижнем положении предусмотрены
две направляющие пластины. Для натяжки цепей имеются два натяжных болта.
Механизм поперечной
сварки и отрезки Л5-03Л состоит из:
а) механизма сварки и отрезки;
б) привода и механизма;
в) отводящего транспортера.
а) Механизм сварки и отрезки
представляет собой 2 вала, расположенные с двух сторон от оси движения
продукта. На валах крепятся корпуса. В верхнем корпусе устанавливается нож для
отрезки пакетов. Нож регулируется по высоте болтами и конусами. В нижнем
корпусе крепится болтами подкладки. В корпусах устанавливаются
электронагреватели, соединенные проводами с коллекторами. Напряжение к
коллекторам поступает через щеткодержатели и щетки;
б) привод механизма осуществляется
от редуктора через цепную передачу и звездочку, установленную на валу. Через
полный вал проходит стяжка, на которой крепится маховик для ручной прокрутки
автомата и зубчатая полумуфта, которая соединена с полумуфтой, выполненной
заодно со звездочкой. Для ручной прокрутки нажатием маховика выводится из
зацепления полумуфта, вследствие чего происходит отсоединение привода автомата
от редуктора. На валу крепятся две шестерни и звездочки.
Все детали механизма сварки и
отрезки крепятся на двух плитах, соединенные между собой стяжками. Механизм
крепится к плите станины гайками и болтами. Механизм сварки и отрезки закрывается
кожухом.
Стол готовой продукции Л5-03Л
состоит из сварного корпуса, внутри которого на приводном и натяжном валах
установлены две звездочки с цепью. На цепи закреплены толкатели, которые
движутся в пазах стола, захватывают и передвигают пакеты с мороженым. Толкатели
скользят по направляющей, при сходе с которой они опрокидываются и
освобождаются от пакетов. Натяжка цепи осуществляется болтами. Привод
осуществляется через карданный вал, вращение от которого через шестерни
передается приводному валу. Боковые стороны корпуса закрыты листами. Корпус
устанавливается на опору, которая крепится к станине.
Карданный вал закрыт кожухом.
Принцип работы автомата
Брикеты мороженого, уложенные
носителем глазировочной головки эскимогенератора в лотки транспортера, подаются
да транспортера загрузочного. Толкатели загрузочного транспортера снимают с
лотков, переносят их по столу и заводят в сформированную из упаковочной бумаги
трубку. Трубка формируется при протяжке бумаги тянущими роликами механизма
продольной сварки по направляющей. Пара сваривающих роликов производит трубки,
внутри которой находятся брикеты мороженого. Далее трубка с брикетами по столу
попадает к механизму поперечной сварки и отрезки. Проходя между валами
механизма, трубка пережимается корпусами нагревателей между брикетами
мороженого, при этом образуется поперечный шов, который разрезается по середине
ножом. Далее пакет отводящим транспортером попадает на стол готовой продукции.
Непрерывно двигающиеся толкатели захватывают пакеты и подают их на край стола.