Удосконалення технології виробництва кальвадосів з яблучної сировини
РЕФЕРАТ
Пояснювальна записка до ДП: 109 с.,
16 рис., 26 табл., 52 джерела, 1 додаток.
Ключові слова: КАЛЬВАДОС, АЛКОГОЛЬНИЙ НАПІЙ, БРОДІННЯ, ДИСТИЛЯЦІЯ, ВИТРИМКА,
КУПАЖ, ПІСЛЯКУПАЖНЕ ДОЗРІВАННЯ, АСКОРБІНОВА КИСЛОТА.
Метою даного дипломного проекту є
удосконалення технології виробництва кальвадосів з яблучної сировини.
Завданнями даного дипломного проекту
є наступні:
- охарактеризувати сировину,
яка використовується для отримання кальвадосів; описати класичну схему
виробництва;
- навести біологічну схему виробництва,
які відбуваються при проведенні технологічного процесу;
- дослідити технологічний
процес з визначенням контрольних точок та матеріального балансу виробництва;
розрахувати ректифікаційну
установу, в якій відбувається очищення і дистиляція етанолу;
навести перелік заходів
щодо охорони праці та навколишнього середовища;
провести економічні
розрахунки проекту для визначення його окупності підприємства.
На основі проведеного патентного
пошуку було запропоновано до спиртовмісного матеріалу перед початком етапу або
під час етапу витримки у присутності деревини дуба додавати аскорбінову кислоту
в кількості від 50 до 150 мг на 1 дм3 спиртовмісного матеріалу.
У дипломному проекті представлено
матеріальні та економічні розрахунки. Розглянуті питання охорони праці і
навколишнього середовища.
ЗМІСТ
Вступ
. Техніко-економічне обґрунтування та вибір технологічної схеми
. Технологічна частина
2.1 Характеристика кінцевої продукції виробництва
.2 Характеристика сировини, матеріалів та напівпродуктів
2.3 Характеристика біологічного об'єкту та біохімічна схема
виробництва
.3.1 Характеристика біологічного об’єкту
.3.2 Біохімічна схема виробництва
2.4 Блок-схема та опис технологічного процесу
.5 Гідропневматична принципова схема технологічного процесу
.6 Опис запропонованої зміни в технології
.7 Матеріальний баланс та продуктовий розрахунок
.8 Розрахунок та вибір технологічного обладнання
.9 Розрахунок ректифікаційного апарату та його зображення для
проведення технологічного процесу
2.9.1 Принцип роботи ректифікаційної колони
2.9.2 Класифікація ректифікаційних установок
.9.3 Вибір ректифікаційної колони
.9.4 Колони зі сітчастими тарілками для розділення суміші
«етиловий спирт-вода»
.9.5 Вибір допоміжного обладнання і конструкційного матеріалу
.9.6 Конструктивний та тепловий розрахунок ректифікаційної колони
2.9.6.1 Матеріальний розрахунок колони
.9.6.2 Розрахунок оптимального флегмового числа та числа
теоретичних тарілок
2.9.6.3 Розрахунок діаметра ректифікаційної колони
.9.6.4 Розрахунок числа тарілок
.9.6.5 Розрахунок висоти колони
.9.6.6 Тепловий розрахунок колони
2.10 Контроль виробництва, стандартизація та сертифікація
продукції
.11 Енергозабезпечення та енергозбереження
.12 Водозабезпечення
.13 Відходи виробництва
3. Охорона праці та навколишнього середовища
3.1 Загальні питання охорони праці
.2 Організація управління охороною праці на підприємстві
.3 Промислова санітарія
3.3.1 Шкідливі речовини
.3.2 Метеорологічні умови
.3.3 Вентиляція
.3.4 Освітлення
.3.5 Шум
3.4 Електробезпека
.5 Пожежна безпека
.6 Охорона навколишнього середовища
4. Економічна ефективність проекту
4.1 Розрахунок виробничої потужності проектованого виробництва
.2 Розрахунок поточних витрат
.3 Визначення ціни і обсягу реалізації продукції
.4 Розрахунок інвестиційних (капітальних) витрат
.5 Показники ефективності проектованого виробництва
Висновки
Список джерел інформації
Додаток А
ВСТУП
Питання виробництва міцних
алкогольних напоїв в Україні останнім часом привертає все більшу і більшу
увагу. У зв’язку з ростом ціни на імпортні товари цієї категорії є висока
необхідність в організації виробництва на теренах держави. Завдяки наявності
достатньої кількості сировини (яблук) для виробництва одного з типів бренді -
кальвадосів та минулого досвіду організації подібного роду виробництв, існує
гостра потреба та комерційно-приваблива пропозиція щодо облаштування
підприємства по виготовленню саме даного типу алкогольного напою. Кальвадоси
або яблучні бренді можуть стати конкурентом на ринці напоїв завдяки своїм
смаковим характеристикам, використанню у виробництві вітчизняних виноматеріалів
та привабливою ціною поміж інших видів бренді як українського, так і іноземного
походження.
Основним завданням при організації
виробництва кальвадосів є забезпечення їх конкурентоспроможності та
економічності ефективності підприємства при забезпеченні найвищої якості
продукту та безпеки на виробництві. Значне виробництво кальвадосів потребує
стабільного ринку для підтримання постійної потреби та наявності та
забезпечення сировиною. Найбільш перспективними сортами яблук для виробництва
кальвадосів в Україні слід вважати яблука, хімічний склад яких та інші
біологічні властивості найбільш близькі до характеристик яблук, описаних у
класичних французьких технологіях. Але при цьому виникає проблема зменшення
площі земель для засіву споживчих сортів, а також проблема утилізації відходів
виробництва.
Великі масштаби виробництва
кальвадосів висувають певні вимоги до економіки виробництва, в першу чергу у
вирішенні проблеми вибору високоякісної сировини та раціонального оформлення
технологічного процесу. Крім того, ці вимоги направлені на зменшення числа
стадій виробництва або їх оптимізацію; підвищення повноти використання сировини
на етапах екстракції; створення маловідходних технологічних процесів тощо.
У зв’язку з цим розробка нових
економічно вигідних методів виробництва кальвадосів є досить актуальною.
1. ТЕХНІКО-ЕКОНОМІЧНЕ ОБГРУНТУВАННЯ
ТА ВИБІР ТЕХНОЛОГІЧНОЇ СХЕМИ
Кальвадос (яблучний бренді) - міцний
алкогольний напій, що готується шляхом витримки яблучного (кальвадосного)
спирту в дубових бочках або емальованих резервуарах із зануреною в них дубовою
клепкою. Батьківщиною кальвадосу є Франція, де для його виготовлення
використовують яблука місцевих сортів.
В останні 8-10 років у світі зростає
інтерес до споживання та виробництва кальвадосу. З року в рік збільшуються
площі насаджень плодових культур і, особливо, яблуні, з метою її подальшого
використання для промислової переробки, у тому числі для виробництва
кальвадосу. У зв'язку з цим вдосконалення технології виробництва кальвадосу
(яблучного бренді) з місцевої сировини - яблук і деревини дуба - є актуальним
завданням галузі.
На сьогодні існує декілька варіантів
виготовлення кальвадосу. Всі вони відрізняються унікальними технологічними
прийомами, які використовуються на різних стадіях виробництва з чітко
визначеною метою: для покращення органолептичних властивостей, для збільшення
виходу речовини, для зменшення енерговитратності виробництва тощо [1].
Спосіб виготовлення кальвадосу
включає такий етап як витримка спиртовмісного матеріалу у присутності деревини
дуба. Як спиртовмісний матеріал використовують спирти, що отримують шляхом
перегонки різних видів яблучних сидрів.
Під час витримки спиртовмісного
матеріалу у присутності деревини дуба (наприклад, можна спирт заливати у бочки,
які виготовлені з дуба, або можна витримувати у металевій ємності, в яку
насипано тирсу з деревини дуба) відбувається екстрагування речовин, що
містяться у деревині дуба, в об'єм спиртовмісного матеріалу. Одночасно із
екстрагуванням у спиртовмісному матеріалі відбуваються окисно-відновлювальні
процеси за участю екстрагованих речовин, в результаті чого утворюються інші
речовини. Сукупність цих екстрагованих та новоутворених речовин у алкогольному
напої надає йому певного смаку та аромату, за якими оцінюється якість
алкогольного напою. Окисно-відновлювальні процеси за участю екстрагованих
речовин відбуваються ще певний час і на наступних етапах виготовлення
алкогольного напою. Тому для того, щоб гарантувати якість готового алкогольного
напою, що не буде змінюватись в залежності від часу, готовий алкогольний напій
витримують ще певний час в ємностях до припинення окисно-відновлювальних
процесів у напої та стабілізації смаку і аромату готового напою. Так як готовий
алкогольний напій звичайно отримують шляхом купажування спиртовмісного
матеріалу, що був витриманий у присутності деревини дуба певний час, з іншими
компонентами алкогольного напою, то такий етап витримки готового алкогольного
напою у ємностях називають післякупажним відпочинком. У практиці виготовлення
алкогольних напоїв такі процеси, які відбуваються під час витримки
спиртовмісного матеріалу у присутності деревини дуба, називають дозріванням
спиртовмісного матеріалу, а процес витримування готового алкогольного напою на
етапі післякупажного відпочинку називають дозріванням готового напою.
Відомі способи дозрівання яблучного
спирту та інших алкогольних напоїв за рахунок інтенсифікації окисно-відновних
процесів [2].
Ці способи передбачають обробку
напоїв ультрафіолетовими або інфрачервоними променями, гамма-опроміненням,
електричним струменем високої частоти, або додавання до напоїв на стадії
витримки у присутності деревини дуба таких хімічних речовин, як озон, перекис
водню, пероксидаза, і розчинів металів: платини, свинцю, молібдену, нікелю,
титану тощо. Недоліком цих способів є короткочасний характер поліпшення
органолептичних показників, швидке погіршення смаку і аромату напоїв при
зберіганні, токсичність і висока вартість речовин добавок.
Відомий спосіб прискорення
дозрівання спиртів, який передбачає витримку напоїв у присутності деревини дуба
у вигляді спеціально оброблених гранул та введення добавки етилацетату в
кількості від 0,005 г/дм3 до 0,3 г/дм3 в коньячний спирт
[3]. Недоліком способу-аналогу є те, що етилацетат не внесений до переліку харчових
добавок, дозволених для використання у харчових продуктах та переліку
матеріалів, які можуть використовуватись у виноробній промисловості.
Застосування у цьому способі картриджів із спеціально обробленою деревиною у
вигляді гранул призводить до додаткових витрат на виробництво алкогольною
напою.
Відомий також інший спосіб
дозрівання яблучного спирту, який полягає у тому, що при витримці з деревиною
дуба до нього додають оброблене насіння винограду для прискорення процесів
окислення [4]. Недоліком цього способу є складність та енерговитратність
способу, так як обробка виноградного насіння є багатоступеневою операцією:
необхідно екстрагувати з виноградного насіння фенольні речовини ректифікованим
етиловим спиртом упродовж 10 діб, що призводить до витрат спирту, потім насіння
промивають водою з температурою 20-50 °С, висушують при температурі 70-80 °С до
залишкової вологості 10-15 мас.
Найближчим способом виготовлення
кальвадосу до обраного є метод дозрівання спирту, який передбачає витримку
спирту у присутності деревини дуба та інтенсифікацію окисно-відновних процесів
у спирті шляхом додавання електрохімічно-окисленого таніну та спеціально
оброблених подрібнених частин штамбу винограду [5].
Спільними ознаками цього та
запропонованого методу є витримка спиртовмісних матеріалів у присутності
деревини дуба та використання речовини, яка прискорює окисно-відновні процеси
при дозріванні спиртовмісного матеріалу. Проте, недоліком такого способу є
складність виготовлення речовини, що додається, та висока вартість цієї
речовини - для отримання речовини-добавки потрібне електрохімічне окислення
таніну шляхом розміщення платиново-титанових електродів у спиртовому розчині 70
об. % з концентрацією таніну 100 - 200 г/дм3.
Запропонований метод дозволяє
використати більш простий та менш енерговитратний спосіб виготовлення
алкогольного напою шляхом зміни речовини, що додається при виготовленні
алкогольного напою, для зменшення часу витримки кальвадосу в дубових бочках та
покращення його органолептичних та фізико-хімічних властивостей, що забезпечить
за більш короткий час отримати алкогольний напій високої якості [6].
2. ТЕХНОЛОГІЧНА ЧАСТИНА
.1 Характеристика кінцевої продукції
виробництва
Кальвадос України (calvados (фр.)) -
міцний алкогольний напій з характерним букетом і смаком, який виробляють із
витриманих кальвадосних спиртів шляхом доведення їх до кондицій готового напою
пом'якшеною водою з додаванням цукрового сиропу і колеру.
Документом, що регулює якість
кальвадосів, які виробляються на території України, є Технічні умови
«Кальвадоси України», який знаходиться в стані затвердження. Цей стандарт
розроблено в Інституті агроекології Української академії аграрних наук на
основі російського нормативного документу ГОСТ Р 51300-99 [7].
Кальвадос є одним з багатьом міцних
алкогольних напоїв, який виготовляють шляхом дистиляції продуктів бродіння та
подальшої витримки в дубових бочках. Кальвадос вживають безпосередньо як
алкогольний напій, а в місцях виробництва - під час прийомів їжі як засіб для
поліпшення травлення. Кальвадос також використовують в якості додаткового
інгредієнта при виготовленні різноманітних кулінарних виробів (соусів, м'ясних
і рибних страв, кондитерських виробів).
Кальвадоси України виробляють
відповідно до вимог Національного стандарту згідно з технологічними
інструкціями, затвердженими у встановленому порядку. За органолептичними
показниками кальвадоси України повинні відповідати вимогам, наведеним у табл.
2.1.
Таблиця 2.1 - Органолептична
характеристика кальвадосів України
|
Показник
|
Характеристика
|
|
Прозорість
|
прозорий, з блиском, без сторонніх включень
|
|
Колір
|
ординарні - від світло-золотистого до світло-коричневого з
золотистим відтінком марочні і колекційні - віл золотистого до
темно-бурштинового
|
|
Смак і букет
|
характерні для кальвадосів України даного типу (передбачені
технологічною інструкцією), без сторонніх тонів
|
За хімічними показниками кальвадоси
України повинні відповідати вимогам, наведеним у таблиці 2.2.
Таблиця 2.2 - Показники хімічного
складу України
|
Показник
|
Кальвадоси України
|
Метод контролю
|
|
ординарні
|
марочні
|
|
|
Об’ємна частка етилового спирту, % об.
|
40,0
|
40,0 - 43,0
|
ГОСТ 13191
|
|
Масова концентрація цукрів, в перерахунку на інверсний, г/дм3
|
7,0 - 15,0
|
10,0 - 20,0
|
ГОСТ 13192
|
|
Масова концентрація метилового спирту, г/дм3, не
більше
|
1,0
|
ГОСТ 13194
|
Смак добре виготовленого кальвадосу
повинен нагадувати смак яблук і груш, збалансованих з ароматами старіння.
Кальвадос з меншим строком витримки відрізняється свіжими ароматами яблук та
груші. Чим довше кальвадос витримується, тим більше він нагадує за смаком
будь-який інший бренді. Під час витримки кальвадос набуває золотого або
темно-коричневого кольору з елементами помаранчевого та кольору червоного
дерева. Аромат кальвадосу збалансований, з присутністю витриманого яблука і
кураги, а також ірису, горіхів та шоколаду.
.2 Характеристика сировини,
матеріалів та напівпродуктів
Характеристика сировини, матеріалів
та напівпродуктів, які використовуються при виробництві кальвадосів, наведена у
табл. 2.3 [8, 9].
Таблиця 2.3 - Характеристика сировини,
матеріалів та напівпродуктів
|
Найменування
|
Категорія і номер НД
|
Показники НД, обов’язкові для перевірення
|
Функціональне призначення
|
|
1
|
2
|
3
|
4
|
|
1.Основна сировина
|
|
Яблука
|
ДСТУ 7022-2009
|
1. Зовнішній вигляд 2. Розмір 3. Зрілість 4. Механічні
пошкодження
|
Сировина для отримання бражки
|
|
Цукор-пісок
|
ДСТУ 2316-93
|
1. Масова частка сахарози 2. Масова частка золи 3. Масова вологи
|
Зміна вмісту цукрів на стадії купажування
|
|
Цукор-рафінад
|
ДСТУ 2213-93
|
1. Масова частка сахарози 2. Масова частка золи 3. Масова вологи
|
Зміна вмісту цукрів на стадії купажування
|
|
Цукор рідкий
|
ДСТУ 3357-96
|
1. Масова частка сахарози 2. Масова частка золи 3. Масова вологи
|
Зміна вмісту цукрів на стадії купажування
|
|
Кислота лимонна харчова
|
ГОСТ 908-2004
|
1. Масова частка кислоти 2. Масова частка води 3. Масова частка
сульфатів 4. Масова доля оксалатів
|
Регулювання кислотності
|
|
Вода питна
|
ГОСТ 2874-82
|
1. Концентрація заліза 2. Жорсткість води 3. Концентрація
мангану 4.Концентрація міді 5.Концентрація поліфосфатів 6. Концентрація
сульфатів 7. Сухий залишок 8. Концентрація хлоридів 9. Концентрація цинку
|
Розведення спирту після ректифікації або витримки, проведення
технологічних промивок.
|
|
2. Допоміжна сировина
|
|
Желатин харчовий
|
ГОСТ 11293-89
|
1. Масова частка дрібних частинок 2. рН 3. Масова частка вологи
4. Масова частка золи
|
Сировина для оклеювання
|
|
Білок із яєць курячих харчовий
|
ГОСТ 27583-88
|
1. Маса
|
Сировина для оклеювання
|
|
Калій залізосинеродистий
|
ГОСТ 4207-75
|
1. Масова частка КЗС 2. Масова частка нерозчинених у воді
речовин 3. Масова частка карбонатів 4. Масова частка сульфатів 5. Масова
частка хлоридів
|
Видалення надлишку катіонів важких металів (заліза)
|
|
3. Матеріали
|
|
Фільтр-картон для виноробної промисловості
|
ГОСТ 12290-89
|
1. Товщина 2. Маса 1 м2 картону 3. Швидкість
проходження води 4. Вологість
|
Фільтрування готового продукту
|
|
Бочки дубові
|
Згідно з чинними НД
|
1. Вологість 2. Наявність дефектів 3. Гладкість поверхонь
|
Ємність для витримки спирту
|
|
Клепка дубова
|
Згідно з чинними НД
|
1. Вологість 2. Наявність дефектів
|
Додають в ємність при витримці спирту
|
|
Продукти переробки деревини
|
Згідно з чинними НД
|
1. Вологість
|
Додають в ємність при витримці спирту
|
|
4. Напівпродукти
|
|
Спирт яблучний
|
РСТ УРСР 1480-90
|
1. Об'ємна доля этилового спирту 2. Концентрація метанолу 3.
Масова частка летких речовин
|
Спиртовмісна речовина
|
|
|
|
|
|
|
|
Для виробництва кальвадосів
використовують яблука вищої якості.
Для вироблення яблучного
виноматеріалу використовуються м'якоть і шкірка плодів, які містить
фарбувальні, дубильні й ароматичні речовини, що переходять при переробці яблук
в яблучний сік, потім в виноматеріали і в дистилят.
Сорти яблук і їх хімічний склад -
найбільш важливі показники при виборі сировини для виробництва яблучних
виноматеріалів. Для отримання якісного виноматеріалу яблучний сік повинен
містити цукрів - близько 12%, кислот - 0,6%, дубильних речовин - 0,05%,
азотистих речовин - 0,2% [10].
Яблучний виноматеріал зазвичай
готують із суміші різних сортів яблук, в основному, падалиці, без розрахунку
отримання цінної сировини для приготування кальвадосів. Для виробництва кальвадосів
необхідно використовувати тільки здорові і стиглі яблука зимових й осінніх
сортів, соковиті, з високою кислотністю і цукристістю, багаті ароматичними і
дубильними речовинами. У комплекс ароматичних речовин плодів яблук входять
спирти, альдегіди, кетони, вільні карбонові кислоти, ефіри й інші.
Пошкоджені яблука мають
нестандартний обмін речовин, тому вони є ідеальним живильним середовищем для
мікроорганізмів, бактерій, дріжджів і цвілевих грибів. Внаслідок цього
утворюються нові сторонні компоненти ароматичних речовин, а типовий аромат
заглушується, що негативно впливає на готовий продукт.
Букет кальвадосів виходить завдяки
тому, що в певних пропорціях змішуються солодкі, гіркі, гірко-солодкі і кислі
сорти яблук. Солодкі (зазвичай 40%) дають напою цукор і алкоголь, гіркі і
гірко-солодкі (також 40%) відповідають за таніни, кислі (зазвичай 20%)
повідомляють кислотність і свіжість. Причому яблуні відразу висаджують таким
чином, щоб виходило потрібне співвідношення - і сорти змішуються, коли збирають
урожай.
Високоякісний кальвадос у Франції
отримують з наступних сортів яблук: Лмер де Бертенур, Бедан, Бобове, Брант,
Гогенгеймскін рислінг, Золота медаль, Карпентіно, Червоне з Брюйер, Пассрен де
Помм, мабарі, Русс-Латур, Сіре Дюппуа, Трірського біле сідрового, Трірського
червоне сідрового, Френкен червоний, Френкен Лакайль, Чорне з Вітрі.
В нашій країні найчастіше
використовуються яблука сорту Антонівка. Дерево росле з округло-розлогою, часто
неправильної кроною, з дуже міцними суками і стовбуром. Плодові гілочки
короткі, часто загострені, як у дикої яблуні. Листя великі, овальні. Плоди
середньої величини і великі, різноманітної форми, від округлих до конічних,
здебільшого з широкими ребрами. Забарвлення при повній зрілості світло-жовта,
іноді з рум'янцем. М'якоть біла, грубозерниста, винно-солодка, дуже ароматна
[11].
Визначальним фактором якості
яблучного спирту для кальвадосів є первинний хімічний склад летких речовин
яблук і збродженого яблучного соку. У яблуках кількість ароматичних речовин
складає 10-60 мг / л.
Ароматичні речовини яблук
знаходяться в шкірці або під нею, дещо меншою концентрації - в м'якоті. До
збору плодів необхідно приступати, коли вони повністю оформилися, в них
накопичилася достатня кількість цукру і змінилася забарвлення. Передчасно зняті
плоди кривляться, в'януть, погано зберігаються і не мають властивого сорту
смаку та аромату. Перетримані на дереві плоди втрачають свої смакові
властивості, стають пухкими і борошнистими.
Ступінь зрілості яблук впливає не
тільки на якість готового продукту, а й помітно позначається на економічних
показниках роботи підприємства. Незрілі яблука погано пресуються і дають сік з
недостатньо вираженим ароматом і смаком. Такий сік характеризується зайвої
кислотністю, терпким смаком і недостатнім вмістом цукру. Сік з перестиглих
яблук поганої якості і зі зміненим смаком. Тому яблука, що йдуть на
виготовлення кальвадосу, повинні піддаватися ретельному сортуванні
безпосередньо на місці збору. Відбраковані плоди можуть бути використані для
отримання яблучного спирту-ректифікату.
кальвадос яблучна сировина
2.3 Характеристика біологічного
об'єкту та біохімічна схема виробництва
.3.1 Характеристика біологічного
об'єкту
Біологічним об’єктом виробництва
кальвадосів є дріжджі, які здатні перетворювати цукри, які містяться в яблучній
сировині, на етиловий спирт, який потім виділяється та є основою алкогольного
напою. При виробництві кальвадосу в деяких випадках не використовують
спеціальні промислові штами, бо багато з досліджень підтверджують ефективність
«натурального» або «випадкового» бродіння, тобто бродіння організмами, які
природнім шляхом потрапляють у середовище бродіння. Виходячи з цього, опис
подається для групи дріжджів та окремого штаму Saccharomyces vini, який
найчастіше використовується при виробництві.
Дріжджі Saccharomyces vini за
своїм таксономічним положенням відносяться до наступних категорій:
Домен - Еукаріоти;
Царство - Гриби;
Підцарство - Вищі гриби;
Відділ - Аскоміцети;
Клас - Сахароміцети;
Родина - Сахаромицетові;
Рід - Сахароміцес;
Вид - Saccharomyces vini.
Дріжджі - позатаксономічна група
одноклітинних грибів, які втратили міцеліальну будову у зв'язку з переходом до
проживання в рідких і напіврідких, багатих органічними речовинами субстратах
[12].
Зараз до дріжджів прийнято відносити
всі ті гриби, які здатні вегетативно розмножуватися в одноклітинній формі,
незалежно від того, чи мають вони міцеліальну фазу в життєвому циклі і
споріднені аскоміцетовим або базідіоміцетовим грибам. Серед дріжджів зараз
розглядають навіть гаплоїдні одноклітинні стадії таких грибів, які утворюють
макроскопічні плодові тіла. При такому розумінні дріжджів, їх межі з
міцеліальними грибами стають розпливчастими, а класифікація зливається із
загальною системою грибів.
Дріжджі є хемоорганогетеротрофами і
використовують органічні сполуки як для отримання енергії, так і як джерело
вуглецю. Їм необхідний кисень для дихання, проте за його відсутності багато
видів здатні отримувати енергію за рахунок анаеробного дихання (бродіння) з
виділенням спиртів, тобто вони є факультативними анаеробами. На відміну від
бактерій, серед дріжджів немає облігатних анаеробів, що гинуть за наявності
кисню в середовищі. При пропусканні повітря через зброджуваний субстрат,
дріжджі припиняють бродіння і починають дихати (оскільки цей процес ефективніший),
споживаючи кисень і виділяючи вуглекислий газ. Це прискорює зростання
дріжджових кліток. Проте, навіть при доступі кисню у разі високого вмісту
глюкози в середовищі дріжджі починають її зброджувати.
До групи дріжджів об'єднуються
гриби, які існують переважно у вигляді окремих клітин. Клітини різних видів
дріжджів морфологічно досить різноманітні: круглі, яйцевидні, овальні. Довжина
їх становить 2-20 мкм, а ширина близько 1,5 - 10,0 мкм. Розмножуються дріжджі
вегетативно і статевим шляхом. Клітини дріжджів грам-позитивні. На щільних
поживних середовищах дріжджі ростуть у вигляді вростають в субстрат колоній, що
мають м'яку консистенцію і різноманітних за формою: опуклих, круглих,
лопатевих. Колонії безбарвні або пофарбовані в жовтий, оранжевий, рожевий і
інші кольори [13].
Дріжджова клітина має всі основні
структури, які притаманні будь еукаріотичної клітці, але в той же час вона має
особливостями, властивими грибам, а саме, поєднанням ознак як рослинною, так і
тваринною клітин: клітинна стінка у них ригідна, як у рослин, але в клітці
відсутні хлоропласти і накопичується глікоген, як у тварин.
Будова клітини дріжджів зображена на
рисунку 2.1.
Рисунок 2.1 - Будова дріжджової
клітини Saccharomyces cerevisiae
Зовнішня частина оболонки утворена
полісахаридами типу геміцелюлоз та невеликою кількістю хітину, внутрішня
частина - білковими речовинами, фосфоліпідами і ліпоїдами. Оболонка регулює
внутрішній стан клітини і має вибіркову проникливість, що суттєво відрізняє її
від звичайних напівпроникливих мембран. Товщина клітинної оболонки дріжджів до
400 нм.
На рисунку 2.2 зображено
мікрофотографію клітини дріжджів при використанні електронного мікроскопу (х 10
000).
Рисунок 2.2 - Мікрофотографія
дріжджової клітини (х10 000)
Дріжджі роду Saccharomyces
активно зброджують цукри, нітрати не асимілюють, тому що не мають ферментів,
здатних відновлювати їх до іонів амонію. На поверхні агару поживного вони
зазвичай формують гладкі тьмяно блискучі білі з жовтим відтінком колонії.
Органічні кислоти мають важливе
значення при метаболізмі вуглецю, енергетичному обміні мікроорганізмів,
синтетичних та дисиміляційних процесах. Використання кислот жирного ряду в
якості джерела вуглецю залежить від виду та раси дріжджів, концентрації
кислоти, довжини її вуглецевого ланцюга та ступеня електролітичної дисоціації.
Непоганими субстратами служать кислоти з довжиною вуглецевого ланцюга від С2 до
С4 при порівняно низькій концентрації. Калійні солі кислот, що містять у
молекулі від 2 до 5 атомів вуглецю, стимулюють ріст дріжджів в 1,4 - 3,3 рази
сильніше порівняно з відповідними кислотами [14].
Жирні кислоти з середньою довжиною
вуглецевого ланцюга (від С6 до С10) в значно меншій мірі споживаються дріжджами
і тільки в умовах дуже низької концентрації (0,02 - 0,05%). При більш високій
концентрації розвиток дріжджів пригнічується. Жирні кислоти з 12 - 17 атомами
вуглецю в молекулі засвоюються вибірково в залежності від роду та виду
дріжджів.
На поверхні яблук розвиваються не
тільки корисні дріжджі Saccharomyces vini, а й дикі дріжджі, а також
бактерії і цвілі. Для культур дріжджів, виділених з яблук і винограду,
зброджених соків, сусел і сидрів, прийнято використовувати термін «винні
дріжджі».
Найбільш поширеними, що у
спонтанному бродінні, є наступні роди і види винних дріжджів:
Saccharomyces vini - це типові виноробні дріжджі, відіграють головну роль у
виноробстві. Дріжджі цього виду мають високу бродильну активністю, активно
розмножуються брунькуванням в суслі, домінують, швидко опановують середовищем,
визначаючи склад вина. Гранична об'ємна частка утвореного спирту 14-16%.
Saccharomyces oviformis. Культури цього виду зброджують майже повністю утримуються в
середовищі цукру, утворюючи близько 18% спирту.
Дріжджі шампанського виробництва
часто належать до цього виду. Всі хересні дріжджі, що утворюють на поверхні
бражки плівку, є різновидом цього виду.
Brettanomyces. Широко поширені у фруктовому виноробстві. Найбільш сприятливим
середовищем для Вrettanomyces є тиражний виноматеріал в шампанському з масовою
концентрацією цукрів 2 г/100 см3; вони порушують нормальний хід вторинного
бродіння, викликають помутніння столових вин. Можуть викликати зупинку
бродіння. На поверхні вина утворюють тонку гладку, сірувато-білу плівку.
Оптимальна температура росту 31-32 ° С, при 12 °С і нижче ріст припиняється.
При зброджуванні сусла утворюють 11-12% об етанолу, будучи сильним
кислотоутворювачами, збагачують сидри летючими і нелетучими кислотами з різким
інтенсивним запахом ефірів.
Hanseniaspora apiculata - викликають захворювання вин. Вегетативне розмноження
відбувається шляхом брунькування клітини з одного або двох її кінців, за
швидкістю розмноження випереджають S. vini в два рази. Зброджують фруктозу
швидше, ніж глюкозу, утворюють 6-7% об. спирту, багато летючих кислот, ефірів,
мурашину, бурштинову, пропіонову і масляну кислоти. Ці продукти повідомляють
виноматеріалу не тільки сторонній тон, а й гальмують ріст і бродіння винних
дріжджів-сахароміцетів при бродінні яблучного сусла. Розглядаються ці дріжджі
як шкідливі дріжджі.
Нansenula anomalа - представники шкідливої мікрофлори бродіння, утворюють осад у пляшках, викликають
помутніння вин. Іноді виявляють бродильну спроможність. Засвоюють нітрати. При
зброджуванні сусла утворюють до 5% об. етанолу, вищі спирти, різні ефіри,
можуть розкладати білки і амінокислоти, окислюють винну кислоту, яка зазвичай
не засвоюється іншими дріжджами. Можуть розвиватися в яблучному жомі, на
стінках бочок, просочених бражкою.
Pichia alcoholophila. Викликають захворювання столових вин - «цвіль» і помутніння
напоїв, розлитих у пляшки. Продукти обміну дріжджів роду Pichia гальмують ріст
і знижують бродильну енергію дріжджів-сахароміцетів при виробництві ігристих
вин і хересу.
Candida mycoderma. Розвиваючись на поверхні сидрів при вільному доступі повітря,
викликають захворювання, сидр втрачає свіжість, стає плоским, порожнім.
Можуть розмножуватися в глибині
рідкого середовища, утворюючи на поверхні кільце або суху зморшкувату плівку
білого або жовтого кольору, яка частково опадає на дно ємності. Бродіння цукрів
ці дріжджі не викликають, добре асимілюють глюкозу і етанол.
Дріжджі живуть і розмножуються в
обмежених температурних умовах, і для нормальної їх життєдіяльності необхідна
температура 29 - 30 оС. за дуже великої чи дуже низької температури
життєдіяльність дріжджів послаблюється чи припиняється. Максимальна температура
для розвитку дріжджів 38 оС, мінімальна 5 оС; при
температурі 50 оС дріжджі гинуть.
Оптимальні температури для розвитку
та виявлення максимальної бродильної активності не завжди співпадають. Дріжджі
вирощені при температурі, наприклад, 17 - 22 оС, мають велику
бродильну енергію.
На життєдіяльність дріжджів значною
мірою впливає активна кислотність середовища. Йони водню змінюють електричний
заряд колоїдів плазмової оболонки клітин і залежно від концентрації можуть
зменшувати чи збільшувати її проникливість для окремих сполук та йонів. Від
значення рН залежить швидкість надходження поживних речовин в клітину,
активність ферментів, утворення вітамінів. При зміні рН середовища змінюється і
напрямок самого бродіння. Якщо рН зсувається в лужний край, то збільшується
утворення гліцерину.
Життєдіяльність дріжджів
зберігається у рамках рН середовища від 2 до 8; для їх вирощування оптимальним
являється рН 4,8 - 5. При рН нижче 4,2 дріжджі продовжують розвиватися, тоді як
ріст молочнокислих бактерій зупиняється. Цю властивість дріжджів використовують
для пригнічення розвитку бактерій в інфікованому середовищі, яке підкислюють до
рН 2,8 - 4 і витримують визначений час.
.3.2 Біохімічна схема процесу
Основним біохімічним процесом, що
протікає під час виробництва кальвадосів, є спиртове бродіння.
Спиртове бродіння - процес
анаеробного розпаду глюкози з утворенням етилового спирту в якості продукту. Реакція
спиртового бродіння подібна гліколізу. Розбіжність починається тільки після
утворення пірувату. Кінцевий етап гліколізу замінюється двома ферментативними
реакціями [15].
Процес спиртового бродіння можна
представити у вигляді схеми, яка зображена на рисунку 2.3.
Рисунок 2.3 - Загальна схема
спиртового бродіння
Механізм спиртового бродіння можна
розділити на наступні стадії:
) Приєднання до глюкози під впливом
ферменту глюкокінази залишку фосфорної кислоти від аденозинтрифосфорної кислоти
(АТФ). При цьому утворюються аденозиндифосфорна кислота (АДФ) і
глюкозо-6-фосфорна кислота.
) Глюкозо-6-фосфорна кислота під
дією глюкозофосфатізомерази перетворюється на фруктозо-6-фосфорну кислоту.
) Фруктозо-6-фосфорна кислота,
отримуючи від нової молекули АТФ (за участю ферменту фосфофруктокінази) ще один
залишок фосфорної кислоти, перетворюється на фруктозо-1,6-дифосфорну кислоту.
) Під впливом ферменту
кетозо-1-фосфатальдолази фруктозо-1,6-дифосфорна кислота розщеплюється на
гліцеринальдегідфосфорну і діоксіацетонфосфорну кислоти, які можуть
перетворюватися одна в одну під дією ферменту тріозофосфатізомерази.
) Гліцеринальдегідфосфорна кислота,
приєднуючи молекулу неорганічної фосфорної кислоти і окислюючись під дією
ферменту дегідрогенази фосфогліцеринальдегіда перетворюється на
1,3-дифосфогліцеринову кислоту.
) Молекула діоксіацетонфосфорної
кислоти під дією тріозофосфатізомерази дає другу молекулу
гліцеринальдегідфосфорної кислоти, яка також піддається окисненню до 1,3-дифосфогліцеринової
кислоти.
) 1,3-дифосфогліцеринова кислота,
віддаючи АДФ (під дією ферменту фосфогліцераткінази) один залишок фосфорної
кислоти, перетворюється на З-фосфогліцеринову кислоту.
) 3-фосфогліцеринова кислота під
впливом ферменту фосфогліцеромутази перетворюється в 2-фосфогліцеринову
кислоту.
) 2-фосфогліцеринова кислота під
впливом ферменту фосфопіруватгідратази перетворюється в фосфоенолпіровиноградну
кислоту.
) Фосфоенолпіровиноградна кислота за
участю ферменту піруваткінази передає залишок фосфорної кислоти молекулі АДФ, в
результаті чого утворюється молекула АТФ і молекула енолпіровіноградної
кислоти, яка вельми нестійка і переходить в піровиноградну кислоту.
) Піровиноградна кислота за участю
наявного в дріжджах ферменту піруватдекарбоксилази розщеплюється на оцтовий
альдегід і двоокис вуглецю.
) Оцтовий альдегід, реагуючи з
відновленою формою нікотинамідаденіндинуклеотиду (НАД-Н), за участю ферменту
алкогольдегідрогенази перетворюється в етиловий спирт [16].
Таким чином, продуктами спиртового
бродіння є етанол і вуглекислий газ. Спиртове бродіння супроводжується
запасанням енергії у вигляді АТФ.
Сумарно реакцію можна записати так:
2.4 Блок-схема та опис
технологічного процесу
Блок-схему процесу одержання
кальвадосів зображено на рисунку 2.4.
Рисунок 2.4 - Блок-схема одержання
кальвадосів
Стадії процесу виробництва
кальвадосів можна розділити на підготовчі стадії (санітарна підготовка
виробництва, підготовка персоналу, перевірка обладнання) та на стадії
технологічного процесу.
Санітарна підготовка виробництва.
Перед запуском виробництва необхідно провести підготовку виробничого персоналу
до роботи та обладнання до експлуатації.
Підготовка персоналу. Перед початком
роботи виробничий персонал повинен пройти санітарно-медичне обстеження та
навчання, повинен отримати засоби індивідуального захисту тощо.
Перевірка обладнання на
герметичність. Для гідравлічної перевірки посудин використовується вода з
температурою 15 - 25 ˚С. При заповнені посудини водою повітря видаляється
з внутрішніх порожнин. Час витримки посудини під пробним тиском 20 хв.
Візуально перевіряється наявність негерметичних зварних швів за місцем
протікання води. Після проведення гідравлічного випробування вода повністю
видаляється з посудин. Водою для перевірки на герметичність відбувається
одночасно миття обладнання.
Підготовка води. Технічну воду для
охолодження набирають з річки, ця вода нефільтрована і скидається назад у річку
після використання.
Воду для використання на стадіях
технологічного процесу у якості компоненту (для розведення спирту перед
витримкою та для використання на стадії купажування) попередньо піддають
очищенню у відділенні водопідготовки, яка включає етапи грубої очистки,
пом’якшення та тонкої очистки.
Підготовка пари. Водяна пара
використовується для процесу дистиляції. Її утворення відбувається у
спеціальних котлах при тиску 40 атм. Пару з високим тиском передають через
турбіну когенерації електрики, щоб подавати пару низького тиску в 5 атм. для
більшості технологічних стадій.
Підготовка сировини до бродіння.
Технологічна схема (рисунок 2.5) передбачає підготовку привезеної сировини -
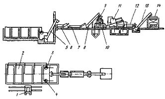
яблук [17].
- прийомний бункер; 2 -
гідротранспортер; 3 - установа для миття яблук; 4 - установа для подрібнення; 5
- прес-машина; 6 - ємність для збору соку (I фракція); 7 - ємність для збору
невіджатої вижимки; 8 - шнековий прес; 9 - ємність для збору соку (II фракція).
Рисунок 2.5 - Технологічна схема
переробки яблук на сік
При доставці і переробці яблук
повинні бути прийняті запобіжні заходи для запобігання-попадання в сік солей
заліза, які в подальшому можуть викликати потемніння продукту. Всі трубопроводи
та обладнання, яке знаходиться в безпосередньому контакті з яблуками, повинні
бути виконані з кислотостійких матеріалів або мати захисні покриття.
Для переробки яблук використовується
автоматизована лінія для переробки яблук продуктивністю від 5 т / год, схема
якої зображена на рисунку 2.6. Особливість лінії переробки яблук - в наявності
гідравлічних транспортерів для переміщення плодів з бункерів, куди вони
надходять із засобів доставки [18].
- розвантажувач; 2 - бункер-подавач;
3 - електронасосна установа; 4, 7, 11 - конвеєри; 5 - установа для миття; 6 -
інспекційний конвеєр; 8 - дозуючі ваги; 9 - стікач; 10 - прес; 12 - бункер; 13
- пульт управління; 14 - дискова установа для подрібнення
Рисунок 2.6 - Схема поточної лінії
переробки яблук
Яблука доставляються такими
засобами, які захищають їх від механічних пошкоджень: у кошиках, ящиках або
методом безтарного перевезення. У місцях переробки яблука зважують і від кожної
партії відбирається середня проба, за якою визначається якість плодів, ступінь
їх зрілості і хімічний склад. Тривалість зберігання яблук на майданчику до
переробки не повинна перевищувати 48 годин. При більш тривалому терміні в
плодах спостерігаються зміни в ароматі, помітно знижується вміст яблучної
кислоти, збільшується кількість пектину. Ще більш глибоким змінам сприяють
мікроорганізми, які викликають псування плодів. В концентратах ароматичних
речовин соків, отриманих з якісних плодів, вміст спирту становить 1% об., з
пошкоджених - 20-30% об. Тому для виробництва високоякісного продукту доцільна
якнайшвидша переробка сировини, що надходить. При необхідності більш тривалого
зберігання на заводі повинні бути обладнані холодильні камери з температурою
0-1 ° С.
Миття яблук. Яблука перед переробкою
необхідно мити. Для мийки можуть бути використані гідравлічні транспортери,
вентиляторні, барабанні або інші мийні машини. В процесі миття з яблук разом з
брудом змивається восковий наліт (захисний шар), тому зберігання митих плодів
недопустимо.
Для миття яблук використовується
спеціалізована уніфікована установа КУМ або КУВ., продуктивністю до 10 т/год.
Подрібнення яблук. Чисті яблука
подаються на подрібнення. Для цього застосовуються подрібнювачі різних систем.
Щоб не випустити пошкодження вальців подрібнювачів сторонніми металевими
включеннями перед дробарками встановлюються магнітні вловлювачі. Надмірне
подрібнення небажано, тому що з м'якоті, перетвореної на пульпу, важко
відокремити сік. Краща соковідача відбувається при подрібненні яблук в стружку
товщиною 2-3 мм.
Для подрібнення яблук застосовують
ножову дискову установу для подрібнення ВДР-5, продуктивністю 5 т/год.
Стікання соку. Перед пресуванням з
мезги доцільно відбирати сік-самоплив. При використанні установ для стікання
збільшується вихід соку і підвищується продуктивність пресів.
В якості установи використовують
стікач камерного типу серії ВСК.
Він складається з резервуару
спеціальної конфігурації, об’ємом 3 м3. Усередині резервуару
встановлені перфоровані перегородки, стінки і діафрагми. У нижній частині
розташовуються збірники та піддони для відводу сусла-самопливу і пристрої для
розвантаження жому.
Пресування мезги. Віджим мезги
виконують в основному на шнекових та пакетних пресах. При роботі на шнекових
пресах великий вплив на вихід соку надає правильне регулювання тиску при
пресуванні, оскільки в прес надходить мезга неоднорідна за своїми дренажними
властивостями. При пресуванні мезги яблук з твердою плодовою тканиною тиск в
гідросистемі запірного конуса слід підтримувати на рівні 8-10 МПа, для яблук з
пухкої плодової тканиною достатньо тиску 3-5 МПа.
Вихід соку з перестиглих і лежалих
плодів, як було зазначено вище, при роботі на шнекових пресах різко знижується,
у жомі залишається велика кількість соку. Такий жом доцільно піддавати
вторинному пресуванню на пакетних пресах.
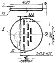
Для пресування використовують
двох-шнековий прес безперервної дії серії ВПО продуктивністю 5 т/год,
зображений на рисунку 2.7.
- рама; 2 - редуктор; 3 -
електродвигун; 4 - бункер; 5 - корпус; 6 - циліндр; 7 - пресувальний шнек; 8 -
конус; 9 - блок управління; 10 - насос; 11 - опора; 12 - барабан; 13 - піддон;
14 - транспортувальний шнек
Рисунок 2.7 - Кресленик ВПО-5А
Мезга з бункеру 4 надходить на
транспортувальний шнек 14. При цьому частина сусла через сітку корпусу стікає в
його нижню частину і відводиться по патрубку. У міру просування мезги за
допомогою транспортувального шнеку відбувається відбір сусла другої фракції, що
стікає через перфорований циліндр в піддон.
Освітлення соку. Отримані соки
повинні піддаватися освітленню центрифугуванням або відразу подаватися на
бродіння, так як затримка процесу бродіння сприяє великим змінам ароматичних
речовин яблук.
Приготування посівного матеріалу
дріжджів
Підготовка поживного середовища
(сусла). Набирають частину яблучного соку температурою 55 - 58 °С витримують
від 1 до 2 год для оцукрювання складних вуглеводнів. Після чого температуру
підвищують до 75 °С, пастеризують сусло протягом 30 хвилин і охолоджують до 30
°С.
Потім в охолоджене сусло додають
розчин винної кислоти до кислотності рН = 3,8 - 4,0. Приготоване сусло
охолоджують до 30 °С, стерильно набирають в пробірку і вносять музейну культуру
дріжджів.
Вирощування дріжджів. При нормальній
роботі заводу чисту культуру дріжджів виводять приблизно один раз в рік зазвичай
з пуском заводу під час урожаю яблук.
Чисту культуру дріжджів з пробірки
переводять в колбу з дробно пастеризованим яблучним суслом об'ємом 200 мл, з
неї в бутель з 2 л пастеризованого виробничого сусла, а потім в бутель з 10 -
15 л такого ж сусла, в збірник з 500 л сусла і, нарешті, в дріжджовий апарат
(головний бродильний чан). Температура процесу 20 °С, рН = 3,5 - 4,0.
Бродіння яблучного соку. Бродіння
рекомендується проводити при низькій температурі протягом місяця. Отриманий
виноматеріал повинен мати не менше 4% об. спирту і не більше 2,5 г/л летких
кислот. Така технологія дозволяє отримувати виноматеріали високої якості,
оскільки при низькій температурі відбувається велике накопичення і збереження
ароматичних речовин, проте в процесі тривалого бродіння спостерігається значне
зниження кислотності.
Оптимальною температурою бродіння
слід вважати 20 °С, тому що при більш низькій температурі процес бродіння
сильно подовжується, а при вищій - погіршується якість виноматеріалу за рахунок
підвищеного накопичення летких кислот, вищих спиртів і збіднення виноматеріалу
леткими ароматичними речовинами. У зв'язку з цим при бродінні соку у великих
резервуарах, необхідно застосовувати штучне охолодження.
В процесі бродіння відбуваються
суттєві зміни хімічного складу соку. Поряд зі збільшенням концентрації спирту,
утворюються вищі спирти, які при взаємодії з нижчими карбоновими кислотами
утворюють складні ефіри, які відіграють важливу роль у складанні аромату напою.
Практично яблучні виноматеріали, що
йдуть на перегонку, не відрізняються за своїм хімічним складом від
виноматеріалів, призначених для приготування сидру. Загальні вимоги до них
полягають у наступному: колір - від зеленувато-солом'яного до
світло-бурштинового; аромат - чистий, без сторонніх запахів; смак -
гармонічний, не грубий, без сторонніх присмаків. В таблиці 2.4 наведені
показники складу яблучного виноматеріалу.
Таблиця 2.4 - Показники складу
яблучного виноматеріалу
|
Показник
|
Значення
|
|
1
|
2
|
|
Спирт, % об.
|
Не менше 4
|
|
Кислотність, г/л
|
Не менше 5
|
|
Леткі кислоти, г/л
|
Не більше 1,5
|
|
Цукри, г/100 мл
|
Не більше 0,2
|
|
Сульфітна кислота, мг/л
|
Не більше 50
|
У виноматеріалі допускається вміст
залишків дріжджової гущі до 1%.
Дистиляція яблучного виноматеріалу.
При отриманні яблучного спирту застосовуються два способи дистиляції -
періодичний і безперервний [19].
Спирти для виробництва кальвадосу,
які виготовляють на безперервно-діючих апаратах або на апаратах одноразової
зганяння, що дозволяють, повинні містити не менше 4 г/л домішок, у тому числі
ефірів - не менше 1 г/л.
При перегонці яблучних
виноматеріалів відбуваються складні фізико-хімічні процеси, в яких беруть
участь всі компоненти, що входять до їх складу. Крім концентрації спирту,
перегонка дозволяє добитися переходу в дистилят компонентів, які позитивно впливають
на формування кальвадосу.
В умовах концентрованого виробництва
міцних яблучних напоїв необхідно застосовувати безперервно-діючі апарати.
При перегонці яблучних
виноматеріалів необхідно враховувати деякі їхні специфічні властивості - низьку
концентрацію спирту яблучного виноматеріалу і особливість переходу в дистилят
летких речовин, які легко руйнуються в процесі тривалого кип'ятіння при високій
температурі. Яблучні виноматеріали відрізняються від коньячних нижчою
концентрацією етанолу, яка зазвичай коливається в межах 4,5-6,5% об. Спирт
одноразової перегонки має більш виражені натуральні плодові тони, тобто він
кращої якості.
Розведення яблучного спирту. Яблучні
спирти перед витримкою розбавляють до концентрації етанолу 55-60% об.
Встановлено, що більш міцні спирти втрачають більше спирту, органолептична
оцінка кальвадосу, приготованого з розведенням яблучного спирту, вище, ніж
кальвадосу з нерозведеного спирту.
Розведення проводять в спеціальних
об’ємом 3 м3, куди насосами подають дистилят і підготовлену воду.
Витримка. Яблучний спирт
характеризується різким і пекучим смаком. Класичним способом поліпшення його
якості є багаторічна витримка в дубових бочках. При цьому відбуваються складні
хімічні і фізико-хімічні процеси. Перетворенням піддаються як летючі компоненти
яблучного спирту, так і нелеткі компоненти дубової клепки. В процесі витримки
відбуваються екстракція танідів, гідроліз лігніну і геміцелюлози, в результаті
чого в спирт переходять ароматичні альдегіди, моносахариди та інші компоненти. Аромат
і смак дистиляту змінюються [20].
З яблучного дистиляту після тривалої
витримки в контакті з дубовою деревиною в присутності кисню виходить кальвадос
зі своєрідним ароматом і високими смаковими достоїнствами, що відрізняє його
від всіх інших відомих міцних напоїв.
На заводах Франції вироблені яблучні
спирти закладаються на тривалу витримку в дубові бочки ємністю 40-60 дал у
сховищах при постійній температурі в межах 20 °С.
Нові бочки попередньо обробляють, а
старі перевіряють на доброякісність. Доливку здійснюють при необхідності
спиртами того ж року витримки.
Приготування сировини для купажу
Приготування сиропу. Цукровий сироп
готують з цукру і води в спеціальних емальованих котлах ємністю 1 м3,
куди вручну додають задану кількість цукру та води для кожної партії та
підігрівають згідно з технологією.
Приготування колеру. Колер готують з
цукру-рафінаду або піску в спеціальних мідних котлах ємністю 1 м3
при електричному нагріванні.
Купажування. На стадії купажування у
ємності об’ємом 1 м3 відбувається поєднання раніше підготовлених
компонентів (витриманий яблучний спирт, колер, цукровий сироп, очищена вода) у
чітко визначених пропорціях.
Фільтрація. Після купажування напій
проходить через фільтр для видалення частинок, які могли потрапити до
кальвадосу під час витримки або разом с сировиною для купажування.
Післякупажний відпочинок. Готовий
купаж витримується в герметичній тарі з мінімальним доступом кисню протягом
20-90 днів.
Фільтрація. Кальвадос проходить
через фільтр для видалення частинок, які могли потрапити до напою на стадії
післякупажного відпочинку.
Розлив готового продукту. Після
завершальної фільтрації готовий продукт подається на автоматичну лінію розливу,
яка розливає напій в пляшки об’ємом 0,5 л або 0,7 л.
2.5 Гідропневматична принципова схема
технологічного процесу
Яблука, які доставляють на
підприємство, з резервуарів поміщають у прийомний бункер, звідки за допомогою
транспортерів вони інспектуються на цілісність та миються під потоком води.
Яблука потрапляють у бункер, який оснащений вагами, звідки направляються на
установу подрібнення. Отримана мезга транспортується за допомогою скребкового
транспортеру на прес, де відбувається остаточне відділення соку, який
перекачується у бродильну ємність. Після завершення бродіння бражка перекачується
у перехідний чан, а згодом поступово на ректифікаційну установу, де
відбувається дистиляція спирту. Середня фракція очищеного спирту направляється
у збірну ємність, де відбувається розведення спирту до чітко визначеної
концентрації спирту, після чого відбувається розлив спирту в дубові бочки, де
впродовж визначеного часу відбувається витримка кальвадосного спирту. Після
закінчення витримки витрианий спирт транспортується в купажну ємність, куди
також додають пом’якшену воду, колер та цукровий сироп у визначених пропорціях.
Отриманий купаж направляються у ємність на 20-90 діб для післякупажної
витримки. Завершальними стадіями є фільтрація готового напою та його розлив у
скляну тару.
Гідропневматична принципова схема
виробництва кальвадосів представлена на рисунку 2.8 [21, 22].

Рисунок 2.8 - Гідропневматична схема
виробництва кальвадосів
2.6 Опис запропонованої зміни в
технології
Запропоновані зміни в технології
описуються в наступному патенті:
Номер патенту: 95927
Дата подання заявки: 15.05.2008
Дата, з якою набувають чинності
права на патент: 26.09.2011
Заявник: Вінницький Національний
Технічний Університет
Власник: закрите акціонерне
товариство "Кримський винно-коньячний завод "Бахчисарай",
Климець Павло Анатолійович
Винахід належить до харчової
промисловості, зокрема до виробництва алкогольних напоїв, і може використовуватися
для прискореного виготовлення і покращення органолептичних показників таких
алкогольних напоїв, як коньяк, дівін, бренді, арманьяк, кальвадос, сидр, віскі,
ром, текіла, мадера, портвейн, херес тощо.
Задачею винаходу є створення більш
простого та менш енерговитратного способу виготовлення алкогольного напою
шляхом зміни речовини, що додається при виготовленні алкогольного напою.
Поставлена задача вирішується першим
варіантом способу виготовлення алкогольного напою, який включає етап витримки
спиртовмісного матеріалу у присутності деревини дуба, і до спиртовмісного
матеріалу додають аскорбінову кислоту в кількості від 50 до 150 мг на 1 дм3
спиртовмісного матеріалу.
Аскорбінова кислота - органічна
сполука, є одною з основних речовин у людському раціоні, яка необхідна для
нормального функціонування сполучної і кісткової тканини. Виконує біологічні
функції відновлення і коферменту деяких метаболічних процесів, є
антиоксидантом. Біологічно активний тільки один з ізомерів - L-аскорбінова
кислота, який називають вітаміном C.
За фізичними властивостями
аскорбінова кислота являє собою білий кристалічний порошок кислого смаку. Легко
розчинний у воді, розчинний у спирті.
Аскорбінова кислота бере участь в
процесах утворення колагену, серотоніну з триптофану, утворення катехоламінів,
синтез кортикостероїдів. Аскорбінова кислота також бере участь у перетворенні
холестерину в жовчні кислоти. Вітамін С необхідний для детоксикації в
гепатоцитах при участі цитохрому P450. Вітамін С сам нейтралізує супероксидний
радикал до перекису водню.
Відновлює убіхінон і вітамін E.
Стимулює синтез інтерферону, отже, бере участь у модуляції імунітету.
Перетворює тривалентне залізо в двовалентне, тим самим сприяє його
всмоктуванню. Гальмує глікозування гемоглобіну, гальмує перетворення глюкози в
сорбіт. На рисунку 2.9 зображена структурна формула молекули аскорбінової
кислоти.
Рисунок 2.9 - Будова молекули
аскорбінової кислоти
Також, аскорбінову кислоту додають
до спиртовмісного матеріалу перед початком етапу або під час етапу витримки
спиртовмісного матеріалу у присутності деревини дуба.
Поставлена задача вирішується також
другим варіантом способу виготовлення алкогольного напою, який включає етапи
купажування спиртовмісного матеріалу, що був витриманий у присутності деревини
дуба, з іншими компонентами алкогольного напою, та післякупажного відпочинку
алкогольного напою, і до алкогольного напою додають аскорбінову кислоту в
кількості від 50 до 150 мг на 1 дм3 алкогольного напою.
Крім того, аскорбінову кислоту
додають до алкогольного напою перед початком етапу або під час етапу
післякупажного відпочинку алкогольного напою.
Зазначені ознаки є суттєвими
ознаками, які забезпечують досягнення технічного результату - способи за двома
варіантами є простішими та менш енеговитратними у порівнянні із прототипом,
дозволяють зменшити час дозрівання спиртовмісних матеріалів за рахунок
прискорення окисно-відновних процесів на етапі витримки спиртовмісного
матеріалу у присутності деревини дуба або зменшити час дозрівання алкогольного
напою за рахунок прискорення окисно-відновних процесів на етапі післякупажного
відпочинку алкогольного напою.
Сукупність суттєвих ознак рішення,
що заявляється, забезпечує досягнення технічного результату завдяки тому, що
при внесенні аскорбінової кислоти розчинений кисень в алкогольних напоях
утворює активні форми, що інтенсифікують протікання окисно-відновних процесів
при витримці спиртовмісних матеріалів у присутності деревини дуба або в період
післякупажного відпочинку алкогольного напою. Внаслідок цього прискорюється
дозрівання алкогольних напоїв, крім того покращуються їх органолептичні
властивості.
Аскорбінова кислота внесена до
переліку харчових добавок та матеріалів, які дозволено використовувати у
виноробній промисловості. Застосування аскорбінової кислоти у виноробстві
традиційно спрямоване на попередження окислення напоїв під впливом розчиненого
кисню [23]. Для цього аскорбінова кислота у кількості до 150 мг/дм3
додається безпосередньо перед розливом у біле сухе вино одночасно з діоксидом
сірки у кількості до 20 г/дм3.
Дослідним шляхом було встановлено,
що аскорбінова кислота може виступати як прооксидант, як постачальник
електронів в процесах окислення за каталітичної участі мікрокількостей іонів
заліза, міді, тому її можна застосовувати для інтенсифікації дозрівання
спиртовмісних рідин [24]. При взаємодії аскорбінової кислоти з розчиненим
киснем утворюються аскорбат-радикали As·- та супероксид-радикали O2·-
за схемою:
НAs + O2·- →
As·- + O2·- + Н+
Дисмутація супероксид-радикалів призводить
до утворення активних форм кисню - перекису водню та гідроксил-радикалу НО·:
O2·- + O2·-
+ 2Н+ → Н2О2 + О2
Н2О2 + O2·-
→ О2 + ОН- + НО·
Під впливом активних форм кисню
відбувається прискорення дозрівання і покращення органолептичних показників алкогольних
напоїв. Дослідним шляхом встановлено, що оптимальні концентрації добавки
аскорбінової кислоти до алкогольних напоїв знаходяться в діапазоні 50-150 мг/дм3.
При концентраціях добавки менше 50 мг/дм3 не відбувається помітного
покращення органолептичних характеристик напоїв, а в концентраціях вище 150 мг/
дм3 добавка аскорбінової кислоти надає напоям нехарактерного
кислуватого присмаку і може гальмувати процеси окислення, тобто виступати в
ролі антиоксиданту.
2.7 Матеріальний баланс та
продуктовий розрахунок
Матеріальний баланс розраховується
на 1 дал готового продукту, а потім на річну задану потужність виробництва. В
таблиці 2.5 приведений розрахунок сировини на виробництво 1 дал готового
продукту [25]. В таблиці 2.6 вказано витрати сировини на виробництво річної
кількості готового продукту, а саме 20 000 дал.
Таблиця 2.5 - Матеріальний баланс
виробництва кальвадосів на один декалітр
|
Використано
|
Отримано
|
|
Назва сировини і напівпродуктів
|
Кількість
|
Назва кінцевого продукту, відходів та втрат
|
Кількість
|
|
Яблука, кг
|
236,2
|
Кальвадос, кг
|
9,35
|
|
Вода, кг
|
4,175
|
Яблуневий жом, кг
|
105
|
|
Цукор, кг
|
0,18
|
Спиртована вода (1% мас.), кг
|
114,5
|
|
Аскорбінова кислота, кг
|
0,01
|
Втрати
|
11,711
|
Матеріальний баланс проведено з
врахуванням густини водно-спиртових розчинів (бражка, дистилят, спиртована
вода) та інших компонентів.
Таблиця 2.6 - Матеріальний баланс
виробництва кальвадосів на один рік роботи
|
Використано
|
Отримано
|
|
Назва сировини та напівпродукту
|
Кількість
|
Назва кінцевого продукту
|
Кількість
|
|
Яблука, т
|
4724
|
Кальвадос, т
|
187
|
|
Вода, т
|
83,5
|
Яблуневий жом, т
|
2100
|
|
Цукор, т
|
3,6
|
Спиртована вода (1% мас.), т
|
2290
|
|
Аскорбінова кислота, т
|
0,2
|
Втрати, т
|
234,3
|
Запланована виробнича потужність
підприємства по виробництву кальвадосів складає 20 000 декалітрів в рік.
Виходячи з цього, розрахуємо необхідну кількість яблучного соку та яблук на
річне виробництво. Розрахунок проводиться в зворотному напряму відносно ходу
виробництва задля того, щоб, заздалегідь розрахувавши всі втрати, отримати
заплановану кількість готового продукту.
Основою для розрахунку служить
технологічна схема виробництва, норми втрат. Розрахунок на багатьох стадіях
проводиться за формулою (2.1):
де: N - кількість продукту, яка
поступає на стадію, дал,
К - кількість продукту, яка виходить
зі стадії, дал,- норма втрати стадії, %.
) Завершальні стадії (післякупажний
відпочинок, подача на розлив, розлив, вкладання в ящик, відправлення на склад
готової продукції). Норми втрат для окремих стадій вказані в табл. 2.7.
Таблиця 2.7 - Норми втрат для
завершальних стадій
|
Стадія
|
Норма втрати, %
|
|
Відправлення на склад готової продукції
|
0,02
|
|
Вкладання в ящик
|
0,07
|
|
Розлив
|
0,45
|
|
Подача на розлив
|
0,16
|
|
Післякупажний відпочинок
|
0,5
|
|
Фільтрація перед розливом
|
0,5
|
|
Разом
|
1,7
|
Об’єм напою після стадії купажування
N1, дал:
2) Купажування. При приготуванні
готового напою використовують компоненти, які вказані в табл.2.8 з розрахунком
на 1000 дал [26].
Таблиця 2.8 - Пропорції компонентів
для купажування
|
Компонент
|
Кількість
|
|
Яблучний спирт (60 % об.), л
|
6620
|
|
Цукровий сироп (80 % мас.), кг
|
198,9
|
|
Колер, л
|
26,88
|
|
Аскорбінова кислота, кг
|
10
|
Дистильована вода додається до
купажу задля отримання напою міцністю 40-42 % об., проте пропорція решти
компонентів, яка приведена вище, в переважній кількості випадків зберігається.
Використовуючи пропорційну
залежність і норму втрати при купажуванні 0,5%, знаходимо необхідну кількість
яблучного спирту N2, дал:
3) Витримка кальвадосного спирту в
бочках (розрахунок на 3 роки витримки). Норма втрати на один рік складає 0,6%.
Об’єм спирту, який треба закласти на витримку, N3, дал:
) Розведення спирту. Перед
закладенням на витримку згідно з рецептурою отриманий яблучний дистилят
міцністю 80 % треба розвести до міцності 65%.
Використовуючи пропорційну
залежність і норму втрати при проведенні розведення 0,5%, знаходимо необхідну
кількість дистильованого спирту N4, дал:
5) Дистиляція спирту. З розрахунку
ректифікаційної колони отримано результат, що при продуктивності установи по
яблучному спирту 60 кг/год міцністю 80% витрата бражки міцністю 5% складає
1213,2 кг/год.
Використовуючи пропорційну
залежність і норми втрат при проведенні дистиляції, які подані у табл.2.9,
знаходимо необхідну кількість бражки N5, дал:
Таблиця 2.9 - Норми втрат при
дистиляції спирту
|
Стадія
|
Норма втрати, %
|
|
Прийомка
|
0,026
|
|
Злив з тари в ємність
|
0,04
|
|
Закачування на нагрівання
|
0,07
|
|
Закачування в куб
|
0,07
|
|
Втрати при перегонці
|
2
|
|
Відбір головної фракції
|
2
|
|
Відбір хвостової фракції
|
2,5
|
|
Разом
|
6,7
|
) Отримання бражки. Норма втрат при
отриманні бражки з яблучного соку складає 3%. Враховуючи норму втрати 0,5% на
переміщення рідин по технологічним лініям, розрахуємо необхідну кількість
яблучного соку N6, дал:
) Отримання яблучного соку та
прийомка сировини. Для виробництва 1 дал яблучного соку необхідно використати
18,5 кг яблук. Враховуючи норму втрати 1% на прийомку сировини, розрахуємо
необхідну кількість яблук N7, кг:
Тобто, для річного виробництва в 20
000 дал нам необхідно використати близько 4,72 тис. т. яблук, або 236,2 кг
яблук на 1 дал готової продукції.
.8 Розрахунок та вибір
технологічного обладнання
Обладнання, яке використовується на
підприємстві з виробництва кальвадосів, подано в табл. 2.10.
Таблиця 2.10 - Обладнання для
виробництва кальвадосів
|
Номер обладнання
|
Назва обладнання
|
Кількість
|
Матеріал робочої зони
|
Технічна характеристика
|
|
1
|
2
|
3
|
4
|
5
|
|
1
|
Контейнер КВА
|
6
|
Нержавіюча сталь
|
Вантажопідйомність: 2,5 т Розміри: 3400х1300х700 мм
|
|
2
|
Бункер-подавач Т-1 ВБШ-10
|
1
|
Нержавіюча сталь
|
Продуктивність: 10 т/год
|
|
3
|
Установа для миття КУМ
|
1
|
Нержавіюча сталь
|
Продуктивність 3-5 т/год Швидкість стрічки 0,01-0,6 м/с
|
|
4
|
Валкова дробильна установа ВДГ-10
|
1
|
Нержавіюча сталь
|
Продуктивність: до 10 т/год
|
|
5
|
Установа для стікання ВССШ-10
|
1
|
Нержавіюча сталь
|
Продуктивність: до 10 т/год
|
|
6
|
Гідравлічний прес ВПНД-10
|
1
|
Нержавіюча сталь
|
Продуктивність: до 10 т/год
|
|
7
|
Центрифуга ВЛО-0
|
1
|
Нержавіюча сталь
|
Продуктивність: до 600 дал/год
|
|
8
|
Ємність для бродіння (установка БА-1)
|
1
|
Нержавіюча сталь
|
Продуктивність: до 7000 дал/добу
|
|
9
|
Ректифікаційна колона К-5
|
1
|
Нержавіюча сталь
|
Діаметр колони - 400 мм; діаметр тарілки - 290 мм; висота колони
- 7000 мм; висота тарілки - 20 мм; витрата вихідного розчину до 0,5 кг/с.
|
|
10
|
Насоси ВПМН-10, Н-21
|
5
|
Нержавіюча сталь
|
Продуктивність 1-10 т/год Максимальний тиск 5 бар Максимальний
розмір шматків 50 мм Максимальна частота 100 об/хв
|
|
11
|
Установки для дозування в безперервному потоці ВЛО-Б
|
4
|
Нержавіюча сталь
|
Продуктивність: до 600 дал/год
|
2.9 Розрахунок ректифікаційного
апарату та його зображення для проведення технологічного процесу
2.9.1 Принцип роботи
ректифікаційного колони
Зазвичай ректифікаційний апарат
складається з двох частин: верхньої та нижньої, кожна з яких являє собою
організовану поверхню контакту фаз між парою і рідиною. У нижній частині
вихідна суміш взаємодіє з парою, початковий склад якого дорівнює складу
кубового залишку. Внаслідок цього із суміші витягується низькокиплячий
компонент (НКК).
У верхній частині пара початкового
складу, що відповідає складу вихідної суміші, взаємодіє з рідиною, початковий
склад якої дорівнює складу дистиляту. Внаслідок цього пар збагачується НКК до
потрібної межі, а висококиплячий компонент (ВКК) витягується з парової фази.
Пара для живлення ректифікаційної
колони (РК) виходить багаторазовим випаровуванням рідини, що має той же склад,
що і кубовий залишок, а рідина - багаторазовою конденсацією пари, що має склад,
однаковий за складом дистиляту.
Отриманий конденсат ділиться на дві
частини. Одна частина спрямовується назад в колону - флегма, інша є відібраним
продуктом - дистилят. Відношення кількості повернутого в колону дистиляту
(флегми) до кількості дистиляту, відібраного у вигляді продукту - називається
флегмовим числом R [27].
У ректифікаційному апараті знизу
вгору рухаються пари, а зверху подається рідина, що представляє собою майже
чистий НКК. При зіткненні парів, що піднімаються, зі стікаючою рідиною
відбувається часткова конденсація парів і часткове випаровування рідини. При
цьому з пари конденсується переважно ВКК, а з рідини випаровується переважно
НКК. Таким чином, стікаюча рідина збагачується ВКК, а пари, що піднімаються,
збагачуються НКК, в результаті чого пари, які виходять з апарату, являють собою
майже чистий НКК. Ці пари надходять у конденсатор, званий дефлегматором, і
конденсуються. Частина конденсату, що повертається на зрошення апарату,
називається флегмою, інша частина відводиться в якості дистиляту.
Як і для всіх масообмінних апаратів
ефективність процесів ректифікації залежить від поверхні контакту фаз. Для
збільшення поверхні массобміну використовують різні контактні пристрої
насадочного або барботажного типу.
.9.2 Класифікація ректифікаційних
установок
У промисловості застосовують
ковпачкові, сітчасті, насадкові, плівкові трубчасті колони і відцентрові
плівкові ректифікатори. Вони розрізняються в основному конструкцією
внутрішнього устрою апарату, призначення якого - забезпечення взаємодії рідини
і пари. Ця взаємодія відбувається при барботуванні пари через шар рідини на
тарілках (ковпачкових або сітчастих), або при поверхневому контакті пари і
рідини на насадці або поверхні рідини, що стікає тонкою плівкою.
Тарілчасті ковпачкові колони
найбільш часто застосовують у ректифікаційних установках. Пари з попередньої
тарілки потрапляють в парові патрубки ковпачків і барботують через шар рідини,
у яку частково занурені ковпачки. Ковпачки мають отвори або зубчасті прорізи,
які розбивають пару на дрібні струмки для збільшення поверхні стикання її з
рідиною. Переливні трубки служать для підведення і відведення рідини і
регулювання її рівня на тарілці. Основною областю масообміну і теплообміну між
парами і рідиною, як показали дослідження, є шар піни та бризок над тарілкою,
що створюється в результаті барботажу пари. Висота цього шару залежить від
розмірів ковпачків, глибини їх занурення, швидкості пари, товщини шару рідини
на тарілці, фізичних властивостей рідини тощо.
Клапанні тарілки показали високу
ефективність при значних інтервалах навантажень завдяки можливості
саморегулювання. В залежності від навантаження клапан переміщується
вертикально, змінюючи площу живого перетину для проходу пари, причому
максимальний перетин визначається висотою пристрої, що обмежує підйом. Площа
живого перерізу отворів для пари становить 10 - 15% площі перерізу колони.
Швидкість пари досягає 1,2 м/с. Клапани виготовляють у вигляді пластин круглого
або прямокутного перерізу з верхнім або нижнім обмежувачем підйому.
Лускаті тарілки подають пару в
напрямку потоку рідини. Вони працюють найбільш ефективно при струминному
режимі, що виникає при швидкості пари в лусках понад 12 м/с. Площа живого
перерізу становить 10% площі перерізу колони. Луски бувають арочними і
пелюстковими; їх розташовують на тарілці в шаховому порядку. Простота конструкції,
ефективність і велика продуктивність - переваги цих тарілок.
Пластинчасті тарілки зібрані з
окремих пластин, розташованих під кутом 4 - 9° до горизонту. У зазорах між
пластинами проходить пар зі швидкістю 20 - 50 м/с. Над пластинами встановлені
відбійні щитки, які зменшують винос бризок. Ці тарілки відрізняються великою
продуктивністю, малим опором і простотою конструкції.
До провальних відносять тарілки
гратчасті, колосникові, трубчасті, сітчасті (плоскі або хвилясті без зливних
пристроїв). Площа живого перерізу тарілок змінюється в межах 15 - 30%. Рідина і
пара проходять поперемінно через кожен отвір у залежності від співвідношення їх
напорів. Тарілки мають малий опір, високий ККД, працюють при значних
навантаженнях і відрізняються простотою конструкції.
Насадкові колони отримали широке
поширення в промисловості. Вони являють собою циліндричні апарати, заповнені
інертними матеріалами у вигляді шматків певного розміру або насадочними тілами,
що мають форму, наприклад, кілець, кульок для збільшення поверхні фазового
контакту та інтенсифікації перемішування рідкої і парової фаз. Масо- і
теплообмін в колонах з насадкою характеризуються не тільки явищами молекулярної
дифузії, що визначаються фізичними властивостями фаз, але і гідродинамічними
умовами роботи колони, які визначають турбулентність потоків: ламінарний,
проміжний і турбулентний, при яких потік пари є суцільним, неперервним і
заповнює вільний об'єм насадки, не зайнята рідиною, в той час як рідина стікає
лише по поверхні насадки. Подальший розвиток турбулентного руху може призвести
до подолання сил поверхневого натягу і порушення граничної поверхні між
потоками рідини і пари. При цьому газові вихри проникають в потік рідини,
відбувається емульгування рідини парою, і масообмін між фазами різко зростає. У
разі емульгування рідина розподіляється не на насадці, а заповнює весь її
вільний об'єм, не зайнятий парою; рідина утворює суцільну фазу, а газ -
дисперсну фазу, розподілену в рідині, тобто відбувається інверсія фаз.
Насадкову колону слід розраховувати, виходячи з оптимальної швидкості. При
перевищенні оптимальної швидкості починається обернений рух рідини знизу вгору,
відбувається так зване “захлинання” колони та порушення режиму її роботи.
Трубчасті плівкові ректифікаційні
колони складаються з пучка вертикальних труб, по внутрішній поверхні яких
тонкою плівкою стікає рідина, взаємодіючи з парою, яка піднімається по трубам.
Пара надходить з куба в трубки. Флегма утворюється в дефлегматорі безпосередньо
на внутрішній поверхні трубок, охолоджуваних водою у верхній їх частині.
Діаметр застосовуваних трубок - 5 - 20 мм. Ефект роботи плівкового апарату
зростає зі зменшенням діаметра трубок. Трубчасті колони характеризуються
простотою виготовлення, високими коефіцієнтами масопередачі і дуже малими гідравлічними
опорами руху пари. Багатотрубні (і довготрубні) колони з штучним зрошенням
мають значно менші габаритні розміри і масу, ніж тарілчасті.
Сітчасті колони застосовують
головним чином при ректифікації спирту та рідкого повітря. Допустимі
навантаження по рідини і парі для них відносно невеликі, і регулювання режиму
їх роботи ускладнене. Масо- та теплообмін між парою і рідиною в основному
відбуваються на деякій відстані від дна тарілки в шарі піни та бризок. Тиск і
швидкість пари, що проходить через отвори сітки, повинні бути достатні для
подолання тиску шару рідини на тарілці і створення опору її набряканню через
отвори. Сітчасті тарілки необхідно встановлювати строго горизонтально для
забезпечення проходження пари через всі отвори тарілки, а також щоб уникнути
стікання рідини через них. Зазвичай діаметр отворів сітчастої тарілки приймають
в межах 0,8 - 3,0 мм [28].
.9.3 Вибір ректифікаційної колони
В ректифікаційних колонах
застосовуються сотні різних конструкцій контактних пристроїв, які істотно
різняться за своїми характеристиками і техніко-економічними показниками. При
цьому в експлуатації знаходяться поряд з найсучаснішими конструкціями контактні
пристрої таких типів (наприклад, жолобчасті тарілки та ін), які, хоча і
забезпечують отримання цільових продуктів, але не можуть бути рекомендовані для
сучасних і перспективних виробництв.
Найбільш поширеними ректифікаційними
установками є барботажні колони з різними типами тарілок: ковпачковими,
сітчастими, провальними тощо. Добре зарекомендували себе апарати з сітчастими
тарілками, що відрізняються простотою конструкції і легкістю в обслуговуванні.
При виборі типу контактних пристроїв
зазвичай керуються наступними основними показниками:
а) продуктивністю;
б) гідравлічним опором;
в) коефіцієнтом корисної дії;
г) діапазоном робочих навантажень;
д)можливістю роботи на середовищах,
схильних до утворення смолистих чи інших відкладень;
е) матеріаломісткістю [29].
Сітчасті тарілки з відбійниками
мають відносно низький гідравлічний опір, підвищену продуктивність, але більш
вузький робочий діапазон порівняно з ковпачковими тарілками. Застосовуються
переважно у вакуумних колонах.
Кращі показники по гідравлічному
опору мають тарілки сітчасті і S-подібні з клапанами, а по ККД - клапанна
баластна і S-подібна з клапаном.
Слід зазначити, що універсальних
конструкцій тарілок, ефективно працюючих «завжди і скрізь», не існує. При
виборі конкретного типу тарілок з безлічі варіантів слід віддати перевагу тій
конструкції, основні (не обов'язково всі) показники ефективності якої в найбільшій
мірі задовольняють вимогам, що пред'являються. Переважно застосування
контактних пристроїв, що мають якомога менший гідравлічний опір [30].
.9.4 Колони з сітчастими тарілками
для розділення суміші «етиловий спирт-вода»
Колони з сітчастими тарілками
набагато простіше по влаштуванню і дешевше, ніж, наприклад, колони з
ковпачковими тарілками. Колони з сітчастими тарілками (рис.2.10) складаються з
вертикального циліндричного корпусу 1 з горизонтальними тарілками 2, в яких
рівномірно по всій поверхні просвердлено значне число дрібних отворів. Для
зливу рідини і регулювання її рівня на тарілці є переливні трубки 3. Нижні
кінці трубок занурені у стакани 4, що знаходяться на тарілках, що лежать нижче,
і утворюють гідравлічні затвори.
- корпус; 2 - сітчаста тарілка; 3 -
переливна трубка; 4 - стакан
Рисунок 2.10 - Схема будови
сітчастої колони
Газ (пара) проходить в отвори
тарілки (рис.2.11) і розподіляється в рідині у вигляді дрібних струмків; лише
на деякій відстані від днища тарілки утворюється шар піни та бризок - основна
область масообміну і теплообміну на тарілці.
Рисунок 2.11 - Схема роботи
сітчастої тарілки
В певному діапазоні навантажень
сітчасті тарілки володіють досить великою ефективністю. Для того, щоб ККД
тарілки не різко зменшувався, тиск і швидкість газу (пари), що проходить через
отвори тарілки, повинні бути достатніми для того, щоб подолати тиск шару рідини
на тарілці і запобігти тим самим стіканню рідини через отвори.
Крім того, протікання рідини через
отвори збільшується із збільшенням діаметру тарілки і при відхиленні від строго
горизонтального положення. Тому діаметр і число отворів слід підбирати такими,
щоб рідина утримувалася на тарілках і не захоплювалася механічно парою.
Зазвичай приймають діаметр отворів сітчастих тарілок 0,8 - 3 мм.
Очищення, промивка та ремонт
сітчастих тарілок проводяться відносно зручно і легко.
Але є й мінуси. Сітчасті колони
ефективно працюють тільки при певних швидкостях ректифікації, і регулювання
режиму їх роботи. При значних навантаженнях втрата напору досить велика. Крім
того, як зазначалося раніше, тарілки повинні бути розташовані строго
горизонтально, тому що інакше газ (пара) буде проходити через частину отворів,
не стикаючись з рідиною. А в разі раптового припинення надходження газу (пара)
або значного зниження його тиску тарілки сітчастої колони повністю звільняються
від рідини, і для досягнення заданого режиму процесу потрібно знову пустити
колону.
Чутливість до коливань навантаження,
а також забруднень і опадів, які швидко забивають отвори тарілки, обмежують
область використання сітчастих колон. Але для ректифікації спирту та рідкого
повітря (кисневі установки), головним чином застосовують саме їх.
Для підвищення ефективностісітчастих
тарілок збільшують тривалість контакту між рідиною і газом (паром), наприклад,
примусовим круговим рухом рідини на тарілці при однаковому напрямку її руху на
всіх тарілках колони [31].
.9.5 Вибір допоміжного обладнання і
конструкційного матеріалу
Розміри і конструкції перегонного
куба, дефлегматора і кінцевого холодильника залежать від продуктивності
установки, фізичних властивостей суміші, що переганяється і режиму процесу
(періодичний або неперервний).
Дефлегматор зазвичай являє собою
кожухотрубний теплообмінник. У ряді випадків в дефлегматорі відбувається
конденсація всіх парів, що вийшли з колони. В кінцевому холодильнику дистилят
охолоджується до заданої температури.
Іноді в дефлегматорі конденсується
лише частина парів для отримання флегми, а повна конденсація і охолодження
відбуваються в холодильнику.
Ректифікаційні установки
забезпечують також приладами для регулювання і контролю режиму роботи і нерідко
апаратами для утилізації тепла.
Етанол і вода не є
корозійно-активними речовинами, робоча температура в колоні не вище 100°С, тому
в якості конструкційного матеріалу для основних деталей апарату вибираємо сталь
Ст3 ГОСТ380-94, яка використовується для виготовлення деталей хімічної
апаратури при роботі з неагресивними середовищами при температурах від 10 до
200 °С [32].
2.9.6 Конструктивний та тепловий
розрахунок ректифікаційної колони
1. Апарат призначений для
розділення суміші етиловий спирт - вода концентрацією 5% мас.;
2. Концентрація етанолу в
дистиляті 80% мас.;
. Концентрація етанолу в
кубовому залишку 1 % мас.;
4. Виробнича потужність по
дистиляту: 0,017 кг/с;
5. Тиск у колоні: 0,1
МПа;
6. Температура середовища:
· вихідної суміші: 86,50
0С;
· дистиляту:
78,40 0С;
· кубового залишку: 97,40
0С;
7. Середовище в апараті: нетоксичне;
8. Тип тарілок: сітчасті.
2.9.6.1 Матеріальний розрахунок
колони
Температури кипіння та молекулярні
маси компонентів, що розділяються, наведені в табл. 2.11 [33].
Таблиця 2.11 - Параметри
компонентів, що розділяються
|
Речовина
|
Параметр
|
|
tк, °С
|
М, кг/кмоль
|
|
етанол
|
78,30
|
46,10
|
|
вода
|
100,00
|
18,00
|
Матеріальний баланс ректифікаційної
колони неперервної дії описується за допомогою рівнянь:
які можна об’єднати у систему.
В даних рівняннях GF, GD,
GW - масові витрати суміші при надходженні, дистиляту та кубовому
залишку; хF, xD, xW - вміст низькокиплячого
компоненту (етилового спирту) у суміші при надходженні, дистиляті та кубовому
залишку.
Отже, витрата по кубовому залишку GW,
кг/с:
Переведемо масові долі компонентів
суміші в мольні.
Мольна концентрація
вихідної суміші, 
де 
- масова концентрація
вихідної суміші;

- молярна маса етанолу;

- молярна маса води.
Мольна концентрація
дистиляту, 
де 
- масова концентрація
дистиляту.
Мольна концентрація
кубового залишку, 
де 
- масова концентрація
кубового залишку.
Молекулярна маса
вихідної суміші 
, кг/моль:
Молекулярна маса
дистиляту MD, кг/моль:
Молекулярна маса кубового залишку MW,
кг/моль:
.9.6.2 Розрахунок оптимального
флегмового числа та числа теоретичних тарілок
Будуємо діаграму рівноваги між парою
та рідиною в системі етиловий спирт-вода (рис.2.12), використовуючи данні по
рівновазі (табл.2.12).
Таблиця 2.12 - Рівноважні дані
системи етиловий спирт-вода
|
х, % мол.
|
0,00
|
1,90
|
9,66
|
16,61
|
26,08
|
39,65
|
50,79
|
57,32
|
67,63
|
74,72
|
89,43
|
|
у, % мол.
|
0,00
|
43,75
|
50,69
|
55,80
|
61,22
|
65,64
|
68,41
|
73,85
|
78,15
|
89,43
|
|
T, ºС
|
100,0
|
95,50
|
86,70
|
84,10
|
82,30
|
80,70
|
79,80
|
79,3
|
78,64
|
78,41
|
78,15
|
Знаходимо значення 
Тоді мінімальне флегмове
число 
:
Робоче число флегми R:
Побудуємо за отриманим значенням R
робочі лінії та ступені зміни концентрацій (кількість тарілок на ній). Для
цього згідно до методики відкладемо на осі у значення В:
Отримане значення з’єднаємо із
точкою А, яка відповідає концентрації хD. Із точки перетину даної
лінії із значенням концентрації вихідної суміші (С) опустимо лінію до точки
(D), яка відповідає значенню концентрації кубового залишку. По отриманим
робочим лініями визначимо число теоретично необхідних тарілок.
Рисунок 2.12 - Х-Y-діаграма.
Залежність між рівноважними та робочими складами фаз для суміші етиловий
спирт-вода
Виконавши на діаграмі (рис.2.12)
побудову ламаної лінії, знаходимо необхідне число ступенів зміни концентрації:
в верхній частині воно складає ~ 3, в нижній ~ 3; всього - 6.
Розрахунок витрат пари у верхній та
нижній частині колони.
Знайдемо рівняння робочих ліній:
а) для верхньої частини колони:
б) для нижньої частини колони:
де f - відносна мольна
витрата живлення.
Середні молярні маси
пари у верхній 
та нижній 
частинах, кг/кмоль:
Витрата пари у верхній 
та нижній 
частинах, кг/год:
Середні мольні
концентрації рідини у верхній 
та нижній 
частинах:
Середні молярні маси
водно-спиртових розчинів у верхній 
та нижній 
частинах, кг/кмоль:
Витрата рідини у верхній

та нижній 
частинах, кг/год:
2.9.6.3 Розрахунок діаметра
ректифікаційної колони
Знаходимо температури для нижньої та
верхньої частини колони для рідини і пари з таблиці «Залежність температури від
рівноважних складів пари та рідини» (табл.2.13).
Тоді температура для
верхньої 
та нижньої 
частини колони для
рідини становить, 
:
Температура для верхньої

та нижньої 
частини колони для пари
становить, 
:
Таблиця 2.13 - Залежність
температури від рівноважних складів пари та рідини
|
х, %
|
y, %
|
t, °С
|
x, %
|
y, %
|
t, °С
|
|
0,00
|
0,00
|
100,0
|
32,73
|
58,26
|
81,5
|
|
1,90
|
17,00
|
95,5
|
39,65
|
61,22
|
80,7
|
|
7,21
|
38,91
|
89,0
|
50,79
|
65,64
|
79,8
|
|
9,66
|
43,75
|
86,7
|
51,98
|
65,99
|
79,7
|
|
12,38
|
47,04
|
85,3
|
57,32
|
68,41
|
79,3
|
|
16,61
|
50,89
|
84,1
|
67,63
|
73,85
|
78,74
|
|
23,37
|
54,45
|
82,7
|
74,72
|
78,15
|
78,41
|
|
26,08
|
55,80
|
82,3
|
89,43
|
89,43
|
78,15
|
Знайдемо середні густини
пари у верхній 
та нижній 
частинах колони, кг/м3:
де 
, 
і 
- середні температури
пари, що знаходяться по значенням уср.в та уср.н.
Густини рідини у верхній

і нижній 
частинах колони
знаходять за формулою, кг/м3:
де 
, 
- густини легколетючого
та важколетючого компонентів при відповідних температурах, кг/м3.
Розрахунок швидкості
пари в колоні. Швидкість пари у верхній частині колони 
, м/с:
де С = 0,059 (при відстані між
тарілками 250 мм) - коефіцієнт, що залежить від конструкції тарілок, відстані
між ними, робочого тиску в колоні, навантаження колони по рідині.
Швидкість пари в нижній
частині колони 
, м/с:
Розрахунок діаметру
колони. Так як швидкості
и
мало
відрізняються одна від одної, в розрахунках використовуємо середню швидкість
парів 
, м/с:
Приймаємо середній потік пари в
колоні G, кг/с:
Середня густина в колоні

, кг/м3:
Орієнтовний діаметр
колони 
визначаємо з рівняння
витрат, м:
Приймаємо стандартний апарат з
діаметром 400 мм.
По каталогу [34] для колони
діаметром 400 мм обираємо сітчасті тарілки типу ТС (рисунок 2.13):
Виконання I - нерозбірне;
Діаметр тарілки - 290,00 мм (рисунок
2.14);
Висота тарілки - 20 мм;
Вільний перетин колони - 0,13 м2;
Робочий перетин тарілки - 0,054 м2;
Вільний перетин тарілки - 0,25 м2;
Відносний вільний перетин тарілки
(при dотворів=5 мм) - 7,11%;
Крок між отворами приймаємо 11 мм;
Периметр зливу - 0,36 м;
Перетин переливу - 0,0044 м2;
Відносна площа переливу - 3,37%;
Маса - 9,8 кг.
Рисунок 2.13 - Сітчаста тарілка типу
ТС
Рисунок 2.14 - Основа тарілки
.9.6.4 Розрахунок числа тарілок
В’язкість рідини на тарілці.
де 
- в’язкість етанолу;

- в’язкість води.
Звідси в’язкість рідини
буде 
, мПа·с:
Коефіцієнт відносної летючості α:
де 
= 1120 мм рт.ст. - тиск
насиченої пари етанолу;

= 525 мм рт.ст. - тиск
насиченої пари води.
Добуток
.
По діаграмі для
наближеного визначення ККД тарілки (рис.2.15) знаходимо значення η
= 0,51.
Рисунок 2.15 - Діаграма
для наближеного визначення ККД тарілки
Тоді число тарілок:
· в верхній частині колони

·
в нижній частині колони 
.9.6.5 Розрахунок висоти колони
Приймаємо відстань між
тарілками Нт = 250 мм, тоді висота верхньої 
та нижньої 
частини складає, м:
Товщина тарілки - 0,02 м;
Висота сепараційного простору- 0,7
м;
Висота кубового простору - 2,3 м;
Висота опори - 1 м.
Загальна висота колони H, м:
.9.6.6 Тепловий розрахунок колони
Витрата теплоти, що
віддається воді в дефлегматорі 
, кВт:
де rр - теплота
конденсації флегми, кДж/кг.
де rВ = 2500 кДж/кг
-теплота конденсації води;А = 882 кДж/кг - теплота конденсації
етанолу.
В якості холодоагента приймаємо
воду, з початковою температурою 20°С, і кінцевою 30°С. Тоді середня різниця
температур Dtcр складе
(температуру дистиляту tD =79,10°C знаходимо з таблиці), °С:
Dtб =79,1 -
20,0 = 59,1 °С
Dtм = 79,1 -
30,0 = 49,1°С
Dtcр =
(59,1+49,1)/2 = 54,1 °С
Орієнтовне значення коефіцієнта
теплопередачі: К = 400 Вт/(м2×К).
Тоді необхідна поверхня теплообміну
F, м2:
= QД/(KDtср)= 97,97 ×103/(400×54,1) = 4,53 м2
Приймаємо стандартний кожухотрубний
конденсатор з діаметром кожуха 200 мм і довжиною труб 1,5 м, для якого поверхня
теплообміну дорівнює 6 м2.
Витрата охолоджуючої
води 
, кг/с:
Витрата теплоти в кубі
випарнику 
, кВт.
де сD - теплоємність
дистилляту, кДж/(кг×К);
сw- теплоємність кубового
залишку, кДж/(кг×К);
сF- теплоємність вихідної
суміші, кДж/(кг×К);
,03 - коефіцієнт, що враховує втрати
в навколишнє середовище.
Теплоємність дистиляту 
, кДж/(кг·К):
де сА -
теплоємність етилового спирту, кДж/(кг·°C);
сВ -
теплоємність води, кДж/(кг·°C).
Аналогічно розраховуємо
теплоємності вихідної суміші 
та кубового залишку 
, кДж/(кг·К):
Тоді витрата теплоти у
кубі випарнику буде становити:
Приймаємо пару з тиском 0,3МПа, для
якого теплота конденсації = 2171 кДж/кг. Витрата гріючого пару Gп,
кг/с:п = Qк/rп = 362,25/2171 = 0,167 кг/c
Середня різниця температур у
випарнику Dtср, °C:
Dtср = 167 -
97,6 = 69,4 °C
Орієнтовне значення коефіцієнта
теплопередачі К = 300 Вт/(м2×К), тоді необхідна площа теплообміну F, м2:
= Qк/(KDtср)= 362,25×103/(300×69,4) = 17,4 м2
Обираємо кожухотрубний теплообмінник
з діаметром кожуха 300 мм та довжиною труб 2 м, для якого поверхня теплообміну
дорівнює 20 м2.
Отже, на основі матеріального
розрахунку розраховані матеріальні потоки в колоні та визначений діаметр
ректифікаційної колони - 300 мм. Знайдено оптимальне флегмове число R = 3,78.
Розраховане дійсне число тарілок: 6 в верхній частині колони та 6 в нижній. На
основі теплового розрахунку було обрано дефлегматор (діаметр кожуха 200 мм,
довжина труб 1,5 м, поверхня теплообміну 6 м2) та випарник (діаметр
кожуха 300 мм, довжина труб 2 м, поверхня теплообміну 20 м2),
визначено витрату охолоджуючої води та гріючої пари.
Кресленик ректифікаційної колони
представлено на рис А.1.
2.10 Контроль виробництва,
стандартизація та сертифікація продукції
Стандартизація продукції -
діяльність з метою досягнення оптимального ступеня упорядкування в певній
галузі шляхом встановлення положень для загального і багаторазового
використання щодо реально діючих чи можливих завдань [35].
Сертифікація продукції - процедура,
за допомогою якої третя сторона дає підтвердження показників, характеристик та
властивостей продукції, процесів, послуг на підставі випробувань, атестації
виробництва та сертифікації систем якості.
Сертифікація продукції проводиться
на основі відповідних документів третьої - незацікавленої - сторони, незалежної
від виробника і споживача продукції. Сертифікація здійснюється з метою підтвердження
відповідності товару встановленим нормам і стандартам якості.
Сертифікація продукції проводиться в
спеціально акредитованій дослідній лабораторії або в лабораторному центрі. На
їх основі сертифікований орган і приймає рішення про видачу або відказі в
наданні сертифіката заявнику. Акредитована лабораторія повинна забезпечити
достовірність даних, отриманих в ході лабораторної експертизи.
Схема контролю виробництва
кальвадосів приведена в таблиці 2.14 [36, 37]:
Таблиця 2.14 - Схема контролю виробництва
кальвадосів
|
Об’єкт контролю
|
Вузол контролю
|
Періодичність
|
Параметри, що контролюються
|
Допустимі значення
|
Метод і засіб контролю
|
|
1
|
2
|
3
|
4
|
5
|
6
|
|
Сировина (яблука)
|
Склад приймання
|
Кожна партія
|
Цілісність, свіжість
|
Яблука не гнилі, не пошкоджені
|
Візуально
|
|
Яблучний сік
|
Бродильна ємність
|
Кожна партія соку
|
Концентрація цукрів Концентрація ароматичних речовин Температура
|
10-14 % мас. 10-60 мг/л 20 ± 2оС
|
Титрування Хроматографія Термометр
|
|
Яблучна бражка
|
Бродильна ємність
|
Кожна партія бражки
|
Міцність Кислотність Концентрація летких кислот Концентрація
цукрів
|
Не менше 4% мас. Не менше 5 г/л Не більше 1,5 г/л Не більше
0,2%
|
Ареометр Титрування Титрування лугом дистильованої фракції
Титрування
|
|
Спирт-ректифікат
|
Ректифікаційна колона
|
Кожну годину в процесі перегонці
|
Міцність Концентрація домішок в т.ч. ефірів
|
75 ± 5% об. не менше 4 г/л не менше 1 г/л
|
Ареометр Хроматографія Хроматографія
|
|
Розведений спирт-ректифікат
|
Ємність розведення
|
Кожну партію
|
Міцність
|
65 ± 2% об.
|
Ареометр
|
|
Витриманий спирт
|
Ємність купажування
|
Кожну партію бочок для витримки
|
Міцність
|
60 ± 2% об.
|
Ареометр
|
|
Готовий напій
|
Ємність зберігання готового напою
|
Кожну партію
|
Міцність Концентрація цукрів Концентрація метанолу Концентрація
заліза Концентрація свинцю Концентрація ртуті Концентрація миш’яку
Концентрація кадмію Концентрація цинку Концентрація міді Концентрація
стронцію 90 Концентрація цезію 137
|
40-43 % об. 7 - 20 г/л Не більше 1 г/л Не більше 1,5 мг/л Не
більше 0,03 мг/л Не більше 0,005 мг/л Не більше 0,2 мг/л Не більше 0,03 мг/л
Не більше 10 мг/л Не більше 5 мг/л Не більше 1,5 Бк/л Не більше 1,5 Бк/л
|
Ареометр Титрування Колориметрія Колориметрія Полярографія
Колориметрія Колориметрія Полярографія Полярографія Полярографія,
колориметрія Титрування Титрування
|
|
|
|
|
|
|
|
|
|
|
|
|
|
|
2.11 Енергозабезпечення та
енергозбереження
Витрати води та пару наведені при
розрахунку основного апарату. Витрати електроенергії, в свою чергу, дорівнюють
сумі потужності всіх електричних пристроїв та установ, які використовуються на
виробництві [38]:
установка для миття яблук- 6,6
кВт/год;
дробильна установа - 8 кВт/год;
гідравлічний прес - 2,8 кВт/год;
магнітний уловлювач- 0,6 кВт/год;
центрифуги - 30 кВт/год;
ректифікаційна колона- 0,9 кВт/год;
лінія розливу - 1,5 кВт/год;
етикетувальна машина - 4 кВт/год;
установка для обклеювання акцизних
марок- 0,6 кВт/год;
насоси - 7*3 = 21 кВт/год;
освітлення - 5 кВт/год;
інші витрати електроенергії - 5
кВт/год.
Разом - 86 кВт/год.
Витрати води при виробництві
кальвадосів можна розділити на дві групи. До першої відносяться витрати
очищеної води, яка використовується для розведення дистиляту, який отримано
після очищення, для купажу як компонент готового напою та в інших технологічних
стадіях, які слугують для промивки сосудів та інших виробничих цілей, які
передбачають використання чистої води. До другої групи відносять витрати
технічної води, яка використовується як тепловий агент і не вступає в контакт з
виробничими поверхнями або готовий продуктом ніяким чином; ці витрати забезпечуються
водою з річки, яка без очистки подається в певний виробничий вузол та
повертається назад у річку без очистки.
Витрати чистої води складають: 20 л
на 1 л готового продукту для виконання промивок для інших очисних робіт; 23 л
на 100 л готового продукту для розведення перед витримкою; 3,5 л на 1 л
готового продукту під час купажування та близько 2 л на 1 л готового продукту
для решти виробничих цілей. Загальна витрата чистої води складає 25,7 л/л.
Витрати технічної води складають:
1,35 л на 1 л готового продукту для охолодження під час ректифікації; 9 л на 1
л готового продукту для виробництва пари. Загальна витрата технічної води
складає 10,35 л/л.
Загальна витрата води - 36,05 л на 1
л готового продукту або близько 7210 м3 на річний об’єм виробництва.
Склад води, яка використовується на
виробництві, повинен відповідати наступним вимогам: сухий залишок не більше
1000 мг/дм3 (за погодженням з органами санітарно - епідеміологічної служби
допускається до 1500 мг/дм3), концентрації хлоридів і сульфатів не більше 350 і
500 мг/дм3 відповідно, загальна жорсткість не більше 7 моль/м3 (за погодженням
з органами санітарно - епідеміологічної служби допускається до 10 моль/м3),
концентрації хімічних речовин (крім зазначених в таблиці) не повинні
перевищувати ГДК для води господарсько-питного та культурно-побутового
водокористування, а також норм радіаційної безпеки. Джерелом постачання води є
міська система водопостачання.
.13 Відходи виробництва
Основними відходами виробництва
кальвадосів є:
Яблуневий жом, який отримують після
віджимання яблучного соку з яблук і після віджимання мезги (шкірка яблук йде в
корм худобі або використовується як добриво в суміші з вапном та іншими
речовинами). Використовують для одержання спирту. Рідина, що залишається в
ємності після відгону спирту, використовується на отримання з неї кислих солей,
що переробляються надалі на різні органічні кислоти. З відокремленою від рідини
твердої частини (витримка, позбавлена спирту і кислих солей) шляхом сухої перегонки отримують світильний
газ;
Гребні - виходять після відділення
гребнів та пресування. Гребні використовуються разом з жомом.
Дріжджі, що осідають після бродіння,
і осади, що виділяються під час інших технологічних операцій (спирт, що
міститься в них, відганяється; з рідини, що залишається в реакторі після
перегонки, витягуються кислі солі, а самі дріжджі піддаються сухій перегонці.
Отриманий при перегонці газ може бути використаний для горіння і нагрівання, а
вугілля, що залишається, після обробки і подрібнення дає так звану франкфуртську
чернь, що йде на виготовлення друкарської фарби);
Яблучний або винний камінь, що
відкладається на стінках бочок, бутів і чанів при бродінні і витримці напою йде
на отримання винної та яблучної кислот;
Кальвадосна барда, що залишається
після перегонки сидру при отриманні кальвадосного спирту, частково
випаровується, після цього з неї виділяють тартрат кальцію, а потім отримують
компост, який використовують для удобрення ґрунту. У компост і стоки додають
сульфатне залізо для запобігання хлорозу ґрунту. Фракція сивушних масел
спалюється.
Для очищення загальних стічних вод
завод повинен мати потужні очисні споруди повної біологічної очистки. Для цього
застосовують методи фільтрації, центрифугування, поєднання адсорбції,
коагуляції і фільтрації, відстоювання, нейтралізацію, а також аеробні та
анаеробні біологічні методи. На практиці очищення стічних вод та для
водопідготовки в якості очистних агентів використовуть бентонітові глини.
3. ОХОРОНА ПРАЦІ ТА НАВКОЛИШНЬОГО
СЕРЕДОВИЩА
3.1 Загальні питання охорони праці
Під охороною праці розуміють систему
правових, соціально-економічних, організаційно-технічних, санітарно-гігієнічних
і лікувально-профілактичних заходів, які забезпечують безпеку, збереження
здоров'я і працездатності людини в процесі роботи.
Ціль даного розділу - визначити
виробничі небезпеки і професійні шкідливості процесу для усунення нещасних
випадків і професійних захворювань працівників, аварій і пожеж.
Держава в рамках забезпечення
безпечної роботи на виробництвах усіх форм власності на території України
повинна сприяти й виконувати постійний моніторинг стану підприємств та
виробничих умов, в яких знаходяться робітники під час виконання своїх робочих
обов’язків.
Державна політика має базуватися на
наступних принципах, які лежать в основі Закону України „Про охорону праці”:
- пріоритет життя і здоров’я
працівників, повна відповідальність роботодавця за створення належних,
безпечних і здорових умов праці;
підвищення рівня
промислової безпеки шляхом забезпечення суцільного технічного контролю за станом
виробництв, технологій та продукції, а також сприяння підприємствам у створенні
безпечних та нешкідливих умов праці;
комплексне розв’язання
завдань охорони праці на основі загальнодержавної, галузевих, регіональних
програм з цього питання та з урахуванням інших напрямів економічної і
соціальної політики, досягнень в галузі науки і техніки та охорони довкілля;
соціальний захист
працівників, повне відшкодування шкоди особам, які потерпіли від нещасних
випадків на виробництві та професійних захворювань;
встановлення єдиних вимог
з охорони праці для всіх підприємств та суб’єктів підприємницької діяльності
залежно від форм власності та видів діяльності;
адаптація трудових
процесів до можливостей працівника з урахуванням його здоров’я та
психологічного стану;
використання економічних
методів управління охороною праці, участі держави у фінансуванні заходів щодо
охорони праці, залучення добровільних внесків та інших надходжень на цілі,
отримання яких не суперечить законодавству;
інформування населення, проведення
навчання, професійної підготовки ы підвищення кваліфікації працівників з питань
охорони праці;
забезпечення координації
діяльності органів державної влади, установ, організацій, об’єднань громадян,
що розв’язують проблеми охорони здоров’я, гігієни та безпеки праці;
співробітництво і
проведення консультацій між роботодавцями та між усіма соціальними групами під
час прийняття рішень з охорони праці на місцевому та державному рівнях;
використання світового
досвіду організації роботи щодо поліпшення умов і підвищення безпеки праці на
основі міжнародного співробітництва [39].
.2 Організація управління охороною
праці на підприємстві
Роботодавець зобов’язаний створити
на робочому місці в кожному структурному підрозділі умови праці відповідно до
нормативно-правових документів, а також забезпечити додержання вимог
законодавства щодо прав працівників у галузі охорони праці.
З цією метою роботодавець забезпечує
функціонування системи управління охороною праці, а саме:
створює відповідні служби
і призначає посадових осіб, які забезпечують вирішення конкретних питань
охорони праці, затверджує інструкції про їх обов’язки, права та
відповідальність за виконання покладених на них функцій, а також контролює їх
додержання;
розробляє за участю сторін
колективного договору і реалізує комплексні заходи для досягнення встановлених
нормативів та підвищення існуючого рівня охорони праці;
забезпечує виконання
необхідних профілактичних заходів відповідно до обставин, що змінюються;
впроваджує прогресивні
технології, досягнення науки і техніки, засоби механізації та автоматизації
виробництва, вимоги ергономіки, позитивний досвід з охорони праці тощо;
забезпечує належне
утримання будівель і споруд, виробничого обладнання та устаткування, моніторинг
за їх технічним станом;
забезпечує усунення
причин, що призводять до нещасних випадків, професійних захворювань, та
здійснення профілактичних заходів, визначених комісіями за підсумками
розслідування цих причин;
організовує проведення
аудиту охорони праці, лабораторних досліджень, умов праці, оцінку технічного
стану виробничого обладнання та устаткування, атестацій робочих місць на
відповідність нормативно-правовим актам з охорони праці в порядку і строки, що
визначаються законодавством, та за їх підсумками вживає заходів до усунення
небезпечних і шкідливих для здоров’я виробничих факторів;
розробляє і затверджує
положення, інструкції, інші акти з охорони праці, що діють у межах підприємства
(далі - акти підприємства), та встановлюють правила виконання робіт і поведінки
працівників на території підприємства, у виробничих приміщеннях, на будівельних
майданчиках, робочих місцях відповідно до нормативно-правових актів з охорони
праці, забезпечує безоплатно працівників нормативно-правовими актами та актами
підприємства з охорони праці;
здійснює контроль за
додержанням працівником технологічних процесів, правил поводження з машинами,
механізмами, устаткуванням та іншими засобами виробництва, використанням
засобів колективного та індивідуального захисту, виконанням робіт відповідно до
вимог з охорони праці;
організовує пропаганду
безпечних методів праці та співробітництво з працівниками у галузі охорони
праці;
вживає термінових заходів
для допомоги потерпілим, залучає за необхідності професійні аварійно-рятувальні
формування у разі виникнення на підприємстві аварій та нещасних випадків.
Роботодавець несе безпосередню
відповідальність за порушення зазначених вимог.
На кожному з підприємств має діяти
чітко-структурована система контролю за виконанням вимог охорони праці. Саме
для цього існують взаємозв’язки між структурними підрозділами підприємства з
виробництва кальвадосів, які, в загальних рисах, зображені на рисунку 3.1:
Рисунок 3.1 - Схема управління
охорони праці
Шкідливі й небезпечні виробничі
фактори, що виникають при роботі на підприємстві з виробництва кальвадосів,
приведені у таблиці 3.1 [40].
Таблиця 3.1 - Перелік шкідливих і
небезпечних виробничих факторів
|
Шкідливі і небезпечні виробничі чинники
|
Джерела їх виникнення
|
|
Токсичні речовини (C2H5OH, нітратна
кислота, натрій гідроксид, пероксид водню, гіпохлорит кальцію)
|
Технологічне обладнання, санітарні обробки
|
|
Шум
|
Вентиляційна система, технологічне обладнання
|
|
Машини, що рухаються, і механізми
|
Фасувальний апарат, центрифуга, подрібнювач.
|
|
Електрична напруга (380/220 В)
|
Щит управління, електроприводи
|
|
Підвищена температура поверхні обладнання
|
Ректифікаційна колона для дистиляції етанолу
|
|
Низька вологість повітря
|
Ділянка з витримки готового продукту
|
|
Підвищена температура повітря
|
Санітарні обробки ємностей
|
.3 Промислова санітарія
.3.1 Шкідливі речовини
Шкідливі речовини, які зустрічаються
на виробництві кальвадосів, наведені у таблиці 3.2 [41, 42, 43].
Таблиця 3.2 - Характеристика
шкідливих речовин
|
Речовина
|
Токсичність
|
ГДК, мг/м3
|
Клас небезпеки
|
|
1
|
2
|
3
|
4
|
|
Етанол
|
Впливає на нервову та серцево-судинну систему.
|
1000
|
4
|
|
Нітратна кислота
|
Негативно впливає на всі системи організму
|
5
|
3
|
|
Натрій гідроксид
|
Впливає на очі та шкіру
|
0,5
|
2
|
|
Пероксид водню
|
Впливає на дихальну, травну системи, очі та шкіру
|
1,4
|
3
|
|
Гіпохлорит кальцію
|
Впливає на дихальні шляхи та очі
|
1
|
2
|
.3.2 Метеорологічні умови
Роботи, що виконуються на дільниці,
можна віднести до фізичних робіт середньої важкості категорії ІІа [44]. В
таблиці 3.3 наведені оптимальні та допустимі норми параметрів мікроклімату для
названих приміщень.
Таблиця 3.3 - Значення оптимальних
та допустимих параметрів метеорологічних умов
|
Період року
|
Категорія робіт за енерговитратами
|
Температура, оС
|
Відносна вологість, %
|
Швидкість руху повітря, м/с (не більше)
|
|
Холодний
|
Середньої важкості - IIа
|
допустимі
|
|
|
17-23
|
не більше 75
|
0,3
|
|
|
оптимальні
|
|
|
18-20
|
40-60
|
0,2
|
|
Теплий
|
Середньої важкості - IIа
|
допустимі
|
|
|
18-27
|
65
|
0,2-0,4
|
|
|
оптимальні
|
|
|
21- 23
|
40-60
|
0,3
|
.3.3 Вентиляція
У виробництві кальвадосів для
забезпечення нормальних параметрів мікроклімату передбачено систему вентиляції
та опалення [45, 46].
Механічна - загально-обмінна,
місцева, припливно-витяжна, постійно-діюча та аварійна вентиляція.
Використовується центральне, водяне опалення.
.3.4 Освітлення
У приміщенні передбачене природне й
штучне освітлення. Розряд зорової роботи, обумовлений найменшим об'єктом
розрізнення - IV (робота малої точності з найменшим об'єктом розрізнення від
більш ніж 0.5 мм до 1 мм), підрозряд - а, характер джерела зорової роботи -
малої точності, контраст об’єкту розрізнення - малий, характеристика фону -
темний [47]. Природне освітлення - сумісне.
Нормоване значення КПО еN
для будинків визначається за формулою, %:

де ен
- значення КПО;
mN
- коефіціент світлового клімату;
N
- номер групи забезпеченості природним світлом.

Проектом передбачається у приміщенні
виробничого цеху використовувати систему штучного освітлення. Для освітлення
виробничих приміщень передбачено використання люмінесцентних ламп ЛБ-40, Еmin
= 200 лк. Передбачено використання вологонепроникних та вибухобезпечних
закритих світильників ВЗГ/В4А-200М переважно прямого світла. Передбачається
система аварійного освітлення. Характеристика освiтлення в наведена в таблицi
3.4.
Таблиця 3.4 - Характеристика
освітлення
|
Найменування приміщення
|
Площа підлоги, м2
|
Розряд зорової роботи
|
Освітлення
|
|
|
|
природне
|
штучне
|
|
|
|
вид освітлення
|
КПО, %
|
нормована освітленість, Е, лк
|
|
Виробничий цех
|
400
|
IVа
|
бокове
|
1.275
|
200
|
.3.5 Шум
Джерелами шуму та вібрації при
виробництві кальвадосів є насоси, вентилятори, газодувки, мішалки, вентиляційні
системи.
Допустимі норми параметрів шуму в
приміщеннях вказані в таблиці 3.5 і на території підприємства становлять 75 дБА
[48].
Таблиця 3.5 - Допустимі рівні
звукового тиску та звуку
|
Види трудової діяльності, приміщення, робочі місця
|
Рівні звукового тиску в дБ в октавних смугах із
середньогеометричними частотами, Гц
|
Рівні звуку та еквіва-лентні рівні звуку, дБа
|
|
31,5
|
63
|
125
|
250
|
500
|
1000
|
2000
|
4000
|
8000
|
|
|
Крайні частоти в октавних смугах, Гц
|
22 45
|
45 90
|
90 180
|
180 360
|
360 720
|
720 1440
|
1440 2880
|
2880 5760
|
5760 11520
|
22- 11520
|
|
Цех виробництва кальвадосів
|
103
|
91
|
83
|
77
|
73
|
70
|
68
|
66
|
64
|
75
|
.4 Електробезпека
Згідно з проектом, електрообладнання
виробничого цеху живиться від змінного струму частотою 50 Гц, напругою 380/220
В.
Клас приміщення за ступенем
небезпеки ураження електричним струмом відноситься до приміщень із підвищеною
небезпекою - II [49].
.5 Пожежна безпека
Пожежна безпека забезпечується
системою запобігання пожежі, системою пожежного захисту і
організаційно-технічними заходами [50].
Підприємство з виробництва
кальвадосів можна віднести до пожежонебезпечної категорії А [51]. Ступінь
вогнестійкості, яку повинна мати будівля - II.
Перелік обов`язкових засобів
пожежогасіння в приміщеннях представлений у таблиці 3.6.
Таблиця 3.6 - Перелік обов'язкових
засобів пожежогасіння.
|
Приміщення
|
Площа, м2
|
Первинні засоби пожежогасіння (тип)
|
Кількість, шт.
|
|
Цех виробництва кальвадосів
|
400
|
ВПС-6
|
4
|
.6 Охорона навколишнього середовища
Забрудненням довкілля називається
внесення до будь-якої частини середовища нових, несприятливих фізичних,
хімічних і біологічних компонентів, перевищення їх допустимих концентрацій в
середовищі.
Утворення рідких відходів пов’язано
з періодичними промивками водою технологічного обладнання, а також з
технологічним процесом і продуктами, які утворюються під час нього. Промивні
води направляються в очисні споруди, після цього на міські очисні споруди для
біологічної очистки.
Газоподібні викиди представляють собою
повітря з дещо підвищеною концентрацією вуглекислого газу, яке видаляється з
виробничих приміщень витяжною вентиляцією і фільтрується.
Тверді відходи використовуються як
сировина для інших виробництв.
Виробництво кальвадосів не утворює
токсичні сполуки та не наносить шкоди оточуючому середовищу, здоров'ю людини
при зберіганні та транспортуванні продукції, бо єдиною небезпечною речовиною є
етиловий спирт, який знаходиться постійно у вигляді розчину з допустимою
концентрацією і виступає компонентом природних ланцюгів перетворення, тобто є
швидко перетворюваним для навколишнього середовища.
В процесі технічного обслуговування
та виробництва витратні матеріали необхідно зберігати в спеціально відведених
для цієї мети контейнерах і здавати їх для подальшої переробки в спеціалізовані
пункти прийому сировини.
4. ЕКОНОМІЧНА ЕФЕКТИВНІСТЬ ПРОЕКТУ
В даному розділі приведене
економічне обґрунтування доцільного використання запропонованої зміни в
технології [52]. Проведені всі необхідні розрахунки, які наведені в таблиці 4.1
Таблиця 4.1 - Техніко-економічні
показники виробництва
|
Найменування показника
|
Значення
|
|
1. Обсяг виробництва, дал/рік
|
20000
|
|
2. Виторг від реалізації продукції, тис.грн./рік
|
5594,34
|
|
3. Ціна, грн./дал
|
1212,11
|
|
4. Собівартість грн./дал
|
932,39
|
|
5. Інвестиційні витрати, тис.грн.;
|
18398,39
|
|
у т.ч. основні виробничі фонди, тис.грн.
|
15294,68
|
|
6. Рентабельність продукції, %
|
30
|
|
7. Фондовіддача, грн./грн.
|
1,59
|
|
8. Строк окупності інвестиційних витрат, років
|
3,29
|
4.1 Розрахунок виробничої потужності
проектованого виробництва
Виробнича потужність проектованого
цеху М (дал/рік) визначається по ведучому обладнанню (ведучої стадії
виробничого процесу) за формулою:
де А - кількість однотипного
обладнання, шт
П - максимальна продуктивність
одиниці обладнання, дал/год
Фд - дійсний фонд часу
роботи одиниці обладнання, год/рік.
Перевіримо відповідність заданої
виробничої програми (В) розрахунковій величині (М). Обов’язкова умова при
цьому: М > В. Оптимальне співвідношення цих величин повинно бути наступним:
4.2 Розрахунок поточних витрат
Собівартість одиниці продукції і
річні поточні витрати визначаємо укрупнено. Найбільше точно визначаємо вартість
сировини і матеріалів. Інші статті витрат розраховуємо пропорційно витратам на
сировину.
Розрахунок потреби в матеріальних
ресурсах на запланований обсяг продукції визначається по кожному виду
матеріалів у рецептурі і визначається по формулі:
де Pj - витрати jго
компоненту сировини на 1кг iго продукту;ji
- питома норма jго сировини чи матеріалу на 1 кг iго
продукту;i - виробництво iго продукту по
проекту, кг/рік.
Розрахунок потреби сировини
представляємо у таблиці 4.2.
|
Таблиця 4.2 - Потреба в сировині і матеріалах
|
|
|
Найменування компонента j
|
Норма витрати, кг/дал
|
Об’єм виробництва, дал
|
Потреба, т
|
|
1
|
2
|
3
|
4
|
|
Яблука
|
236,2
|
20 000
|
4724
|
|
Цукор
|
0,18
|
20 000
|
3,6
|
|
Аскорбінова кислота
|
0,01
|
20 000
|
0,2
|
|
|
|
|
|
|
|
|
На підставі розрахованої потреби в
матеріальних ресурсах визначається їх вартість, яка наведена в таблиці 4.3, що
надалі використовуємо для розрахунку собівартості продукції.
Таблиця 4.3 - Вартість сировини і
матеріалів
|
Найменування компонента
|
Ціна, грн./т
|
Потреба
|
Вартість
|
|
|
на 1 дал продукту, кг/дал
|
на річну програму, т
|
на 1 дал, грн.
|
Річна потреба, тис. грн.
|
|
Яблука
|
2500
|
236,2
|
4724
|
590,5
|
11810
|
|
Цукор
|
6950
|
0,18
|
3,6
|
1,251
|
25,02
|
|
Аскорбінова кислота
|
125000
|
0,01
|
0,2
|
1,25
|
25
|
|
Всього
|
|
|
|
593,001
|
11860,02
|
На підставі отриманих даних,
складаємо калькуляцію собівартості продукції, яка наведена у таблиці 4.4
Таблиця 4.4 - Собівартість продукції
|
Статті витрат
|
Витрати (собівартість)
|
|
На 1 дал, грн
|
на рік, тис. грн.
|
|
1
|
2
|
3
|
|
Сировина і матеріали
|
593,00
|
11860,02
|
|
Допоміжні матеріали
|
41,51
|
830,20
|
|
Енерговитрати
|
118,60
|
2372,00
|
|
Заробітна плата основних виробничих робітників
|
35,58
|
711,60
|
|
Нарахування на з/п
|
13,51
|
270,12
|
|
Загальновиробничі витрати
|
71,16
|
1423,20
|
|
Виробнича собівартість
|
873,36
|
17467,15
|
|
Адміністративні витрати
|
28,46
|
569,28
|
|
Витрати на збут
|
30,57
|
611,35
|
|
Собівартість
|
932,39
|
18647,78
|
|
Ціна виробництва
|
1212,11
|
24242,12
|
|
Відпускна ціна
|
29090,54
|
4.3 Визначення ціни і обсягу
реалізації продукції
1) Ціна виробництва розраховується
на основі собівартості і рівня рентабельності, величина якого прийнята в
розмірі 30 % від собівартості.
Ціна виробництва 
розраховується за
формулою, грн/дал:
де С/С - собівартість
одиниці продукції, грн./дал; Пр - прибуток, одержуваний від
реалізації одиниці продукції, грн./од; R - рівень рентабельності, %.
) Відпускна ціна 
включає ціну виробництва
і податок на додаткову вартість (ПДВ), що складає 20 % від ціни виробництва,
грн/дал.
) Обсяг реалізації
продукт (Р) розраховується за формулою, грн:
де Ц - відпускна ціна
одиниці продукції, грн./дал.;
В - річний випуск
продукції, дал.
4.4 Розрахунок інвестиційних
(капітальних) витрат
Під інвестиційними витратами
розуміють первісні інвестиції (капітальні вкладення), що забезпечують
реалізацію проекту.
При визначенні суми інвестиційних
витрат, у першу чергу, необхідно визначити вартість основних фондів
проектованого виробництва, що включають вартість обладнання і виробничих
будинків і споруджень.
) Розрахунок вартості обладнання.
Розрахунок первісної вартості
устаткування здійснено в таблиці 4.5.
Таблиця 4.5 - Первісна вартість
устаткування
|
Назва обладнання
|
Кількість одиниць
|
Ціна, тис. грн./од.
|
Вартість, тис. грн.
|
|
1
|
2
|
3
|
4
|
|
Ємність для бродіння
|
1
|
185
|
185
|
|
Лінія розливу
|
1
|
165
|
165
|
|
Етикетувальна машина
|
1
|
140
|
140
|
|
Установка для обклеювання акцизних марок
|
1
|
90
|
90
|
|
Установка для миття яблук
|
1
|
90
|
90
|
|
Дробильна установа
|
1
|
90
|
90
|
|
Магнітний уловлювач
|
1
|
5
|
5
|
|
Електроплазмолізатор
|
1
|
10
|
10
|
|
Установа для стікання
|
1
|
35
|
35
|
|
Ректифікаційна колона
|
1
|
105
|
105
|
|
Гідравлічний прес
|
1
|
55
|
55
|
|
Центрифуга
|
1
|
110
|
110
|
|
Дубова бочка на 50 дал
|
800
|
4
|
3200
|
|
4. Разом
|
|
|
4280
|
|
5. Невраховане обладнання
|
|
|
856
|
|
6. Разом
|
|
|
5136
|
|
7. Транспортування (4% від суми по гр. 6)
|
|
|
205,44
|
|
- комплектація обладнання - заготівельно-складські витрати -
трубопроводи та КВП
|
|
|
77,04 61,632 10,272
|
|
8. Монтаж
|
|
|
770,4
|
|
9. Спеціальні роботи
|
|
|
616,32
|
|
Всього
|
|
|
6877,104
|
В інвестиційні витрати
вартість обладнання 
включається з
урахуванням ПДВ, грн:
де Sоб -
вартість обладнання, тис. грн.; 20 - ставка ПДВ, %.
) Розрахунок вартості
будинків і споруджень.
Вартість будинків і
споруджень визначається виходячи зі структури капітальних вкладень хімічної
промисловості, у якій вартість устаткування складає 60 %, а витрати на будинки
і спорудження відповідно - 40 % від сумарних капітальних вкладень.
Витрати на будинки і
спорудження Sус, тис. грн:
У вартість будинку додатково
включаються:
) опалення і вентиляція - 6% - 330
100 грн.
) водопровід і сигналізація -11% -
605 190 грн
) внутрішнє висвітлення - 4% - 220
070 грн
) внутрішні водостоки - 1% - 55 020
грн
) зовнішній благоустрій - 6% - 330
100 грн
3) Визначення інвестиційних витрат
Визначення інвестиційних витрат
проводять враховуючи передінвестиційні витрати, витрати на будівельно-монтажні
роботи, витрати на обладнання, накладні витрати і витрати на закупівлю пускової
партії сировини і матеріалів.
Основні виробничі фонди ОФ, грн:
Розрахунок оформлюємо у виді таблиці
4.6
Таблиця 4.6 - Інвестиційні витрати
|
Найменування
|
Сума, тис. грн.
|
|
1. Передінвестиційні (передвиробничі витрати)
|
917,68
|
|
2. Вартість будинків і споруджень
|
7042,15
|
|
3. Витрати на устаткування
|
8252,52
|
|
4. Накладні витрати
|
1529,47
|
|
5. Вартість пускової партії сировини
|
474,40
|
|
6. Інші витрати
|
182,16
|
|
Разом
|
18398,39
|
4.5 Показники ефективності
проектованого виробництва
) Розрахунок фондовіддачі виконуємо
за формулою:
де Фвід - фондовіддача
основних виробничих фондів, грн./грн.
Р` - чистий обсяг продаж, тис. грн.
ОФ - вартість основних фондів, тис.
грн.
Чистий обсяг продаж 
розраховується за
формулою, грн:
де В - річний обсяг
випуску продукції, дал;
Цвир-ва -
ціна виробництва одиниці продукції, грн./дал.
) Рентабельність
продукції 
розраховуємо за
формулою, %:
де Цвир-ва, Сод
- відповідно ціна виробництва і собівартість виготовлення одиниці продукції,
грн./дал.
) Строк
окупності інвестицій (Ток) визначаємо за формулою, роки:
де К - сума
інвестиційних (капітальних) витрат, тис. грн.;
Пр - прибуток
від реалізації річного обсягу продукції, тис. грн./рік.
Прибуток від реалізації 
розраховується за
формулою, грн:
де В - річний обсяг
виробництва, дал.
Оскільки термін окупності менше 6
років, то інвестиції використовуються ефективно.
4) Рентабельність
основних фондів 
розраховуємо за
формулою, %:
Таким чином, можна зробити висновок,
що запропоновані у дипломному проекті технічні рішення є економічно вигідними.
Строк окупності виробництва складає 3,29 року, що є достатньою величиною.
ВИСНОВКИ
В ході виконання дипломного проекту
було удосконалено технологію виробництва кальвадосів шляхом використання
аскорбінової кислоти в якості добавки для прискорення витримки кальвадосних
спиртів та покращення органолептичних властивостей напою. В рамках цього
виконано:
. Запропоновано технологічну схему
виробництва кальвадосів з яблучної сировини потужністю 20 000 дал на рік;
. Визначено матеріальні та теплові
витрати на виробництво кальвадосів, виділені всі втрати, які мають місце при
виробництві;
. Вдосконалено класичну технологію
виробництва для збільшення ефективності роботи підприємства;
. Розраховано головний апарат
виділення спирту - ректифікаційну колону, здатну виділяти від 60 кг/год спирту;
. Наведено перелік заходів для
охорони праці на виробництві та охорони навколишнього середовища за допомогою
переробки відходів.
. Наведено економічний розрахунок
ефективності проектованого виробництва, для якого строк окупності склав 3,29
роки при рентабельності 30%.
СПИСОК ДЖЕРЕЛ ІНФОРМАЦІЇ
1 Дрбоглав, Е.
Производство кальвадоса: Обзор. - Москва: ЦНИИТЭИпищепрома, 1974. - 18 с.
Скурихин И.М. Химия
коньяка и бренди: Науч.пособ. - М.: ДеЛи принт, 2005. - 296 с.
Патент США US
2001/0018086 А1 US 09/813,327. All natural accelerated aging of distilled
spirits / Gross R., Delmore J., Buske W.; заявл. 20.03.2001, опубл. 30.08.2001.
Патент СРСР 1758072 МПК
С12Н 1/22. Спосіб дозрівання коньячного спирту або подобніх йому спиртних
напоїв / Семененко П.І, Параска, M.А., Рошиору Я.Я., Мартинець А.; заявл.
15.05.1992, опубл. 30.08.1992.
Патент СССР 1733467 МПК
С12Н 1/22. Способ созревания коньячного спирта / Миндадзе Р.К., Сафонова Л.А.,
Голубев В.Н., Куев В.Л.; заявл. 09.10.1989, опубл. 15.05.1992.
Патент України 95927 МПК
(2011.01) С12Н 1/00. Спосіб виготовлення алкогольного напою (варіанти) /
Ловягін О.М., Шевченко Л.О.; заявл. 15.05.2008, опубл. 26.09.2011, Бюл. № 18.
ГОСТ Р 51300-99
Кальвадосы Российские. Общие технические условия. - Введ. 1999-08-02. - М.: ИПК
Издательство стандартов, 2000. - 10 с.
РСТ УССР 1480-90 Спирт
яблочный для производства крепких напитков. Технические условия. - Введ.
1991-07-01. - К.: ДП «УкрНДНЦ», 1991. - 8 с.
РСТ УССР 1481-90 Напитки
крепкие яблочные. Технические условия. - Введ. 1991-07-01. - К.: ДП «УкрНДНЦ»,
1991. - 11 с.
Нягу, И. Производство
коньяка и кальвадоса в Молдавии / И. Нягу. - Кишинев: «Картя Молдовеняскэ»,
1978. - 149 с.
Блягоз, А. Р.
Совершенствование технологии производства российского кальвадоса в республике
Адыгея: дисс. канд. техн. наук: 25.10.2010 / Блягоз Аслан Русланович. -
Краснодар, 2010. - 23 с.
Прескот С., Дан С.
Техническая микробиология, пер. с англ. / С. Прескот, C. Дан - М., 1952. - 215
с.
Ламберова, М.Э. Дрожжи:
учебное пособие / М.Э. Ламберова; Алт. гос. техн. ун-т БТИ. - Бийск: Изд-во
Алт. гос. техн. ун-та, 2012. - 95 с.
Фробишер М. Основы
микробиологии, пер. с англ. - М., 1965. - 155 с.
Юрченко Л. А. Биохимия
яблочного виноделия. - Минск: Наука и техника, 1983. - 167 с.
Глазунов А.И., Царану И.Н.
Технология вин и коньяков. - М.: Агропромиздат, 1988. - 256 с.
Трунов В.А. Оборудование
отрасли. Технологическое оборудование отрасли: Учебное пособие. - М.: МГУТУ,
2004. - 69 c.
Зайчик Ц.Р.
Техноологическое оборудование винодельческих предприятий. 2-е изд., перераб. и
доп. - М.: ДеЛи, 2001. - 522 с.
Циганков П.С., Циганков
С.П. Виділення спирту із бражки та його очистка. - К.: Глобус, 2000. - 120 с.
Парагульгов О.Д., Черных
О.А. Современное оборудование и технологические схемы переработки плодов и ягод
в виноделии. - М.: ЦНИИТЭИпищепром, 1977. - 40 с.
Кишковский З.Н.,
Мержанин А.А. Технология вина. - М.: Легкая и пищевая промышленность, 1984. -
504 с.
Мартыненко Э.Я.
Технология коньяка. - Симферополь: «Таврида», 2003. - 320 с.
Технологические правила
виноделия. В 2 т./ Под ред. Г.Г. Валуйко и В.А. Загоруйко. - Симферополь:
Таврида, 2006. - Т.1 - 488 с.
Ли Э., Пигготт Дж.
Спиртные напитки: Особенности брожения и производства. - СПб.: Профессия, 2006.
- 552 c.
Вечер А. С, Юрченко Л.
А. Сидры и яблочные игристые вина. - М.: Пищевая промышленность, 1976. - 136 с.
Лащинский А.А. Основы
конструирования и расчета химической аппаратуры / А.Р. Толчинский. - М., 1968.
- 268 с.
Павлов К.Ф.
Примеры и задачи по курсу процессов и аппаратов химической технологии / П.Г.
Романков, А.А. Носков. - Л.: Химия, 1987. - 255с.
Романков П.Г.
Методы расчета процессов и аппаратов химической технологии (примеры и задачи) /
В.Ф. Фролов, О.М. Флисюк, М.И. Курочкина. - Л.: Химия, 1993. - 156с.
Машины и
аппараты химических производств: Примеры и задачи. Учебное пособие для
студентов вузов. / И.В. Доманский и др..; под ред. В.Н. Соколова. - Л.:
Машиностроение, 1982. - 364 с.
Иоффе И.Л.
Проектирование процессов и аппаратов химических технологий. - Л.: Химия, 1991.
- 352 с.
Тимонин А.С.
Основы конструирования и расчёта химико-технологического и природоохранного
оборудования: Справ. 2-е видання. - М.: Машиностроение, 1970. - 762 с.
Хижняков С.В.
Практические расчёты тепловой изоляции (для промышленного оборудования и
трубопроводов). -М.: Энергия, 1976. - 200 с.
Дытнерский Ю.И. Процессы
и аппараты химической технологии. Учебник для вузов // Теоретические основы
процессов химической технологии. Гидромеханические и тепловые процессы и
аппараты. - М.:Химия, 1995. - 400 с.
34 ОСТ 26-01-108-85
Тарелки ситчато-клапанные колонных аппаратов. - Введ. 29.10.85.
35 Закон України «Про
стандартизацію і сертифікацію», 04.07.2014.
36 Бегунова В.Д.,
Захарина О.С. Технохимический контроль плодово-ягодного виноделия. - М.:
Пищепромиздат, 1957. - 142с.
Таубина Д.С. Современные
методы микробиологического контроля винодельческого производства. - М.: Пищевая
промышленность, 1976. -50 с.
38 Современное оборудование для пищевой промышленности- Інтернет
ресурс - <#"867312.files/image229.gif">
Рис.А.1 - Кресленик ректифікаційної
колони